JP2005106940A - 反射型偏光子及び画像表示装置 - Google Patents
反射型偏光子及び画像表示装置 Download PDFInfo
- Publication number
- JP2005106940A JP2005106940A JP2003337505A JP2003337505A JP2005106940A JP 2005106940 A JP2005106940 A JP 2005106940A JP 2003337505 A JP2003337505 A JP 2003337505A JP 2003337505 A JP2003337505 A JP 2003337505A JP 2005106940 A JP2005106940 A JP 2005106940A
- Authority
- JP
- Japan
- Prior art keywords
- light
- light beam
- incident
- reflected
- color
- Prior art date
- Legal status (The legal status is an assumption and is not a legal conclusion. Google has not performed a legal analysis and makes no representation as to the accuracy of the status listed.)
- Pending
Links
- 239000000758 substrate Substances 0.000 claims abstract description 60
- 230000003287 optical effect Effects 0.000 claims abstract description 21
- 239000005304 optical glass Substances 0.000 claims abstract description 17
- 230000010287 polarization Effects 0.000 claims description 53
- 238000000926 separation method Methods 0.000 claims description 49
- 238000005286 illumination Methods 0.000 claims description 19
- 230000004907 flux Effects 0.000 claims description 8
- 238000003384 imaging method Methods 0.000 claims description 7
- 230000005540 biological transmission Effects 0.000 abstract description 2
- 230000015572 biosynthetic process Effects 0.000 description 9
- 238000003786 synthesis reaction Methods 0.000 description 9
- 239000011521 glass Substances 0.000 description 7
- 239000004973 liquid crystal related substance Substances 0.000 description 6
- 239000000463 material Substances 0.000 description 3
- 230000002194 synthesizing effect Effects 0.000 description 3
- 201000009310 astigmatism Diseases 0.000 description 2
- 230000006866 deterioration Effects 0.000 description 2
- 239000003086 colorant Substances 0.000 description 1
- 208000037265 diseases, disorders, signs and symptoms Diseases 0.000 description 1
- 238000007496 glass forming Methods 0.000 description 1
- 238000004519 manufacturing process Methods 0.000 description 1
- 239000000203 mixture Substances 0.000 description 1
- 238000013519 translation Methods 0.000 description 1
- 230000014616 translation Effects 0.000 description 1
Images
Landscapes
- Polarising Elements (AREA)
- Projection Apparatus (AREA)
Abstract
【課題】 高温になっても十分に光学特性を維持することができる反射型偏光子を提供し、このような反射型偏光子を用いて画像表示装置を提供すること。
【解決手段】 光学ガラスからなる光透過性の基板1と、この基板1の両主面部にそれぞれ形成されたワイヤーグリッド偏光膜1a,1bとを備え、各ワイヤーグリッド偏光膜1a,1bは、互いに平行ニコルの関係となされている。
【選択図】 図1
【解決手段】 光学ガラスからなる光透過性の基板1と、この基板1の両主面部にそれぞれ形成されたワイヤーグリッド偏光膜1a,1bとを備え、各ワイヤーグリッド偏光膜1a,1bは、互いに平行ニコルの関係となされている。
【選択図】 図1
Description
本発明は、入射光束の偏光状態に応じてこの入射光束を分離させる反射型偏光子及びこの反射型偏光子を用いて構成される画像表示装置に関する。
従来、照明光学系から出射される照明光によって反射型空間光変調素子を照明し、この反射型空間光変調素子において変調されて反射された反射光束を結像光学系によって結像させることにより、画像表示を行う画像表示装置が提案されている。
反射型空間光変調素子としては、例えば、反射型液晶表示素子や、DMD(Digital Mirror Device)等が使用される。反射型液晶表示素子は、透過型液晶表示素子に比較して、開口率を高くすることができるとともに、画素の高密度化が容易であるため、小型で高効率の画像表示装置を実現することを可能としている。
結像光学系としては、拡大した実像を結像する投射光学系や、虚像を結像する虚像光学系等が使用される。
このような画像表示装置として、特許文献1に記載されているように、4個の偏光ビームスプリッタ(PBS)及びカラー偏光子を備えて構成されたものがある。この画像表示装置においては、照明光に含まれる3原色光について、各原色光ごとに、カラー偏光子により、所定の偏光状態となるようにしている。そして、これら各原色光は、偏光ビームスプリッタによって分離されて各色用の反射型空間光変調素子に入射されるとともに、この反射型空間光変調素子において変調されて反射され、再び偏光ビームスプリッタによって合成されて、結像光学系に入射される。
すなわち、この画像表示装置においては、3原色光を含み直線偏光となされた照明光のうち、まず、1原色光のみの偏光方向がカラー偏光子によって90°回転される。この照明光は、第1の偏光ビームスプリッタに入射されて、2原色光と1原色光とに分離され、互いに直交する2方向に出射される。
この第1の偏光ビームスプリッタにより分離された光束のうち、2原色光を含む光束は、1原色光のみの偏光方向がカラー偏光子によって90°回転され、第2の偏光ビームスプリッタに入射される。第2の偏光ビームスプリッタにおいて、各原色光は、互いに直交する2方向に分離され、第1及び第2の反射型空間光変調素子にそれぞれ入射される。そして、これら第1及び第2の反射型空間光変調素子において変調されて反射された反射光束は、第2の偏光ビームスプリッタによって再び合成され、1原色光のみの偏光方向がカラー偏光子によって90°回転され、第3の偏光ビームスプリッタに入射される。
一方、第1の偏光ビームスプリッタによって分離された光束のうち、1原色光を含む光束は、第4の偏光ビームスプリッタを経て、第3の反射型空間光変調素子に入射される。この第3の反射型空間光変調素子において変調されて反射された反射光束は、再び第4の偏光ビームスプリッタを経て、第3の偏光ビームスプリッタに入射される。
そして、第3の偏光ビームスプリッタは、3原色光を合成して、結像光学系に入射させる。
この画像表示装置においては、4個の偏光ビームスプリッタが各偏光ビームスプリッタの表面を互いに平行となして一平面上の正方形の各頂点にあたる位置に配置され、また、反射ミラー等光路を屈曲させる光学素子が不要であるため、照明光の利用効率が高く、また、小型な装置構成とすることができる。
特開2000−284228号公報
ところで、前述のような画像表示装置においては、近年、表示画面の大型化及び高輝度化についての要求がさらに高くなってきている。
表示画面の大型化及び高輝度化のためには、照明光学系の光源の光出力を高くし、照明光の輝度を高くすることが考えられる。
しかしながら、光源の光出力を高くすることにより、光源から発せられる熱も増大することとなり、反射型空間光変調素子や偏光ビームスプリッタ等の各光学素子の温度上昇が招来され、これら光学素子の特性の劣化を生じさせてしまう虞れがある。特に、この画像表示装置において、偏光ビームスプリッタが高温となると、この偏光ビームスプリッタを構成する硝材の複屈折等の影響により、表示画像のシェーディングやコントラスト比の低下が招来される。
一方、近年において、偏光ビームスプリッタに代えて、反射型偏光子(ワイヤーグリッド偏光子)を使用した画像表示装置が提案されている。この反射型偏光子は、偏光ビームスプリッタに比較して、高熱化による特性の劣化が少ないといわれている。
しかしながら、反射型偏光子においても、光学ガラスからなる光透過性の基板を有しているため、この光学ガラスにおける複屈折によって生ずる問題は依然として残っている。光学ガラスにおける複屈折を減らすためには、光弾性定数の小さな硝材を使うということが考えられるが、光弾性定数の小さな硝材を使う場合には、加工が困難となることや、製造コストが高騰するなどの問題を生ずる。
そこで、本発明は、前述の実情に鑑みて提案されるものであり、高温になっても十分に光学特性を維持することができる反射型偏光子を提供し、また、このような反射型偏光子を用いて構成された画像表示装置を提供することを目的とする。
前述の目的を達成するため、本発明に係る反射型偏光子は、光学ガラスからなる光透過性の基板と、この基板の両主面部にそれぞれ形成されたワイヤーグリッド偏光膜とを備え、各ワイヤーグリッド偏光膜は、互いに平行ニコルの関係となされて形成されている。
この反射型偏光子においては、入射光のうち、ワイヤーグリッド偏光膜によって反射される偏光状態の光束は、基板のいずれの主面部の側から入射する場合であっても、基板内に入射することなく、基板の表面部において反射されるので、基板内における複屈折の影響を受けることがない。また、入射光のうち、ワイヤーグリッド偏光膜を透過する偏光状態の光束は、基板のいずれの主面部の側から入射する場合であっても、基板内において基板内における応力(歪み)による複屈折の影響を受けても、出射する主面部上のワイヤーグリッド偏光膜を透過するときに、複屈折の影響を受けた成分が遮断される。
また、本発明に係る偏光子は、請求項1に記載の反射型偏光子において、基板は、光学ガラスからなる光透過性の基板が2枚貼合わせられたものであって、各ワイヤーグリッド偏光膜は、各基板の片側の主面部にそれぞれ形成されていることが好ましい。
そして、本発明に係る画像表示装置は、3原色光を含み所定の偏光状態となされた照明光が入射されこの照明光を各原色光の偏光状態に応じて第1及び第2の原色光を含む光束と第3の原色光を含む光束とに分離させこれら光束を互いに直交する2方向に出射する光束分離手段と、この光束分離手段により分離された光束のうち第1及び第2の原色光を含む光束が入射されこの光束を各原色光の偏光状態に応じて互いに直交する2方向に分離させて第1及び第2の反射型空間光変調素子にそれぞれ入射させるとともにこれら第1及び第2の反射型空間光変調素子において変調されて反射された反射光束を合成して光束分離手段からの光束の入射方向に対して直交する方向に出射する第1の光束分離合成手段と、光束分離手段により分離された光束のうち第3の原色光を含む光束が入射されこの光束を第3の反射型空間光変調素子に入射させるとともにこの第3の反射型空間光変調素子において変調されて反射された反射光束を光束分離手段からの光束の入射方向に対して直交する方向に出射する第2の光束分離合成手段と、第1の光束分離合成手段からの出射光束及び第2の光束分離合成手段からの出射光束が入射されこれら光束を合成して結像光学系に入射させる光束合成手段とを備え、光束分離手段、第1の光束分離合成手段及び第2の光束分離合成手段のうち、少なくとも第1の光束分離合成手段は、光学ガラスからなる光透過性の基板の両主面部に互いに平行ニコルの関係となされてワイヤーグリッド偏光膜がそれぞれ形成されたものである。
この画像表示装置においては、少なくとも第1の光束分離合成手段において、入射光のうちワイヤーグリッド偏光膜によって反射される偏光状態の光束が基板のいずれの主面部の側から入射する場合であっても基板内に入射することなく基板の表面部において反射されるので、基板内における複屈折の影響を受けることがない。
前記画像表示装置において、基板は、光学ガラスからなる光透過性の基板が2枚貼合わせられたものであって、各ワイヤーグリッド偏光膜は、各基板の片側の主面部にそれぞれ形成されているものであることが好ましい。
本発明は、高温になっても十分に光学特性を維持することができる反射型偏光子を提供し、また、このような反射型偏光子を用いて構成された画像表示装置を提供することができるものである。
以下、本発明を実施するための最良の形態について、図面を参照しながら説明する。
図1は、本発明に係る反射型偏光子の構成を示す側面図である。
本発明に係る反射型偏光子は、図1に示すように、光学ガラスからなる光透過性の基板1を有している。この基板1をなす光学ガラスとしては、種々のいわゆる白色光学ガラスを用いることができる。
そして、基板1の両主面部には、それぞれワイヤーグリッド偏光膜1a,1bが形成されている。ワイヤーグリッド偏光膜は、反射型偏光膜とも呼ばれているものである。これらワイヤーグリッド偏光膜1a,1bは、互いに平行ニコルの関係となされて形成されている。すなわち、これらワイヤーグリッド偏光膜1a,1bにおいて反射される光束の偏光方向は、互いに平行な方向となる。
この反射型偏光子においては、不定偏光の入射光が一方の主面部上のワイヤーグリッド偏光膜1aに入射すると、この入射光に含まれるS偏光成分は、このワイヤーグリッド偏光膜1aによって反射される。そして、入射光のP偏光成分は、反射面1aを透過し、基板1を透過し、さらに、他方の主面部上のワイヤーグリッド偏光膜1bを透過する。
この反射型偏光子においては、入射光のうち、ワイヤーグリッド偏光膜1a,1bによって反射される偏光成分は、基板1のいずれの主面部の側から入射する場合であっても、基板1内に入射することなく、基板1の表面部において反射されるので、基板1内における応力(歪み)による複屈折の影響を受けることがない。
また、この反射型偏光子においては、入射光のうち、ワイヤーグリッド偏光膜1a,1bを透過する偏光成分は、基板1のいずれの主面部の側から入射する場合であっても、基板1内において基板1内における応力(歪み)による複屈折の影響を受けても、出射する主面部上のワイヤーグリッド偏光膜1a,1bを透過するときに、複屈折の影響を受けた成分が遮断される。
すなわち、基板1内においては、通常の使用状態において、光束が入射され温度が上昇し熱膨張が生じることによる内部応力の増大や、この基板1を支持、固定する図示しない枠部材等からの応力により、複屈折を生じる。このような複屈折は、この基板1を透過するP偏光成分の偏光方向を乱してしまい、楕円偏光にしてしまう。偏光状態の乱れは不均一であり、偏光を利用して画像表示を行う反射型空間光変調素子を用いた画像表示装置において大きな問題となる。
本発明に係る反射型偏光子を経た光束においては、基板1内で偏光面が乱れても、この基板1の両主面部上のワイヤーグリッド偏光膜1a,1bにより、基板1における複屈折の影響が抑制される。
なお、ワイヤーグリッド偏光膜の構成については、特表2002−514778号公報にも記載されている。
そして、本発明に係る反射型偏光子においては、基板1は、光学ガラスからなる透明な基板が2枚貼合わせられたものとしてもよい。
この場合には、各ワイヤーグリッド偏光膜1a,1bは、各基板の片側の主面部にそれぞれ形成されているものとしておく。そして、これら各基板同士を各ワイヤーグリッド偏光膜1a,1bが外側になるよう貼合わせるときに、各基板同士の位置関係を調整することにより、各ワイヤーグリッド偏光膜1a,1bを、容易に平行ニコルの関係とすることができる。
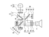
図2は、本発明に係る画像表示装置の構成を示す平面図である。
本発明に係る画像表示装置は、図2に示すように、光源部6と、光束分離手段となる色成分分離部10と、第1の光束分離合成手段となる第1の色成分分離合成部20と、第2の光束分離合成手段となる第2の色成分分離合成部30と、光束合成手段となる色合成部40と、結像光学系となる投写レンズ8とを有して構成されている。
光源部6は、凹面反射板を備えたランプ61と、偏光板62とを有して構成されている。ランプ61から出射されたR(赤)G(緑)B(青)3原色光を含む白色の不定偏光光束は、偏光板62を透過することにより、概ねP偏光成分のみ、あるいは、S偏光成分のみからなる所定の偏光状態の照明光となり、色成分分離部10に入射される。
色成分分離部10は、入射された照明光を、各原色光の偏光状態に応じて、第1及び第2の原色光を含む光束と第3の原色光を含む光束とに分離させ、これら光束を互いに直交する2方向に出射する。
すなわち、色成分分離部10は、光源部6からの照明光が入射される第1のカラー偏光子12と、この第1のカラー偏光子12を透過した照明光が入射される色分離用反射型偏光子11とから構成されている。光源部6から入射された照明光は、第1のカラー偏光子12において、白色光のうちの所望の波長域成分(第3の原色光)のみの偏光方向を90°回転されて、色分離用反射型偏光子11に対し、ガラス基板面から入射される。
この色分離用反射型偏光子11は、ガラス基板の片側のみにワイヤーグリッド偏光膜が形成されたものである。
色分離用反射型偏光子11においては、第1のカラー偏光子12を透過した照明光のうちのP偏光成分(第1及び第2の原色光)が透過して第1の色成分分離合成部20に入射される。第1のカラー偏光子12を透過した照明光のうちのS偏光成分(第3の原色光)は、色分離用反射型偏光子11において反射され、この色分離用反射型偏光子11に対する入射光に直交する方向に出射されて、第2の色成分分離合成部30に入射される。
第1の色成分分離合成部20は、色成分分離部10により分離された光束のうち、第1及び第2の原色光を含む光束が入射され、この光束を各原色光の偏光状態に応じて互いに直交する2方向に分離させて第1及び第2の反射型空間光変調素子23,24にそれぞれ入射させるとともに、これら第1及び第2の反射型空間光変調素子23,24において変調されて反射された反射光束を合成して、色成分分離部10からの光束の入射方向に対して直交する方向に出射する。
すなわち、第1の色成分分離合成部20は、色成分分離部10からの光束が入射される第2のカラー偏光子22と、この第2のカラー偏光子22の透過光が入射される反射型偏光子25と、この反射型偏光子25の透過光が入射される第1の波長板27及び第1の反射型空間光変調素子23と、反射型偏光子25における反射光が入射される第2の波長板26及び第2の反射型空間光変調素子24とを備えている。
反射型偏光子25は、光学ガラスからなる光透過性の基板の両主面部に互いに平行ニコルの関係となされてワイヤーグリッド偏光膜がそれぞれ形成された構成となっている。
色成分分離部10の色分離用反射型偏光子11を透過したP偏光成分(第1及び第2の原色光)は、第2のカラー偏光子22において、所望の波長域成分(第1または第2の原色光)のみの偏光方向を90°回転されて、反射型偏光子25に入射される。第2のカラー偏光子22において偏光方向を90°回転された成分は、反射型偏光子25に対するS偏光成分となり、この反射型偏光子25の反射面により反射され、第2の反射型空間光変調素子24に入射される。
一方、第2のカラー偏光子22において偏光方向を回転されずに透過した成分は、反射型偏光子25に対するP偏光成分となり、この反射型偏光子25を透過し、第1の反射型空間光変調素子23に入射される。
第1の反射型空間光変調素子23及び第2の反射型空間光変調素子24に入射された光束は、表示画像に応じて偏光方向を変調されて反射される。表示画像において明るい画素の部分では、入射光の偏光方向が90°回転されて反射され、暗い画素の部分では、入射光の偏光方向がそのままで反射される。
すなわち、第1の反射型空間光変調素子23に入射されたP偏光成分は、表示画像に応じてS偏光成分となって反射され、反射型偏光子25において反射されて色成分合成部40に入射される。そして、偏光方向を変調されなかったP偏光成分は、反射型偏光子25を透過して、色成分分離部10に戻り、光源部6へ戻される。
第2の反射型空間光変調素子24に入射されたS偏光成分は、表示画像に応じてP偏光成分となって反射され、反射型偏光子25を透過して色成分合成部40に入射される。そして、偏光方向を変調されなかったS偏光成分は、反射型偏光子25において反射され、色成分分離部10に戻り、光源部6へ戻される。
第2の色成分分離合成部30は、色成分分離部10により分離された光束のうち、第3の原色光を含む光束が入射され、この光束を第3の反射型空間光変調素子32に入射させるとともに、この第3の反射型空間光変調素子32において変調されて反射された反射光束を、色成分分離部10からの光束の入射方向に対して直交する方向に出射する。
すなわち、第2の色成分分離合成部30は、色成分分離部10からの光束が入射される第3のカラー偏光子35と、この第3のカラー偏光子35の透過光が入射される反射型偏光子33と、この反射型偏光子33の透過光が入射される第3の波長板34及び第3の反射型空間光変調素子32とを備えている。
色成分分離部10の色分離用反射型偏光子11により反射されたS偏光成分(第3の原色光)は、第3のカラー偏光子35において、偏光方向を90°回転されて、反射型偏光子33に対し、ガラス基板面から入射される。この反射型偏光子33は、ガラス基板の片側のみにワイヤーグリッド偏光膜が形成されたものである。なお、第3のカラー偏光子35は、λ/2板(二分の一波長板)としてもよい。反射型偏光子33への入射光は、この反射型偏光子33に対するS偏光成分となっており、この反射型偏光子33を透過し、第3の反射型空間光変調素子32に入射される。
第3の反射型空間光変調素子32に入射されたP偏光成分は、表示画像に応じてS偏光成分となって反射され、反射型偏光子33において反射されて色成分合成部40に入射される。そして、偏光方向を変調されなかったP偏光成分は、反射型偏光子33を透過して、色成分分離部10に戻り、光源部6へ戻される。
色合成部40は、第1の色成分分離合成部20からの出射光束及び第2の色成分分離合成部30からの出射光束が入射され、これら光束を合成して、投写レンズ8に入射させる。
すなわち、色合成部40は、第1の色成分分離合成部20からの光束が入射される第4のカラー偏光子43と、この第4のカラー偏光子43の透過光及び第2の色成分分離合成部30からの光束が入射される色合成用の偏光ビームスプリッタ41と、この偏光ビームスプリッタ41を経た光束が入射される第5のカラー偏光子44及び偏光板45とを備えている。
この色合成部40において、第2の色成分分離合成部30から入射されたS偏光成分は、偏光ビームスプリッタ41の偏光反射面において反射され、投射レンズ8側に出射される。このとき、第2の色成分分離合成部30からの入射光の波長帯域成分(第3の原色光)の偏光方向を、第5のカラー偏光子44によって、90°回転させ、P偏光成分として、偏光板45を透過させる。
一方、第1の色成分分離合成部20から入射された光束のうち第1の反射型空間光変調素子23において反射されたS偏光成分は、第4のカラー偏光子43において偏光方向を90°回転され、P偏光成分として、偏光ビームスプリッタ41の偏光膜を透過し、そのまま投射レンズ8側に出射される。
第1の色成分分離合成部20から入射された光束のうち第2の反射型空間光変調素子24において反射されたP偏光成分は、第4のカラー偏光子43を偏光方向を回転されることなく透過し、さらに、偏光ビームスプリッタ41の偏光膜を透過し、そのまま投射レンズ8側に出射される。
この画像表示装置においては、色成分分離部10の色分離用反射型偏光子11、第1の色成分分離合成部20の反射型偏光子25及び第2の色成分分離合成部30の反射型偏光子33のうち、少なくとも第1の色成分分離合成部20の反射型偏光子25は、光学ガラスからなる光透過性の基板1の両主面部に互いに平行ニコルの関係となされてワイヤーグリッド偏光膜1a,1bがそれぞれ形成された構成となっている。したがって、この反射型偏光子25においては、基板1内における複屈折が表示画像に影響することがない。
なお、色成分分離部10の色分離用反射型偏光子11及び第2の色成分分離合成部30の反射型偏光子33も、光学ガラスからなる光透過性の基板の両主面部に互いに平行ニコルの関係となされてワイヤーグリッド偏光膜がそれぞれ形成された構成としてもよい。このように、各反射型偏光子を、基板の両面にワイヤーグリッド偏光膜を有するものとすることにより、基板内における複屈折の表示画像に対する影響をより確実に抑制することができる。
この画像表示装置において、第1乃至第3の反射型空間光変調素子23,24,32の入射面側に配置されている第1乃至第3波長板27,26,34は、各反射型空間光変調素子23,24,32が反射型液晶表示素子である場合において、液晶プレチルト角の偏光状態の補正を行なうためのものである。なお、これらいずれの波長板27,26,34も、各透過波長に対応したλ/4板(四分の一波長板)あるいはλ/2板(二分の一波長板)である。液晶プレチルト角分の補正は、微量でよく、1/10波長以下、さらには、1/20波長以下の微量な補正板であるほうが望ましい。
実際の波長板の取り付けにあたっての光学軸方向の設定は、反射型空間光変調素子を黒表示状態とし、表示される画像において黒が最も沈んだ状態(黒くなる状態)とになるようにして調整を行なう。
なお、図2においては、第2の反射型空間光変調素子24と反射型偏光子25との間にシリンドリカルレンズ81が配置されている。このシリンドリカルレンズ81は、第2の反射型空間光変調素子24において反射された変調光の投射レンズ8に至る光路上に反射型偏光子25の基板1が傾斜して挿入されているために、この基板1において非点収差が発生するので、この非点収差を補正するためのレンズである。
1 基板
1a,1b ワイヤーグリッド偏光膜
6 光源部
8 投写レンズ
10 色成分分離部
20 第1の色成分分離合成部
30 第2の色成分分離合成部
40 色合成部
1a,1b ワイヤーグリッド偏光膜
6 光源部
8 投写レンズ
10 色成分分離部
20 第1の色成分分離合成部
30 第2の色成分分離合成部
40 色合成部
Claims (2)
- 光学ガラスからなる光透過性の基板と、
前記基板の両主面部にそれぞれ形成されたワイヤーグリッド偏光膜と、を備え、
前記各ワイヤーグリッド偏光膜は、互いに平行ニコルの関係となされて形成されていることを特徴とする反射型偏光子。 - 3原色光を含み所定の偏光状態となされた照明光が入射され、この照明光を、各原色光の偏光状態に応じて、第1及び第2の原色光を含む光束と第3の原色光を含む光束とに分離させ、これら光束を互いに直交する2方向に出射する光束分離手段と、
前記光束分離手段により分離された光束のうち、第1及び第2の原色光を含む光束が入射され、この光束を各原色光の偏光状態に応じて互いに直交する2方向に分離させて第1及び第2の反射型空間光変調素子にそれぞれ入射させるとともに、これら第1及び第2の反射型空間光変調素子において変調されて反射された反射光束を合成して、前記光束分離手段からの光束の入射方向に対して直交する方向に出射する第1の光束分離合成手段と、
前記光束分離手段により分離された光束のうち、第3の原色光を含む光束が入射され、この光束を第3の反射型空間光変調素子に入射させるとともに、この第3の反射型空間光変調素子において変調されて反射された反射光束を、前記光束分離手段からの光束の入射方向に対して直交する方向に出射する第2の光束分離合成手段と、
前記第1の光束分離合成手段からの出射光束及び前記第2の光束分離合成手段からの出射光束が入射され、これら光束を合成して、結像光学系に入射させる光束合成手段と、を備え、
前記光束分離手段、前記第1の光束分離合成手段及び前記第2の光束分離合成手段のうち、少なくとも前記第1の光束分離合成手段は、光学ガラスからなる光透過性の基板の両主面部に互いに平行ニコルの関係となされてワイヤーグリッド偏光膜がそれぞれ形成されたものであることを特徴とする画像表示装置。
Priority Applications (1)
| Application Number | Priority Date | Filing Date | Title |
|---|---|---|---|
| JP2003337505A JP2005106940A (ja) | 2003-09-29 | 2003-09-29 | 反射型偏光子及び画像表示装置 |
Applications Claiming Priority (1)
| Application Number | Priority Date | Filing Date | Title |
|---|---|---|---|
| JP2003337505A JP2005106940A (ja) | 2003-09-29 | 2003-09-29 | 反射型偏光子及び画像表示装置 |
Publications (1)
| Publication Number | Publication Date |
|---|---|
| JP2005106940A true JP2005106940A (ja) | 2005-04-21 |
Family
ID=34533307
Family Applications (1)
| Application Number | Title | Priority Date | Filing Date |
|---|---|---|---|
| JP2003337505A Pending JP2005106940A (ja) | 2003-09-29 | 2003-09-29 | 反射型偏光子及び画像表示装置 |
Country Status (1)
| Country | Link |
|---|---|
| JP (1) | JP2005106940A (ja) |
Cited By (5)
| Publication number | Priority date | Publication date | Assignee | Title |
|---|---|---|---|---|
| JP2007233293A (ja) * | 2006-03-03 | 2007-09-13 | Compal Communications Inc | プロジェクター及びそれを備えた携帯電子装置 |
| JP2008216956A (ja) * | 2006-07-07 | 2008-09-18 | Sony Corp | 偏光素子及び液晶プロジェクター |
| JP2009276401A (ja) * | 2008-05-12 | 2009-11-26 | Teijin Ltd | 積層偏光板、及び液晶表示装置 |
| JP2010210705A (ja) * | 2009-03-06 | 2010-09-24 | Seiko Epson Corp | 偏光素子および偏光素子の製造方法、投射型表示装置、液晶装置、電子機器 |
| USRE45642E1 (en) | 2007-02-06 | 2015-08-04 | Sony Corporation | Polarizing element and liquid crystal projector |
-
2003
- 2003-09-29 JP JP2003337505A patent/JP2005106940A/ja active Pending
Cited By (10)
| Publication number | Priority date | Publication date | Assignee | Title |
|---|---|---|---|---|
| JP2007233293A (ja) * | 2006-03-03 | 2007-09-13 | Compal Communications Inc | プロジェクター及びそれを備えた携帯電子装置 |
| JP2008216956A (ja) * | 2006-07-07 | 2008-09-18 | Sony Corp | 偏光素子及び液晶プロジェクター |
| JP2012048258A (ja) * | 2006-07-07 | 2012-03-08 | Sony Corp | 偏光素子及び液晶プロジェクター |
| JP2019003209A (ja) * | 2006-07-07 | 2019-01-10 | ソニー株式会社 | 液晶プロジェクター |
| USRE45642E1 (en) | 2007-02-06 | 2015-08-04 | Sony Corporation | Polarizing element and liquid crystal projector |
| USRE46560E1 (en) | 2007-02-06 | 2017-09-26 | Sony Corporation | Polarizing element and liquid crystal projector |
| USRE48640E1 (en) | 2007-02-06 | 2021-07-13 | Dexerials Corporation | Polarizing element and liquid crystal projector |
| JP2009276401A (ja) * | 2008-05-12 | 2009-11-26 | Teijin Ltd | 積層偏光板、及び液晶表示装置 |
| JP2010210705A (ja) * | 2009-03-06 | 2010-09-24 | Seiko Epson Corp | 偏光素子および偏光素子の製造方法、投射型表示装置、液晶装置、電子機器 |
| US8488070B2 (en) | 2009-03-06 | 2013-07-16 | Seiko Epson Corporation | Polarizing element and method for manufacturing the same, projection type display, liquid crystal device, and electronic apparatus |
Similar Documents
| Publication | Publication Date | Title |
|---|---|---|
| US6678015B2 (en) | Color separating/synthesizing apparatus | |
| JP3417757B2 (ja) | 液晶表示装置およびその光束分離方法 | |
| JP2008275798A (ja) | 投射型表示装置 | |
| US6943850B2 (en) | Optical apparatus and projection type display apparatus for reducing a physical distance between a light source and a display | |
| JP2009229804A (ja) | 光学部品、光学ユニットおよび表示装置 | |
| US7137704B2 (en) | Color splitting/combining optical system and image projecting apparatus | |
| US7092056B2 (en) | Quarter wavelength plate and projection type video display device using the same | |
| JP4380180B2 (ja) | 画像表示装置 | |
| CN111902771B (zh) | 图像显示装置和图像显示单元 | |
| JP2006276826A (ja) | 反射型投射表示装置 | |
| US7365721B2 (en) | Projection display | |
| JP2005106940A (ja) | 反射型偏光子及び画像表示装置 | |
| US6123424A (en) | Optical system for use in an image projector | |
| JP2000111864A (ja) | 投射型表示装置及び投射型表示装置の調整方法 | |
| JP2011059461A (ja) | 投写型表示装置 | |
| KR100429213B1 (ko) | 프로젝터의 광학계 | |
| JP2008275909A (ja) | 投射型表示装置 | |
| JP2011095404A (ja) | 画像表示装置 | |
| JP4967253B2 (ja) | 光学装置及び投射装置 | |
| JP2007199486A (ja) | 投射型表示装置 | |
| JP2005099093A (ja) | 偏光分離装置、及び投射表示装置 | |
| CN113841088B (zh) | 图像显示设备和图像显示单元 | |
| JP2000112020A (ja) | 投射型表示装置 | |
| JP2007003809A (ja) | 投射型画像表示装置 | |
| JP2005134814A (ja) | 画像表示装置 |
Legal Events
| Date | Code | Title | Description |
|---|---|---|---|
| A621 | Written request for application examination |
Free format text: JAPANESE INTERMEDIATE CODE: A621 Effective date: 20060331 |
|
| A131 | Notification of reasons for refusal |
Free format text: JAPANESE INTERMEDIATE CODE: A131 Effective date: 20081104 |
|
| A02 | Decision of refusal |
Free format text: JAPANESE INTERMEDIATE CODE: A02 Effective date: 20090317 |