JP2005106295A - 空気調和機の配線接続構造 - Google Patents

空気調和機の配線接続構造 Download PDF

Info

Publication number
JP2005106295A
JP2005106295A JP2003286521A JP2003286521A JP2005106295A JP 2005106295 A JP2005106295 A JP 2005106295A JP 2003286521 A JP2003286521 A JP 2003286521A JP 2003286521 A JP2003286521 A JP 2003286521A JP 2005106295 A JP2005106295 A JP 2005106295A
Authority
JP
Japan
Prior art keywords
power supply
wiring
indoor
outdoor unit
connection
Prior art date
Legal status (The legal status is an assumption and is not a legal conclusion. Google has not performed a legal analysis and makes no representation as to the accuracy of the status listed.)
Pending
Application number
JP2003286521A
Other languages
English (en)
Other versions
JP2005106295A5 (ja
Inventor
Hisao Nio
尚夫 仁王
Tatsunao Hayashida
達尚 林田
Taro Hattori
太郎 服部
Current Assignee (The listed assignees may be inaccurate. Google has not performed a legal analysis and makes no representation or warranty as to the accuracy of the list.)
Mitsubishi Electric Corp
Original Assignee
Mitsubishi Electric Corp
Priority date (The priority date is an assumption and is not a legal conclusion. Google has not performed a legal analysis and makes no representation as to the accuracy of the date listed.)
Filing date
Publication date
Application filed by Mitsubishi Electric Corp filed Critical Mitsubishi Electric Corp
Priority to JP2003286521A priority Critical patent/JP2005106295A/ja
Publication of JP2005106295A publication Critical patent/JP2005106295A/ja
Publication of JP2005106295A5 publication Critical patent/JP2005106295A5/ja
Pending legal-status Critical Current

Links

Images

Landscapes

  • Air Filters, Heat-Exchange Apparatuses, And Housings Of Air-Conditioning Units (AREA)

Abstract

【課題】 室外ユニットからの電源の繋ぎ線の有無に関わらず室内ユニットを交換してもユニット間の繋ぎ既設配線を活用できるようにした空気調和機の配線接続構造を提供する。
【解決手段】室外ユニットと室内ユニットからなり、互いのユニットが繋ぎ配線を介して接続される空気調和機の配線接続構造において、電源中継接続部が、室外ユニットの電源又は室外ユニット以外の外部電源のいずれか一方と選択接続できるように室内ユニットの電源回路内に設けられ、室外ユニットからの繋ぎ配線の電源繋ぎ線の有無に関わらず室内ユニットを交換しても繋ぎ配線の既設配線を活用できるようにしたものである。
【選択図】図1

Description

この発明は、既設工事配線を活用して室内ユニットと室外ユニットとを配線接続する空気調和機の配線接続構造に関するものである。
従来の室内ユニットの配線接続構造においては、既設の室外ユニットと室内ユニットのいずれか一方が寿命等で故障し、新しいスペックの室外ユニットや室内ユニットに置き変える時、互いの新旧ユニットのスペックが同じ時は、問題は生じないものの、一般的に、寿命期間を挟んだ新旧ユニットのスペックは技術の進歩の関係から必然的に異なり、その結果、交換ユニット間のスペックが相違して、ユニット間の繋ぎ配線の本数や太さが相違するため、室内外ユニット間を接続する通信配線や電源配線等の既設の繋ぎ配線も新規に変えなければならなかった。
(特許文献1参照)
特開7−293930号公報(第3頁〜4頁、図1〜図6)
即ち、例えば、図6の如く、既設の室外ユニット10と既設の室内ユニット22が通信配線のみの2本で結ばれ、室内ユニット22の電源配線が室外ユニット以外の外部電源に2本の線で接続された配線構造において、この既設の室外ユニット10又は室内ユニット22の一方が寿命故障し、図5のような通信配線と電源配線とを3本線で構成した繋ぎ配線の工事性の良い室外ユニット1又は室内ユニット20に交換する時、室内外ユニット間を接続する繋ぎ配線本数やその太さが相違するため、既設の繋ぎ配線も新規なものに変えなければならなかった。
また逆に、通信配線と電源配線とを3本線の繋ぎ配線で構成した既設の室外ユニット1と室内ユニット20が寿命故障し、通信配線のみの細い2本の配線で結ばれた室外ユニット10又は室内ユニット22に交換する時も、同様に、室内外ユニット間を接続する繋ぎ配線本数やその太さが相違するため、新規な繋ぎ配線に変えなければならなかった。
即ち、一般的に、室内外ユニット間を通信配線と電源配線からなる3本線の繋ぎ配線で接続する時は、電源ノイズが通信配線に入らないようにするため、丸形3芯線を用いず、平形3芯線を用い、また、室内外ユニット間が2芯の通信配線のみので接続されている時は、通電電圧が低いため、電源配線よりも細い配線を用いてコストを下げるのが一般的なやり方であるから、益々、新規な繋ぎ配線に変えなければならないこととなる。
以上説明したように、従来の空気調和機の配線接続構造においては、既設の室内外ユニットが寿命故障し、新しいスペックの室内外ユニットに変える時は、既設の室内外ユニット間を接続している既設の繋ぎ配線本数が変わったり、その既設の繋ぎ配線の太さも電源線と通信線では変るため、既設の繋ぎ配線も変えなけばならいこととなり、工期や工費がかかるなどの問題点があった。
この発明は、上記のような問題点を解決するためになされたもので、室内外ユニットを交換する時、室内外ユニット間の既設繋ぎ配線の本数や太さ形状が変化しても、室内外ユニット間を接続できる経済的な空気調和機の配線接続構造を提供することを目的とする。
この発明に係る空気調和機の配線接続構造においては、室外ユニットと室内ユニットからなり、互いのユニットが繋ぎ配線を介して接続される空気調和機の配線接続構造において、電源中継接続部が、前記室外ユニットの電源又は前記室外ユニット以外の外部電源のいずれか一方と選択接続できるように前記室内ユニットの電源回路内に設けられ、前記室外ユニットからの前記繋ぎ配線の電源繋ぎ線の有無に関わらず前記室内ユニットを交換しても前記繋ぎ配線の既設配線を活用できるようにしたものである。
また、前記電源中継接続部が、前記室外ユニットの電源回路に前記繋ぎ配線を介して接続された室外機用電源接続部と、前記室外ユニット以外の外部電源回路に前記繋ぎ配線を介して接続された外部用電源接続部と、この外部用電源接続部又は前記室外機用電源接続部のいずれか一方と脱着自在に接続され、前記室内ユニットの電源回路に配線で連絡された室内電源接続部と、を具備したものである。
また、前記電源中継接続部が、前記室外ユニットの電源回路に前記繋ぎ配線を介して接続された室外機用接続接続部と、前記室外ユニット以外の外部電源回路に前記繋ぎ配線を介して接続された外部用電源接続部と、この外部用電源接続部又は前記室外機用電源接続部のいずれか一方を脱着自在に装着して前記室内ユニットの電源回路に配線で連絡された室内電源接続部と、前記外部用電源接続部又は前記室外機用電源接続部のいずれか一方のその他方を脱着自在に装着するダミー接続部と、を具備したものである。
また、前記室内電源接続部がピン状の差込み構造からなり、前記外部用電源接続部又は前記室外機用電源接続部とワンタッチで差換え接続できるように構成されたものである。
また、前記外部用電源接続部と前記室外機用電源接続部がそれぞれ識別できるように互いに異なった色又は識別符号を有するものである。
また、前記室内電源接続部の電圧を検出する電圧検出手段と、この電圧検出手段の検出結果に基づいて前記室内電源接続部への電圧供給有無を知らせる告知手段と、を具備したものである。
以上説明したように、この発明においては、室外ユニットと室内ユニットからなり、互いのユニットが繋ぎ配線を介して接続される空気調和機の配線接続構造において、電源中継接続部が、前記室外ユニットの電源又は前記室外ユニット以外の外部電源のいずれか一方と選択接続できるように前記室内ユニットの電源回路内に設けられ、前記室外ユニットからの前記繋ぎ配線の電源繋ぎ線の有無に関わらず前記室内ユニットを交換しても前記繋ぎ配線の既設配線を活用できるようにしたので、室内外ユニットを交換する時、室内外ユニット間の既設繋ぎ配線の本数や太さ形状が変化しても、既設繋ぎ配線を利用して室内外ユニット間を接続できる経済的な空気調和機の配線接続構造が得られる。
また、前記電源中継接続部が、前記室外ユニットの電源回路に前記繋ぎ配線を介して接続された室外機用電源接続部と、前記室外ユニット以外の外部電源回路に前記繋ぎ配線を介して接続された外部用電源接続部と、この外部用電源接続部又は前記室外機用電源接続部のいずれか一方と脱着自在に接続され、前記室内ユニットの電源回路に配線で連絡された室内電源接続部と、を具備したので、室外ユニットからの電源繋ぎ線の有無に関わらず繋ぎ配線3の既設配線を活用して新しい室内ユニット2に交換できるようにしたので、空気調和機をリプレースする場合に、繋ぎ配線を新しく配設する必要がなくなるため、工期や工費を大幅に縮減した空気調和機の配線接続構造が得られる。
また、前記電源中継接続部が、前記室外ユニットの電源回路に前記繋ぎ配線を介して接続された室外機用電源接続部と、前記室外ユニット以外の外部電源回路に前記繋ぎ配線を介して接続された外部用電源接続部と、この外部用電源接続部又は前記室外機用電源接続部のいずれか一方を脱着自在に装着して前記室内ユニットの電源回路に配線で連絡された室内電源接続部と、前記外部用電源接続部又は前記室外機用電源接続部のいずれか一方のその他方を脱着自在に装着するダミー接続部と、を具備したので、室外ユニットからの電源繋ぎ線の有無に関わらず繋ぎ配線3の既設配線を活用して新しい室内ユニット2に交換できるようになるため、空気調和機をリプレースする場合に、繋ぎ配線を新しく配設する必要がなくなるため、工期や工費を大幅に縮減した空気調和機の配線接続構造が得られる。
また、前記室内電源接続部がピン状の差込み構造からなり、前記外部用電源接続部又は前記室外機用電源接続部とワンタッチで差換え接続できるように構成されたので、配線接続の容易な空気調和機の配線接続構造が得られる。
また、前記外部用電源接続部と前記室外機用電源接続部がそれぞれ識別できるように互いに異なった色又は識別符号を有するので、配線接続の容易な空気調和機の配線接続構造が得られる。
また、前記室内電源接続部の電圧を検出する電圧検出手段と、この電圧検出手段の検出結果に基づいて前記室内電源接続部への電圧供給有無を知らせる告知手段と、を具備したので、配線工事誤りの有無が解る使い勝手の良い空気調和機の配線接続構造が得られる。
実施の形態1.
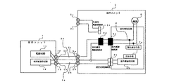
以下、この発明の実施の形態1について図1および図2を用いて説明する。なお、図1はこの発明の実施の形態1における室内外ユニット間を電源繋ぎ線と通信繋ぎ線で結んだ空気調和機の配線接続構造の概略構成図であり、図2はこの発明の実施の形態1における室内外ユニット間を通信繋ぎ線のみで結んだ空気調和機の配線接続構造の概略構成図である。
これらの図において、1は室外ユニットであり、1aは室外ユニット1の室外電源出力端子であり、1bは室外ユニット1の室外側通信出力端子であり、1cは室外ユニット1の電源回路であり、1dは室外ユニット1の室外側通信回路である。
また、2は室内ユニットであり、2aは室内ユニット2の室内側電源入力端子であり、2bは室内ユニット2の室内側通信入力端子であり、2cは室内ユニット以外の外部電源が接続される室内側外部入力端子であり、2eはこの室内側外部入力端子2cに接続された電源中継接続部としての外部用電源接続部であり、2dは前述の室内側電源入力端子2aに接続された電源中継接続部としての室外機用電源接続部である。
また、3は室内外ユニット1,2間を繋ぐ繋ぎ配線であり、3aはこの繋ぎ配線3の室外側通信出力端子1bと室内側通信入力端子2bとを繋ぐ通信用繋ぎ配線であり、3bは室外電源出力端子1aと室内側電源入力端子2aとを繋ぐ電源用繋ぎ配線であり、3cは図2に示す如く、室内ユニット以外の外部電源と室内側外部入力端子2cを繋ぐ外部電源用繋ぎ配線である。
なお、電源用繋ぎ配線は電圧の関係から通信用繋ぎ配線よりも太いのが一般的であり、また、図1の如く、電源用繋ぎ配線3bと通信用繋ぎ配線3aがコモン配線を共用して一体化された3本線のものは平形3芯線を用いるのが電源ノイズの関係から一般的である。
また、4は室内ユニット2の室内電気回路の電源回路であり、4aはこの室内電気回路の電源回路4に設けられ、電源中継接続部の室外機用電源接続部2d又は外部用電源接続部2eのいずれか一方に選択接続されて室内ユニット2の電源回路4へ電源を供給する電源中継接続部の室内電源接続部であり、8は室内側通信入力端子2bに接続された通信回路であり、8aはその通信回路の通信回路接続部である。
また、5は室外ユニット1以外の外部電源であり、5cはこの外部電源の電源出力端子で、6は室内電気回路に接続されて制御される各種機器であり、7は室内電源接続部4aの電圧状態を告知する告知手段であり、7aはこの告知手段7へ室内電源接続部4aの電圧を検出して送信する電圧検出手段である。
次に、このように構成された室内ユニットと室外ユニットとの間の既設配線を活用して空気調和機をリプレースする動作について説明する。
まず、この発明の室内ユニット2は、前述したように、電源中継接続部は、室外ユニット1の電源回路1cに既設の電源用繋ぎ配線3bを介して接続された室外機用電源接続部2dと、室外ユニット以外の外部電源5の回路に既設の外部電源用繋ぎ配線3cを介して接続された外部用電源接続部2eと、この外部用電源接続部2e又は室外機用電源接続部2dのいずれか一方と脱着自在に選択接続でき、室内ユニット2の電源回路に配線で連絡された室内電源接続部4aとからなるので、例えば、図5のような通信配線と電源配線3本線の繋ぎ配線3で接続された既設の室内外ユニットのうち、室内ユニット20が寿命故障して、新スペックの室内ユニット2に交換する時は、図1の如く、既設配線の本数とその太さ・形状も変わらないので、そのまま室内ユニットのみを交換した後、この室内ユニットの室内側電源入力端子2a及び室内側通信入力端子2bに既設の通信及び電源の繋ぎ配線3a,3bからなる3芯の繋ぎ配線3を接続して空気調和機を運転することになる。
何故なら、この時、図1の如く、室内電源接続部4aは室内ユニット2の室内側電源入力端子2aに接続された室外機用電源接続部2dに接続されて製品出荷されているので、電源中継接続部の接続回路を弄くる必要がない。
また、室外ユニット1が寿命故障した時は、同じ電源回路付スペックの室外ユニット1に交換した後、室外ユニット1の室外電源出力端子1a及び室外側通信出力端子1bに既設の平形3芯繋ぎ配線3を接続して空気調和機を運転することになる。
次に、図6のような室内外ユニット間の繋ぎ線が通信配線のみからなり、室内ユニット22の電源を室外ユニット以外の外部電源5から取っている既設の室内外ユニットのうち、室内ユニット22が寿命故障して、新スペックの室内ユニット2に交換する時は、図2の如く、既設配線の本数とその太さ・形状は変わらず、室内ユニット2の電源接続回路のみが変わっているので、室内ユニット2を交換した後、室外機用電源接続部2dと接続されていた室内電源接続部4aを室外機用電源接続部2dから取外し、外部用電源接続部2eに接続変更した後、室内ユニット2の室内側通信入力端子2b及び外部電源入力端子2cに既設の2芯の通信用及び電源用繋ぎ配線3a、3cをぞれぞれ接続して空気調和機を運転することになる。
また、室外ユニット10が寿命故障した時は、同じ外部電源スペックの室外ユニット10に交換した後、室外ユニット2の室外側通信出力端子1b及び外部電源出力端子5cに既設の2芯の各繋ぎ配線3a、3cをそれぞれ接続して空気調和機を運転することになる。
なお、この時、寿命故障した室外ユニット10を室外ユニット1に交換した時は、寿命時間の関係から室内ユニット22も室内ユニット2に変えた時も、前述したように、図2の如く、既設の2芯の通信用及び外部電源用繋ぎ配線3a、3cを活用して運転するようになる。
以上説明したように、室内ユニット2の電源中継接続部が、室外ユニット1の電源回路1cに既設の電源用繋ぎ配線3bを介して接続された室外機用電源接続部2dと、室外ユニット以外の外部電源5の回路に既設の外部電源用繋ぎ配線3cを介して接続された外部用電源接続部2eと、この外部用電源接続部2e又は室外機用電源接続部2dのいずれか一方と脱着自在に選択接続でき、室内ユニット2の電源回路に配線で連絡された室内電源接続部4aとを具備し、室外ユニットからの電源の繋ぎ配線の有無に関わらず繋ぎ配線3の既設配線を活用して新しい室内ユニット2に交換できるようにしたので、空気調和機をリプレースする場合に、繋ぎ配線を新しく配設工事する必要がなくなるため、工期や工費を大幅に縮減した空気調和機の配線接続構造が得られる。
実施の形態2.
以下、この発明の実施の形態2について図3および図4を用いて説明する。なお、図3はこの発明の実施の形態2における室内外ユニット間を電源繋ぎ線と通信繋ぎ線で結んだ空気調和機の配線接続構造の概略構成図であり、図4はこの発明の実施の形態1における室内外ユニット間を通信繋ぎ線のみで結んだ空気調和機の配線接続構造の概略構成図である。
また、この実施の形態2においては、室内ユニットの電源中継接続部が、室外ユニットの電源回路に前記繋ぎ配線を介して接続される室外機用電源接続部2dと、室外ユニット以外の外部電源回路に前記繋ぎ配線を介して接続される外部用電源接続部2eと、この外部用電源接続部又は前記室外機用電源接続部のいずれか一方を脱着自在に装着して室内ユニットの電源回路に配線で連絡された室内電源接続部4eと、前記外部用電源接続部又は前記室外機用電源接続部のいずれか一方のその他方を脱着自在に装着するダミー接続部4dとからなるものであり、その他の構成は実施の形態1とほぼ同じである。
次に、このように構成された室内ユニットと室外ユニットとの間の既設配線を活用して空気調和機をリプレースする動作について説明する。
まず、この室内ユニット2は、前述したように構成されているので、例えば、図5のような通信配線と電源配線3本線の繋ぎ配線3で接続された既設の室内外ユニットのうち、室内ユニット20が寿命故障して、新スペックの室内ユニット2に交換する時は、図3の如く、既設配線の本数とその太さ・形状も変わらないので、そのまま室内ユニット2に交換した後、室内ユニット2の室内側電源入力端子2a及び室内側通信入力端子2bに既設の平形3芯の通信及び電源の繋ぎ配線3a,3bからなる繋ぎ配線3を接続して空気調和機を運転することになる。
何故なら、この時、図3の如く、室内電源接続部4aは室内ユニット2の室外機用電源接続部2dに接続され、ダミー接続部4dは室内側外部入力端子2cに接続されて製品出荷されているので、電源中継接続部の接続回路を弄くる必要がない。
また、室外ユニット1が寿命故障した時は、同じ電源回路付スペックの室外ユニット1に交換した後、室外ユニット1の室外電源出力端子1a及び室外側通信出力端子1bに既設の3芯繋ぎ配線3を接続して空気調和機を運転することになる。
次に、図6のような室内外ユニット間の繋ぎ線が通信配線のみからなり、室内ユニット22の電源を室外ユニット以外の外部電源5から取っている既設の室内外ユニットのうち、室内ユニット22が寿命故障して、新スペックの室内ユニット2に交換する時は、図4の如く、既設配線の本数とその太さ・形状は変わらず、室内ユニット2の電源接続回路のみが変わているので、室内ユニット2を交換した後、室内電源接続部4aに接続されていた室外機用電源接続部2dを取外す共に、ダミー接続部4dに接続されていた外部用電源接続部2eを取外し、これらの取外した外部用電源接続部2eを室内電源接続部4aに接続すると共に、室外機用電源接続部2dをダミー接続部4dに接続した後、室内ユニット2の室内側通信入力端子2b及び外部電源入力端子2cに既設の2芯の通信用及び電源用繋ぎ配線3a、3cをそれぞれ接続して空気調和機を運転することになる。
また、室外ユニット10が寿命故障した時は、同じ外部電源スペックの室外ユニット10に交換した後、室外ユニット10の室外側通信出力端子1b及び外部電源出力端子5cに既設の2芯の各繋ぎ配線3a、3cを接続して空気調和機を運転することになる。
なお、この時、寿命故障した室外ユニット10を室外ユニット1に交換した時は、寿命時間の関係から室内ユニット22も室内ユニット2に変えも、前述したように、図4の如く、既設の2芯の通信用及び外部電源用繋ぎ配線3a、3cを活用して運転できるようになる。
以上説明したように、この実施の形態2においては、室内ユニットの電源中継接続部が、室外ユニットの電源回路に前記繋ぎ配線を介して接続される室外機用接続部と、室外ユニット以外の外部電源回路に前記繋ぎ配線を介して接続される外部用電源接続部と、この外部用電源接続部又は前記室外機用電源接続部のいずれか一方を脱着自在に装着して室内ユニットの電源回路に配線で連絡された室内電源接続部と、前記外部用電源接続部又は前記室外機用電源接続部のいずれか一方のその他方を脱着自在に装着するダミー接続部とからなり、室外ユニットからの電源の繋ぎ配線有無に関わらず繋ぎ配線3の既設配線を活用して新しい室内ユニット2に交換できるようにしたので、空気調和機をリプレースする場合に、繋ぎ配線を新しく配設工事する必要がなくなるため、工期や工費を大幅に縮減した空気調和機の配線接続構造が得られる。
また、以上説明した実施の形態1、2においては、室内電源接続部4aの接続構造をピン状の差し込み構造にすると、室外機用電源接続部2dと外部用電源接続部2e,或いはダミー接続部4dとワンタッチで差換え接続できるようになるため、配線接続の容易な空気調和機の配線接続構造が得られる。
また、外部用電源接続部2eと室外機用電源接続部2dをそれぞれ識別できるように互いに異なった色又は識別符号を有するようにすると、配線接続の容易な空気調和機の配線接続構造が得られる。
また、室内電源接続部4aの電圧を検出する電圧検出手段7aと、この電圧検出手段の検出結果に基づいて室内電源接続部4aへの電圧供給有無を知らせる告知手段7と、を具備させると、配線工事誤りの有無が解るため、使い勝手の良い空気調和機の配線接続構造が得られる。
なお、この時、室内電源接続部4aの電圧によって点灯するランプを設けても、前述の機能を有するので、そのようにしても良い。
この発明の実施の形態1における室内外ユニット間を電源繋ぎ線と通信繋ぎ線で結んだ空気調和機の配線接続構造の概略構成図である。 この発明の実施の形態1における室内外ユニット間を通信繋ぎ線のみで結んだ空気調和機の配線接続構造の概略構成図である。 この発明の実施の形態2における室内外ユニット間を電源繋ぎ線と通信繋ぎ線で結んだ空気調和機の配線接続構造の概略構成図である。 この発明の実施の形態2における室内外ユニット間を通信繋ぎ線のみで結んだ空気調和機の配線接続構造の概略構成図である。
符号の説明
1 室外ユニット、 1a 室外側電源出力端子、 1b 室外側通信出力端子、 1c 室外電源回路、 2 室内ユニット、 2a 室内側電源入力端子、 2b 室内側通信入力端子、 2c 室内側外部入力端子、 2d 室外機用電源接続部、 2e 外部用電源接続部、 3 繋ぎ線、 3a 通信用繋ぎ線、 3b 電源用繋ぎ線、 3c 外部電源用繋ぎ線、 4 室内電源回路、 4a 室内電源接続部、 4d ダミー接続部、 5 外部電源、 5c 外部電源出力端子、 6 ファン等の各種機器、 7 告知手段、 7a 電圧検出手段、 8 通信回路、 8a 通信回路接続部。

Claims (6)

  1. 室外ユニットと室内ユニットからなり、互いのユニットが繋ぎ配線を介して接続される空気調和機の配線接続構造において、電源中継接続部が、前記室外ユニットの電源又は前記室外ユニット以外の外部電源のいずれか一方と選択接続できるように前記室内ユニットの電源回路内に設けられ、前記室外ユニットからの前記繋ぎ配線の電源繋ぎ線の有無に関わらず前記室内ユニットを交換しても前記繋ぎ配線の既設配線を活用できるようにしたことを特徴する空気調和機の配線接続構造。
  2. 前記電源中継接続部が、前記室外ユニットの電源回路に前記繋ぎ配線を介して接続された室外機用電源接続部と、前記室外ユニット以外の外部電源回路に前記繋ぎ配線を介して接続された外部用電源接続部と、この外部用電源接続部又は前記室外機用電源接続部のいずれか一方と脱着自在に接続され、前記室内ユニットの電源回路に配線で連絡された室内電源接続部と、を具備したことを特徴する請求項1に記載の空気調和機の配線接続構造。
  3. 前記電源中継接続部が、前記室外ユニットの電源回路に前記繋ぎ配線を介して接続された室外機用接続接続部と、前記室外ユニット以外の外部電源回路に前記繋ぎ配線を介して接続された外部用電源接続部と、この外部用電源接続部又は前記室外機用電源接続部のいずれか一方を脱着自在に装着して前記室内ユニットの電源回路に配線で連絡された室内電源接続部と、前記外部用電源接続部又は前記室外機用電源接続部のいずれか一方のその他方を脱着自在に装着するダミー接続部と、を具備したことを特徴する請求項1に記載の空気調和機の配線接続構造。
  4. 前記室内電源接続部がピン状の差込み構造からなり、前記外部用電源接続部又は前記室外機用電源接続部とワンタッチで差換え接続できるように構成されたことを特徴する請求項1から3までのいずれかに記載の室内ユニットの配線接続構造。
  5. 前記外部用電源接続部と前記室外機用電源接続部がそれぞれ識別できるように互いに異なった色又は識別符号を有することを特徴する請求項1から4までのいずれかに記載の室内ユニットの配線接続構造。
  6. 前記室内電源接続部の電圧を検出する電圧検出手段と、この電圧検出手段の検出結果に基づいて前記室内電源接続部への電圧供給有無を知らせる告知手段と、を具備したことを特徴する請求項1から5までのいずれかに記載の空気調和機の配線接続構造。
JP2003286521A 2003-08-05 2003-08-05 空気調和機の配線接続構造 Pending JP2005106295A (ja)

Priority Applications (1)

Application Number Priority Date Filing Date Title
JP2003286521A JP2005106295A (ja) 2003-08-05 2003-08-05 空気調和機の配線接続構造

Applications Claiming Priority (1)

Application Number Priority Date Filing Date Title
JP2003286521A JP2005106295A (ja) 2003-08-05 2003-08-05 空気調和機の配線接続構造

Publications (2)

Publication Number Publication Date
JP2005106295A true JP2005106295A (ja) 2005-04-21
JP2005106295A5 JP2005106295A5 (ja) 2006-09-14

Family

ID=34532125

Family Applications (1)

Application Number Title Priority Date Filing Date
JP2003286521A Pending JP2005106295A (ja) 2003-08-05 2003-08-05 空気調和機の配線接続構造

Country Status (1)

Country Link
JP (1) JP2005106295A (ja)

Cited By (4)

* Cited by examiner, † Cited by third party
Publication number Priority date Publication date Assignee Title
JP2009079809A (ja) * 2007-09-26 2009-04-16 Sanyo Electric Co Ltd 空気調和システムの通信制御方法、空気調和システム、および、室外機
JP2009079810A (ja) * 2007-09-26 2009-04-16 Sanyo Electric Co Ltd 空気調和システムおよび室外機
JP2012180946A (ja) * 2011-02-28 2012-09-20 Toshiba Carrier Corp 熱源ユニット
CN104101033A (zh) * 2013-04-09 2014-10-15 三菱电机株式会社 空调机

Cited By (4)

* Cited by examiner, † Cited by third party
Publication number Priority date Publication date Assignee Title
JP2009079809A (ja) * 2007-09-26 2009-04-16 Sanyo Electric Co Ltd 空気調和システムの通信制御方法、空気調和システム、および、室外機
JP2009079810A (ja) * 2007-09-26 2009-04-16 Sanyo Electric Co Ltd 空気調和システムおよび室外機
JP2012180946A (ja) * 2011-02-28 2012-09-20 Toshiba Carrier Corp 熱源ユニット
CN104101033A (zh) * 2013-04-09 2014-10-15 三菱电机株式会社 空调机

Similar Documents

Publication Publication Date Title
JP2010532603A (ja) オープン化されたフィールドバスを介してバスネットワーク接続された機器を制御するシステム
CN102007733A (zh) 调试设备布置的方法
JP2000196700A (ja) 調歩同期式データ伝送方法
CN111182670A (zh) 一种基于dmx512协议灯具上电自动编址的方法
US20050049754A1 (en) Power and data configurations for building automation systems
JP2005106295A (ja) 空気調和機の配線接続構造
ITGE20070069A1 (it) Sistema a bus seriale per ascensori e altri dispositivi di sollevamento o simili
JP3845420B2 (ja) 光メディアコンバータシステム
JP2008228427A (ja) スイッチングシステム
JP2004295276A (ja) 連設型センサシステム、マスタユニット、センサユニット並びにセンサ中継ユニット
KR20100015655A (ko) 디지털 방식으로 제어되는 조명 시스템의 동작 장치를 위한 파라미터 세트를 미러링하기 위한 회로 어레인지먼트 및 방법
JP2002031391A (ja) 集中制御システムの異機種間通信装置
JP4613681B2 (ja) リモート入出力装置、分散独立型リモートシステム及び無線伝送システム
JP2011019069A (ja) 避雷器管理システム
JP4323256B2 (ja) 空気調和機
JP2003244934A (ja) 電力変換器バルブのための駆動装置
US20240094696A1 (en) Building controller with wiring terminals programmable between an input wiring terminal type, an output wiring terminal type, and a communication wiring terminal type
CN211264137U (zh) 一种模块化空调电控系统
JP4476269B2 (ja) アナンシェーター
JP6869427B2 (ja) 制御基板および空気調和機の室内機
CN212339568U (zh) WiFi控制器以及空调
US20210294768A1 (en) Field device
JP2025068431A (ja) 計測システム、計測方法、及びプログラム
KR200388919Y1 (ko) 통신망을 이용한 신호기 제어장치
KR100880008B1 (ko) 전력선 통신을 이용한 가변구조 빌딩 자동제어 시스템

Legal Events

Date Code Title Description
A521 Written amendment

Free format text: JAPANESE INTERMEDIATE CODE: A523

Effective date: 20060727

A621 Written request for application examination

Free format text: JAPANESE INTERMEDIATE CODE: A621

Effective date: 20060727

A977 Report on retrieval

Free format text: JAPANESE INTERMEDIATE CODE: A971007

Effective date: 20081215

A131 Notification of reasons for refusal

Free format text: JAPANESE INTERMEDIATE CODE: A131

Effective date: 20081224

A02 Decision of refusal

Free format text: JAPANESE INTERMEDIATE CODE: A02

Effective date: 20090507