JP2005094637A - 撮像モジュール及び撮像モジュールを用いた携帯電話 - Google Patents
撮像モジュール及び撮像モジュールを用いた携帯電話 Download PDFInfo
- Publication number
- JP2005094637A JP2005094637A JP2003328241A JP2003328241A JP2005094637A JP 2005094637 A JP2005094637 A JP 2005094637A JP 2003328241 A JP2003328241 A JP 2003328241A JP 2003328241 A JP2003328241 A JP 2003328241A JP 2005094637 A JP2005094637 A JP 2005094637A
- Authority
- JP
- Japan
- Prior art keywords
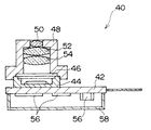
- shield case
- substrate
- imaging module
- ground
- lens barrel
- Prior art date
- Legal status (The legal status is an assumption and is not a legal conclusion. Google has not performed a legal analysis and makes no representation as to the accuracy of the status listed.)
- Pending
Links
- 238000003384 imaging method Methods 0.000 title claims abstract description 75
- 239000000758 substrate Substances 0.000 claims description 91
- 210000000078 claw Anatomy 0.000 claims description 23
- 229910000679 solder Inorganic materials 0.000 claims description 15
- 230000001413 cellular effect Effects 0.000 description 3
- 230000000694 effects Effects 0.000 description 3
- 239000004973 liquid crystal related substance Substances 0.000 description 3
- 239000000853 adhesive Substances 0.000 description 2
- 230000001070 adhesive effect Effects 0.000 description 2
- 239000002184 metal Substances 0.000 description 2
- 239000011347 resin Substances 0.000 description 2
- 229920005989 resin Polymers 0.000 description 2
- 239000003990 capacitor Substances 0.000 description 1
- 239000000919 ceramic Substances 0.000 description 1
- 239000000463 material Substances 0.000 description 1
- 238000000034 method Methods 0.000 description 1
- 239000004065 semiconductor Substances 0.000 description 1
- 238000005476 soldering Methods 0.000 description 1
Images
Landscapes
- Transforming Light Signals Into Electric Signals (AREA)
- Studio Devices (AREA)
- Shielding Devices Or Components To Electric Or Magnetic Fields (AREA)
- Telephone Set Structure (AREA)
Priority Applications (1)
| Application Number | Priority Date | Filing Date | Title |
|---|---|---|---|
| JP2003328241A JP2005094637A (ja) | 2003-09-19 | 2003-09-19 | 撮像モジュール及び撮像モジュールを用いた携帯電話 |
Applications Claiming Priority (1)
| Application Number | Priority Date | Filing Date | Title |
|---|---|---|---|
| JP2003328241A JP2005094637A (ja) | 2003-09-19 | 2003-09-19 | 撮像モジュール及び撮像モジュールを用いた携帯電話 |
Publications (2)
| Publication Number | Publication Date |
|---|---|
| JP2005094637A true JP2005094637A (ja) | 2005-04-07 |
| JP2005094637A5 JP2005094637A5 (enExample) | 2006-11-02 |
Family
ID=34457885
Family Applications (1)
| Application Number | Title | Priority Date | Filing Date |
|---|---|---|---|
| JP2003328241A Pending JP2005094637A (ja) | 2003-09-19 | 2003-09-19 | 撮像モジュール及び撮像モジュールを用いた携帯電話 |
Country Status (1)
| Country | Link |
|---|---|
| JP (1) | JP2005094637A (enExample) |
Cited By (9)
| Publication number | Priority date | Publication date | Assignee | Title |
|---|---|---|---|---|
| JP2007028430A (ja) * | 2005-07-20 | 2007-02-01 | Kyocera Corp | カメラモジュール |
| JP2007180682A (ja) * | 2005-12-27 | 2007-07-12 | Kyocera Corp | 携帯無線機 |
| WO2009119260A1 (ja) * | 2008-03-26 | 2009-10-01 | 京セラ株式会社 | 撮像モジュール |
| JP2010034438A (ja) * | 2008-07-31 | 2010-02-12 | Mitsumi Electric Co Ltd | 電子装置 |
| KR101022910B1 (ko) | 2009-03-06 | 2011-03-16 | 삼성전기주식회사 | 카메라모듈 |
| WO2014013855A1 (ja) * | 2012-07-20 | 2014-01-23 | 株式会社ニコン | 電子機器、レンズ鏡筒、撮像装置 |
| WO2016140002A1 (ja) * | 2015-03-02 | 2016-09-09 | ソニー株式会社 | 表示装置および撮像装置 |
| CN109644576A (zh) * | 2016-09-06 | 2019-04-16 | 索尼半导体解决方案公司 | 电子设备、相机设备和屏蔽机架 |
| JP2019513313A (ja) * | 2016-02-18 | 2019-05-23 | ニンボー サニー オプテック カンパニー,リミテッド | アレイ撮像モジュールおよび成形感光アセンブリ、回路基板アセンブリ、およびそれらの電子デバイス向け製造方法 |
-
2003
- 2003-09-19 JP JP2003328241A patent/JP2005094637A/ja active Pending
Cited By (16)
| Publication number | Priority date | Publication date | Assignee | Title |
|---|---|---|---|---|
| JP2007028430A (ja) * | 2005-07-20 | 2007-02-01 | Kyocera Corp | カメラモジュール |
| JP2007180682A (ja) * | 2005-12-27 | 2007-07-12 | Kyocera Corp | 携帯無線機 |
| WO2009119260A1 (ja) * | 2008-03-26 | 2009-10-01 | 京セラ株式会社 | 撮像モジュール |
| JPWO2009119260A1 (ja) * | 2008-03-26 | 2011-07-21 | 京セラ株式会社 | 撮像モジュール |
| US8259223B2 (en) | 2008-03-26 | 2012-09-04 | Kyocera Corporation | Imaging module |
| JP2010034438A (ja) * | 2008-07-31 | 2010-02-12 | Mitsumi Electric Co Ltd | 電子装置 |
| KR101022910B1 (ko) | 2009-03-06 | 2011-03-16 | 삼성전기주식회사 | 카메라모듈 |
| JP2014021355A (ja) * | 2012-07-20 | 2014-02-03 | Nikon Corp | 電子機器、レンズ鏡筒、撮像装置 |
| WO2014013855A1 (ja) * | 2012-07-20 | 2014-01-23 | 株式会社ニコン | 電子機器、レンズ鏡筒、撮像装置 |
| WO2016140002A1 (ja) * | 2015-03-02 | 2016-09-09 | ソニー株式会社 | 表示装置および撮像装置 |
| CN107430833A (zh) * | 2015-03-02 | 2017-12-01 | 索尼半导体解决方案公司 | 显示装置和成像装置 |
| US10468389B2 (en) | 2015-03-02 | 2019-11-05 | Sony Semiconductor Solutions Corporation | Display device and imaging device |
| JP2019513313A (ja) * | 2016-02-18 | 2019-05-23 | ニンボー サニー オプテック カンパニー,リミテッド | アレイ撮像モジュールおよび成形感光アセンブリ、回路基板アセンブリ、およびそれらの電子デバイス向け製造方法 |
| JP7005505B2 (ja) | 2016-02-18 | 2022-01-21 | ニンボー サニー オプテック カンパニー,リミテッド | アレイ撮像モジュールおよび成形感光アセンブリ、回路基板アセンブリ、およびそれらの電子デバイス向け製造方法 |
| CN109644576A (zh) * | 2016-09-06 | 2019-04-16 | 索尼半导体解决方案公司 | 电子设备、相机设备和屏蔽机架 |
| CN109644576B (zh) * | 2016-09-06 | 2020-11-10 | 索尼半导体解决方案公司 | 电子设备、相机设备和屏蔽机架 |
Similar Documents
| Publication | Publication Date | Title |
|---|---|---|
| JP2006196664A (ja) | 基板へのシールドケース取付構造及び携帯電話 | |
| US7957123B2 (en) | Portable electronic device | |
| JP2004180223A (ja) | カメラ本体の取付構造及びこれを用いた携帯端末装置 | |
| KR102086708B1 (ko) | 음향 출력 모듈을 포함하는 전자 장치 및 전자 장치용 하우징 | |
| US9854077B2 (en) | Mobile terminal and method for controlling the same | |
| JP2008113066A (ja) | 撮像装置 | |
| JP4385252B2 (ja) | 電子機器におけるlcdの防塵構造および該構造を備えた電子機器 | |
| US9641658B2 (en) | Mobile terminal comprising edge mounted LCD display module and window | |
| JP2007274624A (ja) | カメラモジュール | |
| JP2005094637A (ja) | 撮像モジュール及び撮像モジュールを用いた携帯電話 | |
| CN100488211C (zh) | 便携式通讯装置 | |
| JP4117680B2 (ja) | カメラモジュール装置の生産方法およびその方法に用いられるシールドケース構成用ケース | |
| JP2003283176A (ja) | 携帯端末装置 | |
| JP2009042641A (ja) | 電子機器 | |
| JP5364914B2 (ja) | 携帯電子機器 | |
| CN108232406B (zh) | 天线组件及电子设备 | |
| US7391623B2 (en) | Display module and portable terminal apparatus | |
| KR101007334B1 (ko) | 카메라 모듈 | |
| JP4111891B2 (ja) | 携帯機器 | |
| JP4510860B2 (ja) | 携帯端末装置 | |
| JP5477882B2 (ja) | 携帯電子機器 | |
| JP4883310B2 (ja) | 撮像装置及び携帯端末 | |
| US20080129608A1 (en) | Antenna and radio terminal having antenna thereof | |
| JP2005136877A (ja) | 配置構造、及び、携帯通信機器 | |
| JP5143701B2 (ja) | 携帯電子機器 |
Legal Events
| Date | Code | Title | Description |
|---|---|---|---|
| A521 | Request for written amendment filed |
Free format text: JAPANESE INTERMEDIATE CODE: A523 Effective date: 20060919 |
|
| A621 | Written request for application examination |
Free format text: JAPANESE INTERMEDIATE CODE: A621 Effective date: 20060919 |
|
| A711 | Notification of change in applicant |
Free format text: JAPANESE INTERMEDIATE CODE: A712 Effective date: 20070115 |
|
| A977 | Report on retrieval |
Free format text: JAPANESE INTERMEDIATE CODE: A971007 Effective date: 20080905 |
|
| A131 | Notification of reasons for refusal |
Free format text: JAPANESE INTERMEDIATE CODE: A131 Effective date: 20080916 |
|
| A521 | Request for written amendment filed |
Free format text: JAPANESE INTERMEDIATE CODE: A523 Effective date: 20081023 |
|
| A02 | Decision of refusal |
Free format text: JAPANESE INTERMEDIATE CODE: A02 Effective date: 20090331 |