JP2005073760A - 内視鏡 - Google Patents
内視鏡 Download PDFInfo
- Publication number
- JP2005073760A JP2005073760A JP2003304886A JP2003304886A JP2005073760A JP 2005073760 A JP2005073760 A JP 2005073760A JP 2003304886 A JP2003304886 A JP 2003304886A JP 2003304886 A JP2003304886 A JP 2003304886A JP 2005073760 A JP2005073760 A JP 2005073760A
- Authority
- JP
- Japan
- Prior art keywords
- treatment instrument
- endoscope
- distal end
- treatment
- driving member
- Prior art date
- Legal status (The legal status is an assumption and is not a legal conclusion. Google has not performed a legal analysis and makes no representation as to the accuracy of the status listed.)
- Withdrawn
Links
- 238000011282 treatment Methods 0.000 claims abstract description 193
- 230000007246 mechanism Effects 0.000 claims abstract description 43
- 238000003780 insertion Methods 0.000 claims abstract description 27
- 230000037431 insertion Effects 0.000 claims abstract description 27
- 238000005452 bending Methods 0.000 claims abstract description 4
- 230000002093 peripheral effect Effects 0.000 claims description 6
- 230000005540 biological transmission Effects 0.000 description 9
- 238000000034 method Methods 0.000 description 7
- 230000008859 change Effects 0.000 description 2
- 238000000605 extraction Methods 0.000 description 2
- 230000009471 action Effects 0.000 description 1
- 238000001574 biopsy Methods 0.000 description 1
- 238000004140 cleaning Methods 0.000 description 1
- 238000009413 insulation Methods 0.000 description 1
- 238000012986 modification Methods 0.000 description 1
- 230000004048 modification Effects 0.000 description 1
- 238000011328 necessary treatment Methods 0.000 description 1
- 230000001954 sterilising effect Effects 0.000 description 1
- 238000004659 sterilization and disinfection Methods 0.000 description 1
- 230000032258 transport Effects 0.000 description 1
- 238000004804 winding Methods 0.000 description 1
Images
Classifications
-
- A—HUMAN NECESSITIES
- A61—MEDICAL OR VETERINARY SCIENCE; HYGIENE
- A61B—DIAGNOSIS; SURGERY; IDENTIFICATION
- A61B1/00—Instruments for performing medical examinations of the interior of cavities or tubes of the body by visual or photographical inspection, e.g. endoscopes; Illuminating arrangements therefor
- A61B1/00131—Accessories for endoscopes
- A61B1/00133—Drive units for endoscopic tools inserted through or with the endoscope
Landscapes
- Health & Medical Sciences (AREA)
- Life Sciences & Earth Sciences (AREA)
- Surgery (AREA)
- Biomedical Technology (AREA)
- Medical Informatics (AREA)
- Optics & Photonics (AREA)
- Pathology (AREA)
- Radiology & Medical Imaging (AREA)
- Biophysics (AREA)
- Engineering & Computer Science (AREA)
- Physics & Mathematics (AREA)
- Heart & Thoracic Surgery (AREA)
- Nuclear Medicine, Radiotherapy & Molecular Imaging (AREA)
- Molecular Biology (AREA)
- Animal Behavior & Ethology (AREA)
- General Health & Medical Sciences (AREA)
- Public Health (AREA)
- Veterinary Medicine (AREA)
- Surgical Instruments (AREA)
- Endoscopes (AREA)
Abstract
【課題】 簡単な構造で処置具交換を容易にするとともに手技の短時間化及び容易化を可能とする内視鏡を提供すること
【解決手段】 内部に処置具チャンネル2が形成された可撓性の挿入部3と、挿入部3の基端側に接続されて処置具チャンネル2が内部に形成されているとともに挿入部3の先端方向を任意の方向に湾曲させる操作を行う内視鏡操作部5と、処置具チャンネル2内で進退自在とされるとともに先端に鉗子部(処置具先端部)6を着脱可能な処置具駆動部材7と、処置具駆動部材7を処置具チャンネル2内で進退両方向に移動させる移動機構8と、処置具駆動部材7を収納可能であるとともに処置具チャンネル2に接続される収納部10とを備えている。
内視鏡操作部5には、処置具チャンネル2の途中に連通されるとともに鉗子部6を処置具駆動部材7の先端に着脱操作可能な開口部11が形成されている構成とした。
【選択図】 図1
【解決手段】 内部に処置具チャンネル2が形成された可撓性の挿入部3と、挿入部3の基端側に接続されて処置具チャンネル2が内部に形成されているとともに挿入部3の先端方向を任意の方向に湾曲させる操作を行う内視鏡操作部5と、処置具チャンネル2内で進退自在とされるとともに先端に鉗子部(処置具先端部)6を着脱可能な処置具駆動部材7と、処置具駆動部材7を処置具チャンネル2内で進退両方向に移動させる移動機構8と、処置具駆動部材7を収納可能であるとともに処置具チャンネル2に接続される収納部10とを備えている。
内視鏡操作部5には、処置具チャンネル2の途中に連通されるとともに鉗子部6を処置具駆動部材7の先端に着脱操作可能な開口部11が形成されている構成とした。
【選択図】 図1
Description
本発明は、処置具の挿抜を自動的に行うことができる内視鏡に関する。
一般に、内視鏡を用いて体外からの操作で体内の所要部位の処置や生体組織の検査等を行う際に、例えば、針状メスや生検等の複数の処置具を連続して使用することがある。このような場合、従来は、内視鏡の挿入部内に設けられた処置具チャンネルを通じて選択した処置具を体内に挿入し、所定の処置を行った後は処置具を体外に引き出し、再度処置具を処置具チャンネルに挿入する等の操作を行っていた。
このような処置具を処置具チャンネル内に挿入する際、内視鏡に設けられた孔部から狭い処置具チャンネル内に長い処置具を注意深く挿入させなければならず、手間がかかる上に高度の注意力を要する。
そのため、処置具チャンネル内への挿抜操作を自動的に行う挿抜装置を備える内視鏡が提案されている(例えば、特許文献1参照。)。また、複数の処置具先端部を備えるとともに、これらから選択した処置具先端部を内視鏡挿入部先端まで搬送して、挿入部内部に設けられたアーム部先端に接続して使用する多機能処置具を備える内視鏡が提案されている(例えば、特許文献2参照。)。
特開昭57−117823号公報(第1図)
特開平6−54801号公報(第3図)
そのため、処置具チャンネル内への挿抜操作を自動的に行う挿抜装置を備える内視鏡が提案されている(例えば、特許文献1参照。)。また、複数の処置具先端部を備えるとともに、これらから選択した処置具先端部を内視鏡挿入部先端まで搬送して、挿入部内部に設けられたアーム部先端に接続して使用する多機能処置具を備える内視鏡が提案されている(例えば、特許文献2参照。)。
しかしながら、例えば、特許文献1に記載の技術では、処置具は従来の処置具をそのまま使用するので、処置具を内視鏡内に挿入する際に手で支えながら操作を補助する必要があるため、依然として十分な手技の短時間化や容易化を図ることができなかった。
また、特許文献2に記載の技術では、内視鏡挿入部の先端外方に延びるアーム部の先端を180度反転させ、そこに処置具先端部を搬送して電磁石によって装着/取外しをするので、この作業を行うのに十分な領域を内視鏡挿入部先端に確保できない場合には交換作業が容易とならない場合があった。
本発明は上記事情に鑑みて成されたものであり、処置具交換を容易にするとともに手技の短時間化及び容易化を可能とする内視鏡を提供することを目的とする。
また、特許文献2に記載の技術では、内視鏡挿入部の先端外方に延びるアーム部の先端を180度反転させ、そこに処置具先端部を搬送して電磁石によって装着/取外しをするので、この作業を行うのに十分な領域を内視鏡挿入部先端に確保できない場合には交換作業が容易とならない場合があった。
本発明は上記事情に鑑みて成されたものであり、処置具交換を容易にするとともに手技の短時間化及び容易化を可能とする内視鏡を提供することを目的とする。
本発明は、上記課題を解決するため、以下の手段を採用する。
本発明の内視鏡は、内部に処置具チャンネルが形成された可撓性の挿入部と、該挿入部の基端側に接続されて前記処置具チャンネルが内部に形成されているとともに前記挿入部の先端を湾曲操作する内視鏡操作部と、前記処置具チャンネル内で進退自在とされるとともに先端に処置具先端部を着脱可能な処置具駆動部材と、該処置具駆動部材を前記処置具チャンネル内で進退両方向に移動させる移動機構と、前記処置具駆動部材を収納可能であるとともに前記処置具チャンネルに接続される収納部とを備え、前記内視鏡操作部には、前記処置具チャンネルの途中に連通されるとともに前記処置具先端部を前記処置具駆動部材の先端が通過する位置に収納され、前記処置具先端部と前記処置具駆動部材とが着脱操作可能になる開口部が形成されていることを特徴とする。
本発明の内視鏡は、内部に処置具チャンネルが形成された可撓性の挿入部と、該挿入部の基端側に接続されて前記処置具チャンネルが内部に形成されているとともに前記挿入部の先端を湾曲操作する内視鏡操作部と、前記処置具チャンネル内で進退自在とされるとともに先端に処置具先端部を着脱可能な処置具駆動部材と、該処置具駆動部材を前記処置具チャンネル内で進退両方向に移動させる移動機構と、前記処置具駆動部材を収納可能であるとともに前記処置具チャンネルに接続される収納部とを備え、前記内視鏡操作部には、前記処置具チャンネルの途中に連通されるとともに前記処置具先端部を前記処置具駆動部材の先端が通過する位置に収納され、前記処置具先端部と前記処置具駆動部材とが着脱操作可能になる開口部が形成されていることを特徴とする。
この内視鏡は、上記の構成を備えているので、処置具先端部に対する処置具駆動部材の取り付け及び取外しは、移動機構によって処置具駆動部材の先端を内視鏡操作部の開口部まで移動させてこの開口部にて行う。したがって、処置具先端部の着脱操作を手元で行うことができ、処置具駆動部材に確実に処置具先端部を着脱することができる。
また、処置具駆動部材と処置具先端部とが着脱可能とされているので、複数の処置を行う場合でも、着脱可能とされた処置具先端部を複数用意して次々と交換することによって一つの処置具駆動部材で複数の処置に対応することができ、処置の都度複数の処置具駆動部材を取扱う煩わしさを低減することができる。
また、処置具駆動部材と処置具先端部とが着脱可能とされているので、複数の処置を行う場合でも、着脱可能とされた処置具先端部を複数用意して次々と交換することによって一つの処置具駆動部材で複数の処置に対応することができ、処置の都度複数の処置具駆動部材を取扱う煩わしさを低減することができる。
また、本発明の内視鏡は、前記内視鏡であって、前記移動機構が、前記内視鏡操作部に着脱可能に接続されていることが好ましい。
この内視鏡は、上記の構成を備えているので、移動機構のみを内視鏡から取り外して洗浄したり滅菌処置を行うことができる。
この内視鏡は、上記の構成を備えているので、移動機構のみを内視鏡から取り外して洗浄したり滅菌処置を行うことができる。
さらに、本発明の内視鏡は、前記内視鏡であって、前記収納部が、前記移動機構に着脱可能に接続されていることが好ましい。
この内視鏡は、上記の構成を備えているので、処置具駆動部材が再利用できる場合、処置具駆動部材を収納部に収納した状態で内視鏡から取り外して洗浄や滅菌処理を行うことができる。
また、処置具駆動部材が再利用できない場合も収納部ごと内視鏡から取外して容易に新しい処置具駆動部材と交換することができる。
この内視鏡は、上記の構成を備えているので、処置具駆動部材が再利用できる場合、処置具駆動部材を収納部に収納した状態で内視鏡から取り外して洗浄や滅菌処理を行うことができる。
また、処置具駆動部材が再利用できない場合も収納部ごと内視鏡から取外して容易に新しい処置具駆動部材と交換することができる。
また、本発明の内視鏡は、前記内視鏡であって、前記収納部が、前記処置具駆動部材を巻回して収納する芯部材を有するリール機構を備えていることが好ましい。
この内視鏡は、上記の構成を備えているので、処置具駆動部材が長いものでもコンパクトに収納できるとともに、処置具駆動部材を巻取り/送り出しの際に、リール機構を用いて容易に処置具駆動部材を進退操作させることができる。
この内視鏡は、上記の構成を備えているので、処置具駆動部材が長いものでもコンパクトに収納できるとともに、処置具駆動部材を巻取り/送り出しの際に、リール機構を用いて容易に処置具駆動部材を進退操作させることができる。
また、本発明の内視鏡は、前記内視鏡であって、前記移動機構が、前記処置具駆動部材の延びる方向に互いに離間して回転自在に枢着された一対の回転部材の外周面に無端のベルト部材が巻回された一対のベルト機構を備え、前記処置具駆動部材が、前記一対のベルト機構のベルト部材間に挟まれて圧接されていることが好ましい。
この内視鏡は、上記の構成を備えているので、回転部材を回転させることによってベルト部材が回転し、ベルト部材間に挟まれた処置具駆動部材をベルト部材に圧接した状態で移動させるので、回転部材のみに接触させる場合に比べてより大きい接触面積で処置具駆動部材と移動機構とを接触させることができ、ベルト部材と処置具駆動部材との摩擦力が大きくなって処置具駆動部材の移動を確実に行うことができる。
この内視鏡は、上記の構成を備えているので、回転部材を回転させることによってベルト部材が回転し、ベルト部材間に挟まれた処置具駆動部材をベルト部材に圧接した状態で移動させるので、回転部材のみに接触させる場合に比べてより大きい接触面積で処置具駆動部材と移動機構とを接触させることができ、ベルト部材と処置具駆動部材との摩擦力が大きくなって処置具駆動部材の移動を確実に行うことができる。
また、本発明の内視鏡は、前記内視鏡であって、前記処置具駆動部材の先端側に、該先端方向を変更可能な首振り機構が設けられていることが好ましい。
この内視鏡は、上記の構成を備えているので、処置の際に処置具駆動部材の先端を所望の方向に向けることができ、処置を容易に行うことができる。
この内視鏡は、上記の構成を備えているので、処置の際に処置具駆動部材の先端を所望の方向に向けることができ、処置を容易に行うことができる。
また、本発明の内視鏡は、前記内視鏡であって、互いに螺合可能なおねじ部及びめねじ部の一方が前記処置具先端部に形成され、前記おねじ部及び前記めねじ部の他方が前記処置具駆動部材に形成されていることが好ましい。
また、本発明の内視鏡は、前記内視鏡であって、互いに嵌合可能な凹部及び凸部の一方が前記処置具先端部に形成され、前記凹部及び前記凸部の他方が前記処置具駆動部材に形成されていることが好ましい。
この内視鏡は、上記の構成を備えているので、おねじ部及びめねじ部、又は、凹部及び凸部を着脱させることによって処置具先端部と処置具駆動部材との着脱を容易に行うことができる。
また、本発明の内視鏡は、前記内視鏡であって、互いに嵌合可能な凹部及び凸部の一方が前記処置具先端部に形成され、前記凹部及び前記凸部の他方が前記処置具駆動部材に形成されていることが好ましい。
この内視鏡は、上記の構成を備えているので、おねじ部及びめねじ部、又は、凹部及び凸部を着脱させることによって処置具先端部と処置具駆動部材との着脱を容易に行うことができる。
本発明の内視鏡によれば、簡易な構成で処置具交換を容易にして、手技の短時間化及び容易化を向上させることができる。
本発明の一実施形態について、図1から図3を参照して説明する。
本実施形態に係る内視鏡1は、図1に示すように、内部に処置具チャンネル2が形成された挿入部3と、挿入部3の基端側に接続されて処置具チャンネル2が内部に形成されているとともに挿入部3の先端方向を任意の方向に湾曲させる操作を行う内視鏡操作部5と、処置具チャンネル2内で進退自在とされるとともに先端に鉗子部(処置具先端部)6を着脱可能な処置具駆動部材7と、処置具駆動部材7を処置具チャンネル2内で進退両方向に移動させる移動機構8と、処置具駆動部材7を収納可能であるとともに処置具チャンネル2に接続される収納部10とを備えている。
本実施形態に係る内視鏡1は、図1に示すように、内部に処置具チャンネル2が形成された挿入部3と、挿入部3の基端側に接続されて処置具チャンネル2が内部に形成されているとともに挿入部3の先端方向を任意の方向に湾曲させる操作を行う内視鏡操作部5と、処置具チャンネル2内で進退自在とされるとともに先端に鉗子部(処置具先端部)6を着脱可能な処置具駆動部材7と、処置具駆動部材7を処置具チャンネル2内で進退両方向に移動させる移動機構8と、処置具駆動部材7を収納可能であるとともに処置具チャンネル2に接続される収納部10とを備えている。
内視鏡操作部5には、処置具チャンネル2の途中に連通されるとともに鉗子部6を処置具駆動部材7の先端に着脱操作可能な開口部11が形成されている。
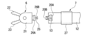
処置具駆動部材7は、図2に示すように、コイル状に形成されたシース管部12と、シース管部12の内部に進退自在に配設され鉗子部6を開閉操作させる操作ワイヤ部13とを備えており、処置具駆動部材7の基端には、図3に示すように、操作ワイヤ部13を進退操作させる鉗子操作部15が接続されている。
シース管部12の先端側内周面及び操作ワイヤ部13先端には、それぞれ凹部20A及び凹部20Bが形成されている。
処置具駆動部材7は、図2に示すように、コイル状に形成されたシース管部12と、シース管部12の内部に進退自在に配設され鉗子部6を開閉操作させる操作ワイヤ部13とを備えており、処置具駆動部材7の基端には、図3に示すように、操作ワイヤ部13を進退操作させる鉗子操作部15が接続されている。
シース管部12の先端側内周面及び操作ワイヤ部13先端には、それぞれ凹部20A及び凹部20Bが形成されている。
鉗子部6は、内視鏡用鉗子として図2に示すように、シース管部12と接続される筒状の先端カバー部材21と、先端カバー部材21のさらに先端に開閉自在に配設されている一対の鉗子片22、23と、操作ワイヤ部13の進退操作を一対の鉗子片22、23に伝達する棒状の伝達部材25とを備えている。
先端カバー部材21及び伝達部材25の基端側には、凹部20A、20Bとそれぞれ嵌合可能な凸部26A、26Bが形成されている。
シース管部12と先端カバー部材21との外周面には、両者の嵌合後に嵌合部を覆うリング部材27が配設されている。
先端カバー部材21及び伝達部材25の基端側には、凹部20A、20Bとそれぞれ嵌合可能な凸部26A、26Bが形成されている。
シース管部12と先端カバー部材21との外周面には、両者の嵌合後に嵌合部を覆うリング部材27が配設されている。
移動機構8は、図1に示すように、内視鏡操作部5に着脱可能に接続されており、互いに対向して回転自在に枢着されたローラ状の一対の回転部材28、29と、これら一対の回転部材28、29を同時に同速度で回転させるモータ等からなる駆動部30と、駆動部30の駆動を制御する図示しない制御部とを備えている。
制御部は、内視鏡操作部5に設けられたスイッチ31と連動されており、スイッチ31の操作によって駆動制御が行われる。
スイッチ31は、例えば、処置具駆動部材7の「前進」、「後退」、「停止」を切換可能とされている。
処置具駆動部材7は、一対の回転部材28、29に挟まれて圧接されている。
制御部は、内視鏡操作部5に設けられたスイッチ31と連動されており、スイッチ31の操作によって駆動制御が行われる。
スイッチ31は、例えば、処置具駆動部材7の「前進」、「後退」、「停止」を切換可能とされている。
処置具駆動部材7は、一対の回転部材28、29に挟まれて圧接されている。
収納部10は、移動機構8に着脱可能に接続されており、図3に示すように、中心部に処置具駆動部材7を巻回して収納する筒状、かつ、中心軸回りに回転可能な芯部材(リール機構)32を備えている。
この芯部材32に処置具駆動部材7の基端が接続されており、鉗子操作部15は芯部材32の軸方向の収納部10外方に突出されて配されている。
この芯部材32に処置具駆動部材7の基端が接続されており、鉗子操作部15は芯部材32の軸方向の収納部10外方に突出されて配されている。
次に、以上の構成からなる本実施形態の内視鏡1の使用方法について、以下、説明する。
まず、図1に示す状態に組立てられた内視鏡1の挿入部3を体腔内に挿入する。そして、スイッチ31を「前進」と操作して駆動部30を駆動し、処置具駆動部材7を移動機構8から内視鏡操作部5に押し出す方向に一対の回転部材28、29を回転させる。これによって、一対の回転部材28、29間に挟まれて圧接されている処置具駆動部材7が収納部10内から送り出される。
まず、図1に示す状態に組立てられた内視鏡1の挿入部3を体腔内に挿入する。そして、スイッチ31を「前進」と操作して駆動部30を駆動し、処置具駆動部材7を移動機構8から内視鏡操作部5に押し出す方向に一対の回転部材28、29を回転させる。これによって、一対の回転部材28、29間に挟まれて圧接されている処置具駆動部材7が収納部10内から送り出される。
処置具駆動部材7の先端を開口部11と連通される位置まで処置具チャンネル2内を移動させた後、スイッチ31を「停止」として駆動部30を一旦停止する。
鉗子部6を開口部11内に挿入し、操作ワイヤ部13の凹部20Bと伝達部材25の凸部26Bとを嵌合させるとともに、シース管部12の凹部20Aと先端カバー部材21の凸部26Aとを嵌合させリング部材27をスライドさせて鉗子部6を処置具駆動部材7に装着する。
装着後、スイッチ31を「前進」として駆動部30を再び駆動して処置具駆動部材7を挿入部3先端まで処置具チャンネル2内を挿通させ、必要な処置を施す。
鉗子部6を開口部11内に挿入し、操作ワイヤ部13の凹部20Bと伝達部材25の凸部26Bとを嵌合させるとともに、シース管部12の凹部20Aと先端カバー部材21の凸部26Aとを嵌合させリング部材27をスライドさせて鉗子部6を処置具駆動部材7に装着する。
装着後、スイッチ31を「前進」として駆動部30を再び駆動して処置具駆動部材7を挿入部3先端まで処置具チャンネル2内を挿通させ、必要な処置を施す。
鉗子部6による処置の終了後、スイッチ31を「後退」と操作して駆動部30を駆動して挿入時と逆方向に一対の回転部材28、29を回転させる。このとき、挿入時と同様の作用によって処置具駆動部材7が処置具チャンネル2内を挿入部3の基端側に移動する。この際、処置具駆動部材7に押されて収納部10の芯部材32が回転し、芯部材32まわりに処置具駆動部材7を巻き取る。
鉗子部6が、開口部11位置にきたときスイッチ31を操作して駆動部30を一旦停止する。そして、鉗子操作部15を操作して鉗子部6の向きを開口部11側に向けた状態とした後、操作ワイヤ部13の凹部20Bと伝達部材25の凸部26Bとを分離させるとともに、シース管部12の凹部20Aと先端カバー部材21の凸部26Aとを分離させて、鉗子部6を処置具駆動部材7から取り外して回収する。
鉗子部6が、開口部11位置にきたときスイッチ31を操作して駆動部30を一旦停止する。そして、鉗子操作部15を操作して鉗子部6の向きを開口部11側に向けた状態とした後、操作ワイヤ部13の凹部20Bと伝達部材25の凸部26Bとを分離させるとともに、シース管部12の凹部20Aと先端カバー部材21の凸部26Aとを分離させて、鉗子部6を処置具駆動部材7から取り外して回収する。
ここで、他の処置具による処置を行う場合には、別の処置具先端部を鉗子部6の場合と同様に処置具駆動部材7に接続し、上述と同様に駆動部30を駆動して処置具駆動部材7を挿入部3の先端まで挿通して新たな処置を行う。
処置を終了する場合には、駆動部30を駆動して処置具駆動部材7を収納部10内に収納する。
処置を終了する場合には、駆動部30を駆動して処置具駆動部材7を収納部10内に収納する。
この内視鏡1によれば、鉗子部6の着脱操作を内視鏡操作部5で行うので、手元で着脱操作を確認することができ、鉗子部6を処置具駆動部材7に確実に取り付け/取外しすることができる。
また、処置具駆動部材7と鉗子部6とが着脱可能とされているので、複数の処置を行う場合でも、鉗子部6と同様に着脱可能とされた処置具先端部を複数用意して次々と交換することによって一つの処置具駆動部材7で複数の処置に対応することができ、処置の都度複数の処置具駆動部材を取扱う煩わしさを低減することができる。
また、処置具駆動部材7と鉗子部6とが着脱可能とされているので、複数の処置を行う場合でも、鉗子部6と同様に着脱可能とされた処置具先端部を複数用意して次々と交換することによって一つの処置具駆動部材7で複数の処置に対応することができ、処置の都度複数の処置具駆動部材を取扱う煩わしさを低減することができる。
また、移動機構8が内視鏡操作部5に着脱可能に接続されるとともに、収納部10が移動機構8に着脱可能に接続されているので、移動機構8及び収納部10を各別に取り外して洗浄や滅菌処理を行うことができる。この際、処置具駆動部材が再利用できる場合には、収納部10とともに洗浄等することができ、再利用できない場合、収納部10への処置具駆動部材の収納を容易にすることができる。
さらに、収納部10が芯部材32を備えているので、処置具駆動部材7が長いものでもコンパクトに収納できるとともに、処置具駆動部材7を巻取り/送り出しの際に、芯部材32を用いて容易に処置具駆動部材7を進退操作させることができる。
また、先端カバー部材21及び伝達部材25に形成された凸部26A、26Bとつなぎ部材17及び操作ワイヤ部13に形成された凹部20A、20Bとを着脱させることによって、鉗子部6と処置具駆動部材7との着脱を容易に行うことができる。
また、先端カバー部材21及び伝達部材25に形成された凸部26A、26Bとつなぎ部材17及び操作ワイヤ部13に形成された凹部20A、20Bとを着脱させることによって、鉗子部6と処置具駆動部材7との着脱を容易に行うことができる。
なお、本発明の技術範囲は上記実施の形態に限定されるものではなく、本発明の趣旨を逸脱しない範囲において種々の変更を加えることが可能である。
例えば、上記実施形態では、処置具駆動部材7が一対の回転部材28、29間に圧接されているとしているが、図4に示すように、移動機構33が、処置具駆動部材7の延びる方向に互いに離間して回転自在に枢着されたローラ状の一対の回転部材34、35と、これらの外周面に巻回された無端のベルト部材36とからなる一対のベルト機構37、38を備え、処置具駆動部材7が、一対のベルト機構37、38のベルト部材36間に挟まれて圧接されているとしてもよい。
例えば、上記実施形態では、処置具駆動部材7が一対の回転部材28、29間に圧接されているとしているが、図4に示すように、移動機構33が、処置具駆動部材7の延びる方向に互いに離間して回転自在に枢着されたローラ状の一対の回転部材34、35と、これらの外周面に巻回された無端のベルト部材36とからなる一対のベルト機構37、38を備え、処置具駆動部材7が、一対のベルト機構37、38のベルト部材36間に挟まれて圧接されているとしてもよい。
この場合、一対の回転部材34、35を回転させることによってベルト部材36が回転部材の回転方向に回転し、ベルト部材36間に挟まれた処置具駆動部材7をベルト部材36に圧接した状態でベルト部材36の回転方向に移動させるので、回転部材28、29のみに接触させる場合に比べてより大きい接触面積で処置具駆動部材7と移動機構33とを接触させることができ、ベルト部材36と処置具駆動部材7との摩擦力が大きくなって処置具駆動部材7の移動を確実に行うことができる。
また、上記実施形態では、シース管部12に直接、鉗子部6が接続されているとしているが、図5に示すように、シース管部12の先端側に、鉗子部6が取り付けられた際に鉗子部6の方向を変更可能な首振り機構39が設けられているとしてもよい。
この首振り機構39は、鉗子部6と接続される管状のつなぎ部材17を備え、シース管部12に対して回動自在に配設されており、鉗子操作部15の操作によって屈曲される。
これにより、首振り機構39を操作して処置具駆動部材7先端に接続される鉗子部6の向きを変えることによって、挿入部3の先端から鉗子部6を突出させて処置を行う場合に処置方向を変えることができるとともに、開口部11において鉗子部6の着脱操作の際に、処置具駆動部材の先端を開口部の開口側に向けることによって着脱操作空間を確保することができ、容易に着脱操作を行うことができる。
さらに、図6に示すように、首振り機構としてシース管部12の先端が湾曲可能とされた湾曲可能部40が設けられたものでも構わない。
この首振り機構39は、鉗子部6と接続される管状のつなぎ部材17を備え、シース管部12に対して回動自在に配設されており、鉗子操作部15の操作によって屈曲される。
これにより、首振り機構39を操作して処置具駆動部材7先端に接続される鉗子部6の向きを変えることによって、挿入部3の先端から鉗子部6を突出させて処置を行う場合に処置方向を変えることができるとともに、開口部11において鉗子部6の着脱操作の際に、処置具駆動部材の先端を開口部の開口側に向けることによって着脱操作空間を確保することができ、容易に着脱操作を行うことができる。
さらに、図6に示すように、首振り機構としてシース管部12の先端が湾曲可能とされた湾曲可能部40が設けられたものでも構わない。
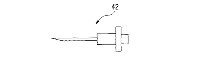
また、処置具先端部が鉗子部6である内視鏡用鉗子に限らず、図7に示すような高周波切開鉗子の高周波切開鉗子先端部41や、図8に示す、針状メスの針状メス先端部42等であっても構わない。この場合、高周波電源を鉗子操作部15に接続して使用する。
高周波切開鉗子の場合、シース管部12が内視鏡1の内部にあって処置具チャンネル2等に覆われた状態とされているので、処置中に術者が直接シース管部12に触れることを抑えることができ、シース管部12の外周面を絶縁のために絶縁被覆する必要がない。
高周波切開鉗子の場合、シース管部12が内視鏡1の内部にあって処置具チャンネル2等に覆われた状態とされているので、処置中に術者が直接シース管部12に触れることを抑えることができ、シース管部12の外周面を絶縁のために絶縁被覆する必要がない。
また、上記実施形態では、先端カバー部材21及び伝達部材25に凸部26A、26Bが形成され、つなぎ部材17及び操作ワイヤ部13に凹部20A、20Bがそれぞれ形成されているとしているが、先端カバー部材及び伝達部材に凹部が形成され、つなぎ部材及び操作ワイヤ部に凸部が形成されたものとしても構わない。
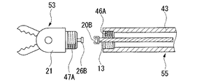
また、処置具先端部の処置具駆動部材への着脱方法も、凹部と凸部との嵌合によるものに限らない。例えば、図9に示すように、シース管部43の先端及び操作ワイヤ部45の先端にめねじ部46A、46Bをそれぞれ形成し、めねじ部46A、46Bにそれぞれ螺合可能なおねじ部47A、47Bを、鉗子部48の先端カバー部材21及び伝達部材25の端部にそれぞれ形成し、めねじ部46Aとおねじ部47A、めねじ部46Bとおねじ部47Bとを螺合させることによって処置具駆動部材50に鉗子部51を着脱可能に装着するものでもよい。
さらに、図10に示すように、シース管部43のめねじ部46Aと先端カバー部材21のおねじ部47Aとを螺合させ、及び操作ワイヤ部13の凹部20Bと伝達部材25に形成された凸部26Bとを嵌合させることによって、鉗子部53と処置具駆動部材55とを接続しても構わない。
また、収納部10における処置具駆動部材7の巻取りは芯部材32によるものに限らず、処置具駆動部材7を折り畳んで収納するものでも構わず、開口部11にこれを覆う蓋が設けられていても構わない。
さらに、図10に示すように、シース管部43のめねじ部46Aと先端カバー部材21のおねじ部47Aとを螺合させ、及び操作ワイヤ部13の凹部20Bと伝達部材25に形成された凸部26Bとを嵌合させることによって、鉗子部53と処置具駆動部材55とを接続しても構わない。
また、収納部10における処置具駆動部材7の巻取りは芯部材32によるものに限らず、処置具駆動部材7を折り畳んで収納するものでも構わず、開口部11にこれを覆う蓋が設けられていても構わない。
1 内視鏡
2 処置具チャンネル
3 挿入部
5 内視鏡操作部
6、51、53 鉗子部(処置具先端部)
7、50、55 処置具駆動部材
8、33 移動機構
10 収納部
11 開口部
20A、20B 凹部
26A、26B 凸部
27、28、34、35 回転部材
36 ベルト部材
37、38 ベルト機構
32 芯部材(リール機構)
40 高周波切開鉗子先端部(処置具先端部)
42 針状メス先端部(処置具先端部)
46A、46B めねじ部
47A、47B おねじ部
2 処置具チャンネル
3 挿入部
5 内視鏡操作部
6、51、53 鉗子部(処置具先端部)
7、50、55 処置具駆動部材
8、33 移動機構
10 収納部
11 開口部
20A、20B 凹部
26A、26B 凸部
27、28、34、35 回転部材
36 ベルト部材
37、38 ベルト機構
32 芯部材(リール機構)
40 高周波切開鉗子先端部(処置具先端部)
42 針状メス先端部(処置具先端部)
46A、46B めねじ部
47A、47B おねじ部
Claims (8)
- 内部に処置具チャンネルが形成された可撓性の挿入部と、
該挿入部の基端側に接続されて前記処置具チャンネルが内部に形成されているとともに前記挿入部の先端を湾曲操作する内視鏡操作部と、
前記処置具チャンネル内で進退自在とされるとともに先端に処置具先端部を着脱可能な処置具駆動部材と、
該処置具駆動部材を前記処置具チャンネル内で進退両方向に移動させる移動機構と、
前記処置具駆動部材を収納可能であるとともに前記処置具チャンネルに接続される収納部とを備え、
前記内視鏡操作部には、前記処置具チャンネルの途中に連通されるとともに前記処置具先端部を前記処置具駆動部材の先端が通過する位置に収納され、前記処置具先端部と前記処置具駆動部材とが着脱操作可能になる開口部が形成されていることを特徴とする内視鏡。 - 前記移動機構が、前記内視鏡操作部に着脱可能に接続されていることを特徴とする請求項1に記載の内視鏡。
- 前記収納部が、前記移動機構に着脱可能に接続されていることを特徴とする請求項1又は2に記載の内視鏡。
- 前記収納部が、前記処置具駆動部材を巻回して収納する芯部材を有するリール機構を備えていることを特徴とする請求項1から3の何れか一つに記載の内視鏡。
- 前記移動機構が、前記処置具駆動部材の延びる方向に互いに離間して回転自在に枢着された一対の回転部材の外周面に無端のベルト部材が巻回された一対のベルト機構を備え、
前記処置具駆動部材が、前記一対のベルト機構のベルト部材間に挟まれて圧接されていることを特徴とする請求項1から4の何れか一つに記載の内視鏡。 - 前記処置具駆動部材の先端側に、該先端方向を変更可能な首振り機構が設けられていることを特徴とする請求項1から5の何れか一つに記載の内視鏡。
- 互いに螺合可能なおねじ部及びめねじ部の一方が前記処置具先端部に形成され、前記おねじ部及び前記めねじ部の他方が前記処置具駆動部材に形成されていることを特徴とする請求項1から6の何れか一つに記載の内視鏡。
- 互いに嵌合可能な凹部及び凸部の一方が前記処置具先端部に形成され、前記凹部及び前記凸部の他方が前記処置具駆動部材に形成されていることを特徴とする請求項1から6の何れか一つに記載の内視鏡。
Priority Applications (1)
| Application Number | Priority Date | Filing Date | Title |
|---|---|---|---|
| JP2003304886A JP2005073760A (ja) | 2003-08-28 | 2003-08-28 | 内視鏡 |
Applications Claiming Priority (1)
| Application Number | Priority Date | Filing Date | Title |
|---|---|---|---|
| JP2003304886A JP2005073760A (ja) | 2003-08-28 | 2003-08-28 | 内視鏡 |
Publications (1)
| Publication Number | Publication Date |
|---|---|
| JP2005073760A true JP2005073760A (ja) | 2005-03-24 |
Family
ID=34408453
Family Applications (1)
| Application Number | Title | Priority Date | Filing Date |
|---|---|---|---|
| JP2003304886A Withdrawn JP2005073760A (ja) | 2003-08-28 | 2003-08-28 | 内視鏡 |
Country Status (1)
| Country | Link |
|---|---|
| JP (1) | JP2005073760A (ja) |
Cited By (9)
| Publication number | Priority date | Publication date | Assignee | Title |
|---|---|---|---|---|
| JP2007021200A (ja) * | 2005-07-13 | 2007-02-01 | Microline Pentax Inc | 医療器具 |
| JP2007144122A (ja) * | 2005-07-26 | 2007-06-14 | Microline Pentax Inc | 内軸の動きを調節可能な医療器具 |
| WO2007096950A1 (ja) * | 2006-02-21 | 2007-08-30 | Olympus Medical Systems Corp. | 内視鏡システム、及び医療器具 |
| JP2009195351A (ja) * | 2008-02-20 | 2009-09-03 | Hoya Corp | 内視鏡用鉗子 |
| JP2013223709A (ja) * | 2012-04-19 | 2013-10-31 | Microline Surgical Inc | 自己ねじ切りバックハブを備えた作動器具チップ |
| WO2019163803A1 (ja) * | 2018-02-23 | 2019-08-29 | 西村 浩一 | 医療用処置具、屈曲機構、及びエンドエフェクタ機構 |
| JP2019535477A (ja) * | 2016-11-16 | 2019-12-12 | エシコン エルエルシーEthicon LLC | 取り外し可能なエンドエフェクタ構成要素を有する外科用器具 |
| JP2023138494A (ja) * | 2022-03-18 | 2023-10-02 | エンド ロボティクス カンパニー リミテッド | 移動装置 |
| US12545547B2 (en) | 2022-03-18 | 2026-02-10 | Endo Robotics Co., Ltd. | Apparatus for moving a member |
-
2003
- 2003-08-28 JP JP2003304886A patent/JP2005073760A/ja not_active Withdrawn
Cited By (18)
| Publication number | Priority date | Publication date | Assignee | Title |
|---|---|---|---|---|
| JP2007021200A (ja) * | 2005-07-13 | 2007-02-01 | Microline Pentax Inc | 医療器具 |
| JP2007144122A (ja) * | 2005-07-26 | 2007-06-14 | Microline Pentax Inc | 内軸の動きを調節可能な医療器具 |
| US8025621B2 (en) | 2005-07-26 | 2011-09-27 | Microline Surgical, Inc. | Medical device with adjustable inner shaft movement |
| WO2007096950A1 (ja) * | 2006-02-21 | 2007-08-30 | Olympus Medical Systems Corp. | 内視鏡システム、及び医療器具 |
| US8075475B2 (en) | 2006-02-21 | 2011-12-13 | Olympus Medical Systems Corp. | Endoscope system and medical instrument |
| JP4870147B2 (ja) * | 2006-02-21 | 2012-02-08 | オリンパスメディカルシステムズ株式会社 | 内視鏡システム、及び医療器具 |
| JP2009195351A (ja) * | 2008-02-20 | 2009-09-03 | Hoya Corp | 内視鏡用鉗子 |
| US8784405B2 (en) | 2012-04-19 | 2014-07-22 | Microline Surgical, Inc. | Instrument tip assembly having self-threading back hub |
| JP2013223709A (ja) * | 2012-04-19 | 2013-10-31 | Microline Surgical Inc | 自己ねじ切りバックハブを備えた作動器具チップ |
| US20140276668A1 (en) * | 2012-04-19 | 2014-09-18 | Microline Surgical, Inc. | Instrument tip assembly having self-threading back hub |
| US9370343B2 (en) | 2012-04-19 | 2016-06-21 | Microline Surgical, Inc. | Instrument tip assembly having self-threading back hub |
| JP2019535477A (ja) * | 2016-11-16 | 2019-12-12 | エシコン エルエルシーEthicon LLC | 取り外し可能なエンドエフェクタ構成要素を有する外科用器具 |
| JP7098645B2 (ja) | 2016-11-16 | 2022-07-11 | エシコン エルエルシー | 取り外し可能なエンドエフェクタ構成要素を有する外科用器具 |
| US11602364B2 (en) | 2016-11-16 | 2023-03-14 | Cilag Gmbh International | Surgical instrument with removable end effector components |
| WO2019163803A1 (ja) * | 2018-02-23 | 2019-08-29 | 西村 浩一 | 医療用処置具、屈曲機構、及びエンドエフェクタ機構 |
| JP2023138494A (ja) * | 2022-03-18 | 2023-10-02 | エンド ロボティクス カンパニー リミテッド | 移動装置 |
| JP7680054B2 (ja) | 2022-03-18 | 2025-05-20 | エンド ロボティクス カンパニー リミテッド | 移動装置 |
| US12545547B2 (en) | 2022-03-18 | 2026-02-10 | Endo Robotics Co., Ltd. | Apparatus for moving a member |
Similar Documents
| Publication | Publication Date | Title |
|---|---|---|
| JP4451124B2 (ja) | 内視鏡用処置具挿抜システム | |
| JP4472362B2 (ja) | 内視鏡用処置具 | |
| JP4727158B2 (ja) | 内視鏡システム | |
| JP2005218497A (ja) | 内視鏡用処置具及び内視鏡並びに内視鏡処置システム | |
| JP2004057616A (ja) | 外科用処置具 | |
| JP6234267B2 (ja) | 手術用マニピュレータ操作装置および手術用マニピュレータシステム | |
| CN103313672A (zh) | 具有模块化端部执行器的外科器械 | |
| JP4282554B2 (ja) | 内視鏡用処置具システム | |
| JP2005073760A (ja) | 内視鏡 | |
| JP2004350939A (ja) | 内視鏡用鉗子 | |
| JP2005218755A (ja) | 内視鏡用処置具及び内視鏡処置システム | |
| JPS6137938B2 (ja) | ||
| WO2014007113A1 (ja) | 医療用マニピュレータ | |
| JP4468721B2 (ja) | 内視鏡処置具システム | |
| JP2006087474A (ja) | 処置具システム及び内視鏡処置システム | |
| JP5213725B2 (ja) | 探触子マニピュレータ | |
| JP4315716B2 (ja) | 超音波処置装置 | |
| KR101764720B1 (ko) | 내시경 시술기구 | |
| JP2005211126A (ja) | 処置具用挿抜部材及びこれを備える処置具並びに内視鏡 | |
| CN116898535B (zh) | 一种微创手术病灶切除捕获装置 | |
| CN219207307U (zh) | 一种手持式手术器械 | |
| JP2005204995A (ja) | 内視鏡用処置具及び内視鏡用処置装置並びに内視鏡処置具システム | |
| JP4328122B2 (ja) | 超音波処置装置 | |
| JP2005218624A (ja) | 内視鏡処置システム及び内視鏡用処置具 | |
| JP2005230159A (ja) | 内視鏡用処置具及び内視鏡並びに内視鏡用処置具システム |
Legal Events
| Date | Code | Title | Description |
|---|---|---|---|
| A300 | Withdrawal of application because of no request for examination |
Free format text: JAPANESE INTERMEDIATE CODE: A300 Effective date: 20061107 |