JP2004185867A - 蓄電装置 - Google Patents

蓄電装置 Download PDF

Info

Publication number
JP2004185867A
JP2004185867A JP2002348801A JP2002348801A JP2004185867A JP 2004185867 A JP2004185867 A JP 2004185867A JP 2002348801 A JP2002348801 A JP 2002348801A JP 2002348801 A JP2002348801 A JP 2002348801A JP 2004185867 A JP2004185867 A JP 2004185867A
Authority
JP
Japan
Prior art keywords
storage element
power storage
box
peripheral surface
outer peripheral
Prior art date
Legal status (The legal status is an assumption and is not a legal conclusion. Google has not performed a legal analysis and makes no representation as to the accuracy of the status listed.)
Granted
Application number
JP2002348801A
Other languages
English (en)
Other versions
JP3715275B2 (ja
Inventor
Shinya Kubota
真也 久保田
Koji Iji
浩司 為乗
Current Assignee (The listed assignees may be inaccurate. Google has not performed a legal analysis and makes no representation or warranty as to the accuracy of the list.)
Honda Motor Co Ltd
Original Assignee
Honda Motor Co Ltd
Priority date (The priority date is an assumption and is not a legal conclusion. Google has not performed a legal analysis and makes no representation as to the accuracy of the date listed.)
Filing date
Publication date
Application filed by Honda Motor Co Ltd filed Critical Honda Motor Co Ltd
Priority to JP2002348801A priority Critical patent/JP3715275B2/ja
Publication of JP2004185867A publication Critical patent/JP2004185867A/ja
Application granted granted Critical
Publication of JP3715275B2 publication Critical patent/JP3715275B2/ja
Anticipated expiration legal-status Critical
Expired - Fee Related legal-status Critical Current

Links

Images

Classifications

    • YGENERAL TAGGING OF NEW TECHNOLOGICAL DEVELOPMENTS; GENERAL TAGGING OF CROSS-SECTIONAL TECHNOLOGIES SPANNING OVER SEVERAL SECTIONS OF THE IPC; TECHNICAL SUBJECTS COVERED BY FORMER USPC CROSS-REFERENCE ART COLLECTIONS [XRACs] AND DIGESTS
    • Y02TECHNOLOGIES OR APPLICATIONS FOR MITIGATION OR ADAPTATION AGAINST CLIMATE CHANGE
    • Y02EREDUCTION OF GREENHOUSE GAS [GHG] EMISSIONS, RELATED TO ENERGY GENERATION, TRANSMISSION OR DISTRIBUTION
    • Y02E60/00Enabling technologies; Technologies with a potential or indirect contribution to GHG emissions mitigation
    • Y02E60/10Energy storage using batteries
    • YGENERAL TAGGING OF NEW TECHNOLOGICAL DEVELOPMENTS; GENERAL TAGGING OF CROSS-SECTIONAL TECHNOLOGIES SPANNING OVER SEVERAL SECTIONS OF THE IPC; TECHNICAL SUBJECTS COVERED BY FORMER USPC CROSS-REFERENCE ART COLLECTIONS [XRACs] AND DIGESTS
    • Y02TECHNOLOGIES OR APPLICATIONS FOR MITIGATION OR ADAPTATION AGAINST CLIMATE CHANGE
    • Y02EREDUCTION OF GREENHOUSE GAS [GHG] EMISSIONS, RELATED TO ENERGY GENERATION, TRANSMISSION OR DISTRIBUTION
    • Y02E60/00Enabling technologies; Technologies with a potential or indirect contribution to GHG emissions mitigation
    • Y02E60/13Energy storage using capacitors

Landscapes

  • Secondary Cells (AREA)
  • Battery Mounting, Suspending (AREA)

Abstract

【課題】複数の蓄電素子モジュールの,冷却による温度ばらつきを抑制する。
【解決手段】複数の蓄電素子モジュール2と,それら蓄電素子モジュール2を収容するボックス4とを備え,各蓄電素子モジュール2は,円筒状をなす複数の蓄電素子5を,それらの軸線が平行するように一列に並べ,且つ絶縁性連結部材15により連結して構成される。ボックス4は蓄電素子配列方向bと交差し,且つ相対向する両位置に,それぞれ冷却風用入,出口39,40を有する。ボックス4は合成樹脂製内側ボックス6と,金属製外側ボックス7とよりなる。内側ボックス6の蓄電素子配列方向bと平行な両側壁23,24は,それらの内面にそれぞれ複数の凹条27を有し,各凹条27は,各側壁23,24に隣接した各蓄電素子5外周面の円周の一部に間隔cをとって対向すると共に蓄電素子外周面母線方向dに伸びている。
【選択図】 図6

Description

【0001】
【発明の属する技術分野】
本発明は蓄電装置,特に,複数の蓄電素子よりなる複数の蓄電素子モジュールを備えたものに関する。この蓄電素子には,電気二重層キャパシタ,二次電池等が含まれる。
【0002】
【従来の技術】
従来,この種の蓄電装置としては,複数の蓄電素子モジュールと,それら蓄電素子モジュールを収容するボックスとを備え,各蓄電素子モジュールは,円筒状をなす複数の蓄電素子を,それらの軸線が平行するように一列に並べ,且つ連結部材により連結して構成され,それら蓄電素子モジュールは,前記ボックス内にて蓄電素子配列方向が互に平行するように並べられており,前記ボックスは前記蓄電素子配列方向と交差し,且つ相対向する両位置に,それぞれ冷却風用入口および冷却風用出口を有するものが知られている。この場合,ボックスは,強度確保上金属より構成され,またそのボックスの蓄電素子配列方向と平行な両側壁内面は平面に形成されている。さらにボックスが金属製であることから,その内面およびそれに隣接する蓄電素子モジュール間を絶縁すべく,例えばボックス内面に絶縁シートを貼る,といった手段が採られている。
【0003】
【発明が解決しようとする課題】
しかしながらボックスの前記両側壁内面を平面に形成すると,冷却風が蓄電素子モジュールの集合体内よりも両側壁内面に沿って流れ易くなるため,それら蓄電素子モジュールにおいて比較的大きな温度ばらつきが生じ,冷却が不十分な蓄電素子が劣化し易い,という問題があった。一方,ボックス内面に絶縁シートを貼る,ということは作業工数およびコストの増加を招くため好ましくない。
【0004】
【課題を解決するための手段】
本発明は,蓄電素子モジュールの集合体における冷却による温度ばらつきを抑制し,またその集合体周りの絶縁を簡単,且つ確実に行えるようにした前記蓄電装置を提供することを目的とする。
【0005】
前記目的を達成するため本発明によれば,複数の蓄電素子モジュールと,それら蓄電素子モジュールを収容するボックスとを備え,各蓄電素子モジュールは,円筒状をなす複数の蓄電素子を,それらの軸線が平行するように一列に並べ,且つ連結部材により連結して構成され,それら蓄電素子モジュールは,前記ボックス内にて蓄電素子配列方向が互に平行するように並べられており,前記ボックスは前記蓄電素子配列方向と交差し,且つ相対向する両位置に,それぞれ冷却風用入口および冷却風用出口を有する蓄電装置において,前記ボックスは,複数の前記蓄電素子モジュールを収容する合成樹脂製内側ボックスと,その内側ボックスを収容する金属製外側ボックスとよりなり,それら内側および外側ボックスの前記両位置に対応する両側壁に,それぞれ前記冷却風用入口および冷却風用出口を形成する開口部が在り,前記内側ボックスの前記蓄電素子配列方向と平行な両側壁は,それらの内面にそれぞれ複数の凹条を有し,各凹条は,各側壁に隣接した各蓄電素子モジュールにおける各蓄電素子外周面の円周の一部に間隔をとって対向すると共に蓄電素子外周面母線方向に伸びている蓄電装置が提供される。
【0006】
前記のように内側ボックスの両側壁内面にそれぞれ複数の凹条を設けると,各凹条および各蓄電素子間が冷却風の通路となり,またその通路抵抗によって各側壁内面に沿った冷却風の流量が,各側壁内面を平面にした場合に比べて減少し,それに応じて蓄電素子モジュールの集合体内を流れる冷却風の流量が増す。これにより前記集合体の温度ばらつきを抑制することが可能である。また内側ボックスを合成樹脂より構成したので,各凹条の成形が容易である等内側ボックスの形状自由度を増すことができる。
【0007】
その上,合成樹脂製内側ボックスを金属製外側ボックス内に収容するようにしたので,蓄電素子モジュールの集合体周りの絶縁を合成樹脂製内側ボックスにより簡単,且つ確実に行うことができる。
【0008】
【発明の実施の形態】
図1において,蓄電素子1は複数の蓄電素子モジュール2よりなる集合体3と,それら蓄電素子モジュール2を収容するボックス4とを備えている。各蓄電素子モジュール2は複数の蓄電素子5としての電気二重層キャパシタを有し,またボックス4は複数の蓄電素子モジュール2を収容する合成樹脂製内側ボックス6と,その内側ボックス6を収容する金属製外側ボックス7とよりなる。
【0009】
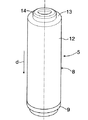
図2において,蓄電素子5は,Al合金製円筒状器体8を有し,その内部には正極と負極とが絶縁状態にて円筒状に巻回されて収められている。器体8の一端側に存する開口部にAl合金製筒体9の一部が嵌合されて溶接されている。器体8および筒体9は負極端子として機能する。筒体9の器体8側内周面に,合成樹脂製環状絶縁体10を介して正極端子11が保持されている。図3に示すように円筒状器体8の他端側には,その大径主体12に連設された内向きの環状段付面13と,その環状段付面13の内周縁から突出する小径の環状突出部14とが存する。
【0010】
図4に示すように,蓄電素子モジュール2は,複数の蓄電素子5を,それらの軸線aが平行するように一列に並べて,他端側を絶縁性連結部材15により数珠繋ぎ状に連結して構成されている。絶縁性連結部材15は,弾性材料としての合成ゴム(例えば,EPDM)より構成されると共に各蓄電素子1の他端外周面に被着される複数のキャップ体16と,相隣る両キャップ体16を連結する複数の連結体17とを備えている。
【0011】
図1,5,6に示すように,複数の蓄電素子モジュール2は合成樹脂製接続基板18上面に,蓄電素子配列方向bが互いに平行するように並べられており,各蓄電素子5の筒体9が接続基板18の各貫通孔に嵌合され,その接続基板18の裏面側にて,複数の蓄電素子5が直列に接続されている。
【0012】
この蓄電素子モジュール2の集合体3には内側ボックス6が被せられ,これにより集合体3が内側ボックス6内に収容される。内側ボックス6は,集合体3を囲み,且つほぼ直方体状をなす枠状体19と,その一端側周縁に形成されて接続基板18上に重ね合せられる取付フランジ20とを有する。枠状体19は,その他端側周縁部が弧を描いて内側に穿っており,相対向し,且つ蓄電素子配列方向bと交差する一対の短い第1の側壁21,22と,相対向し,且つ蓄電素子配列方向bと平行な一対の長い第2の側壁23,24とよりなる。両第1の側壁21,22の一方21に2つの開口部25が,また他方22に2つの開口部26がそれぞれ形成されている。
【0013】
両第2の側壁23,24はほぼ波形板状をなしており,したがって,両第2の側壁23,24は,それらの内面にそれぞれ複数の凹条27を有し,各凹条27は,各側壁23,24に隣接した各蓄電素子モジュール2における各蓄電素子5外周面,つまり器体8外周面の円周の一部に間隔cをとって対向すると共に蓄電素子5(器体8)外周面母線方向d(図1,3参照)に伸びている。相隣る両凹条27間は凸条28により連結されている。
【0014】
図6,7に明示するように,凹条27およびその凹条27が対向する器体8外周面(蓄電素子5外周面)間の前記間隔cを保持すべく,各凹条27は各器体8外周面に当接する少なくとも1つ,実施例では1つの突出部29を有する。
【0015】
外側ボックス7は,内側ボックス6の枠状体19に被せられるほぼ直方体状をなすボックス本体30と,その一端側周縁に形成されて内側ボックス6の取付フランジ20に重ね合せられる取付フランジ31とを有する。ボックス本体30は,内側ボックス6の両第1の側壁21,22に対向し,且つそれらの両開口部25,26にそれぞれ合致する両開口部32,33を有する一対の第1の側壁34,35と,内側ボックス6の両第2の側壁23,24に対向する一対の平板状第2の側壁36,37と,取付フランジ31の反対側においてそれら側壁34,35,36,37の端縁間を繋ぐ端壁38とを有する。内,外側ボックス6,7において,互に合致する一方の両開口部25,32は冷却風用入口39を,また互に合致する他方の両開口部26,33は冷却風用出口40をそれぞれ形成する。重ね合せられた両取付フランジ20,31は複数箇所にて接続基板18にボルト止めされる。
【0016】
前記のように内側ボックス6の両第2の側壁23,24内面にそれぞれ複数の凹条27を設けると,各凹条27および各蓄電素子5間が冷却風の通路となり,またその通路抵抗によって各第2の側壁23,24内面に沿った冷却風の流量が,各側壁23,24内面を平面にした場合に比べて減少し,それに応じて蓄電素子モジュール2の集合体3内を流れる冷却風の流量が増す。これによりその集合体3の温度ばらつきを抑制することが可能である。また内側ボックス6を合成樹脂より構成したので,各凹条27の成形が容易である等内側ボックス6の形状自由度を増すことができる。
【0017】
その上,合成樹脂製内側ボックス6を金属製外側ボックス7内に収容するようにしたので,蓄電素子モジュール2の集合体3周りの絶縁を合成樹脂製内側ボックス6により簡単,且つ確実に行うことができる。
【0018】
図8に明示するように,この実施例では,各凹条27は円弧状内面を有し,その円弧の中心は蓄電素子5における器体8外周面の円周の中心oに合致しており,したがって器体8外周面および凹条27間の間隔cは凹条27の円弧全長に亘って等しくなっている。他の実施例として,前記間隔cは,凹条27の,器体8外周面周方向2等分位置eと器体8外周面の円周の中心oを結ぶ線分上において最も狭くなっていて,器体8外周面周方向に沿って漸次広くなるようになっていてもよい。
【0019】
ここで,凹条27および器体8外周面間の間隔cにおける最小値(等間隔の場合は,その値)をfとし,また相隣る一方の蓄電素子モジュール2の器体8外周面および他方の蓄電素子モジュール2の器体8外周面間の間隔gにおける最小値をhとしたとき,両間隔f,h間にf≦h/2が成立するようになっている。f,hの関係の下限値は,好ましくはf=h/5である。
【0020】
このように構成すると,両第2の側壁23,24およびそれらに隣接する両蓄電素子モジュール2間および前記集合体3内を流れる冷却風の量を適正に調整して集合体3の温度ばらつきを極力抑制することが可能である。
【0021】
ただし,両間隔f,hの関係がf>h/2では両側壁23,24側の冷却風の流量が大となって前記集合体3の温度ばらつきが増す。
【0022】
図9は,内側ボックス6における枠状体19の開口部を端壁41によって閉じ,その端壁41内面に各キャップ体16に嵌合する凹部42を持つ複数の環状突起43を設けたものである。このように構成すると,各蓄電素子5をその両端で支持して振動等による蓄電素子の倒れ,電気的接続部分の破断等を防止することができる。
【0023】
【発明の効果】
請求項1記載の発明によれば,前記のように構成することによって蓄電素子モジュールの集合体における温度ばらつきを抑制し,またその集合体周りの絶縁を簡単,且つ確実に行うことができる等種々の効果を有する蓄電装置を提供することができる。
【0024】
請求項2記載の発明によれば,前記集合体の温度ばらつきを極力抑制することができる。
【0025】
請求項3記載の発明によれば,両側壁およびそれに隣接する両蓄電素子モジュール間の間隔,つまり冷却風用通路を確実に維持することができる。
【図面の簡単な説明】
【図1】蓄電装置の一実施例の分解斜視図である。
【図2】蓄電素子の斜視図である。
【図3】図2の状態と逆様の関係にある蓄電素子の斜視図である。
【図4】蓄電素子モジュールの斜視図である。
【図5】図1の5−5矢視拡大図である。
【図6】図1の6−6線拡大断面図である。
【図7】図5の7−7線拡大断面図である。
【図8】凹条および蓄電素子間の間隔と,相隣る両蓄電素子モジュールにおける両蓄電素子間の間隔との関係を示す説明図である。
【図9】他の実施例の断面図で,図7に対応する。
【符号の説明】
1………………蓄電装置
2………………蓄電素子モジュール
4………………ボックス
5………………蓄電素子
6………………内側ボックス
7………………外側ボックス
8………………円筒状器体
15……………絶縁性連結部材
21,22……第1の側壁
23,24……第2の側壁
25,26……開口部
27……………凹条
29……………突出部
32,33……開口部
34,35……第1の側壁
39……………冷却風用入口
40……………冷却風用出口
a………………軸線
b………………蓄電素子配列方向
c………………間隔
d………………蓄電素子外周面母線方向
f………………最小値
g………………間隔
h………………最小値

Claims (3)

  1. 複数の蓄電素子モジュール(2)と,それら蓄電素子モジュール(2)を収容するボックス(4)とを備え,各蓄電素子モジュール(2)は,円筒状をなす複数の蓄電素子(5)を,それらの軸線(a)が平行するように一列に並べ,且つ連結部材(15)により連結して構成され,それら蓄電素子モジュール(2)は,前記ボックス(4)内にて蓄電素子配列方向(b)が互に平行するように並べられており,前記ボックス(4)は前記蓄電素子配列方向(b)と交差し,且つ相対向する両位置に,それぞれ冷却風用入口(39)および冷却風用出口(40)を有する蓄電装置において,前記ボックス(4)は,複数の前記蓄電素子モジュール(2)を収容する合成樹脂製内側ボックス(6)と,その内側ボックス(6)を収容する金属製外側ボックス(7)とよりなり,それら内側および外側ボックス(6,7)の前記両位置に対応する両側壁(21,22;34,35)に,それぞれ前記冷却風用入口(39)および冷却風用出口(40)を形成する開口部(25,26;32,33)が在り,前記内側ボックス(6)の前記蓄電素子配列方向(b)と平行な両側壁(23,24)は,それらの内面にそれぞれ複数の凹条(27)を有し,各凹条(27)は,各側壁(23,24)に隣接した各蓄電素子モジュール(2)における各蓄電素子(5)外周面の円周の一部に間隔(c)をとって対向すると共に蓄電素子外周面母線方向(d)に伸びていることを特徴とする蓄電装置。
  2. 前記凹条(27)およびその凹条(27)が対向する前記蓄電素子(5)外周面間の前記間隔(c)の最小値をfとし,また相隣る一方の前記蓄電素子モジュール(2)の前記蓄電素子(5)外周面および他方の前記蓄電素子モジュール(2)の前記蓄電素子(5)外周面間の間隔(g)の最小値をhとしたとき,両間隔f,hはf≦h/2の関係にある,請求項1記載の蓄電装置。
  3. 前記凹条(27)およびその凹条(27)が対向する前記蓄電素子(5)外周面間の前記間隔(c)を保持すべく,各凹条(27)は各蓄電素子(5)外周面に当接する少なくとも1つの突出部(29)を有する,請求項1または2記載の蓄電装置。
JP2002348801A 2002-11-29 2002-11-29 蓄電装置 Expired - Fee Related JP3715275B2 (ja)

Priority Applications (1)

Application Number Priority Date Filing Date Title
JP2002348801A JP3715275B2 (ja) 2002-11-29 2002-11-29 蓄電装置

Applications Claiming Priority (1)

Application Number Priority Date Filing Date Title
JP2002348801A JP3715275B2 (ja) 2002-11-29 2002-11-29 蓄電装置

Publications (2)

Publication Number Publication Date
JP2004185867A true JP2004185867A (ja) 2004-07-02
JP3715275B2 JP3715275B2 (ja) 2005-11-09

Family

ID=32751615

Family Applications (1)

Application Number Title Priority Date Filing Date
JP2002348801A Expired - Fee Related JP3715275B2 (ja) 2002-11-29 2002-11-29 蓄電装置

Country Status (1)

Country Link
JP (1) JP3715275B2 (ja)

Cited By (16)

* Cited by examiner, † Cited by third party
Publication number Priority date Publication date Assignee Title
JP2007012394A (ja) * 2005-06-29 2007-01-18 Sanyo Electric Co Ltd パック電池
JP2010225336A (ja) * 2009-03-21 2010-10-07 Sanyo Electric Co Ltd バッテリパック
JP2010238519A (ja) * 2009-03-31 2010-10-21 Honda Motor Co Ltd 組電池装置
WO2011033722A1 (ja) * 2009-09-18 2011-03-24 パナソニック株式会社 電池モジュール及びその製造方法並びに温度調整システム
WO2012020624A1 (ja) * 2010-08-12 2012-02-16 日本ケミコン株式会社 コンデンサ装置及びその製造方法
JP2012039047A (ja) * 2010-08-12 2012-02-23 Nippon Chemicon Corp コンデンサ装置及びその製造方法
JP2012079881A (ja) * 2010-09-30 2012-04-19 Nippon Chemicon Corp コンデンサ装置及びその製造方法
JP2012084314A (ja) * 2010-10-08 2012-04-26 Hino Motors Ltd 電装収納箱の内部冷却構造
JP2012089731A (ja) * 2010-10-21 2012-05-10 Nippon Chemicon Corp コンデンサ装置及びその製造方法
KR101255241B1 (ko) * 2011-04-12 2013-04-16 삼성에스디아이 주식회사 배터리 모듈
JP2013141011A (ja) * 2007-10-31 2013-07-18 Corning Inc 長円形電気化学二重層コンデンサ
JP2013196907A (ja) * 2012-03-19 2013-09-30 Toyota Motor Corp 蓄電装置
JP2014110147A (ja) * 2012-11-30 2014-06-12 Toyota Motor Corp 蓄電モジュール及び蓄電モジュールの温度調節構造
JP2016505205A (ja) * 2013-04-29 2016-02-18 エルジー・ケム・リミテッド 自動車用バッテリーパックに含まれるバッテリーモジュール
KR20160023473A (ko) * 2014-08-22 2016-03-03 엘에스엠트론 주식회사 에너지 저장장치 모듈
WO2018221214A1 (ja) * 2017-06-02 2018-12-06 株式会社オートネットワーク技術研究所 蓄電モジュール

Cited By (23)

* Cited by examiner, † Cited by third party
Publication number Priority date Publication date Assignee Title
JP2007012394A (ja) * 2005-06-29 2007-01-18 Sanyo Electric Co Ltd パック電池
JP2013141011A (ja) * 2007-10-31 2013-07-18 Corning Inc 長円形電気化学二重層コンデンサ
JP2010225336A (ja) * 2009-03-21 2010-10-07 Sanyo Electric Co Ltd バッテリパック
JP2010238519A (ja) * 2009-03-31 2010-10-21 Honda Motor Co Ltd 組電池装置
WO2011033722A1 (ja) * 2009-09-18 2011-03-24 パナソニック株式会社 電池モジュール及びその製造方法並びに温度調整システム
JP2012039047A (ja) * 2010-08-12 2012-02-23 Nippon Chemicon Corp コンデンサ装置及びその製造方法
US9484154B2 (en) 2010-08-12 2016-11-01 Nippon Chemi-Con Corporation Capacitor device and method for manufacturing same
WO2012020624A1 (ja) * 2010-08-12 2012-02-16 日本ケミコン株式会社 コンデンサ装置及びその製造方法
JP2012079881A (ja) * 2010-09-30 2012-04-19 Nippon Chemicon Corp コンデンサ装置及びその製造方法
JP2012084314A (ja) * 2010-10-08 2012-04-26 Hino Motors Ltd 電装収納箱の内部冷却構造
JP2012089731A (ja) * 2010-10-21 2012-05-10 Nippon Chemicon Corp コンデンサ装置及びその製造方法
KR101255241B1 (ko) * 2011-04-12 2013-04-16 삼성에스디아이 주식회사 배터리 모듈
JP2013196907A (ja) * 2012-03-19 2013-09-30 Toyota Motor Corp 蓄電装置
JP2014110147A (ja) * 2012-11-30 2014-06-12 Toyota Motor Corp 蓄電モジュール及び蓄電モジュールの温度調節構造
US10141546B2 (en) 2013-04-29 2018-11-27 Lg Chem, Ltd. Inner case of battery module assembly for vehicle's battery pack
US9865845B2 (en) 2013-04-29 2018-01-09 Lg Chem, Ltd. Case for vehicle's battery pack
US9882178B2 (en) 2013-04-29 2018-01-30 Lg Chem, Ltd. Battery module assembly for vehicle's battery pack
JP2016505205A (ja) * 2013-04-29 2016-02-18 エルジー・ケム・リミテッド 自動車用バッテリーパックに含まれるバッテリーモジュール
KR20160023473A (ko) * 2014-08-22 2016-03-03 엘에스엠트론 주식회사 에너지 저장장치 모듈
KR101925978B1 (ko) * 2014-08-22 2018-12-06 엘에스엠트론 주식회사 에너지 저장장치 모듈
WO2018221214A1 (ja) * 2017-06-02 2018-12-06 株式会社オートネットワーク技術研究所 蓄電モジュール
JP2018206573A (ja) * 2017-06-02 2018-12-27 株式会社オートネットワーク技術研究所 蓄電モジュール
US11139531B2 (en) 2017-06-02 2021-10-05 Autonetworks Technologies, Ltd. Power storage module

Also Published As

Publication number Publication date
JP3715275B2 (ja) 2005-11-09

Similar Documents

Publication Publication Date Title
JP2004185867A (ja) 蓄電装置
JP4665277B2 (ja) バッテリ装置
CN112467286B (zh) 电池组
EP1331682B1 (en) Battery pack
CN103715377B (zh) 蓄电装置
KR20250108560A (ko) 배터리 팩
US6456038B1 (en) Electrical storage cell batteries
US6495282B1 (en) Method for arranging elliptic cylindrical cell and assembled battery
JP2001313017A (ja) パック電池
JP6990063B2 (ja) 蓄電装置
JP7495879B2 (ja) 電池、電池パック及び自動車
CN209896161U (zh) 二次电池
EP3555935B1 (en) A battery module casing, a battery module and a battery
WO2019064924A1 (ja) 電気接続部材収納ケース及び電池モジュール
JP4146665B2 (ja) 密閉型二次電池
WO2024082113A1 (zh) 电池单体、电池及用电装置
JP4601870B2 (ja) 電池パック
JP7147252B2 (ja) 蓄電装置
JP5691778B2 (ja) 非水電解質二次電池
KR102113750B1 (ko) 다수의 에너지 저장 어셈블리를 포함하는 에너지 저장 모듈
KR20150033388A (ko) 이차 전지 및 그 모듈
CN217544752U (zh) 电池及电池模组
JP4404982B2 (ja) 集合型密閉二次電池
JP2019169284A (ja) バッテリモジュール及びバッテリモジュールの製造方法
WO2018230524A1 (ja) 蓄電装置

Legal Events

Date Code Title Description
A977 Report on retrieval

Free format text: JAPANESE INTERMEDIATE CODE: A971007

Effective date: 20050721

TRDD Decision of grant or rejection written
A01 Written decision to grant a patent or to grant a registration (utility model)

Free format text: JAPANESE INTERMEDIATE CODE: A01

Effective date: 20050803

A61 First payment of annual fees (during grant procedure)

Free format text: JAPANESE INTERMEDIATE CODE: A61

Effective date: 20050824

R150 Certificate of patent or registration of utility model

Free format text: JAPANESE INTERMEDIATE CODE: R150

FPAY Renewal fee payment (event date is renewal date of database)

Free format text: PAYMENT UNTIL: 20080902

Year of fee payment: 3

FPAY Renewal fee payment (event date is renewal date of database)

Free format text: PAYMENT UNTIL: 20090902

Year of fee payment: 4

FPAY Renewal fee payment (event date is renewal date of database)

Free format text: PAYMENT UNTIL: 20100902

Year of fee payment: 5

FPAY Renewal fee payment (event date is renewal date of database)

Free format text: PAYMENT UNTIL: 20100902

Year of fee payment: 5

FPAY Renewal fee payment (event date is renewal date of database)

Free format text: PAYMENT UNTIL: 20110902

Year of fee payment: 6

FPAY Renewal fee payment (event date is renewal date of database)

Free format text: PAYMENT UNTIL: 20110902

Year of fee payment: 6

FPAY Renewal fee payment (event date is renewal date of database)

Free format text: PAYMENT UNTIL: 20120902

Year of fee payment: 7

FPAY Renewal fee payment (event date is renewal date of database)

Free format text: PAYMENT UNTIL: 20120902

Year of fee payment: 7

FPAY Renewal fee payment (event date is renewal date of database)

Free format text: PAYMENT UNTIL: 20130902

Year of fee payment: 8

LAPS Cancellation because of no payment of annual fees