JP2004158145A - 光記録媒体 - Google Patents
光記録媒体 Download PDFInfo
- Publication number
- JP2004158145A JP2004158145A JP2002324649A JP2002324649A JP2004158145A JP 2004158145 A JP2004158145 A JP 2004158145A JP 2002324649 A JP2002324649 A JP 2002324649A JP 2002324649 A JP2002324649 A JP 2002324649A JP 2004158145 A JP2004158145 A JP 2004158145A
- Authority
- JP
- Japan
- Prior art keywords
- layer
- optical recording
- recording medium
- recording
- dielectric layer
- Prior art date
- Legal status (The legal status is an assumption and is not a legal conclusion. Google has not performed a legal analysis and makes no representation as to the accuracy of the status listed.)
- Pending
Links
- 230000003287 optical effect Effects 0.000 title claims 8
- 229910018072 Al 2 O 3 Inorganic materials 0.000 claims 1
- 229910005793 GeO 2 Inorganic materials 0.000 claims 1
- 229910021193 La 2 O 3 Inorganic materials 0.000 claims 1
- 229910004298 SiO 2 Inorganic materials 0.000 claims 1
- 229910006404 SnO 2 Inorganic materials 0.000 claims 1
- 229910010413 TiO 2 Inorganic materials 0.000 claims 1
- 239000000654 additive Substances 0.000 claims 1
- 230000000996 additive effect Effects 0.000 claims 1
- 229910010272 inorganic material Inorganic materials 0.000 claims 1
- 239000011147 inorganic material Substances 0.000 claims 1
- 230000001678 irradiating effect Effects 0.000 claims 1
- 239000000203 mixture Substances 0.000 claims 1
Images
Landscapes
- Thermal Transfer Or Thermal Recording In General (AREA)
- Optical Record Carriers And Manufacture Thereof (AREA)
Abstract
【解決手段】無機材料からなる記録層14と、記録層14に隣接して設けられた誘電体層13,15を備え、波長が380nm〜450nmのレーザビームを記録層14に照射することによってデータの追記が可能であり、誘電体層13,15がTa2O5,Al2O3,SiO2,TiO2,GeO2,Nb2O5,SnO2,CeO2,Y2O3,La2O3,AlN,Si3N4,GeN,SiC,MgF2又はこれらの混合物を含んでいる。これによれば、環境負荷を抑制しつつ、レーザビームが上記波長である場合において良好な光学特性を得ることができる。
【選択図】 図1
Description
【発明の属する技術分野】
本発明は光記録媒体に関し、特に、無機材料からなる記録層を有し、波長が380nm〜450nmである青色波長領域のレーザビームを用いてデータの記録を行うことが可能な追記型の光記録媒体に関する。
【0002】
【従来の技術】
従来より、デジタルデータを記録するための記録媒体として、CDやDVDに代表される光記録媒体が広く利用されている。これらの光記録媒体は、CD−ROMやDVD−ROMのようにデータの追記や書き換えができないタイプの光記録媒体(ROM型光記録媒体)と、CD−RやDVD−Rのようにデータの追記はできるがデータの書き換えができないタイプの光記録媒体(追記型光記録媒体)と、CD−RWやDVD−RWのようにデータの書き換えが可能なタイプの光記録媒体(書き換え型光記録媒体)とに大別することができる。
【0003】
ROM型光記録媒体においては、製造時において予め基板に形成されるピット列によりデータが記録されることが一般的であり、書き換え型光記録媒体においては、例えば、記録層の材料として相変化材料が用られ、その相状態の変化に基づく光学特性の変化を利用してデータが記録されることが一般的である。
【0004】
これに対し、追記型光記録媒体においては、記録層の材料としてシアニン系色素、フタロシアニン系色素、アゾ色素等の有機色素が用いられ、その化学的変化(場合によっては化学的変化に加えて物理的変形を伴うことがある)に基づく光学特性の変化を利用してデータが記録されることが一般的である。追記型光記録媒体は書き換え型光記録媒体とは違い、一旦データを記録した場合これを消去したり書き換えたりすることができないが、このことはデータの改竄ができないことを意味するため、データの改竄防止が求められる用途において重要な役割を果たしている。
【0005】
しかしながら、有機色素は日光等の照射によって劣化することから、追記型光記録媒体において長期間の保存に対する信頼性をさらに高めるためには、記録層を有機色素以外の材料によって構成することが望ましい。記録層を有機色素以外の材料によって構成した例としては、特開昭62−204442号公報に記載されているように、無機材料からなる2層の反応層を積層しこれを記録層として用いる技術が知られている。
【0006】
一方、近年、データの記録密度が高められ、且つ、非常に高いデータ転送レートを実現可能な次世代型の光記録媒体が提案されている。このような次世代型の光記録媒体においては、大容量・高データ転送レートを実現するため、必然的に、データの記録・再生に用いるレーザビームのビームスポット径を非常に小さく絞らなければならない。ここで、ビームスポット径を小さく絞るためには、レーザビームを集束するための対物レンズの開口数(NA)を0.7以上、例えば、0.85程度まで大きくするとともに、レーザビームの波長λを380nm〜450nm、例えば400nm程度まで短くする必要がある。
【0007】
しかしながら、レーザビームを集束するための対物レンズを高NA化すると、光記録媒体の反りや傾きの許容度、すなわちチルトマージンが非常に小さくなるという問題が生じる。チルトマージンTは、記録・再生に用いるレーザビームの波長をλ、レーザビームの光路となる光透過層(透明基体)の厚さをdとすると、次式によって表すことができる。
【0008】
【数1】
式(1)から明らかなように、チルトマージンは対物レンズのNAが大きいほど小さくなってしまう。また、波面収差(コマ収差)が発生する光透過層(透明基体)の屈折率をn、傾き角をθとすると、波面収差係数Wは、次式によって表すことができる。
【0009】
【数2】
式(1)及び式(2)から明らかなように、チルトマージンを大きくし、且つ、コマ収差の発生を抑えるためには、記録・再生に用いるレーザビームが入射する光透過層(透明基体)の厚さdを小さくすることが非常に有効である。
【0010】
このような理由から、次世代型の光記録媒体においては、十分なチルトマージンを確保しつつ、コマ収差の発生を抑えるために、光透過層(透明基体)の厚さを100μm程度まで薄くすることが要求される。このため、次世代型の光記録媒体においては、CDやDVD等、現行の光記録媒体のように光透過層(透明基体)上に記録層等を形成することは困難であり、基体上に形成した記録層等の上にスピンコート法等により薄い樹脂層を光透過層(透明基体)として形成する方法が検討されている。したがって、次世代型の光記録媒体の作製においては、光入射面側から順次成膜が行われる現行の光記録媒体とは異なり、光入射面とは反対側から順次成膜が行われることになる。
【0011】
【発明が解決しようとする課題】
一般に、ユーザによる記録が可能な光記録媒体においては、記録層を化学的及び/又は物理的に保護するとともに、記録の前後における光学特性の差(変調度)を拡大する目的から記録層に隣接して誘電体層が設けられ、このような誘電体層に用いられる材料としては光記録媒体の種類や、記録及び/又は再生に用いられるレーザビームの波長等を考慮して適切な材料が選択される。したがって、記録層が無機材料からなる次世代型の追記型光記録媒体に用いられる誘電体層についても、光記録媒体の種類が追記型である点、並びに、記録及び/又は再生に用いられるレーザビームの波長λが380nm〜450nmである点を考慮して、良好な記録層の保護特性や良好な光学特性が得られるよう、適切な材料を選択する必要がある。
【0012】
他方、近年における地球環境への関心の高まりから、光記録媒体の誘電体層の材料としても、より環境負荷の小さい材料を選択することが望ましい。
【0013】
したがって、本発明の目的は、無機材料からなる記録層を有し、波長が380nm〜450nmである青色波長領域のレーザビームを用いてデータの記録を行うことが可能な追記型の光記録媒体であって、光学特性や記録層の保護特性に優れた誘電体層を備える光記録媒体を提供することである。
【0014】
【課題を解決するための手段】
本発明のかかる目的は、無機材料からなる記録層と、前記記録層に隣接して設けられた誘電体層を少なくとも備え、波長が380nm〜450nmのレーザビームを前記記録層に照射することによってデータの追記が可能な光記録媒体であって、前記誘電体層がTa2O5,Al2O3,SiO2,TiO2,GeO2,Nb2O5,SnO2,CeO2,Y2O3,La2O3,AlN,Si3N4,GeN,SiC,MgF2又はこれらの混合物を含んでいることを特徴とする光記録媒体によって達成される。
【0015】
本発明によれば、環境負荷を抑制しつつ、レーザビームの波長が380nm〜450nm、特に約405nmである場合において、良好な光学特性を得ることができ、さらに、追記型の光記録媒体に求められる保護特性を満足することが可能となる。
【0016】
本発明においては、前記記録層が少なくとも第1及び第2の反応層からなり、前記第1の反応層に含まれる元素と前記第2の反応層に含まれる元素とをレーザビームの照射によって混合することにより記録可能であることが好ましい。これによれば、再生信号を大きくすることが可能となる。
【0017】
この場合、前記第1の反応層の主成分がCu,Al,Zn又はAgであり、前記第2の反応層の主成分がSi,Ge又はSnであることが好ましい。これによれば、再生信号のノイズレベルをより低く抑えることができるとともに、環境負荷を抑制することが可能となる。
【0018】
さらに、前記第1の反応層に添加物が加えられていることがより好ましい。これによれば、再生信号のノイズレベルがより低く抑えられるとともに、長期間の保存に対する信頼性を高めることが可能となる。
【0019】
さらに、前記記録層及び前記誘電体層を含む情報記録層が複数積層された構造を有していることもまた好ましい。
【0020】
尚、本発明において、記録層と誘電体層とが「隣接している」とは、記録層と誘電体層とが隣り合って接触している場合のみならず、記録層と誘電体層とが他の層を介して隣り合っている場合も含む。
【0021】
【発明の実施の形態】
以下、添付図面を参照しながら、本発明の好ましい実施態様について詳細に説明する。
【0022】
図1(a)は、本発明の好ましい実施態様にかかる光記録媒体10の外観を示す切り欠き斜視図であり、図1(b)は、図1(a)に示すA部を拡大した部分断面図である。
【0023】
図1(a),(b)に示す光記録媒体10は、外径が約120mm、厚みが約1.2mmである円盤状の光記録媒体であり、図1(b)に示すように、支持基板11と、反射層12と、第2誘電体層13と、記録層14と、第1誘電体層15と、光透過層16とを備えて構成されている。本実施態様にかかる光記録媒体10は、波長λが380nm〜450nm、好ましくは約405nmであるレーザビームLを光透過層16の表面である光入射面16aより照射することによってデータの追記及び再生を行うことが可能な追記型の光記録媒体である。
【0024】
支持基板11は、光記録媒体10に求められる厚み(約1.2mm)を確保するために用いられる円盤状の基板であり、その一方の面には、その中心部近傍から外縁部に向けて、レーザビームLをガイドするためのグルーブ11a及びランド11bが螺旋状に形成されている。支持基板11の材料としては種々の材料を用いることが可能であり、例えば、ガラス、セラミックス、あるいは樹脂を用いることができる。これらのうち、成形の容易性の観点から樹脂が好ましい。このような樹脂としてはポリカーボネート樹脂、オレフィン樹脂、アクリル樹脂、エポキシ樹脂、ポリスチレン樹脂、ポリエチレン樹脂、ポリプロピレン樹脂、シリコーン樹脂、フッ素系樹脂、ABS樹脂、ウレタン樹脂等が挙げられる。中でも、加工性などの点からポリカーボネート樹脂やオレフィン樹脂が特に好ましい。但し、支持基板11は、レーザビームLの光路とはならないことから、高い光透過性を有している必要はない。
【0025】
反射層12は、光透過層16側から入射されるレーザビームLを反射し、再び光透過層16から出射させる役割を果たし、その厚さとしては5〜300nmに設定することが好ましく、20〜200nmに設定することが特に好ましい。反射層12の材料はレーザビームLを反射可能である限り特に制限されず、例えば、マグネシウム(Mg),アルミニウム(Al),チタン(Ti),クロム(Cr),鉄(Fe),コバルト(Co),ニッケル(Ni),銅(Cu),亜鉛(Zn),ゲルマニウム(Ge),銀(Ag),白金(Pt),金(Au)等を用いることができる。これらのうち、高い反射率を有することから、アルミニウム(Al),金(Au),銀(Ag),銅(Cu)又はこれらの合金(AlとTiとの合金等)などの金属材料が用いることが好ましい。本発明において、光記録媒体に反射層12を設けることは必須でないが、これを設ければ、光記録後において多重干渉効果により高い再生信号(C/N比)が得られやすくなる。
【0026】
第1誘電体層15及び第2誘電体層13は、これらの間に設けられる記録層14を物理的及び/又は化学的に保護する役割を果たし、記録層14はこれら第1誘電体層13及び第2誘電体層15に挟持されることによって、光記録後、長期間にわたって記録情報の劣化が効果的に防止される。したがって、第1誘電体層15及び第2誘電体層13の材料としては、記録層14に対する保護特性に優れた材料を選択する必要があるが、本実施態様にかかる光記録媒体10は追記型の光記録媒体であり、同一エリアに対する記録は1回しか行われないことから、記録によるダメージ(記録層14の体積膨張や収縮)も最大で1回しか受けない。したがって、第1誘電体層15及び第2誘電体層13の材料としては、書き換え型の光記録媒体用の誘電体膜のように繰り返しのダメージにも耐える高い柔軟性は要求されず、少なくとも1回の記録に耐え得る柔軟性を有していることを条件に、より環境負荷の小さい材料を選択することが望ましい。
【0027】
また、第1誘電体層15及び第2誘電体層13は、記録の前後における光学特性の差を拡大する役割をも果たし、これを容易に達成するためには、使用されるレーザビームLの波長領域、すなわち、380nm〜450nm、特に約405nmの波長領域において高い屈折率(n)を有する材料を選択する必要がある。さらに、レーザビームLを照射した場合に、第1誘電体層15及び第2誘電体層13に吸収されるエネルギーが大きいと記録感度が低下することから、これを防止するためには、380nm〜450nm、特に約405nmの波長領域において低い消衰係数(k)を有する材料を選択する必要がある。
【0028】
以上を考慮して、本実施態様においては、第1誘電体層15及び/又は第2誘電体層13の材料として、以下に説明する酸化物、窒化物、炭化物、フッ化物又はこれらの混合物が用いられる。
【0029】
酸化物としては、タンタル(Ta),アルミニウム(Al),シリコン(Si),チタン(Ti),ゲルマニウム(Ge),ニオブ(Nb),錫(Sn),セリウム(Ce),イットリウム(Y)又はランタン(La)の酸化物、すなわち、Ta2O5,Al2O3,SiO2,TiO2,GeO2,Nb2O5,SnO2,CeO2,Y2O3又はLa2O3が用いられ、窒化物としてはアルミニウム(Al),シリコン(Si)又はゲルマニウム(Ge)の窒化物、すなわち、AlN,Si3N4又はGeNが用いられ、炭化物としてはシリコン(Si)の炭化物、すなわちSiCが用いられ、フッ化物としてはマグネシウム(Mg)のフッ化物、すなわちMgF2が用いられる。また、これらの混合物としては、SiAlON(SiO2,Al2O3,Si3N4及びAlNの混合物)、LaSiON(La2O3,SiO2及びSi3N4の混合物)等が挙げられる。
【0030】
第1誘電体層15及び/又は第2誘電体層13の材料として、上述した酸化物、窒化物、炭化物、フッ化物又はこれらの混合物を用いれば、同一エリアに対し最大で1回のみ行われるデータの記録に対し、記録層14を確実に保護することができるとともに、記録の前後において十分な光学特性差を得ることが可能となる。さらに、上述した酸化物、窒化物、炭化物、フッ化物又はこれらの混合物は、いずれも環境負荷の非常に小さい材料であることから、これら材料の使用が環境汚染を招くこともない。
【0031】
尚、第1誘電体層15と第2誘電体層13は、互いに同じ材料で構成されてもよいが、異なる材料で構成されてもよい。この場合、第1誘電体層15と第2誘電体層13の両方が、上述した酸化物、窒化物、炭化物、フッ化物又はこれらの混合物からなることが非常に好ましいが、第1誘電体層15及び第2誘電体層13の一方のみが、上述した酸化物、窒化物、炭化物、フッ化物又はこれらの混合物によって構成されていても構わない。さらに、第1誘電体層15及び第2誘電体層13の少なくとも一方が、複数の誘電体層からなる多層構造であっても構わない。この場合も、該複数の誘電体層の全てが上述した酸化物、窒化物、炭化物、フッ化物又はこれらの混合物からなることが非常に好ましいが、その一部の誘電体層のみが上述した酸化物、窒化物、炭化物、フッ化物又はこれらの混合物によって構成されていても構わない。
【0032】
また、第1誘電体層15及び第2誘電体層13の層厚は特に限定されないが、使用されるレーザビームLの波長が380nm〜450nmの青色波長領域であることを考慮すれば、3〜200nmであることが好ましい。この層厚が3nm未満であると、記録層14を保護する効果及び記録の前後における光学特性の差を拡大する効果が得られにくくなる。一方、層厚が200nmを超えると、成膜時間が長くなり生産性が低下するおそれがあり、さらに、第1誘電体層15及び第2誘電体層13のもつ応力によってクラックが発生するおそれがある。
【0033】
記録層14は不可逆的な記録マークが形成される層であり、複数の反応層からなる積層構造を有している。記録層14のうち未記録状態である領域は、図2(a)に示すように反応層21と反応層22が積層された状態となっているが、所定以上のパワーを持つレーザビームLが照射されると、その熱によって、図2(b)に示すように反応層21を構成する元素及び反応層22を構成する元素がそれぞれ部分的又は全体的に混合されて記録マーク20となる。このとき、記録層において記録マーク20の形成された混合部分とそれ以外の部分(ブランク領域)とではレーザビームLに対する反射率が大きく異なるため、これを利用してデータの記録・再生を行うことができる。記録されるデータは、記録マーク20の長さ(記録マーク20の前縁から後縁までの長さ)及びブランク領域の長さ(記録マーク20の後縁から次の記録マーク20の前縁までの長さ)によって表現される。記録マーク20及びブランク領域の長さは、基準となるクロックの1周期に相当する長さをTとした場合、Tの整数倍に設定される。具体的には、1,7RLL変調方式においては、2T〜8Tの長さを持つ記録マーク20及びブランク領域が使用される。
【0034】
ここで、反応層21の材料としては、アルミニウム(Al),シリコン(Si),ゲルマニウム(Ge),炭素(C),錫(Sn),金(Au),亜鉛(Zn),銅(Cu),ホウ素(B),マグネシウム(Mg),チタン(Ti),マンガン(Mn),鉄(Fe),ガリウム(Ga),ジルコニウム(Zr),銀(Ag),ビスマス(Bi)及び白金(Pt)からなる群より選ばれた一の材料を主成分とし、反応層22の材料としては上記群より選ばれた他の材料を主成分とすることが好ましい。特に、再生信号のノイズレベルをより低く抑えるためには、反応層21及び反応層22の一方の主成分を銅(Cu),アルミニウム(Al),亜鉛(Zn)又は銀(Ag)とし、他方の主成分をシリコン(Si),ゲルマニウム(Ge)又は錫(Sn)とすることが好ましく、反応層21及び反応層22の一方の主成分を銅(Cu)とし他方の主成分をシリコン(Si)とすることが最も好ましい。この場合、光透過層16側に位置する反応層21の主成分がシリコン(Si)であり、支持基板11側に位置する反応層22の主成分が銅(Cu)であることが好ましい。反応層21及び反応層22の材料としてこのような元素を主成分とする材料を用いることにより、再生信号のノイズレベルをより低く抑えることができるとともに、環境負荷を抑制することが可能となる。
【0035】
また、反応層21及び反応層22の一方の主成分が銅(Cu)である場合には、これにアルミニウム(Al),亜鉛(Zn),錫(Sn),金(Au)又はマグネシウム(Mg)が添加されていることが好ましく、反応層21及び反応層22の一方の主成分がアルミニウム(Al)である場合には、これにマグネシウム(Mg),金(Au),チタン(Ti)又は銅(Cu)が添加されていることが好ましく、反応層21及び反応層22の一方の主成分が亜鉛(Zn)である場合には、これにマグネシウム(Mg),アルミニウム(Al)又は銅(Cu)が添加されていることが好ましく、反応層21及び反応層22の一方の主成分が銀(Ag)である場合には、これに銅(Cu)又はパラジウム(Pd)が添加されていることが好ましい。このような元素を添加すれば、再生信号のノイズレベルがより低く抑えられるとともに、長期間の保存に対する信頼性を高めることが可能となる。
【0036】
記録層14の層厚は、厚くなればなるほどレーザビームLのビームスポットが照射される反応層21の表面21aの平坦性が悪化し、これに伴って再生信号のノイズレベルが高くなるとともに、記録感度も低下する。この点を考慮すれば、反応層21の表面21aの平坦性を高めることによって再生信号のノイズレベルを抑制するとともに記録感度を高めるためには、記録層14の層厚を薄く設定することが有効であるが、薄くしすぎると記録前後における光学定数の差が少なくなり、再生時に高いレベルの再生信号(C/N比)を得ることができなくなる。また、記録層14の層厚を極端に薄く設定すると、成膜時における層厚制御が困難となる。以上を考慮すれば、記録層14の層厚は2〜40nmに設定することが好ましく、2〜20nmであることがより好ましく、2〜15nmであることがさらに好ましい。
【0037】
反応層21及び反応層22それぞれの層厚は特に限定されないが、再生信号のノイズレベルを充分に抑制し、充分な記録感度を確保し、さらに、記録前後の反射率の変化を充分に大きくするためには、いずれも1〜30nmであることが好ましく、反応層21の層厚と反応層22の層厚との比(反応層21の層厚/反応層22の層厚)は、0.2〜5.0であることが好ましい。
【0038】
尚、記録層14の上記構造はあくまで一例であり、他の構造を有していても構わない。例えば、2つの反応層21と、これら2つの反応層21の間に配置された反応層22とからなる3層構造であってもよいし、また、反応層21と反応層22との間に、反応層21を構成する材料と反応層22を構成する材料とが混合されてなる混合層が介在していても構わない。さらに、錫(Sn)やチタン(Ti)等からなる単層構造であっても構わない。
【0039】
次に、本実施態様にかかる光記録媒体10の製造方法について説明する。
【0040】
図3は、本実施態様にかかる光記録媒体10の製造方法を示すフローチャートである。
【0041】
まず、スタンパを用いた射出成形法により、グルーブ11b及びランド11cが形成された支持基板11を作製する(ステップS1)。但し、支持基板11の作製は射出成形法に限られず、2P法等、他の方法によってこれを作製しても構わない。
【0042】
次に、支持基板11の表面のうち、グルーブ11b及びランド11cが設けられた面に反射層12を形成する(ステップS2)。反射層12の形成は、反射層12の構成元素を含む化学種を用いた気相成長法、例えば、スパッタリング法や真空蒸着法を用いることができ、中でも、スパッタリング法を用いることが好ましい。
【0043】
次に、反射層12上に第2誘電体層13を形成する(ステップS3)。第2誘電体層13の形成についても、第2誘電体層13の主成分である上記酸化物(Ta2O5,Al2O3,SiO2,TiO2,GeO2,Nb2O5,SnO2,CeO2,Y2O3又はLa2O3)、窒化物(AlN,Si3N4又はGeN)、炭化物(SiC)、フッ化物(MgF2)又はこれらの混合物(SiAlON又はLaSiON)を含む化学種を用いた気相成長法により形成することができ、特に、スパッタリング法を用いることが好ましい。
【0044】
次に、第2誘電体層13上に記録層14を形成する。記録層14の形成は、反応層22の形成(ステップS4)及び反応層21の形成(ステップS5)の順に行われ、それぞれ反応層22及び反応層21の構成元素を含む化学種を用いた気相成長法を用いることができ、特に、スパッタリング法を用いることが好ましい。
【0045】
次に、記録層14上に第1誘電体層15を形成する(ステップS6)。第1誘電体層15についても、第2誘電体層13と同様、第1誘電体層15の主成分である上記酸化物(Ta2O5,Al2O3,SiO2,TiO2,GeO2,Nb2O5,SnO2,CeO2,Y2O3又はLa2O3)、窒化物(AlN,Si3N4又はGeN)、炭化物(SiC)、フッ化物(MgF2)又はこれらの混合物(SiAlON又はLaSiON)を含む化学種を用いた気相成長法により形成することができ、特に、スパッタリング法を用いることが好ましい。
【0046】
最後に、第1誘電体層15上に光透過層16を形成する(ステップS7)。光透過層16は、例えば、粘度調整されたアクリル系又はエポキシ系の紫外線硬化性樹脂をスピンコート法等により皮膜させ、紫外線を照射して硬化する等の方法により形成することができる。また、紫外線硬化性樹脂を硬化させてなる膜の代わりに、光透過性樹脂からなる光透過性シートと各種接着剤や粘着剤を用いて光透過層16を形成してもよい。
【0047】
以上により、光記録媒体10の製造が完了する。
【0048】
なお、上記光記録媒体10の製造方法は、上記製造方法に特に限定されるものではなく、公知の光記録媒体の製造に採用される製造技術を用いることができる。
【0049】
次に、光記録媒体10に対するデータの記録原理について説明する。
【0050】
上記光記録媒体10に対してデータを記録する場合、図1に示すように、光記録媒体10に対して強度変調されたレーザビームLを光透過層16側から入射し記録層14に照射する。このとき、レーザビームLを集束するための対物レンズの開口数(NA)は0.7以上、レーザビームLの波長λは380nm〜450nmに設定され、好ましくは、対物レンズの開口数(NA)は0.85程度、レーザビームLの波長λは405nm程度に設定される。このようにして、λ/NA≦640nmとすることが好ましい。
【0051】
このようなレーザビームLが記録層14に照射されると、記録層14が加熱され、反応層21を構成する元素及び反応層22を構成する元素が混合される。かかる混合部分は、図2(b)に示すように記録マーク20となり、その反射率はそれ以外の部分(ブランク領域)の反射率と異なった値となることから、これを利用してデータの記録・再生を行うことが可能となる。
【0052】
以上説明したように、本実施態様にかかる光記録媒体10は、記録層14及びこれに隣接して設けられた第1誘電体層15及び第2の誘電体層13を備え、第1誘電体層15及び/又は第2の誘電体層13が上述した酸化物(Ta2O5,Al2O3,SiO2,TiO2,GeO2,Nb2O5,SnO2,CeO2,Y2O3又はLa2O3)、窒化物(AlN,Si3N4又はGeN)、炭化物(SiC)、フッ化物(MgF2)又はこれらの混合物(SiAlON又はLaSiON)からなることから、環境負荷を抑制しつつ、レーザビームLの波長が380nm〜450nm、特に約405nmである場合において、良好な光学特性を得ることが可能となり、さらに、追記型光記録媒体に求められる保護特性を満足することが可能となる。
【0053】
本発明は、以上の実施態様に限定されることなく、特許請求の範囲に記載された発明の範囲内で種々の変更が可能であり、それらも本発明の範囲内に包含されるものであることはいうまでもない。
【0054】
例えば、上記実施態様にかかる光記録媒体10においては、記録層14が第1誘電体15及び第2誘電体層13間に挟持されているが、これらの一方を省略しても構わない。
【0055】
また、上記実施態様にかかる光記録媒体10においては、支持基板11上に設けられた反射層12が備えられているが、記録マーク20が形成された領域における反射光のレベルと未記録領域における反射光のレベルが充分大きい場合には、これを省略しても構わない。
【0056】
さらに、上記実施態様にかかる光記録媒体10には記録層14が1層しか設けられていないが、本発明は、複数の情報記録層が積層された構造を有する光記録媒体に適用することもまた好適である。
【0057】
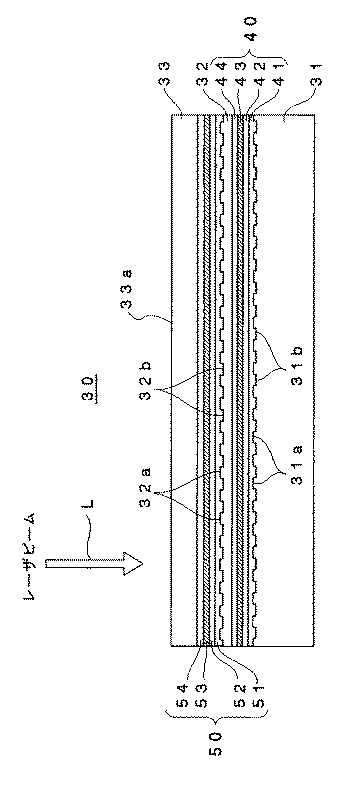
図4は、複数の情報記録層が積層された構造を有する光記録媒体20の構造を概略的に示す断面図である。
【0058】
図4に示すように、光記録媒体30は、グルーブ31a及びランド31bが設けられた支持基体31と、グルーブ32a及びランド32bが設けられた透明中間層32と、光透過層33と、支持基体31と透明中間層32との間に設けられたL0層40と、透明中間層32と光透過層33との間に設けられたL1層50とを備える。L0層40は、光入射面33aから遠い側の情報記録層を構成し、支持基体31側から反射層41、第4誘電体層42、L0記録層43及び第3誘電体層44が積層された構造を有する。また、L1層50は、光入射面33aに近い側の情報記録層を構成し、支持基体31側から反射層51、第2誘電体層52、L1記録層53及び第1誘電体層54が積層された構造を有する。このように、光記録媒体30は、積層された2層の情報記録層(L0層40及びL1層50)を有している。
【0059】
このような構造を有する光記録媒体30においては、第1誘電体層54、第2誘電体層52、第3誘電体層44及び第4誘電体層42の材料として、上述した酸化物(Ta2O5,Al2O3,SiO2,TiO2,GeO2,Nb2O5,SnO2,CeO2,Y2O3又はLa2O3)、窒化物(AlN,Si3N4又はGeN)、炭化物(SiC)、フッ化物(MgF2)又はこれらの混合物(SiAlON又はLaSiON)を用いることができる。
【0060】
【実施例】
以下、実施例を用いて本発明について更に具体的に説明するが、本発明はこれらの実施例に何ら限定されるものではない。
【0061】
[サンプルの作製]
まず、厚さ:1.1mm、直径:120mmのポリカーボネートからなる支持基板11をスパッタリング装置にセットし、この支持基板11上に、Agを主成分とする反射層12(層厚:100nm)、TiO2からなる第2誘電体層13(層厚:20nm)、銅(Cu)を主成分としこれにアルミニウム(Al)が23atm%添加され、金(Au)が13atm%添加された反応層22(層厚:5nm)、シリコン(Si)からなる反応層21(層厚:5nm)、TiO2からなる第1誘電体層15(層厚:23nm)を順次スパッタ法により形成した。
【0062】
次に、第1誘電体層15上に、アクリル系紫外線硬化性樹脂をスピンコート法によりコーティングし、これに紫外線を照射して光透過層16(層厚:100μm)を形成した。
【0063】
これにより、光記録媒体サンプル#1が完成した。
【0064】
次に、第2誘電体層13を層厚25nmのCeO2とし、第1誘電体層15を層厚90nmのCeO2とした他は、光記録媒体サンプル#1と同様にして光記録媒体サンプル#2を作製した。
【0065】
さらに、第2誘電体層13を層厚30nmのLaSiONとし、第1誘電体層15を層厚25nmのLaSiONとした他は、光記録媒体サンプル#1と同様にして光記録媒体サンプル#3を作製した。
【0066】
さらに、第2誘電体層13を層厚30nmのTa2O5とし、第1誘電体層15を層厚22nmのTa2O5とした他は、光記録媒体サンプル#1と同様にして光記録媒体サンプル#4を作製した。
【0067】
尚、第1誘電体層15及び第2誘電体層13の層厚は、各光記録媒体サンプル間において異なっているが、これは、最も高い変調度が得られるよう、それぞれ最適化したためである。
【0068】
[サンプルの評価]
次に、光記録媒体サンプル#1〜#4に対し、最も高い変調度が得られる条件にて、8T単一信号及び2T単一信号の記録を行い、その後これら8T単一信号及び2T単一信号を再生することによって、それぞれのC/N比を測定した。結果を表1に示す。
【0069】
【表1】
表1に示すように、いずれの光記録媒体サンプル#1〜#4においても、8T単一信号については45dB以上のC/N比が得られ、2T単一信号については35dB以上のC/N比が得られた。一般に、実用レベルにおけるC/N比の下限として、2T単一信号については35dBが必要であると言われているが、いずれの光記録媒体サンプル#1〜#4もこれを満たしており、実際に光記録媒体として実用可能であることが確認された。
【0070】
【発明の効果】
以上説明したように、本発明にかかる光記録媒体は、不可逆的に記録マークを形成可能な無機材料からなる記録層と、これに隣接して設けられた誘電体層を備え、誘電体層の材料が、タンタル(Ta),アルミニウム(Al),シリコン(Si),チタン(Ti),ゲルマニウム(Ge),ニオブ(Nb),錫(Sn),セリウム(Ce),イットリウム(Y)又はランタン(La)の酸化物(Ta2O5,Al2O3,SiO2,TiO2,GeO2,Nb2O5,SnO2,CeO2,Y2O3又はLa2O3)、アルミニウム(Al),シリコン(Si)又はゲルマニウム(Ge)の窒化物(AlN,Si3N4又はGeN)、シリコン(Si)の炭化物(SiC)、マグネシウム(Mg)のフッ化物(MgF2)又はこれらの混合物(SiAlON又はLaSiON)からなることから、環境負荷を抑制しつつ、レーザビームの波長が380nm〜450nm、特に約405nmである場合において、良好な光学特性を得ることができ、さらに、追記型光記録媒体に求められる保護特性を満足することが可能となる。
【図面の簡単な説明】
【図1】(a)は、本発明の好ましい実施態様にかかる光記録媒体10の外観を示す切り欠き斜視図であり、(b)は、(a)に示すA部を拡大した部分断面図である。
【図2】(a)は未記録状態である領域を拡大して示す略断面図であり、(b)は記録マーク20が形成された領域を拡大して示す略断面図である。
【図3】光記録媒体10の製造方法を示すフローチャートである。
【図4】複数の情報記録層が積層された構造を有する光記録媒体20の構造を概略的に示す断面図である。
【符号の説明】
10,30 光記録媒体
11,31 支持基体
11a,31a,32a グルーブ
11b,31b,32b ランド
12,41,51 反射層
13,52 第2誘電体層
14,43,53 記録層
15,54 第1誘電体層
16 光透過層
16a,33a 光入射面
20 記録マーク
21,22 反応層
21a 反応層21の表面
40 L0層
42 第4誘電体層
44 第3誘電体層
50 L1層
L レーザビーム
Claims (5)
- 無機材料からなる記録層と、前記記録層に隣接して設けられた誘電体層を少なくとも備え、波長が380nm〜450nmのレーザビームを前記記録層に照射することによってデータの追記が可能な光記録媒体であって、前記誘電体層がTa2O5,Al2O3,SiO2,TiO2,GeO2,Nb2O5,SnO2,CeO2,Y2O3,La2O3,AlN,Si3N4,GeN,SiC,MgF2又はこれらの混合物を含んでいることを特徴とする光記録媒体。
- 前記記録層が少なくとも第1及び第2の反応層からなり、前記第1の反応層に含まれる元素と前記第2の反応層に含まれる元素とをレーザビームの照射によって混合することにより記録可能であることを特徴とする請求項1に記載の光記録媒体。
- 前記第1の反応層の主成分がCu、Al、ZnまたはAgであり、前記第2の反応層の主成分がSi、GeまたはSnであることを特徴とする請求項2に記載の光記録媒体。
- 前記第1の反応層に添加物が加えられていることを特徴とする請求項3に記載の光記録媒体。
- 前記記録層及び前記誘電体層を含む情報記録層が複数積層された構造を有していることを特徴とする請求項1乃至4のいずれか1項に記載の光記録媒体。
Priority Applications (1)
| Application Number | Priority Date | Filing Date | Title |
|---|---|---|---|
| JP2002324649A JP2004158145A (ja) | 2002-11-08 | 2002-11-08 | 光記録媒体 |
Applications Claiming Priority (1)
| Application Number | Priority Date | Filing Date | Title |
|---|---|---|---|
| JP2002324649A JP2004158145A (ja) | 2002-11-08 | 2002-11-08 | 光記録媒体 |
Publications (1)
| Publication Number | Publication Date |
|---|---|
| JP2004158145A true JP2004158145A (ja) | 2004-06-03 |
Family
ID=32804124
Family Applications (1)
| Application Number | Title | Priority Date | Filing Date |
|---|---|---|---|
| JP2002324649A Pending JP2004158145A (ja) | 2002-11-08 | 2002-11-08 | 光記録媒体 |
Country Status (1)
| Country | Link |
|---|---|
| JP (1) | JP2004158145A (ja) |
Cited By (20)
| Publication number | Priority date | Publication date | Assignee | Title |
|---|---|---|---|---|
| WO2006043564A1 (ja) * | 2004-10-18 | 2006-04-27 | Fujifilm Corporation | 光情報記録媒体およびその作製方法 |
| WO2006043625A1 (ja) * | 2004-10-20 | 2006-04-27 | Fujifilm Corporation | 光記録媒体 |
| WO2006090587A1 (ja) * | 2005-02-23 | 2006-08-31 | Pioneer Corporation | 光記録媒体 |
| EP1575043A3 (en) * | 2004-03-10 | 2006-11-02 | Matsushita Electric Industrial Co., Ltd. | Information recording medium and method for manufacturing the same |
| EP1978516A1 (en) | 2005-02-07 | 2008-10-08 | Kabushiki Kaisha Kobe Seiko Sho | Recording film for use in optical information recording medium, optical information recording medium, and sputtering target |
| US7476431B2 (en) | 2005-04-14 | 2009-01-13 | Kobe Steel, Ltd. | Silver alloy reflective films for optical information recording media, silver alloy sputtering targets therefor, and optical information recording media |
| US7517575B2 (en) | 2005-07-22 | 2009-04-14 | Kobe Steel, Ltd. | Optical information recording media and silver alloy reflective films for the same |
| US7651832B2 (en) * | 2004-03-18 | 2010-01-26 | Sharp Kabushiki Kaisha | Optical information recording medium, recording/reproducing method, and recording/reproducing device |
| US7695792B2 (en) | 2005-07-22 | 2010-04-13 | Kobe Steel, Ltd. | Silver alloy reflective films for optical information recording media, silver alloy sputtering targets therefor, and optical information recording media |
| US7713608B2 (en) | 2005-07-22 | 2010-05-11 | Kabushiki Kaisha Kobe Seiko Sho (Kobe Steel, Ltd.) | Silver alloy reflective films for optical information recording media, silver alloy sputtering targets therefor, and optical information recording media |
| US7790263B2 (en) | 2005-12-21 | 2010-09-07 | Sony Corporation | Ag alloy reflective film for optical information recording medium, optical information recording medium and Ag alloy sputtering target for forming Ag alloy reflective film for optical information recording medium |
| WO2010110412A1 (ja) | 2009-03-27 | 2010-09-30 | 日鉱金属株式会社 | Ti-Nb系酸化物焼結体スパッタリングターゲット、Ti-Nb系酸化物薄膜及び同薄膜の製造方法 |
| US7843796B2 (en) | 2006-05-16 | 2010-11-30 | Sony Corporation | Optical information recording medium and method of marking BCA (burst cutting area) into the same |
| US7871686B2 (en) | 2002-08-08 | 2011-01-18 | Kobe Steel, Ltd. | Ag base alloy thin film and sputtering target for forming Ag base alloy thin film |
| US8092889B2 (en) | 2006-08-28 | 2012-01-10 | Kobe Steel, Ltd. | Silver alloy reflective film for optical information storage media, optical information storage medium, and sputtering target for the deposition of silver alloy reflective film for optical information storage media |
| US8152976B2 (en) | 2007-08-29 | 2012-04-10 | Kobelco Research Institute, Inc. | AG-based alloy sputtering target |
| US8309195B2 (en) | 2007-09-19 | 2012-11-13 | Kobe Steel, Ltd. | Read-only optical information recording medium |
| US8431931B2 (en) | 2008-11-10 | 2013-04-30 | Kobe Steel, Ltd. | Reflective anode and wiring film for organic EL display device |
| US8470426B2 (en) | 2008-09-11 | 2013-06-25 | Kobe Steel, Ltd. | Read-only optical information recording medium and sputtering target for depositing reflective film for the optical information recording medium |
| US8530023B2 (en) | 2009-04-14 | 2013-09-10 | Kobe Steel, Ltd. | Optical information recording medium and sputtering target for forming reflective film for optical information recording medium |
-
2002
- 2002-11-08 JP JP2002324649A patent/JP2004158145A/ja active Pending
Cited By (28)
| Publication number | Priority date | Publication date | Assignee | Title |
|---|---|---|---|---|
| US7871686B2 (en) | 2002-08-08 | 2011-01-18 | Kobe Steel, Ltd. | Ag base alloy thin film and sputtering target for forming Ag base alloy thin film |
| US8178174B2 (en) | 2002-08-08 | 2012-05-15 | Kobe Steel, Ltd. | Ag base alloy thin film and sputtering target for forming Ag base alloy thin film |
| US8936856B2 (en) | 2002-08-08 | 2015-01-20 | Kobe Steel, Ltd. | AG base alloy thin film and sputtering target for forming AG base alloy thin film |
| US7407697B2 (en) | 2004-03-10 | 2008-08-05 | Matsushita Electric Industrial Co., Ltd. | Information recording medium and method for manufacturing the same |
| EP1575043A3 (en) * | 2004-03-10 | 2006-11-02 | Matsushita Electric Industrial Co., Ltd. | Information recording medium and method for manufacturing the same |
| US7651832B2 (en) * | 2004-03-18 | 2010-01-26 | Sharp Kabushiki Kaisha | Optical information recording medium, recording/reproducing method, and recording/reproducing device |
| WO2006043564A1 (ja) * | 2004-10-18 | 2006-04-27 | Fujifilm Corporation | 光情報記録媒体およびその作製方法 |
| WO2006043625A1 (ja) * | 2004-10-20 | 2006-04-27 | Fujifilm Corporation | 光記録媒体 |
| EP1978516A1 (en) | 2005-02-07 | 2008-10-08 | Kabushiki Kaisha Kobe Seiko Sho | Recording film for use in optical information recording medium, optical information recording medium, and sputtering target |
| JPWO2006090587A1 (ja) * | 2005-02-23 | 2008-07-24 | パイオニア株式会社 | 光記録媒体 |
| JP4527766B2 (ja) * | 2005-02-23 | 2010-08-18 | パイオニア株式会社 | 光記録媒体 |
| WO2006090587A1 (ja) * | 2005-02-23 | 2006-08-31 | Pioneer Corporation | 光記録媒体 |
| US7803445B2 (en) | 2005-02-23 | 2010-09-28 | Pioneer Corporation | Optical recording medium |
| US7476431B2 (en) | 2005-04-14 | 2009-01-13 | Kobe Steel, Ltd. | Silver alloy reflective films for optical information recording media, silver alloy sputtering targets therefor, and optical information recording media |
| US7754307B2 (en) | 2005-04-14 | 2010-07-13 | Kobe Steel, Ltd. | Silver alloy reflective films for optical information recording media, silver alloy sputtering targets therefor, and optical information recording media |
| US7695792B2 (en) | 2005-07-22 | 2010-04-13 | Kobe Steel, Ltd. | Silver alloy reflective films for optical information recording media, silver alloy sputtering targets therefor, and optical information recording media |
| US7517575B2 (en) | 2005-07-22 | 2009-04-14 | Kobe Steel, Ltd. | Optical information recording media and silver alloy reflective films for the same |
| US7713608B2 (en) | 2005-07-22 | 2010-05-11 | Kabushiki Kaisha Kobe Seiko Sho (Kobe Steel, Ltd.) | Silver alloy reflective films for optical information recording media, silver alloy sputtering targets therefor, and optical information recording media |
| US7790263B2 (en) | 2005-12-21 | 2010-09-07 | Sony Corporation | Ag alloy reflective film for optical information recording medium, optical information recording medium and Ag alloy sputtering target for forming Ag alloy reflective film for optical information recording medium |
| US7843796B2 (en) | 2006-05-16 | 2010-11-30 | Sony Corporation | Optical information recording medium and method of marking BCA (burst cutting area) into the same |
| US8092889B2 (en) | 2006-08-28 | 2012-01-10 | Kobe Steel, Ltd. | Silver alloy reflective film for optical information storage media, optical information storage medium, and sputtering target for the deposition of silver alloy reflective film for optical information storage media |
| US8152976B2 (en) | 2007-08-29 | 2012-04-10 | Kobelco Research Institute, Inc. | AG-based alloy sputtering target |
| US8309195B2 (en) | 2007-09-19 | 2012-11-13 | Kobe Steel, Ltd. | Read-only optical information recording medium |
| US8470426B2 (en) | 2008-09-11 | 2013-06-25 | Kobe Steel, Ltd. | Read-only optical information recording medium and sputtering target for depositing reflective film for the optical information recording medium |
| US8431931B2 (en) | 2008-11-10 | 2013-04-30 | Kobe Steel, Ltd. | Reflective anode and wiring film for organic EL display device |
| US8758497B2 (en) | 2009-03-27 | 2014-06-24 | Jx Nippon Mining & Metals Corporation | Sputtering target of sintered Ti—Nb based oxide, thin film of Ti—Nb based oxide, and method of producing the thin film |
| WO2010110412A1 (ja) | 2009-03-27 | 2010-09-30 | 日鉱金属株式会社 | Ti-Nb系酸化物焼結体スパッタリングターゲット、Ti-Nb系酸化物薄膜及び同薄膜の製造方法 |
| US8530023B2 (en) | 2009-04-14 | 2013-09-10 | Kobe Steel, Ltd. | Optical information recording medium and sputtering target for forming reflective film for optical information recording medium |
Similar Documents
| Publication | Publication Date | Title |
|---|---|---|
| JP4084674B2 (ja) | 光記録媒体 | |
| JP4215497B2 (ja) | 光記録媒体 | |
| JP2004158145A (ja) | 光記録媒体 | |
| JP2004265561A (ja) | 光記録媒体 | |
| JP2004039147A (ja) | 光記録媒体及び光記録方法 | |
| JP4053916B2 (ja) | 光記録媒体及び光記録媒体用スパッタリングターゲット | |
| JP2004284241A (ja) | 光記録媒体及び光記録媒体用スパッタリングターゲット | |
| JP2004291599A (ja) | 光記録媒体 | |
| JP4282285B2 (ja) | 光記録媒体及び光記録方法 | |
| JP2004273067A (ja) | 光記録媒体 | |
| KR100731472B1 (ko) | 광기록재생방법과 광기록매체 | |
| KR20030094048A (ko) | 광기록재생방법과 광기록매체 | |
| KR100678301B1 (ko) | 광기록재생방법과 광기록매체 | |
| JP4105530B2 (ja) | 光記録媒体 | |
| JP2002074742A (ja) | 情報記録媒体 | |
| KR100678300B1 (ko) | 광기록재생방법과 광기록매체 | |
| JP4251142B2 (ja) | 追記型光記録媒体 | |
| JP5298623B2 (ja) | 追記型光記録媒体 | |
| JP4403414B2 (ja) | 追記型光記録媒体 | |
| JP4105589B2 (ja) | 光記録媒体および光記録方法 | |
| JP4084695B2 (ja) | 光記録媒体および光記録方法 | |
| JP2008186588A (ja) | 光記録媒体 | |
| JP4319456B2 (ja) | 光記録媒体および光記録方法 | |
| JP2004241103A (ja) | 光記録媒体およびその製造方法 | |
| JP4229055B2 (ja) | 光記録媒体 |
Legal Events
| Date | Code | Title | Description |
|---|---|---|---|
| A621 | Written request for application examination |
Free format text: JAPANESE INTERMEDIATE CODE: A621 Effective date: 20051017 |
|
| A977 | Report on retrieval |
Free format text: JAPANESE INTERMEDIATE CODE: A971007 Effective date: 20070910 |
|
| A131 | Notification of reasons for refusal |
Free format text: JAPANESE INTERMEDIATE CODE: A131 Effective date: 20080507 |
|
| A521 | Request for written amendment filed |
Free format text: JAPANESE INTERMEDIATE CODE: A523 Effective date: 20080613 |
|
| A521 | Request for written amendment filed |
Free format text: JAPANESE INTERMEDIATE CODE: A523 Effective date: 20080618 |
|
| A02 | Decision of refusal |
Free format text: JAPANESE INTERMEDIATE CODE: A02 Effective date: 20080916 |
