EP4138104B1 - Sicherheitssystem - Google Patents

Sicherheitssystem Download PDF

Info

Publication number
EP4138104B1
EP4138104B1 EP22201455.7A EP22201455A EP4138104B1 EP 4138104 B1 EP4138104 B1 EP 4138104B1 EP 22201455 A EP22201455 A EP 22201455A EP 4138104 B1 EP4138104 B1 EP 4138104B1
Authority
EP
European Patent Office
Prior art keywords
door
emergency button
locking
control device
actuation
Prior art date
Legal status (The legal status is an assumption and is not a legal conclusion. Google has not performed a legal analysis and makes no representation as to the accuracy of the status listed.)
Active
Application number
EP22201455.7A
Other languages
English (en)
French (fr)
Other versions
EP4138104A1 (de
Inventor
Bernd Gehrmann
Kai Kapanski
Current Assignee (The listed assignees may be inaccurate. Google has not performed a legal analysis and makes no representation or warranty as to the accuracy of the list.)
Dormakaba Deutschland GmbH
Original Assignee
Dormakaba Deutschland GmbH
Priority date (The priority date is an assumption and is not a legal conclusion. Google has not performed a legal analysis and makes no representation as to the accuracy of the date listed.)
Filing date
Publication date
Family has litigation
First worldwide family litigation filed litigation Critical https://patents.darts-ip.com/?family=59276617&utm_source=google_patent&utm_medium=platform_link&utm_campaign=public_patent_search&patent=EP4138104(B1) "Global patent litigation dataset” by Darts-ip is licensed under a Creative Commons Attribution 4.0 International License.
Application filed by Dormakaba Deutschland GmbH filed Critical Dormakaba Deutschland GmbH
Publication of EP4138104A1 publication Critical patent/EP4138104A1/de
Application granted granted Critical
Publication of EP4138104B1 publication Critical patent/EP4138104B1/de
Active legal-status Critical Current
Anticipated expiration legal-status Critical

Links

Images

Classifications

    • HELECTRICITY
    • H01ELECTRIC ELEMENTS
    • H01HELECTRIC SWITCHES; RELAYS; SELECTORS; EMERGENCY PROTECTIVE DEVICES
    • H01H3/00Mechanisms for operating contacts
    • H01H3/02Operating parts, i.e. for operating driving mechanism by a mechanical force external to the switch
    • H01H3/022Emergency operating parts, e.g. for stop-switch in dangerous conditions
    • EFIXED CONSTRUCTIONS
    • E05LOCKS; KEYS; WINDOW OR DOOR FITTINGS; SAFES
    • E05BLOCKS; ACCESSORIES THEREFOR; HANDCUFFS
    • E05B65/00Locks or fastenings for special use
    • E05B65/10Locks or fastenings for special use for panic or emergency doors
    • E05B65/108Electronically controlled emergency exits

Definitions

  • the invention relates to a security system for controlling and/or monitoring door locks for escape route security.
  • the security system comprises door lock controls, wherein a door lock control serves to control a locking mechanism assigned to the door lock control.
  • the security system comprises trigger elements, in particular emergency buttons, wherein actuation of a trigger element can trigger the activation of at least one locking mechanism, according to the preamble of patent claim 1.
  • the document DE19937034 A1 relates to an electrically switchable locking device for escape and rescue route systems comprising a plurality of door openers and a plurality of actuating buttons, all of which are connected to a bus system, each door opener comprising a locking device and a microprocessor control, the assignment of door openers and actuating buttons to one another being freely programmable and subsequent modification of the individual assignments being possible via programming of the door openers and actuating buttons concerned.
  • the previously derived and demonstrated task is solved on the basis of the security system described at the beginning in that a number of door locking controls and a number of triggering elements are connected to one another via a common bus system and the number of door locking controls the number of trigger elements are assigned in such a way that when one of the trigger elements is actuated, only the at least one door locking control which is assigned to the actuated Trigger element is assigned, controls the respective locking mechanism for unlocking.
  • the safety system includes the shared bus system.
  • the shared bus system is referred to below as the first bus system.
  • a connection to a bus system is understood below as a direct connection, so that a component connected to the bus system is considered a bus device of the bus system with its own bus address.
  • the security system comprises a plurality of trigger elements and a plurality of door locking controllers.
  • a first number m of trigger elements and a second number m' of door locking controllers are connected to the first bus system.
  • m and m' correspond to a natural number of at least two, preferably at least three, particularly preferably at least four.
  • Locking is the transfer of a door lock or locking mechanism into a locked state.
  • Unlocking is the transfer of a door lock or locking mechanism into an unlocked state.
  • the electromechanical locking mechanism may comprise a locking element, ie a bolt or a door latch, which is in a retracted position in the unlocked state of the door lock. In the retracted In this position, the locking element is disengaged from the door. In the locked state, the locking element is engaged with the door.
  • the locking mechanism is constructed like a door opener. This means that the locking mechanism comprises a latch element. In the locked state of the door lock, a door latch of the door is engaged with the locking mechanism. In the unlocked state, the latch element releases the door latch in such a way that the door latch can be disengaged from the locking mechanism, in particular by pressure on the door.
  • a “locking or unlocking command” also occurs when the safety system receives feedback about the state of the locking mechanism.
  • a “locking or unlocking command” also occurs when, as detected by the feedback, the locking mechanism does not correspond to the desired state, and therefore an alarm is issued and/or a new attempt is made to achieve the desired state.
  • At least one of the door locking or locking mechanisms may be integrated into a mechanical lock.
  • the number of door locking controls and the number of trigger elements are assigned to each other. Therefore, it can be stated that the door locking controls are assigned to the trigger elements, or that the trigger elements are assigned to the door locking controls.
  • the door locking controls belonging to the number of door locking controls each contain information about which at least one triggering element the respective door locking control is assigned to. This makes it possible for the door locking control to decide whether the triggering element, the door lock is intended to trigger the locking mechanism to unlock, is actually assigned to the trigger element.
  • the trigger elements comprise a bus address.
  • Each trigger element comprises at least one bus address.
  • the bus address of the trigger element can be stored for assignment in the at least one door locking controller assigned to the trigger element. This enables secure assignment.
  • the bus address is stored in the respective trigger element in a non-changeable manner. This means that a user or operator cannot change the bus address. Thus, the bus address cannot be changed by a parameterization program or by a setting option of the trigger element.
  • all of the door locking controls of the number of door locking controls are notified of the actuation by the trigger element as a result of the actuation of the trigger element.
  • the assignment of the door locking controls to the trigger elements can be performed through a conscious action by an operator.
  • the assignment of the door locking controls to the trigger elements can be performed via the first bus system.
  • the first bus system can be involved in the assignment of the door locking controls to the trigger elements.
  • a trigger element can send the bus address of the trigger element via the first bus system.
  • the assignment of the door locking controls to the trigger elements is set directly on the trigger elements and/or on the door locking controls. This allows, for example, the assignment to be performed only if the operator at least sees the trigger element and/or the door locking controls assigned to the trigger element, in particular physically contacts and/or manually operates them.
  • a deliberate action performed on the trigger element to be assigned can assign the door locking control in the assignment mode to the trigger element on which the action is performed.
  • the deliberate action to be performed on the trigger element can comprise actuating the trigger element.
  • the deliberate action to be performed on the trigger element can correspond to actuating the trigger element. This can achieve a particularly secure assignment.
  • both the first processing means and the second processing means store the respective door locking control associated with at least one trigger element. This achieves redundancy.
  • the triggering element in particular the emergency button, can comprise an electronic unit.
  • the electronic unit can comprise a first and a second digital triggering element processing unit, in particular a first and a second emergency button processing unit.
  • the first and/or the second triggering element processing unit in particular the first and/or the second emergency button processing unit, can each comprise a processor.
  • the first and/or the second triggering element processing unit in particular the first and/or the second emergency button processing unit, can be designed as a microprocessor or microcontroller.
  • the first and the second triggering element processing unit can each comprise a non-volatile memory.
  • the electronics unit may include a third digital trigger element processing unit.
  • the first and second trigger element processing units can each independently detect an actuation signal.
  • the first trigger element processing unit detects a first actuation signal and the second trigger element processing unit detects a second actuation signal.
  • the first and second trigger element processing units can then each independently trigger the activation of the locking mechanism for unlocking via the first bus system.
  • at least one message in which the first and/or second trigger element processing units inform about the presence of the first or second actuation signal is sent to the door locking control via the first bus system.
  • the first trigger element processing unit informs the first processing means and the second trigger element processing unit informs the second processing means.
  • both the first and second processing means activate the locking mechanism for unlocking, i.e., switch off the electrical power supply.
  • the first and second trigger element processing units can, for example, monitor each other. If an error is detected, the electronic unit, in particular the intact trigger element processing unit, causes the first and second processing means to trigger the locking mechanism for unlocking.
  • the first and second processing means can monitor each other. If an error is detected, the locking mechanism is triggered to unlock at least by the intact processing means.
  • a life sign signal from the first and second trigger element processing units is preferably sent regularly to the door locking control.
  • the first and second trigger element processing units each emit their own life sign signal.
  • the life sign signals can be contained in a message.
  • the first processing means checks the life sign of the first trigger element processing unit, and the second processing means checks the life sign of the second trigger element processing unit. If one of the life sign signals is absent once or more than once, the first and second processing means control the locking mechanism to unlock it.
  • One processing means can inform the other processing means about the absence of the life sign.
  • the first and second processing means communicate with each other when the door locking control system has received a message about the actuation of the trigger element and/or the presence of a fire alarm signal. If only the first processing means or the second processing means determines that the trigger element has been actuated or that a fire alarm signal is present, the determining processing means controls the locking mechanism to unlock and/or causes the other processing means to also control the locking mechanism to unlock.
  • the first trigger element processing unit always sends the safety-relevant message, e.g., the message about the presence of an actuation signal, the life signal, to the door locking controller.
  • the message includes the information from the first and second trigger element processing units.
  • At least one of the trigger elements connected to the first bus system can also perform at least one further function.
  • the trigger element can be connectable to a fire alarm system.
  • the trigger element can receive a fire alarm signal.
  • the trigger element can trigger at least one locking mechanism to unlock (function b).
  • the trigger element sends a message about the presence of the fire alarm signal to the door locking controller, whereupon the door locking controller triggers the locking mechanism to unlock.
  • the trigger element sends such a message to all door locking controllers connected to the first bus system.
  • only the at least one door locking controller associated with the trigger element that sent the message then triggers the respective locking mechanism to unlock.
  • the trigger element can delay the activation of the locking mechanism for unlocking following actuation of the trigger element (function c).
  • the trigger element causes the locking mechanism to be activated for unlocking with a time delay.
  • the trigger element can send a message regarding the actuation to the door locking controller(s) with a time delay. The message can be sent to all door locking controllers of the first bus system, as previously described, or to the at least one associated door locking control is sent.
  • the trigger element may comprise a timer.
  • the trigger element can delay the activation of the locking mechanism by a first delay period. Within the first delay period, the trigger element may receive a message to delay the activation of the locking mechanism by a second delay period. The trigger element may use the timer to determine the first delay period and/or the second delay period. Upon completion of the first or second time delay period, the trigger element can trigger the activation of the locking mechanism to unlock. Of course, only those locking mechanisms whose door locking controls are assigned to the trigger element are activated.
  • the security system may include a central escape route control.
  • the central escape route control is intended to be located away from the triggering element and/or the door lock.
  • the central escape route control is intended to be located in a guard room.
  • the guard room may also contain a guard device, e.g., a monitor or a personal computer for monitoring.
  • the central escape route control is connected to a second bus system. Devices in the first bus system and the central escape route control can communicate with each other via the first and second bus systems.
  • the extension of the time delay by the second extension period can be initiated by the central escape route control system.
  • the central escape route control system can include a delay element.
  • the trigger element can receive a message to delay the activation of the locking mechanism by a second delay period.
  • the trigger element then ends the first delay period and starts the second delay period.
  • the trigger element can be transferred from an activated state to a deactivated state.
  • actuation of the trigger element prevents the locking mechanism from being activated for unlocking.
  • actuation of the trigger element prevents the locking mechanism from being activated for unlocking as a result of actuation of the trigger element (function d).
  • the trigger element triggers the activation of the locking mechanism for unlocking. This applies in particular to the door locking controls assigned to the trigger element.
  • the deactivation of the trigger element can be initiated by the central escape route control.
  • the central escape route control can comprise a first operating element. As a result of operation of the first operating element, at least one trigger element of the first bus system can be transferred to the deactivated state.
  • the trigger element can activate an audio and/or video module or initiate such activation (function f.).
  • the audio and/or video module transmits an audio and/or video recording to the guard device. In the event of danger, this allows the operator in the guard room and the on-site user attempting to escape to communicate acoustically, and/or the operator in the guard room can view the location in front of the door where the trigger element was activated.
  • the trigger element activates the audio and/or video module upon activation of the trigger element. Activation can occur at least in the deactivated state. Preferably, activation always occurs upon activation of the trigger element.
  • a locking mechanism of the door lock can be activated to lock without the presence of a cancellation condition (function e.).
  • a cancellation condition function e.
  • the door lock control in particular, can electronically prevent the door lock from relocking. If the cancellation condition is met, the door lock control at least allows relocking. In particular, the door lock control activates the locking mechanism immediately after the cancellation condition is met.
  • a cancellation action can be performed on the trigger element.
  • the cancellation action which is performed directly on the trigger element, can be generated by actuating an actuating element of the trigger element.
  • the cancellation action on the trigger element corresponds to the actuation of the actuating element to release the escape route.
  • a cancellation signal generated in this way can therefore correspond to the actuation signal.
  • the door locking control In order for the door locking control to recognize that the actuation of the actuating element is being performed to achieve the cancellation condition and not to generate the actuation signal to release the escape route, the door locking control must have additional information. For example, it may be necessary for an operator to authenticate themselves.
  • An authentication device that is connected or connectable to the trigger element can be used for this purpose. This can be the authentication.
  • the trigger element can receive a positive identification signal.
  • a predetermined time sequence and/or order for the generation of the cancellation signal and the authentication, in particular the reception of the positive identification signal may be required.
  • the cancellation signal and the authentication must be present, at least partially, simultaneously.
  • the security system has at least one further possibility to achieve the cancellation condition.
  • the expiration of a predetermined period of time and, in the absence of a signal, opening the door within the predetermined period can contribute to or be sufficient for achieving the cancellation condition.
  • receipt of a cancellation signal from the central escape route control system can contribute to achieving the cancellation condition. It may also be necessary for one of the possibilities for achieving the cancellation condition without a cancellation action on the trigger element to be stored as permissible.
  • the at least one door locking control associated with the actuated trigger element electronically prevents the corresponding locking mechanism from being activated for locking until the cancellation condition is met.
  • the door locking controls of the first bus system not associated with the actuated trigger element remain lockable.
  • the central escape route control may include a central emergency button. If the central emergency button is actuated, at least one locking mechanism can be activated to unlock as a result of the actuation.
  • the process of actuating the locking mechanism to unlock as a result of the actuation of the central emergency button is preferably single-fault safe and is therefore suitable for use in the event of danger.
  • a message regarding the actuation of the central emergency button is sent to at least one door locking controller of the security system, preferably several door locking controllers of the security system, particularly preferably all door locking controllers of the security system. As a result, at least some of the notified door locking controllers may activate the respective locking mechanism to unlock.
  • the security system can be stored in the security system, preferably in the door locking controls of the security system, whether unlocking is permitted as a result of pressing the central emergency button.
  • an operator can perform this setting.
  • the operator can, for example, use a parameterization program to set which door lock should be unlocked as a result of pressing the central emergency button.
  • the security system in particular the triggering element, can comprise a display device for visually displaying a locking state of the door lock.
  • a locking state is understood to be the locked and/or unlocked state of the door lock.
  • the security system in particular the triggering element, can visually indicate if relocking fails, in particular if the door remains open, which can be detected via the at least one door status monitoring device.
  • Fire doors should always be closed after each access. For example, if the door lock has been released due to a positive authentication signal and the door has been opened but not automatically relocked after the predetermined time, this fact can be visually indicated. It can also be visually indicated if a preset opening time has been exceeded.
  • the door status monitoring device can detect the opening time. An operator can select the opening time. The operator can store the opening time using the parameterization program.
  • the trigger element can comprise illuminants as an indicator, as an indicator device, as a display for the visual representation of an alarm state and/or for the visual representation of failed relocking.
  • the illuminants preferably serve both as an indicator, as an indicator device, as a display for the visual representation of an alarm state and for the visual representation of failed relocking.
  • the illuminants can be controlled in at least two groups. In particular, the illuminants can be controlled at least partially individually.
  • each triggering element comprises the acoustic alarm device and/or the display device, the display apparatus, the display and/or the lighting means.
  • the security system may comprise at least one control device.
  • control device is connected to the first and second bus systems.
  • participants of the first bus system can be connected to the central escape route control system via the control device.
  • the control device can control the display device, in particular the lighting means, for the optical representation of the locking state and/or initiate such control (function p.).
  • the control device can control the display, in particular the lighting means for the optical representation of an alarm condition and/or the acoustic alarm device for issuing an acoustic alarm, or can initiate such control (function o. and/or function r.).
  • the control device can issue a visual or audible alarm if relocking fails, particularly if the door remains open (see function).
  • the control device can activate or have activated the acoustic alarm device to trigger an alarm, depending on a signal from the door status monitoring device regarding the door opening, particularly when there is no authorization to access the door.
  • a door may be unlocked for at least a certain time window. If the door is opened within this time window, an acoustic alarm is triggered. The acoustic alarm can be triggered within the time window or only if there is no authorization to access the door.
  • parameters can be stored in the control device.
  • the control device has, in particular, a non-volatile memory.
  • the parameters can be set by an operator via the parameterization program.
  • the control device can be used to store parameters.
  • Logical links relating to the functions of the control device can be stored in the control device.
  • the control device is in particular connected to the first bus system.
  • the control device can be integrated into one of the triggering elements.
  • the at least one further triggering element, which is connected to the first bus system, is preferably designed without the control device.
  • the control device can control the display device, the display element, the display, the lighting means, and/or the acoustic alarm device of the triggering element, which comprises the control device.
  • the at least one further triggering element can be caused by the control device to control the display device, the display element, the display, the lighting means, and/or the acoustic alarm device of the at least one further triggering element.
  • control device can be integrated into one of the door locking controllers.
  • the at least one further door locking controller connected to the first bus system is preferably designed without the control device.
  • control device is neither integrated into any of the triggering elements connected to the first bus system nor into any of the door locking controls connected to the first bus system. Rather, the control device can be integrated with all triggering elements that connected to the first bus system, and connected to all door locking controllers connected to the first bus system via the first bus system. This allows the control device to be arranged remotely from the door, for example, in a utility room.
  • the control device can comprise the DIN rail housing.
  • the control device may have knowledge of the state of the door locks connected to the first bus system and/or the state of the trigger elements connected to the first bus system.
  • the control device may have knowledge of communication between the door lock controllers and the trigger elements via the first bus system.
  • the control device has knowledge of the state of all door locks connected to the first bus system and/or knowledge of the state of all trigger elements connected to the first bus system.
  • the control device may have knowledge of communications between the door lock controllers and the trigger elements connected to the first bus system.
  • the control device can cause the change in the locking state to be visually displayed on the at least one trigger element associated with the detecting door locking controller.
  • the trigger elements not associated with the detecting door locking controller are not triggered to do so.
  • the control device preferably causes an alarm condition to be visually and/or acoustically displayed only in those trigger elements that are assigned to the door locking control associated with the activated trigger element. If the control device is integrated into one of the affected trigger elements, the control device activates the display and/or the acoustic alarm device for this purpose.
  • the control device preferably causes an alarm condition to be visually and/or acoustically indicated only in those trigger elements that are assigned to the door locking control associated with the trigger element receiving the fire alarm signal. If the control device is integrated into one of the affected trigger elements, the control device controls the display and/or the acoustic alarm device for this purpose.
  • the control device can also selectively initiate non-safety-relevant activations for unlocking or locking.
  • control device can trigger the locking mechanism to unlock upon receipt of a positive authentication signal or initiate such a triggering (function h.).
  • control device can be connected or connectable to an access control system. If, for example, the control device receives a positive authentication signal from an access control system, the control device only triggers the unlocking of the door lock associated with the access control system.
  • the control device can activate the locking mechanism for automatic relocking after a predetermined period of time has elapsed or initiate such activation (function k.). If a predetermined time period of a first length has been stored by the operator for a door lock of the first bus system and a predetermined time period of a second length, which differs from the first length, has been stored for another door lock of the first bus system, the control device initiates automatic relocking for the one door lock after the first length of the predetermined time period and relocking for the other door lock after the second length of the predetermined time period.
  • control device immediately activates the locking mechanism for automatic relocking after receiving a signal indicating that the door is closed, or initiates such activation (function I). If automatic relocking immediately after closing the door has been stored as permitted for one door lock and not for a subsequent door lock, the control device initiates automatic relocking immediately after closing the door only for the first door lock.
  • each of the multiple bus systems can have exactly one control device.
  • the safety system may have at least one input device.
  • the components connected to the first bus system may each comprise an input device.
  • the input device may include switches, particularly DIP switches.
  • switches particularly DIP switches.
  • the components connected to the first bus system are referred to as bus devices.
  • bus participants of the first bus system each have a bus address that can be manually set on the input device.
  • Bus participants with the same manual setting can be assigned to one another. It is possible for the respective bus participant to modify the setting in such a way that, despite several bus participants having the same setting, a different bus address is generated.
  • the manually settable bus address is intended in particular for non-safety-relevant functions.
  • Each bus participant can have the manually settable bus address as a second bus address in addition to the unchangeable bus address for the safety-relevant functions.
  • control device is connected to a control center, in particular a central escape route control and/or security device, via a second bus system, wherein, in particular, information on the number of door locking controls or the number of triggering elements can be transmitted to the control center via the control device.
  • a control center in particular a central escape route control and/or security device
  • second bus system wherein, in particular, information on the number of door locking controls or the number of triggering elements can be transmitted to the control center via the control device.
  • operation of the emergency button is understood to mean “operation of the actuating element of the emergency button”.
  • connection to a bus system is understood to mean a direct connection, so that a component connected to the bus system is to be regarded as a participant in the bus system with its own bus address.
  • a safety system is shown in each case.
  • only one emergency button 10 and one door lock 200 are shown in the figures, the principles shown there, in particular with regard to the structure and function of the emergency button 10, the control device 100 and the central escape route control 300, also apply to the safety systems according to the invention with several emergency buttons 10, 10', 1010, 1010', 2010, 3010 and several door locks 200, 200', 1200, 1200', 2200, 3200 as in the Figures 4 to 6 and 10
  • An audio and video module 510 can also be integrated into the security systems 1 according to the invention.
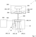
  • FIG. 1 and 2 A first embodiment of a security system 1 for a door 2 is shown.
  • the door 2 is not part of the security system 1.
  • the security system 1 comprises a door lock 200 and an emergency button 10.
  • the emergency button 10 comprises a control device 100.
  • a key switch 500 is assigned to the emergency button 10.
  • the security system 1 can comprise the key switch 500.
  • the security system 1, in particular the emergency button 10 can have a key switch input via which a connection to the key switch 500 can be established.
  • the emergency button 10 and the door lock 200 are connected to one another via a first bus system 400.
  • the key switch 500 is electrically connected or connectable to the emergency button 10 via a connection 402.
  • the connection 402 is shown as a dashed arrow to indicate that signals about a position of a key inserted into the key switch 500 are fed to an electronic unit 24 of the emergency button 10.
  • the key switch 500 can also be connected to the first bus system 400 (not shown). This alternative applies to all embodiments.
  • the emergency button 10 is configured to send a message to the door lock 200 via the first bus system 400 following actuation of the emergency button 10, thereby causing the door lock to be unlocked.
  • the message following actuation of the emergency button 10 can be delayed.
  • the control device 100 performs non-security-relevant functions: For example, the control device 100 can initiate unlocking of the door lock 200 for authorized persons.
  • the control device 100 can be connectable to an access control system (not shown).
  • the access control system can in particular be connected or connectable to the first bus system 400.
  • the control device 100 receives a positive authentication signal from the access control system, in particular via the bus system 400, confirming that authentication has been completed.
  • the control device 100 then initiates unlocking of the door lock 200.
  • the access control system can, for example, comprise or be designed to comprise a reader, a key switch, a keypad for entering a code, or a locking cylinder of a mechanical lock, in particular a self-locking panic lock.
  • control device 100 can automatically trigger an unlocking of the door lock 200 at a predetermined time or after a predetermined period of time, e.g., if the door is to be unlocked in a time window per day.
  • the control device 100 can automatically initiate relocking after a predetermined period of time.
  • the control device 100 can receive an access signal from the access control system in addition to the positive authentication signal and/or measure the length of the positive Measure the authentication signal. Using the access signal or the length of the authentication signal, the control device 100 can adjust the length of the predetermined time period. For example, a person can hold an ID card in front of the reader for a long time or turn the key for a long time. This signals that the predetermined time period should correspond to a long time period previously stored in the control device 100. If the person holds the ID card in front of the reader for a short time or the user briefly turns the key, it signals that the predetermined time period should correspond to a short time period previously stored in the control device 100.
  • a first door status monitoring device 204 and a second door status monitoring device 206 detect whether the door 2 is open or closed.
  • the control device 100 at least indirectly receives a signal from the door status monitoring devices 204, 206. If the door lock 200 has been unlocked due to a positive authentication signal, the control device 100 can immediately and automatically relock the door lock 200 as soon as the control device 100 receives the information, with the aid of the door status monitoring devices 204, 206, that the door was initially open and is now closed again.
  • the control device 100 controls the acoustic alarm device 23 to emit an acoustic alarm when a dangerous situation occurs, i.e., when a fire alarm signal is received or the emergency button 10 is pressed.
  • the control device 100 controls the acoustic alarm device 23 to emit an acoustic alarm when relocking fails.
  • the control device 100 controls the lighting means 41 to display the locking or unlocking state of the door lock 200, to visually display a time-delayed unlocking and/or to emit a visual alarm when a fire alarm signal is received or the emergency button 10 is actuated or when relocking fails.
  • the control device 100 can monitor the opening of the door using the door status monitoring devices 204, 206 when the door lock 200 is in the unlocked state. If desired, the control device 100 can issue an audible alarm if the door 2 has been opened while the door lock 200 is in the unlocked state, at least if no positive authentication signal is present. This allows monitoring to be performed when someone opens the door, even when the door is unlocked.
  • the emergency button 10 can include at least one additional output.
  • the control device 100 can use the output to control additional components that can be connected to the security system 1, e.g., a room light.
  • the parameters for executing the aforementioned functions of the control device 100 are stored in the control device 100.
  • the specified time(s), the predetermined time period(s), parameters for the acoustic alarms, e.g., the volume and frequency at which an acoustic alarm should be issued, and parameters for the various controls of the lighting devices 41 for visually displaying the various, aforementioned states of the security system 1 are stored in the control device 100.
  • the parameters for the lighting devices can include flashing frequencies, colors to be emitted, color intensities, and/or lighting patterns.
  • the control device 100 can communicate with a mobile communication device via a radio module 64.
  • the parameterization can be carried out with the aid of a monitoring device 301 via a second bus system 401 (see Figures 9 and 10 ).
  • a parameterization program is provided for parameterization, which can be executed on a communication device, e.g., a personal computer, a mobile phone, and/or a tablet. The operator can set the parameters using the parameterization program.
  • the electronic unit 24 also serves as a control device 100.
  • the first emergency button processing unit 20 serves as the first processing unit 103 of the Control device 100.
  • the second emergency button processing unit 21 serves as the second processing unit 104 of the control device 100.
  • the third emergency button processing unit 22 serves as the third processing unit 105 of the control device 100.
  • the first and second emergency button processing units 20, 21 are used to execute the safety-relevant functions of the emergency button.
  • the third emergency button processing unit 22 or processing unit 105 is used to execute the non-safety-relevant functions.
  • the safety-relevant functions include initiating unlocking in the event of danger.
  • the non-safety-relevant functions include the other functions listed above.
  • an actuating element 11 When the emergency button 10 is actuated, an actuating element 11 is moved from an initial position 11.I to an actuating position 11.II, whereby a switch 63 is actuated (see also Figures 12 , 13 ). This generates a first and a second actuation signal. This opens a first and a second electrical circuit (not shown). A signal about the opening of the first circuit is detected by the first emergency button processing unit 20. A signal about the opening of the second circuit is detected by the second emergency button processing unit 21.
  • the actuation signal is understood to be the signal generated by the user by actuating the actuating element in order to unlock the door lock and open the escape route.
  • the first emergency button processing unit 20 and the second emergency button processing unit 21 each independently trigger an unlocking of the door lock 200 after detecting the actuation signal via the first bus system 400.
  • the second emergency button processing unit 21 thus acts redundantly to the first emergency button processing unit 20.
  • the door lock 200 comprises a door lock control 201.
  • the door lock control 201 comprises a first processing means 202 and a second processing means 203.
  • the first and second processing means 202, 203 are collectively referred to as electronic device 207.
  • the first and second processing means 202, 203 are each designed as a microprocessor or microcontroller.
  • the first and second processing means 202, 203 can each control a locking mechanism 205 of the door lock 200 for unlocking.
  • both the first processing means 202 and the second processing means 203 control the locking mechanism 205 for unlocking.
  • the second processing means 203 is thus redundant to the first processing means 202. This design achieves single-fault protection.
  • the locking mechanism 205 is electromechanically designed.
  • the locking mechanism 205 comprises, for example, an electromechanically actuated latch element (not shown) that locks a door latch of the door 2 when the door lock 200 is locked and releases it when the door lock 200 is unlocked.
  • the first and second processing means 202, 203 switch on an electrical current for the locking mechanism 205.
  • the first and second processing means 202, 203 switch off an electrical current for the locking mechanism 205.
  • Each processing means 202, 203 is assigned a separate switch for this purpose. Opening only one of the switches results in the power to the locking mechanism 205 being switched off.
  • the door lock controller 201 receives feedback on the state of the locking mechanism 205 via a locking mechanism state monitoring device (not shown). In particular, the position of an armature of a coil of the locking mechanism 205 is monitored. If the state of the door lock 205 does not correspond to the desired state, an alarm is issued. Additionally or alternatively, a further attempt to achieve the desired state can be made in this case.
  • the first and second emergency button processing units 20, 21 communicate with the first and second processing means 202, 203 via the first bus system 400 using a message.
  • the message can contain the notification of actuation or a control command for unlocking.
  • the first emergency button processing unit 20 informs the first processing means 202
  • the second emergency button processing unit 21 informs the second processing means 203.
  • the first and second emergency button processing units 20, 21 cause both the first and second processing means 202, 203 to actuate the locking mechanism 205 for unlocking, i.e., to switch off the electrical current.
  • the presence of a fire alarm signal is detected by the first and second emergency button processing units 20, 21.
  • the first and second emergency button processing units 20, 21 then initiate a fire alarm by sending a message to the first and second Processing means 202, 203 that the locking mechanism 205 is being controlled for unlocking by the door locking control 201.
  • the first emergency button processing unit 20 informs the first processing means 202
  • the second emergency button processing unit 21 informs the second processing means 203.
  • the first and second emergency button processing units 20, 21 cause both the first and second processing means 202, 203 to control the locking mechanism 205 for unlocking, i.e., to switch off the electrical power.
  • the actuation of the emergency button 10 or the presence of a fire alarm signal can be sent in a message from one of the two emergency button processing units 20, 21, with the first emergency button processing unit 20 writing a first part of the message and the second emergency button processing unit 21 writing a second part of the message.
  • the first and second processing means 202, 203 are each responsible for at least one part of the message.
  • the emergency button processing units 20, 21, 22 and the first and second processing means 202, 203 can each receive messages via the first bus system 400.
  • the electronics unit 24 and the door locking controller 201 can each be assigned a bus address.
  • the locking mechanism 205 is activated by the first and second processing means 202, 203 to unlock.
  • the first and second processing means 202, 203 communicate with each other when the door locking controller 201 has received a message about the actuation of the emergency button 10 and/or the presence of a fire alarm signal. If only the first processing means 202 or the second processing means 203 determines that the emergency button 10 has been activated or that a fire alarm signal is present, the determining processing means 202, 203 activates the door locking mechanism 205 for unlocking and initiates that the other processing means 202, 203 also Door locking mechanism 205 is activated for unlocking. An error and a malfunction always include a failure of the respective component. In the event of a power failure, locking mechanism 205 automatically enters the unlocked state. During the processes described in this section, security system 1 also issues an acoustic and/or visual alarm, particularly via control device 100.
  • the door lock 200 is electronically prevented from being transferred to the locked state without the presence of a cancellation condition. This prevents the door from being locked while a dangerous condition persists.
  • an electronic locking device is integrated into the electronic device 207. The electronic locking device is transferred to an actuation state as a result of the actuation of the actuation element 11, which serves to release the escape route. In the actuation state, the activation of the door lock 200 for locking is prevented.
  • the electronic hold-open device comprises a first program code.
  • the first program code comprises a first variable or has access to a first variable.
  • the first variable is set to an initial value.
  • the actuation state the first variable is set to an actuation value that prevents the door lock 200 from being activated to lock.
  • the first variable can be binary. If the cancellation condition is met, the electronic hold-open device is returned to an initial state. For this purpose, the value of the first variable is set to the initial value. In the initial state of the electronic hold-open device, activation of the door lock 200 to lock is permitted.
  • the first program code detects the first value of the first variable and allows the door lock 200 to be locked if the value of the first variable corresponds to the initial value, and prevents the door lock 200 from being locked if the value of the first variable corresponds to the actuation value.
  • the electronic determination is stored both in the first processing means 202 and redundantly in the second processing means 203.
  • the first program code is stored in the first processing means 202.
  • the first variable is stored in the non-volatile memory of the first processing means 202.
  • a second program code with the same functionality as the first program code is stored in the second processing means 203.
  • the first variable is stored redundantly in the non-volatile memory of the second processing means 203.
  • the first variable is additionally stored in the non-volatile memories of the first emergency button processing unit 20 and the second emergency button processing unit 21, respectively. Following the actuation of the emergency button 10, the first variable in the first and second emergency button processing units 20, 21 is converted from the initial value to the actuation value. The changed value of the first variable is transmitted to the electronic device 207 via the bus system 400. Until a cancellation condition is met, the emergency button 10 repeatedly transmits the actuation value of the first variable to the electronic device 207. The transmission can occur at regular intervals, in particular together with the life-sign signal.
  • the override action on the emergency button 10 is performed by actuating the actuating element 11. This generates a override signal that corresponds to the actuation signal.
  • another signal must be generated simultaneously to achieve the override condition.
  • an operator authenticates himself. Authentication is performed by inserting and turning a key in the key switch 500. The actuation of the actuating element 11 and the authentication must overlap in time. This means that the operator must hold the key in the turned state while the actuating element 11 is in the actuation position 11.II. The actuating element 11 must return to the starting position 11.I while the key is in the turned state. The sequence of actions is sufficient to achieve the cancellation condition.
  • the first and second door condition monitoring devices 204, 206 are provided to detect with single-fault reliability that the door 2 has remained continuously closed as a result of the actuation of the emergency button 10.
  • the door condition monitoring devices 204, 206 are preferably designed differently.
  • the first door condition monitoring device 204 can be designed, for example, as a door contact.
  • the second door condition monitoring device 206 can be designed, for example, as a latch contact.
  • at least one of the door condition monitoring devices can monitor the condition of the door 2 magnetically, for example, as a reed switch.
  • the door locking controller 201 receives a signal from each of the first and second door condition monitoring devices 204, 206 regarding whether the door 2 is open or closed. Only if no signal about the opening of the door has been sent by either the first door condition monitoring device 204 or the second door condition monitoring device 206 during the predetermined time interval, the cancellation condition can be achieved by the elapse of the predetermined time interval.
  • the door locking controller 201 contains a timer to measure the predetermined time interval.
  • the door locking controller 201 starts the timer upon actuation of the emergency button 10. If the door locking controller 201 receives a signal from the first or second door status monitoring device 204, 206 during the predetermined time interval that the door has been opened, a cancellation action must be performed on the emergency button 10. In this case, the elapse of the predetermined time interval is not sufficient.
  • the length of the predetermined time interval is stored in the door locking controller 201.
  • the door locking controller 201 checks whether reaching the cancellation condition is permissible by expiration of the predetermined time interval before the door locking controller 201 activates the locking mechanism 205 to lock.
  • commissioning the security system 1 i.e., before the start of operation of the security system 1, an operator can store whether expiration of the predetermined time interval without opening the door 2 is permissible as a cancellation condition and thus leads to relocking of the door 2.
  • the storage can be made in the emergency button 10.
  • a check of the permissibility, expiration of the predetermined time interval, and the absence of a signal from the first and second door status monitoring devices 204, 206 regarding the opening of the door 2 is sufficient to achieve the cancellation condition.
  • the door locking controller 201 communicates the open or closed state of the door via the bus 400 to the emergency button 10 and/or to the control device 100.
  • the electronics unit 24 includes a timer. A first delay period can be stored in the electronics unit 24. If unlocking of the door lock 200 is to occur with a time delay, the electronics unit 24 waits for the first delay period after the actuation signal has been generated before the first and second emergency button processing units 20, 21 communicate with the door lock controller 201 via the first bus system 400 to initiate unlocking.
  • the third processing unit 105 causes the Figure 1 and 2 described non-security-relevant unlocking and locking of the door lock 200, e.g., unlocking after receiving the authentication signal, at a predetermined time or after a predetermined period of time has elapsed, or locking after a predetermined period of time has elapsed or immediately after the door 2 has been closed.
  • the third processing unit 105 communicates with the door lock controller 201 via the first bus system 400.
  • the communication can, for example, contain information or a control command that causes the door lock controller 201 to control the locking mechanism to unlock or lock. If the control device 100 is connected to the second bus system (see Fig. 7 ), the third processing unit 105 serves to forward messages from and/or to a central escape route control 300.
  • the third emergency button processing unit 22 controls the acoustic alarm device 23 and the lighting devices 41.
  • the processing means 202, 203 If at least one of the processing means 202, 203 detects that the locking mechanism 205 has assumed the unlocked state, the processing means 202, 203 sends a corresponding signal via the bus 400 to the electronic unit 24.
  • the electronic device 207 is connected or connectable to the door condition monitoring devices 204, 206 and receives signals about an open or closed state of the door from the door condition monitoring devices 204, 206.
  • control device 100 the door lock controller 2021, and/or the emergency button 10 can be executed using software modules.
  • Program codes are stored in the electronic device 207 and/or the electronic unit 24, with the aid of which the functions can be executed.
  • Figure 3 represents a variant of the Figures 1 and 2 illustrated security system 1.
  • the control device 100 is designed separately from the emergency button 10 and the door lock 200.
  • the control device 100 can, for example, be arranged in a DIN rail housing (not shown).
  • the control device 100 is not integrated into an emergency button 10 or in a door lock 200.
  • the control device 100 can be provided for arrangement in a technical room.
  • the first bus system 400 connects the control device 100, the door lock 200, and the emergency button 10 to one another.
  • the key switch 500 is or can be electrically connected to the emergency button 10 via a connection 402.
  • the structure and function correspond to the first embodiment, whereby the functions belonging to the Figures 1 and 2 described with the aid of the control device 100 or the processing units 103, 104, 105, from the control device 100 of the Figure 3 are executed and the functions that belong to the Figures 1 and 2 with the aid of the emergency button 10 or the emergency button processing units 20, 21, 22 are carried out by the emergency button 10:
  • the first and second emergency button processing units 20, 21 detect the actuation signal, communicate with the first and second processing means 202, 203 via the first bus system 400 as a result of an actuation of the emergency button 10, and thus cause the locking mechanism 205 to be actuated by the door locking controller 201.
  • the measures for achieving single-fault safety or redundancy are carried out with the aid of the first and second emergency button processing units 20, 21.
  • the first variable is stored in the first and second emergency button processing units 20, 21 and is transmitted from there to the door locking controller 201.
  • the emergency button 10 comprises the timer for determining the first delay period.
  • the control device 100 is connected or connectable to the second bus system 401.
  • the third processing unit 105 causes the Figure 1 and 2 described non-security-relevant unlocking and locking of the door lock 200, e.g., unlocking after receipt of the authentication signal, at a predetermined time or after a predetermined period of time, or automatic relocking after a predetermined period of time or immediately after closing the door 2.
  • the first, second, and third processing units 103, 104, 105 are each embodied as a microprocessor or microcontroller.
  • the first, second, and third processing units 103, 104, 105 together form processing electronics 101.
  • the first and second processing units 103, 104 have a non-volatile memory.
  • the third processing unit 105 comprises a non-volatile memory and/or has access to a non-volatile memory.
  • a fire alarm signal can be received by both the control device 100 and the emergency button 10.
  • the presence of a fire alarm signal is detected by the first and second emergency button processing units 20, 21 for the emergency button 10 or by the first and second processing units 103, 104 for the control device 100.
  • both the control device 100, with the aid of the first and second processing units 103, 104, and the emergency button 10, with the aid of the first and second emergency button processing units 20, 21, can initiate an unlocking of the door lock 200.
  • communication with the door lock controller 201 takes place via the first bus system 400.
  • the control device 100 is informed via the first bus system 400 when the emergency button 10 triggers an unlocking of the door lock 200, i.e., as a result of an actuation of the emergency button 10 or after receiving a fire alarm signal.
  • the control device 100 is also informed of a time-delayed unlocking of the door lock 200 as a result of the actuation of the emergency button 10.
  • the control device 100 is informed of the locking and unlocking state of the door lock 200.
  • the control device 100 is informed of the open or closed state of the door 2.
  • the control device 100 causes the alarm device 23 and the lighting means 41 to be activated for the Figures 1 and 2 described acoustic alarms and visual representations.
  • the control device 100 can communicate with the electronic unit 24, in particular with the third emergency button processing unit 22, via the first bus system 400.
  • the third emergency button processing unit 22 then controls the alarm device 23 or the lighting means 41.
  • the parameters for the alarm device 23 and the lighting means 41 are stored in the control device 100.
  • the door lock 200 comprises the door condition monitoring devices 204, 206.
  • the door condition monitoring devices 204, 206 can be connected to the first bus system 400 or directly to the emergency button 10 and/or the control device 100.
  • At least one further emergency button can be connected to the first bus system 400, which is designed without the control device 100.
  • the further emergency button is like the emergency button 10 in Figure 3 and can, when actuated, trigger the unlocking of the door lock 200.
  • the additional emergency button corresponds in structure and functionality to the emergency button 10 of the Figure 3 .
  • At least one further door lock can be connected to the first bus system 400.
  • the further door lock is like the door lock 200 in Figure 2 or 3 and can also be unlocked by pressing the emergency button 10.
  • the further door locking corresponds in structure and functionality to the door locking devices 200 of the Figures 1 to 3 .
  • FIG. 4 An embodiment of a security system 1 according to the invention with several emergency buttons 10, 1010, 2010, 3010 is shown.
  • the security system 1 comprises several door locks 200, 1200, 2200, 3200.
  • Each emergency button 10, 1010, 2010, 3010 is assigned a key switch 500, 1500, 2500, 3500.
  • the security system 1 serves to arrange the emergency buttons 10, 1010, 2010, 3010 and door locks 200, 1200, 2200, 3200 on various doors 2, 2002, 3002.
  • the doors 2, 2002, 3002 are not part of the security system 1 according to the invention.
  • the plurality of emergency buttons 10, 1010, 2010, 3010 are connected to the first bus system 400 and thus correspond to a number of emergency buttons 10, 1010, 2010, 3010.
  • the door locks 200, 1200, 2200, 3200 are connected to the first bus system 400 and thus correspond to a number of door locks 200, 1200, 2200, 3200.
  • the emergency buttons 10, 1010 are assigned to the door locks 200, 1200.
  • the emergency button 2010 is assigned to the door lock 2200.
  • the emergency button 3010 is assigned to the door lock 3200.
  • the two door locks 200, 1200 are unlocked, but not the door locks 2200, 3200.
  • the emergency button 2010 is actuated, only the door lock 2200 is unlocked.
  • the emergency button 3010 is actuated, only the door lock 3200 is unlocked.
  • the door locks 200, 1200, 2200, 3200 are selectively unlocked.
  • the emergency buttons 10, 1010 can be provided for placement on a double-leaf door 2.
  • a door lock 200, 1200 is to be arranged on each door leaf 3, 4 of the door 2.
  • the emergency button 2010 and the door lock 2200 are provided for placement on another door 2002.
  • the emergency button 3020 and the door lock 3200 are to be arranged on a door 3002, as shown in Figure 4 shown.
  • the security system 1 from Figure 4 can also be used for Figure 4 Different selective unlocking can be set. If the Figure 4 In a different exemplary setting, when one of the emergency buttons 10, 1010, 2010, 3010 is actuated, only a single assigned door lock 200, 1200, 2200, 3200 is unlocked. Thus, only one door lock 200, 1200, 2200, 3200 is assigned to each emergency button 10, 1010, 2010, 3010. In particular, a security system 1 set up in this way is suitable for four single-leaf doors, each with a door lock 200, 1200, 2200, 3200.
  • the security system 1 when one of the emergency buttons 10, 1010 is actuated, only the two door locks 200, 1200 are unlocked, and when one of the emergency buttons 2010, 3010 is actuated, only the other two door locks 2200, 3200 are unlocked.
  • the emergency buttons 10, 1010 are assigned to the door locks 200, 1200
  • the emergency buttons 2010, 3010 are assigned to the door locks 2200, 3200.
  • the security system 1 configured in this way is suitable for two double-leaf doors, each with one door lock 200, 1200, 2200, 3200 per door leaf.
  • the safety system 1 can also be set so that when an emergency button 10, 1010, 2010, 3010 is pressed, all door locks 200, 1200, 2200, 3200 are unlocked.
  • a security system 1 can comprise a number of emergency buttons 10, 1010, 2010, 3010 which does not correspond to the number of door locks 200, 1200, 2200, 3200.
  • the door 2 must be single-leaf and one of the emergency buttons 10, 1010 or one of the door locks 200, 1200 must be missing.
  • each emergency button 10, 1010, 2010, 3010 is electrically connected or connectable to a key switch 500, 1500, 2500, 3500 assigned to the respective emergency button 10, 1010, 2010, 3010 via a connection 402, 1402, 2402 or 3402.
  • the key switches 500, 1500, 2500, 3500 are connected to the first bus system 400 (not shown).
  • the control device 100 is integrated in one of the emergency buttons 10, 1010, 2010, 3010, e.g., the emergency button 10.
  • the first bus system 400 is only connected to a single control device 100.
  • the structure and functions of the door locks 200, 1200, 2200, 3200 correspond to the structure and functions of the door lock 200 of the Figures 2 and 3
  • the structure and functions of the emergency button 10 the structure and functions of the emergency button 10 of the Figure 2
  • the structure and functions of the emergency buttons 1010, 2010, 3010 the structure and functions of the emergency button 10 of the Figure 3 .
  • the reference symbols from the Figures 2 and 3 are used. It is understood that the door locks 200, 1200, 2200, and 3200 each comprise their own door locking mechanism, processing means, etc., and the emergency buttons 10, 1010, 2010, and 3010 each comprise their own emergency button processing units, alarm devices, lighting devices, switches, and actuating elements.
  • the emergency buttons 10, 1010, 2010, and 3010 can be assigned to the door locks 200, 1200, 2200, and 3200
  • the emergency buttons 10, 1010, 2010, and 3010 are assigned to the door locks 200, 1200, 2200, and 3200 during commissioning of the security system 1, i.e., before the start of operation of the security system 1.
  • one of the door locks 200, 1200, 2200, and 3200 is transferred to an assignment mode.
  • a deliberate action is then performed on the emergency buttons 10, 1010, 2010, and 3010.
  • the conscious action can be carried out as an actuation of the actuating element 11 of the respective emergency button 10, 1010, 2010, 3010.
  • the assignment mode of the door lock 200, 1200, 2200, 3200 is ended.
  • door lock 200 is first switched to assignment mode and then emergency buttons 10, 1010 are operated, whereby the emergency buttons 10, 1010 are assigned to door lock 200.
  • the assignment mode of door lock 200 is then ended.
  • door lock 1200 is then switched to assignment mode and then emergency buttons 10, 1010 are operated, whereby the emergency buttons 10, 1010 are assigned to door lock 1200.
  • the assignment mode of door lock 1200 is then ended.
  • door lock 2200 is switched to assignment mode and then emergency button 2010 is operated, whereby the emergency button 2010 is assigned to door lock 2200.
  • the assignment mode of the door lock 2200 is terminated.
  • the door lock 3200 and the emergency button 3010 can then be used in the same way.
  • the respective door locks 200, 1200, 2200, 3200 store which emergency button 10, 1010, 2010, 3010 is to be assigned to the respective door lock 200, 1200, 2200, 3200.
  • the assignment of the emergency buttons 10, 1010, 2010, 3010 to the door locks 200, 1200, 2200, 3200 is stored in the control device 100 for all emergency buttons 10, 1010, 2010, 3010 and all door locks 200, 1200, 2200, 3200 of the first bus system 400.
  • a bus address in particular an unchangeable bus address, is stored for each of the emergency buttons 10, 1010, 2010, 3010.
  • the assignment is stored in the respective door locks 200, 1200, 2200, 3200 in the first digital processing means 202 and redundantly in the second digital processing means 203, in particular in the non-volatile memories of the processing means 202, 203.
  • the emergency button 10 communicates with all door locks 200, 1200, 2200, 3200 of the first bus system 400.
  • the door locks 200, 1200, 2200, 3200 each check the deposit to determine whether the respective door lock 200, 1200, 2200, 3200 has been assigned to the activated emergency button 10. Only if the assignment has been made do the assigned door locks 200, 1200 then control the respective door locking mechanism 205.
  • the door locks 200, 1200, 2200, 3200 which are assigned to the emergency button 10, 1010, 2010, 3010 receiving the fire alarm signal, are unlocked.
  • a first delay period is stored in that emergency button 10, 1010, 2010, or 3010. This storage takes place during commissioning of the safety system 1 by the parameterization program.
  • a different first delay period can be stored by the operator for each emergency button 10, 1010, 2010, or 3010.
  • a first delay period is stored in the emergency button 10 that differs from the first delay period stored in the emergency button 2010.
  • the emergency buttons 1010, 3010 are intended to unlock the associated door locks 2200 and 3200 without a time delay, so that no first delay period or a first delay period of 0 s is stored in the emergency buttons 1010, 3010.
  • the safety system 1 can be configured such that the same first delay period is always stored in the emergency buttons 10, 1010, 2010, 3010 that are assigned to the same door lock 200, 1200, 2200, 3200.
  • the parameterization program allows the operator only one common setting.
  • the control device 100 performs the non-safety-relevant functions for unlocking and locking all door locks 200, 1200, 2200, 3200, as previously described. Figure 1 and 2 described.
  • the control device 100 can selectively communicate with the door locks 200, 1200, 2200, 3200.
  • the control device 100 stores information about which door lock 200, 1200, 2200, 3200 is assigned to which access control system, so that upon a positive authentication signal from an access control system, only the assigned door lock(s) 200, 1200, 2200, 3200 are unlocked.
  • the control device 100 stores information about whether and when, which door lock 200, 1200, 2200, 3200 should be unlocked, and at what specified time.
  • control device 100 can store after which predetermined time period or which predetermined time periods which door lock 200, 1200, 2200, 3200 should be locked. Likewise, the control device 100 stores whether and, if so, which door locks 200, 1200, 2200, 3200 are to be relocked immediately after the door 2, 2002, 3002 is closed. The control device 100 can store whether and, if so, for which door lock 200, 1200, 2200, 3200 an acoustic alarm should be triggered if the unlocked door 2, 2002, 3002 is opened without a positive authentication signal being present. The control device 100 can store whether an acoustic alarm should be triggered if the door 2, 2002, 2003 is not closed again.
  • the control device 100 causes an acoustic and visual alarm to be issued as a result of the actuation of an emergency button 10, 1010, 2010, 3010 in the at least one further emergency button 10, 1010, 2010, 3010 that is assigned to the same door lock 200, 1200, 2200, 3200 as the actuated emergency button 10, 1010, 2010, 3010. If, in the exemplary embodiment, the Figures 4 and 5 For example, if the emergency button 10 is actuated, the control device 100, through communication with the electronic unit 24 of the emergency button 1010, causes the acoustic alarm device 23 and the lighting means 41 of the emergency button 1010 to also emit an acoustic or optical alarm.
  • the control device 100 causes the first delay period with which the unlocking is initiated to also be displayed in the at least one further emergency button 10, 1010, 2010, 3010 that is assigned to the same door lock 200, 1200, 2200, 3200 as the actuated emergency button 10, 1010, 2010, 3010.
  • the control device 100 communicates with the electronics unit 24 of the at least one further emergency button 1010, 2010, 3010 or controls the lighting means 41 of the emergency button 10, in which the control device 100 is integrated.
  • the control device 100 can perform the non-safety-relevant assignment for selective communication, e.g., the assignment of an access control system to a door lock 200, 1200, 2200, 3200, based on a bus address.
  • the participants of the first bus system 400 each have a setting device for manually setting a bus address.
  • the setting device can comprise DIP switches. At least the participants of the first bus system 400 that have the same setting on the setting device are automatically assigned to one another. In order to be able to assign different bus addresses to participants with the same setting, the participants of the first The bus system contains 400 different identification numbers, from which different bus addresses are configured using the settings made.
  • the bus address determined using the settings is just another bus address that the emergency buttons 10, 1010, 2010, and 3010, and the door locks 200, 1200, 2200, and 3200 use in addition to the bus address used for safety-relevant communication.
  • the control device 100 can prevent the unlocking of another door lock 200, 1200, 2200, 3200 until a condition is met, provided no danger exists. If the condition is met, the control device 100 initiates the unlocking of the additional door lock 200, 1200, 2200, 3200. In this way, the control device 100 can communicate with multiple door locks 200, 1200, 2200, 3200 such that a lock is formed.
  • the door 2002 can be arranged at an entrance to a room and the door 3002 at an exit of the same room. If a positive authentication signal for the door lock 2200 is present, the control device 100 can initiate an unlocking of the door lock 2200.
  • the control device 100 can prevent the unlocking of the door lock 3200 until a condition is met. If the condition is met, the control device 100 initiates an unlocking of the door lock 3200.
  • the condition can be, for example, a lock time interval or the achievement of a measured variable, such as room temperature, humidity, air purity, or the number of people in the room.
  • the control device 100 can be connected or connectable to a measuring device.
  • the condition may include the closing of the first opened door 2002, which is measurable by the door condition monitoring devices 204, 206.
  • the condition and the door locks 2200, 3200 involved in the interlock may be stored in the control device 100. The storage may be performed by the operator using the parameterization program.
  • the control device 100 act as participants in a single first bus system 400, only the cables of the bus system 400 are necessary for the participants to communicate with each other. Thus, the security system 1 has only a few cables.
  • the electronic locking only prevents the door locks 200, 1200, 2200, 3200 assigned to the actuated emergency button 10, 1010, 2010, 3010 from being locked. Reaching the cancellation condition enables the locking of the door lock(s) 200, 1200, 2200, 3200 assigned to the actuated emergency button 10, 1010, 2010, 3010.
  • the temporally overlapping actuation of the actuating element 11 of the emergency button 10, 1010, 2010, 3010 that was previously actuated and the authentication on the key switch 500, 1500, 2500, 3500 assigned to the actuated emergency button 10, 1010, 2010, 3010 is necessary. At least this sequence of actions is necessary for the door lock 200, 1200, 2200, 3200 assigned to the actuated emergency button 10, 1010, 2010, 3010, in which at least one of the door status monitoring devices 204, 206 has detected that the door 2 or one of the door leaves 3, 4 was opened after the emergency button 10 was actuated.
  • the cancellation condition can be met by the expiration of the predetermined time interval.
  • the cancellation condition can be met 60 seconds after the last actuation of the emergency button 10.
  • the admissibility of whether locking should occur after the expiration of the predetermined time interval with door 2, 2002, 3002 remaining closed can be determined for each door lock 200, 1200, 2200, 3200 or for groups of door locks 200, 1200, 2200, 3200, particularly for door locks intended for installation on the same door, can be individually adjustable and stored.
  • the storage can be made, for example, in the emergency buttons 10, 1010, 2010, 3010.
  • the length of the predetermined time interval can be individually adjustable and stored for each door lock 200, 1200, 2200, 3200 or for groups of door locks 200, 1200, 2200, 3200, particularly for door locks intended for installation on the same door.
  • a minimum length, e.g., 60 s, can be predefined for the predetermined time interval.
  • the storage is carried out by the parameterization program.
  • FIG 7 A fifth embodiment of a security system 1 is shown.
  • the fifth embodiment comprises the security system 1 according to the first embodiment of the Figures 1 and 2 That is, the emergency button 10, which includes the control device 100, is connected to the door lock 200 via the bus system 400.
  • the key switch 500 is connected or connectable to the emergency button 10 via a connection 402.
  • additional components 300, 301, 510 are provided compared to the first embodiment.
  • the security system 1 comprises the central escape route control 300.
  • the central escape route control 300 is intended to be arranged remotely from the door 2.
  • the central escape route control 300 can be located, for example, together with a guard device 301, which can be designed as a monitor or personal computer, and/or a multi-door display device 350 (see Fig. 10 ) in a guard room.
  • the guard device 301 is optionally part of the security system 1 according to the invention.
  • the guard device 301 can be connectable to the security system 1 according to the invention.
  • the central escape route control 300 has a modular design.
  • An emergency module 310 comprises a first mounting plate 311.
  • the first mounting plate 311 accommodates a central emergency button 302 and an identification device 312, exemplified as a key switch.
  • the central emergency button 302 and the identification device 312 are rigidly mechanically connected to one another by means of the first mounting plate 311.
  • the central emergency button 302 serves to unlock the door lock 200 following actuation of the central emergency button 302.
  • the door lock 200 can be unlocked remotely from the door 2 by the central emergency button 302.
  • the unlocking following actuation of the central emergency button 302 occurs with a single-fault safety feature. Actuation of the central emergency button 302 is thus suitable for emergency situations.
  • a deactivation module 320 comprises a first operating element 322, designed as a key switch, and a second operating element 323, designed as a button.
  • the first operating element 322 is used to deactivate the emergency button 10. Thus, actuation of the first operating element 322 transfers the emergency button 10 to a deactivated state. If the emergency button 10 is in a deactivated state, actuation of the emergency button 10 will not unlock the door lock 200.
  • the second operating element 323 is used to activate the emergency button 10. If the emergency button 10 is in the deactivated state and the second operating element 323 is actuated, the emergency button 10 is transferred to an activated state. In the activated state of the emergency button 10, the emergency button 10 causes the door lock 200 to unlock when the emergency button 10 has been actuated.
  • the deactivation module comprises a second mounting plate 321.
  • the second mounting plate 321 serves to accommodate the first and second operating elements 322, 323.
  • the second mounting plate 321 rigidly connects the first and second operating elements 322, 323 to one another
  • a delay module 330 comprises a third mounting plate 331.
  • the third mounting plate 331 accommodates a delay element 332.
  • the delay element 332 is embodied, for example, as a key switch.
  • the delay element 332 serves to further delay the unlocking of the door lock 200 within the first delay period.
  • the delay module 330 comprises a termination element 333 embodied as a switch.
  • the termination element 333 is attached to the third mounting plate 331.
  • the termination element 333 is mechanically rigidly connected to the delay element 332 by means of the third mounting plate 331. By actuating the termination element 333, the delay in unlocking the door lock 200 can be terminated.
  • the central escape route control 300 comprises a one-sided open escape route control housing 340 in which the emergency module 310, the deactivation module 320, and the delay module 330 are arranged.
  • the deactivation module 320 and the delay module 330 are optional components of the central escape route control 300.
  • the multi-door display device 350 if present, can also be arranged in the escape route control housing 340.
  • the escape route control housing 340 can mechanically secure the emergency module 310, the deactivation module 320, and the delay module 330.
  • the emergency module 310, the deactivation module 320, and the delay module 330 are each individually secured, in particular screwed, to the escape route control housing 340.
  • the first mounting plate 311 for the emergency module 310, and the second mounting plate 321 for the deactivation module serve for attachment to the escape route control housing 340. 320 and/or the third mounting plate 331 for the delay module 330.
  • the escape route control housing 340 and the modules 310, 320, 330 are designed such that various sequences in which the modules 310, 320, 330 can be arranged next to one another are possible.
  • the emergency module 310 can be arranged between the deactivation module 320 and the delay module 330.
  • a free space can be arranged on the left, the delay module 330 in the middle, and the emergency module 310 on the right.
  • the free space is created by the absence of the deactivation module 320 and is concealed by a plate.
  • the escape route control housing 340 may have rails for inserting the modules 310, 320, 330.
  • the escape route control housing 340 may have fastening options, e.g., perforated strips or elongated holes, for variable fastening of the modules 310, 320, 330.
  • a purely schematic display area 314, 324, and 334 is provided on the first mounting plate 311, the second mounting plate 321, and the third mounting plate 331, respectively. Symbols explaining the function of the modules 310, 320, and 330 are provided on the display area. In addition, optical lights for indicating states of the security system 1 can be provided in the display areas 314, 324, and 334.
  • the security system 1 further includes an audio and video module 510.
  • the audio and video module 510 is intended for placement near the door 2, which can be locked by the door lock 200. If the audio and video module 510 is enabled, an operator in the guard room can speak with the user in front of the door 2 and view the room near the door 2.
  • the central emergency button 302 is constructed similarly to the emergency button 10.
  • the central emergency button 302 comprises an emergency button electronics unit 308.
  • the emergency button electronics unit 308 comprises a first emergency processing unit 303, a second emergency processing unit 304, and a third emergency processing unit 305.
  • the first, second, and third emergency processing units 303, 304, 305 are each designed as a microprocessor or microcontroller.
  • the first and second emergency processing units 303, 304 have a non-volatile memory.
  • the third emergency processing unit 305 has a non-volatile memory and/or has access to a non-volatile memory.
  • the central emergency button 302 is actuated by actuating an emergency button actuating element 306. This actuates an emergency button switch 307.
  • a first and a second circuit (not shown) are opened.
  • a signal about the opening of the first circuit is detected by the first emergency processing unit 303.
  • a signal about the opening of the second circuit is detected by the second emergency processing unit 304.
  • the central emergency button 302 is connected to a second bus system 401.
  • the control device 100 is also connected to the second bus system 401.
  • the second bus system 401 is a different type of bus system than the first bus system 400.
  • the second bus system 401 can be designed as a LON or LAN bus
  • the first bus system 400 can be designed as a CAN or DCW bus.
  • the emergency button 10 comprises the control device 100.
  • the emergency button 10 and the door lock 200, which are Figure 9 shown correspond to the emergency button 10 and the door lock 200 of the Figure 2 .
  • control device 100, the emergency button 10 and the door lock 200 are arranged according to the Figure 3
  • the control device 100, the emergency button 10, and the door lock 200 are connected to one another via the first bus system 400, wherein the control device 100 is connected to the second bus system 401.
  • the control device 100 receives messages from the central escape route security system 300 via the second bus system 401.
  • the control device 100 forwards the messages via the first bus system to other participants of the first bus system 400.
  • the message can in particular be information regarding an actuation of the central emergency button 302, the key switch 312, the first operating element 322, the second operating element 323, the delay element 332 and/or the termination element 333 or a control command following an actuation of one of the aforementioned elements 302, 312, 322, 323, 332, 333. If the control device 100 is integrated in the emergency button 10, forwarding to the emergency button 10 in which the control device 100 is integrated is omitted. For example, according to the Figure 9 The control device 100 forwards the message to the door lock 200.
  • control device 100 forwards the message to the emergency button 10 and/or the door lock 200.
  • the control device 100 adapts the message to the format of the first bus system 400. Safety-relevant messages are otherwise left untouched.
  • the central emergency button 302 If the central emergency button 302 has been pressed, the first emergency processing unit 303 and redundantly the second emergency processing unit 304 initiate an unlocking of the door lock 200.
  • the central emergency button communicates 302 via the control device 100 to the door locking controller 201, in particular the first and second processing means 202, 203.
  • the first and second processing means 202, 203 then control the locking mechanism 205.
  • the first and second processing units 103, 104 forwarded the message. In doing so, the control device 100 left the content of the message untouched.
  • the central emergency button 302 has an input for receiving a fire alarm signal. If the fire alarm signal is received, the central emergency button 302 triggers the unlocking of the door lock 200.
  • the first and second emergency processing units 303, 304 communicate with the door lock controller 201 via the control device 100, namely via the first and second processing units 103, 104, as previously described.
  • a signal regarding the actuation of the key switch 312 of the first module 310 is received by the emergency button electronics unit 308, in particular the third emergency processing unit 305.
  • the emergency button electronics unit 308 sends a message regarding the actuation of the key switch 312 to the control device 100 via the second bus system 401.
  • the control device 100 forwards the message to the first bus system 400.
  • the emergency button actuating element 306 is designed to be non-latching.
  • the emergency button actuating element 306 is identical to the actuating element 11 of the emergency button 10 (see Figures 13 to 15 ).
  • the emergency actuating element 306 is transferred from an initial position to an actuating position when actuated (analog Figure 11 ).
  • the emergency actuating element 306 moves back to its initial position by the force of a return means designed as a spring (analog Figure 11 ).
  • the emergency actuation element 306 is actuated in a translational manner.
  • the electronic device 207 prevents, by means of electronic detection, the door lock 200 from being transferred back to the locked state without the existence of a cancellation condition.
  • the cancellation condition after actuation of the central emergency button 302 can be achieved by actuating the key switch 312. In particular, actuation of the key switch 312 is sufficient to achieve the cancellation condition.
  • the cancellation condition can be achieved in another way following an actuation of the emergency button 10: If the door status monitoring devices 204, 206 have detected, If the door 2 has remained continuously closed after the emergency button 10 has been actuated, the cancellation condition can be achieved by the elapse of a predetermined time interval and a cancellation process at the central escape route control 300 after the predetermined time interval.
  • the cancellation process can correspond to an authentication at the central escape route control 300, in particular an actuation of the key switch 312.
  • a cancellation signal can be generated by the cancellation process, e.g., the actuation of the key switch 312.
  • the cancellation signal is forwarded via the control device 100 to the door locking control 201. Authentication at the key switch 500 and a cancellation action at the emergency button 10 are not necessary in this case.
  • This variant can be selected by the operator, for example, if the elapse of the predetermined time interval with door 2 remaining closed does not seem safe enough. The operator can select and store this variant using the parameterization program.
  • the elapse of the predetermined time interval while door 2 remained closed is visually indicated on the central escape route control 300.
  • the lighting means 313 serve to indicate that the predetermined time interval has elapsed without a signal about the opening of door 2 being received within the predetermined time interval.
  • the visual indication informs the operator that door 2 can be locked by authentication at the central escape route control 300.
  • the door lock 200 can also be locked by the same actuation of the key switch 312 after the fire alarm signal has ended.
  • the possibility of locking the door lock 200 by actuating the key switch 312 after the fire alarm signal has ended is also visually indicated by the lamps 313.
  • the control device 100 forwards messages from the emergency button 10 and/or the door lock 200 via the second bus system 401.
  • the control device 100 adapts the message to the format of the second bus system 401.
  • the control device 100 sends information about the status of the emergency button 10 and/or the door lock 200 via the second bus system 401.
  • the central escape route control 300 and the multi-door display device 350 can be connected to a third bus system 403 (see Fig. 10 ).
  • the central emergency button 302, particularly preferably the emergency button electronics unit 308, can be connected to the third bus system 403 (see Fig. 8 ).
  • the multi-door display device 350 can visually display the locking and unlocking status of the door lock 200.
  • one of the door locks 200, 200', 1200', 2200' of the security system 1 (see Fig.10 ). Unlocking using the multi-door display device 350 is not single-fault safe.
  • the third bus system 403 can be the same type of bus system as the first bus system 400, e.g., a CAN or DCW bus.
  • the control device 100 forwards to the central escape route control 300 via the second bus system 401 when the emergency button 10 waits a first delay period before the emergency button 10 causes the door locking control 201 to control the locking mechanism 205 for unlocking.
  • the first delay time is visually displayed on the central escape route control 300.
  • the central emergency button 302 is constructed in accordance with the emergency button 10, as is the case with the Figures 13 , 16, 17 described.
  • the lamps 313 of the central emergency button 302 are controlled by the emergency button electronics unit 308.
  • the lamps 41 of the emergency button 10 are controlled in an identical manner to visually represent the first delay period.
  • the operator can actuate the delay element 332. To do so, the operator turns a key in the key switch, which serves as the delay element 332. Actuation of the delay element 332 is detected by the emergency button electronics unit 308, in particular the third emergency processing unit 305. A corresponding message is sent via the second bus system 401 and, if applicable, the first bus system 400. The emergency button 10 receives the message. As a result of the actuation of the delay element 332, the emergency button 10 ends the first delay period and begins a second delay period. The second delay period, e.g., 180 s, is longer than the first delay period.
  • the emergency button 10 triggers the unlocking of the door lock 200.
  • the second delay period is determined in the emergency button 10 using the same timer that is used to determine the first delay period.
  • the key of the delay element 322 does not need to remain turned. Rather, turning the key once is sufficient to start the second delay period.
  • the second delay period is visually displayed on the central escape route control 300 and on the emergency button 10.
  • the visual display on the central escape route control 300 is similar to the visual display on the emergency button 10.
  • fewer lamps 41, 313 light up in the same color.
  • fewer lamps 41, 313 can light up in a first color and an increasing number of lamps 41, 313 can light up in a second color.
  • a time-associated pattern e.g., a rotating colored dot or a rotating colored window (see description of Figures 16, 17 ) can be visually displayed.
  • the emergency electronics unit 308 detects the actuation of the termination element 333 and sends a message regarding the actuation of the termination element 333 via the second bus system 401.
  • the emergency electronics unit 308 causes the emergency button 10 not to further delay the unlocking, but to immediately initiate unlocking of the door lock 200.
  • the termination element 333 is designed to be non-latching. A single actuation of the termination element 333 is sufficient to end the delay in initiating the unlocking.
  • the emergency button 10 can be deactivated by actuating the first operating element 322. To do so, the operator turns a key in the Key switch serving as the first operating element 322. Actuation of the first operating element 322 is detected by the emergency button electronics unit 308. Upon actuation of the first operating element 322, a first and a second deactivation circuit are opened or closed. The opening or closing of the first deactivation circuit is detected by the first emergency processing unit 303. The opening or closing of the second deactivation circuit is detected by the second emergency processing unit 304. The first and second emergency processing units 303, 304 communicate with the emergency button 10 via the second bus system 401. If the first bus system 400 is located between the emergency button 10 and the central emergency button 302, the control device 100 forwards the message from the first and second emergency processing units 303, 304. During forwarding, the format is changed, but the content remains unchanged.
  • the activated state and the deactivated state are stored electronically in the emergency button 10. Because the activated state and the deactivated state are stored in the emergency button 10, the key in the first control element 322 does not need to remain turned during the deactivated state. Rather, turning the key once is sufficient to deactivate the emergency button 10.
  • the deactivation remains until the second operating element 323 is actuated.
  • the actuation of the second operating element 323 can be detected by the emergency button electronics unit 308, in particular the third emergency processing unit 305.
  • the emergency electronics unit 308 sends a message regarding the actuation of the second operating element 323 to the emergency button 10 via the second bus system 401 and, if applicable, via the first bus system 400, whereupon the emergency button 10 is transferred to the activated state.
  • the second operating element 323 is non-latching. Because the activated and deactivated states are stored in the emergency button 10, a single actuation of the second operating element 323 is sufficient to transfer the emergency button 10 to the activated state.
  • the central escape route control 300 comprises a bus 341, via which the emergency electronics unit 308, in particular the third emergency processing unit 305, can detect signals from the second control element 323, the delay element 332, and the termination element 333.
  • the emergency electronics unit 308 serves as the intelligence of the entire central escape route control 300. Only the emergency electronics unit 308 comprises microprocessors.
  • the deactivation module 320 and/or the Delay module 322 may be processor-free.
  • Bus 341 may be configured as an I2C bus.
  • a second variable can be stored in the first emergency button processing unit 20 and redundantly in the second emergency button processing unit 21, in particular in the non-volatile memories.
  • the second variable can be binary. If the emergency button 10 is in the deactivated state, the second variable is set to a deactivation value. If the emergency button 10 is in the activated state, the second variable is set to an activation value. Following actuation of the first control element 322, the second variable is set to the deactivation value. Following actuation of the second control element 323, the second variable is set to the activation value. Before the emergency button 10 triggers the unlocking of the door lock 200, the emergency button 10 checks the value of the second variable. If the emergency button detects that the emergency button 10 is deactivated, the emergency button 10 no longer communicates with the door locking control 201 to initiate an unlocking 200.
  • the first emergency processing unit 303 and the second emergency processing unit 304 monitor each other for errors. If an error is detected, a message is sent via the second bus system 401.
  • the emergency button 10 receives the message and then transfers itself to the activated state if the emergency button 10 is in the deactivated state. To do so, the emergency button 10 changes the value of the second variable to the activation value.
  • the first emergency processing unit 303 and the second emergency processing unit 304 repeatedly transmit a life-sign signal, particularly at regular intervals, via the second bus system 401.
  • the emergency button 10 receives the life-sign signals. If a life-sign signal fails to be received one or more times, the emergency button 10 switches to the activated state if the emergency button 10 is in the deactivated state.
  • the emergency button 10 switches to the activated state if the emergency button 10 is in the deactivated state.
  • Activation of the emergency button 10 in the deactivated state is indicated on the central escape route control 300, on the guard device 301, and/or on the multi-door display device 350. If a hazardous situation actually exists, the emergency button 10 can be switched to the activated state by the operator by actuating the second control element 323, or the operator can directly control the door lock to unlock it. To do this, the operator can actuate the central emergency button 302. The operator can determine whether a hazardous situation exists, for example, by via the audio and video module 510. This provides increased security.
  • Deactivation can be performed, for example, at night in a department store. Furthermore, it is conceivable to use the deactivatable emergency button 10 in a building where people with impaired mental status live. Thus, emergency buttons 10 can also be used on doors to which people with impaired mental status have access, e.g., in a psychiatric or dementia ward.
  • the actuation of the emergency button 10 in the deactivated state does not lead to an unlocking of the door lock 200, even after the transfer to the activated state.
  • the actuation of the emergency button 10 in the deactivated state remains ineffective. This is due, on the one hand, to the fact that the actuating element 11 and the switch 63 are non-latching.
  • the actuation of the emergency button 10 in the deactivated state was not stored in the emergency button 10.
  • the door lock control 201 does not receive a message regarding the actuation of the emergency button 10 in the deactivated state.
  • the electronic hold-open device was therefore not transferred to the actuated state. This ensures that the door lock 100 is not unlocked immediately upon activation of the emergency button 10, e.g. B. because emergency button 10 was activated long before. This increases building safety.
  • the audio and video module 510 can be switched on during the first and/or second delay period.
  • the emergency button 10 enables the audio and video module 510 at the beginning of the first and/or second delay period.
  • the audio and video module 510 is also enabled by the emergency button 10 when the emergency button 10 is actuated in the deactivated state.
  • the emergency button 10 communicates with the audio and video module 510 via the second bus system 401 and, if applicable, via the first bus system 400.
  • the emergency button 10 can only be deactivated if the audio and video module 510 is enabled. If the audio and video module 510 is part of the security system 1, deactivation may be omitted if, for example, the audio and video module 510 is not functional and/or the connection to the audio and video module 510 is faulty. This does not apply if the security system 1 does not include an audio and video module 510, but rather a monitoring system separate from the security system 1 is provided in the building.
  • FIG 10 A further embodiment of a security system 1 according to the invention is shown.
  • the security system 1 comprises a central escape route control 300, which is controlled according to the Figures 7 and 8 is constructed. Key switches 500, 500', 1500, 1500', 2500 associated with the respective emergency buttons 10, 10', 1010, 1010', 2010 are not shown for the sake of clarity.
  • the central escape route control 300 is connected to the second bus system 401.
  • a first subsystem 5 and a second subsystem 6 are connected to the second bus system 401.
  • the two subsystems 5, 6 each comprise a first bus system 400, 400'.
  • Emergency buttons 10, 1010 or 10', 1010', 2010' and door locks 200 or 200', 1200', 2200' are connected to the respective first bus system 400, 400'.
  • the first bus systems 400, 400' are of the same bus system type, e.g., a CAN or DCW bus.
  • the second bus system 401 is of a different bus system type, e.g., a LON or LAN bus.
  • the security system 1 includes the multi-door display device 350.
  • the multi-door display device 350 can, for example, visually indicate which door lock 200 or 200', 1200', 2200' is in the unlocked state and which door lock is in the unlocked state. Using the multi-door display device 350, an operator can perform non-safety-relevant locking and unlocking of individual door locks 200 or 200', 1200', 2200' of the security system 1.
  • Each subsystem 5, 6 comprises only one control device 100, 100'.
  • the control device 100, 100' of the respective subsystem 5, 6 is connected to the second bus system 401.
  • the control device 100 of the first subsystem 5 is connected to the emergency buttons 10, 1010 and the door lock 200 of the first subsystem 5 via the first bus system 400.
  • the control device 100' of the second subsystem 6, is integrated into an emergency button 10' of the second subsystem 6 and connected to the remaining emergency buttons 1010', 1010' and the door locks 200', 1200', 2200' of the further first bus system 400'.
  • Subsystem 5 includes a first emergency button 10 and a second emergency button 1010. If one of the emergency buttons 10, 1010 is activated, the activated emergency button 10, 1010 triggers the unlocking of the door lock 200.
  • Subsystem 6 includes a first emergency button 10', a second emergency button 1010', and a third emergency button 2010'.
  • Emergency buttons 10', 1010', 2010' selectively trigger unlocking of door locks 200', 1200', 2200' of the second subsystem 6.
  • actuation of the first emergency button 10' triggers only unlocking of the first door lock 200'.
  • actuation of the second emergency button 1010' triggers only unlocking of the second door lock 1200'
  • actuation of the third emergency button 2010' triggers only unlocking of the third door lock 2200'.
  • a security system 1 according to the invention can be designed without the first or second subsystem 5, 6.
  • a security system 1 according to the invention can be designed without the first or second subsystem 5, 6.
  • one of the Figures 1 to 6 described inventive safety systems 1.
  • the design and functions of the emergency buttons 10, 10', 1010, 1010', 2010' and the door locks 200, 200', 1200', 2200' are designed according to the preceding embodiments, unless additionally or differently described below.
  • Each of the door locks 200, 200', 1200', 2200' of the security system 1 contains a memory that determines whether the respective door lock 200, 200', 1200', 2200' is unlocked upon actuation of the central emergency button 302.
  • the door locks 200, 200', 2200' may allow unlocking upon actuation of the central emergency button 302, but the door lock 1200' may not.
  • the central emergency button 302 is actuated, the door lock controls 201 of the door locks 200, 200', 2200' trigger the respective locking mechanism 205 to unlock. However, such activation is omitted in the door lock 1200'.
  • the control devices 100, 100' receive a corresponding message from the central emergency button 302 via the second bus system 401 and forward the message to all door locks 200 or 200', 1200', 2200' of the respective first bus system 400, 400'.
  • the door locks 200, 200', 1200', 2200' decide whether the respective door lock control 201 of the door locks 200, 200', 1200', 2200' will trigger the respective locking mechanism 205 to unlock or not.
  • the operator determines whether the door lock 200, 200'1200', 2200' is unlocked upon actuation of the central emergency button 302 when the security system 1 is commissioned.
  • the parameterization program determines whether the door lock 200, 200'1200', 2200' is unlocked upon actuation of the central emergency button 302.
  • Each of the emergency buttons 10, 1010, 10', 1010', 2010' contains a memory that specifies whether or not a transition to the deactivated state is permitted for the respective emergency button 10, 1010, 10', 1010', 2010' upon actuation of the first operating element 322. This results in selective deactivation by actuating the single first operating element 322 of the safety system 1. For example, the emergency buttons 10, 10', 2010' can be transferred to the deactivated state following actuation of the first operating element 322, but the emergency buttons 1010, 1010' cannot.
  • the control devices 100, 100' receive a corresponding message via the second bus system 401 and forward the message to all emergency buttons 10, 1010, 1010', 2010' of the respective first bus system 400, 400' that do not include the control device 100.
  • the emergency buttons 10, 1010, 10', 1010', 2010' of the security system 1 decide, based on the deactivation authorization deposit, whether the respective emergency button 10, 1010, 10', 1010', 2010' will transfer itself to the deactivated state as a result of the actuation of the first operating element 322 or not.
  • a third variable can be used to specify whether deactivation of the emergency buttons 10, 1010, 10', 1010', 2010' is permitted.
  • the third variable can be binary.
  • the third variable is stored in the non-volatile memory of the respective first and second emergency button processing units 20, 21 of each emergency button 10, 1010, 10', 1010', 2010'. If deactivation is permitted for the respective emergency button 10, 1010, 10', 1010', 2010', the third variable takes on a first value. If deactivation is prohibited for the respective emergency button 10, 1010, 10', 1010', 2010', the third variable takes on a second value.
  • the emergency button 10, 1010, 10', 1010', 2010' checks the value of the third variable before the emergency button 10, 1010, 10', 1010', 2010' deactivates and only deactivates if the third variable has the first value.
  • the operator specifies whether the emergency button 10, 1010, 10', 1010', or 2010' should be deactivated when commissioning safety system 1. This is done using a parameterization program.
  • each of the emergency buttons 10, 1010, 10', 1010', 2010' it is stored whether, upon actuation of the delay element 332, the respective emergency button 10, 1010, 10', 1010', 2010', the unlocking of the door locks assigned to the emergency button 10, 1010, 10', 1010', 2010' 200, 200', 1200', 2200' is delayed by a second delay period or not.
  • the second delay period can be set to different lengths for the respective emergency buttons 10, 1010, 10', 1010', 2010' and is stored in the security system 1, in particular in the emergency buttons 10, 1010, 10', 1010', 2010'.
  • the approval of the delay by the second delay period and, if applicable, the length of the second delay period can be individually adjustable only for groups of emergency buttons 10, 1010, 10', 1010', 2010' that are assigned to a door lock 200, 200', 1200', 2200' or a door 2, 2002, 3002.
  • the setting and storage is carried out by the operator using the parameterization program.
  • the emergency buttons 10, 2010' can further delay the unlocking of the door locks 200 and 2200' respectively following actuation of the delay element 332, whereas the emergency buttons 1010, 10', 1010' cannot.
  • the length of the second delay period for the emergency button 10 is selected to be different from the length of the second delay period for the emergency button 2010'. If the emergency button 10 is actuated and the delay element 332 is actuated within the first delay period stored for the emergency button 10, the emergency button 10 delays the unlocking from the actuation of the delay element 332 by the second delay period stored in the emergency button 10.
  • the emergency button 2010' delays the unlocking from the actuation of the delay element 332 by the second delay period stored in the emergency button 2010', which differs from the second delay period for the emergency button 10. If the emergency button 1010 is actuated, the emergency button 1010 delays the unlocking by the first delay period stored for the emergency button 1010. If the delay element 332 is actuated during the first delay period of the emergency button 1010, the unlocking will not be delayed by a second delay period, since this delay is not permitted for the emergency button 1010. Instead, the emergency button 1010 will immediately trigger an unlocking of the door lock 200 after the first delay period.
  • the emergency buttons 10', 1010' do not delay the unlocking of the associated door lock 200' or 1200' at all.
  • a first delay period nor a second delay period is permitted. Instead of disallowing a delay by the first and/or second delay periods, a time period of 0 s can also be stored. Actuation of the termination element 333 ends any delay in the unlocking.
  • the control devices 100, 100' receive a corresponding message via the second bus system 401 and forward the message to the emergency buttons 10, 1010, 1010', 2010' of the respective first bus system 400, 400', which do not include the control device 100.
  • the emergency buttons 10, 1010, 10', 1010', 2010' of the safety system 1 decide how to proceed based on the deposit.
  • the setting of whether the emergency button 10, 1010, 10', 1010', 2010' allows the second delay period and, if so, the length of the second delay period is set during commissioning of safety system 1.
  • the settings are defined by the operator using the parameterization program.
  • the first and/or second delay periods can only be selected up to a maximum, fixed time period.
  • the operator can selectively store which override condition is permitted for each emergency button 10, 1010, 1010', 2010'.
  • the override condition for the on-site override action is always permitted.
  • the achievement of the override condition by expiration of the predetermined time interval or the achievement of the override condition by expiration of the predetermined time interval and subsequent actuation of the identification device 312 while door 2 remains closed can be selectively permitted or not.
  • the storage of whether the emergency button 10 can be deactivated upon actuation of the first operating element 322, whether the emergency button 10 should delay the unlocking by a second delay period upon actuation of the delay element 332, the length of the first and second delay periods, the storage of the cancellation condition and/or the storage of whether the door lock 200 should be unlocked upon actuation of the central emergency button 302 can also be used for the security system 1 according to the embodiment of the Figures 7 to 9 be made.
  • central escape route controllers 300, 300' can also be connected to the second bus system 401.
  • a central escape route controller 300 can be provided for placement in a guard room and another central escape route controller 300' can be provided for placement in a nurse's station.
  • the respective door locks 200, 200', 1200', 2200' it can be stored with the help of the parameterization program which of the central emergency buttons 302, 302' should be unlocked upon activation.
  • a list is stored in the door locks for this purpose.
  • the respective emergency buttons 10, 10', 1010, 1010', 2010' can be used to specify, with the help of the parameterization program, which of the first control elements 322, 322' is permitted to be deactivated upon activation.
  • a list is stored for each of the emergency buttons 10, 10', 1010, 1010', 2010'.
  • the first to fourth exemplary embodiments of the security system 1 do not have a second bus system 401, a central escape route control 300, a guard device 301, or an audio and video module 510.
  • exemplary embodiments of the security system 1 according to the invention are conceivable in which the first to fourth exemplary embodiments additionally at least partially comprise the missing components 401, 301, 300, and 510. If the security system 1 is designed for multiple doors, each door can be assigned an audio and video module 510.
  • the emergency buttons 1010, 2010, 3010, which do not comprise the control device 100, and the door locks 200, 1200, 2200, 3200 are not connected to the second bus system 401.
  • the door locks 200, 200', 1200, 1200', 2200, 2200', 3200 are part of the security system 1 according to the invention.
  • the door lock controls 201 can each be connected to the locking mechanism 205 and, if applicable, the door status monitoring devices 204, 206.
  • unlocking of the door lock 200 does not take place in the security system 1; however, part of the security system 1 is that the door lock control 201 controls the locking mechanism 205, i.e., the door lock control 201 switches the electrical current for the locking mechanism 205 on or off.
  • the terms "unlocking or locking the door lock” "controlling the locking mechanism for unlocking or locking” can be used.
  • An emergency button 10 is shown.
  • the Figure 11 The emergency button 10 shown is used as emergency button 10, 10', 1010, 1010', 2010, 3010 in one of the safety systems 1 according to the invention of the Figures 1 to 10 usable or used.
  • the emergency button 10 comprises the actuating element 11.
  • the actuating element 11 can move from the initial position 11.I, which is in the Figure 11 shown, into the operating position 11.II, which is shown in Figure 11 is indicated. In Figure 12 the actuating element 11 is also in the starting position 11.I.
  • the switch 63 In the actuation position 11.II, the switch 63 is actuated. The switch 63 also changes from a first position 63.I to a second position 63.II, as in Figure 12 indicated.
  • the actuating element 11 After actuation, the actuating element 11 returns immediately and without manual intervention to the starting position 11.I.
  • a return means 12 designed as a spring is provided in the emergency button 10.
  • the switch 63 also returns immediately and without manual intervention to the first position 63.I after actuation.
  • the emergency button 10 comprises at least a first circuit board 60. This makes it possible to design the emergency button 10 in a compact manner and with a secure function.
  • the emergency button 10 has a construction height AH of less than 48 mm, preferably less than 45 mm, particularly preferably less than 43 mm, from a crest 32 of a front surface 19 of the actuating element 11 in the installation direction.
  • the switch 63 is mounted on the first circuit board 60.
  • the first and second circuits on the first circuit board 60 are interrupted by the actuation of the switch 63.
  • the emergency button 10 also includes a second circuit board 61.
  • the first, second, and third emergency button processing units 20, 21, 22 are arranged on the second circuit board 61.
  • the arrangement of the first, second, and third emergency button processing units 20, 21, 22 is independent of whether the first, second, and third emergency button processing units 20, 21, 22 serve as processing units 103, 104, 105 of the control device 100.
  • the opening of the first and second circuits can be detected wirelessly by the first and second emergency button processing units 20, 21, respectively.
  • the first and second circuit boards 60, 61 are connected to each other via connectors 68.
  • the first and second circuit boards 60, 61 are arranged at a fixed distance from one another.
  • bolts 69 are provided, which fasten the first and second circuit boards 60, 61 to one another at a fixed distance from one another via screws 70 (see Figure 13 ).
  • the first and second circuit boards 60, 61 are arranged parallel to each other.
  • the emergency button 10 comprises a mounting plate 62.
  • the mounting plate 62 is also arranged at a fixed distance from the first and second circuit boards 60, 61.
  • bolts 71 are provided, which connect the mounting plate 62 to the first circuit board 61 via screws 72.
  • the mounting plate 62 is used for attachment to a flush-mounted box.
  • the flush-mounted box can have a diameter of 60 mm and a depth of 41 mm.
  • the part of the emergency button 10 extending from the mounting plate 62 in the installation direction is referred to as the installation part 73.
  • the installation part 73 has a diameter of less than 60 mm and a depth of less than 33 mm, preferably less than 31 mm, particularly preferably less than 29 mm. This provides sufficient space for cables in the flush-mounted box.
  • the distance MP from a bottom side of the mounting plate 62 to a top side of the second circuit board 62 is less than 22 mm, preferably less than 20 mm, particularly preferably less than 17 mm.
  • the mounting plate 62 can also be used for attachment to a cover element of a surface-mounted housing (not shown).
  • the stated distances apply in particular to an emergency button in which the Bluetooth module 64 is attached to an underside of the second circuit board 61, contrary to the illustration in the figures.
  • the cancellation action which is performed directly on the emergency button 10, is carried out without a rotational movement of the actuating element 11 and the switch 63.
  • the switch 63 is designed such that the switch 63 is rotation-free.
  • the switch 63 has a height SH of less than 20 mm, preferably less than 17 mm, particularly preferably less than 15 mm.
  • the actuating element 11 has rod-shaped guide means 35.
  • the guide means 35 are guided in guide sleeves 65.
  • the guide sleeves 65 are connected to the mounting plate 62. To achieve good guidance, one of the guide sleeves 65 extends through the first circuit board 60.
  • the guide means 35 are arranged parallel to the switch 63.
  • the guide means 35 prevent a rotational movement of the actuating element 11 about an imaginary axis 701 extending in the actuating direction 700.
  • the actuating element 11 can only be moved in a translational manner.
  • the actuating element 11 has an actuating means 36. As shown in the Figures 12 and 15 As shown, the actuating means 36 is designed in the form of a circular cylinder. This ensures that the actuating means 36 always actuates the switch 63. In particular, a first and a second switching element 74, 75 of the switch are always actuated simultaneously (see Figure 13 ). The first circuit is opened by the first switching element 74 and the second circuit is opened by the second switching element 75.
  • the actuating means 36 is formed with a hollow interior 38.
  • a light source (not shown) is arranged in the switch 63. The light emitted by the light source is directed through the hollow interior 38 to the dome 32 of the front surface 19 of the Actuating element 11, where the light passes through the actuating element 11.
  • the dome 32 thus serves as the illumination area 32 of the actuating element 11.
  • the actuating element 11 can comprise an opaque base body 33.
  • the base body 33 can be provided with an opening, unlike the illustration in the figures.
  • a light-permeable, particularly translucent insert (not shown) can be arranged in the opening. The insert can be secured, particularly pressed, into the opening. This makes the actuating element 11 particularly easy to manufacture.
  • the front surface 19 is partially conical.
  • the illumination area 32 forms the tip of the truncated cone.
  • the illumination area 32 protrudes from a cover 14 of the emergency button 10, counter to the actuation direction 700. This makes the light exiting the illumination area 32 clearly visible from the side of the emergency button 10.
  • the return means 12 has a cavity 37.
  • the actuating means 36 of the actuating element 11 and the switch 36 with the first and second switching elements 74, 75 protrude into the cavity 37. This results in a space-saving arrangement.
  • the Bluetooth module 64 is arranged between the first and second circuit boards 60, 61.
  • the Bluetooth module 64 is used for parameterization.
  • the Bluetooth module 64 is attached to a side of the second circuit board 61 facing away from the actuating element 11. This allows the distance between the first and second circuit boards 60, 61 to be further reduced.
  • a tamper switch 66 is arranged on the first circuit board 60. Due to the low installation height, an actuating extension 67 of the tamper switch 66 extends through the mounting plate 62. The actuating extension 67 rests directly against the cover 14 of the emergency button 10.
  • the emergency button 10 can include the functions described above despite its low installation height AH and thus be designed intelligently.
  • the functions described above are executed using a program code stored in at least one of the processing units 103, 104, 105.
  • the emergency button 10 has a cover 13.
  • the cover 13 is transparent and covers the front surface 19 of the actuating element 11.
  • the cover 13 thereby prevents a user from directly touching the actuating element 11.
  • the cover 13 serves as a mental barrier for the user.
  • the covering means 13 remains non-destructive when the emergency button 10 is actuated. When the emergency button 10 is actuated, the covering means 13 moves from an initial position 13.I to an actuating position 13.II. The covering means 13 allows the user to actuate the actuating element 11 only indirectly via the covering means 13.
  • the cover 13 is arranged in a non-removable manner in the emergency button 10. This ensures that a user cannot remove the cover 13 improperly.
  • the covering means 13 is firmly connected to the actuating element 11.
  • the covering means 13 has extensions 27 which are Figure 13 As shown in the Figures 13 , 14 and 15
  • the actuating element 11 has holes 28 through which the extensions 27 are guided and are integrally connected to the actuating element 11.
  • the actuating element 11 has a flange-like portion 31 to which the covering means 13 is attached.
  • the flange-like portion 31 has the holes 28.
  • the flange-like section 31 serves as a stop of the actuating element 11 in the actuating direction 700.
  • the actuating element 11 reaches the actuating position 11.II when the flange-like section 31 rests against the mounting plate 62 or the guide sleeves 65.
  • the flange-like portion 31 serves as a stop for the actuating element 11 against the actuating direction 700.
  • the actuating element 11 reaches the starting position 11.I when the flange-like portion 31 rests against a light guide 40.
  • the light guide 40 holds the actuating element 11 against the force of the return means 12.
  • the light guide 40 has a contact surface 51.
  • the light guide 40 is attached to the mounting plate 62. This ensures that the actuating element 11 remains held against the force of the return means 12 even when the cover 14 is removed.
  • the light guide 40 has a flange 52 with which the light guide 40 is attached to the mounting plate 62 (see Fig. 17 ).
  • the light guide 40 is attached to the mounting plate 62 by the same screws 72 by which the mounting plate 62 is attached to the first circuit board 60.
  • the covering means 13 can be designed as an elastic film that spans the actuating element 11.
  • the distance between the actuating position 11.II and the starting position 11.I and the distance between the actuating position 13.II and the starting position 13.I correspond to each other.
  • the covering means 13 is moved back to the starting position 13.I. serves the return means 12.
  • the return means 12 transfers the covering means 13 indirectly via the actuating element 11 into the starting position 13.I.
  • the cover 13 and the actuating element 11 each have a circular cross-section.
  • the cover 14 has a circular recess 15.
  • the cover 13 protrudes through the recess 15 opposite to the actuating direction 700.
  • the actuating element 11 also protrudes through the recess 15.
  • the recess 15, the actuating element 11, and the covering means 13 have a common imaginary axis 701.
  • the recess 15, the actuating element 11, and the covering means 13 are arranged concentrically.
  • the transparent covering means 13 can protrude far from the cover 14, while the partially opaque actuating element 11 protrudes only slightly from the cover 14.
  • the light guide 40 which is essentially flush with the cover 14, remains clearly visible even for users standing at an angle in front of the emergency button 10.
  • the light guide deviates by a maximum of ⁇ 3 mm, preferably a maximum of ⁇ 2 mm, particularly preferably ⁇ 1 mm from a flush connection with the cover 14.
  • the emergency button 10 can be operated by the user with the flat of the hand.
  • the covering means 13 is flush with the cover 14 in the actuating position 13.II, or the covering means 13 protrudes from the cover 14 in the actuating position 13.II against the actuating direction 700.
  • the distance ABS between the initial position 13.I and the actuating position 13.II corresponds at most to the distance DF of an elevation 30 of the actuating surface 17 to the cover 14.
  • the value of the distance AB between the actuating position 11.II and the initial position 11.I corresponds at most to the distance DF.
  • Figure 11 the distance ABS and the amount of the distance AB correspond to the distance DF.
  • the emergency button 10 comprises lamps 41.
  • the lamps 41 serve to indicate the unlocked and locked state of the door lock 200.
  • the lamps 41 indicate the unlocked and locked state of the associated door lock or door locks 200, 1200, 2200, 3200.
  • the lamps 41 are arranged concentrically around the actuating element 11. For example, the unlocked state is indicated by a green light and the locked state indicated by red light. In particular, all lamps 41 emit the same light to indicate the locked and unlocked states, at least unless a dangerous situation exists.
  • the lighting devices 41 can be controlled in at least two groups.
  • the different control options allow, for example, patterns to be created that indicate additional states of the safety system 1 to the user.
  • the additional display options allow a variety of states to be displayed to the user and/or operator in a compact and simple manner without additional display devices. This increases the safety of the safety system 1.
  • Each of the individually controllable groups of illuminants 41 can comprise only a single illuminant 41a, 41b, 41c, etc.
  • Each light source 41a, 41b, 41c, etc. can be controlled individually.
  • Each light source 41a, 41b, 41c, etc. is designed as an RGB LED.
  • the light sources 41a, 41b, 41c, etc. can be controlled such that each light source 41a, 41b, 41c, etc. can emit at least four different, preferably at least five different colors. These can be, for example, red, blue, yellow, green, and pink light.
  • the lamps 41 are controlled by the third emergency button processing unit 22.
  • the emergency button processing unit 22 and the lamps 41 are connected to a ring bus (not shown).
  • the lighting devices 41 are arranged on the first circuit board 60.
  • the acoustic alarm device 23 is also arranged on the first circuit board 60.
  • the acoustic alarm device 23 is controlled by the third emergency button processing unit 22.
  • the emergency button 10 can only indicate the unlocked state when all door locks 200, 1200 assigned to the emergency button 10 are in the unlocked state. In this case, the unlocked state is only indicated when the entire escape door width of the two door leaves 3, 4 is available for escape.
  • the emergency button 10 already indicates the unlocked state when one of the door locks 200, 1200 or all door locks of a door leaf 3, 4 are in the unlocked state. This indicates the escape option as early as possible when one of the door leaves 3, 4 is already unlocked.
  • the options can be selected by the operator.
  • a switch (not shown) can be provided in the safety system 1, for example.
  • the lighting devices 41 can indicate whether a fire alarm signal is present or whether an actuation signal has been generated.
  • the lamps 41 can be controlled in such a way that the progression of the unlocking delay after the activation signal is generated by the lamps 41 is indicated. For example, increasingly fewer lamps 41 emit light of one color, in particular red light.
  • an error can be represented by the lighting means 41.
  • the error that can be represented in this way can be an error of the security system 1.
  • the control device 100, the door lock controller 200, or the first or second emergency button processing unit 20, 21 of the security system 1 is not operational, defective, has failed, has been deliberately switched off, or has been removed.
  • the error can be an error of the alarm system connected to the security system 1, which is not operational, defective, has failed, has been deliberately switched off, or has been removed.
  • the light guide 40 comprises several light guide areas 44 (see the Figures 16 and 17 ). Each of the illuminants 41a, 41b, 41c, etc. is assigned a respective light guide region 44.
  • the light guide 40 can be conceptually divided into the light guide regions 44. Recesses 46 are provided between the light guide regions 44. Due to the recesses 46, the light essentially remains in the light guide regions 44.
  • Each light guide region 44 has a forwarding section 48.
  • the forwarding section 48 is arranged above the lighting means 41 in the transmission direction 702.
  • the transmission direction 702 is opposite to the actuation direction 700.
  • the forwarding section 48 serves to guide light up to a spreading section 45 of the light guide region 44.
  • the spreading section 45 spreads in the transmission direction 702.
  • the spreading section 45 adjoins the forwarding section 48 in the transmission direction 702.
  • the spreading section 45 serves to broaden the light beam of the emitted light.
  • the forwarding section 48 widens less than the spreading section 45.
  • the light guide 40 is formed in one piece.
  • the light guide 40 is made of a single material, in particular monolithic.
  • the light guide 40 is made of a translucent material.
  • the light guide regions 44 have a connecting section 49.
  • the connecting section 49 adjoins the spreading section 45 in the transmission direction 702.
  • the connecting sections 49 of the light guide regions 44 are integrally connected to one another in such a way that the one-piece and uniformly constructed light guide 40 is produced.
  • the connecting sections can have a depth of 2 mm to 6 mm, preferably 3 mm to 5 mm, particularly preferably 3.5 mm to 4.5 mm.
  • the light from one of the illuminants 41a, 41b, 41c, etc. is virtually limited to a luminous area 50a, 50b, 50c, 50d, 50e, 50f, 50g, 50h on the surface 47 of the light guide 40 facing the user.
  • Each light guide area 44 comprises a luminous area 50a, 50b, 50c, 50d, 50e, 50f, 50g, 50h.
  • the surface 47 of the light guide 40 corresponds to a circular ring.
  • the illuminated areas 50a, 50b, 50c, 50d, 50e, 50f, 50g, 50h are configured as sectors of the circular ring.
  • the corresponding illuminated area 50a, 50b, 50c, 50d, 50e, 50f, 50g, 50h is illuminated by the light emitted by a light source 41a, 41b, 41c, etc.
  • the circular ring encloses the actuating element 11.
  • the illuminants 41 can be controlled such that at least one illuminant 41a, 41b, 41c, etc. emits light of one color and at least one further illuminant 41a, 41b, 41c, etc. simultaneously emits light of a different color.
  • the illuminating areas 50a, 50b, 50e, 50f can display light of one color
  • the illuminating areas 50c, 50d, 50g, and 50h can display light of a different color.
  • the illuminating areas 50a, 50b, 50e, 50f are continuously illuminated, for example, the illuminating areas 50c, 50d, 50g, and 50h can be illuminated by illuminants 41 that emit flashing light.
  • the luminous areas 50a, 50b, 50e, 50f are first illuminated by the light of a first color and the luminous areas 50c, 50d, 50g and 50h are illuminated by the light of a second color; then the luminous areas 50a, 50h, 50d, 50e are illuminated by the light of the first color and the luminous areas 50b, 50c, 50f and 50g are illuminated by the light of the second color; then the luminous areas 50h, 50g, 50d, 50c are illuminated by the light of the first color and the luminous areas 50a, 50b, 50e and 50f are illuminated by the light of the second color, the impression of a circumferential color window is created.
  • the opposite luminous areas 50 ie the luminous areas 50 which lie on a straight line passing through the imaginary axis 701, in Figure 14 namely 50a and 50e or 50b and 50f or 50c and 50g or 50d and 50h, are preferably illuminated in the same way, ie in the same color and with the same flashing frequency.
  • the pattern can be perceived by users standing diagonally in front of the emergency button 10, even if the Actuating element 11 covers at least one of the opposing luminous areas 50.
  • the illumination region 32 protrudes by a maximum of 10 mm, preferably a maximum of 7 mm, particularly preferably a maximum of 5 mm above the light guide 40.
  • the emergency button 10 may include a brightness sensor (not shown).
  • the brightness sensor measures the ambient brightness of the emergency button 10. If the ambient brightness decreases, the luminous intensity of the light emitted by the lamps 41 is also reduced.
  • parameters can be set via a mobile communication device, e.g., how the lamps are to be controlled for which state of the security system 1. These parameters include the flashing frequencies of the lamps 41, whether a continuous or flashing light should be emitted, and which state should be indicated by which color.
  • the settings are stored in an electronic memory of the security system 1, in particular the control device 100.
  • the display of certain states may not be selectable by the operator and may be permanently stored in the electronic memory.
  • the operator can select states of the security system 1 that they wish to indicate using the lamps 41. For this purpose, colors and/or patterns can be emitted by the lamps 41 that are not predetermined and are not assigned to any state. For example, the operator can select which state they wish to indicate using blue light.
  • parameterization via the guard device 301 is possible.
  • the change in the state of the door lock 200 is then displayed after the door lock controller 201 has communicated the state change to the control device 100.
  • the control device 100 then controls the lighting means 41 or causes the lighting means 41 to be controlled.
  • initialization views are generated successively at fixed time intervals by the lighting means 41.
  • possible enabled functions of the control device 100 are displayed.
  • the emergency buttons 10, 1010, 2010, 3010 and door locks 200, 1200, 2200, 3200 that can be integrated into the security system 1 are displayed, with the status error-free/faulty/not present. is displayed.
  • a third initialization view shows the status of inputs and outputs.
  • the first to third emergency processing units 303, 304, 305 are arranged on the second circuit board of the central emergency button 302.
  • the emergency button switch 307 terminates on the first circuit board of the central emergency button 302.
  • a first and a second circuit on the first circuit board are opened, which can be detected wirelessly by the first and second emergency processing units 303, 304.
  • the first and second circuit boards are connected via connectors.
  • the light guide of the central emergency button 302 corresponds in structure and function to the light guide 40.
  • the lamps 313 can be controlled in the same way as the lamps 41.
  • a covering means 13 corresponding to the covering means 13 is designed differently or is missing in the central emergency button 302.
  • the lighting means 313 do not serve to visually display a locking state of an emergency button 10.
  • the lighting means 313 serve to visually display the first and second delay periods and/or to visually display that a lifting operation is possible.
  • the security system 1 does not necessarily have to have all the functions described in the description for at least one of the Figures 1 to 10 Rather, the functions mentioned in the description for at least one of the Figures 1 to 10 mentioned above. However, in order to execute the functions, the functions must be enabled. This is done by the control device 100 communicating with a communication module 801.
  • the communication module 801 is designed as a chip card.
  • the communication module 801 comprises a memory in which at least one code for enabling at least one function is stored.
  • the communication module 801 comprises a microprocessor which only serves to encrypt the code.
  • the communication module 801 is inserted into a receptacle 77 of the control device 100 (see Fig. 18a ).
  • the communication module 801 is held mechanically in the receptacle 77 in a form-fitting and/or force-fitting manner. At the same time, the communication module 801 is electrically contacted by the arrangement in the receptacle 77, so that the control device 100 can read the at least one code from the communication module 801. The control device 100 and the communication module 801 are wired (not shown).
  • control device 100 To read the code, the control device 100 must first gain access to the communication module 801 using a password. The control device 100 must decrypt at least one code before the function can be enabled. Enabling the function unlocks the program code that enables the function to be executed.
  • the program code with which the function can be executed is enabled. If the program code is stored on the emergency button 10 and the control device 100 and the emergency button 10 are connected to each other via the first bus system 400, the control device 100 initiates an activation in the emergency button 10 via the first bus system 400 after reading the code from the communication module 801. If the program code is stored in the door locking controller 201, the control device 100 initiates an activation in the door locking controller 201 via the first bus system 801 after reading the code from the communication module 801.
  • a code can unlock one or more functions, especially function blocks.
  • the function remains enabled only if the code is repeatedly read from the communication module 801, in particular at regular intervals. For this purpose, predetermined, non-adjustable time intervals can be stored in the control device 100. After the predetermined time interval has elapsed, the control device 100 blocks the function if the associated code could not be read from the communication module 801. If the function is performed by the emergency button 10, which is connected to the control device 100 via the first bus system 400, the control device 100 initiates a blocking of the function via the first bus system 400. If the function is performed by the door locking controller 201, which is connected to the control device 100 via the first bus system 400 is connected, the control device 100 causes the function to be blocked via the first bus system 400.
  • the communication module 801 is referred to below as the parent module 801.
  • the additional communication module 802 is referred to below as the auxiliary module.
  • the auxiliary module 802 is designed as a chip card.
  • the auxiliary module 802 comprises a memory in which at least one code for enabling the additional function is stored.
  • the auxiliary module 802 comprises a microprocessor that serves only to encrypt the code.
  • the code Code3, which is stored on the auxiliary module 802, is read out by the control device 100 (see Fig. 18b ). To read the code Code3, the control device 100 must first gain access to the auxiliary module 802 using a password. The control device 100 must decrypt at least one code before the function can be enabled.
  • the code Code3 of the auxiliary module 802 is stored in a memory 107 of the control device 100 (see Fig. 18c ). The code of the auxiliary module 802 is then deleted on the auxiliary module 802 (see Fig. 18c ). The auxiliary module 802 is removed from the holder 77. The mother module 801 is then inserted into the holder 77 (see Fig. 18d ). The code of the auxiliary module 802 is stored on the mother module 801 (see Fig. 18d ). The code is deleted from the memory of the control device 100 (see Fig. 18d ). The additional function will be activated.
  • the code is not stored in the control device 100 (see Fig. 18a, d ).
  • the code is not deleted. Rather, the mother module 801 serves for a permanent arrangement in the receptacle 77.
  • the codes Code1, Code2, Code3 stored on the mother module 801 are repeatedly read out.
  • the control device 100 decides, based on an identifier K801, K802 of the communication module 801, 802, whether it is a mother module 801 or an auxiliary module 802.
  • the identifier K801, K802 is stored electronically in particular on the mother module 801 and the auxiliary module 802.
  • the identifier K801 of the mother module 801 differs from the identifier K802 of the auxiliary module 802.
  • Insertion and removal from the holder 77 are performed manually. The remaining processes are performed automatically.
  • Insertion and removal from the receptacle 77 can be reserved for an operator.
  • the receptacle 77 is arranged inaccessible to an unauthorized user.
  • the tamper switch 66 is activated in the event of an unauthorized attempt to access the receptacle.
  • the receptacle can be arranged between the first circuit board 60 and the second circuit board 61, e.g., on an underside of the first circuit board 60.
  • a mother module 801 For the safety system 1 to be functional, a mother module 801 must be arranged in a receptacle 77 of the safety system 1. For the safety system 1 to remain functional for longer than the specified time interval, the mother module 801 must remain in the receptacle 77.
  • Each emergency button 10, 10', 1010, 1010', 2010, 2010', 3010 comprises a receptacle 77.
  • Exactly one mother module 801 is required and provided for each first bus system 400, 400' of the safety system 1. Only when the mother module 801 is inserted into the receptacle of an emergency button 10, 10', 1010, 1010', 2010, 2010', 3010 does the emergency button 10, 10', 1010, 1010', 2010, 2010', 3010 simultaneously serve as a control device 100 for the corresponding first bus system 400, 400'.
  • the remaining emergency buttons 10, 10', 1010, 1010', 2010, 2010', 3010 of the safety system 1, in whose receptacles no mother module 801 is located, contain the same program codes as in the control device 100.
  • the program codes are not enabled, so that the remaining emergency buttons 10, 10', 1010, 1010', 2010, 2010', 3010 cannot serve as the control device 100. Because the mother module 801 is located in the receptacle 77, the emergency button 10, 10', 1010, 1010', 2010, 2010', 3010 serves as the control device 100.
  • a mother module 801 is inserted into a receptacle 77 of the processing electronics 101. Because the mother module 801 is located in the receptacle 77, the processing electronics 101 is capable of performing the functions of the control device 100.
  • the safety system 1 comprises several subsystems 5, 6 and thus several first bus systems 400, 400', the safety system 1 comprises exactly the same number of mother modules 801, 801' as there are subsystems 5, 6 (see Figure 10 ).
  • the emergency button 10' which communicates with the mother module 801', and the processing electronics 101 of the control device 100 from Figure 10 which communicates with the mother module 801 are also provided to be connected to the second bus system 401.
  • the parent module 801, 801' can contain different codes for each subsystem 5, 6, thus enabling different functions.
  • the parent module 801' of the second subsystem 6 can contain a code for the selective assignment of the door locks 200', 1200', 2200' to the emergency buttons 10', 1010', 2010'.
  • the code for a selective assignment of door locks to emergency buttons on the parent module 801 is not necessary for subsystem 5.
  • the communication module 801, 801', 802 can have a gap 803 through which a self-adhesive tape, in particular, is passed.
  • the self-adhesive tape serves for manually removing the communication module 801, 801', 802 from the receptacle 77.
  • the self-adhesive tape includes information about the functions that can be activated by the codes stored on the respective communication module 801, 801', 802. The information can be a color code, a QR code, and/or a barcode.
  • the communication module 801, 801', 802 can be designed as a chip card with a flexible section.
  • the part of the chip card protruding from the recess 77 can be provided with the information, i.e., the color code, the QR code, and/or the bar code.
  • a mother module 801 once inserted in a security system 1 can be functionally re-inserted in a receptacle 77 of another security system 1 according to the invention.

Landscapes

  • Business, Economics & Management (AREA)
  • Emergency Management (AREA)
  • Alarm Systems (AREA)
  • Lock And Its Accessories (AREA)

Description

  • Die Erfindung betrifft ein Sicherheitssystem zur Steuerung und/oder Überwachung von Türverriegelungen zur Fluchtwegsicherung. Das Sicherheitssystem umfasst Türverriegelungssteuerungen, wobei eine Türverriegelungssteuerung zur Ansteuerung von einem Verriegelungsmechanismus, der der Türverriegelungssteuerung zuzuordnen ist, dient. Das Sicherheitssystem umfasst Auslöseelemente, insbesondere Nottaster, wobei in Folge einer Betätigung eines Auslöseelements eine Ansteuerung zumindest eines Verriegelungsmechanismus veranlassbar ist, gemäß dem Oberbegriff des Patentanspruchs 1.
  • Sicherheitssysteme mit einem Nottaster zur Fluchtwegsicherung sind bekannt. Bei einer Betätigung des Nottasters wird eine Türverriegelung entriegelt, so dass ein Benutzer im Gefahrenfall fliehen kann. Hierbei werden immer der Nottaster und mit jeweils der(n)jenigen Türverriegelung(en) elektrisch miteinander verbunden, die entriegelt werden soll(en), wenn der Nottaster betätigt ist. Wird der Nottaster betätigt, so wird die Stromversorgung zwischen der Türverriegelung und dem Nottaster unterbrochen, wodurch die Türverriegelung entriegelt wird.
  • Aus der EP 2 725 172 A2 ist es bekannt, einen Nottaster und eine Türverriegelung über ein Bussystem miteinander zu verbinden. Hierbei ist nur eine Türverriegelung mit einem Bussystem verbunden. Somit wird für jede Tür ein eigenes Bussystem benötigt.
  • Das Dokument DE19937034 A1 betrifft eine elektrisch schaltbare Zuhaltevorrichtung für Flucht- und Rettungswegsystemen umfassend mehrere Türöffner und mehrere Betätigungstaster, die alle an ein Bussystem angeschlossen sind, wobei jeder Türöffner eine Verriegelungsvorrichtung und eine Mikroprozessorsteuerung umfasst, wobei die Zuordnung von Türöffnern und Betätigungstastern zueinander frei programmiert werden kann und eine nachträgliche Änderung der einzelnen Zuordnungen über eine Programmierung der betroffenen Türöffner und Betätigungstaster möglich ist.
  • Es ist daher Aufgabe der vorliegenden Erfindung, ein Sicherheitssystem zur Verfügung zu stellen, das insbesondere auf einfache und/oder materialsparende Weise eine Fluchtwegsicherung für mehrere Türen ermöglicht.
  • Diese Aufgabe wird durch ein Sicherheitssystem gemäß dem unabhängigen Anspruch 1 gelöst. Vorteilhafte Weiterbildungen des Sicherheitssystems sind in den abhängigen Ansprüchen, der Beschreibung und in den Figuren angegeben. Dabei können die in der Beschreibung und in den Ansprüchen erwähnten Merkmale jeweils einzeln für sich oder in Kombination erfindungswesentlich sein.
  • Die zuvor hergeleitete und aufgezeigte Aufgabe ist ausgehend von dem eingangs beschriebenen Sicherheitssystem dadurch gelöst, dass eine Anzahl von Türverriegelungssteuerungen und eine Anzahl von Auslöseelemente über ein gemeinsames Bussystem miteinander verbunden sind und die Anzahl von Türverriegelungssteuerungen der Anzahl von Auslöseelementen derart zugeordnet sind, dass bei einer Betätigung eines der Auslöseelemente nur die zumindest eine Türverrieglungssteuerung, die dem betätigten Auslöseelement zugeordnet ist, den jeweiligen Verriegelungsmechanismus zur Entriegelung ansteuert.
  • Das Sicherheitssystem umfasst das gemeinsame Bussystem. Das gemeinsame Bussystem wird im Folgenden als erstes Bussystem bezeichnet. Unter einer Verbindung mit einem Bussystem wird im Folgenden eine unmittelbare Verbindung verstanden, so dass eine mit dem Bussystem verbundene Komponente als Busteilnehmer des Bussystems mit einer eigenen Busadresse anzusehen ist.
  • Das Sicherheitssystem umfasst mehrere Auslöseelemente und mehrere Türverriegelungssteuerungen. Hierbei ist eine erste Anzahl m von Auslöseelemente und eine zweite Anzahl m' von Türverriegelungssteuerungen mit dem ersten Bussystem verbunden. Hierbei entsprechen m und m' einer natürlichen Zahl von mindestens zwei, bevorzugt mindestens drei, besonders bevorzugt mindestens vier.
  • In einem Beispiel ist n gleich vier. Die erste Anzahl m kann der zweiten Anzahl m' gleichen oder sich von der zweiten Anzahl m' unterscheiden. Erfindungsgemäß ist eine selektive Entriegelung der Türverriegelungen vorgesehen. So werden in Folge der Betätigung eines der Auslöseelemente, die mit dem ersten Bussystem verbunden sind, nicht alle Türverriegelungssteuerungen, die mit dem ersten Bussystem verbunden sind, veranlasst, den jeweiligen Verriegelungsmechanismus zur Entriegelung anzusteuern, sondern nur diejenigen Türverriegelungssteuerungen, die zuvor dem betätigten Auslöseelement zugeordnet worden sind. Die übrigen Türverriegelungssteuerungen, die nicht dem betätigten Auslöseelement zugeordnet worden sind, unterlassen eine Ansteuerung des jeweiligen Verriegelungsmechanismus zur Entriegelung.
  • Hierdurch ist es möglich, die Türverriegelungen, die mit dem ersten Bussystem verbunden sind, an unterschiedlichen Türen anzuordnen. Wird das Auslöseelement betätigt, so kann sich z. B. nur die Tür, an der das Auslöseelement angeordnet ist, öffnen lassen. Die anderen Türen bleiben verschlossen. Es ist ebenfalls möglich, die Türverriegelungssteuerungen derartig einem Auslöseelement zuzuordnen, dass bei einer Betätigung des Auslöseelements sich mehrere Türen öffnen lassen. Hierzu müssen nur entsprechend viele Türverriegelungssteuerungen dem Auslöseelement zugeordnet werden. Dadurch, dass die Türverriegelungssteuerungen und die Auslöseelemente über das erste Bussystem miteinander verbunden sind, ist eine materialsparende Möglichkeit geschaffen worden, selektiv Türverriegelungen zu entriegeln.
  • In einer Ausführung, die nicht zur vorliegenden Erfindung gehört, ist es auch möglich, alle Türverriegelungssteuerungen zumindest einem Auslöseelement, insbesondere allen Auslöseelementen zuzuordnen. In diesem Fall entfällt das selektive Entriegelung bei einer Betätigung des Auslöseelements.
  • Zumindest jedoch lässt das erfindungsgemäße Sicherheitssystem dem Bediener des Sicherheitssystems die Wahl, ob eine selektive Entriegelung gewünscht ist oder nicht.
  • Das Auslöseelement kann ein manuell betätigbares Betätigungselement umfassen. In Folge der Betätigung des Betätigungselements kann ein Betätigungssignal erzeugbar sein.
  • Das Auslöseelement ist bevorzugt als ein Nottaster ausgebildet. In diesem Fall entspricht das Betätigungselement dem Betätigungselement des Nottasters. Alternativ kann das Auslöseelement als eine Panikstangenbaugruppe ausgebildet sein. Das Betätigungselement ist in diesem Fall als Panikstange ausgebildet. Das Auslöseelement kann als eine Beschlagbaugruppe ausgebildet sein. In diesem Fall ist das Betätigungselement z. B. als ein Türgriff ausgebildet.
  • Als Verriegelung wird die Überführung einer Türverriegelung oder eines Verriegelungsmechanismus in einen verriegelten Zustand verstanden. Als Entriegelung wird die Überführung einer Türverrieglung oder eines Verriegelungsmechanismus in einen entriegelten Zustand verstanden.
  • Jeder Türverriegelungssteuerung ist zumindest ein Verriegelungsmechanismus zugeordnet. Z. B. kann jeder Türverriegelungssteuerung genau ein Verriegelungsmechanismus zugeordnet sein. Jede Türverriegelung umfasst eine Türverriegelungssteuerung und einen Verriegelungsmechanismus.
  • Der jeweilige Verriegelungsmechanismus kann z. B. elektromechanisch oder rein elektromagnetisch ausgebildet sein. Der Verriegelungsmechanismus umfasst z. B. zumindest eine Spule. Eine Ansteuerung des Verriegelungsmechanismus zur Verriegelung oder Entriegelung kann insbesondere in einem Ab- oder Anschalten einer elektrischen Stromversorgung realisiert sein. Die elektrische Stromversorgung kann zur Versorgung der Spule mit elektrischem Strom dienen.
  • Ein elektromagnetischer Verriegelungsmechanismus ist beispielhaft in der DE100 50 111 C1 beschrieben. Im entriegelten Zustand wirken z. B. keine magnetischen Kräfte auf die Tür. In dem verriegelten Zustand wirken z. B. magnetische Kräfte auf eine Tür.
  • Ein elektromechanischer Verriegelungsmechanismus weist im verriegelten Zustand eine mechanische Verbindung zur Tür auf. Im entriegelten Zustand ist die mechanische Verbindung aufhebbar oder aufgehoben.
  • So kann der elektromechanische Verriegelungsmechanismus z. B. ein Riegelelement, d. h. einen Riegel oder eine Türfalle, aufweisen, das sich in dem entriegelten Zustand der Türverriegelung in einer zurückgezogenen Position befindet. In der zurückgezogenen Position befindet sich das Riegelelement außer Eingriff mit der Tür. In dem verriegelten Zustand befindet sich das Riegelelement im Eingriff mit der Tür. In einer weiteren Alternative eines elektromechanischen Verriegelungsmechanismus ist der Verriegelungsmechanismus nach Art eines Türöffners aufgebaut. D. h. der Verriegelungsmechanismus umfasst ein Fallenelement. Im verriegelten Zustand der Türverriegelung befindet sich eine Türfalle der Tür im Eingriff mit dem Verriegelungsmechanismus. Im entriegelten Zustand gibt das Fallenelement die Türfalle derart frei, dass die Türfalle, insbesondere durch Druck auf die Tür, außer Eingriff mit dem Verriegelungsmechanismus gelangen kann.
  • Bevorzugt führt ein Abschalten der elektrischen Stromversorgung zu einem entriegelten Zustand der Türverriegelung. Somit wird die Ansteuerung des Verriegelungsmechanismus zur Entriegelung der Türverriegelung durch ein Abschalten der elektrischen Stromversorgung realisiert. Bevorzugt führt ein Anschalten der elektrischen Stromversorgung zu einem verriegelten Zustand der Türverriegelung. Somit wird die Ansteuerung des Verriegelungsmechanismus zur Verriegelung durch ein Anschalten der elektrischen Stromversorgung realisiert. Die Türverriegelungssteuerung steuert den jeweils zugeordneten Verriegelungsmechanismus zur Ver- und Entriegelung an. Hierzu kann die Türverriegelungssteuerung die elektrische Stromversorgung für den Verriegelungsmechanismus an- und abschalten.
  • Eine "Ansteuerung zur Verriegelung oder Entriegelung" liegt auch dann vor, wenn das Sicherheitssystem eine Rückmeldung über den Zustand des Verriegelungsmechanismus erhält. Eine "Ansteuerung zur Verriegelung oder Entriegelung" liegt auch dann vor, wenn, wie durch die Rückmeldung detektiert, der Verriegelungsmechanismus nicht dem Soll-Zustand entspricht und daher ein Alarm ausgegeben wird und/oder ein erneuter Versuch unternommen wird, den Soll-Zustand zu erreichen.
  • Das Sicherheitssystem kann ohne zumindest einen der Verriegelungsmechanismen ausgebildet sein. In diesem Fall steuert die jeweilige Türverriegelungssteuerung den Verriegelungsmechanismus lediglich an. Z. B. schaltet die Türverriegelungssteuerung die elektrische Stromversorgung für den Verriegelungsmechanismus an oder ab oder veranlasst ein An- oder Abschalten der elektrischen Stromversorgung. Das Sicherheitssystem kann zumindest eine Türverriegelungssteuerung, deren zugeordneter Verriegelungsmechanismus nicht von dem Sicherheitssystem umfasst ist, aufweisen. Die Türverrieglungssteuerung ist in diesem Fall als Türverriegelungsadapter ausgebildet. Der Türverriegelungsadapter dient dazu, das erfindungsgemäße Sicherheitssystem bei schon montierten Verriegelungsmechanismen einzusetzen.
  • Besonders bevorzugt umfasst das Sicherheitssystem die Türverriegelungen.
  • Zumindest eine der Türverriegelung oder der Verriegelungsmechanismen können in einem mechanischen Schloss integriert sein.
  • Im Folgenden wird zwischen einem Benutzer und einem Bediener unterschieden. Ein Benutzer kann jede Person sein, die das Sicherheitssystem benutzt. Ein Benutzer kann z. B. ein Gast sein, der durch die durch das Sicherheitssystem gesicherte Tür fliehen will. Ein Bediener dient zur Bedienung des Sicherheitssystems. Der Bediener hat Zugang zu einer Wachvorrichtung des Sicherheitssystems und/oder kann sich gegenüber dem Sicherheitssystem authentifizieren, insbesondere um das Sicherheitssystem zu bedienen. Die Wachvorrichtung kann als ein PC oder ein Monitor ausgebildet sein.
  • Das Sicherheitssystem dient insbesondere zur Fluchtwegsicherung. Das Sicherheitssystem dient somit zur Freigabe des Fluchtwegs. D. h. die Betätigung des Betätigungselements führt ohne eine Authentifizierung des Benutzers zu einer Entriegelung. Die Entriegelung kann unmittelbar oder zeitverzögert erfolgen.
  • Das Auslöseelement kann eine Ansteuerung des Verriegelungsmechanismus zur Entriegelung veranlassen. Unter dem Veranlassen einer Ansteuerung wird insbesondere das Senden einer Nachricht über das erste Bussystem oder/und ein zweites Bussystem verstanden, die eine Information und/oder einen Befehl enthält, die den unmittelbaren oder mittelbaren Empfänger der Nachricht veranlasst, die Ansteuerung vorzunehmen. Der Sender der Nachricht initiiert die Ansteuerung. Somit wird unter Veranlassen einer Ansteuerung eine indirekte Ansteuerung verstanden. So kann z. B. das Auslöseelement eine Nachricht über das erste Bussystem an die Türverriegelungssteuerung senden, woraufhin die Türverriegelungssteuerung den Verriegelungsmechanismus zur Entriegelung ansteuert. Das Auslöseelement kann insbesondere zeitverzögert die Entriegelung des Verriegelungsmechanismus veranlassen.
  • In Folge einer Betätigung wird so verstanden, dass eine Betätigung ursächlich ist, unabhängig davon, ob die Betätigung fortdauert oder nicht.
  • Die Zuordnung der Anzahl der Türverriegelungssteuerungen und der Anzahl der Auslöseelemente erfolgt zueinander. Daher kann sowohl bezeichnet werden, dass die Türverriegelungssteuerungen den Auslöseelementen zugeordnet sind, als auch, dass die Auslöseelemente den Türverriegelungssteuerungen zugeordnet sind.
  • Es ist erfindungsgemäß vorgesehen, dass in den Türverriegelungssteuerungen, die zur Anzahl von Türverriegelungssteuerungen gehören, jeweils hinterlegt ist, zu welchem zumindest einen Auslöseelement die jeweiligen Türverriegelungssteuerung zugeordnet ist. Hierdurch ist es für die Türverriegelungssteuerung möglich zu entscheiden, ob das Auslöseelement, das die Türverriegelung zu einer Ansteuerung des Verriegelungsmechanismus zur Entriegelung veranlassen will, auch tatsächlich dem Auslöseelement zugeordnet ist.
  • Hierzu kann vorgesehen sein, dass die Auslöseelemente eine Busadresse umfassen. Jeweils ein Auslöseelement umfasst zumindest eine Busadresse. Die Busadresse des Auslöseelements kann in der zumindest einen dem Auslöseelement zugeordneten Türverriegelungssteuerung zur Zuordnung hinterlegt sein. Hierdurch ist eine sichere Zuordnung möglich. Insbesondere ist die Busadresse in dem jeweiligen Auslöseelement unveränderbar hinterlegt. D. h. ein Benutzer oder ein Bediener können die Busadresse nicht verändern. So kann die Busadresse nicht durch ein Parametrierungsprogramm oder durch eine Einstellmöglichkeit des Auslöseelements veränderbar sein.
  • Erfindungsgemäß werden alle Türverriegelungssteuerungen der Anzahl von Türverriegelungssteuerungen in Folge der Betätigung des Auslöseelements von dem Auslöseelement über die Betätigung benachrichtigt.
  • Unter alle Türverriegelungssteuerungen der Anzahl von Türverriegelungssteuerungen sind alle Türverriegelungen, die mit dem ersten Bussystem verbunden sind, zu verstehen. Das Auslöseelement, das betätigt worden sind, sendet eine Nachricht über die Betätigung an alle Türverriegelungssteuerungen des ersten Bussystems. Die benachrichtigten Türverriegelungssteuerungen entscheiden, ob der den Türverriegelungssteuerungen zugeordnete Verriegelungsmechanismus zur Entriegelung anzusteuern ist. Hierzu überprüft jede Türverriegelungssteuerung, die mit dem ersten Bussystem verbunden ist, ob die jeweilige Türverriegelungssteuerung dem die Nachricht sendenden Auslöseelement zugeordnet ist. Nur wenn die Türverriegelungsteuerung feststellt, dass die Türverriegelungssteuerung dem die Nachricht sendenden Auslöseelement zugeordnet ist, steuert die Türverriegelungssteuerung den Verriegelungsmechanismus zur Entriegelung an. Vorzugsweise ist vorgesehen, dass die Zuordnung der Türverriegelungssteuerungen zu den Auslöseelementen nur bei Inbetriebnahme des Sicherheitssystems erfolgt. Bei Inbetriebnahme bedeutet hierbei, dass die Zuordnung erfolgt, bevor das Sicherheitssystem mit dem Betrieb beginnt. Insbesondere werden zusätzlich bei der Inbetriebnahme Parameter für das Sicherheitssystem eingestellt.
  • Die Zuordnung der Türverriegelungssteuerungen zu den Auslöseelementen kann durch eine bewusste Handlung eines Bedieners erfolgen. Die Zuordnung der Türverriegelungssteuerungen zu den Auslöseelementen kann über das erste Bussystem erfolgen. Anders ausgedrückt kann das erste Bussystem in die Zuordnung der Türverriegelungssteuerungen zu den Auslöseelementen involviert sein. So kann es sein, dass im Zuge der Zuordnung ein Auslöseelement die Busadresse des Auslöseelements über das erste Bussystem versendet.
  • Besonders bevorzugt ist die Zuordnung der Türverriegelungssteuerungen zu den Auslöseelementen unmittelbar an den Auslöseelementen und/oder an den Türverriegelungssteuerungen einzustellen. Hierdurch kann z. B. die Zuordnung nur dadurch erfolgen, dass der Bediener zur Einstellung das Auslöseelement und/oder die dem Auslöseelement zuzuordnende Türverriegelungssteuerungen zumindest sieht, insbesondere physisch kontaktiert und/oder manuell betätigt.
  • Beispielsweise kann bei der Inbetriebnahme des Sicherheitssystems in einem Zuordnungsmodus der Türverriegelungssteuerung durch eine am zuzuordnenden Auslöseelement vorgenommene bewusste Handlung die Zuordnung der sich in dem Zuordnungsmodus befindenden Türverriegelungssteuerung zu dem Auslöseelement, an dem die Handlung vorgenommen wird, erfolgen. Die am Auslöseelement vorzunehmende bewusste Handlung kann eine Betätigung des Auslöseelements umfassen. Insbesondere kann die am Auslöseelement vorzunehmende bewusste Handlung einer Betätigung des Auslöseelements entsprechen. Hierdurch kann eine besonders sichere Zuordnung erreicht werden.
  • Die Türverriegelungssteuerung kann ein erstes und ein zweites digitales Verarbeitungsmittel umfassen. Das erste und/oder das zweite Verarbeitungsmittel können jeweils einen Prozessor umfassen. Das erste und/oder das zweite Verarbeitungsmittel können z. B. jeweils als Mikroprozessoren - oder Mikrocontroller ausgebildet sein. Das erste und/oder das zweite Verarbeitungsmittel können jeweils einen nicht flüchtigen Speicher umfassen.
  • Es kann sein, dass sowohl in dem ersten Verarbeitungsmittel als auch in dem zweiten Verarbeitungsmittel hinterlegt ist, zu welchem zumindest einen Auslöseelement die jeweiligen Türverriegelungssteuerung zugeordnet ist. Hierdurch wird eine Redundanz erreicht.
  • Bevorzugt ist dabei vorgesehen, dass der Verriegelungsmechanismus von dem ersten Verarbeitungsmittel und redundant von dem zweiten Verarbeitungsmittel ansteuerbar ist.
  • Das Auslöseelement, insbesondere der Nottaster, kann eine Elektronikeinheit umfassen. Die Elektronikeinheit kann eine erste und eine zweite digitale Auslöseelementverarbeitungseinheit, insbesondere eine erste und eine zweite Nottasterverarbeitungseinheit, umfassen. Die erste und/oder die zweite Auslöseelementverarbeitungseinheit, insbesondere die erste und/oder die zweite Nottasterverarbeitungseinheit, können jeweils einen Prozessor umfassen. Die erste und/oder die zweite Auslöseelementverarbeitungseinheit, insbesondere die erste und/oder die zweite Nottasterverarbeitungseinheit, können als Mikroprozessor- oder Mikrocontroller ausgebildet sein. Die erste und die zweite Auslöseelementverarbeitungseinheit können jeweils einen nicht flüchtigen Speicher umfassen. Zusätzlich kann die Elektronikeinheit eine dritte digitale Auslöseelementverarbeitungseinheit umfassen.
  • Die erste und die zweite Auslöseelementverarbeitungseinheit können jeweils unabhängig voneinander ein Betätigungssignal erfassen. Hierbei erfasst die erste Auslöseelementverarbeitungseinheit ein erstes Betätigungssignal und die zweite Auslöseelementverarbeitungseinheit ein zweites Betätigungssignal. Die erste und die zweite Auslöseelementverarbeitungseinheit können daraufhin jeweils unabhängig voneinander über das erste Bussystem die Ansteuerung des Verriegelungsmechanismus zur Entriegelung veranlassen. Hierbei wird insbesondere zumindest eine Nachricht, in der die erste und/oder die zweite Auslöseelementverarbeitungseinheit über das Vorliegen des ersten bzw. zweiten Betätigungssignals informieren, über das erste Bussystem an die Türverriegelungssteuerung gesendet. Hierbei informiert insbesondere die erste Auslöseelementverarbeitungseinheit das erste Verarbeitungsmittel und die zweite Auslöseelementverarbeitungseinheit das zweite Verarbeitungsmittel. Hierdurch steuern insbesondere sowohl das erste als auch das zweite Verarbeitungsmittel den Verriegelungsmechanismus zur Entriegelung an, also schalten die elektrische Stromversorgung ab.
  • Die erste und die zweite Auslöseelementverarbeitungseinheit können sich z. B. gegenseitig überwachen. Wird ein Fehler detektiert, so veranlasst die Elektronikeinheit, insbesondere die intakte Auslöseelementverarbeitungseinheit, dass das erste und das zweite Verarbeitungsmittel den Verriegelungsmechanismus zur Entriegelung ansteuern.
  • Das erste und das zweite Verarbeitungsmittel können sich gegenseitig überwachen. Wird ein Fehler detektiert, so wird zumindest von dem intakten Verarbeitungsmittel der Verriegelungsmechanismus zur Entriegelung angesteuert.
  • Ein Lebenszeichensignal der ersten und der zweiten Auslöseelementverarbeitungseinheit wird bevorzugt regelmäßig an die Türverriegelungssteuerung gesendet. Die erste und die zweite Auslöseelementverarbeitungseinheit geben dabei insbesondere jeweils ein eigenes Lebenszeichensignal ab. Die Lebenszeichensignale können dabei in einer Nachricht enthalten sein. Das erste Verarbeitungsmittel prüft hierbei das Lebenszeichen der ersten Auslöseelementverarbeitungseinheit und das zweite Verarbeitungsmittel prüft das Lebenszeichen der zweiten Auslöseelementverarbeitungseinheit. Bleibt eines der Lebenszeichensignale einmal oder mehrfach aus, so wird von dem ersten und dem zweiten Verarbeitungsmittel der Verriegelungsmechanismus zur Entriegelung angesteuert. Hierbei kann das eine Verarbeitungsmittel das andere Verarbeitungsmittel über das Ausbleiben des Lebenszeichens informieren.
  • Das erste und das zweite Verarbeitungsmittel kommunizieren miteinander, wenn die Türverriegelungssteuerung eine Nachricht über die Betätigung des Auslöseelements und/oder das Vorliegen eines Brandmeldesignals erhalten hat. Stellt nur das erste Verarbeitungsmittel oder das zweite Verarbeitungsmittel fest, dass das Auslöseelement betätigt wurde oder ein Brandmeldesignal vorliegt, so steuert das feststellende Verarbeitungsmittel den Verriegelungsmechanismus zur Entriegelung und/oder veranlasst das andere Verarbeitungsmittel ebenfalls den Verriegelungsmechanismus zur Entriegelung anzusteuern.
  • Es kann sein, dass stets die erste Auslöseelementverarbeitungseinheit die sicherheitsrelevante Nachricht, z. B. die Nachricht über das Vorliegen eines Betätigungssignals, die Lebenszeichen, an die Türverriegelungssteuerung sendet. Die Nachricht umfasst die Informationen der ersten und der zweiten Auslöseelementverarbeitungseinheit.
  • Neben der bereits beschriebenen Funktion, dass die Auslöseelemente in Folge einer Betätigung die zugeordneten Türverriegelungssteuerungen zur Entriegelung veranlassen (Funktion a.) kann zumindest eines der Auslöseelemente, die mit dem ersten Bussystem verbunden sind, noch zumindest eine weitere Funktion ausführen.
  • Das Auslöseelement kann mit einer Brandmeldeanlage verbindbar sein. Das Auslöseelement kann ein Brandmeldesignal empfangen. Nach dem Empfang des Brandmeldesignals kann das Auslöseelement eine Ansteuerung zumindest eines Verriegelungsmechanismus zur Entriegelung veranlassen (Funktion b.). Insbesondere sendet das Auslöseelement hierzu eine Nachricht über das Vorliegen des Brandmeldesignals an die Türverriegelungssteuerung, woraufhin die Türverriegelungssteuerung den Verriegelungsmechanismus zur Entriegelung ansteuert. Insbesondere sendet das Auslöseelement an alle Türverriegelungssteuerungen, die mit dem ersten Bussystem verbunden sind, eine derartige Nachricht. Bevorzugt steuern nur die zumindest eine Türverriegelungssteuerung den jeweiligen Verriegelungsmechanismus zur Entriegelung daraufhin an, die dem Auslöseelement, das die Nachricht gesendet hat, zugeordnet ist.
  • Das Auslöseelement kann die Ansteuerung des Verriegelungsmechanismus zur Entriegelung in Folge einer Betätigung des Auslöseelements zeitlich verzögern (Funktion c.). Hierbei ist insbesondere vorgesehen, dass das Auslöseelement zeitverzögert veranlasst, dass der Verriegelungsmechanismus zur Entriegelung angesteuert wird. Hierbei kann das Auslöseelement zeitverzögert eine Nachricht bezüglich der Betätigung an die Türverriegelungssteuerung(en) senden. Die Nachricht kann an alle Türverriegelungssteuerungen des ersten Bussystems, wie zuvor beschrieben, oder an die zumindest eine zugeordnete Türverriegelungsteuerung gesendet werden. Zum Bestimmen der Zeitverzögerung kann das Auslöseelement einen Timer umfassen.
  • Das Auslöseelement kann die Ansteuerung des Verriegelungsmechanismus um eine erste Verzögerungszeitdauer verzögern. Es kann sein, dass innerhalb der ersten Verzögerungszeitdauer das Auslöseelement eine Nachricht erhält, die Ansteuerung des Verriegelungsmechanismus um eine zweite Verzögerungszeitdauer zu verzögern. Es kann sein, dass das Auslöseelement mittels des Timers die erste Verzögerungszeitdauer und/oder die zweite Verzögerungszeitdauer ermittelt. Bei Beendigung der ersten oder zweiten Zeitverzögerungsdauer kann das Auslöseelement die Ansteuerung des Verriegelungsmechanismus zur Entriegelung veranlassen. Selbstverständlich werden nur die Verriegelungsmechanismen angesteuert, deren Türverriegelungssteuerungen dem Auslöseelement zugeordnet sind.
  • Das Sicherheitssystem kann eine zentrale Fluchtwegsteuerung umfassen. Die zentrale Fluchtwegsteuerung ist dafür vorgesehen, entfernt von dem Auslöseelement und/oder der Türverriegelung angeordnet zu werden. Insbesondere ist die zentrale Fluchtwegsicherung dazu vorgesehen, in einem Wachraum angeordnet zu werden. In dem Wachraum kann sich auch eine Wachvorrichtung, z. B, ein Monitor oder ein Personal Computer zur Überwachung befinden.
  • Die zentrale Fluchtwegsteuerung ist insbesondere mit einem zweiten Bussystem verbunden. Teilnehmer des ersten Bussystems und die zentrale Fluchtwegsteuerung können über das erste und das zweite Bussystem miteinander kommunizieren.
  • Die Verlängerung der Zeitverzögerung um die zweite Verlängerungszeitdauer kann durch die zentrale Fluchtwegsteuerung veranlasst werden. Insbesondere kann die zentrale Fluchtwegsteuerung ein Verzögerungselement umfassen. In Folge der Bedienung des Verzögerungselements kann das Auslöseelement die Nachricht erhalten, die die Ansteuerung des Verriegelungsmechanismus um eine zweite Verzögerungszeitdauer zu verzögern. Insbesondere beendet das Auslöseelement daraufhin die erste Verzögerungszeitdauer und startet die zweite Verzögerungszeitdauer.
  • Es ist denkbar, dass das Auslöseelement von einem aktivierten Zustand in einen deaktivierten Zustand überführbar sein kann. In dem deaktivierten Zustand unterbleibt in Folge einer Betätigung des Auslöseelements eine Ansteuerung eines Verriegelungsmechanismus zur Entriegelung. In dem aktivierten Zustand findet in Folge einer Betätigung des Auslöseelements eine Ansteuerung des Verriegelungsmechanismus zur Entriegelung statt. Somit ist in dem deaktivierten Zustand des Auslöseelements verhindert, dass der Verriegelungsmechanismus zur Entriegelung in Folge einer Betätigung des Auslöseelements angesteuert wird (Funktion d.). Hierbei unterbleibt in dem deaktivierten Zustand bevorzugt, dass das Auslöseelement die Ansteuerung des Verriegelungsmechanismus zur Entriegelung veranlasst. Dieses gilt insbesondere für die dem Auslöseelement zugeordneten Türverriegelungssteuerungen. Die Deaktivierung des Auslöseelements kann durch die zentrale Fluchtwegsteuerung veranlasst werden. Hierzu kann die zentrale Fluchtwegsteuerung eine erstes Bedienelement umfassen. In Folge einer Bedienung des ersten Bedienelements kann zumindest ein Auslöseelement des ersten Bussystems in den deaktivierten Zustand überführt werden.
  • Das Auslöseelement kann ein Audio- und/oder Videomodul freischalten oder eine derartige Freischaltung veranlassen (Funktion f.). Das Audio- und/oder Videomodul übermittelt eine Audio- und/oder Videoaufnahme an die Wachvorrichtung. Hierdurch können im Gefahrenfall der Bediener im Wachraum und der Benutzer vor Ort, der fliehen will, akustisch verständigen und/oder der Bediener im Wachraum kann den Ort vor der Tür, an dem das Auslöseelement betätigt wurde, einsehen. Insbesondere schaltet das Auslöseelement das Audio- und/oder Videomodul in Folge der Betätigung des Auslöseelements frei. Die Freischaltung kann zumindest im deaktivierten Zustand erfolgen. Bevorzugt erfolgt die Freischaltung stets in Folge der Betätigung des Auslöseelements.
  • Bevorzugt ist vorgesehen, dass in Folge der Betätigung des Auslöseelements elektronisch verhindert ist, dass ohne das Vorliegen einer Aufhebungsbedingung ein Verriegelungsmechanismus der Türverriegelung zur Verriegelung ansteuerbar ist (Funktion e.). Hierdurch wird verhindert, dass im Gefahrenfalle die Türverriegelung wieder verriegelt, obwohl noch Benutzer fliehen wollen. Hierbei kann insbesondere die Türverriegelungssteuerung eine Wiederverriegelung der Türverriegelung elektronisch verhindern. Wird die Aufhebungsbedingung erreicht, lässt die Türverriegelungssteuerung eine Wiederverriegelung zumindest zu. Insbesondere steuert die Türverriegelungssteuerung den Verriegelungsmechanismus unmittelbar nach dem Erreichen der Aufhebungsbedingung an.
  • Zum Erreichen der Aufhebungsbedingung kann eine Aufhebungshandlung am Auslöseelement erfolgen. Die Aufhebungshandlung, die unmittelbar an dem Auslöseelement vorgenommen wird, kann durch eine Betätigung eines Betätigungselements des Auslöseelements erzeugbar sein. Insbesondere entspricht die Aufhebungshandlung am Auslöseelement der Betätigung des Betätigungselements zur Freigabe des Fluchtweges. Ein derart erzeugtes Aufhebungssignal kann somit dem Betätigungssignal entsprechen. Damit die Türverriegelungssteuerung erkennt, dass die Betätigung des Betätigungselements zum Erreichen der Aufhebungsbedingung und nicht zur Erzeugung des Betätigungssignals zur Freigabe des Fluchtwegs erfolgt, muss der Türverriegelungssteuerung eine weitere Information vorliegen. So kann es erforderlich sein, dass ein Bediener sich authentifiziert.
  • Hierzu kann eine Authentifizierungsvorrichtung dienen, die mit dem Auslöseelement verbunden oder verbindbar ist. Dieses kann die Authentifizierung sein. In Folge der Authentifizierung kann das Auslöseelement ein positives Identifikationssignal empfangen. Es kann sein, dass zum Erreichen der Aufhebungsbedingung eine vorgegebene Zeitabfolge und/oder Reihenfolge bei der Erzeugung des Aufhebungssignals und der Authentifizierung, insbesondere der Empfang des positiven Identifikationssignals, einzuhalten ist. Insbesondere müssen das Aufhebungssignal und die Authentifizierung, zumindest teilweise gleichzeitig vorliegen.
  • Insbesondere wenn die Tür, insbesondere das Türblatt, nach dem Erzeugen des Betätigungssignals geschlossen bleibt, steht dem Sicherheitssystem zumindest eine weitere Möglichkeit zur Verfügung, die Aufhebungsbedingung zu erreichen. Zum Erreichen der Aufhebungsbedingung können ein Ablauf einer vorbestimmten Zeitspanne und bei einem Fehlen eines Signals über ein Öffnen der Tür innerhalb der vorbestimmten Zeitspanne beitragen oder ausreichen. Zusätzlich kann ein Erhalt eines Aufhebesignals der zentralen Fluchtwegsteuerung zum Erreichen der Aufhebungsbedingung beitragen. Es kann sein, dass zudem eine der Möglichkeiten, die Aufhebungsbedingung ohne eine Aufhebungshandlung am Auslöseelement zu erreichen, als zulässig hinterlegt sein muss.
  • Wird ein Auslöseelement betätigt, so wird durch an die zumindest einen Türverriegelungssteuerung, die dem betätigten Auslöseelement zugeordnet ist/sind, elektronisch verhindert, dass bis zum Vorliegen der Aufhebungsbedingung der entsprechende Verriegelungsmechanismus zur Verriegelung ansteuerbar ist. Die nicht dem betätigten Auslöseelement zugeordneten Türverriegelungssteuerungen des ersten Bussystems bleiben jedoch verriegelbar.
  • Es kann sein, dass die zentrale Fluchtwegsteuerung einen zentralen Notfalltaster umfasst. Wird der zentrale Notfalltaster betätigt, so kann in Folge der Betätigung zumindest ein Verriegelungsmechanismus zur Entriegelung angesteuert werden. Der Vorgang, dass in Folge der Betätigung des zentralen Notfalltasters der Verriegelungsmechanismus zur Entriegelung angesteuert wird, erfolgt bevorzugt Ein-Fehler-sicher und ist somit für den Gefahrenfall geeignet. Insbesondere wird in Folge der Betätigung des zentralen Notfalltasters an zumindest eine Türverriegelungssteuerung des Sicherheitssystems, bevorzugt mehrere Türverriegelungssteuerungen des Sicherheitssystems, besonders bevorzugt alle Türverriegelungssteuerung des Sicherheitssystems, eine Nachricht bezüglich der Betätigung des zentralen Notfalltasters gesendet. Hieraufhin kann es sein, dass zumindest ein Teil der benachrichtigten Türverriegelungssteuerungen den jeweiligen Verriegelungsmechanismus zur Entriegelung ansteuern.
  • Es ist denkbar, dass in Folge einer Betätigung des zentralen Notfalltasters nur ein Teil der Türverriegelungssteuerungen den jeweiligen Verriegelungsmechanismus zur Entriegelung ansteuern, während die übrigen Türverriegelungssteuerungen eine derartige Ansteuerung unterlassen. Somit ist eine Selektivität der Entriegelung in Folge der Betätigung des zentralen Notfalltasters gegeben. Somit kann in Folge der Betätigung des zentralen Notfalltasters zumindest für einen Verriegelungsmechanismus eine Ansteuerung zur Entriegelung unterbleiben.
  • Hierzu kann in dem Sicherheitssystem, bevorzugt in den Türverriegelungssteuerungen des Sicherheitssystems, hinterlegbar sein, ob eine Entriegelung in Folge einer Betätigung des zentralen Notfalltasters zugelassen ist. Insbesondere kann ein Bediener die Hinterlegung vornehmen. Hierzu kann der Bediener z. B. über ein Parametrierungsprogramm einstellen, welche Türverriegelung in Folge der Betätigung des zentralen Notfalltasters entriegelt werden soll.
  • Erhält die Türverriegelungssteuerung eine Nachricht bezüglich der Betätigung des zentralen Notfalltasters, so kann die Türverriegelungssteuerung zuerst überprüfen, ob eine Entriegelung in Folge einer Betätigung des zentralen Notfalltasters zugelassen ist. Nur wenn die Entriegelung in Folge einer Betätigung des zentralen Notfalltasters zugelassen ist, steuert die Türverriegelungssteuerung den Verriegelungsmechanismus zur Entriegelung an. Ist hingegen die Entriegelung in Folge einer Betätigung des zentralen Notfalltasters nicht zugelassen, so unterbleibt eine Ansteuerung des Verriegelungsmechanismus zur Entriegelung. Dieses Vorgehen ist insbesondere dann sinnvoll, wenn alle Türverriegelungssteuerungen des Sicherheitssystems über die Betätigung des zentralen Notfalltasters benachrichtigt werden.
  • Es ist denkbar, dass das Sicherheitssystem mehrere zentrale Fluchtwegsteuerungen umfasst. Z. B. kann eine der zentralen Fluchtwegsteuerungen zur Anordnung in dem Wachraum vorgesehen sein. Eine weitere zentrale Fluchtwegsteuerung kann zur Anordnung in einem Schwesternzimmer vorgesehen sein. Somit kann das Sicherheitssystem mehrere zentrale Notfalltaster umfassen.
  • Bevorzugt ist eine Selektivität bezüglich einer Entriegelung der Türverriegelungen in Folge der Betätigung der unterschiedlichen Notfalltaster gegeben. So kann es sein, dass in dem Sicherheitssystem, insbesondere in den Türverriegelungssteuerungen hinterlegbar ist, in Folge der Betätigung welchen zentralen Notfalltasters eine Ansteuerung zur Entriegelung des Verriegelungsmechanismus erfolgt. So kann es sein, dass eine bestimmte Türverriegelungssteuerung in Folge der Betätigung eines ersten Notfalltasters den Verriegelungsmechanismus ansteuert und in Folge der Betätigung eines zweiten Notfalltasters die Türverriegelung es unterlässt, den Verriegelungsmechanismus zur Entriegelung anzusteuern. Hierzu kann z. B. in der Türverriegelungssteuerung eine Liste mit den zentralen Notfalltastern hinterlegbar sein, in deren Folge der Verriegelungsmechanismus zur Entriegelung anzusteuern ist. Die Liste wird z. B. angelegt, indem ein Bediener in dem Parametrierungsprogramm die Selektivität der zentralen Notfalltaster zu den Türverriegelungen einstellt. Dieses Vorgehen ist insbesondere dann sinnvoll, wenn alle Türverriegelungssteuerungen des Sicherheitssystems über die Betätigung der zentralen Notfalltaster des Sicherheitssystems benachrichtigt werden.
  • Es kann sein, dass das Sicherheitssystem mehrere Bussysteme umfasst, die jeweils mit einer Anzahl von Auslöseelementen und mit einer Anzahl von Türverriegelungssteuerungen verbunden sind, wobei die Anzahl von Türverriegelungssteuerungen der Anzahl von Auslöseelementen derart zugeordnet sind, dass bei einer Betätigung eines der Auslöseelemente nur die zumindest eine Türverrieglungssteuerung, die dem betätigten Auslöseelement zugeordnet ist, den jeweiligen Verriegelungsmechanismus zur Entriegelung ansteuert. Die mehreren Bussysteme können insbesondere von derselben Bussystemart sein. Die Bussystemart ist insbesondere die Bussystemart des ersten Bussystems, z. B. ein CAN oder ein DCW-Bus. Das zweite Bussystem kann von einer anderen Bussystemart sein, z. B. ein LON- oder ein LAN-Bus.
  • Das Sicherheitssystem, insbesondere das Auslöseelement, kann einen akustischen Alarmgeber umfassen.
  • Das Sicherheitssystem, insbesondere das Auslöseelement, kann ein Anzeigegerät zur optischen Darstellung eines Verriegelungszustands der Türverriegelung umfassen. Unter einem Verriegelungszustand wird der verriegelte und/oder der entriegelte Zustand der Türverriegelung verstanden.
  • Das Sicherheitssystem, insbesondere das Auslöseelement, kann eine Anzeigevorrichtung zur optischen Darstellung einer zeitverzögerten Ansteuerung des Verriegelungsmechanismus nach einer Betätigung des Auslöseelements umfassen.
  • Hierbei kann sowohl die erste und/oder die zweite Verzögerungszeitdauer optisch darstellbar sein. Die optische Darstellung der ersten und der zweiten Verzögerungszeitdauer kann voneinander abweichen.
  • Das Sicherheitssystem, insbesondere das Auslöseelement, kann eine Anzeige zur optischen Darstellung eines Alarmzustands umfassen. Der Alarmzustand kann den Gefahrenfall bezeichnen. Der Alarmzustand tritt insbesondere nach einer Betätigung des Auslöseelements und/oder nach Empfang eines Brandmeldesignals ein.
  • Das Sicherheitssystem, insbesondere das Auslöseelement, kann optisch darstellen, falls eine Wiederverriegelung fehlschlägt, insbesondere die Tür geöffnet bleibt, was über die zumindest eine Türzustandsüberwachungsvorrichtung detektierbar ist. Eine Brandschutztür sollte nach einer Begehung stets geschlossen sein. Ist z. B. aufgrund eines positiven Authentifizierungssignals die Türverriegelung entriegelt worden und wurde die Tür geöffnet aber nicht nach der vorbestimmten Zeitspanne automatisch wiederverriegelt, so kann diese Tatsache optisch dargestellt werden. Ebenfalls kann optisch dargestellt werden, wenn eine hinterlegbare Öffnungzeitdauer überschritten wird. Durch die Türzustandsüberwachungsvorrichtung kann die Öffnungszeitdauer detektiert werden. Ein Bediener kann die Öffnungszeitdauer wählen. Der Bediener kann die Öffnungszeitdauer durch das Parametrierungsprogramm hinterlegen.
  • Als Anzeigegerät, als Anzeigevorrichtung, als Anzeige zur optischen Darstellung eines Alarmzustands und/oder zur optischen Darstellung der fehlgeschlagenen Wiederverriegelung kann das Auslöseelement Leuchtmittel umfassen. Bevorzugt dienen die Leuchtmittel sowohl als Anzeigegerät, als Anzeigevorrichtung, als Anzeige zur optischen Darstellung eines Alarmzustands als auch zur optischen Darstellung der fehlgeschlagenen Wiederverriegelung. Hierzu sind die Leuchtmittel in zumindest zwei Gruppen ansteuerbar. Insbesondere sind die Leuchtmittel zumindest teilweise einzeln ansteuerbar.
  • Bevorzugt weist jedes Auslöseelement den akustischen Alarmgeber und/oder das Anzeigegerät, die Anzeigevorrichtung, die Anzeige und/oder die Leuchtmittel auf.
  • Das Sicherheitssystem kann zumindest eine Steuerungsvorrichtung umfassen.
  • Es ist denkbar, dass die Steuerungsvorrichtung mit dem ersten und dem zweiten Bussystem verbunden ist. Somit können Teilnehmer des ersten Bussystems über die Steuerungsvorrichtung mit der zentralen Fluchtwegsteuerung verbunden sein.
  • Die Steuerungsvorrichtung kann das Anzeigegerät, insbesondere die Leuchtmittel, zur optischen Darstellung des Verriegelungszustands ansteuern oder/und eine derartige Ansteuerung veranlassen (Funktion p.).
  • Die Steuerungsvorrichtung kann die Anzeigevorrichtung, insbesondere die Leuchtmittel, zur optischen Darstellung der zeitverzögerten Ansteuerung des Verriegelungsmechanismus ansteuern oder/und eine derartige Ansteuerung veranlassen (Funktion q.). Hierbei kann die Steuerungsvorrichtung die erste und/oder die zweite Verzögerungszeitdauer optisch darstellen lassen.
  • Die Steuerungsvorrichtung kann die Anzeige, insbesondere die Leuchtmittel zur optischen Darstellung eines Alarmzustands und/oder den akustischen Alarmgeber zur Ausgabe eines akustischen Alarms ansteuern oder eine derartige Ansteuerung veranlassen (Funktion o. und/oder Funktion r.)
  • Die Steuerungsvorrichtung kann einen optischen oder akustischen Alarm ausgeben lassen, falls eine Wiederverriegelung fehlschlägt, insbesondere falls die Tür geöffnet bleibt (Funktion s.)
  • Die Steuerungsvorrichtung kann den akustischen Alarmgeber ansteuern oder ansteuern lassen, um einen Alarm ausgeben zu lassen, in Abhängigkeit von einem Signal der Türzustandsüberwachungsvorrichtung über das Öffnen der Tür, insbesondere wenn keine Berechtigung zur Begehung der Tür vorliegt. Es kann sein, dass eine Tür zumindest für ein gewisses Zeitfenster entriegelt ist. Wird in diesem Zeitfenster die Tür geöffnet, so wird ein akustischer Alarm ausgegeben. Der akustische Alarm kann in dem Zeitfenster ausgegeben werden oder nur, falls keine Berechtigung zur Begehung der Tür vorliegt.
  • Um die Funktionen ausführen zu können, können Parameter in der Steuerungsvorrichtung hinterlegt sein. Hierzu weist die Steuerungsvorrichtung insbesondere einen nicht flüchtigen Speicher auf. Die Parameter können von einem Bediener über das Parametrisierungsprogramm eingestellt werden. Somit kann die Steuerungsvorrichtung zur Hinterlegung von Parameter dienen. In der Steuerungsvorrichtung können logische Verknüpfungen bezüglich der Funktionen der Steuerungsvorrichtung hinterlegt sein.
  • Die Steuerungsvorrichtung ist insbesondere mit dem ersten Bussystem verbunden. So kann die Steuerungsvorrichtung in einem der Auslöseelemente integriert sein. Das zumindest eine weitere Auslöseelement, das mit dem ersten Bussystem verbunden ist, ist bevorzugt ohne die Steuerungsvorrichtung ausgebildet. In diesem Fall kann die Steuerungsvorrichtung die Anzeigevorrichtung, das Anzeigeelement, die Anzeige, die Leuchtmittel und/oder den akustischen Alarmgeber des Auslöseelements, das die Steuerungsvorrichtung umfasst, ansteuern. Das zumindest eine weitere Auslöseelement kann durch die Steuerungsvorrichtung veranlasst werden, die Anzeigevorrichtung, das Anzeigeelement, die Anzeige, die Leuchtmittel und/oder den akustischen Alarmgeber des zumindest einen weiteren Auslöseelements anzusteuern.
  • Alternativ kann die Steuerungsvorrichtung in einem der Türverriegelungssteuerungen integriert sein. Die zumindest eine weitere Türverriegelungssteuerung, die mit dem ersten Bussystem verbunden ist, ist bevorzugt ohne die Steuerungsvorrichtung ausgebildet.
  • In einer weiteren Alternative ist die Steuerungsvorrichtung weder in einem der Auslöseelemente, die mit dem ersten Bussystem verbunden sind, noch in einem der Türverriegelungssteuerungen, die mit dem ersten Bussystem verbunden sind, integriert. Vielmehr kann die Steuerungsvorrichtung mit allen Auslöseelementen, die mit dem ersten Bussystem verbunden sind, und mit allen Türverriegelungssteuerungen, die mit dem ersten Bussystem verbunden sind, über das erste Bussystem verbunden sein. Hierdurch kann die Steuerungsvorrichtung z. B. entfernt von der Tür in einem Technikraum angeordnet werden. Beispielsweise kann die Steuerungsvorrichtung in dieser Variante das Hutschienengehäuse umfassen.
  • Die Steuerungsvorrichtung kann Kenntnis von dem Zustand der Türverriegelungen, die mit dem ersten Bussystem verbunden sind, und/oder von dem Zustand des Auslöseelemente, die mit dem ersten Bussystem verbunden sind, haben. Die Steuerungsvorrichtung kann Kenntnis von einer über das erste Bussystem ablaufende Kommunikation zwischen der Türverriegelungssteuerungen und den Auslöseelementen haben. Insbesondere hat die Steuerungsvorrichtung Kenntnis von dem Zustand aller Türverriegelungen, die mit dem ersten Bussystem verbunden sind, und/oder Kenntnis von dem Zustand aller Auslöseelemente, die mit dem ersten Bussystem verbunden sind. Die Steuerungsvorrichtung kann Kenntnis von Kommunikationen zwischen den Türverriegelungssteuerungen und den Auslöseelementen, die mit dem ersten Bussystem verbunden sind, haben.
  • Die Steuerungsvorrichtung, die mit dem ersten Bussystem verbunden ist, kann die Anzahl der Türverriegelungssteuerungen und/oder die Anzahl der Auslöseelemente selektiv benachrichtigen. Selektiv bedeutet, dass nicht für alle durch das erste Bussystem erreichbare Komponenten die Funktion ausgeführt wird, sondern nur für eine Auswahl oder für eine einzige Komponente, die über das erste Bussystem erreichbar ist. Insbesondere kann die Steuerungsvorrichtung selektiv ansteuern oder selektiv eine Ansteuerung veranlassen. Die Steuerungsvorrichtung kann nur für die Auslöseelemente, die derselben Türverriegelungssteuerung wie das betätigte Auslöseelement zugeordnet sind, die Anzeigevorrichtung ansteuern und/oder eine Ansteuerung veranlassen (Funktion q.) und/oder die Anzeige ansteuern und/oder eine Ansteuerung veranlassen (Funktion r.).
  • Es ist denkbar, dass in der Steuerungsvorrichtung Parameter und/oder Zuordnungen zur selektiven Ansteuerung hinterlegt sind. Insbesondere ist in der Steuerungsvorrichtung hinterlegt, welchem Auslöseelement der Anzahl an Auslöseelementen welche der Türverriegelungssteuerungen, die zur Anzahl von Türverriegelungssteuerungen gehören, zugeordnet ist. Diese Zuordnung ist für alle Türverriegelungssteuerungen des ersten Bussystems in der Steuerungsvorrichtung hinterlegt.
  • Wird ein Auslöseelement betätigt und die Ansteuerung des Verriegelungsmechanismus der zumindest einen dem betätigten Auslöseelement zugeordneten Türverriegelung soll zeitverzögert angesteuert werden, so veranlasst die Steuerungsvorrichtung, dass nur in all denjenigen Auslöseelementen, die der dem betätigten Auslöseelement zugeordneten Türverriegelungssteuerung zugeordnet sind, die Zeitverzögerung optisch dargestellt wird. Ist die Steuerungsvorrichtung in einem der betroffenen Auslöseelemente integriert, so steuert die Steuerungsvorrichtung hierzu die Anzeigevorrichtung an.
  • Erkennt eine Türverriegelungssteuerung eine Änderung eines Verriegelungszustands, so kann die Steuerungsvorrichtung veranlassen, dass die Änderung des Verriegelungszustands an dem zumindest einen Auslöseelement, das der erkennenden Türverriegelungssteuerung zugeordnet ist, die Änderung des Verriegelungszustands optisch dargestellt wird. Die Auslöseelemente, die nicht der erkennenden Türverriegelungssteuerung zugeordnet sind, werden nicht dazu veranlasst.
  • Wird ein Auslöseelement betätigt, so veranlasst die Steuerungsvorrichtung bevorzugt, dass nur in denjenigen Auslöseelementen, die der dem betätigten Auslöseelement zugeordneten Türverriegelungssteuerung zugeordnet sind, ein Alarmzustand optisch und/oder akustisch dargestellt wird. Ist die Steuerungsvorrichtung in einem der betroffenen Auslöseelemente integriert, so steuert die Steuerungsvorrichtung hierzu die Anzeige und/oder den akustischen Alarmgeber an.
  • Empfängt ein Auslöseelement ein Brandmeldesignal, so veranlasst die Steuerungsvorrichtung bevorzugt, dass nur in denjenigen Auslöseelementen, die der dem das Brandmeldesignal empfangenden Auslöseelement zugeordneten Türverriegelungssteuerung zugeordnet sind, ein Alarmzustand optisch und/oder akustisch dargestellt wird. Ist die Steuerungsvorrichtung in einem der betroffenen Auslöseelemente integriert, so steuert die Steuerungsvorrichtung hierzu die Anzeige und/oder den akustischen Alarmgeber an.
  • Die Steuerungsvorrichtung kann zudem selektiv nicht sicherheitsrelevante Ansteuerungen zur Entriegelungen oder Verriegelung veranlassen.
  • So kann die Steuerungsvorrichtung den Verriegelungsmechanismus zur Entriegelung nach Empfang eines positiven Authentifizierungssignals ansteuern oder eine derartige Ansteuerung veranlassen (Funktion h.). Hierzu kann die Steuerungsvorrichtung mit einem Zutrittskontrollsystem verbunden oder verbindbar sein. Empfängt die Steuerungsvorrichtung z. B. ein positives Authentifizierungssignal eines Zutrittskontrollsystems, so veranlasst die Steuerungsvorrichtung nur eine Entriegelung der Türverriegelung, die dem Zutrittskontrollsystem zugeordnet ist.
  • Die Steuerungsvorrichtung kann z. B. den Verriegelungsmechanismus zur Entriegelung zu einer vorgegebenen Zeit ansteuern oder eine derartige Ansteuerung veranlassen (Funktion i.). Die Entriegelung zu einer vorgegebenen Zeit kann vorgesehen sein, wenn z. B. in einem Zeitfenster pro Tag die Tür entriegelt sein soll. Ist nur für eine Türverriegelung des ersten Bussystems hinterlegt, dass die Türverriegelung zu einer vorgegebenen Zeit zu entriegeln ist, so veranlasst die Steuerungsvorrichtung nur für die eine Türverriegelung die Entriegelung zu der vorgegebenen Zeit, die übrigen Türverriegelungen des ersten Bussystems bleiben verriegelt.
  • Liegt kein Gefahrenfall vor, d. h. wurde weder das Auslöseelement betätigt noch liegt ein Brandmeldesignal vor, so kann die Steuerungsvorrichtung den Verriegelungsmechanismus zur automatischen Wiederverriegelung nach Ablauf einer vorbestimmten Zeitspanne ansteuern oder eine derartige Ansteuerung veranlassen (Funktion k.). Ist für eine Türverriegelung des ersten Bussystems eine vorbestimmte Zeitspanne von einer ersten Länge von dem Bediener hinterlegt worden und für eine weitere Türverriegelung des ersten Bussystems eine vorbestimmte Zeitspanne von einer zweiten Länge hinterlegt worden, die sich von der ersten Länge unterscheidet, so veranlasst die Steuerungsvorrichtung eine automatische Wiederverriegelung für die eine Türverriegelung nach der ersten Länge der vorbestimmten Zeitspanne und für die weitere Türverriegelung eine Wiederverriegelung nach der zweiten Länge der vorbestimmten Zeitspanne.
  • Zusätzlich oder alternativ kann vorgesehen sein, dass die Steuerungsvorrichtung den Verriegelungsmechanismus zur automatischen Wiederverriegelung nach dem Empfang eines Signals über einen geschlossenen Zustand der Tür unmittelbar ansteuert oder eine derartige Ansteuerung veranlasst (Funktion I.). Ist für eine Türverriegelung eine automatische Wiederverriegelung unmittelbar nach dem Schließen der Tür als zugelassen hinterlegt worden und für eine weitere Türverriegelung nicht, so veranlasst die Steuerungsvorrichtung nur für die erste Türverriegelung eine automatische Wiederverriegelung unmittelbar nach dem Schließen der Tür.
  • Es kann sein, dass genau eine Steuerungsvorrichtung für das erste Bussystem vorgesehen ist. Sind mehrere Bussysteme vorhanden, die sich an das zweite Bussystem anschließen und mit denen jeweils zumindest eine Türverriegelungssteuerung und ein Auslöseelement verbunden ist, so kann jedes der mehreren Bussysteme genau eine Steuerungsvorrichtung aufweisen.
  • Zur Ermöglichung der selektiven Ansteuerung oder Veranlassung zur selektiven Ansteuerung kann das Sicherheitssystem zumindest eine Eingabevorrichtung aufweisen. Bevorzugt können hierzu die Komponenten, die mit dem ersten Bussystem verbunden sind, jeweils eine jeweils eine Eingabevorrichtung umfassen.
  • Beispielsweise kann die Eingabevorrichtung Schalter, insbesondere DIP-Schalter, aufweisen. Die Komponenten, die mit dem ersten Bussystem verbunden sind, werden als Busteilnehmer bezeichnet.
  • Es ist denkbar, dass die Busteilnehmer des ersten Bussystems jeweils eine Busadresse aufweisen, die manuell an der Eingabevorrichtung einstellbar ist. Busteilnehmer mit derselbe manuellen Einstellung können einander zugeordnet sein. Es kann sein, dass der jeweilige Busteilnehmer die Einstellung so modifiziert, dass trotz derselben Einstellung mehrerer Busteilnehmer eine unterschiedliche Busadresse generiert werden. Die manuell einstellbare Busadresse ist insbesondere für nicht sicherheitsrelevante Funktionen vorgesehen. Jeder Busteilnehmer kann die manuell einstellbare Busadresse als zweite Busadresse neben der unveränderbaren Busadresse für die sicherheitsrelevanten Funktionen umfassen. Vorzugsweise ist vorgesehen, dass die Steuerungsvorrichtung über ein zweites Bussystem mit einer Zentrale, insbesondere einer zentralen Fluchtwegsteuerung und/oder Wachvorrichtung, verbunden ist, wobei insbesondere Informationen der Anzahl der Türverriegelungssteuerungen oder der Anzahl der Auslöseelemente über die Steuerungsvorrichtung an die Zentrale, leitbar sind.
  • Die Erfindung wird nachfolgend anhand von Ausführungsbeispielen näher erläutert. Technische Merkmale mit gleicher Funktion sind in den Figuren mit identischen Bezugszeichen versehen. Es zeigen:
  • Fig. 1
    eine Draufsicht auf ein Sicherheitssystem mit einem Nottaster als Auslöseelement in einem betriebsfertigen Zustand an einer Tür gemäß einem ersten Ausführungsbeispiel,
    Fig. 2
    ein Funktionsschema des Sicherheitssystems aus Figur 1,
    Fig. 3
    ein zu Fig. 2 modifiziertes Funktionsschema eines Sicherheitssystems gemäß einem zweiten Ausführungsbeispiel,
    Fig. 4
    eine Draufsicht auf ein erfindungsgemäßes Sicherheitssystem mit mehreren Nottastern in einem betriebsfertigen Zustand an einer Tür gemäß einem dritten Ausführungsbeispiel,
    Fig. 5
    ein Funktionsschema des erfindungsgemäßen Sicherheitssystems aus Figur 4,
    Fig. 6
    ein zu Fig. 5 modifiziertes Funktionsschema eines erfindungsgemäßen Sicherheitssystems gemäß einem vierten Ausführungsbeispiel,
    Fig. 7
    eine Draufsicht auf ein Sicherheitssystem in einem betriebsfertigen Zustand gemäß einem fünften Ausführungsbeispiel,
    Fig. 8
    ein Funktionsschema einer zentralen Fluchtwegsteuerung des Sicherheitssystems aus Figur 7,
    Fig. 9
    ein Funktionsschema des Sicherheitssystems aus Figur 7,
    Fig. 10
    ein Funktionsschema eines erfindungsgemäßen Sicherheitssystems gemäß einem sechsten Ausführungsbeispiel,
    Fig. 11
    ein Ausführungsbeispiel für einen erfindungsgemäßen Nottaster in einer Seitenansicht,
    Fig. 12
    der Nottaster aus Figur 11 in einem Längsschnitt,
    Fig. 13
    der Nottaster aus Figur 11 in einer Explosionsdarstellung,
    Fig. 14
    ein Betätigungselement des Nottasters aus Figur 11 in einer perspektivischen Ansicht,
    Fig. 15
    eine weitere perspektivische Ansicht des Betätigungselements aus Figur 14,
    Fig. 16
    ein Lichtleiter des Nottasters aus Figur 11 in einer perspektivischen Ansicht,
    Fig. 17
    eine weitere perspektivische Ansicht des Lichtleiters aus Figur 16 und
    Fig. 18a-d
    eine schematische Darstellung eines Ablaufs einer Funktionsfreigabe in einem erfindungsgemäßen Sicherheitssystem.
  • Im Folgenden wird zwischen einem Benutzer und einem Bediener unterschieden. Ein Benutzer kann jede Person sein, die das Sicherheitssystem 1 benutzt. Ein Benutzer kann z. B. ein Gast sein, der durch die durch das Sicherheitssystem 1 gesicherte Tür fliehen will. Ein Bediener dient zur Bedienung des Sicherheitssystems 1. Der Bediener kann sich z. B. gegenüber dem Sicherheitssystem authentifizieren. Der Bediener kann z. B. Mitglied eines Wachpersonals sein. Besonders bevorzugt kann der Bediener kann das Sicherheitssystem 1 einstellen.
  • Im Folgenden wird unter dem Begriff "Betätigung des Nottasters" "Betätigung des Betätigungselements des Nottasters" verstanden.
  • Unter einer Verbindung mit einem Bussystem wird im Folgenden eine unmittelbare Verbindung verstanden, so dass eine mit dem Bussystem verbundene Komponente als Teilnehmer des Bussystems mit einer eigenen Busadresse anzusehen ist.
  • Unter dem Veranlassen einer Ansteuerung wird insbesondere das Senden einer Nachricht über ein erstes oder /und zweites Bussystem verstanden, die eine Information und/oder einen Befehl enthält, die den unmittelbaren oder mittelbaren Empfänger der Nachricht veranlasst, die Ansteuerung vorzunehmen. Der Sender der Nachricht initiiert die Ansteuerung. Somit wird unter Veranlassen einer Ansteuerung eine indirekte Ansteuerung verstanden. Die Nachricht kann insbesondere einem Bustelegramm entsprechen.
  • In Folge einer Betätigung bedeutet, dass eine Betätigung ursächlich ist, unabhängig davon, ob die Betätigung fortdauert oder nicht.
  • In den Figuren 1 bis 3, 7 und 9 wird jeweils ein Sicherheitssystem dargestellt. Obwohl in den Figuren jeweils nur ein Nottaster 10 und eine Türverriegelung 200 dargestellt sind, gelten die dort dargestellten Prinzipien, insbesondere was den Aufbau und die Funktion des Nottasters 10, der Steuerungsvorrichtung 100 und der zentralen Fluchtwegsteuerung 300 betrifft, auch für die erfindungsgemäßen Sicherheitssysteme mit mehreren Nottastern 10, 10', 1010, 1010', 2010, 3010 und mehreren Türverriegelungen 200, 200', 1200, 1200', 2200, 3200 wie in den Figuren 4 bis 6 und 10 dargestellt. Ebenfalls ist ein Audio- und Videomodul 510 in die erfindungsgemäßen Sicherheitssysteme 1 integrierbar.
  • In den Figuren 1 und 2 wird ein erstes Ausführungsbeispiel eines Sicherheitssystems 1 für eine Tür 2 dargestellt. Die Tür 2 ist nicht Teil des Sicherheitssystems 1. Das Sicherheitssystem 1 umfasst eine Türverriegelung 200 und einen Nottaster 10. Der Nottaster 10 umfasst eine Steuerungsvorrichtung 100. Dem Nottaster 10 ist ein Schlüsseltaster 500 zugeordnet. Das Sicherheitssystem 1 kann den Schlüsseltaster 500 umfassen. Alternativ kann das Sicherheitssystem 1, insbesondere der Nottaster 10, einen Schlüsseltastereingang aufweisen, über den eine Verbindung mit dem Schlüsseltaster 500 herstellbar ist.
  • Wie in Figur 2 dargestellt, sind der Nottaster 10 und die Türverriegelung 200 über ein erstes Bussystem 400 miteinander verbunden. Der Schlüsseltaster 500 ist mit dem Nottaster 10 über eine Verbindung 402 elektrisch verbunden oder verbindbar. Die Verbindung 402 ist als gestrichelter Pfeil dargestellt, um darzustellen, dass Signale über eine Position eines in den Schlüsseltaster 500 eingeführten Schlüssels einer Elektronikeinheit 24 des Nottasters 10 zugeführt werden. Alternativ zu der Verbindung 402 kann der Schlüsseltaster 500 ebenfalls mit dem ersten Bussystem 400 verbunden sein (nicht dargestellt). Diese Alternative gilt für alle Ausführungsbeispiele.
  • Der Nottaster 10 ist dazu ausgebildet, an die Türverriegelung 200 in Folge einer Betätigung des Nottasters 10 eine Nachricht über das erste Bussystem 400 zu senden und hierdurch eine Entriegelung der Türverriegelung zu veranlassen. Die Nachricht in Folge der Betätigung des Nottasters 10 kann zeitverzögert erfolgen.
  • Ebenfalls kann das Sicherheitssystem 1, insbesondere der Nottaster 10, mit einem Brandmelder (nicht dargestellt) verbindbar sein. Bei Vorliegen eines Brandmeldesignals veranlasst das Sicherheitssystem 1 ebenfalls eine Entriegelung der Türverriegelung 200.
  • Die Steuerungsvorrichtung 100 führt nicht sicherheitsrelevante Funktionen aus: So kann die Steuerungsvorrichtung 100 für berechtigte Personen eine Entriegelung der Türverriegelung 200 veranlassen. Hierzu kann die Steuerungsvorrichtung 100 mit einem nicht dargestellten Zutrittskontrollsystem verbindbar sein. Das Zutrittskontrollsystem kann insbesondere mit dem ersten Bussystem 400 verbunden oder verbindbar sein. Die Steuerungsvorrichtung 100 empfängt von dem Zutrittskontrollsystem insbesondere über das Bussystem 400 ein positives Authentifizierungssignal über die erfolgte Authentifizierung. Danach veranlasst die Steuerungsvorrichtung 100 eine Entriegelung der Türverriegelung 200. Das Zutrittskontrollsystem kann z. B. einen Leser, einen Schlüsseltaster, eine Tastatur zur Eingabe eines Codes oder einen Schließzylinder eines mechanischen Schlosses, insbesondere eines selbstverriegelnden Panikschlosses, umfassen oder derart ausgebildet sein.
  • Ebenfalls kann die Steuerungsvorrichtung 100 zu einer vorgegebenen Zeit oder nach Ablauf einer vorgegebenen Zeitdauer eine Entriegelung der Türverriegelung 200 automatisch veranlassen, z. B. wenn in einem Zeitfenster pro Tag die Tür entriegelt sein soll.
  • Liegt kein Gefahrenfall vor, d .h. wurde weder der Nottaster 10 betätigt noch liegt ein Brandmeldesignal vor, so kann die Steuerungsvorrichtung 100 eine Wiederverriegelung nach Ablauf einer vorbestimmten Zeitspanne automatisch veranlassen. Hierbei kann die Steuerungsvorrichtung 100 neben dem positiven Authentifizierungssignal noch ein Zutrittssignal des Zutrittskontrollsystems empfangen und/oder die Länge des positiven Authentifizierungssignals messen. Durch das Zutrittssignal oder anhand der Länge des Authentifizierungssignals kann die Steuerungsvorrichtung 100 die Länge der vorbestimmten Zeitspanne anpassen. So kann eine Person z. B. eine ID-Karte lange vor den Leser halten oder eine lange Zeit den Schlüssel drehen. Hierdurch wird signalisiert, dass die vorbestimmte Zeitspanne einer zuvor in der Steuerungsvorrichtung 100 hinterlegten langen Zeitspanne entsprechen soll. Hält die Person die ID-Karte kurz vor den Leser oder dreht der Benutzer kurz den Schlüssel, so wird signalisiert, dass die vorbestimmte Zeitspanne einer zuvor in der Steuerungsvorrichtung 100 hinterlegten kurzen Zeitspanne entsprechen soll.
  • Eine erste Türzustandsüberwachungsvorrichtung 204 und eine zweite Türzustandsüberwachungsvorrichtung 206 detektieren, ob die Tür 2 geöffnet oder geschlossen ist. Die Steuerungsvorrichtung 100 empfängt zumindest mittelbar ein Signal der Türzustandsüberwachungsvorrichtungen 204, 206. Ist die Türverrieglung 200 aufgrund eines positives Authentifizierungssignals entriegelt worden, so kann die Steuerungsvorrichtung 100 eine Wiederverriegelung der Türverrieglung 200 unmittelbar und automatisch veranlassen, sobald der Steuerungsvorrichtung 100 mit Hilfe der Türzustandsüberwachungsvorrichtungen 204, 206 die Information vorliegt, dass die Tür zunächst geöffnet und nun wieder geschlossen ist.
  • Der Nottaster 10 umfasst einen akustischen Alarmgeber 23 und Leuchtmittel 41 (s. auch Figur 13). Die Leuchtmittel 41 dienen zur Darstellung des Verriegelungs- bzw. Entriegelungszustands der Türverriegelung 200 und dienen somit als Anzeigegerät. Die Leuchtmittel 41 dienen zur optischen Darstellung einer zeitverzögerten Entriegelung der Türverriegelung 200 in Folge einer Betätigung des Nottasters 10 und dienen somit als Anzeigevorrichtung. Die Leuchtmittel 41 dienen zur optischen Darstellung eines Alarmzustands nach Empfang des Brandmeldesignals oder in Folge einer Betätigung des Nottasters 10 und dienen somit als Anzeige. Die Leuchtmittel 41 dienen zur optischen Darstellung, wenn eine zuvor beschriebene Wiederverriegelung fehlschlägt.
  • Die Steuerungsvorrichtung 100 steuert den akustischen Alarmgeber 23 an, um einen akustischen Alarm auszugeben, wenn ein Gefahrenfall vorliegt, d. h. wenn ein Brandmeldesignal empfangen oder der Nottaster 10 betätigt wurde. Die Steuerungsvorrichtung 100 steuert den akustischen Alarmgeber 23 an, um einen akustischen Alarm auszugeben, wenn eine Wiederverriegelung fehlschlägt.
  • Die Steuerungsvorrichtung 100 steuert die Leuchtmittel 41 an, um den Verriegelungs- bzw. Entriegelungszustand der Türverriegelung 200 darzustellen, um eine zeitverzögerte Entriegelung optisch darzustellen und/oder um einen optischen Alarm auszugeben, wenn ein Brandmeldesignal empfangen oder der Nottaster 10 betätigt wurde oder wenn eine Wiederverriegelung fehlschlägt.
  • Die Steuerungsvorrichtung 100 kann im entriegelten Zustand der Türverriegelung 200 die Öffnung der Tür mit Hilfe der Türzustandsüberwachungsvorrichtungen 204, 206 überwachen. Die Steuerungsvorrichtung 100 kann, sofern gewünscht, einen akustischen Alarm ausgeben lassen, wenn die Tür 2 während des entriegelten Zustands der Türverrieglung 200 geöffnet wurde, zumindest wenn kein positives Authentifizierungssignal vorliegt. So kann überwacht werden, wenn jemand die Tür öffnet, auch wenn die Tür entriegelt ist.
  • Der Nottaster 10 kann zumindest einen zusätzlichen Ausgang umfassen. Die Steuerungsvorrichtung 100 kann über den Ausgang weitere Komponenten, die mit dem Sicherheitssystem 1 verbindbar sind, ansteuern, z. B. eine Raumleuchte.
  • In der Steuerungsvorrichtung 100 sind die Parameter zur Ausführung der genannten Funktionen der Steuerungsvorrichtung 100 hinterlegt. So sind z. B. die vorgegebene Zeit(en), die vorbestimmten Zeitspanne(n), Parameter für die akustischen Alarme, z. B. in welcher Lautstärke mit welcher Frequenz ein akustischer Alarm ausgegeben werden soll, und Parameter für die verschiedenen Ansteuerungen der Leuchtmittel 41 zur optischen Darstellung der verschiedenen, oben genannten Zustände des Sicherheitssystems 1 in der Steuerungsvorrichtung 100 gespeichert. Die Parameter für die Leuchtmittel können Blinkfrequenzen, zu emittierende Farben, Farbintensitäten und/oder Leuchtmuster umfassen. Zur Parametrierung kann die Steuerungsvorrichtung 100 über ein Funkmodul 64 mit einem mobilen Kommunikationsgerät kommunizieren. Alternativ kann die Parametrierung mit Hilfe einer Wachvorrichtung 301 über ein zweites Bussystem 401 erfolgen (s. Figuren 9 und 10). Für die Parametrierung ist ein Parametrierungsprogramm vorsehen, das auf einem Kommunikationsgerät, z. B. einem Personal Computer, einem Mobiltelefon und/oder einem Tablet, ausführbar ist. Der Bediener kann die Paramter mit Hilfe des Parametrierungsprogramms einstellen.
  • In Figur 2 ist der Aufbau der Türverriegelung 200 und des Nottasters 10 näher dargestellt.
  • Der Nottaster 10 weist eine erste Nottasterverarbeitungseinheit 20, eine zweite Nottasterverarbeitungseinheit 21 und eine dritter Nottasterverarbeitungseinheit 22 auf. Die erste, die zweite und die dritte Nottasterverarbeitungseinheit 20, 21, 22 sind jeweils als Mikroprozessoren oder Mikrocontroller ausgebildet. Die erste und die zweite Nottasterverarbeitungseinheiten 20, 21 umfassen einen nicht flüchtigen Speicher. Die dritte Nottasterverarbeitungseinheit 22 umfasst einen nicht flüchtigen Speicher und/oder hat Zugriff auf einen nicht flüchtigen Speicher. Die erste, zweite und dritte Nottasterverarbeitungseinheit 20, 21, 22 werden zusammen als Elektronikeinheit 24 des Nottasters 10 bezeichnet.
  • Die Elektronikeinheit 24 dient zugleich als Steuerungsvorrichtung 100. Hierbei dient die erste Nottasterverarbeitungseinheit 20 als erste Verarbeitungseinheit 103 der Steuerungsvorrichtung 100. Die zweite Nottasterverarbeitungseinheit 21 dient als zweite Verarbeitungseinheit 104 der Steuerungsvorrichtung 100. Die dritte Nottasterverarbeitungseinheit 22 dient als dritte Verarbeitungseinheit 105 der Steuerungsvorrichtung 100.
  • Die erste und die zweite Nottasterverarbeitungseinheit 20, 21 dienen zur Ausführung der sicherheitsrelevanten Funktionen des Nottasters. Die dritte Nottasterverarbeitungseinheit 22 bzw. Verarbeitungseinheit 105 dient zur Ausführung der nicht sicherheitsrelevanten Funktionen. Zu den sicherheitsrelevanten Funktionen zählt die Veranlassung der Entriegelung im Gefahrenfalle. Zu den nicht sicherheitsrelevanten Funktionen zählen die übrigen, zuvor aufgeführten Funktionen.
  • Bei Betätigen des Nottasters 10 wird ein Betätigungselement 11 von einer Ausgangsposition 11.I in eine Betätigungsposition 11.II bewegt, wodurch ein Schalter 63 betätigt wird (s. auch Figuren 12, 13). Hierdurch werden ein erstes und ein zweites Betätigungssignal erzeugt. Dadurch werden ein erster und ein zweiter Stromkreis (nicht dargestellt) geöffnet. Ein Signal über das Öffnen des ersten Stromkreises wird von der ersten Nottasterverarbeitungseinheit 20 erfasst. Ein Signal über das Öffnen des zweiten Stromkreises wird von der zweiten Nottasterverarbeitungseinheit 21 erfasst. Als Betätigungssignal wird das Signal verstanden, das durch den Benutzer durch die Betätigung des Betätigungselements erzeugt ist, um die Türverriegelung zu entriegeln und den Fluchtweg freigegeben zu bekommen. Der Ausdruck "in Folge einer Betätigung des Nottasters 10" wird insbesondere im Sinne von "nach Erzeugung des Betätigungssignals" verwendet, d. h. unabhängig davon, ob das Betätigungselement 11 sich noch in der Betätigungsposition 11.II befindet oder bereits in die Ausgangsposition 11.I zurückgekehrt ist.
  • Die erste Nottasterverarbeitungseinheit 20 und die zweite Nottasterverarbeitungseinheit 21 veranlassen jeweils unabhängig voneinander nach Erfassen des Betätigungssignals über das erste Bussystem 400 eine Entriegelung der Türverriegelung 200. Die zweite Nottasterverarbeitungseinheit 21 handelt somit redundant zu der ersten Nottasterverarbeitungseinheit 20.
  • Die Türverriegelung 200 umfasst eine Türverriegelungssteuerung 201. Die Türverriegelungssteuerung 201 umfasst ein erstes Verarbeitungsmittel 202 und ein zweites Verarbeitungsmittel 203. Das erste und das zweite Verarbeitungsmittel 202, 203 werden zusammen als Elektronikvorrichtung 207 bezeichnet. Das erste und das zweite Verarbeitungsmittel 202, 203 sind jeweils als Mikroprozessor oder Mikrocontroller ausgebildet. Das erste und die zweite Verarbeitungsmittel 202, 203 können jeweils einen Verriegelungsmechanismus 205 der Türverriegelung 200 zur Entriegelung ansteuern. Im Gefahrenfalle, d. h. in Folge der Betätigung des Nottasters 10 oder nach Empfang eines Brandmeldesignals, steuern sowohl das erste Verarbeitungsmittel 202 als auch das zweite Verarbeitungsmittel 203 den Verriegelungsmechanismus 205 zur Entriegelung an. Das zweite Verarbeitungsmittel 203 ist somit redundant zu dem ersten Verarbeitungsmittel 202. Durch diesen Aufbau wird eine Ein-Fehler-Sicherheit erreicht.
  • Der Verriegelungsmechanismus 205 ist elektromechanisch ausgebildet. Der Verriegelungsmechanismus 205 umfasst z. B. ein elektromechanisch betätigbares Fallenelement (nicht dargestellt), das eine Türfalle der Tür 2 im verriegelten Zustand der Türverriegelung 200 sperrt und im entriegelten Zustand der Türverriegelung 200 freigibt. Bei einer Ansteuerung des Verriegelungsmechanismus 205 zur Verriegelung schalten das erste und das zweite Verarbeitungsmittel 202, 203 einen elektrischen Strom für den Verriegelungsmechanismus 205 an. Bei einer Ansteuerung des Verriegelungsmechanismus 205 zur Entriegelung schalten das erste und das zweite Verarbeitungsmittel 202, 203 einen elektrischen Strom für den Verriegelungsmechanismus 205 ab. Jeweils einem Verarbeitungsmittel 202, 203 ist hierfür ein eigener Schalter zugeordnet. Das Öffnen nur eines der Schalter führt zum Abschalten des Stroms für den Verriegelungsmechanismus 205.
  • Die Türverriegelungssteuerung 201 erhält über eine nicht dargestellte Verriegelungsmechanismuszustandsüberwachungsvorrichtung Rückmeldung über den Zustand des Verriegelungsmechanismus 205. Insbesondere wird eine Position eines Ankers einer Spule des Verriegelungsmechanismus 205 überwacht. Entspricht der Zustand der Türverriegelung 205 nicht dem Soll-Zustand, so wird ein Alarm ausgegeben. Zusätzlich oder alternativ kann diesem Fall ein erneuter Versuch unternommen werden, den Soll-Zustand zu erreichen.
  • In Folge einer Betätigung des Nottasters 10 kommunizieren die erste und die zweite Nottasterverarbeitungseinheit 20, 21 mit dem ersten und dem zweiten Verarbeitungsmittel 202, 203 über das erste Bussystem 400 mit Hilfe einer Nachricht. Die Nachricht kann die Mitteilung über das Betätigtwerden oder einen Steuerbefehl zur Entriegelung enthalten. Hierbei informiert die erste Nottasterverarbeitungseinheit 20 das erste Verarbeitungsmittel 202 und die zweite Nottasterverarbeitungseinheit 21 das zweite Verarbeitungsmittel 203. Durch die Nachricht veranlassen die erste und die zweite Nottasterverarbeitungseinheit 20, 21, dass sowohl das erste als auch das zweite Verarbeitungsmittel 202, 203, den Verriegelungsmechanismus 205 zur Entriegelung ansteuern, also den elektrischen Strom abschalten.
  • Das Vorliegen eines Brandmeldesignals wird durch die erste und die zweite Nottasterverarbeitungseinheit 20, 21 erfasst. Hieraufhin veranlassen die erste und die zweite Nottasterverarbeitungseinheit 20, 21 durch eine Nachricht an das ersten und das zweiten Verarbeitungsmittel 202, 203, dass der Verriegelungsmechanismus 205 zur Entriegelung von der Türverriegelungssteuerung 201 angesteuert wird. Hierbei informiert die erste Nottasterverarbeitungseinheit 20 das erste Verarbeitungsmittel 202 und die zweite Nottasterverarbeitungseinheit 21 das zweite Verarbeitungsmittel 203. Durch die Nachricht veranlassen die erste und die zweite Nottasterverarbeitungseinheit 20, 21, dass sowohl das erste als auch das zweite Verarbeitungsmittel 202, 203, den Verriegelungsmechanismus 205 zur Entriegelung ansteuern, also den elektrischen Strom abschalten.
  • Die Betätigung des Nottasters 10 oder das Vorliegen eines Brandmeldesignals kann in einer Nachricht von einem der beiden Nottasterverarbeitungseinheiten 20, 21 versendet werden, wobei die erste Nottasterverarbeitungseinheit 20 einen ersten Teil der Nachricht und die zweite Nottasterverarbeitungseinheit 21 einen zweiten Teil der Nachricht schreiben. Das erste und das zweite Verarbeitungsmittel 202, 203 sind zumindest für jeweils einen Teil der Nachricht zuständig. Die Nottasterverarbeitungseinheiten 20, 21, 22 und das erste und das zweite Verarbeitungsmittel 202, 203 können jeweils Nachrichten über das erste Bussystem 400 empfangen. Hierbei können die Elektronikeinheit 24 und die Türverriegelungssteuerung 201 jeweils eine Busadresse zugeordnet sein.
  • Die erste und die zweite Nottasterverarbeitungseinheiten 20, 21 überwachen sich gegenseitig. Wird ein Fehler detektiert, so veranlasst die Elektronikeinheit 24, insbesondere die intakte Nottasterverarbeitungseinheit 20, 21, dass das erste und das zweite Verarbeitungsmittel 202, 203 den Türverriegelungsmechanismus 205 zur Entriegelung ansteuern. Das erste und das zweite Verarbeitungsmittel 202, 203 überwachen sich gegenseitig. Wird ein Fehler detektiert, so wird zumindest von dem intakten Verarbeitungsmittel 202, 203 der Verriegelungsmechanismus 205 zur Entriegelung angesteuert. Ebenfalls wird bei einer Störung des Bussystems 400 der Verriegelungsmechanismus 205 zur Entriegelung von der Türverriegelungssteuerung 201 angesteuert. Hierzu und zur Überprüfung der ersten und der zweiten Nottasterverarbeitungseinheit 20, 21 wird ein Lebenszeichensignal der ersten und der zweiten Nottasterverarbeitungseinheit 20, 21 regelmäßig an die Türverriegelungssteuerung 201 gesendet. Bleibt das Lebenszeichensignal aus, so wird von dem ersten und dem zweiten Verarbeitungsmittel 202, 203 der Verriegelungsmechanismus 205 zur Entriegelung angesteuert. Das erste und das zweite Verarbeitungsmittel 202, 203 kommunizieren miteinander, wenn die Türverriegelungssteuerung 201 eine Nachricht über die Betätigung des Nottasters 10 und/oder das Vorliegen eines Brandmeldesignals erhalten hat. Stellt nur das erste Verarbeitungsmittel 202 oder das zweite Verarbeitungsmittel 203 fest, dass der Nottaster 10 betätigt wurde oder ein Brandmeldesignal vorliegt, so steuert das feststellende Verarbeitungsmittel 202, 203 den Türverriegelungsmechanismus 205 zur Entriegelung an und initiiert, dass das andere Verarbeitungsmittel 202, 203 ebenfalls den Türverriegelungsmechanismus 205 zur Entriegelung ansteuert. Ein Fehler und eine Störung umfassen hierbei stets auch einen Ausfall der jeweiligen Komponente. Bei einem Stromausfall geht der Verriegelungsmechanismus 205 selbstständig in den entriegelten Zustand über. Bei dem in diesem Abschnitt beschriebenen Vorgängen gibt zudem das Sicherheitssystem 1, insbesondere mittels der Steuerungsvorrichtung 100, einen akustisches und/oder optischen Alarm aus.
  • Ist das Betätigungssignal erzeugt worden, so wird elektronisch verhindert, dass ohne das Vorliegen einer Aufhebungsbedingung die Türverriegelung 200 in den verriegelten Zustand überführt wird. Hierdurch wird verhindert, dass die Tür verriegelt wird, während ein Gefahrenzustand anhält. Hierzu ist in der Elektronikvorrichtung 207 eine elektronische Feststellung integriert. Die elektronische Feststellung wird infolge der Betätigung des Betätigungselements 11, das zur Freigabe des Fluchtwegs dient, in einen Betätigungszustand überführt. In dem Betätigungszustand ist die Ansteuerung der Türverriegelung 200 zur Verriegelung verhindert.
  • Die elektronische Feststellung umfasst einen ersten Programmcode. Der erste Programmcode umfasst eine erste Variable oder hat Zugriff auf eine erste Variable. In einem Ausgangszustand der elektronischen Feststellung ist die erste Variable auf einen Ausgangswert gesetzt. Im Betätigungszustand ist die erste Variable auf einen Betätigungswert gesetzt, durch den die Ansteuerung der Türverriegelung 200 zur Verriegelung verhindert ist. Die erste Variable kann binär sein. Wird die Aufhebungsbedingung erreicht, so wird die elektronische Feststellung in einen Ausgangszustand zurück überführt. Hierzu wird der Wert der ersten Variablen auf den Ausgangswert gesetzt. In dem Ausgangszustand der elektronischen Feststellung ist eine Ansteuerung der Türverriegelung 200 zur Verriegelung erlaubt. Der erste Programmcode erfasst den ersten Wert der ersten Variable und erlaubt eine Verriegelung der Türverriegelung 200, wenn der Wert der ersten Variablen dem Ausgangswert entspricht, und verhindert eine Verriegelung der Türverriegelung 200, wenn der Wert der ersten Variablen dem Betätigungswert entspricht.
  • Die elektronische Feststellung ist sowohl in dem ersten Verarbeitungsmittel 202 als auch redundant in dem zweiten Verarbeitungsmittel 203 hinterlegt. Hierzu ist der erste Programmcode in dem ersten Verarbeitungsmittel 202 hinterlegt. Die erste Variable ist in dem nichtflüchtigen Speicher des ersten Verarbeitungsmittels 202 gespeichert. Ein zweiter Programmcode mit derselben Funktionalität wie der erste Programmcode ist in dem zweiten Verarbeitungsmittel 203 hinterlegt. Die erste Variable ist redundant in dem nicht flüchtigen Speicher des zweiten Verarbeitungsmittels 203 gespeichert.
  • Die erste Variable ist zusätzlich in der ersten Nottasterverarbeitungseinheit 20 und in der zweiten Nottasterverarbeitungseinheit 21 jeweils in den nichtflüchtigen Speichern gespeichert. In Folge der Betätigung des Nottasters 10 wird die erste Variable in der ersten und in der zweiten Nottasterverarbeitungseinheit 20, 21 von dem Ausgangswert in den Betätigungswert überführt. Der geänderte Wert der ersten Variable wird der Elektronikvorrichtung 207 über das Bussystem 400 übermittelt. Bis zum Vorliegen einer Aufhebungsbedingung sendet der Nottaster 10 wiederholt den Betätigungswert der ersten Variable an die Elektronikvorrichtung 207. Das Senden kann in regelmäßigen Zeitabständen, insbesondere zusammen mit dem Lebenszeichensignal, erfolgen.
  • Zumindest wenn mindestens eine der Türzustandsüberwachungsvorrichtungen 204, 206 detektiert hat, dass die Tür 2 nach dem Betätigen des Nottasters 10 geöffnet wurde, so ist zum Erreichen der Aufhebungsbedingung eine Aufhebungshandlung am Nottaster 10 notwendig.
  • Das Betätigungselement 11 ist nichtrastend ausgeführt. Das Betätigungselement 11 wird bei der Betätigung von der Ausgangsposition 11.I in die Betätigungsposition 11.II überführt (s. Figur 11). Unmittelbar nach der Betätigung bewegt sich das Betätigungselement 11 wieder in die Ausgangsposition 11.I durch die Kraft eines als Feder ausgebildeten Rückstellmittels 12 zurück (s. Figur 12, 13). Die Betätigung des Betätigungselements 11 erfolgt translatorisch.
  • Die Aufhebungshandlung am Nottaster 10 wird durchgeführt, indem das Betätigungselement 11 betätigt wird. Hierdurch wird ein Aufhebungssignal erzeugt, das dem Betätigungssignal entspricht. Damit die Steuerungsvorrichtung 100 erkennen kann, ob eine Betätigung des Nottasters 10 zur Entriegelung der Türverriegelung 200 dient oder eine Aufhebungshandlung vorliegt, muss zum Erreichen der Aufhebungsbedingung zeitgleich ein weiteres Signal erzeugt werden. Hierzu authentifiziert sich ein Bediener. Die Authentifizierung erfolgt durch das Einstecken und Drehen eines Schlüssels im Schlüsseltaster 500. Die Betätigung des Betätigungselements 11 und die Authentifizierung müssen sich zeitlich überlappen. D. h. der Bediener muss den Schlüssel im gedrehten Zustand halten, während das Betätigungselement 11 sich in der Betätigungsposition 11.II befindet. Das Betätigungselement 11 muss in die Ausgangsposition 11.I zurückkehren, während der Schlüssel sich im gedrehten Zustand befindet. Der Handlungsablauf ist zum Erreichen der Aufhebungsbedingung ausreichend.
  • Haben die Türzustandsüberwachungsvorrichtungen 204, 206 detektiert, dass die Tür 2 in Folge der Betätigung des Nottasters 10 ständig geschlossen geblieben ist, so kann die Aufhebungsbedingung auf zumindest eine weitere Weise, nämlich durch Verstreichen eines vorbestimmten Zeitintervalls erreicht werden. So kann z. B. nach 60 Sekunden nach der letzten Erzeugung des Betätigungssignals die Aufhebungsbedingung erreicht sein, sofern die Tür 2 geschlossen geblieben ist. Eine Authentifizierung am Schlüsseltaster 500 und eine Aufhebungshandlung am Nottaster 10 sind in diesem Fall nicht notwendig.
  • Die erste und die zweite Türzustandsüberwachungsvorrichtungen 204, 206 sind vorgesehen, um mit einer Ein-Fehler-Sicherheit zu detektieren, dass die Tür 2 in Folge der Betätigung des Nottasters 10 ständig geschlossen geblieben ist. Hierzu sind die Türzustandsüberwachungsvorrichtungen 204, 206 bevorzugt unterschiedlich ausgebildet. Die erste Türzustandsüberwachungsvorrichtung 204 kann z. B. als Türkontakt ausgebildet sein. Die zweite Türzustandsüberwachungsvorrichtung 206 kann z. B. als Fallenkontakt ausgebildet sein. Alternativ kann z. B. zumindest eine der Türzustandsüberwachungen magnetisch, z. B. als Reedschalter, den Zustand der Tür 2 überwachen. Die Türverriegelungssteuerung 201 erhält ein Signal jeweils von der ersten und der zweiten Türzustandsüberwachungsvorrichtung 204, 206 darüber, ob die Tür 2 geöffnet oder geschlossen ist. Nur wenn während des vorbestimmten Zeitintervalls weder von der ersten Türzustandsüberwachungsvorrichtung 204 noch von der zweiten Türzustandsüberwachungsvorrichtung 206 ein Signal über das Öffnen der Tür gesendet wurde, kann die Aufhebungsbedingung durch Verstreichen des vorbestimmten Zeitintervalls erreicht werden.
  • Die Türverriegelungssteuerung 201 enthält einen Timer, um das vorbestimmte Zeitintervall zu messen. Die Türverriegelungssteuerung 201 startet den Timer in Folge der Betätigung des Nottasters 10. Erhält die Türverriegelungssteuerung 201 während des vorbestimmten Zeitintervalls ein Signal der ersten oder der zweiten Türzustandsüberwachungsvorrichtung 204, 206, dass die Tür geöffnet wurde, so muss eine Aufhebungshandlung an dem Nottaster 10 erfolgen. In diesem Fall reicht das Verstreichen des vorbestimmten Zeitintervalls nicht aus. Die Länge des vorbestimmten Zeitintervalls ist in der Türverriegelungssteuerung 201 hinterlegt.
  • Die Türverriegelungssteuerung 201 überprüft, ob ein Erreichen der Aufhebungsbedingung durch Verstreichen des vorbestimmten Zeitintervalls zulässig ist, bevor die Türverriegelungssteuerung 201 den Verriegelungsmechanismus 205 zum Verriegeln ansteuert. So kann ein Bediener bei der Inbetriebnahme des Sicherheitssystem 1, d. h. vor Beginn des Betriebes des Sicherheitssystems 1, hinterlegen, ob ein Verstreichen des vorbestimmten Zeitintervalls ohne Öffnen der Tür 2 als Aufhebungsbedingung zulässig ist und somit zu einer Wiederverriegelung der Tür 2 führt. Die Hinterlegung kann in dem Nottaster 10 erfolgen. Eine Überprüfung der Zulässigkeit, ein Verstreichen des vorbestimmten Zeitintervalls und ein Fehlen eines Signals von der ersten und der zweiten Türzustandsüberwachungsvorrichtung 204, 206 über ein Öffnen der Tür 2 ist zum Erreichen der Aufhebungsbedingung ausreichend.
  • Die Türverriegelungssteuerung 201 kommuniziert den geöffneten oder geschlossenen Zustand der Tür über den Bus 400 an den Nottaster 10 und/oder an die Steuerungsvorrichtung 100.
  • Die Elektronikeinheit 24 umfasst einen Timer. In der Elektronikeinheit 24 kann eine erste Verzögerungszeitdauer hinterlegt sein. Soll eine Entriegelung der Türverriegelung 200 zeitverzögert erfolgen, so wartet die Elektronikeinheit 24 nach der Erzeugung des Betätigungssignals die erste Verzögerungszeitdauer ab, bevor die erste und die zweite Nottasterverarbeitungseinheit 20, 21 über das erste Bussystem 400 mit der Türverriegelungssteuerung 201 kommunizieren, um eine Entriegelung zu veranlassen.
  • Die dritte Verarbeitungseinheit 105 veranlasst die zu Figur 1 und 2 beschriebenen nicht sicherheitsrelevanten Entriegelungen und Verriegelungen der Türverriegelung 200, z. B. eine Entriegelung nach Empfang des Authentifizierungssignals, zu einer vorgegebenen Zeit oder nach Ablauf einer vorgegebenen Zeitdauer oder eine Verriegelung nach Ablauf einer vorbestimmten Zeitspanne oder unmittelbar nach einem Schließen der Tür 2. Hierzu kommuniziert die dritte Verarbeitungseinheit 105 über das erste Bussystem 400 mit der Türverriegelungssteuerung 201. Die Kommunikation kann z. B. eine Information oder einen Steuerbefehl enthalten, die die Türverriegelungssteuerung 201 veranlasst, den Verriegelungsmechanismus zum Entriegeln oder Verriegeln anzusteuern. Ist die Steuerungsvorrichtung 100 mit dem zweiten Bussystem verbunden (s. Fig. 7), so dient die dritte Verarbeitungseinheit 105 zur Weiterleitung von Nachrichten von und/oder zu einer zentralen Fluchtwegsteuerung 300.
  • Die dritte Nottasterverarbeitungseinheit 22 steuert den akustischen Alarmgeber 23 und die Leuchtmittel 41 an.
  • Liegt zumindest einem der Verarbeitungsmittel 202, 203 vor, dass der Verriegelungsmechanismus 205 den entriegelten Zustand eingenommen hat, so sendet das Verarbeitungsmittel 202, 203 ein entsprechendes Signal über den Bus 400 an die Elektronikeinheit 24. Die Elektronikvorrichtung 207 ist mit den Türzustandsüberwachungsvorrichtung 204, 206 verbunden oder verbindbar und empfängt Signale über einen geöffneten oder geschlossenen Zustand der Tür von den Türzustandsüberwachungsvorrichtungen 204, 206.
  • Die genannten Funktionen, die die Steuerungsvorrichtung 100, die Türverriegelungssteuerung 2021 und/oder der Nottaster 10 ausführen, sind mit Hilfe von Softwaremodulen ausführbar. In der Elektronikvorrichtung 207 und/oder der Elektronikeinheit 24 sind Programmcodes hinterlegt, mit dessen Hilfe die Funktionen ausführbar sind.
  • Figur 3 stellt eine Variante des in den Figuren 1 und 2 dargestellten Sicherheitssystems 1 dar. Hierbei ist die Steuerungsvorrichtung 100 separat von dem Nottaster 10 und der Türverriegelung 200 ausgebildet. Die Steuerungsvorrichtung 100 kann z. B. in einem Hutschienengehäuse (nicht dargestellt) angeordnet sein. Die Steuerungsvorrichtung 100 ist nicht in einem Nottaster 10 oder in einer Türverriegelung 200 integriert. Z. B. kann die Steuerungsvorrichtung 100 zur Anordnung in einen Technikraum vorgesehen sein. Das erste Bussystem 400 verbindet die Steuerungsvorrichtung 100, die Türverriegelung 200 und den Nottaster 10 miteinander. Wie in dem ersten Ausführungsbeispiel, ist der Schlüsseltaster 500 mit dem Nottaster 10 über eine Verbindung 402 elektrisch verbunden oder verbindbar.
  • Soweit nicht anders beschrieben, entspricht der Aufbau und die Funktion dem ersten Ausführungsbeispiel, wobei die Funktionen, die zu den Figuren 1 und 2 mit Hilfe der Steuerungsvorrichtung 100 oder den Verarbeitungseinheiten 103, 104, 105 beschrieben sind, von der Steuerungsvorrichtung 100 der Figur 3 ausgeführt werden und die Funktionen, die zu den Figuren 1 und 2 mit Hilfe des Nottasters 10 oder der Nottasterverarbeitungseinheiten 20, 21, 22 beschrieben sind, von dem Nottaster 10 ausgeführt werden: Insbesondere erfassen die erste und die zweite Nottasterverarbeitungseinheit 20, 21 das Betätigungssignal, kommunizieren in Folge einer Betätigung des Nottasters 10 mit dem ersten und dem zweiten Verarbeitungsmittel 202, 203 über das erste Bussystem 400 und veranlassen so eine Ansteuerung des Verriegelungsmechanismus 205 durch die Türverriegelungssteuerung 201. Die Maßnahmen zum Erreichen der Ein-Fehlersicherheit bzw. Redundanz werden mit Hilfe der ersten und der zweiten Nottasterverarbeitungseinheiten 20, 21 durchgeführt. Die erste Variable ist in der ersten und der zweiten Nottasterverarbeitungseinheit 20, 21 gespeichert und wird von dort aus an die Türverriegelungsteuerung 201 übermittelt. Der Nottaster 10 umfasst den Timer zur Bestimmung der ersten Verzögerungszeitdauer. Die Steuerungsvorrichtung 100 ist mit dem zweiten Bussystem 401 verbunden oder verbindbar. Die dritte Verarbeitungseinheit 105 veranlasst die zu Figur 1 und 2 beschriebenen nicht sicherheitsrelevanten Entriegelungen und Verriegelungen der Türverriegelung 200, z. B. eine Entriegelung nach Empfang des Authentifizierungssignals, zu einer vorgegebenen Zeit oder nach Ablauf einer vorgegebenen Zeitdauer oder eine automatische Wiederverriegelung nach Ablauf einer vorbestimmten Zeitspanne oder unmittelbar nach einem Schließen der Tür 2.
  • Die erste, zweite und dritte Verarbeitungseinheit 103, 104, 105 sind jeweils als Mikroprozessor oder Mikrocontroller ausgebildet. Die erste, zweite und dritte Verarbeitungseinheit 103, 104, 105 bilden zusammen eine Verarbeitungselektronik 101. Die erste und die zweite Verarbeitungseinheit 103, 104 weisen einen nicht flüchtigen Speicher auf. Die dritte Verarbeitungseinheit 105 umfasst einen nicht flüchtigen Speicher und/oder hat Zugriff auf einen nicht flüchtigen Speicher.
  • Ein Brandmeldesignal kann sowohl von der Steuerungsvorrichtung 100 als auch von dem Nottaster 10 empfangbar sein. Das Vorliegen eines Brandmeldesignals wird dabei durch die erste und die zweite Nottasterverarbeitungseinheit 20, 21 für den Nottaster 10 oder von der ersten und der zweiten Verarbeitungseinheit 103, 104 für die Steuerungsvorrichtung 100 erfasst. Entsprechend können sowohl die Steuerungsvorrichtung 100 mit Hilfe der ersten und der zweiten Verarbeitungseinheit 103, 104 als auch der Nottaster 10 mit Hilfe der ersten und der zweiten Nottasterverarbeitungseinheit 20, 21 eine Entriegelung der Türverriegelung 200 veranlassen. Hierzu findet eine Kommunikation über das erste Bussystem 400 mit der Türverriegelungssteuerung 201 statt.
  • Die Steuerungsvorrichtung 100 wird über das erste Bussystem 400 informiert, wenn der Nottaster 10 eine Entriegelung der Türverriegelung 200 veranlasst, also in Folge einer Betätigung des Nottasters 10 oder nach dem Empfang eines Brandmeldesignals. Ebenfalls wird die Steuerungsvorrichtung 100 über eine zeitverzögerte Entriegelung der Türverriegelung 200 in Folge der Betätigung des Nottasters 10 informiert. Die Steuerungsvorrichtung 100 wird über den Verriegelungs- und Entriegelungszustand der Türverriegelung 200 informiert. Die Steuerungsvorrichtung 100 wird über den geöffneten oder geschlossenen Zustand der Tür 2 informiert.
  • Die Steuerungsvorrichtung 100 veranlasst eine Ansteuerung des Alarmgebers 23 und der Leuchtmittel 41 für die zu den Figuren 1 und 2 beschriebenen akustischen Alarme und optischen Darstellungen. Hierzu kann die Steuerungsvorrichtung 100 mit der Elektronikeinheit 24, insbesondere mit der dritten Nottasterverarbeitungseinheit 22, über das erste Bussystem 400 kommunizieren. Die dritte Nottasterverarbeitungseinheit 22 steuert daraufhin den Alarmgeber 23 bzw. die Leuchtmittel 41 an. Hierzu sind die Parameter für den Alarmgeber 23 und die Leuchtmittel 41 in der Steuerungsvorrichtung 100 hinterlegt.
  • In den Ausführungsbeispielen der Figuren 1 bis 3 umfasst die Türverriegelung 200 die Türzustandsüberwachungsvorrichtungen 204, 206. Alternativ hierzu und nicht dargestellt können die Türzustandsüberwachungsvorrichtungen 204, 206 mit dem ersten Bussystem 400 oder unmittelbar mit dem Nottaster 10 und/oder der Steuerungsvorrichtung 100 verbunden sein.
  • In den Ausführungsbeispielen der Figuren 1 bis 3 kann zumindest ein weiterer nicht dargestellter Nottaster mit dem erste Bussystem 400 verbunden sein, der ohne die Steuerungsvorrichtung 100 ausgebildet ist. Der weitere Nottaster ist wie der Nottaster 10 in Figur 3 ausgebildet und kann bei einer Betätigung die Entriegelung der Türverriegelung 200 veranlassen. Der weitere Nottaster entspricht im Aufbau und in der Funktionalität dem Nottaster 10 der Figur 3.
  • In den Ausführungsbeispielen der Figuren 1 bis 3 kann zumindest eine weitere nicht dargestellte Türverriegelung mit dem erste Bussystem 400 verbunden sein. Die weitere Türverriegelung ist wie der Türverriegelung 200 in Figur 2 oder 3 ausgebildet und kann bei einer Betätigung des Nottasters 10 ebenfalls entriegelt werden. Die weitere Türverriegelung entspricht im Aufbau und in der Funktionalität der Türverriegelungen 200 der Figuren 1 bis 3.
  • In Figur 4 ist ein Ausführungsbeispiel eines erfindungsgemäßen Sicherheitssystems 1 mit mehreren Nottastern 10, 1010, 2010, 3010 dargestellt. Das Sicherheitssystem 1 umfasst mehrere Türverriegelungen 200, 1200, 2200, 3200. Jedem Nottaster 10, 1010, 2010, 3010 ist ein Schlüsseltaster 500, 1500, 2500, 3500 zugeordnet. Das Sicherheitssystem 1 dient zum Anordnen der Nottaster 10, 1010, 2010, 3010 und Türverriegelungen 200, 1200, 2200, 3200 an verschiedenen Türen 2, 2002, 3002. Die Türen 2, 2002, 3002 sind nicht Teil des erfindungsgemäßen Sicherheitssystems 1. Die mehreren Nottaster 10, 1010, 2010, 3010 sind mit dem ersten Bussystem 400 verbunden und entsprechen so einer Anzahl von Nottastern 10, 1010, 2010, 3010. Die Türverriegelungen 200, 1200, 2200, 3200 sind mit dem ersten Bussystem 400 verbunden und entsprechen so einer Anzahl von Türverriegelungen 200, 1200, 2200, 3200.
  • In dem Beispiel der Figur 4 sind die Nottaster 10, 1010 den Türverriegelungen 200, 1200 zugeordnet. Der Nottaster 2010 ist der Türverriegelung 2200 zugeordnet. Der Nottaster 3010 ist der Türverrieglung 3200 zugeordnet. So wird in Folge einer Betätigung von einem der Nottaster 10, 1010 die beiden Türverriegelungen 200, 1200 entriegelt, nicht jedoch die Türverriegelungen 2200, 3200. Wird der Nottaster 2010 betätigt, so wird nur die Türverriegelung 2200 entriegelt. Entsprechend wird, wenn der Nottaster 3010 betätigt wird, nur die Türverriegelung 3200 entriegelt. Somit werden in diesem Ausführungsbeispiel die Türverriegelungen 200, 1200, 2200, 3200 selektiv entriegelt.
  • Beispielsweise können die Nottaster 10, 1010 zur Anordnung an einer zweiflügeligen Tür 2 vorgesehen sein. Jeweils eine Türverriegelung 200, 1200 ist jeweils an einem Türflügel 3, 4 der Tür 2 anzuordnen. Der Nottaster 2010 und die Türverriegelung 2200 sind zu Anordnung an einer weiteren Tür 2002 vorgesehen. Der Nottaster 3020 und die Türverriegelung 3200 sind an einer Tür 3002 anzuordnen, wie in Figur 4 dargestellt.
  • Das Sicherheitssystem 1 aus Figur 4 kann auch für von Figur 4 abweichende selektive Entriegelungen einstellbar sein. Bei einer zu Figur 4 abweichenden beispielhaften Einstellung wird bei einer Betätigung eines der Nottaster 10,1010, 2010, 3010 jeweils nur eine einzige zugeordnete Türverriegelung 200, 1200, 2200, 3200 entriegelt. Somit ist jeweils einem Nottaster 10, 1010, 2010, 3010 jeweils nur eine Türverriegelung 200, 1200, 2200, 3200 zugeordnet. Insbesondere ist ein derart eingestelltes Sicherheitssystem 1 für vier einflügelige Türen mit je einer Türverriegelung 200, 1200, 2200, 3200 geeignet.
  • Bei einer anderen beispielhaften, nicht dargestellten Einstellung des Sicherheitssystems 1 werden bei einer Betätigung eines der Nottaster 10,1010 nur die beiden Türverriegelungen 200, 1200 und bei der Betätigung eines der Nottaster 2010, 3010 jeweils nur die beiden anderen Türverriegelung 2200, 3200 entriegelt. Somit sind die Nottaster 10, 1010 den Türverriegelungen 200, 1200 und die Nottaster 2010, 3010 den Türverriegelungen 2200, 3200 zugeordnet. Insbesondere ist das derart eingestellte Sicherheitssystem 1 für zwei zweiflügelige Türen mit je einer Türverriegelung 200, 1200, 2200, 3200 pro Türflügel geeignet.
  • Ebenfalls kann das Sicherheitssystem 1 so eingestellt werden, dass bei der Betätigung eines Nottaster 10, 1010, 2010, 3010 alle Türverriegelungen 200, 1200, 2200, 3200 entriegelt werden.
  • Abweichend von dem Sicherheitssystem 1, das in Figur 4 dargestellt ist, kann ein erfindungsgemäßes Sicherheitssystem 1 eine Anzahl von Nottastern 10, 1010, 2010, 3010 umfassen, die sich nicht mit der Anzahl von Türverriegelungen 200, 1200, 2200, 3200 deckt. Z. B. kann in Figur 4 die Tür 2 einflügelig ausgebildet sein und einer der Nottaster 10, 1010 oder eine der Türverriegelungen 200, 1200 fehlen.
  • In Figur 5 ist dargestellt, dass die Nottaster 10, 1010, 2010, 3010 und die Türverriegelungen 200, 1200, 2200, 3200 über das erstes Bussystem 400 miteinander verbunden sind. Jeweils ein Nottaster 10, 1010, 2010, 3010 ist mit einem dem jeweiligen Nottaster 10, 1010, 2010, 3010 zugeordneten Schlüsseltaster 500, 1500, 2500, 3500 über eine Verbindung 402, 1402, 2402 bzw. 3402 elektrisch verbunden oder verbindbar. Alternativ sind die Schlüsseltaster 500, 1500, 2500, 3500 mit dem ersten Bussystem 400 verbunden (nicht dargestellt). In dem Ausführungsbeispiel der Figuren 4 und 5 ist die Steuerungsvorrichtung 100 in einem der Nottaster 10, 1010, 2010, 3010, z. B. dem Nottaster 10, integriert. Das erste Bussystem 400 ist nur mit einer einzigen Steuerungsvorrichtung 100 verbunden. Sofern im Folgenden nicht abweichend beschrieben, entsprechen der Aufbau und die Funktionen der Türverriegelungen 200, 1200, 2200, 3200 dem Aufbau und den Funktionen der Türverriegelung 200 der Figuren 2 und 3, der Aufbau und die Funktionen des Nottasters 10 dem Aufbau und den Funktionen des Nottasters 10 der Figur 2 und der Aufbau und die Funktionen der Nottaster 1010, 2010, 3010 dem Aufbau und den Funktionen des Nottasters 10 der Figur 3. Die Bezugszeichen aus den Figuren 2 und 3 werden verwendet. Hierbei versteht sich, dass jeweils die Türverriegelungen 200, 1200, 2200, 3200 einen eigenen Türverriegelungsmechanismus, eigene Verarbeitungsmittel etc. umfassen und die Nottaster 10, 1010, 2010, 3010 jeweils eigene Nottasterverarbeitungseinheiten, Alarmgeber, Leuchtmittel, Schalter und Betätigungselemente umfassen.
  • Damit die Zuordnung der Nottaster 10, 1010, 2010, 3010 zu den Türverriegelungen 200, 1200, 2200, 3200 erfolgen kann, wird bei der Inbetriebnahme des Sicherheitssystems 1, also vor dem Start des Betriebes des Sicherheitssystems 1, eine Zuordnung der Nottaster 10, 1010, 2010, 3010 zu den Türverriegelungen 200, 1200, 2200, 3200 vorgenommen. Hierzu wird jeweils eine der Türverriegelungen 200, 1200, 2200, 3200 in einen Zuordnungsmodus überführt. Danach wird an den Nottastern 10, 1010, 2010, 3010 eine bewusste Handlung vorgenommen. Die bewusste Handlung kann als eine Betätigung des Betätigungselements 11 des jeweiligen Nottasters 10, 1010, 2010, 3010 ausgeführt sein. Nachdem alle Nottaster 10, 1010, 2010, 3010, die derjenigen Türverriegelung 200, 1200, 2200, 3200, die sich in dem Zuordnungsmodus befindet, zuzuordnen sind, betätigt worden sind, wird der Zuordnungsmodus der Türverriegelung 200, 1200, 2200, 3200 beendet. Im Ausführungsbeispiel der Figur 4 wird z. B. zunächst die Türverriegelung 200 in den Zuordnungsmodus überführt und danach die Nottaster 10, 1010 betätigt, wodurch die Zuordnung der Nottaster 10, 1010 zu der Türverriegelung 200 erfolgt. Dann wird der Zuordnungsmodus der Türverriegelung 200 beendet. Anschließend wird z. B. die Türverriegelung 1200 in den Zuordnungsmodus überführt und danach die Nottaster 10, 1010 betätigt, wodurch die Zuordnung der Nottaster 10, 1010 zu der Türverriegelung 1200 erfolgt. Dann wird der Zuordnungsmodus der Türverriegelung 1200 beendet. Nun wird die Türverriegelung 2200 in den Zuordnungsmodus überführt und danach der Nottaster 2010 betätigt, wodurch die Zuordnung des Nottasters 2010 zu der Türverriegelung 2200 erfolgt. Der Zuordnungsmodus der Türverriegelung 2200 wird beendet. Entsprechend kann danach mit der Türverriegelung 3200 und dem Nottaster 3010 verfahren werden.
  • Durch die Zuordnung wird in den jeweiligen Türverriegelungen 200, 1200, 2200, 3200, insbesondere in den jeweiligen Türverriegelungssteuerungen 201, hinterlegt, welcher Nottaster 10, 1010, 2010, 3010 der jeweiligen Türverriegelung 200, 1200, 2200, 3200 zuzuordnen ist. Durch die Zuordnung wird in der Steuerungsvorrichtung 100 für alle Nottaster 10, 1010, 2010, 3010 und alle Türverriegelungen 200, 1200, 2200, 3200 des ersten Bussystems 400 die Zuordnung der Nottaster 10, 1010, 2010, 3010 zu den Türverriegelungen 200, 1200, 2200, 3200 hinterlegt. Für die Zuordnung wird jeweils eine Busadresse, insbesondere eine unveränderbare Busadresse, der jeweiligen Nottaster 10, 1010, 2010, 3010 hinterlegt.
  • Die Hinterlegung der Zuordnung in den jeweiligen Türverriegelungen 200, 1200, 2200, 3200 erfolgt jeweils in dem ersten digitalen Verarbeitungsmittel 202 und redundant in dem zweiten digitalen Verarbeitungsmittel 203, insbesondere in den nicht flüchtigen Speichern der Verarbeitungsmittel 202, 203.
  • Wird z. B. der Nottaster 10 betätigt, so kommuniziert der Nottaster 10 mit allen Türverriegelungen 200, 1200, 2200, 3200 des ersten Bussystems 400. Die Türverriegelungen 200, 1200, 2200, 3200 prüfen jeweils anhand der Hinterlegung, ob die jeweilige Türverriegelung 200, 1200, 2200, 3200 dem betätigten Nottaster 10 zugeordnet worden ist. Nur im Falle der Zuordnung steuern daraufhin die zugeordneten Türverriegelungen 200, 1200 den jeweiligen Türverriegelungsmechanismus 205 an.
  • Bei einem Brandmeldesignal werden die Türverriegelungen 200, 1200, 2200, 3200, die dem das Brandmeldesignal empfangenden Nottaster 10, 1010, 2010, 3010 zugeordnet sind, entriegelt.
  • Soll eine Türverriegelung 200, 1200, 2200, 3200 zeitverzögert in Folge der Betätigung eines zugeordneten Nottasters 10, 1010, 2010, 3010 entriegelt werden, so ist in demjenigen Nottaster 10, 1010, 2010, 3010 eine erste Verzögerungszeitdauer hinterlegt. Die Hinterlegung findet bei der Inbetriebnahme des Sicherheitssystems 1 durch das Parametrierungsprogramm statt. Es kann für jeden Nottaster 10, 1010, 2010, 3010 eine unterschiedliche erste Verzögerungszeitdauer durch den Bediener hinterlegbar sein. Beispielsweise ist in dem Nottaster 10 eine erste Verzögerungszeitdauer hinterlegt, die sich von der ersten Verzögerungszeitdauer, die im Nottaster 2010 hinterlegt ist, unterscheidet. Die Nottaster 1010, 3010 sollen ohne Zeitverzögerung eine Entriegelung der zugeordneten Türverriegelungen 2200 bzw. 3200 veranlassen, so dass in den Nottastern 1010, 3010 keine erste Verzögerungszeitdauer oder eine erste Verzögerungszeitdauer von 0 s hinterlegt ist. Alternativ hierzu kann das Sicherheitssystem 1 derart ausgebildet sein, dass in den Nottastern 10, 1010, 2010, 3010, die derselben Türverriegelung 200, 1200, 2200, 3200 zugeordnet sind, stets dieselbe erste Verzögerungszeitdauer hinterlegt ist. Hierzu ermöglicht das Parametrierungsprogramm dem Bediener nur eine gemeinsame Einstellung.
  • Die Steuerungsvorrichtung 100 übernimmt die nicht sicherheitsrelevanten Funktionen zur Entriegelung und Verriegelung aller Türverriegelungen 200, 1200, 2200, 3200, wie zuvor zu Figur 1 und 2 beschrieben. Hierzu kann die Steuerungsvorrichtung 100 mit den Türverriegelungen 200, 1200, 2200, 3200 selektiv kommunizieren. So ist in der Steuerungsvorrichtung 100 hinterlegt, welchem Zutrittskontrollsystem welche Türverriegelung 200, 1200, 2200, 3200 zugeordnet ist, so dass bei einem positiven Authentifizierungssignal eines Zutrittskontrollsystems nur die zugeordnete(n) Türverriegelung(en) 200, 1200, 2200, 3200 entriegelt werden. Ebenfalls ist in der Steuerungsvorrichtung 100 hinterlegt, ob und wann ja, welche Türverriegelung 200, 1200, 2200, 3200 zu welcher vorgegebenen Zeit entriegelt werden soll. Ebenfalls kann in der Steuerungsvorrichtung 100 hinterlegt sein, nach welcher vorgegebenen Zeitspanne oder welchen vorgegebenen Zeitspannen welche Türverriegelung 200, 1200, 2200, 3200 wieder verriegelt werden soll. Ebenfalls ist in der Steuerungsvorrichtung 100 hinterlegt, ob und, wenn ja, welche Türverriegelungen 200, 1200, 2200, 3200 unmittelbar nach einem Schließen der Tür 2, 2002, 3002 wieder zu verriegeln sind. In der Steuerungsvorrichtung 100 kann hinterlegt sein, ob, und wenn ja, für welche Türverriegelung 200, 1200, 2200, 3200 ein akustischer Alarm veranlasst werden soll, wenn die entriegelte Tür 2, 2002, 3002 geöffnet wird, ohne dass ein positives Authentifizierungssignal vorliegt. In der Steuerungsvorrichtung 100 kann hinterlegt sein, ob ein akustischer Alarm veranlasst werden soll, wenn die Tür 2, 2002, 2003 nicht wieder geschlossen wird. Die Hinterlegungen können für jede Türverriegelung 200, 1200, 2200, 3200 oder für die Gruppen von Türverriegelungen 200, 1200, 2200, 3200, die an einer Tür 2, 2002, 3002 anzuordnen sind, unterschiedlich erfolgen. Die Hinterlegung erfolgt mit Hilfe des Parametrierungsprogramms durch den Bediener bei der Inbetriebnahme.
  • Die Steuerungsvorrichtung 100 veranlasst, dass ein akustischer und optischer Alarm in Folge der Betätigung eines Nottasters 10, 1010, 2010, 3010 auch in dem zumindest einen weiteren Nottaster 10, 1010, 2010, 3010 ausgegeben wird, der derselben Türverriegelung 200, 1200, 2200, 3200 wie der betätigte Nottaster 10, 1010, 2010, 3010 zugeordnet ist. Wird in dem Ausführungsbeispiel der Figuren 4 und 5 z. B. der Nottaster 10 betätigt, so veranlasst die Steuerungsvorrichtung 100 durch Kommunikation mit der Elektronikeinheit 24 des Nottasters 1010, dass auch der akustische Alarmgeber 23 und die Leuchtmittel 41 des Nottasters 1010 einen akustischen bzw. optischen Alarm ausgeben.
  • Wird nach einer Betätigung eines Nottasters 10, 1010, 2010, 3010 zeitverzögert eine Entriegelung veranlasst, so veranlasst die Steuerungsvorrichtung 100, dass die erste Verzögerungszeitdauer, mit der die Entriegelung veranlasst wird, auch in dem zumindest einen weiteren Nottaster 10, 1010, 2010, 3010 dargestellt wird, der derselben Türverriegelung 200, 1200, 2200, 3200 wie der betätigte Nottaster 10, 1010, 2010, 3010 zugeordnet ist. Hierzu kommuniziert die Steuerungsvorrichtung 100 mit der Elektronikeinheit 24 des zumindest einen weiteren Nottasters 1010, 2010, 3010 oder steuert die Leuchtmittel 41 des Nottasters 10 an, in der die Steuerungsvorrichtung 100 integriert ist.
  • Die Steuerungsvorrichtung 100 kann die nicht sicherheitsrelevante Zuordnung zur selektiven Kommunikation, z. B. die Zuordnung eines Zutrittkontrollsystems zu einer Türverriegelung 200, 1200, 2200, 3200 anhand einer Busadresse vornehmen. Hierbei weisen die Teilnehmer des ersten Bussystem 400 jeweils eine Einstellvorrichtung zur manuellen Einstellung einer Busadresse auf. Die Einstellvorrichtung kann DIP-Schalter umfassen. Zumindest die Teilnehmer des ersten Bussystems 400, die dieselbe Einstellung an der Einstellvorrichtung haben, sind automatisch einander zugeordnet. Um Teilnehmern mit derselben Einstellung unterschiedliche Busadressen zuweisen zu können, weisen Teilnehmer des ersten Bussystems 400 unterschiedliche Kennzahlen auf, aus denen mit Hilfe der vorgenommenen Einstellung unterschiedliche Busadressen konfiguriert werden. Die Busadresse, die mit Hilfe der Einstellung ermittelt wird, ist für die Nottaster 10, 1010, 2010, 3010 und für die Türverriegelungen 200, 1200, 2200, 3200, nur eine weitere Busadresse, die die Nottaster 10, 1010, 2010, 3010 und die Türverriegelungen 200, 1200, 2200, 3200 neben der Busadresse, die bei einer sicherheitsrelevanten Kommunikation verwendet wird, verwenden.
  • Wurde bereits eine Türverriegelung 200, 1200, 2200, 3200 entriegelt, so kann die Steuerungsvorrichtung 100 eine Entriegelung einer weiteren Türverriegelung 200, 1200, 2200, 3200 bis zum Vorliegen einer Bedingung verhindern, sofern kein Gefahrenfall vorliegt. Ist die Bedingung erfüllt, veranlasst die Steuerungsvorrichtung 100 die Entriegelung der weiteren Türverriegelung 200, 1200, 2200, 3200. Auf diese Weise die Steuerungsvorrichtung 100 mit mehreren Türverriegelungen 200, 1200, 2200, 3200 so kommunizieren, dass eine Schleuse gebildet ist. Beispielsweise kann die Tür 2002 an einem Eingang zu einem Raum und die Tür 3002 an einem Ausgang desselben Raumes angeordnet sein. Die Steuerungsvorrichtung 100 kann bei Vorliegen eines positiven Authentifizierungssignals für die Türverriegelung 2200 eine Entriegelung der Türverriegelung 2200 veranlassen. Selbst wenn ein positives Authentifizierungssignal für die Türverriegelung 3200 der Steuerungsvorrichtung 100 vorliegt, kann die Steuerungsvorrichtung 100 bis zum Vorliegen einer Bedingung die Entriegelung der Türverriegelung 3200 verhindern. Liegt die Bedingung vor, so veranlasst die Steuerungsvorrichtung 100 eine Entriegelung der Türverriegelung 3200. Bei der Bedingung kann es sich z. B. um ein Schleusen-Zeitintervall oder das Erreichen einer Messgröße, wie Raumtemperatur, Luftfeuchtigkeit, Luftreinheit oder Anzahl der Personen im Raum, handeln. Die Steuerungsvorrichtung 100 kann hierzu mit einem Messgerät verbunden oder verbindbar sein. Die Bedingung kann das Schließen der zuerst geöffneten Tür 2002 umfassen, was durch die Türzustandsüberwachungsvorrichtungen 204, 206 messbar ist. Die Bedingung und die an der Schleuse beteiligten Türverriegelungen 2200, 3200 können in der Steuerungsvorrichtung 100 hinterlegt sein. Die Hinterlegung kann durch den Bediener mit Hilfe des Parametrierungsprogramms erfolgen.
  • In Figur 6 ist eine Variante des in den Figuren 4 und 5 dargestellten Sicherheitssystems 1 dargestellt. Hierbei ist die Steuerungsvorrichtung 100 separat von den Nottastern 10, 1010, 2010, 3010 und den Türverriegelungen 200, 1200, 2200, 3200 ausgebildet. Das erste Bussystem 400 verbindet die Steuerungsvorrichtung 100 mit den Türverriegelungen 200, 1200, 2200, 3200 und den Nottastern 10, 1010, 2010, 3010. Die Steuerungsvorrichtung 100 der Figur 6 entspricht im Aufbau der Steuerungsvorrichtung 100 der Figur 3. Der Nottaster 10 der Figur 6 entspricht im Aufbau dem Nottaster 10 der Figur 3. Im Übrigen entsprechen der Aufbau und die Funktionalitäten, die zuvor zu Figur 5 beschrieben sind, dem Aufbau und den Funktionaliäten des Sicherheitssystems 1 der Figur 6.
  • Dadurch, dass in den Ausführungsbeispielen der Figuren 4 bis 6 die Türverriegelungen 200, 1200, 2200, 3200, die Nottaster 10, 1010, 2010, 3010 und ggf. die Steuerungsvorrichtung 100 als Teilnehmer eines einzigen ersten Bussystems 400 agieren, sind nur die Kabel des Bussystems 400 notwendig, damit die Teilnehmer untereinander kommunizieren können. Somit weist das Sicherheitssystem 1 nur wenige Kabel auf.
  • Das Bussystem 400 kann zumindest zwei Kabel zur Kommunikation und zumindest zwei Kabel zur Stromversorgung umfassen. Insbesondere weist das Bussystem 400 genau zwei Kabel zur Kommunikation und zwei Kabel zur Stromversorgung auf. In jedem der Ausführungsbeispiele des erfindungsgemäßen Sicherheitssystems 1 ist ein Netzteil als Anschluss an ein Stromnetz an einer beliebigen Stelle des Bussystems 400 integrierbar. Somit kann das Netzteil als eigenständige Komponente des Sicherheitssystems 1 außerhalb des Nottasters 10 bzw. der Nottaster 10, 1010, 2010, 3010 und der Türverriegelung 200 bzw. der Türverriegelungen 200, 1200, 2200, 3200 vorgesehen sein. Hierdurch ist das Sicherheitssystem 1 im räumlichen Aufbau flexibel.
  • Sind wie in dem dritten und vierten Ausführungsbeispiel mehrere Nottaster 10, 1010, 2010, 3010 vorhanden und ist einer der Nottaster 10, 1010, 2010, 3010 betätigt worden, so ist elektronisch durch die elektronische Feststellung nur verhindert, dass die dem betätigten Nottaster 10, 1010, 2010, 3010 zugeordneten Türverriegelungen 200, 1200, 2200, 3200 verriegelt werden. Das Erreichen der Aufhebungsbedingung ermöglicht die Verriegelung der dem betätigten Nottaster 10, 1010, 2010, 3010 zugeordnete(n) Türverriegelung(en) 200, 1200, 2200, 3200. Zum Erreichen der Aufhebungsbedingung ist die zeitlich überlappende Betätigung des Betätigungselements 11 desjenigen Nottasters 10, 1010, 2010, 3010, der zuvor betätigt wurde, und der Authentifizierung an dem dem betätigten Nottaster 10, 1010, 2010, 3010 zugeordneten Schlüsseltaster 500, 1500, 2500, 3500 notwendig. Zumindest ist dieser Handlungsablauf für diejenige dem betätigten Nottaster 10, 1010, 2010, 3010 zugeordnete Türverriegelung 200, 1200, 2200, 3200 notwendig, bei der mindestens eine der Türzustandüberwachungsvorrichtungen 204, 206 detektiert hat, dass die Tür 2 oder einer der Türflügel 3, 4 nach dem Betätigen des Nottasters 10 geöffnet wurde.
  • Haben die Türzustandsüberwachungsvorrichtungen 204, 206 der dem betätigten Nottaster 10, 1010, 2010, 3010 zugeordneten Türverriegelungen 200, 1200, 2200, 3200 detektiert, dass die Tür 2 nach dem Betätigen des Nottasters 10, 1010, 2010, 3010 ständig geschlossen geblieben ist, so kann die Aufhebungsbedingung durch Ablauf des vorbestimmten Zeitintervalls erreicht werden. So kann die Aufhebungsbedingung z. B. nach 60 Sekunden nach der letzten Betätigung des Nottasters 10 erreicht sein. Die Zulässigkeit, ob eine Verriegelung nach Verstreichen des vorbestimmten Zeitintervalls bei geschlossen gebliebener Tür 2, 2002, 3002 erfolgen soll, kann für jede Türverriegelung 200, 1200, 2200, 3200 oder für Gruppen von Türverriegelungen 200, 1200, 2200, 3200, insbesondere für Türverriegelungen, die zur Anordnung an derselben Tür bestimmt sind, individuell einstellbar und hinterlegbar sein. Die Hinterlegung kann z. B. in den Nottastern 10, 1010, 2010, 3010 erfolgen. Ebenso kann für jede Türverriegelung 200, 1200, 2200, 3200 oder für Gruppen von Türverriegelungen 200, 1200, 2200, 3200, insbesondere für Türverriegelungen, die zur Anordnung an derselben Tür bestimmt sind, die Länge des vorbestimmten Zeitintervalls individuell einstellbar hinterlegbar sein. Hierbei kann eine Mindestlänge, z. B. 60 s, für das vorbestimmte Zeitintervall fest vorgegeben sein. Die Hinterlegung erfolgt durch das Parametrierungsprogramm.
  • In Figur 7 ist ein fünftes Ausführungsbeispiel eines Sicherheitssystems 1 dargestellt. Das fünfte Ausführungsbeispiel umfasst das Sicherheitssystem 1 gemäß dem ersten Ausführungsbeispiel der Figuren 1 und 2. Das heißt, der Nottaster 10, der die Steuerungsvorrichtung 100 umfasst, ist über das Bussystem 400 mit der Türverriegelung 200 verbunden. Der Schlüsseltaster 500 ist über eine Verbindung 402 mit dem Nottaster 10 verbunden oder verbindbar. In dem fünften Ausführungsbeispiel sind gegenüber dem ersten Ausführungsbeispiel weitere Komponenten 300, 301, 510 vorgesehen.
  • Das Sicherheitssystem 1 umfasst die zentrale Fluchtwegsteuerung 300. Die zentrale Fluchtwegsteuerung 300 ist dazu vorgesehen, entfernt von der Tür 2 angeordnet zu sein. So kann sich die zentrale Fluchtwegsteuerung 300 z. B. zusammen mit einer Wachvorrichtung 301, die als Monitor oder Personal Computer ausgebildet sein kann, und/oder einem Mehrtüranzeigegerät 350 (s. Fig. 10) in einem Wachraum anzuordnen zu sein. Die Wachvorrichtung 301 ist optional Teil des erfindungsgemäßen Sicherheitssystems 1. Alternativ kann die Wachvorrichtung 301 an das erfindungsgemäße Sicherheitssystem 1 anschließbar sein.
  • Die zentrale Fluchtwegsteuerung 300 ist modular aufgebaut. Ein Notfall-Modul 310 umfasst eine erste Befestigungsplatte 311. Die erste Befestigungsplatte 311 nimmt einen zentralen Notfalltaster 302 und eine beispielhaft als Schlüsseltaster ausgebildete Identifizierungsvorrichtung 312 auf. Mittels der ersten Befestigungsplatte 311 sind der zentrale Notfalltaster 302 und die Identifizierungsvorrichtung 312 mechanisch starr miteinander verbunden. Der zentrale Notfalltaster 302 dient dazu, dass in Folge einer Betätigung des zentralen Notfalltasters 302 die Türverriegelung 200 entriegelt wird. Somit kann durch den zentralen Notfalltaster 302 entfernt von der Tür 2 die Türverriegelung 200 entriegelt werden. Die Entriegelung in Folge der Betätigung des zentralen Notfalltasters 302 erfolgt mit einer Ein-Fehler-Sicherheit. Die Betätigung des zentralen Notfalltasters 302 ist somit für den Gefahrenfall geeignet.
  • Ein Deaktivierungs-Modul 320 umfasst ein erstes, als Schlüsseltaster ausgebildetes Bedienelement 322 und ein zweites, als Taster ausgebildetes Bedienelement 323. Das erste Bedienelement 322 dient zum Deaktivieren des Nottasters 10. So wird durch eine Betätigung des ersten Bedienelements 322 der Nottaster 10 in einen deaktivierten Zustand überführt. Befindet sich der Nottaster 10 in einem deaktivierten Zustand, so unterbleibt in Folge einer Betätigung des Nottasters 10 eine Entriegelung der Türverriegelung 200. Das zweite Bedienelement 323 dient zur Aktivierung des Nottasters 10. Befindet sich der Nottaster 10 in dem deaktivierten Zustand und wird das zweite Bedienelement 323 betätigt, so wird der Nottaster 10 in einen aktivierten Zustand überführt. In dem aktivierten Zustand des Nottasters 10 veranlasst der Nottaster 10 eine Entriegelung der Türverriegelung 200, wenn der Nottaster 10 betätigt wurde. Das Deaktivierungs-Modul umfasst eine zweite Befestigungsplatte 321. Die zweite Befestigungsplatte 321 dient zur Aufnahme des ersten und des zweiten Bedienelements 322, 323. Die zweite Befestigungsplatte 321 verbindet das erste und das zweite Bedienelement 322, 323 mechanisch starr miteinander.
  • Ein Verzögerungs-Modul 330 umfasst eine dritte Befestigungsplatte 331. Die dritte Befestigungsplatte 331 nimmt ein Verzögerungselement 332 auf. Das Verzögerungselement 332 ist beispielhaft als Schlüsseltaster ausgebildet. Das Verzögerungselement 332 dient dazu, innerhalb der ersten Verzögerungsdauer die Entriegelung der Türverriegelung 200 weiter zu verzögern. Das Verzögerungs-Modul 330 umfasst ein Beendigungselement 333, das als Taster ausgebildet ist. Das Beendigungselement 333 ist an der dritten Befestigungsplatte 331 befestigt. Das Beendigungselement 333 ist mittels der dritte Befestigungsplatte 331 mechanisch starr mit dem Verzögerungselement 332 verbunden. Durch Betätigung des Beendigungselements 333 kann die Verzögerung der Entriegelung der Türverriegelung 200 beendet werden.
  • Die zentrale Fluchtwegsteuerung 300 umfasst ein einseitig offenes Fluchtwegsteuerungsgehäuse 340, in dem das Notfall-Modul 310, das Deaktivierungs-Modul 320 und das Verzögerungs-Modul 330 angeordnet sind. Das Deaktivierungs-Modul 320 und das Verzögerungs-Modul 330 sind optionale Bestandteile der zentralen Fluchtwegsicherung 300. In dem Fluchtwegsteuerungsgehäuse 340 kann zudem, falls vorhanden, das Mehrtüranzeigegerät 350 angeordnet sein.
  • Das Fluchtwegsteuerungsgehäuse 340 kann das Notfall-Modul 310, das Deaktivierungs-Modul 320 und das Verzögerungs-Modul 330 mechanisch befestigen. Das Notfall-Modul 310, das Deaktivierungs-Modul 320 und das Verzögerungs-Modul 330 sind jeweils einzeln an dem Fluchtwegsteuerungsgehäuse 340 befestigt, insbesondere verschraubt. Zur Befestigung an dem Fluchtwegsteuerungsgehäuse 340 dienen die erste Befestigungsplatte 311 für das Notfall-Modul 310, die zweite Befestigungsplatte 321 für das Deaktivierungs-Modul 320 und/oder die dritte Befestigungsplatte 331 für das Verzögerungs-Modul 330. Das Fluchtwegsteuerungsgehäuse 340 und die Module 310, 320, 330 sind so ausgestaltet, dass verschiedene Reihenfolgen, in denen die Module 310, 320, 330 nebeneinander anordbar sind, möglich sind. So kann z. B. in einer nicht dargestellten zentrale Fluchtwegsicherung 300 z. B. das Notfall-Modul 310 zwischen dem Deaktivierungs-Modul 320 und dem Verzögerungs-Modul 330 angeordnet sein. In einer anderen nicht dargestellten, beispielhaften zentralen Fluchtwegsteuerung 300 kann links ein Freiraum, Verzögerungs-Modul 330 in der Mitte und das Notfall-Modul 310 rechts angeordnet sein. Der Freiraum entsteht durch das Fehlen des Deaktivierungs-Moduls 320 und ist durch eine Platte verdeckt. Das Fluchtwegsteuerungsgehäuse 340 kann Schienen zum Einschieben der Module 310, 320, 330 aufweisen. Das Fluchtwegsteuerungsgehäuse 340 kann Befestigungsmöglichkeiten, z. B. Lochleisten oder Langlöcher, zur variablen Befestigung der Modul 310, 320, 330 aufweisen.
  • Auf der ersten Befestigungsplatte 311, auf der zweiten Befestigungsplatte 321 und auf der dritten Befestigungsplatte 331 ist jeweils ein rein schematisch dargestellter Anzeigenbereich 314, 324 bzw. 334 vorgesehen. Auf dem Anzeigenbereich sind Symbole vorhanden, die die Funktion der Module 310, 320, 330 erläutern. Zudem können optische Leuchten zum Anzeigen von Zuständen des Sicherheitssystem 1 in den Anzeigenbereichen 314, 324, 334 vorgesehen sein.
  • In dem Ausführungsbeispiel der Figur 7 umfasst das Sicherheitssystem 1 ferner ein Audio- und Videomodul 510. Das Audio- und Videomodul 510 ist zur Anordnung in der Nähe der Tür 2, die durch die Türverriegelung 200 verriegelt werden kann, vorgesehen. Ist das Audio- und Videomodul 510 freigeschaltet, so kann ein Bediener im Wachraum mit dem Benutzer vor der Tür 2 sprechen und den Raum nahe der Tür 2 einsehen.
  • Wie in Figur 8 dargestellt, ist der zentrale Notfalltaster 302 ähnlich dem Nottaster 10 aufgebaut. So umfasst der zentrale Notfalltaster 302 eine Notfalltasterelektronikeinheit 308. Die Notfalltasterelektronikeinheit 308 umfasst eine erste Notfallverarbeitungseinheit 303, eine zweite Notfallverarbeitungseinheit 304 und eine dritte Notfallverarbeitungseinheit 305. Die erste, zweite und dritte Notfallverarbeitungseinheit 303, 304, 305 sind jeweils als Mikroprozessor oder Mikrocontroller ausgebildet. Die erste und die zweite Notfallverarbeitungseinheit 303, 304 weisen einen nicht flüchtigen Speicher auf. Die dritte Notfallverarbeitungseinheit 305 weist einen nicht flüchtigen Speicher auf und/oder hat Zugriff auf einen nicht flüchtigen Speicher. Der zentrale Notfalltaster 302 wird betätigt, indem ein Notfalltasterbetätigungselement 306 betätigt wird. Hierdurch wird ein Notfalltasterschalter 307 betätigt. Hierdurch werden ein erstes und ein zweites Signal erzeugt. Dazu werden ein erster und ein zweiter Stromkreis (nicht dargestellt) geöffnet. Ein Signal über das Öffnen des ersten Stromkreises wird von der ersten Notfallverarbeitungseinheit 303 erfasst. Ein Signal über das Öffnen des zweiten Stromkreises wird von der zweiten Notfallverarbeitungseinheit 304 erfasst.
  • Der zentrale Notfalltaster 302 ist mit einem zweiten Bussystem 401 verbunden. Wie in Figur 9 dargestellt, ist die Steuerungsvorrichtung 100 ebenfalls mit dem zweiten Bussystem 401 verbunden. Bei dem zweiten Bussystem 401 handelt es sich um eine andere Bussystemart als bei dem ersten Bussystem 400. Z. B. kann das zweite Bussystem 401 als LON- oder LAN-Bus und das erste Bussystem 400 als CAN- oder DCW-Bus ausgebildet sein.
  • In Figur 9 umfasst der Nottaster 10 die Steuerungsvorrichtung 100. Der Nottaster 10 und die Türverriegelung 200, die in Figur 9 abgebildet sind, entsprechen dem Nottaster 10 und der Türverriegelung 200 der Figur 2.
  • In einer nicht dargestellten Alternative sind die Steuerungsvorrichtung 100, der Nottaster 10 und die Türverriegelung 200 gemäß der Figur 3 ausgebildet. In dieser nicht dargestellten Alternative sind die Steuerungsvorrichtung 100, der Nottaster 10 und die Türverriegelung 200 über das erste Bussystem 400 miteinander verbunden, wobei die Steuerungsvorrichtung 100 mit dem zweiten Bussystem 401 verbunden ist.
  • Die Steuerungsvorrichtung 100 empfängt Nachrichten der zentralen Fluchtwegsicherung 300 über das zweite Bussystem 401. Die Steuerungsvorrichtung 100 leitet die Nachrichten über das erste Bussystem an andere Teilnehmer des ersten Bussystems 400 weiter. Die Nachricht kann insbesondere eine Information bezüglich eine Betätigung des zentralen Notfalltasters 302, des Schlüsseltasters 312, des ersten Bedienelements 322, des zweiten Bedienelements 323, des Verzögerungselements 332 und/oder des Beendigungselements 333 oder ein Steuerbefehl in Folge einer Betätigung eines der zuvor genannten Elemente 302, 312, 322, 323, 332, 333 sein. Ist die Steuerungsvorrichtung 100 in dem Nottaster 10 integriert, so entfällt ein Weiterleiten an denjenigen Nottaster 10, in dem die Steuerungsvorrichtung 100 integriert ist. Z. B. leitet gemäß der Figur 9 die Steuerungsvorrichtung 100 die Nachricht an die Türverriegelung 200 weiter. Sind Steuerungsvorrichtung 100 und der Nottaster 10 über das erste Bussystem 400 verbunden, so leitet die Steuerungsvorrichtung 100 die Nachricht an den Nottaster 10 und/oder die Türverriegelung 200 weiter. Die Steuerungsvorrichtung 100 passt die Nachricht dem Format des ersten Bussystems 400 an. Sicherheitsrelevante Nachrichten werden ansonsten unberührt gelassen.
  • Ist der zentrale Notfalltaster 302 betätigt worden, so veranlassen die erste Notfallverarbeitungseinheit 303 und redundant die zweite Notfallverarbeitungseinheit 304 eine Entriegelung der Türverriegelung 200. Hierbei kommuniziert der zentrale Notfalltaster 302 über die Steuerungsvorrichtung 100 mit der Türverriegelungssteuerung 201, insbesondere dem ersten und dem zweiten Verarbeitungsmittel 202, 203. Das erste und das zweite Verarbeitungsmittel 202, 203 steuern daraufhin den Verriegelungsmechanismus 205 an. Zuvor haben die erste und die zweite Verarbeitungseinheit 103, 104 die Nachricht weitergeleitet. Hierbei hat die Steuerungsvorrichtung 100 den Inhalt der Nachricht unberührt gelassen.
  • Der zentrale Notfalltaster 302 weist einen Eingang zum Empfang eines Brandmeldesignals auf. Wird das Brandmeldesignal empfangen, so veranlasst der zentrale Notfalltaster 302 eine Entriegelung der Türverriegelung 200. Hierzu kommunizieren die erste und die zweite Notfallverarbeitungseinheit 303, 304 über die Steuerungsvorrichtung 100, nämlich über die erste und die zweite Verarbeitungseinheit 103, 104, mit der Türverriegelungsteuerung 201, wie zuvor beschrieben.
  • Ein Signal über eine Betätigung des Schlüsseltasters 312 des ersten Moduls 310 wird von der Notfalltasterelektronikeinheit 308, insbesondere der dritte Notfallverarbeitungseinheit 305, empfangen. Die Notfalltasterelektronikeinheit 308 sendet eine Nachricht bezüglich der Betätigung des Schlüsseltasters 312 über das zweite Bussystem 401 an die Steuerungsvorrichtung 100. Die Steuerungsvorrichtung 100 leitet die Nachricht an das erste Bussystem 400 weiter.
  • Das Notfalltasterbetätigungselement 306 ist nichtrastend ausgeführt. Das Notfalltasterbetätigungselement 306 ist identisch zu dem Betätigungselement 11 des Nottasters 10 ausgebildet (s. Figuren 13 bis 15). So wird das Notfallbetätigungselement 306 bei der Betätigung von einer Ausgangsposition in eine Betätigungsposition überführt (analog Figur 11). Unmittelbar nach der Betätigung bewegt sich das Notfallbetätigungselement 306 wieder in die Ausgangsposition durch die Kraft eines als Feder ausgebildeten Rückstellmittels zurück (analog Figur 11). Die Betätigung des Notfallbetätigungselements 306 erfolgt translatorisch. Wird in Folge der Betätigung des zentralen Notfalltasters 302 die Türverriegelung 200 in den entriegelten Zustand überführt, so verhindert die Elektronikvorrichtung 207 durch die elektronische Feststellung, dass ohne das Vorliegen einer Aufhebungsbedingung die Türverriegelung 200 wieder in den verriegelten Zustand überführt werden kann. Die Aufhebungsbedingung nach Betätigung des zentralen Notfalltasters 302 kann durch eine Betätigung des Schlüsseltasters 312 erreicht werden. Insbesondere ist eine Betätigung des Schlüsseltasters 312 ausreichend, um die Aufhebungsbedingung zu erreichen.
  • Umfasst das Sicherheitssystem 1 die zentrale Fluchtwegsteuerung 300, so kann in Folge einer Betätigung des Nottasters 10 die Aufhebungsbedingung auf eine weitere Art und Weise erreichbar sein: Haben die Türzustandsüberwachungsvorrichtungen 204, 206 detektiert, dass die Tür 2 nach dem Betätigen des Nottasters 10 ständig geschlossen geblieben ist, so kann die Aufhebungsbedingung durch Verstreichen eines vorbestimmten Zeitintervalls und eine Aufhebehandlung an der zentralen Fluchtwegsteuerung 300 nach dem vorbestimmten Zeitintervall erreicht werden. Die Aufhebehandlung kann einer Authentifizierung an der zentralen Fluchtwegsteuerung 300, insbesondere einer Betätigung des Schlüsseltasters 312, entsprechen. Durch die Aufhebehandlung, z. B. die Betätigung des Schlüsseltasters 312, ist ein Aufhebesignal erzeugbar. Das Aufhebesignal wird über die Steuerungsvorrichtung 100 an die Türverriegelungssteuerung 201 weitergeleitet. Eine Authentifizierung am Schlüsseltaster 500 und eine Aufhebungshandlung am Nottaster 10 sind in diesem Fall nicht notwendig.
  • Die Türverriegelungssteuerung 201 überprüft, ob ein Erreichen der Aufhebungsbedingung durch Verstreichen des vorbestimmten Zeitintervalls und der Authentifizierung an der zentralen Fluchtwegsteuerung 300 bei geschlossen gebliebener Tür 2 zulässig ist, bevor die Türverriegelungssteuerung 201 den Verriegelungsmechanismus 205 zum Verriegeln ansteuert. So kann ein Bediener bei der Inbetriebnahme des Sicherheitssystems 1 hinterlegen, ob ein Verstreichen des vorbestimmten Zeitintervalls ohne Öffnen der Tür 2 und die zusätzliche Betätigung des Schlüsseltasters 312 als Aufhebungsbedingung zulässig ist und somit zu einer Wiederverriegelung der Tür 2 führt. Eine Überprüfung der Zulässigkeit, ein Verstreichen des vorbestimmten Zeitintervalls, eine Betätigung des Schlüsseltasters 312 nach dem vorbestimmten Zeitintervall und die Tatsache, dass während des vorbestimmten Zeitintervalls weder von der ersten Türzustandsüberwachungsvorrichtung 204 noch von der zweiten Türzustandsüberwachungsvorrichtung 206 ein Signal über das Öffnen der Tür gesendet wurde, sind zum Erreichen der Aufhebungsbedingung ausreichend.
  • Hierbei handelt es sich um eine Variante zum Erreichen einer Aufhebungsbedingung, die zu den Figuren 1 und 2 beschrieben wurde. Diese Variante kann z. B. vom Bediener gewählt werden, wenn nur das Verstreichen des vorbestimmten Zeitintervalls bei geschlossen gebliebener Tür 2 dem Bediener nicht sicher genug erscheint. Der Bediener kann mittels des Parametrierugnsprogramms diese Variante wählen und hinterlegen.
  • Insbesondere, wenn der Bediener diese Option gewählt hat, wird das Verstrichen Sein des vorbestimmten Zeitintervalls bei geschlossen gebliebener Tür 2 wird an der zentralen Fluchtwegsteuerung 300 optisch angezeigt. Insbesondere dienen die Leuchtmittel 313 zur Anzeige, dass das vorbestimmte Zeitintervall verstrichen ist, ohne dass ein Signal über das Öffnen der Tür 2 innerhalb des vorbestimmten Zeitintervalls empfangen wurde. Durch die optische Anzeige erfährt der Bediener, dass durch die Authentifizierung an der zentralen Fluchtwegsteuerung 300 die Tür 2 verriegelt werden kann.
  • Haben die Türzustandüberwachungsvorrichtungen 204, 206 kein Signal über ein Öffnen der Tür während des Vorliegens eines Brandmeldesignals gesendet, so kann nach einer Beendigung des Brandmeldesignals eine Verriegelung der Türverriegelung 200 ebenfalls durch dieselbe Betätigung des Schlüsseltasters 312 erreicht werden. Auch die Möglichkeit durch die Betätigung des Schlüsseltasters 312 nach einer Beendigung des Brandmeldesignals eine Verriegelung der Türverriegelung 200 zu erreichen, wird optisch durch die Leuchtmittel 313 angezeigt.
  • Die Steuerungsvorrichtung 100 leitet Nachrichten von dem Nottaster 10 und/oder der Türverriegelung 200 über das zweite Bussystem 401 weiter. Hierbei passt die Steuerungsvorrichtung 100 die Nachricht dem Format des zweiten Bussystems 401 an. Die Steuerungsvorrichtung 100 sendet Informationen über den Zustand des Nottasters 10 und/oder der Türverriegelung 200 über das zweite Bussystem 401.
  • Beispielsweise können die zentrale Fluchtwegsteuerung 300 und das Mehrtüranzeigegerät 350 mit einem dritten Bussystem 403 verbunden sein (s. Fig. 10). Bevorzugt kann der zentrale Notfalltaster 302, besonders bevorzugt die Notfalltasterelektronikeinheit 308, mit dem dritten Bussystem 403 verbunden sein (s. Fig. 8). Das Mehrtüranzeigegerät 350 kann den Ver- und Entriegelungszustand der Türverriegelung 200 optisch anzeigen. Zusätzlich kann mit Hilfe des Mehrtüranzeigegeräts 350 eine der Türverriegelungen 200, 200', 1200', 2200' des Sicherheitssystems 1 (s. Fig.10) entriegelt werden. Die Entriegelung mit Hilfe des Mehrtüranzeigegeräts 350 erfolgt nicht Ein-Fehler-sicher. Bei dem dritten Bussystem 403 kann es sich um dieselbe Bussystemart wie bei dem ersten Bussystem 400 handeln, z. B. um einen CAN oder DCW-Bus.
  • Die Steuerungsvorrichtung 100 leitet über das zweite Bussystem 401 an die zentrale Fluchtwegsteuerung 300 weiter, wenn der Nottaster 10 eine erste Verzögerungszeitdauer wartet, bevor der Nottaster 10 die Türverriegelungssteuerung 201 veranlasst, den Verriegelungsmechanismus 205 zur Entriegelung anzusteuern.
  • Die erste Verzögerungszeitdauer wird an der zentralen Fluchtwegsteuerung 300 optisch dargestellt. Hierzu ist der zentrale Notfalltaster 302 entsprechend dem Nottaster 10 aufgebaut, wie es zu den Figuren 13, 16, 17 beschrieben ist. Zur optischen Darstellung der ersten Verzögerungszeitdauer werden die Leuchtmittel 313 des zentralen Notfalltasters 302 von der Notfalltasterelektronikeinheit 308 angesteuert. Mit Fortschreiten der ersten Verzögerungszeitdauer leuchten weniger Leuchtmittel 313 in derselben Farbe. Beispielsweise können weniger Leuchtmittel 313 in einer ersten Farbe und zunehmend viele Leuchtmittel 313 in einer zweiten Farbe leuchten. Die Leuchtmittel 41 des Nottasters 10 werden in identischer Weise angesteuert, um die erste Verzögerungszeitdauer optisch darzustellen.
  • Während der ersten Verzögerungszeitdauer, z. B. 8 s, kann der Bediener das Verzögerungselement 332 betätigen. Hierzu dreht der Bediener einen Schlüssel in dem Schlüsseltaster, der als Verzögerungselement 332 dient. Eine Betätigung des Verzögerungselements 332 wird von der Notfalltasterelektronikeinheit 308, insbesondere der dritten Notfallverarbeitungseinheit 305, erfasst. Eine entsprechende Nachricht wird über das zweite Bussystem 401 und ggf. das erste Bussystem 400 gesendet. Der Nottaster 10 empfängt die Nachricht. In Folge der Betätigung des Verzögerungselements 332 beendet der Nottaster 10 die erste Verzögerungszeitdauer und beginnt mit einer zweite Verzögerungszeitdauer. Die zweite Verzögerungszeitdauer, z. B. 180 s, ist länger als die erste Verzögerungszeitdauer. Am Ende der zweiten Verzögerungszeitdauer veranlasst der Nottaster 10 die Entriegelung der Türverriegelung 200. Die zweite Verzögerungszeitdauer wird im Nottaster 10 mit Hilfe desselben Timers bestimmt, der zur Bestimmung der ersten Verzögerungszeitdauer dient. Während der zweiten Verzögerungszeitdauer muss der Schlüssel des Verzögerungselements 322 nicht gedreht bleiben. Vielmehr reicht ein einmaliges Drehen des Schlüssels aus, um die zweite Verzögerungszeitdauer zu starten.
  • Die zweite Verzögerungszeitdauer wird an der zentralen Fluchtwegsteuerung 300 und an dem Nottaster 10 optisch dargestellt. Die optische Darstellung an der zentralen Fluchtwegsteuerung 300 gleicht der optischen Darstellung an dem Nottaster 10. Mit Fortschreiten der zweiten Verzögerungszeitdauer leuchten weniger Leuchtmittel 41, 313 in derselben Farbe. Beispielsweise können weniger Leuchtmittel 41, 313 in einer ersten Farbe und zunehmend viele Leuchtmittel 41, 313 in einer zweiten Farbe leuchten. Um darzustellen, dass die zweite Verzögerungszeitdauer lange dauert, kann wiederholend innerhalb der zweiten Verzögerungszeitdauer ein Zeitablauf assoziierendes Muster, z. B. ein umlaufender Farbpunkt oder ein umlaufendes Farbfenster (s. Beschreibung zu Figur 16, 17) optisch dargestellt werden.
  • Wird während der ersten oder der zweiten Verzögerungszeitdauer das Beendigungselement 333 betätigt, so erfasst die Notfallelektronikeinheit 308, insbesondere die dritte Notfallverarbeitungseinheit 305, die Betätigung des Beendigungselements 333 und sendet eine Nachricht bezüglich der Betätigung des Beendigungselements 333 über das zweite Bussystem 401. Hierdurch veranlasst die Notfallelektronikeinheit 308 den Nottaster 10 die Entriegelung nicht weiter zu verzögern, sondern unmittelbar eine Entriegelung der Türverrieglung 200 zu veranlassen. Das Beendigungselement 333 ist nichtrastend ausgebildet. Eine einmalige Betätigung des Beendigungseleements 333 reicht zum Beenden der Verzögerung des Veranlassens der Entriegelung aus.
  • Der Nottaster 10 kann durch eine Betätigung des ersten Bedienelements 322 in den deaktivierten Zustand überführt werden. Hierzu dreht der Bediener einen Schlüssel in dem Schlüsseltaster, der als erstes Bedienelement 322 dient. Eine Betätigung des ersten Bedienelements 322 wird von der Notfalltasterelektronikeinheit 308 erfasst. Bei einer Betätigung des ersten Bedienelements 322 werden ein erster und ein zweiter Deaktivierungs-Stromkreis geöffnet oder geschlossen. Das Öffnen oder Schließen des ersten Deaktivierungs-Stromkreises wird von der ersten Notfallverarbeitungseinheit 303 erfasst. Das Öffnen oder Schließen des zweiten Deaktivierungs-Stromkreises wird von der zweiten Notfallverarbeitungseinheit 304 erfasst. Die erste und die zweite Notfallverarbeitungseinheit 303, 304 kommunizieren über das zweite Bussystem 401 mit dem Nottaster 10. Befindet sich zwischen dem Nottaster 10 und dem zentralen Notfalltaster 302 das erste Bussystem 400, so leitet die Steuerungsvorrichtung 100 die Nachricht der ersten und der zweiten Notfallverarbeitungseinheit 303, 304 weiter. Bei der Weiterleitung wird das Format geändert, der Inhalt bleibt jedoch unverändert.
  • In dem deaktivierten Zustand des Nottasters 10 ist die Betätigung des Nottasters 10 wirkungslos auf die Türverriegelung 200.
  • Der aktivierte Zustand und der deaktivierte Zustand sind in dem Nottaster 10 elektronisch hinterlegt. Dadurch, dass der aktivierte Zustand und der deaktivierte Zustand in dem Nottaster 10 gespeichert sind, muss der Schlüssel in dem ersten Bedienelement 322 während des deaktivierten Zustands nicht gedreht bleiben. Vielmehr reicht ein einmaliges Drehen des Schlüssels aus, um den Nottaster 10 zu deaktivieren.
  • Die Deaktivierung bleibt bestehen, bis das zweite Bedienelement 323 betätigt wird. Die Betätigung des zweiten Bedienelement 323 ist von der Notfalltasterelektronikeinheit 308, insbesondere der dritte Notfallverarbeitungseinheit 305, erfassbar. Die Notfallelektronikeinheit 308 sendet eine Nachricht bezüglich der Betätigung des zweiten Bedienelements 323 über das zweite Bussystem 401 und ggf. über das erste Bussystem 400 an den Nottaster 10, woraufhin der Nottaster 10 in den aktivierten Zustand überführt wird. Das zweite Bedienelement 323 ist nicht rastend. Dadurch dass der aktivierte und der deaktivierte Zustand in dem Nottaster 10 gespeichert ist, reicht eine einmalige Betätigung des zweiten Bedienelements 323, um den Nottaster 10 in den aktivierten Zustand zu überführen.
  • Die zentrale Fluchtwegsteuerung 300 umfasst einen Bus 341, über den die Notfallelektronikeinheit 308, insbesondere die dritten Notfallverarbeitungseinheit 305, Signale des zweiten Bedienelements 323, des Verzögerungselements 332 und des Beendigungselements 333 erfassen kann. Die Notfallelektronikeinheit 308 dient als Intelligenz der gesamten zentralen Fluchtwegsteuerung 300.. Nur die Notfallelektronikeinheit 308 umfasst Mikroprozessoren. Das Deaktivierungsmodul 320 und/oder das Verzögerungsmodul 322 kann Prozessorfrei ausgestaltet sein. Der Bus 341 kann als ein I2C Bus ausgestaltet sein.
  • Zur Hinterlegung des aktivierten und des deaktivierten Zustands kann in der ersten Nottasterverarbeitungseinheit 20 und redundant in der zweiten Nottasterverarbeitungseinheit 21, insbesondere in den nicht flüchtigen Speichern, eine zweite Variable gespeichert sein. Die zweite Variable kann binär sein. Befindet sich der Nottaster 10 in dem deaktivierten Zustand, so ist die zweite Variable auf einen Deaktivierungswert gesetzt. Befindet sich der Nottaster 10 in dem aktivierten Zustand, so wird die zweite Variable auf einen Aktivierungswert gesetzt. In Folge einer Betätigung des ersten Bedienelements 322 wird die zweite Variable auf den Deaktivierungswert gesetzt. In Folge einer Betätigung des zweiten Bedienelements 323 wird die zweite Variabel auf den Aktivierungswert gesetzt. Bevor der Nottaster 10 die Entriegelung der Türverriegelung 200 veranlasst, prüft der Nottaster 10 den Wert der zweiten Variablen. Stellt der Nottaster fest, dass der Nottaster 10 deaktiviert ist, so unterbleibt eine Kommunikation des Nottasters 10 mit der Türverriegelungssteuerung 201, um eine Entriegelung 200 zu veranlassen.
  • Die erste Notfallverarbeitungseinheit 303 und die zweite Notfallverarbeitungseinheit 304 überwachen sich gegenseitig auf Fehler. Wird ein Fehler festgestellt, so wird eine Nachricht über das zweite Bussystem 401 gesendet. Der Nottaster 10 empfängt die Nachricht und überführt daraufhin sich selber in den aktivierten Zustand, falls der Nottaster 10 sich in dem deaktivierten Zustand befindet. Hierzu ändert der Nottaster 10 den Wert der zweiten Variablen auf den Aktivierungswert.
  • Die erste Notfallverarbeitungseinheit 303 und die zweite Notfallverarbeitungseinheit 304 senden wiederholt, insbesondere in regelmäßigen Abständen, ein Lebenszeichensignal, über das zweite Bussystem 401. Der Nottaster 10 empfängt die Lebenszeichensignale. Bleibt ein Lebenszeichensignal einmal oder mehrfach aus, so überführt sich der Nottaster 10 in den aktivierten Zustand, falls der Nottaster 10 sich in dem deaktivierten Zustand befindet.
  • Empfängt das Sicherheitssystem 1 ein Brandmeldesignal, so überführt sich der Nottaster 10 in den aktivierten Zustand, falls der Nottaster 10 sich in dem deaktivierten Zustand befindet.
  • Die Betätigung des Nottasters 10 im deaktivierten Zustand wird an der zentralen Fluchtwegsteuerung 300, an der Wachvorrichtung 301 und/oder an dem Mehrtüranzeigegerät 350 angezeigt. Ist tatsächlich ein Gefahrenfall vorhanden, so kann der Nottaster 10 durch den Bediener in den aktivierten Zustand überführt werden, indem der Bediener das zweite Bedienelement 323 betätigt, oder es kann durch den Bediener direkt die Türverriegelung zur Entriegelung angesteuert werden. Hierzu kann der Bediener den zentralen Notfalltaster 302 betätigen. Ob ein Gefahrenfall vorliegt, kann der Bediener z. B. über das Audio- und Videomodul 510 wahrnehmen. Hierdurch wird eine erhöhte Sicherheit erreicht.
  • Die Deaktivierung kann z. B. nachts in einem Kaufhaus vorgenommen werden. Weiterhin ist es denkbar, den deaktivierbaren Nottaster 10 in einem Gebäude, in dem Menschen mit einem beeinträchtigten Geisteszustand leben, einzusetzen. So können Nottaster 10 auch an Türen, zu denen die Menschen mit beeinträchtigen Geisteszustand Zugang haben, eingesetzt werden, z. B. auf einer Psychiatrie- oder Demenzstation.
  • Wird in dem deaktivierten Zustand der Nottaster 10 betätigt und danach der Nottaster 10 in den aktivierten Zustand überführt, führt die in dem deaktivierten Zustand erfolgte Betätigung des Nottasters 10 auch nach der Überführung in den aktivierten Zustand nicht zu einer Entriegelung der Türverriegelung 200. Die in dem deaktivierten Zustand erfolgte Betätigung des Nottasters 10 bleibt wirkungslos. Dieses rührt zum einen daher, dass das Betätigungselement 11 und der Schalter 63 nicht-rastend ausgeführt sind. Zum anderen wurde die Betätigung des Nottasters 10 im deaktivierten Zustand nicht im Nottaster 10 gespeichert. Die Türverriegelungssteuerung 201 erhält keine Nachricht bezüglich der Betätigung des Nottasters 10 in dem deaktivierten Zustand. Die elektronische Feststellung wurde daher nicht in den Betätigungszustand überführt. Hierdurch wird erreicht, dass nicht unmittelbar mit der Aktivierung des Nottasters 10 die Türverriegelung 100 entriegelt wird, z. B. weil lange zuvor der Nottaster 10 betätigt wurde. Hierdurch wird eine erhöhte Gebäudesicherheit erreicht.
  • Um eine besonders hohe Sicherheit zu erreichen, kann vorgesehen sein, dass während der ersten und/oder der zweiten Verzögerungszeitdauer das Audio- und Videomodul 510 eingeschaltet ist. Hierbei schaltet der Nottaster 10 das Audio- und Videomodul 510 zu Beginn der ersten und/oder zweiten Verzögerungszeitdauer frei. Ebenfalls wird das Audio- und Videomodul 510 von dem Nottaster 10 freigeschaltet, wenn in dem deaktivierten Zustand der Nottaster 10 betätigt wird. Hierzu kommuniziert der Nottaster 10 über das zweite Bussystem 401 und ggf. über das erste Bussystem 400 mit dem Audio- und Videomodul 510.
  • Es kann sein, dass der Nottaster 10 nur deaktivierbar ist, wenn das Audio- und Videomodul 510 freischaltbar ist. Ist das Audio- und Videomodul 510 Teil des Sicherheitssystems 1, so kann eine Deaktivierung unterbleiben, wenn das Audio- und Videomodul 510 z. B. nicht funktionsfähig ist und/oder die Verbindung zu dem Audio- und Videomodul 510 gestört ist. Dieses gilt nicht, wenn das Sicherheitssystem 1 kein Audio- und Videomodul 510 umfasst, sondern ein von dem Sicherheitssystem 1 separates Überwachungssystem in dem Gebäude vorgesehen ist.
  • Es kann sein, dass der Nottaster 10 die Veranlassung der Entriegelung nur um die erste und/oder zweite Verzögerungszeitdauer verzögert, wenn das Audio- und Videomodul 510 freischaltbar ist. Ist das Audio- und Videomodul 510 Teil des Sicherheitssystems 1, so kann eine Verzögerung unterbleiben, wenn das Audio- und Videomodul 510 z. B. nicht funktionsfähig ist und/oder die Verbindung zu dem Audio- und Videomodul gestört ist. Dieses gilt nicht, wenn das Sicherheitssystem 1 kein Audio- und Videomodul 510 umfasst, sondern ein von dem Sicherheitssystem 1 separates Überwachungssystem in dem Gebäude vorgesehen ist.
  • In Figur 10 ist ein weiteres Ausführungsbeispiel eines erfindungsgemäßen Sicherheitssystems 1 dargestellt. Wie in dem Ausführungsbeispiel der Figuren 7 bis 9 umfasst das Sicherheitssystem 1 eine zentrale Fluchtwegsteuerung 300, die entsprechend der Figuren 7 und 8 aufgebaut ist. Zu den jeweiligen Nottastern 10, 10', 1010, 1010', 2010 zugehörige Schlüsseltaster 500, 500', 1500, 1500', 2500 sind der Übersichtlichkeit halber nicht abgebildet. Die zentrale Fluchtwegsteuerung 300 ist mit dem zweiten Bussystem 401 verbunden. Mit dem zweiten Bussystem 401 sind ein erstes Subsystem 5 und ein zweites Subsystem 6 verbunden. Die beiden Subsystem 5, 6 umfassen jeweils ein erstes Bussystem 400, 400'. Mit dem jeweiligen ersten Bussystem 400, 400' sind jeweils Nottaster 10, 1010 bzw. 10', 1010', 2010' und Türverriegelungen 200 bzw. 200', 1200', 2200' verbunden. Bei den ersten Bussystemen 400, 400' handelt es sich um dieselbe Bussystemart, z. B. um einen CAN- oder einen DCW-Bus. Bei dem zweiten Bussystem 401 handelt es sich um eine andere Bussystemart, z. B. einen LON- oder LAN- Bus.
  • Das Sicherheitssystem 1 umfasst das Mehrtüranzeigegerät 350. Das Mehrtüranzeigegerät 350 kann z. B. optisch anzeigen, welche Türverriegelung 200 bzw. 200', 1200', 2200' sich im Entriegelungszustand und welche Türverriegelung sich im Entriegelungszustand befindet. Mit Hilfe des Mehrtüranzeigegeräts 350 kann ein Bediener eine nicht sicherheitsrelevante Ver- und Entriegelung einzelner Türverriegelungen 200 bzw. 200', 1200', 2200' des Sicherheitssystems 1 vornehmen.
  • Jedes Subsystem 5, 6 umfasst nur eine Steuerungsvorrichtung 100, 100'. Jeweils die Steuerungsvorrichtung 100, 100' des jeweiligen Subsystems 5, 6 ist mit dem zweiten Bussystem 401 verbunden. Die Steuerungsvorrichtung 100 des ersten Subsystems 5 ist dabei mit den Nottastern 10, 1010 und der Türverriegelung 200 des ersten Subsystems 5 über das erste Bussystem 400 verbunden. Die Steuerungsvorrichtung 100' des zweiten Subsystems 6 ist hingegen in einem Nottaster 10' des zweiten Subsystems 6 integriert und mit den übrigen Nottastern 1010', 2010' und den Türverriegelungen 200', 1200', 2200' des weiteren ersten Bussystems 400' verbunden.
  • In dem Subsystem 5 sind ein erster Nottaster 10 und ein zweiter Nottaster 1010 vorgesehen. Wird einer der Nottaster 10, 1010 betätigt, so veranlasst der betätigte Nottaster 10, 1010 jeweils eine Entriegelung der Türverriegelung 200.
  • In dem Subsystem 6 sind ein erster Nottaster 10', ein zweiter Nottaster 1010' und ein dritter Nottaster 2010' vorgesehen. Die Nottaster 10', 1010', 2010'veranlassen selektiv eine Entriegelung der Türverriegelungen 200', 1200', 2200' des zweiten Subsystems 6. Z. B. wird bei einer Betätigung des ersten Nottasters 10' nur eine Entriegelung der ersten Türverriegelung 200' veranlasst. Entsprechend wird bei einer Betätigung des zweiten Nottasters 1010' nur eine Entriegelung der zweiten Türverriegelung 1200' und bei einer Betätigung des dritten Nottaster 2010' nur eine Entriegelung der dritten Türverriegelung 2200' veranlasst.
  • Vielfältige Abweichungen sind denkbar. So kann ein erfindungsgemäßes Sicherheitssystem 1 z. B. ohne das erste oder das zweite Subsystem 5, 6 ausgestaltet sein. Als einziges oder zusätzliches Subsystem kann z. B. eines der in den Figuren 1 bis 6 beschriebenen erfindungsgemäßen Sicherheitssysteme 1 vorgesehen sein. Die Ausbildung und die Funktionen der Nottaster 10, 10', 1010, 1010', 2010' und der Türverriegelungen 200, 200', 1200', 2200' sind entsprechend den vorhergehenden Ausführungsbeispielen ausgebildet, soweit nachfolgend nicht zusätzlich oder abweichend beschrieben.
  • In jeder der Türverriegelungen 200, 200', 1200', 2200' des Sicherheitssystems 1 ist hinterlegt, ob bei einer Betätigung zentralen Notfalltasters 302 eine Entriegelung der jeweiligen Türverriegelung 200, 200'1200', 2200' erfolgt. So können z. B. die Türverriegelungen 200, 200', 2200' eine Entriegelung in Folge einer Betätigung des zentralen Notfalltasters 302 zulassen, die Türverriegelung 1200' hingegen nicht. Wird der zentrale Notfalltaster 302 betätigt, so steuern die Türverriegelungssteuerungen 201 der Türverriegelungen 200, 200', 2200' den jeweiligen Verriegelungsmechanismus 205 zur Entriegelung an. Hingegen unterbleibt eine derartige Ansteuerung in der Türverriegelung 1200'.
  • Wird der zentrale Notfalltaster 302 betätigt, erhalten die Steuerungsvorrichtungen 100, 100' eine entsprechende Nachricht des zentralen Notfalltasters 302 über das zweite Bussystem 401 und leiten die Nachricht jeweils an alle Türverriegelungen 200 bzw. 200', 1200', 2200' des jeweiligen ersten Bussystems 400, 400' weiter. Die Türverriegelungen 200, 200', 1200', 2200' entscheiden anhand der Hinterlegung, die die Zulassung einer Entriegelung in Folge der Betätigung des zentralen Notfalltasters 302 beinhaltet, ob die jeweilige Türverriegelungssteuerung 201 der Türverriegelungen 200, 200', 1200', 2200' den jeweiligen Verriegelungsmechanismus 205 zur Entriegelung ansteuert oder nicht.
  • Die Hinterlegung, ob die Türverriegelung 200, 200'1200', 2200' in Folge einer Betätigung des zentralen Notfalltasters 302 entriegelt wird, erfolgt bei Inbetriebnahme des Sicherheitssystems 1 durch den Bediener. Die Hinterlegung erfolgt durch das Parametrierungsprogramm.
  • In jedem der Nottaster 10, 1010, 10'. 1010', 2010' ist hinterlegt, ob bei einer Betätigung des ersten Bedienelements 322 eine Überführung in den deaktivierten Zustand für den jeweiligen Nottaster 10, 1010, 10'. 1010', 2010' zugelassen ist oder nicht. Hierdurch ergibt sich eine selektive Deaktivierung durch die Betätigung des einzigen ersten Bedienelements 322 des Sicherheitssystems 1. So können z. B. die Nottaster 10, 10', 2010' in Folge einer Betätigung des ersten Bedienelements 322 in den deaktivierten Zustand überführt werden, die Nottaster 1010, 1010' hingegen nicht.
  • Wird das erste Bedienelement 322 betätigt, erhalten die Steuerungsvorrichtungen 100, 100' eine entsprechende Nachricht über das zweite Bussystem 401 und leiten die Nachricht jeweils an alle Nottaster 10, 1010, 1010', 2010' des jeweiligen ersten Bussystems 400, 400', die nicht die Steuerungsvorrichtung 100 umfassen, weiter. Die Nottaster 10, 1010, 10'. 1010', 2010' des Sicherheitssystems 1 entscheiden anhand der Hinterlegung über die Zulassung zur Deaktivierung, ob der jeweilige Nottaster 10, 1010, 10', 1010', 2010' sich selber in Folge der Betätigung des ersten Bedienelements 322 in den deaktivierten Zustand überführt oder nicht.
  • Bei der Hinterlegung, ob eine Deaktivierung der Nottaster 10, 1010, 10', 1010', 2010' zugelassen sein soll, kann es sich um eine dritte Variable handeln. Die dritte Variable kann binär ausgeführt sein. Die dritte Variable ist in dem nicht flüchtigen Speichern der jeweiligen ersten und der zweiten Nottasterverarbeitungseinheiten 20, 21 jedes Nottasters 10, 1010, 10', 1010', 2010'gespeichert. Ist die Deaktivierung für den jeweiligen Nottaster 10, 1010, 10', 1010', 2010' zugelassen, so nimmt die dritte Variable einen ersten Wert ein. Ist die Deaktivierung für den jeweiligen Nottaster 10, 1010, 10', 1010', 2010' verboten, so nimmt die dritte Variable einen zweiten Wert ein. Der Nottaster 10, 1010, 10', 1010', 2010' prüft den Wert der dritten Variablen, bevor der Nottaster 10, 1010, 10', 1010', 2010' sich deaktiviert und deaktiviert sich nur, wenn die dritte Variable den ersten Wert hat.
  • Die Hinterlegung, ob der Nottaster 10, 1010, 10', 1010', 2010' deaktivierbar sein soll, erfolgt bei Inbetriebnahme des Sicherheitssystems 1 durch den Bediener. Dieses wird mit Hilfe eines Parametrierungsprogramms hinterlegt.
  • In jedem der Nottaster 10, 1010, 10'. 1010', 2010' ist hinterlegt, ob bei einer Betätigung des Verzögerungselements 332 der jeweilige Nottaster 10, 1010, 10'. 1010', 2010' die Entriegelung der dem Nottaster 10, 1010, 10'. 1010', 2010' zugeordneten Türverriegelungen 200, 200', 1200', 2200' um eine zweite Verzögerungszeitdauer verzögert oder nicht. Die zweite Verzögerungszeitdauer ist für die jeweiligen Nottaster 10, 1010, 10'. 1010', 2010' unterschiedlich lang einstellbar und in dem Sicherheitssystem 1, insbesondere in den Nottastern 10, 1010, 10', 1010', 2010', hinterlegt. Alternativ kann die Zulassung der Verzögerung um die zweite Verzögerungszeitdauer und ggf. die Länge der zweiten Verzögerungszeitdauer nur für Gruppen von Nottastern 10, 1010, 10'. 1010', 2010', die einer Türverriegelung 200, 200', 1200', 2200' oder einer Tür 2, 2002, 3002 zugeordnet sind, individuell einstellbar sein. Die Einstellung und die Hinterlegung erfolgt durch den Bediener mit Hilfe des Parametrierungsprogramms.
  • So können z. B. die Nottaster 10, 2010' in Folge einer Betätigung des Verzögerungselements 332 die Entriegelung der Türverriegelungen 200 bzw. 2200' weiter verzögern, die Nottaster 1010, 10', 1010' hingegen nicht. Die Länge der zweiten Verzögerungszeitdauer für den Nottaster 10 ist dabei verschieden von der Länge der zweiten Verzögerungszeitdauer für den Nottaster 2010' gewählt. Wird der Nottaster 10 betätigt und wird innerhalb der ersten Verzögerungszeitdauer, die für den Nottaster 10 hinterlegt ist, das Verzögerungselement 332 betätigt, so verzögert der Nottaster 10 ab der Betätigung des Verzögerungselements 332 die Entriegelung um diejenige zweite Verzögerungszeitdauer, die in dem Nottaster 10 hinterlegt ist. Wird der Nottaster 2010' betätigt und wird innerhalb der ersten Verzögerungszeitdauer, die für den Nottaster 2010' hinterlegt ist, das Verzögerungselement 332 betätigt, so verzögert der Nottaster 2010' ab der Betätigung des Verzögerungselements 332 die Entriegelung um diejenige zweite Verzögerungszeit, die in dem Nottaster 2010' hinterlegt ist und die sich von der zweiten Verzögerungszeit für den Nottaster 10 unterscheidet. Wird der Nottaster 1010 betätigt, so verzögert der Nottaster 1010 die Entriegelung um die erste Verzögerungszeitdauer, die für den Nottaster 1010 hinterlegt ist. Wird während der ersten Verzögerungszeitdauer des Nottasters 1010, das Verzögerungselement 332 betätigt, so wird die Entriegelung nicht um eine zweite Verzögerungszeitdauer verzögert, da diese Verzögerung für den Nottaster 1010 nicht zugelassen ist, sondern der Nottaster 1010 wird nach der ersten Verzögerungszeitdauer unmittelbar eine Entriegelung der Türverriegelung 200 veranlassen. Die Nottaster 10', 1010' verzögern die Entriegelung der zugeordneten Türverriegelung 200' bzw. 1200' gar nicht. Bei den Nottastern 10', 1010' ist weder eine erste Verzögerungszeitdauer noch eine zweite Verzögeungszeitdauer zugelassen. Anstelle einer Nicht-Zulassung einer Verzögerung um die erste und/oder die zweite Verzögerungszeitdauer kann auch eine Zeitdauer von 0 s hinterlegt werden. Eine Betätigung des Beendigungselements 333 beendet jegliche Verzögerung der Entriegelung.
  • Wird das Verzögerungselement 332 betätigt, erhalten die Steuerungsvorrichtungen 100, 100' eine entsprechende Nachricht über das zweite Bussystem 401 und leiten die Nachricht jeweils an die Nottaster 10, 1010, 1010', 2010'des jeweiligen ersten Bussystems 400, 400', die nicht die Steuerungsvorrichtung 100 umfassen, weiter. Die Nottaster 10, 1010, 10'. 1010', 2010' des Sicherheitssystem 1 entscheiden anhand der Hinterlegung, wie zu verfahren ist.
  • Die Hinterlegung, ob der Nottaster 10, 1010, 10', 1010', 2010'die Verzögerung um die zweite Verzögerungszeitdauer zulässt und, wenn ja, die Hinterlegung der Länge der zweiten Verzögerungszeitdauer, erfolgt bei Inbetriebnahme des Sicherheitssystems 1. Die Hinterlegungen werden durch den Bediener mit Hilfe des Parametrierungsprogramms festgelegt. Die erste und/oder die zweite Verzögerungszeitdauer können nur bis zu einer maximalen, fest vorgegebenen Zeitdauer gewählt werden.
  • Ebenfalls kann mit Hilfe des Parametrierungsprogramms von dem Bediener selektiv hinterlegt werden, für welchen Nottaster 10, 1010, 1010', 2010' welche Aufhebungsbedingung zugelassen ist. Die Aufhebungsbedingung zur die Aufhebungshandlung vor Ort ist stets zugelassen. Für jeden Nottaster 10, 1010, 1010', 2010'kann aber selektiv das Erreichen der Aufhebungsbedingung durch Verstreichen des vorbestimmten Zeitintervalls oder das Erreichen der Aufhebungsbedingung durch Verstreichen des vorbestimmten Zeitintervalls und nachfolgende Betätigung der Identifizierungsvorrichtung 312 bei geschlossen gebliebener Tür 2 zugelassen werden oder nicht.
  • Die Hinterlegung, ob der Nottaster 10 bei einer Betätigung des ersten Bedienelements 322 deaktivierbar ist, ob der Nottaster 10 bei einer Betätigung des Verzögerungselements 332 die Entriegelung um eine zweite Verzögerungszeitdauer verzögern soll, die Länge der ersten und der zweiten Verzögerungszeitdauer, die Hinterlegung der Aufhebungsbedingung und/oder die Hinterlegung, ob die Türverriegelung 200 bei einer Betätigung des zentralen Notfalltaster 302 entriegelt werden soll, kann auch für das Sicherheitssystem 1 gemäß dem Ausführungsbeispiel der Figuren 7 bis 9 vorgenommen werden.
  • Abweichend und nicht dargestellt von den Figuren 7 bis 10 können auch mehrere zentrale Fluchtwegsteuerungen 300, 300' mit dem zweiten Bussystem 401 verbunden sein. Beispielsweise kann in einer Psychiatrie eine zentrale Fluchtwegsteuerung 300 zur Anordnung in einem Wachraum vorgesehen sein und eine weitere zentrale Fluchtwegsteuerung 300' zur Anordnung in einem Schwesternzimmer vorgesehen sein.
  • In den jeweiligen Türverriegelungen 200, 200', 1200', 2200'kann jeweils mit Hilfe des Parametrierungsprogramms hinterlegt werden, in Folge einer Betätigung welchen der zentralen Nottastern 302, 302' eine Entriegelung erfolgen soll. Hierzu ist in den Türverriegelungen eine Liste hinterlegt. In den jeweiligen Nottastern 10, 10', 1010, 1010', 2010' kann jeweils mit Hilfe des Parametrierungsprogramms hinterlegt werden, in Folge einer Betätigung welchen der ersten Bedienelementen 322, 322' eine Deaktivierung zugelassen ist. Abweichend von der dritten Variable ist hierzu jeweils eine Liste in den Nottastern 10, 10', 1010, 1010', 2010' hinterlegt.
  • Das erste bis vierte Ausführungsbeispiel des Sicherheitssystems 1 weist kein zweites Bussystem 401, keine zentrale Fluchtwegsteuerung 300, keine Wachvorrichtung 301 und kein Audio- und Videomodul 510 auf. Es sind aber erfindungsgemäße Ausführungsbeispiele des Sicherheitssystems 1 denkbar, in denen das erste bis vierte Ausführungsbeispiel zusätzlich die fehlenden Komponenten 401, 301, 300 und 510 zumindest teilweise umfasst. Ist das Sicherheitssystem 1 für mehrere Türen konzipiert, so kann jeder Tür ein Audio- und Videomodul 510 zugeordnet sein. Die Nottaster 1010, 2010, 3010, die nicht die Steuerungsvorrichtung 100 umfassen, und die Türverriegelungen 200, 1200, 2200, 3200 sind nicht an das zweite Bussystem 401 angeschlossen.
  • In den Figuren 1 bis 10 sind die Türverriegelungen 200, 200', 1200, 1200', 2200, 2200', 3200 Teil des erfindungsgemäßen Sicherheitssystems 1. Denkbar ist jedoch, dass jeweils nur die Türverriegelungssteuerungen 201 Teil des erfindungsgemäßen Sicherheitssystems 1 sind. In diesem Fall sind die Türverriegelungssteuerungen 201 jeweils mit dem Verriegelungsmechanismus 205 und ggf. dem Türzustandsüberwachungsvorrichtungen 204, 206 verbindbar. Ein Entriegeln der Türverriegelung 200 findet in diesem Fall nicht im Sicherheitssystem 1 statt, jedoch ist Teil des Sicherheitssystems 1, dass die Türverriegelungssteuerung 201 den Verriegelungsmechanismus 205 ansteuert, d. h. die Türverriegelungssteuerung 201 schaltet den elektrischen Strom für den Verriegelungsmechanismus 205 an oder ab. In diesem Fall kann anstelle der Begriffe "Ent- bzw. Verriegelung der Türverriegelung" jeweils "Ansteuerung des Verriegelungsmechanismus zur Ent- bzw. Verriegelung" vewendet werden.
  • In den Figuren 11 bis 13 ist ein Nottaster 10 dargestellt. Der in Figur 11 gezeigte Nottaster 10 ist als Nottaster 10, 10', 1010, 1010', 2010, 3010 in einem der erfindungsgemäßen Sicherheitssysteme 1 der Figuren 1 bis 10 einsetzbar oder eingesetzt.
  • Der Nottaster 10 umfasst das Betätigungselement 11. Das Betätigungselement 11 kann sich von der Ausgangsposition 11.I, die in den Figur 11 dargestellt ist, in die Betätigungsposition 11.II bewegen, die in Figur 11 angedeutet ist. In Figur 12 befindet sich das Betätigungselement 11 ebenfalls in der Ausgangsposition 11.I.
  • In der Betätigungsposition 11.II wird der Schalter 63 betätigt. Der Schalter 63 wechselt hierbei ebenfalls von einer ersten 63.I in eine zweite Position 63.II, wie in Figur 12 angedeutet.
  • Nach der Betätigung kehrt das Betätigungselement 11 unmittelbar und ohne manuellen Eingriff in die Ausgangsposition 11.I zurück. Hierzu ist ein als Feder ausgebildetes Rückstellmittel 12 in dem Nottaster 10 vorgesehen. Auch der Schalter 63 kehrt nach der Betätigung unmittelbar und ohne manuellen Eingriff in die erste Position 63.I zurück.
  • Der Nottaster 10 umfasst zumindest eine erste Platine 60. Hierdurch ist es möglich, kompakt und mit einer gesicherten Funktionsweise den Nottaster 10 auszugestalten.
  • Der Nottaster 10 weist von einer Kuppe 32 einer Vorderfläche 19 des Betätigungselements 11 in Einbaurichtung eine Aufbauhöhe AH von weniger als 48 mm, bevorzugt weniger als 45 mm, besonders bevorzugt weniger als 43 mm auf.
  • Der Schalter 63 ist auf der ersten Platine 60 befestigt. Der erste und der zweite Stromkreis werden auf der ersten Platine 60 durch die Betätigung des Schalters 63 unterbrochen.
  • Der Nottaster 10 umfasst zudem eine zweite Platine 61. Auf der zweiten Platine 61 sind die erste, die zweite und die dritte Nottasterverarbeitungseinheit 20, 21, 22 angeordnet. Die Anordnung der ersten, der zweiten und der dritten Nottasterverarbeitungseinheiten 20, 21, 22 ist unabhängig davon, ob die erste, die zweite und die dritte Nottasterverarbeitungseinheit 20, 21, 22 als Verarbeitungseinheit 103, 104, 105 der Steuerungsvorrichtung 100 dienen.
  • Das Öffnen des ersten und zweiten Stromkreises ist durch die erste bzw. die zweite Nottasterverarbeitungseinheit 20, 21 kabelfrei erfassbar. Hierzu sind die erste und die zweite Platine 60, 61 über Stecker 68 miteinander verbunden.
  • Die erste und die zweite Platinen 60, 61 sind in einem festen Abstand voneinander angeordnet. Hierzu sind Bolzen 69 vorgesehen, die über Schrauben 70 die erste und die zweite Platine 60, 61 miteinander in einem festen Abstand zueinander befestigten (s. Figur 13). Die erste und die zweite Platinen 60, 61 sind parallel zueinander angeordnet.
  • Der Nottaster 10 umfasst eine Montageplatte 62. Die Montageplatte 62 ist ebenfalls in einem festen Abstand zu der ersten und der zweiten Platine 60, 61 angeordnet. Hierzu sind Bolzen 71 vorgesehen, die über Schrauben 72 die Montageplatte 62 mit der ersten Platine 61 verbinden.
  • Die Montageplatte 62 dient zur Befestigung an einer Unterputzdose. Die Unterputzdose kann einen Durchmesser von 60 mm und eine Tiefe von 41 mm aufweisen. Der sich von der Montageplatte 62 in Einbaurichtung erstreckende Teil des Nottasters 10 wird als Einbauteil 73 bezeichnet. Der Einbauteil 73 weist einen Durchmesser von weniger als 60 mm und eine Tiefe von weniger als 33 mm, bevorzugt weniger als 31 mm, besonders bevorzugt weniger als 29 mm auf. Hierdurch ist genügend Platz für Kabel in der Unterputzdose. Der Abstand MP von einer Unterseite der Montageplatte 62 bis zu einer Oberseite der zweiten Platine 62 beträgt weniger als 22 mm, bevorzugt weniger als 20 mm, besonders bevorzugt weniger als 17 mm. Die Montageplatte 62 kann ebenfalls zur Befestigung an ein Deckelelement eines Aufputzgehäuses dienen (nicht dargestellt). Die genannten Abstände gelten insbesondere für einen Nottaster, bei dem das Bluetoothmodul 64 abweichend von der Darstellung in den Figuren auf einer Unterseite der zweiten Platine 61 befestigt ist.
  • Wie oben beschrieben, wird die Aufhebungshandlung, die unmittelbar am Nottaster 10 durchgeführt wird, ohne eine Drehbewegung des Betätigungselement 11 und des Schalters 63 ausgeführt. Hierdurch ist es möglich, einen Schalter 63 mit einer geringen Höhe zu verwenden. So ist der Schalter 63 derart ausgebildet, dass der Schalter 63 drehungsfrei ist. Der Schalter 63 weist eine Höhe SH von weniger als 20 mm, bevorzugt weniger als 17 mm, besonders bevorzugt von weniger als 15 mm auf.
  • Die Art und Weise der Aufhebungshandlung und die geringe Höhe des Schalters 63 trägt zur geringen Aufbauhöhe AH des Nottasters 10 bei.
  • Ebenfalls trägt zur geringen Aufbauhöhe AH des Nottasters 10 bei, dass der Schalter 63 zentrisch unter dem Betätigungselement 11 angeordnet ist und das Betätigungselement 11 exzentrisch in dem Nottaster 10 geführt ist.
  • Wie in den Figuren 14 und 15 dargestellt, weist das Betätigungselement 11 stabförmige Führungsmittel 35 auf. Die Führungsmittel 35 sind in Führungshülsen 65 geführt. Die Führungshülsen 65 sind mit der Montageplatte 62 verbunden. Um eine gute Führung zu erzielen, erstreckt sich eines der Führungshülsen 65 durch die erste Platine 60.
  • Die Führungsmittel 35 sind parallel zu dem Schalter 63 angeordnet. Die Führungsmittel 35 verhindern eine Drehbewegung des Betätigungselements 11 um eine gedachte Achse 701, die in Betätigungsrichtung 700 verläuft.
  • Durch die in den Führungshülsen 65 geführten Führungsmittel 35 ist das Betätigungselement 11 nur translatorisch bewegbar.
  • Das Betätigungselement 11 weist ein Betätigungsmittel 36 auf. Wie in den Figuren 12 und 15 dargestellt, ist das Betätigungsmittel 36 in Form eines Kreiszylinders ausgebildet. Hierdurch ist gewährleistet, dass stets das Betätigungsmittel 36 den Schalter 63 betätigt. Insbesondere werden so stets gleichzeitig ein erstes und ein zweites Schaltelement 74, 75 des Schalters betätigt (s. Figur 13). Durch das erste Schaltelement 74 wird der erste Stromkreis und durch das zweite Schaltelement 75 wird der zweite Stromkreis geöffnet.
  • Das Betätigungsmittel 36 ist mit einem hohlen Innenraum 38 ausgebildet. In dem Schalter 63 ist eine Lichtquelle (nicht dargestellt) angeordnet. Das von der Lichtquelle emittierte Licht wird durch den hohlen Innenraum 38 zu der Kuppe 32 der Vorderfläche 19 des Betätigungselements 11 geleitet, wo das Licht durch das Betätigungselement 11 tritt. Die Kuppe 32 dient somit als Illuminierbereich 32 des Betätigungselements 11.
  • Das Betätigungselement 11 kann einen lichtundurchlässigen Grundkörper 33 umfassen. Der Grundkörper 33 kann abweichend von der Darstellung in den Figuren mit einer Öffnung versehen sein. In der Öffnung kann ein nicht dargestellter lichtdurchlässiger, insbesondere transluzenter Einsatz angeordnet sein. Der Einsatz kann in der Öffnung befestigt, insbesondere eingepresst, sein. Hierdurch kann das Betätigungselement 11 besonders einfach herstellbar sein.
  • Die Vorderfläche 19 ist teilweise konisch ausgeführt. Der Illuminierbereich 32 bildet die Spitze des Kegelstumpfes. Der Illuminierbereich 32 ragt gegen die Betätigungsrichtung 700 aus einem Deckel 14 des Nottasters 10 heraus. Hierdurch ist das Licht, das den Illuminierbereich 32 verlässt, seitlich von dem Nottaster 10 gut sichtbar.
  • Das Rückstellmittel 12 weist einen Hohlraum 37 auf. In dem Hohlraum 37 ragen das Betätigungsmittel 36 des Betätigungselements 11 und der Schalter 36 mit dem ersten und dem zweiten Schaltelement 74, 75. Hierdurch ergibt sich eine platzsparende Anordnung.
  • Das Bluetooth-Modul 64 ist zwischen der ersten und der zweiten Platine 60, 61 angeordnet. Das Bluetooth-Modul 64 dient zur Parametrisierung. Alternativ und nicht dargestellt und platzsparender ist das Bluetooth-Modul 64 an einer dem Betätigungselement 11 abgewandten Seite der zweiten Platine 61 befestigt. Hierdurch kann der Abstand der ersten und der zweiten Platine 60, 61 weiter verringert sein.
  • Ein Sabotageschalter 66 ist auf der ersten Platine 60 angeordnet. Aufgrund der geringen Aufbauhöhe ist ein Betätigungsfortsatz 67 des Sabotageschalters 66 durch die Montageplatte 62 hindurchgeführt. Der Betätigungsfortsatz 67 liegt unmittelbar an dem Deckel 14 des Nottasters 10 an.
  • Ist die Steuerungsvorrichtung 100 in dem Nottaster 10 integriert, so kann trotz der geringen Aufbauhöhe AH der Nottaster 10 die oben beschriebenen Funktionen umfassen und damit intelligent ausgestaltet sein. Die oben beschriebenen Funktionen werden mit Hilfe eines Programmcodes, der in zumindest einer der Verarbeitungseinheiten 103, 104, 105 hinterlegt ist, ausgeführt.
  • Der Nottaster 10 weist ein Abdeckmittel 13 auf. Das Abdeckmittel 13 ist transparent ausgebildet und deckt die Vorderfläche 19 des Betätigungselements 11 ab. Hierdurch verhindert das Abdeckmittel 13 die unmittelbare Berührung des Betätigungselements 11 durch einen Benutzer. Das Abdeckmittel 13 dient als mentales Hindernis für den Benutzer.
  • Das Abdeckmittel 13 bleibt bei einer Betätigung des Nottasters 10 zerstörungsfrei. Das Abdeckmittel 13 bewegt sich bei einer Betätigung des Nottasters 10 von einer Ausgangsstellung 13.I in eine Betätigungsstellung 13.II. Durch das Abdeckmittel 13 wird das Betätigungselement 11 nur mittelbar über das Abdeckmittel 13 von dem Benutzer betätigt.
  • Das Abdeckmittel 13 ist unabnehmbar in dem Nottaster 10 angeordnet. Hierdurch wird erreicht, dass ein Benutzer das Abdeckmittel 13 nicht missbräuchlich entfernen kann.
  • Das Abdeckmittel 13 ist fest mit dem Betätigungselement 11 verbunden. Hierzu weist das Abdeckmittel 13 Fortsätze 27 auf, die in Figur 13 dargestellt sind. Wie in den Figuren 13, 14 und 15 dargestellt, weist das Betätigungselement 11 Löcher 28 auf, durch die die Fortsätze 27 geführt und stoffschlüssig mit dem Betätigungselement 11 verbunden sind.
  • Das Betätigungselement 11 weist einen flanschartigen Abschnitt 31 auf, an dem das Abdeckmittel 13 befestigt ist. Der flanschartige Abschnitt 31 weist die Löcher 28 auf.
  • Der flanschartige Abschnitt 31 dient als Anschlag des Betätigungselements 11 in Betätigungsrichtung 700. Das Betätigungselement 11 erreicht die Betätigungsposition 11.II, wenn der flanschartige Abschnitt 31 an der Montageplatte 62 oder an den Führungshülsen 65 anliegt.
  • Der flanschartige Abschnitt 31 dient als Anschlag des Betätigungselements 11 gegen die Betätigungsrichtung 700. Das Betätigungselement 11 erreicht die Ausgangsposition 11.I, wenn der flanschartige Abschnitt 31 an einem Lichtleiter 40 anliegt. Der Lichtleiter 40 hält das Betätigungselement 11 gegen die Kraft des Rückstellmittels 12. Hierzu weist der Lichtleiter 40 eine Anlagefläche 51 auf.
  • Der Lichtleiter 40 ist an der Montageplatte 62 befestigt. Hierdurch bleibt das Betätigungselement 11 gegen die Kraft des Rückstellmittels 12 auch dann gehalten, wenn der Deckel 14 entfernt wird. Der Lichtleiter 40 weist einen Flansch 52 auf, mit dem der Lichtleiter 40 an der Montageplatte 62 befestigt ist (s. Fig. 17). Der Lichtleiter 40 ist durch dieselben Schrauben 72 an der Montageplatte 62 befestigt, durch die die Montageplatte 62 an der ersten Platine 60 befestigt ist.
  • Alternativ und nicht dargestellt kann das Abdeckmittel 13 als eine elastische Folie ausgebildet sein, die das Betätigungselement 11 überspannt.
  • Durch die feste Verbindung entsprechen der Abstand der Betätigungsposition 11.II und der Ausgangsposition 11.I und der Abstand der Betätigungsstellung 13.II und der Ausgangsstellung 13.I einander. Unmittelbar nach Ende der Betätigung und ohne manuelle Einwirkung wird das Abdeckmittel 13 in die Ausgangsstellung 13.I zurückbewegt. Hierzu dient das Rückstellmittel 12. Das Rückstellmittel 12 überführt das Abdeckmittel 13 mittelbar über das Betätigungselement 11 in die Ausgangsstellung 13.I.
  • Das Abdeckmittel 13 und das Betätigungselement 11 weisen jeweils einen kreisförmigen Querschnitt auf. Der Deckel 14 weist eine kreisförmige Ausnehmung 15 auf. Das Abdeckmittel 13 ragt entgegen der Betätigungsrichtung 700 durch die Ausnehmung 15. Ebenfalls ragt das Betätigungselement 11 durch die Ausnehmung 15.
  • Die Ausnehmung 15, das Betätigungselement 11 und das Abdeckmittel 13 weisen eine gemeinsame gedachte Achse 701 auf. Die Ausnehmung 15, das Betätigungselement 11 und das Abdeckmittel 13 sind konzentrisch angeordnet.
  • Das Abdeckmittel 13 weist eine Betätigungsfläche 17 auf, die beabstandet zu der Vorderfläche 19 des Betätigungselements 11 ist. Ebenfalls weist das Abdeckmittel 13 eine Seitenfläche 16 auf, die beabstandet zu der Seitenfläche 18 des Betätigungselements 11 ausgebildet ist.
  • Durch die Beabstandung der Vorderfläche 19 und der Betätigungsfläche 17 kann das transparente Abdeckmittel 13 weit aus dem Deckel 14 herausragen, während das teilweise lichtundurchlässige Betätigungselement 11 nur in geringem Maße aus dem Deckel 14 herausragt. Hierdurch bleibt der Lichtleiter 40, der im Wesentlichen plan mit dem Deckel 14 abschließt, auch für schräg vor dem Nottaster 10 stehende Benutzer gut sichtbar. Der Lichtleiter weicht maximal ±3 mm, bevorzugt maximal ±2 mm, besonders bevorzugt ± 1 mm von einem planen Abschluss mit dem Deckel 14 ab.
  • Dadurch, dass das Abdeckmittel 13 weit aus dem Deckel 14 herausragt, ist der Nottaster 10 für den Benutzer mit der flachen Hand bedienbar. Hierzu ist das Abdeckmittel 13 in der Betätigungsstellung 13.II plan mit dem Deckel 14 oder das Abdeckmittel 13 steht in der Betätigungsstellung 13.II gegen die Betätigungsrichtung 700 von dem Deckel 14 hervor. Anders ausgedrückt entspricht der Abstand ABS der Ausgangsstellung 13.I und der Betätigungsstellung 13.II höchstens dem Abstand DF einer Erhebung 30 der Betätigungsfläche 17 zu dem Deckel 14. Ebenso entspricht der Betrag des Abstands AB der Betätigungsposition 11.II und der Ausgangsposition 11.I höchstens dem Abstand DF. In Figur 11 entsprechen der Abstand ABS und der Betrag des Abstands AB dem Abstand DF.
  • Der Nottaster 10 umfasst Leuchtmittel 41. Die Leuchtmittel 41 dienen dazu, den entriegelten und verriegelten Zustand der Türverriegelung 200 anzuzeigen. Bei mehreren Nottastern 10, 1010, 2010, 3010 zeigen die Leuchtmittel 41 den entriegelten und verriegelten Zustand der zugeordneten Türverriegelung oder Türverriegelungen 200, 1200, 2200, 3200 an. Die Leuchtmittel 41 sind konzentrisch um das Betätigungselement 11 angeordnet. Beispielsweise wird der entriegelte Zustand durch grünes Licht und der verriegelte Zustand durch rotes Licht angezeigt. Insbesondere emittieren alle Leuchtmittel 41 dasselbe Licht, um den verriegelten und den entriegelten Zustand anzuzeigen, zumindest sofern kein Gefahrenfall vorliegt.
  • Die Leuchtmittel 41 sind in zumindest zwei Gruppen ansteuerbar. Durch die unterschiedliche Ansteuerung sind z. B. Muster möglich, durch die dem Benutzer weitere Zustände des Sicherheitssystems 1 angezeigt werden. Durch die zusätzlichen Anzeigemöglichkeiten sind dem Benutzer und/oder dem Bediener auf kompakte und einfache Weise ohne zusätzliche Anzeigemittel eine Vielzahl von Zustände anzeigbar. Hierdurch wird die Sicherheit des Sicherheitssystems 1 erhöht.
  • In Figur 13 sind von den exemplarisch vorhandenen acht einzelnen Leuchtmitteln 41 sechs einzelne Leuchtmittel dargestellt, von denen drei Leuchtmittel mit den Bezugszeichen 41a, 41b, 41c versehen sind. Die einzelnen Leuchtmittel werden im Folgenden mit 41a, 41b, 41c usw. bezeichnet.
  • Jede der einzeln ansteuerbaren Gruppen von Leuchtmitteln 41 kann nur ein einzelnes Leuchtmittel 41a, 41b, 41c, usw. umfassen. In dem Ausführungsbeispiel der Figuren 11 bis 17 ist jedes Leuchtmittel 41a, 41b, 41c, usw. einzeln ansteuerbar. Jedes Leuchtmittel 41a, 41b, 41c, usw. ist jeweils als RGB-LED ausgebildet. Die Leuchtmittel 41a, 41b, 41c, usw. sind so ansteuerbar, dass jedes Leuchtmittel 41a, 41b, 41c, usw. mindestens vier verschiedene, bevorzugt mindestens fünf verschiedene Farben emittieren kann. Hierbei kann es sich z. B. um rotes, blaues, gelbes, grünes und pinkes Licht handeln.
  • Die Leuchtmittel 41 werden von der dritten Nottasterverarbeitungseinheit 22 angesteuert. Hierzu sind die Nottasterverarbeitungseinheit 22 und die Leuchtmittel 41 an einem Ringbus (nicht dargestellt) angeschlossen.
  • Die Leuchtmittel 41 sind auf der ersten Platine 60 angeordnet. Ebenfalls ist der akustische Alarmgeber 23 auf der ersten Platine 60 angeordnet. Der akustische Alarmgeber 23 wird von der dritten Nottasterverarbeitungseinheit 22 angesteuert.
  • Sind mehrere Türverriegelungen 200, 1200 dem Nottaster 10 zugeordnet, wie z. B. in Figur 4 dargestellt, so sind zumindest zwei Optionen denkbar. Zum einen kann der Nottaster 10 den entriegelten Zustand erst dann anzeigen, wenn alle dem Nottaster 10 zugeordneten Türverriegelungen 200, 1200 sich in dem entriegelten Zustand befinden. Hierbei wird der entriegelte Zustand erst angezeigt, wenn die ganze Fluchttürbreite der beiden Türflügel 3, 4 zur Flucht zur Verfügung steht. Alternativ zeigt der Nottaster 10 den entriegelten Zustand bereits dann an, wenn eine der Türverriegelungen 200, 1200 oder alle Türverriegelungen eines Türflügels 3, 4 sich in dem entriegelten Zustand befinden. Hierdurch wird die Fluchtmöglichkeit möglichst früh angezeigt, wenn bereits einer der Türflügel 3, 4 entriegelt ist. Die Optionen können von dem Bediener gewählt werden. Hierzu kann z. B. ein Schalter (nicht dargestellt) in dem Sicherheitssystem 1 vorgesehen sein.
  • Ein weiterer Zustand des Sicherheitssystems 1, der durch die in Gruppen ansteuerbaren Leuchtmittel 41 angezeigt wird, ist der Gefahrenfall. Hierbei können die Leuchtmittel 41 anzeigen, ob ein Brandmeldesignal vorliegt oder ob ein Betätigungssignal erzeugt wurde.
  • Die Leuchtmittel 41 können derart angesteuert werden, dass das Fortschreiten der Zeitverzögerung der Entriegelung nach Erzeugung des Betätigungssignals durch die Leuchtmittel 41 angezeigt wird. Hierbei emittieren z. B. zunehmend weniger Leuchtmittel 41 Licht einer Farbe, insbesondere rotes Licht.
  • Als ein weiterer Zustand des Sicherheitssystems 1, das durch die Leuchtmittel 41 darstellbar ist, kann ein Fehler durch die Leuchtmittel 41 dargestellt werden. Der derart darstellbare Fehler kann ein Fehler des Sicherheitssystems 1 sein. Beispielsweise kann angezeigt sein, dass die Steuerungsvorrichtung 100, die Türverrriegelungssteuerung 200 oder die erste oder die zweite Nottasterverarbeitungseinheit 20, 21 des Sicherheitssystems 1 nicht betriebsbereit, defekt, ausgefallen, bewusst abgeschaltet oder entfernt worden ist. Der Fehler kann ein Fehler des mit dem Sicherheitssystem 1 verbundenen Alarmsystems, das nicht betriebsbereit, defekt, ausgefallen, bewusst abgeschaltet oder entfernt ist, sein.
  • Der Lichtleiter 40 umfasst mehrere Lichtleiterbereiche 44 (s. die Figuren 16 und 17). Jedem der Leuchtmittel 41a, 41b, 41c, usw. ist jeweils ein Lichtleiterbereich 44 zugeordnet. Der Lichtleiter 40 lässt sich gedanklich in die Lichtleiterbereiche 44 aufteilen. Zwischen den Lichtleiterbereichen 44 sind Aussparungen 46 vorgesehen. Durch die Aussparungen 46 verbleibt das Licht im Wesentlichen in den Lichtleiterbereichen 44.
  • Jeder Lichtleiterbereich 44 weist einen Weiterleitungsabschnitt 48 auf. Der Weiterleitungsabschnitt 48 ist in Transmissionsrichtung 702 über den Leuchtmitteln 41 angeordnet. Die Transmissionsrichtung 702 erfolgt entgegen der Betätigungsrichtung 700. Der Weiterleitungsabschnitt 48 dient zur Lichtleitung bis zu einem sich aufspreizenden Abschnitt 45 des Lichtleiterbereichs 44. Der sich aufspreizende Abschnitt 45 spreizt sich in Transmissionsrichtung 702 auf.
  • Der sich aufspreizende Abschnitt 45 schließt sich an den Weiterleitungsabschnitt 48 in Transmissionsrichtung 702 an. Der sich aufspreizende Abschnitt 45 dient dazu den Lichtstrahl des emittierten Lichts zu verbreitern. Der Weiterleitungsabschnitt 48 verbreitert sich weniger als der sich aufspreizende Abschnitt 45.
  • Der Lichtleiter 40 ist einstückig ausgebildet. Der Lichtleiter 40 ist materialeinheitlich, insbesondere monolithisch, ausgebildet. Der Lichtleiter 40 ist aus transluzentem Material ausgebildet.
  • Die Lichtleiterbereiche 44 weisen einen Verbindungabschnitt 49 auf. Der Verbindungsabschnitt 49 schließt sich in Transmissionsrichtung 702 an den sich aufspreizenden Abschnitt 45 an. Die Verbindungsabschnitte 49 der Lichtleiterbereiche 44 sind einstückig derart miteinander verbunden, dass sich der einstückige und materialeinheitliche Lichtleiter 40 ergibt.
  • Die Verbindungsabschnitte können eine Tiefe von 2 mm bis 6 mm, bevorzugt 3 mm bis 5 mm, besonders bevorzugt 3,5 mm bis 4,5 mm aufweisen. Hierdurch ist das Licht eines der Leuchtmittel 41a, 41b, 41c usw. nahezu auf einen Leuchtbereich 50a, 50b, 50c, 50d, 50e, 50f, 50g, 50h auf der zum Benutzer zeigenden Oberfläche 47 des Lichtleiters 40 beschränkt. Hierbei umfasst jeder Lichtleiterbereich 44 einen Leuchtbereich 50a, 50b, 50c, 50d, 50e, 50f, 50g, 50h.
  • Die Oberfläche 47 des Lichtleiters 40 entspricht einem Kreisring. Die Leuchtbereich 50a, 50b, 50c, 50d, 50e, 50f, 50g, 50h sind als Sektoren des Kreisrings ausgestaltet. Durch das Emittieren des Lichts eines Leuchtmittels 41a, 41b, 41c, usw. wird der dazugehörende Leuchtbereich 50a, 50b, 50c, 50d, 50e, 50f, 50g, 50h erleuchtet. Der Kreisring umschließt das Betätigungselement 11.
  • Die Leuchtmittel 41 sind derart ansteuerbar, dass zumindest ein Leuchtmittel 41a, 41b, 41c, usw. das Licht einer Farbe und zumindest ein weiteres Leuchtmittel 41a, 41b, 41c, usw. zeitgleich das Licht einer anderen Farbe emittiert. Beispielsweise können auf diese Weise die Leuchtbereiche 50a, 50b, 50e, 50f Licht einer Farbe anzeigen und die Leuchtbereiche 50c, 50d, 50g und 50h Licht einer weiteren Farbe. Während die Leuchtbereiche 50a, 50b, 50e, 50f z. B. kontinuierlich beleuchtet sind, können die Leuchtbereiche 50c, 50d, 50g und 50h von Leuchtmitteln 41, die blinkendes Licht emittieren, beleuchtet sein.
  • Sind z. B. zunächst die Leuchtbereiche 50a, 50b, 50e, 50f vom Licht einer ersten Farbe beleuchtet und die Leuchtbereiche 50c, 50d, 50g und 50h vom Licht einer zweiten Farbe; anschließend die Leuchtbereiche 50a, 50h, 50d, 50e vom Licht der ersten Farbe beleuchtet und die Leuchtbereiche 50b, 50c, 50f und 50g vom Licht der zweiten Farbe; anschließend die Leuchtbereiche 50h, 50g, 50d, 50c vom Licht der ersten Farbe beleuchtet und die Leuchtbereiche 50a, 50b, 50e und 50f vom Licht der zweiten Farbe, so entsteht der Eindruck eines umlaufenden Farbfensters.
  • Die sich gegenüberliegenden Leuchtbereiche 50, d. h. die Leuchtbereiche 50, die auf einer durch die gedachte Ache 701 führende Gerade liegen, in Figur 14 nämlich 50a und 50e bzw. 50b und 50f bzw. 50c und 50g bzw. 50d und 50h, sind bevorzugt in derselben Weise d. h. in derselben Farbe und derselben Blinkfrequenz beleuchtet. Somit ist das Muster auch für schräg vor dem Nottaster 10 stehende Benutzer zu erahnen, auch wenn durch das Betätigungselement 11 zumindest eines der sich gegenüberliegende Leuchtbereiche 50 verdeckt.
  • Damit der Lichtleiter 40 möglichst wenig verdeckt ist, steht der Illuminierbereich 32 höchstens 10 mm, bevorzugt höchstens 7 mm, besonders bevorzugt höchstens 5 mm über dem Lichtleiter 40 hervor.
  • Der Nottaster 10 kann einen Helligkeitssensor (nicht dargestellt) umfassen. Der Helligkeitssensor misst die Umgebungshelligkeit des Nottasters 10. Lässt die Umgebungshelligkeit nach, so wird auch die Lichtstärke des von den Leuchtmitteln 41 emittierten Lichts verringert.
  • Über das Bluetoothmodul 64 können über ein mobiles Kommunikationsgerät Parameter eingestellt werden, z. B. in welcher Art und Weise die Leuchtmittel bei welchem Zustand des Sicherheitssystems 1 anzusteuern sind. Unter die Parameter fallen die Blinkfrequenzen der Leuchtmittel 41, ob ein durchgängiges oder ein blinkendes Licht emittert werden soll, welcher Zustand durch welche Farbe angezeigt werden soll. Die Einstellungen sind nach der Parametrierung in einem elektronischen Speicher des Sicherheitssystems 1, insbesondere der Steuerungsvorrichtung 100, hinterlegt. Ebenfalls kann das Anzeigen bestimmter Zustände aus Sicherheitsgründen nicht für den Bediener wählbar sein und ständig in dem elektronischen Speicher hinterlegt sein. Der Bediener kann Zuständen des Sicherheitssystems 1 selber auswählen, die der Bediener durch die Leuchtmittel 41 anzeigen möchte. Hierzu sind Farben und/oder Muster durch die Leuchtmittel 41 emittierbar, die keinem Zustand vorbestimmt zugeordnet sind. Beispielsweise kann der Bediener wählen, welchen Zustand der Bediener durch blaues Licht anzeigen lassen möchte. Neben der Parametrierung über das Bluetoothmodul 64 ist die Parametrierung über die Wachvorrichtung 301 möglich.
  • Die Änderung des Zustands der Türverriegelung 200 wird dann angezeigt, nachdem die Türverriegelungssteuerung 201 die Zustandsänderung an die Steuerungsvorrichtung 100 kommuniziert hat. Die Steuerungsvorrichtung 100 steuert daraufhin die Leuchtmittel 41 an oder veranlasst eine Ansteuerung der Leuchtmittel 41.
  • Bei einer Inbetriebnahme des Sicherheitssystems 1 werden in festen zeitlichen Abständen nacheinander mehrere Initialisierungsansichten durch die Leuchtmittel 41 erzeugt. In einer der Initialisierungsansichten werden mögliche freigeschaltete Funktionen der Steuerungsvorrichtung 100 angezeigt. In einer zweiten Initialisierungsansicht werden die in das Sicherheitssystem 1 einbindbare Nottaster 10, 1010, 2010, 3010 und Türverriegelungen 200, 1200, 2200, 3200 angezeigt, wobei der Status fehlerfrei/ fehlerhaft/nicht vorhanden angezeigt wird. In einer dritten Initialisierungsansicht werden der Status von Ein- und Ausgänge angezeigt.
  • Der zentrale Notfalltaster 302 ist nahezu identisch wie der Nottaster 10 aufgebaut. Insbesondere entspricht das Betätigungselement 11 in Funktion und Aufbau dem Notfalltasterbetätigungselement 306. Der Schalter 63 entspricht dem Notfalltasterschalter 307. Ebenfalls umfasst der zentrale Notfalltaster 302 ein dem Rückstellmittel 12 entsprechendes Rückstellmittel. Der zentrale Notfalltaster 302 umfasst eine erste und eine zweite Platine und/oder eine Montageplatte, die entsprechend der ersten Platine 60, der zweiten Platine 61 bzw. der Montageplatte 62 aufgebaut und miteinander verbunden sind. Auf der ersten Platine des zentralen Notfalltasters 302 sind der Alarmgeber 309 und die Leuchtmittel 313 entsprechend dem Alarmgeber 23 und den Leuchtmitteln 41 angeordnet. Auf der zweiten Platine des zentralen Notfalltasters 302 sind die erste bis dritte Notfallverarbeitungseinheit 303, 304, 305 angeordnet. Der Notfalltasterschalter 307 endet auf der ersten Platine des zentralen Notfalltasters 302. Bei einer Betätigung des Notfalltasterschalters 307 werden ein erster und ein zweiter Stromkreis auf der ersten Platine geöffnet, was kabelfrei durch die erste und die zweite Notfallverarbeitungseinheit 303, 304 erfassbar ist. Hierzu sind die erste und die zweite Platine über Stecker verbunden. Der Lichtleiter des zentralen Notfalltasters 302 entspricht in Aufbau und Funktion dem Lichtleiter 40. Die Leuchtmittel 313 sind entsprechend den Leuchtmittel 41 ansteuerbar.
  • Es ist denkbar, dass bei dem zentralen Notfalltaster 302 ein dem Abdeckmittel 13 entsprechendes Abdeckmittel 13 anders ausgestaltet ist oder fehlt. Die Leuchtmittel 313 dienen insbesondere nicht zur optischen Darstellung eines Verriegelungszustands eines Nottasters 10. Die Leuchtmittel 313 dienen zur optischen Darstellung der ersten und der zweiten Verzögerungszeitdauer und/oder zur optischen Darstellung, dass eine Aufhebehandlung möglich ist.
  • Das erfindungsgemäße Sicherheitssystem 1 muss nicht zwingend alle Funktionen, die in der Beschreibung zu zumindest eine der Figuren 1 bis 10 erwähnt ist, ausführen können. Vielmehr sind zwar in dem Sicherheitssystem 1 die Funktionen, die in der Beschreibung zu zumindest eine der Figuren 1 bis 10 erwähnt sind, hinterlegt. Um die Funktionen jedoch ausführen zu können, müssen die Funktionen freigeschaltet sein. Dieses erfolgt, indem die Steuerungsvorrichtung 100 mit einem Kommunikationsmodul 801 kommuniziert. Das Kommunikationsmodul 801 ist als eine Chipkarte ausgeführt. Das Kommunikationsmodul 801 umfasst einen Speicher, in dem zumindest ein Code zur Freischaltung zumindest einer Funktion hinterlegt ist. Das Kommunikationsmodul 801 umfasst einen Mikroprozessor, der nur zur Verschlüsselung des Codes dient. Das Kommunikationsmodul 801 wird in eine Aufnahme 77 der Steuerungsvorrichtung 100 eingeschoben (s. Fig. 18a). Durch die Anordnung in der Aufnahme 77 wird das Kommunikationsmodul 801 form- und/oder kraftschlüssig mechanisch in der Aufnahme 77 gehalten. Zugleich wird das Kommunikationsmodul 801 durch die Anordnung in der Aufnahme 77 elektrisch kontaktiert, so dass die Steuerungsvorrichtung 100 den zumindest einen Code aus dem Kommunikationsmodul 801 auslesen kann. Die Steuerungsvorrichtung 100 und das Kommunikationsmodul 801 sind hierbei drahtgebunden (nicht dargestellt).
  • Zum Auslesen des Codes muss zunächst die Steuerungsvorrichtung 100 mit Hilfe eines Passworts ein Zugang zu dem Kommunikationsmodul 801 erhalten. Die Steuerungsvorrichtung 100 muss den zumindest einen Code entschlüsseln, bevor die Funktion freigeschaltet werden kann. Durch das Freischalten der Funktion wird der Programmcode, mit dessen Hilfe die Funktion ausführbar ist, freigeschaltet.
  • Zur Freischaltung der Funktion wird der Programmcode, mit dessen Hilfe die Funktion ausführbar ist, freigeschaltet. Ist der Programmcode auf dem Nottaster 10 hinterlegt und sind die Steuerungsvorrichtung 100 und der Nottaster 10 durch das erste Bussystem 400 miteinander verbunden, so veranlasst die Steuerungsvorrichtung 100 nach Auslesen des Codes des Kommunikationsmoduls 801 eine Freischaltung in dem Nottaster 10 über das erste Bussystem 400. Ist der Programmcode in der Türverriegelungssteuerung 201 hinterlegt, so veranlasst die Steuerungsvorrichtung 100 nach dem Auslesen des Codes des Kommunikationsmoduls 801 eine Freischaltung in der Türverriegelungssteuerung 201 über das erste Bussystem 801.
  • Ein Code kann eine Funktion oder mehrere Funktionen, insbesondere Funktionsblöcke, freischalten.
  • In dem Parametrierungsprogramm können nur Parameter zu den Funktionen eingestellt werden, die zuvor freigegeben wurden. Nur diese Parameter werden auf dem Bildschirm angezeigt.
  • Die Funktion bleibt nur freigeschaltet, wenn wiederholend, insbesondere in regelmäßigen Zeitabständen, der Code erneut aus dem Kommunikationsmodul 801 ausgelesen wird. Hierzu können vorgegebene, nicht einstellbare Zeitabstände in der Steuerungsvorrichtung 100 hinterlegt sein. Nach Ablauf des vorgegebenen Zeitabstandes sperrt die Steuerungsvorrichtung 100 die Funktion, falls der zugehörige Code nicht aus dem Kommunikationsmodul 801 ausgelesen werden konnte. Wird die Funktion durch den Nottaster 10 durchgeführt, der mit der Steuerungsvorrichtung 100 über das erste Bussystem 400 verbunden ist, so veranlasst die Steuerungsvorrichtung 100 über das erste Bussystem 400 eine Sperrung der Funktion. Wird die Funktion durch die Türverriegelungssteuerung 201 durchgeführt, die mit der Steuerungsvorrichtung 100 über das erste Bussystem 400 verbunden ist, so veranlasst die Steuerungsvorrichtung 100 über das erste Bussystem 400 eine Sperrung der Funktion.
  • Auf dem Kommunikationsmoduls 801 können mehrere Codes Code1, Code2 für unterschiedliche Funktionen gespeichert sein (s. Fig. 18a).
  • Soll eine zusätzliche Funktion freigegeben werden, so ist es denkbar, das Kommunikationsmodul 801 aus der Aufnahme 77 zu entfernen und ein weiteres Kommunikationsmodul 802 in die Aufnahme 77 einzuschieben (s. Fig. 18b). Das Kommunikationsmodul 801 wird im Folgenden als Muttermodul 801 bezeichnet. Das weitere Kommunikationsmodul 802 wird im Folgenden als Hilfsmodul bezeichnet. Das Hilfsmodul 802 ist als eine Chipkarte ausgestaltet. Das Hilfsmodul 802 umfasst einen Speicher, in dem zumindest ein Code zur Freischaltung der zusätzlichen Funktion hinterlegt ist. Das Hilfsmodul 802 umfasst einen Mikroprozessor, der nur zur Verschlüsselung des Codes dient.
  • Der Code Code3, der auf dem Hilfsmodul 802 hinterlegt ist, wird von der Steuerungsvorrichtung 100 ausgelesen (s. Fig. 18b). Zum Auslesen des Codes Code3 muss zunächst die Steuerungsvorrichtung 100 mit Hilfe eines Passworts ein Zugang zu dem Hilfsmodul 802 erhalten. Die Steuerungsvorrichtung 100 muss den zumindest einen Code entschlüsseln, bevor die Funktion freigeschaltet werden kann. Der Code Code3 des Hilfsmoduls 802 wird in einem Speicher 107 der Steuerungsvorrichtung 100 gespeichert (s. Fig. 18c). Danach wird der Code des Hilfsmoduls 802 auf dem Hilfsmodul 802 gelöscht (s. Fig. 18c). Das Hilfsmodul 802 wird aus der Aufnahme 77 entfernt. Danach wird das Muttermodul 801 in die Aufnahme 77 eingeschoben (s. Fig. 18d). Der Code des Hilfsmoduls 802 wird auf dem Muttermodul 801 gespeichert (s. Fig. 18d). Der Code wird aus dem Speicher der Steuerungsvorrichtung 100 gelöscht (s. Fig. 18d). Die zusätzliche Funktion wird freigeschaltet.
  • Bei einem Muttermodul 801 wird der Code hingegen nicht in der Steuerungsvorrichtung 100 gespeichert (s. Fig. 18a, d). Bei einem Muttermodul 801 wird der Code nicht gelöscht. Vielmehr dient das Muttermodul 801 zu einer dauerhaften Anordnung in der Aufnahme 77. Die auf dem Muttermodul 801 gespeicherten Codes Code1, Code2, Code3 werden wiederholend ausgelesen. Die Steuerungsvorrichtung 100 entscheidet anhand einer Kennung K801, K802 des Kommunikationsmoduls 801, 802, ob es sich um ein Muttermodul 801 oder um ein Hilfsmodul 802 handelt. Die Kennung K801, K802 ist insbesondere auf dem Muttermodul 801 und dem Hilfsmodul 802 elektronisch gespeichert. Die Kennung K801 des Muttermoduls 801 unterscheidet sich von der Kennung K802 des Hilfsmoduls 802.
  • Das Einschieben und Entfernen aus der Aufnahme 77 erfolgt jeweils manuell. Die übrigen Vorgänge erfolgen automatisch.
  • Das Einschieben und Entfernen aus der Aufnahme 77 kann einem Bediener vorbehalten sein. Hierzu ist die Aufnahme 77 für einen unbefugten Benutzer unzugänglich angeordnet. Insbesondere wird der Sabotageschalter 66 bei einem unbefugten Versuch, an die Aufnahme zu gelangen, betätigt. Die Aufnahme kann zwischen der ersten Platine 60 und der zweiten Platine 61, z. B. auf einer Unterseite der ersten Platine 60, angeordnet sein.
  • Damit das Sicherheitssystem 1 funktionsfähig wird, muss ein Muttermodul 801 in einer Aufnahme 77 des Sicherheitssystems 1 angeordnet werden. Damit das Sicherheitssystem 1 länger als den vorgegebenen Zeitabstand funktionsfähig bleibt, muss das Muttermodul 801 in der Aufnahme 77 verbleiben.
  • Jeder Nottaster 10, 10', 1010, 1010', 2010, 2010', 3010 umfasst eine Aufnahme 77. Genau ein Muttermodul 801 ist für jedes erste Bussystem 400, 400' des Sicherheitssystems 1 notwendig und vorgesehen. Nur wenn das Muttermodul 801 in die Aufnahme eines Nottasters 10, 10', 1010, 1010', 2010, 2010', 3010 eingeschoben ist, so dient der Nottaster 10, 10', 1010, 1010', 2010, 2010', 3010 zugleich als Steuerungsvorrichtung 100 für das entsprechende erste Bussystem 400, 400'. Bei den übrigen Nottaster 10, 10', 1010, 1010', 2010, 2010', 3010 des Sicherheitssystems 1, in deren Aufnahme sich kein Muttermodul 801 befindet, sind zwar dieselben Programmcodes wie in der Steuerungsvorrichtung 100 hinterlegt. Ohne Muttermodul 801 sind die Programmcodes jedoch nicht freigeschaltet, so dass die übrigen Nottaster 10, 10', 1010, 1010', 2010, 2010', 3010 nicht als Steuerungsvorrichtung 100 dienen können. Dadurch, dass sich das Muttermodul 801 in der Aufnahme 77 befindet, dient der Nottaster 10, 10', 1010, 1010', 2010, 2010', 3010 als Steuerungsvorrichtung 100.
  • Soll die Steuerungsvorrichtung 100 separat von den Nottastern 10, 10', 1010, 1010', 2010, 2010', 3010 und den Türverriegelungen 200, 200', 1200, 1200', 2200, 2200', 3200 ausgebildet werden, so wird ein Muttermodul 801 in eine Aufnahme 77 der Verarbeitungselektronik 101 eingeschoben. Dadurch, dass sich das Muttermodul 801 in der Aufnahme 77 befindet, ist die Verarbeitungselektronik 101 fähig, die Funktionen der Steuerungsvorrichtung 100 durchzuführen.
  • Umfasst das Sicherheitssystem 1 mehrere Subsysteme 5,6 und damit mehrere erste Bussysteme 400, 400', so umfasst das Sicherheitssystem 1 genau die gleiche Anzahl an Muttermodulen 801, 801', wie es Subsystemen 5, 6 gibt (s. Figur 10). Der Nottaster 10', der mit dem Muttermodul 801' kommuniziert, und die Verarbeitungselektronik 101 der Steuerungsvorrichtung 100 aus Figur 10, die mit dem Muttermodul 801 kommuniziert, sind zugleich vorgesehen, um mit dem zweiten Bussystem 401 verbunden zu werden.
  • Das Muttermodul 801, 801' kann für jedes Subsystem 5,6 unterschiedliche Codes enthalten und damit unterschiedliche Funktionen freischalten. So kann z. B. das Muttermodul 801' des zweiten Subsystems 6 einen Code für die selektive Zuordnung der Türverriegelungen 200', 1200', 2200' zu den Nottastern 10', 1010', 2010' umfassen. Hingegen ist der Code für eine selektive Zuordnung von Türverriegelungen zu Nottastern auf dem Muttermodul 801 für das Subsystem 5 nicht notwendig.
  • Das Kommunikationsmodul 801, 801', 802 kann einen Spalt 803 aufweisen, durch den ein insbesondere selbstklebendes Band geführt ist. Das selbstklebende Band dient zum manuellen Entfernen des Kommunikationsmoduls 801, 801', 802 aus der Aufnahme 77. Das selbstklebende Band umfasst eine Information über die Funktionen, die durch die auf dem jeweiligen Kommunikationsmodul 801, 801', 802 gespeicherten Codes freischaltbar sind. Die Information kann eine Farbkennung, ein QR-Code und/oder ein Bar-Code sein.
  • Alternativ kann das Kommunikationsmodul 801, 801', 802 als Chipkarte mit einem flexiblen Abschnitt ausgebildet sein. Teil aus der Ausnahme 77 herausragender Teil der Chipkarte kann mit der Information, d. h. der Farbkennung, dem QR-Code und/oder dem Bar-Code versehen sein.
  • Ein einmal in einem Sicherheitssystem 1 eingesetztes Muttermodul 801 kann in einer Aufnahme 77 eines anderen erfindungsgemäßen Sicherheitssystem 1 erneut funktionsfähig eingesetzt werden.

Claims (10)

  1. Sicherheitssystem (1) zur Steuerung und/oder Überwachung von Türverriegelungen (200) zur Fluchtwegsicherung
    mit Türverriegelungssteuerungen (201), wobei eine Türverriegelungssteuerung (201) zur Ansteuerung von einem Verriegelungsmechanismus (205), der der Türverriegelungssteuerung (201) zuzuordnen ist, dient,
    und mit Auslöseelementen (10, 1010, 2010, 3010), insbesondere Nottastern (10, 1010, 2010, 3010), wobei in Folge einer Betätigung eines Auslöseelements (10, 1010, 2010, 3010) eine Ansteuerung zumindest eines Verriegelungsmechanismus (205) veranlassbar ist,
    wobei
    eine Anzahl von Türverriegelungssteuerungen (201) und eine Anzahl von Auslöseelemente (10, 1010, 2010, 3010) über ein gemeinsames, erstes Bussystem (400) miteinander verbunden sind, wobei die Anzahl von Türverriegelungen (201) und die Anzahl von Auslöseelementen (10, 1010, 2010, 3010) jeweils einer natürlichen Zahl von mindestens zwei entsprechen, und die Anzahl von Türverriegelungssteuerungen (201) der Anzahl von Auslöseelementen (10, 1010, 2010, 3010) derart zugeordnet sind, dass bei einer Betätigung eines der Auslöseelemente (10, 1010, 2010, 3010) nur die zumindest eine Türverrieglungssteuerung (201), die dem betätigten Auslöseelement (10, 1010, 2010, 3010) zugeordnet ist, den jeweiligen Verriegelungsmechanismus (205) zur Entriegelung ansteuert, wobei in Folge der Betätigung eines der Auslöseelemente, die mit dem ersten Bussystem verbunden sind, nicht alle Türverriegelungssteuerungen, die mit dem ersten Bussystem verbunden sind, veranlasst werden, den jeweiligen Verriegelungsmechanismus zur Entriegelung anzusteuern, wobei in den Türverriegelungssteuerungen (201), die zur Anzahl von Türverriegelungssteuerungen (201) gehören, jeweils hinterlegt ist, zu welchem zumindest einen Auslöseelement (10, 1010, 2010, 3010) die jeweiligen Türverriegelungssteuerung (201) zugeordnet ist,
    dadurch gekennzeichnet, dass
    alle Türverriegelungssteuerungen (201) der Anzahl von Türverriegelungssteuerungen (201) in Folge der Betätigung des Auslöseelements (10, 1010, 2010, 3010) von dem Auslöseelement (10, 1010, 2010, 3010) über die Betätigung benachrichtigt werden und die jeweilige Türverriegelungssteuerung (201) entscheidet, ob der den Türverriegelungssteuerungen (201) zugeordnete Verriegelungsmechanismus (205) zur Entriegelung anzusteuern ist, wozu jede Türverriegelungssteuerung (201), die mit dem ersten Bussystem (400) verbunden ist, überprüft, ob die jeweilige Türverriegelungssteuerung (201) dem die Nachricht sendenden Auslöseelement (10, 1010, 2010, 3010) zugeordnet ist, wobei nur, wenn die Türverriegelungsteuerung (201) feststellt, dass die Türverriegelungssteuerung (201) dem die Nachricht sendenden Auslöseelement (10, 1010, 2010, 3010) zugeordnet ist, die Türverriegelungssteuerung (201) den Verriegelungsmechanismus (205) zur Entriegelung ansteuert.
  2. Sicherheitssystem (1) nach einem der vorhergehenden Ansprüche, dadurch gekennzeichnet, dass die Auslöseelemente (10, 1010, 2010, 3010) eine Busadresse umfassen und die Busadresse in der zumindest einen dem Auslöseelement (10, 1010, 2010, 3010) zugeordneten Türverriegelungssteuerung (201) zur Zuordnung hinterlegt ist.
  3. Sicherheitssystem (1) nach einem der vorhergehenden Ansprüche, dadurch gekennzeichnet, dass die Türverriegelungssteuerungen (201) jeweils ein erstes digitales Verarbeitungsmittel (202) und ein zweites digitales Verarbeitungsmittel (203) umfassen und sowohl in dem ersten Verarbeitungsmittel (202) als auch in dem zweiten Verarbeitungsmittel (203) hinterlegt ist, zu welchem zumindest einen Auslöseelement (10, 1010, 2010, 3010) die jeweilige Türverriegelungssteuerung (201) zugeordnet ist, wobei insbesondere der Verriegelungsmechanismus (205) von dem ersten Verarbeitungsmittel (202) und redundant von dem zweiten Verarbeitungsmittel (203) ansteuerbar ist.
  4. Sicherheitssystem (1) nach einem der vorhergehenden Ansprüche, dadurch gekennzeichnet, dass die Auslöseelemente der Anzahl der Auslöseelemente (10, 1010, 2010, 3010) zur Ausführung zumindest einer der folgenden Funktionen konfiguriert sind:
    a. Veranlassen einer Ansteuerung zumindest eines Verriegelungsmechanismus (205) zur Entriegelung in Folge der Betätigung des Auslöseelements (10), wobei der Verriegelungsmechanismus (205) oder die Verriegelungsmechanismen (205), die dem Auslöseelement (10, 1010, 2010, 3010) zugeordnet sind, angesteuert werden,
    b. Veranlassen einer Ansteuerung zumindest eines Verriegelungsmechanismus (205) der Türverriegelung (200, 1200, 2200, 3200) zur Entriegelung nach Empfang eines Brandmeldesignals,
    c. Zeitverzögerung des Veranlassens einer Ansteuerung des Verriegelungsmechanismus (205) gemäß der Funktion a.), wobei insbesondere innerhalb einer ersten Zeitverzögerungsdauer die Ansteuerung um eine zweite Zeitverzögerungszeitdauer verzögerbar ist;
    d. Verhindern des Veranlassens einer Ansteuerung oder Verhindern der Ansteuerung des Verriegelungsmechanismus (205) zur Entriegelung in Folge der Betätigung des Auslöseelements (10, 1010, 2010, 3010), wenn sich das Auslöseelement (10, 1010, 2010, 3010) in einem deaktivierten Zustand befindet;
    e. Veranlassen einer Ansteuerung oder Ansteuern des Verriegelungsmechanismus (205) zur Wiederverriegelung nach Durchführen der Funktion a., sofern eine Aufhebungsbedingung erreicht ist, wobei insbesondere die Aufhebungsbedingung erreicht wird:
    ▪ nach einer Aufhebungshandlung am Auslöseelement (10, 1010, 2010, 3010), das zur Anordnung an oder nahe der Tür bestimmt ist, und/oder einer Authentifizierung
    ▪ optional nach einem Ablauf einer vorbestimmten Zeitspanne und bei einem Fehlen eines Signals über ein Öffnen der Tür innerhalb der vorbestimmten Zeitspanne;
    ▪ optional nach einem Ablauf einer vorbestimmten Zeitspanne nach Erhalt eines Aufhebesignals einer zentralen Fluchtwegsteuerung (300) und bei einem Fehlen eines Signals über ein Öffnen der Tür innerhalb der vorbestimmten Zeitspanne;
    f. Veranlassen eines Freischaltens eines Audio- und/oder Videomoduls (510), wobei insbesondere das Audio- und/oder Videomodul (510) eine Audio- und/oder Videoaufnahme (510) an eine Wachvorrichtung (301) übermittelt.
  5. Sicherheitssystem (1) nach einem der vorhergehenden Ansprüche, dadurch gekennzeichnet, dass in Folge einer Betätigung eines Auslöseelements (10, 1010, 2010, 3010) der Anzahl von Auslöseelementen (10, 1010, 2010, 3010) nur durch die zumindest einen Türverriegelungssteuerung (201), die dem betätigten Auslöseelement (10, 1010, 2010, 3010) zugeordnet ist, elektronisch verhindert ist, dass bis zum Vorliegen einer Aufhebungsbedingung der Verriegelungsmechanismus (205) zur Verriegelung ansteuerbar ist.
  6. Sicherheitssystem (1) nach einem der vorhergehenden Ansprüche, dadurch gekennzeichnet, dass das Sicherheitssystem (1) eine zentrale Fluchtwegsteuerung (300) mit einem zentralen Notfalltaster (302) umfasst, wobei in Folge der Betätigung des zentralen Notfalltasters (302) zumindest ein Verriegelungsmechanismus (205) zur Entriegelung angesteuert wird und in Folge der Betätigung des zentralen Notfalltasters (302) zumindest für einen der übrigen Verriegelungsmechanismen (205) eine Ansteuerung zur Entriegelung unterbleibt.
  7. Sicherheitssystem (1) nach einem der vorhergehenden Ansprüche, dadurch gekennzeichnet, dass das Sicherheitssystem (1) eine Steuervorrichtung (100) aufweist und die Steuerungsvorrichtung (100) mit dem Bussystem (400) verbunden ist, wobei die Steuerungsvorrichtung (100) zur Ausführung zumindest einer der folgenden Funktionen, bevorzugt mehrerer der folgenden Funktionen, besonders bevorzugt aller der folgenden Funktionen, konfiguriert ist:
    h. Veranlassen einer Ansteuerung oder Ansteuern des Verriegelungsmechanismus (205) zur Entriegelung nach Empfang eines positiven Authentifizierungssignals, wobei insbesondere über einen Buseingang das positive Authentifizierungssignal empfangbar ist,
    i. Veranlassen einer Ansteuerung oder Ansteuern des Verriegelungsmechanismus (205) zur Entriegelung zu einer vorgegebenen Zeit;
    j. Verhinderung der Ansteuerung eines weiteren Verriegelungsmechanismus (205) nach erfolgter Ansteuerung eines ersten Verriegelungsmechanismus (205) bis zum Vorliegen einer Bedingung derart, dass eine Schleuse gebildet ist,
    k. Veranlassen einer Ansteuerung oder Ansteuern des Verriegelungsmechanismus (205) zur automatischen Wiederverriegelung nach einem Ablauf einer vorbestimmten Zeitspanne insbesondere nach Durchführen der Funktionen h., i. und/oder j.
    I. Veranlassen einer Ansteuerung oder Ansteuern des Verriegelungsmechanismus (205) zur automatischen Wiederverriegelung nach dem Empfang eines Signals über einen geschlossenen Zustand der Tür insbesondere nach Durchführen der Funktionen h und/oder j., wobei vorzugsweise der geschlossene Zustand der Tür durch zumindest eine Türzustandsüberwachungsvorrichtung (204, 206) detektierbar ist;
    m. Veranlassen eines Ansteuerns oder Ansteuern eines akustischen Alarmgebers (23) zur Ausgabe eines Alarms in Abhängigkeit von einem Signal der Türzustandsüberwachungsvorrichtung (204, 206) über das Öffnen der Tür, insbesondere wenn keine Berechtigung zur Begehung der Tür vorliegt;
    n. Kommunikation über ein Funkmodul (64) vorzugsweise zur Parametrisierung des Sicherheitssystems (100), wobei die Parametrisierung bevorzugt über ein mobiles Kommunikationsgerät ausführbar ist;
    o. Veranlassen eines Ansteuerns oder Ansteuern eines akustischen Alarmgebers (23) zur Ausgabe eines akustischen Alarms in Folge einer Betätigung des Auslöseelements (10) oder nach Empfang eines Brandmeldesignals,
    p. Veranlassen eines Ansteuerns oder Ansteuern eines Anzeigegeräts (41) zur optischen Darstellung eines Verriegelungszustands der Türverriegelung (200),
    q. Veranlassen eines Ansteuerns oder Ansteuern einer Anzeigevorrichtung (41) zur optischen Darstellung der zeitverzögerten Ansteuerung des Verriegelungsmechanismus (205), insbesondere zur Entriegelung und insbesondere nach Betätigung des Auslöseelements (10);
    r. Veranlassen eines Ansteuerns oder Ansteuern einer Anzeige (41) zur visuellen Darstellung eines Alarmzustands insbesondere in Folge einer Betätigung des Auslöseelements (10) oder nach Empfang eines Brandmeldesignals,
    s. Veranlassen eines Ausgebens eines akustischen und/oder visuellen Alarms, falls eine Wiederverriegelung fehlschlägt, insbesondere die Tür geöffnet bleibt, was über die Türzustandsüberwachungsvorrichtung detektierbar ist,
    t. Herstellen und/oder Aufrechterhalten einer Kommunikationsverbindung (401, 403) zwischen der Steuerungsvorrichtung (100) und einer Zentrale, insbesondere einer zentralen Fluchttürsteuerung (300), einer Wachvorrichtung (301) und/oder einem Mehrtüranzeigegerät (350);
  8. Sicherheitssystem nach Anspruch 7, dadurch gekennzeichnet, dass die mit dem ersten Bussystem (400) verbundene Türverriegelungssteuerungen (201) und/oder die mit dem ersten Bussystem (400) verbundene Auslöseelemente (10, 1010, 2010, 3010) für die Steuerungsvorrichtung (100) zur Ausführung zumindest einer der Funktionen h.), i.), k.), l.), m.), o.) bis s.) selektiv benachrichtigbar sind und/oder die Steuerungsvorrichtung zur Ausführung zumindest einer der Funktionen h.), i.), k.), l.), m.), o.) bis s.) einen Verriegelungsmechanismus (205), ein Anzeigegerät (41), eine Anzeigevorrichtung (41), ein an den zusätzlichen Ausgang anschließbares Gerät, Leuchtmittel (41) und/oder einen akustischen Alarmgeber (23) selektiv ansteuert oder selektiv eine Ansteuerung veranlasst.
  9. Sicherheitssystem (1) nach Anspruch 7 oder 8, dadurch gekennzeichnet, dass in der Steuerungsvorrichtung (100) hinterlegt ist, welchem Auslöseelement (10, 1010, 2010, 3010) der Anzahl an Auslöseelemente (10, 1010, 2010, 3010) welche der Türverriegelungssteuerungen (201), die zur Anzahl von Türverriegelungssteuerungen (201) gehören, zugeordnet ist, wobei insbesondere die Auslöseelemente (10, 1010, 2010, 3010) die Anzeigevorrichtung (41) und/oder das Anzeigegerät (41) umfassen und die Steuerungsvorrichtung (100) die zumindest eine Anzeigevorrichtung (41) und/oder das zumindest eine Anzeigegerät (41) gemäß der Funktion p.) bzw. q.) ansteuert oder eine Ansteuerung veranlasst, deren zugeordnete Türverriegelungssteuerung (201) eine Änderung eines Verriegelungszustands erkennt (Funktion p.) und/oder deren zugeordnete Türverriegelungssteuerung (201) zeitverzögert den Verriegelungsmechanismus (205) ansteuert (Funktion q.).
  10. Sicherheitssystem (1) nach einem der Ansprüche 7 bis 9, dadurch gekennzeichnet, dass die Steuerungsvorrichtung (100) über ein zweites Bussystem (401) mit einer Zentrale, insbesondere einer zentralen Fluchtwegsteuerung (300) und/oder Wachvorrichtung (301), verbunden ist, wobei insbesondere Informationen der Türverriegelungssteuerungen(201) der Anzahl der Türverriegelungssteuerungen (201) oder der Auslöseelemente (10, 1010, 2010, 3010) der Anzahl der Auslöseelemente (10, 1010, 2010, 3010) über die Steuerungsvorrichtung (100) an die Zentrale (300, 301), leitbar sind.
EP22201455.7A 2016-07-04 2017-07-03 Sicherheitssystem Active EP4138104B1 (de)

Applications Claiming Priority (2)

Application Number Priority Date Filing Date Title
DE102016112228 2016-07-04
EP17179408.4A EP3267450B1 (de) 2016-07-04 2017-07-03 Sicherheitssystem

Related Parent Applications (2)

Application Number Title Priority Date Filing Date
EP17179408.4A Division EP3267450B1 (de) 2016-07-04 2017-07-03 Sicherheitssystem
EP17179408.4A Division-Into EP3267450B1 (de) 2016-07-04 2017-07-03 Sicherheitssystem

Publications (2)

Publication Number Publication Date
EP4138104A1 EP4138104A1 (de) 2023-02-22
EP4138104B1 true EP4138104B1 (de) 2025-05-14

Family

ID=59276617

Family Applications (2)

Application Number Title Priority Date Filing Date
EP17179408.4A Active EP3267450B1 (de) 2016-07-04 2017-07-03 Sicherheitssystem
EP22201455.7A Active EP4138104B1 (de) 2016-07-04 2017-07-03 Sicherheitssystem

Family Applications Before (1)

Application Number Title Priority Date Filing Date
EP17179408.4A Active EP3267450B1 (de) 2016-07-04 2017-07-03 Sicherheitssystem

Country Status (3)

Country Link
EP (2) EP3267450B1 (de)
DE (1) DE102017114796A1 (de)
ES (2) ES3033884T3 (de)

Families Citing this family (5)

* Cited by examiner, † Cited by third party
Publication number Priority date Publication date Assignee Title
EP3543965B1 (de) 2018-03-22 2022-07-06 dormakaba Deutschland GmbH Schlossanordnung und verfahren zur überprüfung einer schlossanordnung
TWI673083B (zh) 2018-09-11 2019-10-01 謝仲賢 防火門控制系統及具備該系統之門機
DE102019118551A1 (de) * 2019-07-09 2021-01-14 Maco Technologie Gmbh Beschlagsystem
EP4614948A1 (de) 2024-03-06 2025-09-10 dormakaba Deutschland GmbH Inbetriebnahmegerät, inbetriebnahmesystem und verfahren zur inbetriebnahme eines zugangssicherheitssystems
DE102024117888B3 (de) * 2024-06-25 2025-12-18 Dormakaba Deutschland Gmbh Türsystem mit einem Datenbus

Citations (16)

* Cited by examiner, † Cited by third party
Publication number Priority date Publication date Assignee Title
DE19531323A1 (de) 1994-10-15 1996-04-18 Geze Gmbh & Co Ein Diagnose- und/oder Überwachungsverfahren und eine Sicherheitseinrichtung zur Durchführung des Verfahrens für mindestens eine Tür, vorzugsweise in Flucht- und Rettungswegen
DE4443391A1 (de) 1994-12-06 1996-06-13 Aeg Sensorsysteme Gmbh System mit einer Mehrzahl von Schlössern
EP0799962A1 (de) 1996-04-02 1997-10-08 Heinrich Landert Verfahren zum Betrieb einer Türanlage und eine nach dem Verfahren arbeitende Türanlage
DE10011763A1 (de) 1999-06-27 2000-12-28 Geze Gmbh Verriegelungseinrichtung für mindestens eine Tür, vorzugsweise in Flucht- und Rettungswegen
DE19937034A1 (de) * 1999-08-05 2001-02-08 Geze Gmbh Elektrisch schaltbare Zuhaltevorrichtung
DE19936961A1 (de) 1999-08-05 2001-02-08 Geze Gmbh Elektrisch schaltbare Zuhaltevorrichtung
DE19943608A1 (de) 1999-09-11 2001-03-15 Geze Gmbh Einbruchmeldevorrichtung
WO2001018339A1 (de) 1999-09-06 2001-03-15 Geze Gmbh Automatische tür- oder fensteranlage
WO2003078769A1 (en) 2002-03-19 2003-09-25 Assa Abloy Ab Lock system, lock system device and method of configuring a lock system
DE10232272A1 (de) 2002-07-16 2004-01-29 Dorma Gmbh + Co. Kg Vorrichtung und Verfahren für ein Sicherheitssystem
EP1598506A1 (de) 2004-05-17 2005-11-23 Kaba Gilgen AG Verfahren zur Steuerung einer automatischen Flucht-und Rettungswegtüre
DE102005035397A1 (de) 2005-07-28 2007-02-01 S. Siedle & Söhne Telefon- und Telegrafenwerke OHG Hausanlage und Verfahren zum Betreiben einer Hausanlage
EP1850554A2 (de) 2006-04-21 2007-10-31 LONMARK Deutschland e.V. Sichere Kommunikationen in einem Netzwerk
EP2366860A2 (de) 2010-03-15 2011-09-21 GEZE GmbH Schiebetüranlage sowie Verfahren zum Betrieb einer Schiebetüranlage
EP2725172A2 (de) 2012-10-25 2014-04-30 ASSA ABLOY Sicherheitstechnik GmbH Verfahren zum Betreiben einer Rettungswegvorrichtung sowie Rettungsweganordnung
DE102014113647A1 (de) 2014-09-22 2016-03-24 Assa Abloy Sicherheitstechnik Gmbh Fluchtwegsicherungseinrichtung

Family Cites Families (6)

* Cited by examiner, † Cited by third party
Publication number Priority date Publication date Assignee Title
DE4221456A1 (de) 1991-07-03 1993-01-07 Cwe Unternehmen Fuer Moderne T Betaetigungsanordnung
DE4412653C2 (de) 1994-04-13 1997-01-09 Schmersal K A Gmbh & Co Überwachungseinrichtung
DE19540069A1 (de) 1995-10-27 1997-04-30 Elan Schaltelemente Gmbh Anordnung zur Erfassung und/oder Verarbeitung von Signalen elektrischer Bauteile, die sicherheitstechnische Zwecke oder Auflagen für Geräte oder Anlagen erfüllen
DE19544027C2 (de) 1995-11-25 1999-01-07 Bernward Dr Zimmermann Bussystem, insbesondere zur elektrischen Installation
DE10050111C1 (de) 2000-10-09 2002-08-08 Dorma Gmbh & Co Kg Verriegelungsvorrichtung
DE102013201747A1 (de) 2013-02-04 2014-08-07 Siemens Aktiengesellschaft Vernetztes elektronisches System, Redundanzrecheneinrichtung, Fahrzeug und Verfahren

Patent Citations (16)

* Cited by examiner, † Cited by third party
Publication number Priority date Publication date Assignee Title
DE19531323A1 (de) 1994-10-15 1996-04-18 Geze Gmbh & Co Ein Diagnose- und/oder Überwachungsverfahren und eine Sicherheitseinrichtung zur Durchführung des Verfahrens für mindestens eine Tür, vorzugsweise in Flucht- und Rettungswegen
DE4443391A1 (de) 1994-12-06 1996-06-13 Aeg Sensorsysteme Gmbh System mit einer Mehrzahl von Schlössern
EP0799962A1 (de) 1996-04-02 1997-10-08 Heinrich Landert Verfahren zum Betrieb einer Türanlage und eine nach dem Verfahren arbeitende Türanlage
DE10011763A1 (de) 1999-06-27 2000-12-28 Geze Gmbh Verriegelungseinrichtung für mindestens eine Tür, vorzugsweise in Flucht- und Rettungswegen
DE19937034A1 (de) * 1999-08-05 2001-02-08 Geze Gmbh Elektrisch schaltbare Zuhaltevorrichtung
DE19936961A1 (de) 1999-08-05 2001-02-08 Geze Gmbh Elektrisch schaltbare Zuhaltevorrichtung
WO2001018339A1 (de) 1999-09-06 2001-03-15 Geze Gmbh Automatische tür- oder fensteranlage
DE19943608A1 (de) 1999-09-11 2001-03-15 Geze Gmbh Einbruchmeldevorrichtung
WO2003078769A1 (en) 2002-03-19 2003-09-25 Assa Abloy Ab Lock system, lock system device and method of configuring a lock system
DE10232272A1 (de) 2002-07-16 2004-01-29 Dorma Gmbh + Co. Kg Vorrichtung und Verfahren für ein Sicherheitssystem
EP1598506A1 (de) 2004-05-17 2005-11-23 Kaba Gilgen AG Verfahren zur Steuerung einer automatischen Flucht-und Rettungswegtüre
DE102005035397A1 (de) 2005-07-28 2007-02-01 S. Siedle & Söhne Telefon- und Telegrafenwerke OHG Hausanlage und Verfahren zum Betreiben einer Hausanlage
EP1850554A2 (de) 2006-04-21 2007-10-31 LONMARK Deutschland e.V. Sichere Kommunikationen in einem Netzwerk
EP2366860A2 (de) 2010-03-15 2011-09-21 GEZE GmbH Schiebetüranlage sowie Verfahren zum Betrieb einer Schiebetüranlage
EP2725172A2 (de) 2012-10-25 2014-04-30 ASSA ABLOY Sicherheitstechnik GmbH Verfahren zum Betreiben einer Rettungswegvorrichtung sowie Rettungsweganordnung
DE102014113647A1 (de) 2014-09-22 2016-03-24 Assa Abloy Sicherheitstechnik Gmbh Fluchtwegsicherungseinrichtung

Non-Patent Citations (10)

* Cited by examiner, † Cited by third party
Title
ANONYMOUS: "ASSA ABLOY - Schlossprogramm flexibel in nahezu allen Türsituationen einsetzbar", PRESSE MITTEILUNGEN, EHG MBH, 30 December 2014 (2014-12-30), pages 1 - 2, XP093370029, Retrieved from the Internet <URL:https://www.ehg-mbh.de/Aktuelles/$/ASSA-ABLOY-Schlossprogramm-flexibel-in-nahezu-allen-Türsituationen-einsetzbar/254>
ANONYMOUS: "Assa Abloy auf der Bau 2015", GIT SICHERHEIT - PRODUKT, GIT-SICHERHEIT.DE, 15 December 2014 (2014-12-15), pages 1 - 6, XP093370030, Retrieved from the Internet <URL:https://git-sicherheit.de/de/produkte/assa-abloy-auf-der-bau-2015>
ANONYMOUS: "Controller Area Network", WIKIPEDIA, 30 May 2016 (2016-05-30), pages 1 - 12, XP093370014, Retrieved from the Internet <URL:https://de.wikipedia.org/w/index.php?title=Controller%20Area%20Network&oldid=154821975>
ANONYMOUS: "Ethernet Basics", GRUNDLAGEN VON ETHERNET, ALBEDO TELECOM, 1 January 2014 (2014-01-01), pages 1 - 28, XP093370024, Retrieved from the Internet <URL:https://www.albedotelecom.com/src/lib/TC-GbE-Basics.pdf>
D25 - Messe Handout (OV1a-e)
D26 - Versicherung an Eides Statt
KOSCH SEBASTIAN: "CAN", PG AUTOLAB SEMINARWOCHENENDE 21.-23. OKTOBER 2007, AUTOLAB, 21 October 2007 (2007-10-21) - 2007-10-23, pages 1 - 13, XP093370021
SIMMONS: "AN1120: Ethernet Theory of Operation", MICROCHIP APPLICATION NOTES, MICROCHIP TECHNOLOGY INC., 1 January 2008 (2008-01-01), pages 1 - 26, XP093370025, Retrieved from the Internet <URL:https://ww1.microchip.com/downloads/aemDocuments/documents/OTH/ApplicationNotes/ApplicationNotes/01120a.pdf>
WALTER MARKUS: "Ausgewählte Kapitel eingebetteter Systeme (AKES) OSEK COM und CAN", HAUPTSEMINAR SS 2006, 28 June 2006 (2006-06-28), pages 1 - 17, XP093370018, Retrieved from the Internet <URL:https://www4.cs.fau.de/Lehre/SS06/HS_AKES/handout/OSEK_COM_CAN.pdf>
WEDEMEYER THOMAS: "Grundlegende Informationen zum CAN-Bus", DER CAN-BUS, 14 April 2006 (2006-04-14), pages 1 - 8, XP093370016, Retrieved from the Internet <URL:https://thomas-wedemeyer.de/files/CAN.PDF>

Also Published As

Publication number Publication date
EP3267450B1 (de) 2022-11-30
EP4138104A1 (de) 2023-02-22
ES3033884T3 (en) 2025-08-08
DE102017114796A1 (de) 2018-01-04
ES2938753T3 (es) 2023-04-14
EP3267450A1 (de) 2018-01-10

Similar Documents

Publication Publication Date Title
EP3267451B1 (de) Sicherheitssystem
EP4138104B1 (de) Sicherheitssystem
EP2518747B1 (de) Nottaste, Nottasterterminal, Verwendung eines Anzeigedisplays in einer Nottaste und Verfahren zum Betrieb einer Nottaste
DE4138078A1 (de) Tuersicherheitssystem
EP4016572B1 (de) Auslöseelement
EP3267452B1 (de) Sicherheitssystem
EP3267455B1 (de) Sicherheitssystem
EP3267454B1 (de) Sicherheitssystem
DE102017114782A1 (de) Nottaster
EP1400936B2 (de) Sicherungs- und Überwachungsvorrichtung für Türen, Fenster oder dergleichen
EP3971931B1 (de) Sicherheitssystem
DE102017114781A1 (de) Auslöseelement
EP3267453B1 (de) Sicherheitssystem
EP3267457B1 (de) Sicherheitssystem
DE102017114783A1 (de) Sicherheitssystem
DE102017100471A1 (de) Sicherheitssystem
DE10118120C1 (de) Beleuchtungssystem für Handhaben
DE19963022A1 (de) Sicherheitsvorrichtung für mindestens eine Tür, vorzugsweise in Flucht- und Rettungswegen
EP2998491B1 (de) Fluchtwegsicherungseinrichtung
EP2998488B1 (de) Fluchtwegsicherungseinrichtung
DE19940522A1 (de) Außenüberwachungssystem

Legal Events

Date Code Title Description
PUAI Public reference made under article 153(3) epc to a published international application that has entered the european phase

Free format text: ORIGINAL CODE: 0009012

STAA Information on the status of an ep patent application or granted ep patent

Free format text: STATUS: THE APPLICATION HAS BEEN PUBLISHED

AC Divisional application: reference to earlier application

Ref document number: 3267450

Country of ref document: EP

Kind code of ref document: P

AK Designated contracting states

Kind code of ref document: A1

Designated state(s): AL AT BE BG CH CY CZ DE DK EE ES FI FR GB GR HR HU IE IS IT LI LT LU LV MC MK MT NL NO PL PT RO RS SE SI SK SM TR

STAA Information on the status of an ep patent application or granted ep patent

Free format text: STATUS: REQUEST FOR EXAMINATION WAS MADE

17P Request for examination filed

Effective date: 20230807

RBV Designated contracting states (corrected)

Designated state(s): AL AT BE BG CH CY CZ DE DK EE ES FI FR GB GR HR HU IE IS IT LI LT LU LV MC MK MT NL NO PL PT RO RS SE SI SK SM TR

GRAP Despatch of communication of intention to grant a patent

Free format text: ORIGINAL CODE: EPIDOSNIGR1

STAA Information on the status of an ep patent application or granted ep patent

Free format text: STATUS: GRANT OF PATENT IS INTENDED

INTG Intention to grant announced

Effective date: 20250117

GRAS Grant fee paid

Free format text: ORIGINAL CODE: EPIDOSNIGR3

GRAA (expected) grant

Free format text: ORIGINAL CODE: 0009210

STAA Information on the status of an ep patent application or granted ep patent

Free format text: STATUS: THE PATENT HAS BEEN GRANTED

AC Divisional application: reference to earlier application

Ref document number: 3267450

Country of ref document: EP

Kind code of ref document: P

AK Designated contracting states

Kind code of ref document: B1

Designated state(s): AL AT BE BG CH CY CZ DE DK EE ES FI FR GB GR HR HU IE IS IT LI LT LU LV MC MK MT NL NO PL PT RO RS SE SI SK SM TR

REG Reference to a national code

Ref country code: GB

Ref legal event code: FG4D

Free format text: NOT ENGLISH

REG Reference to a national code

Ref country code: CH

Ref legal event code: EP

REG Reference to a national code

Ref country code: IE

Ref legal event code: FG4D

Free format text: LANGUAGE OF EP DOCUMENT: GERMAN

REG Reference to a national code

Ref country code: DE

Ref legal event code: R096

Ref document number: 502017016858

Country of ref document: DE

REG Reference to a national code

Ref country code: ES

Ref legal event code: FG2A

Ref document number: 3033884

Country of ref document: ES

Kind code of ref document: T3

Effective date: 20250808

REG Reference to a national code

Ref country code: NL

Ref legal event code: MP

Effective date: 20250514

PG25 Lapsed in a contracting state [announced via postgrant information from national office to epo]

Ref country code: PT

Free format text: LAPSE BECAUSE OF FAILURE TO SUBMIT A TRANSLATION OF THE DESCRIPTION OR TO PAY THE FEE WITHIN THE PRESCRIBED TIME-LIMIT

Effective date: 20250915

Ref country code: FI

Free format text: LAPSE BECAUSE OF FAILURE TO SUBMIT A TRANSLATION OF THE DESCRIPTION OR TO PAY THE FEE WITHIN THE PRESCRIBED TIME-LIMIT

Effective date: 20250514

PGFP Annual fee paid to national office [announced via postgrant information from national office to epo]

Ref country code: ES

Payment date: 20250827

Year of fee payment: 9

PGFP Annual fee paid to national office [announced via postgrant information from national office to epo]

Ref country code: DE

Payment date: 20250722

Year of fee payment: 9

REG Reference to a national code

Ref country code: LT

Ref legal event code: MG9D

PG25 Lapsed in a contracting state [announced via postgrant information from national office to epo]

Ref country code: NO

Free format text: LAPSE BECAUSE OF FAILURE TO SUBMIT A TRANSLATION OF THE DESCRIPTION OR TO PAY THE FEE WITHIN THE PRESCRIBED TIME-LIMIT

Effective date: 20250814

Ref country code: GR

Free format text: LAPSE BECAUSE OF FAILURE TO SUBMIT A TRANSLATION OF THE DESCRIPTION OR TO PAY THE FEE WITHIN THE PRESCRIBED TIME-LIMIT

Effective date: 20250815

PG25 Lapsed in a contracting state [announced via postgrant information from national office to epo]

Ref country code: NL

Free format text: LAPSE BECAUSE OF FAILURE TO SUBMIT A TRANSLATION OF THE DESCRIPTION OR TO PAY THE FEE WITHIN THE PRESCRIBED TIME-LIMIT

Effective date: 20250514

Ref country code: PL

Free format text: LAPSE BECAUSE OF FAILURE TO SUBMIT A TRANSLATION OF THE DESCRIPTION OR TO PAY THE FEE WITHIN THE PRESCRIBED TIME-LIMIT

Effective date: 20250514

PG25 Lapsed in a contracting state [announced via postgrant information from national office to epo]

Ref country code: BG

Free format text: LAPSE BECAUSE OF FAILURE TO SUBMIT A TRANSLATION OF THE DESCRIPTION OR TO PAY THE FEE WITHIN THE PRESCRIBED TIME-LIMIT

Effective date: 20250514

PGFP Annual fee paid to national office [announced via postgrant information from national office to epo]

Ref country code: GB

Payment date: 20250724

Year of fee payment: 9

PG25 Lapsed in a contracting state [announced via postgrant information from national office to epo]

Ref country code: HR

Free format text: LAPSE BECAUSE OF FAILURE TO SUBMIT A TRANSLATION OF THE DESCRIPTION OR TO PAY THE FEE WITHIN THE PRESCRIBED TIME-LIMIT

Effective date: 20250514

PGFP Annual fee paid to national office [announced via postgrant information from national office to epo]

Ref country code: CH

Payment date: 20250801

Year of fee payment: 9

PG25 Lapsed in a contracting state [announced via postgrant information from national office to epo]

Ref country code: RS

Free format text: LAPSE BECAUSE OF FAILURE TO SUBMIT A TRANSLATION OF THE DESCRIPTION OR TO PAY THE FEE WITHIN THE PRESCRIBED TIME-LIMIT

Effective date: 20250814

PG25 Lapsed in a contracting state [announced via postgrant information from national office to epo]

Ref country code: IS

Free format text: LAPSE BECAUSE OF FAILURE TO SUBMIT A TRANSLATION OF THE DESCRIPTION OR TO PAY THE FEE WITHIN THE PRESCRIBED TIME-LIMIT

Effective date: 20250914

PG25 Lapsed in a contracting state [announced via postgrant information from national office to epo]

Ref country code: LV

Free format text: LAPSE BECAUSE OF FAILURE TO SUBMIT A TRANSLATION OF THE DESCRIPTION OR TO PAY THE FEE WITHIN THE PRESCRIBED TIME-LIMIT

Effective date: 20250514

PG25 Lapsed in a contracting state [announced via postgrant information from national office to epo]

Ref country code: DK

Free format text: LAPSE BECAUSE OF FAILURE TO SUBMIT A TRANSLATION OF THE DESCRIPTION OR TO PAY THE FEE WITHIN THE PRESCRIBED TIME-LIMIT

Effective date: 20250514

Ref country code: SM

Free format text: LAPSE BECAUSE OF FAILURE TO SUBMIT A TRANSLATION OF THE DESCRIPTION OR TO PAY THE FEE WITHIN THE PRESCRIBED TIME-LIMIT

Effective date: 20250514

PG25 Lapsed in a contracting state [announced via postgrant information from national office to epo]

Ref country code: CZ

Free format text: LAPSE BECAUSE OF FAILURE TO SUBMIT A TRANSLATION OF THE DESCRIPTION OR TO PAY THE FEE WITHIN THE PRESCRIBED TIME-LIMIT

Effective date: 20250514

PG25 Lapsed in a contracting state [announced via postgrant information from national office to epo]

Ref country code: EE

Free format text: LAPSE BECAUSE OF FAILURE TO SUBMIT A TRANSLATION OF THE DESCRIPTION OR TO PAY THE FEE WITHIN THE PRESCRIBED TIME-LIMIT

Effective date: 20250514

PG25 Lapsed in a contracting state [announced via postgrant information from national office to epo]

Ref country code: SK

Free format text: LAPSE BECAUSE OF FAILURE TO SUBMIT A TRANSLATION OF THE DESCRIPTION OR TO PAY THE FEE WITHIN THE PRESCRIBED TIME-LIMIT

Effective date: 20250514

PG25 Lapsed in a contracting state [announced via postgrant information from national office to epo]

Ref country code: IT

Free format text: LAPSE BECAUSE OF FAILURE TO SUBMIT A TRANSLATION OF THE DESCRIPTION OR TO PAY THE FEE WITHIN THE PRESCRIBED TIME-LIMIT

Effective date: 20250514

PG25 Lapsed in a contracting state [announced via postgrant information from national office to epo]

Ref country code: RO

Free format text: LAPSE BECAUSE OF FAILURE TO SUBMIT A TRANSLATION OF THE DESCRIPTION OR TO PAY THE FEE WITHIN THE PRESCRIBED TIME-LIMIT

Effective date: 20250514

REG Reference to a national code

Ref country code: DE

Ref legal event code: R026

Ref document number: 502017016858

Country of ref document: DE

PLBI Opposition filed

Free format text: ORIGINAL CODE: 0009260

REG Reference to a national code

Ref country code: CH

Ref legal event code: L11

Free format text: ST27 STATUS EVENT CODE: U-0-0-L10-L11 (AS PROVIDED BY THE NATIONAL OFFICE)

Effective date: 20260218

PLAB Opposition data, opponent's data or that of the opponent's representative modified

Free format text: ORIGINAL CODE: 0009299OPPO

PLBI Opposition filed

Free format text: ORIGINAL CODE: 0009260

REG Reference to a national code

Ref country code: CH

Ref legal event code: L10

Free format text: ST27 STATUS EVENT CODE: U-0-0-L10-L00 (AS PROVIDED BY THE NATIONAL OFFICE)

Effective date: 20260225

PLAX Notice of opposition and request to file observation + time limit sent

Free format text: ORIGINAL CODE: EPIDOSNOBS2

PG25 Lapsed in a contracting state [announced via postgrant information from national office to epo]

Ref country code: LU

Free format text: LAPSE BECAUSE OF NON-PAYMENT OF DUE FEES

Effective date: 20250703

26 Opposition filed

Opponent name: GEZE GMBH

Effective date: 20260212