EP3889328B1 - Draw texturing machine - Google Patents

Draw texturing machine Download PDF

Info

Publication number
EP3889328B1
EP3889328B1 EP21170124.8A EP21170124A EP3889328B1 EP 3889328 B1 EP3889328 B1 EP 3889328B1 EP 21170124 A EP21170124 A EP 21170124A EP 3889328 B1 EP3889328 B1 EP 3889328B1
Authority
EP
European Patent Office
Prior art keywords
yarn
false
twisting
axial
circular plate
Prior art date
Legal status (The legal status is an assumption and is not a legal conclusion. Google has not performed a legal analysis and makes no representation as to the accuracy of the status listed.)
Active
Application number
EP21170124.8A
Other languages
German (de)
English (en)
French (fr)
Other versions
EP3889328A1 (en
Inventor
Takayuki Horimoto
Shigeki Kitagawa
Current Assignee (The listed assignees may be inaccurate. Google has not performed a legal analysis and makes no representation or warranty as to the accuracy of the list.)
TMT Machinery Inc
Original Assignee
TMT Machinery Inc
Priority date (The priority date is an assumption and is not a legal conclusion. Google has not performed a legal analysis and makes no representation as to the accuracy of the date listed.)
Filing date
Publication date
Application filed by TMT Machinery Inc filed Critical TMT Machinery Inc
Priority to SI202030551T priority Critical patent/SI3889328T1/sl
Publication of EP3889328A1 publication Critical patent/EP3889328A1/en
Application granted granted Critical
Publication of EP3889328B1 publication Critical patent/EP3889328B1/en
Active legal-status Critical Current
Anticipated expiration legal-status Critical

Links

Images

Classifications

    • DTEXTILES; PAPER
    • D01NATURAL OR MAN-MADE THREADS OR FIBRES; SPINNING
    • D01HSPINNING OR TWISTING
    • D01H1/00Spinning or twisting machines in which the product is wound-up continuously
    • D01H1/11Spinning by false-twisting
    • DTEXTILES; PAPER
    • D02YARNS; MECHANICAL FINISHING OF YARNS OR ROPES; WARPING OR BEAMING
    • D02GCRIMPING OR CURLING FIBRES, FILAMENTS, THREADS, OR YARNS; YARNS OR THREADS
    • D02G1/00Producing crimped or curled fibres, filaments, yarns, or threads, giving them latent characteristics
    • D02G1/02Producing crimped or curled fibres, filaments, yarns, or threads, giving them latent characteristics by twisting, fixing the twist and backtwisting, i.e. by imparting false twist
    • D02G1/04Devices for imparting false twist
    • DTEXTILES; PAPER
    • D02YARNS; MECHANICAL FINISHING OF YARNS OR ROPES; WARPING OR BEAMING
    • D02GCRIMPING OR CURLING FIBRES, FILAMENTS, THREADS, OR YARNS; YARNS OR THREADS
    • D02G1/00Producing crimped or curled fibres, filaments, yarns, or threads, giving them latent characteristics
    • D02G1/02Producing crimped or curled fibres, filaments, yarns, or threads, giving them latent characteristics by twisting, fixing the twist and backtwisting, i.e. by imparting false twist
    • D02G1/0206Producing crimped or curled fibres, filaments, yarns, or threads, giving them latent characteristics by twisting, fixing the twist and backtwisting, i.e. by imparting false twist by false-twisting
    • DTEXTILES; PAPER
    • D02YARNS; MECHANICAL FINISHING OF YARNS OR ROPES; WARPING OR BEAMING
    • D02GCRIMPING OR CURLING FIBRES, FILAMENTS, THREADS, OR YARNS; YARNS OR THREADS
    • D02G1/00Producing crimped or curled fibres, filaments, yarns, or threads, giving them latent characteristics
    • D02G1/02Producing crimped or curled fibres, filaments, yarns, or threads, giving them latent characteristics by twisting, fixing the twist and backtwisting, i.e. by imparting false twist
    • D02G1/0206Producing crimped or curled fibres, filaments, yarns, or threads, giving them latent characteristics by twisting, fixing the twist and backtwisting, i.e. by imparting false twist by false-twisting
    • D02G1/0266Producing crimped or curled fibres, filaments, yarns, or threads, giving them latent characteristics by twisting, fixing the twist and backtwisting, i.e. by imparting false twist by false-twisting false-twisting machines
    • DTEXTILES; PAPER
    • D02YARNS; MECHANICAL FINISHING OF YARNS OR ROPES; WARPING OR BEAMING
    • D02GCRIMPING OR CURLING FIBRES, FILAMENTS, THREADS, OR YARNS; YARNS OR THREADS
    • D02G1/00Producing crimped or curled fibres, filaments, yarns, or threads, giving them latent characteristics
    • D02G1/02Producing crimped or curled fibres, filaments, yarns, or threads, giving them latent characteristics by twisting, fixing the twist and backtwisting, i.e. by imparting false twist
    • D02G1/04Devices for imparting false twist
    • D02G1/08Rollers or other friction causing elements
    • D02G1/082Rollers or other friction causing elements with the periphery of at least one disc

Definitions

  • the present invention relates to a draw texturing machine.
  • a draw texturing machine recited in Patent Literature 1 ( Japanese Laid-Open Patent Publication No. 2016-141912 ) performs false twisting of a yarn made of synthetic fibers.
  • the draw texturing machine includes false-twisting devices which are aligned in a predetermined base longitudinal direction and twist running yarns.
  • a false-twisting device (triaxial false-twisting device) which includes a triaxial friction system recited in Patent Literature 2 ( Japanese Laid-Open Patent Publication No. S62-199826 ) is often used.
  • the triaxial false-twisting device includes three rotational shafts which extend in a predetermined axial direction substantially orthogonal to a base longitudinal direction, and friction discs (circular plate members) which are provided at the respective rotational shafts. Axial centers of the three rotational shafts form apexes of a virtual triangle when viewed in an axial direction. As the circular plate members are rotated in predetermined direction, a yarn which runs inside of the triangle while making a contact with the circular plate members is twisted.
  • FR 2 377 463 A1 relates to a false-twisting device in which the distance between each sleeve can be adjusted in order to process all types of yarn and to thread the yarn.
  • FR 2 311 116 A1 relates to a false-twisting device with a simplified launching operation which does not require the disengagement of the discs.
  • GB 9 33 438 relates to a false-twisting device with an increased yarn speed, and JP S53-2656 to a method for simultaneously processing two yarns with a single-unit temporary twisting device.
  • a five-axial false-twisting device (as shown in Patent Literature 3; Japanese Laid-Open Patent Publication No. S53-2656 ) which includes five rotational shafts and twists two yarns at the same time may be provided instead of the triaxial false-twisting device.
  • a first false-twisting unit which twists a first yarn and a second false-twisting unit which twists a second yarn are provided. These false-twisting units share one of the five rotational shafts as a common rotational shaft.
  • the five-axial false-twisting device In the five-axial false-twisting device, two virtual triangles which have the common rotational axis as a common apex are formed when viewed in the axial direction, and two yarns which run inside of these triangles, respectively, are twisted.
  • the five-axial false-twisting device reduces the number of the rotational shafts as compared with a structure in which the two triaxial false-twisting devices are provided, so that increase in size is suppressed and more yarns are processed.
  • An object of the present invention is to facilitate yarn threading in a draw texturing machine in which five-axial false-twisting devices are aligned in a base longitudinal direction.
  • a draw texturing machine includes: five-axial false-twisting devices aligned in a base longitudinal direction, each of which being able to apply twisting to two yarns at the same time by circular plate members, the circular plate members being provided at five rotational shafts, the five rotational shafts extending in an axial direction orthogonal to the base longitudinal direction, and a working space being formed along the base longitudinal direction for yarn threading performed by the five-axial false-twisting devices, and each of the five-axial false-twisting devices includes: a first false-twisting unit which includes, among the five rotational shafts, two first independent rotational shafts and a common rotational shaft which virtually form apexes of a first triangle when viewed in the axial direction, the first false-twisting unit applying the twisting to a first yarn running inside of the first triangle; and a second-false twisting unit which includes, among the five-rotational shafts, two second independent rotational shafts and the common rotational shaft which
  • the first independent rotational shafts of the first false-twisting unit oppose the second independent rotational shafts of the second false-twisting unit over the common rotational shaft in the base longitudinal direction of the five-axial false-twisting device.
  • the first false-twisting unit and the second false-twisting unit are aligned in the base longitudinal direction.
  • the one of the two first independent rotational shafts is movable between the first operating position and the first yarn threading position which is on the near side of the first operating position. Because of this, a space between the two first independent rotational shafts can be widened in the yarn threading to the first false-twisting unit.
  • the yarn threading from the working space is facilitated.
  • the one of the two second independent rotational shafts is movable between the second operating position and the second yarn threading position, a space between the two second independent rotational shafts can be widened in the yarn threading to the second false-twisting unit.
  • the yarn threading is facilitated.
  • the first movable shaft and the second movable shaft are swingable with the common rotational shaft as a swing shaft center.
  • the first and second movable shafts move and a distance between these movable shafts and the common rotational shaft changes.
  • members such as belts or gears
  • the belts may loosen or have damaged because of excessive tension.
  • accuracy of meshing may be decreased in meshing the gears together again.
  • the movable shafts are movable without changing the distance between the movable shafts and the common rotational shaft. Therefore, it is possible to avoid occurrence of the problems described above.
  • the first false-twisting unit further includes, a first yarn guide placed upstream of a circular plate member which is the most upstream circular plate member in a first yarn running direction in which the first yarn runs, among the circular plate members
  • the second false-twisting unit further includes, a second yarn guide placed upstream of a circular plate member which is the most upstream circular plate member in a second yarn running direction in which the second yarn runs, among the circular plate members
  • at least one of the first yarn guide and the second yarn guide is a movable yarn guide which is able to be adjusted in position relative to the other.
  • the circular plate members are placed to form a spiral.
  • a yarn path of the first yarn guided by the first yarn guide and a yarn path of the second yarn guided by the second yarn guide may change.
  • twisting of the first yarn and twisting of the second yarn may be different from each other because of difference in, e.g., bending angles between the yarns.
  • yarn quality of the first yarn and yarn quality of the second yarn may be different from each other.
  • the positions of the movable yarn guides are adjusted so that difference can be suppressed to be small between the yarn path of the first yarn guided by the first yarn guide and the yarn path of the second yarn guided by the second yarn guide. Therefore, the difference in quality can be suppressed between the first yarn and the second yarn.
  • the first yarn guide and the second yarn guide are aligned in the base longitudinal direction, and the movable yarn guide is movable in a direction crossing the base longitudinal direction when viewed in the axial direction.
  • movable areas may be narrow in order to avoid interference between the one of the first yarn guide and the second yarn guide and the other of the first yarn guide and the second yarn guide.
  • the movable area of the movable yarn guide can be widened while the two yarn guides are suppressed from interfering with each other, so that the yarn paths are effectively adjusted.
  • each of the five-axial false-twisting devices is structured as power of a drive source is transmitted to, among the five rotational shafts, an intermediate shaft which is one of three fixed rotational shafts except the first movable shaft and the second movable shaft, and includes a common belt for transmitting the power of the drive source to the others of the three fixed rotational shafts from the intermediate shaft.
  • the rotational shafts In order to rotationally drive the rotational shafts by one driving source, preferably, belts making low noise and less vibration are used to transmit the power of the driving source.
  • the number of the belts are simply increased to depend on the number of the rotational shafts, the rotational shafts are elongated by increase in part in which the belts are wound around. As a result, size of the device may be disadvantageously increased in the axial direction.
  • the number of the belts can be suppressed to be small because the three fixed rotational shafts are driven together by the common belt. Therefore, increase in length of the rotational shafts is suppressed, and increase in size of the device is suppressed.
  • the intermediate shaft is the common rotational shaft.
  • a common drive shaft is placed at the center of the five rotational shafts in the base longitudinal direction.
  • the power of the driving source is transmitted to the center common rotational shaft. Because of this, the five-axial false-twisting device can be configured to transmit the power further to the other rotational shafts placed around the common rotational shaft. Therefore, the structure for transmitting of the power can be simplified.
  • each of the five-axial false-twisting devices further includes a common driving source for driving the five rotational shafts together, and among the five rotational shafts, at a rotational shaft which is not used for processing the yarns, a weight is provided instead of at least one of the circular plate members.
  • two yarns may be twisted at the same time by both of the first false-twisting unit and the second false-twisting unit, or only one yarn may be twisted by one of the first false-twisting unit and the second false-twisting unit.
  • unnecessary circular plate members are detached from a rotational shaft which is not used for processing yarns.
  • the rotational shafts are prevented from unintentionally rotating at high speed, thanks to these weights functioning as loads. Therefore, by using members which are more inexpensive than the circular plate members as the weights, the difference in yarn quality is suppressed between the five-axial false-twisting devices while increase in cost is suppressed.
  • At least one of the circular plate members provided at the common rotational shaft has higher abrasion resistance at a component which forms a contact part making a contact with the yarns than at least one of the circular plate members provided at a rotational shaft among the five rotational shafts except the common rotational shaft.
  • the circular plate members provided at the other rotational shafts except the common rotational shaft only the first yarn or the second yarn makes a contact.
  • both of the first yarn and the second yarn make a contact.
  • the circular plate members provided at the common rotational shaft may be worn away earlier than the circular plate members provided at the other rotational shafts.
  • the labor of the replacement may be increased.
  • the circular plate members provided at the common rotational shaft have higher abrasion resistance than the other circular plate members, it is possible to suppress the circular plate members provided at the common rotational shaft from being worn away earlier than the other circular plate members. Therefore, it is possible to avoid the necessity of replacement of some circular plate members earlier than the other circular plate members.
  • the yarn path of the first yarn and the yarn path of the second yarn may change.
  • twisting of the first yarn and twisting of the second yarn may be different from each other because of difference in, e.g., bending angles between the yarns.
  • yarn quality of the first yarn and yarn quality of the second yarn may be different from each other.
  • the device may be increased in size in the axial direction.
  • the circular plate members can be small in size in the axial direction in a state in which the yarn path of the first yarn and the yarn path of the second yarn are substantially the same. Therefore, the increase in size of the device can be suppressed in the axial direction.
  • form of the yarn path of the first yarn and form of the yarn path of the second yarn can be moved closer to substantially the same when viewed in the base longitudinal direction.
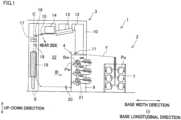
  • a vertical direction to the sheet of FIG. 1 is defined as a base longitudinal direction, and a left-right direction to the sheet is defined as a base width direction.
  • a direction orthogonal to the base longitudinal direction and the base width direction is defined as the up-down direction (vertical direction) in which the gravity acts.
  • FIG. 1 is a profile of a draw texturing machine 1 of the present embodiment.
  • FIG. 2 is a schematic diagram of the draw texturing machine 1, expanded along paths of yarns Y (yarn paths).
  • FIG. 3 is a view of a winding unit, viewed along an arrow III in FIG. 1 .
  • the draw texturing machine 1 can perform false twisting of a yarn Y made of synthetic fibers such as nylon (polyamide fibers).
  • the draw texturing machine 1 includes a yarn supplying unit 2 for supplying the yarns Y, a processing unit 3 which performs the false twisting of the yarns Y supplied from the supplying unit 2, and a winding unit 4 which winds the yarns Y processed by the processing unit 3 onto a winding bobbins Bw.
  • Component of the yarn supplying unit 2, the processing unit 3, and the winding unit 4 are aligned to form plural lines (as shown in FIG. 2 ) in the base longitudinal direction orthogonal to a yarn running surface (sheet of FIG. 1 ) on which yarn paths from the yarn supplying unit 2 to the winding unit 4 through the processing unit 3 are provided.
  • the yarn supplying unit 2 includes a creel stand 7 retaining yarn supply packages Ps, and supplies the yarns Y to the processing unit 3.
  • the following members are placed in this order from the upstream in a yarn running direction: first feed rollers 11; twist-stopping guides 12; first heaters 13; coolers 14; five-axial false-twisting devices 15; second feed rollers 16; combining units 17; third feed rollers 18; a second heater 19; and fourth feed rollers 20.
  • the winding unit 4 winds the yarns Y for which the false winding has been performed at the processing unit 3 onto the winding bobbins Bw by winding devices 21, and forms wound packages Pw.
  • the draw texturing machine 1 includes a main base 8 and a winding base 9 which are placed to be spaced apart from each other in the base width direction.
  • the main base 8 and the winding base 9 are provided to extend in a substantially same length in the base longitudinal direction, and placed to oppose each other.
  • An upper part of the main base 8 is connected to an upper part of the winding base 9 by a supporting frame 10.
  • Each device forming the processing unit 3 is mainly attached to the main base 8 or the supporting frame 10.
  • the main base 8, the winding base 9, and the supporting frame 10 form a working space 22 in which an operator performs an operation such as the yarn threading to each device.
  • the yarn paths are formed so that the yarns Y mainly run around the working space 22.
  • the draw texturing machine 1 includes units which are termed spans each of which includes a pair of the main base 8 and the winding base 9 placed to oppose each other.
  • each device is placed so that the yarns Y running while being aligned in the base longitudinal direction can be false-twisted at the same time.
  • twelve winding devices 21 are provided for one winding base 9 (as shown in FIG. 3 ).
  • one winding device 21 can wind a yarn Y or two yarns Y at the same time as described below.
  • twenty four yarns Y can be simultaneously wound at maximum in one span.
  • the spans are placed in a left-right symmetrical manner to the sheet, with a center line C of the base width direction of the main base 8 as a symmetry axis (main base 8 is shared between the left span and the right span), and the spans are aligned in the base longitudinal direction.
  • the structure of the processing unit 3 will be described with reference to FIG. 1 and FIG. 2 .
  • Each first feed roller 11 sends the yarns Y supplied from the yarn supplying unit 2 to the first heater 13.
  • the first feed rollers 11 are placed above the winding base 9 (as shown in FIG. 1 ).
  • the first feed rollers 11 are aligned in the base longitudinal direction.
  • each first feed roller 11 can send the two yarns Y to the first heater 13.
  • the disclosure is not limited to this.
  • Each twist-stopping guide 12 prevents twisting which has been applied to the yarn Y at the five-axial false-twisting device 15 from being propagated to the upstream of each twist-stopping guide 12 in the yarn running direction.
  • the twist-stopping guides 12 are placed downstream of the first feed rollers 11 in the yarn running direction, and placed upstream of the first heater 13 in the yarn running direction.
  • the twist-stopping guides 12 are, for example, provided for the yarns Y supplied from the yarn supplying unit 2, respectively, and aligned in the base longitudinal direction.
  • Each first heater 13 heats the yarns Y sent from the first feed rollers 11, and are placed at the supporting frame 10 (as shown in FIG. 1 ).
  • the first heaters 13 are provided for the yarns Y supplied from the yarn supplying unit 2, and aligned in the base longitudinal direction.
  • each first heater 13 can heat four yarns Y.
  • the disclosure is not limited to this.
  • Each cooler 14 cools the yarns Y heated at each first heater 13.
  • the coolers 14 are placed downstream of each first heater 13 in the yarn running direction, and placed upstream of the five-axial false-twisting devices 15 in the yarn running direction.
  • the coolers 14 can cool the yarns Y by airflow.
  • the coolers 14 are provided for the yarns Y supplied by the yarn supplying unit 2, and aligned in the base longitudinal direction.
  • each cooler 14 can cool four yarns Y.
  • the disclosure is not limited to this.
  • the five-axial false-twisting devices 15 are a kind of a false-twisting device having a disc-friction system, and each five-axial false-twisting device 15 simultaneously twists two yarns Y, i.e., a yarn Y1 (first yarn of the present invention) and a yarn Y2 (second yarn of the present invention) in the same direction.
  • the five-axial false-twisting devices 15 are placed directly downstream of the coolers 14 in the yarn running direction.
  • the five-axial false-twisting devices 15 are aligned in the base longitudinal direction.
  • the five-axial false-twisting device 15 which is placed at an end portion in the base longitudinal direction, only one yarn Y is threaded (see the five-axial false-twisting device 15 at the left end portion of the sheet of FIG. 2 ).
  • thirteen five-axial false-twisting devices 15 are provided in one span (not shown in the figure). The specific details of the five-axial false-twisting devices 15 will be given later.
  • Each second feed roller 16 sends the yarns Y processed at the five-axial false-twisting devices 15 to the combining unit 17.
  • the second feed rollers 16 are placed above the upper part of the main frame 8 (as shown in FIG. 1 ).
  • the second feed rollers 16 are aligned in the base longitudinal direction.
  • each second feed roller 16 can send two yarns Y to the combining unit 17.
  • the disclosure is not limited to this.
  • the second feed rollers 16 convey the yarns Y at a higher conveyance speed than the first feed rollers 11, and the yarns Y are drawn between the first feed rollers 11 and the second feed rollers 16.
  • Each combining unit 17 can combine the yarn Y1 and the yarn Y2.
  • each combining unit 17 can combine the following yarns Y: a yarn Y1 which is processed at one five-axial false-twisting device 15; and a yarn Y2 which is processed at another five-axial false-twisting device 15 placed adjacent to the five-axial false-twisting device 15 in the base longitudinal direction.
  • the combining units 17 are placed below the second feed rollers 16 (as shown in FIG. 1 ).
  • Each combining unit 17 includes two interlace nozzles 31 and 32 (as shown in FIG. 2 ).
  • Each combining unit 17 blows air onto the yarn Y1 and the yarn Y2 (as shown at the left part of the sheet of FIG. 2 ) which are, for example, passing the inside of the interlace nozzle 31, and each combining unit 17 combines the yarn Y1 and the yarn Y2 by air-interlace which the yarn Y1 is interlaced with the yarn Y2 by airflow.
  • each combining unit 17 can guide the two yarns Y to downstream in the yarn running direction, without combining the yarn Y1 and the yarn Y2.
  • the yarn Y1 passes the inside of the interlace nozzle 31, and the yarn Y2 passes the inside of the interlace nozzle 32 (as shown on the right part of the sheet of FIG. 2 ).
  • Each third feed roller 18 sends the yarns Y running downstream of each combining unit 17 in the yarn running direction to the second heater 19.
  • the third feed rollers 18 are placed below the combining units 17 (as shown in FIG. 1 ).
  • the third feed rollers 18 are aligned in the base longitudinal direction.
  • each third feed roller 18 can send two yarns Y to the second heater 19.
  • the disclosure is not limited to this.
  • the second feed rollers 18 convey the yarns Y at a slower conveyance speed than the second feed rollers 16, and the yarns Y are relaxed between the second feed rollers 16 and the third feed rollers 18.
  • the second heater 19 heats the yarns Y supplied from the third feed rollers 18.
  • the second heater 19 is placed below the third feed rollers 18 (as shown in FIG. 1 ).
  • the second heater 19 extends along the vertical direction, and one second heater 19 is provided in one span.
  • Each fourth feed roller 20 sends the yarns Y heated by the second heater 19 to the winding device 21, and are placed at the lower part of the working space 22 (as shown in FIG. 1 ).
  • the fourth feed rollers 20 are aligned in the base longitudinal direction.
  • each fourth feed roller 20 can send two yarns Y to the winding device 21.
  • the fourth feed rollers 20 convey the yarns Y at a slower conveyance speed than the third feed rollers 18, and the yarns Y are relaxed between the third feed rollers 18 and the fourth feed rollers 20.
  • the two yarns Y (yarn Y1 and yarn Y2) false-twisted by each five-axial false-twisting device 15 are combined by the combining unit 17 while being relaxed between the second feed rollers 16 and the third feed rollers 18, the two yarns Y are guided to the downstream side in the yarn running direction.
  • the two false-twisted yarns Y are guided to the downstream side in the yarn running direction without being combined.
  • the yarn Y is thermally set at the second heater 19 while being relaxed between the third feed roller 18 and the fourth feed roller 20.
  • the yarn Y sent from each fourth feed roller 20 is wound by each winding device 21, and forms each package Pw.
  • the structure of the winding unit 4 will be described with reference to FIG. 2 and FIG. 3 .
  • the winding unit 4 includes the winding devices 21 which wind the yarns Y onto the winding bobbins Bw.
  • each winding device 21 can wind the yarn Y or the yarns Y onto the winding bobbin Bw or two winding bobbins Bw.
  • Each winding device 21 includes fulcrum guides 41 which are fulcrums when the yarns Y are traversed, a traverse unit 42 which traverses the yarns Y, a single cradle 43 which supports the winding bobbins Bw to be rotatable, and a controller 44 (as shown in FIG. 3 ).
  • each fulcrum guide 41 is a guide which is a fulcrum when the yarn Y is traversed.
  • Three fulcrum guides 41 are provided at each winding device 21 to be aligned along, for example, the base longitudinal direction (as shown in FIG. 2 ).
  • the yarn Y formed by yarn combination at the combining unit 17 is guided, the yarn Y is threaded to the central one among the three fulcrum guides 41 (as shown at the left part of the sheet of FIG. 2 ).
  • the two yarns Y which are sent without being combined are guided, the two yarns Y are threaded to two fulcrum guides 41 at both ends among the three fulcrum guides 41, respectively (as shown at the right part of the sheet of FIG. 2 ).
  • the traverse unit 42 can traverse the yarns Y by traverse guides 45 which are attached to an endless belt driven in a reciprocating manner by a motor.
  • the number of the traverse guides 45 which are attached to the endless belt can be changed depending on the number of the yarns Y which are traversed.
  • one traverse guide 45 is provided for the traverse unit 42 which traverses the yarn Y formed by yarn combination at one combining unit 17 (as shown at the left part of the sheet of FIG. 2 ).
  • two traverse guides 45 are provided for the traverse unit 42 which traverses the yarns Y which are sent without being combined (as shown at the right part of the sheet of FIG. 2 ).
  • a traveling range of the traverse guides 45 can be changed depending on the number of the yarns Y to be traversed.
  • Information related to settings such as the number of the yarns Y which are traversed or the traveling range of the traverse guides 45 is stored in, for example, the controller 44.
  • the cradle 43 can support one or more (one or two) winding bobbin Bw (wound package Pw) to be rotatable. In other words, the cradle 43 can be switched between a state of supporting one winding bobbin Bw and a state of supporting two winding bobbins Bw.
  • the cradle 43 is provided at each winding device 21.
  • a contact roller 46 which makes a contact with surfaces of the wound packages Pw is placed directly upstream of the wound packages Pw in the yarn running direction.
  • the winding bobbins Bw which are supported by the cradle 43 are rotationally driven, for example, by an unillustrated motor.
  • the contact roller 46 in contact with the surfaces of the wound packages Pw applies a contact pressure onto the wound packages Pw while being rotationally driven by friction.
  • the contact roller 46 may be rotationally driven by an unillustrated motor.
  • the wound packages Pw in contact with the contact roller 46 are rotationally driven by the friction.
  • the controller 44 controls an operation of the traverse unit 42 and an operation of the motor which rotationally drives the winding bobbins Bw. In addition to that, the controller 44 can change the setting related to the number of the yarns Y which are wound onto one winding device 21. In this regard, the controller 44 can switch an operational mode between a first mode in which one yarn Y is wound onto one winding bobbin Bw (as shown at the left part of the sheet of FIG. 2 ) and a second mode in which two yarns Y are wound onto two winding bobbins Bw (as shown at the right part of the sheet of FIG. 2 ).
  • the yarn Y which is sent from the fourth feed roller 20 described above is wound onto the winding bobbin Bw by each winding device 21, and forms each wound package Pw.
  • the operational mode of the corresponding winding device 21 is set in the first mode.
  • the operational mode of the corresponding winding device 21 is set in the second mode.
  • FIG. 4 is a perspective view of the five-axial false-twisting device 15.
  • FIG. 5 shows the five-axial false-twisting device 15 viewed in a direction orthogonal to both of a base longitudinal direction and an axial direction of a rotational shaft 53 described below (hereinafter, this direction will be simply referred to as an axial direction).
  • FIGs. 6(a) and 6(b) show the five-axial false-twisting device 15 viewed in the axial direction, which applies Z-twisting to yarns Y.
  • FIG. 7(a) and 7(b) show the five-axial false-twisting device 15 viewed in the axial direction, which applies S-twisting to yarns Y.
  • FIG. 6(b) and FIG. 7(b) circular plate members 57 described below are indicated by two-dot chain lines so that supporting tables 54 to 56 described below are shown.
  • One side and the other side in the base longitudinal direction are defined as shown in FIG. 4 to FIG. 7(b) .
  • the side which is close to the working space 22 is defined as the near side (as shown in FIG. 1 , FIG. 4 , FIGs. 6(a) and 6(b) , and FIGs.
  • FIG. 7(a) and 7(b) the side which is distant from the working space 22 is defined as the far side (as shown in FIG. 4 , FIGs. 6(a) and 6(b) , and FIGs. 7(a) and 7(b) ).
  • a yarn guide 61 described below is not shown.
  • Each five-axial false-twisting device 15 can twist (perform the Z-twisting or S-twisting on) two yarns Y (yarn Y1 and yarn Y2) in the same direction at the same time.
  • a first false-twisting unit 51 which applies twisting to the yarn Y1 and a second false-twisting unit 52 which applies the twisting to the yarn Y2 are provided at the five-axial false-twisting device 15.
  • the five-axial false-twisting devices 15 are aligned in the base longitudinal direction (as shown in FIG. 2 ).
  • the five-axial false-twisting device 15 includes five rotational shafts 53, the supporting tables 54, 55, and 56, the circular plate members 57, a driving mechanism 58, and the yarn guides 61, 62, and 63, as components which form the first false-twisting unit 51 and the second false-twisting unit 52.
  • the five rotational shafts 53 (common rotational shaft 71, first independent rotational shafts 72 and 73, second independent rotational shafts 74 and 75) are axial members which extend in the axial direction substantially orthogonal to the base longitudinal direction. In this regard, the axial direction may not necessarily be substantially orthogonal to the base longitudinal direction.
  • the first false-twisting unit 51 includes the common rotational shaft 71 which is placed at the center in the base longitudinal direction and two first independent rotational shafts 72 and 73 which are placed on the one side in the base longitudinal direction of the common rotational shaft 71.
  • the second false-twisting unit 52 includes the common rotational shaft 71 and two second independent rotational shafts 74 and 75 which are placed on the other side in the base longitudinal direction of the common rotational shaft 71.
  • the common rotational shaft 71 is shared between the first false-twisting unit 51 and the second false-twisting unit 52. As shown in FIG. 6(a) and FIG.
  • the rotational shafts 53 are placed so that the axial centers of these shafts form apexes of two virtual equilateral triangles (first triangle 201 and second triangle 202) when viewed in the axial direction.
  • the common rotational shaft 71 and the first independent rotational shafts 72 and 73 form the apexes of the first triangle 201.
  • the common rotational shaft 71 and the second independent rotational shafts 74 and 75 form the apexes of the second triangle 202.
  • the first independent rotational shafts 72 and 73 oppose the second independent rotational shafts 74 and 75 over the common rotational shaft 71 in the base longitudinal direction.
  • the supporting tables 54, 55, and 56 are tables supporting the rotational shafts 53 to be rotatable via unillustrated bearings.
  • the supporting table 54 cantilevers, in a rotatable manner, the common rotational shaft 71, the first independent rotational shaft 72 which is placed on the far side among the first independent rotational shafts 72 and 73, and the second independent rotational shaft 74 which is placed on the far side among the second independent rotational shafts 74 and 75.
  • the supporting table 55 is attached to the supporting table 54 and placed on the near side of the supporting table 54, and cantilevers the first independent rotational shaft 73 on the near side, in a rotatable manner.
  • the supporting table 56 is attached to the supporting table 54 and placed on the near side of the supporting table 54, and cantilevers the second independent rotational shaft 75 of the near side, in a rotatable manner.
  • the upper side of the sheet in FIG. 4 and FIG. 5 is a leading end side in the axial direction
  • the lower side of the sheet is a base end side in the axial direction.
  • the yarns Y run from the leading end side in the axial direction of the rotational shaft 53 to the base end side.
  • the leading end side in the axial direction is the upstream side in the yarn running direction.
  • the base end side in the axial direction is the downstream side in the yarn running direction.
  • a running direction of a yarn Y1 is defined as a first yarn running direction
  • a running direction of a yarn Y2 is defined as a second yarn running direction (as shown in FIG. 5 ).
  • the Base end parts of the supporting tables 54, 55, and 56 in the axial direction are covers 54a, 55a, and 56a covering part of the driving mechanism 58, respectively (as shown in FIG. 4 and FIG. 5 ).
  • the circular plate members 57 are members which are attached to each of the rotational shafts 53 and apply the twisting to yarns Y by making a contact with the yarns Y.
  • the present embodiment assumes that the circular plate members 57 are attached to all rotational shafts 53 of all five-axial false-twisting devices 15, in order to simplify the description. Furthermore, in the present embodiment, three or four circular plate members 57 are attached to each of the rotational shafts 53 (as shown in, e.g., FIG. 4 ). However, the disclosure is not limited to this.
  • circular plate members 57 which are attached to the common rotational shaft 71 and the first independent rotational shafts 72 and 73 are provided at the first false-twisting unit 51, and placed to form a spiral extending in the axial direction.
  • the direction of the spiral formed by the circular plate members 57 is determined by the direction of the twisting performed on the yarns Y.
  • the circular plate members 57 of the first false-twisting unit 51 are placed to form a spiral in a counterclockwise direction when a five-axial false-twisting device 15 which performs the Z-twisting on the yarns Y (five-axial false-twisting device 15a; as shown in FIGs.
  • the circular plate members 57 of the first false-twisting unit 51 are placed to form a spiral in a clockwise direction when a five-axial false-twisting device 15 which performs the S-twisting on the yarns Y (five-axial false-twisting device 15b; as shown in FIGs. 7(a) and 7(b) ) is viewed from the leading end side in the axial direction.
  • Circular plate members 57 which are attached to the common rotational shaft 71 and the second independent rotational shafts 74 and 75 are provided at the second false-twisting unit 52, and placed to form a spiral extending in the axial direction.
  • the direction of the spiral formed by the circular plate members 57 provided at the second false-twisting unit 52 is identical with the direction of the spiral formed by the circular plate members 57 provided at the first false-twisting unit 51.
  • the following members are placed in a first plane 203 orthogonal to the axial direction: a circular plate member 57 which is placed at the most upstream in the first yarn running direction of the first false-twisting unit 51(circular plate member 81); and a circular plate member 57 which is placed at the most upstream in the second yarn running direction of the second false-twisting unit 52 (circular plate member 82).
  • a circular plate member 57 which is placed at the most upstream in the first yarn running direction of the first false-twisting unit 51(circular plate member 81); and a circular plate member 57 which is placed at the most upstream in the second yarn running direction of the second false-twisting unit 52 (circular plate member 82).
  • the position of the circular plate member 81 in the axial direction and the position of the circular plate member 82 in the axial direction are substantially the same.
  • a circular plate member 57 which is placed at the most downstream in the first yarn running direction of the first false-twisting unit 51 (circular plate member 83); and a circular plate member 57 which is placed at the most downstream in the second yarn running direction of the second false-twisting unit 52 (circular plate member 84).
  • the position of the circular plate member 83 in the axial direction and the position of the circular plate member 84 in the axial direction are substantially the same.
  • the circular plate members 57 of the first false-twisting unit 51 and the circular plate members 57 of the second false-twisting unit 52 are placed point-symmetrical about the common rotational shaft 71 as a symmetrical axis, when viewed in the axial direction.
  • the circular plate member 81 of the first false-twisting unit 51 is attached to the first independent rotational shaft 73 on the near side.
  • the circular plate member 82 of the second false-twisting unit 52 is attached to the second independent rotational shaft 74 on the far side.
  • Contact parts where the circular plate members 57 makes a contact with the yarn Y are made of, for example, polyurethane.
  • at least one circular plate member 57 which includes the contact part in contact with the yarn Y is made of polyurethane is attached to each of the rotational shafts 53.
  • circular plate members 57 (circular plate members 81 and 82) with which the running yarn Y makes a contact at first and circular plate members 57 (circular plate members 83 and 84) with which the running yarn Y makes a contact at last are easily worn away.
  • the contact parts of the circular plate members 81, 82, 83, and 84 in contact with the yarn Y are made of, for example, ceramic which has a higher abrasion resistance than polyurethane. Because of this, the circular plate members 81, 82, 83, and 84 are suppressed from being worn away.
  • the disclosure is not limited to this. All contact parts of all circular plate members 57 in contact with the yarn Y may be made of polyurethane.
  • the driving mechanism 58 is a mechanism which rotationally drives five rotational shafts 53 in the same direction.
  • the driving mechanism 58 includes a motor 85 (as shown in FIG. 4 ; a drive source and a common driving source of the present invention), and belts 86, 87, 88, and 89 for transmitting the power of the motor 85 to each of the rotational shafts (as shown in FIG. 5 ).
  • a driving mechanism 58 of the five-axial false-twisting device 15 (five-axial false-twisting device 15a) which performs the Z-twisting on the yarn Y rotationally drives the rotational shafts 53 counterclockwise (indicated by arrows in FIGs.
  • a driving mechanism 58 of the five-axial false-twisting device 15 which performs the S-twisting on the yarn Y rotationally drives the rotational shafts 53 clockwise (indicated by arrows in FIGs. 7(a) and 7(b) ), when viewed from the leading end side in the axial direction.
  • the specific details of the driving mechanism 58 will be described later.
  • Two yarn guides 61, two yarn guides 62, and two yarn guides 63 are provided to correspond to the first false-twisting unit 51 and the second false-twisting unit 52, as shown in FIG. 5 .
  • the yarn guide 61 of the first false-twisting unit 51 (yarn guide 61a; a first yarn guide of the present invention) is placed directly upstream of the circular plate member 81 in the first yarn running direction.
  • the yarn guide 62 (yarn guide 62a) of the first false-twisting unit 51 is placed directly downstream of the circular plate member 83 in the first yarn running direction.
  • the yarn guide 63 (yarn guide 63a) of the first false-twisting unit 51 is placed directly downstream of the yarn guide 62a in the first yarn running direction, and fixed to one end portion of the supporting table 55 in the base longitudinal direction.
  • the yarn guide 61 of the second false-twisting unit 52 (yarn guide 61b; a second yarn guide of the present invention) is placed directly upstream of the circular plate member 82 in the second yarn running direction.
  • the yarn guide 62 (yarn guide 62b) of the second false-twisting unit 52 is placed directly downstream of the circular plate member 84 in the second yarn running direction.
  • the yarn guide 63 (yarn guide 63b) of the first false-twisting unit 52 is placed directly downstream of the yarn guide 62b in the second yarn running direction, and fixed to the other end portion of the supporting table 56 in the base longitudinal direction.
  • the yarns Y are placed to form paths (yarn paths) described below.
  • a yarn Y1 is placed to form a spiral while making a contact with the circular plate members 57 of the first false-twisting unit 51 via the yarn guide 61a.
  • the yarn Y1 in contact with the circular plate members 57 is placed to be inside the first triangle 201 (as shown in FIG. 6(a) ) and runs through the inside of the first triangle 201, when viewed in the axial direction. Subsequently, the yarn Y1 runs toward the downstream side in the first yarn running direction via the yarn guides 62a and 63a.
  • a yarn Y2 is placed to form a spiral while making a contact with the circular plate members 57 of the second false-twisting unit 52 via the yarn guide 61b.
  • the yarn Y2 in contact with the circular plate members 57 is placed to be inside the second triangle 202 (as shown in FIG. 6(a) ) and runs through the inside of the second triangle 202, when viewed in the axial direction. Subsequently, the yarn Y2 runs toward the downstream side in the second yarn running direction via the yarn guides 62b and 63b.
  • the driving mechanism 58 rotationally drives the five rotational shafts 53 in the same direction in order to apply the twisting to the yarns Y in contact with the rotating circular plate members 57.
  • Z-twisting is applied to both of the yarn Y1 and the yarn Y2.
  • S-twisting is applied to both of the yarn Y1 and the yarn Y2.
  • the yarn Y1 needs to be introduced from a gap between predetermined two rotational shafts 53 into the inside of the first triangle 201, and then threaded to the yarn guides 61, 62, and 63.
  • the yarn Y2 needs to be introduced from a gap between predetermined two rotational shafts 53 into the inside of the second triangle 202, and needs to be threaded to the yarn guides 61, 62, and 63.
  • the yarn threading is performed by an operator at the working space 22 (as shown in FIG. 1 ). As shown in a reference drawing in FIG.
  • the first false-twisting unit 51 and the second false-twisting unit 52 need to be aligned in the base longitudinal direction so that both of the first false-twisting unit 51 and the second false-twisting unit 52 face the working space 22 (as shown in the reference drawing in FIG. 8(b) ).
  • the circular plate members 57 of the first false-twisting unit 51 and the circular plate members 57 of the second false-twisting unit 52 are placed point-symmetrically with each other, when viewed in the axial direction.
  • the first way is, as shown at the left part of the sheet of FIG. 8(b) , to perform the yarn threading on the first false-twisting unit 51 from the near side, and to perform the yarn threading on the second false-twisting unit 52 from the far side (as indicated by arrows 205 and 206 in FIG. 8(b) ).
  • the second way is, as shown at the central part of the sheet of FIG. 8(b) , to perform the yarn threading on the first false-twisting unit 51 from the far side, and to perform the yarn threading on the second false-twisting unit 52 from the near side (as indicated by arrows 207 and 208 in FIG. 8(b) ).
  • the third way is, as shown at the right part of the sheet of FIG. 8(b) , to perform the yarn threading on the first false-twisting unit 51 from one side in the base longitudinal direction, and to perform the yarn threading on the second false-twisting unit 52 from the other side in the base longitudinal direction (as indicated by arrows 209 and 210 in FIG. 8(b) ).
  • the circular plate members 57 of the first false-twisting unit 51 and the circular plate members 57 of the second false-twisting unit 52 may not be placed point-symmetrically with each other.
  • such an arrangement is unrealistic because of the following reasons.
  • the positions of the circular plate members 57 of the first false-twisting unit 51 and the positions of the circular plate members 57 of the second false-twisting unit 52 are different from each other in the axial direction.
  • the yarn quality of the yarn Y1 and the yarn quality of the yarn Y2 may be different from each other because the yarn path of the yarn Y1 and the yarn path of the yarn Y2 are very different.
  • size of the device may be disadvantageously increased because the rotational shaft 53 is elongated.
  • the circular plate members 57 of the first false-twisting unit 51 and the circular plate members 57 of the second false-twisting unit 52 need to be placed point-symmetrically with each other.
  • the five-axial false-twisting device 15 needs to employ the third way.
  • the five-axial false-twisting device 15 of the present embodiment is configured such that the yarn Y1 is threaded from a gap between two first independent rotational shafts 72 and 73 and the yarn Y2 is threaded from a gap between two second independent rotational shafts 74 and 75.
  • the five-axial false-twisting device 15 has a structure described below in order to facilitate the yarn threading.
  • FIG. 9(a) shows a five-axial false-twisting device 15 when the first independent rotational shaft 73 is placed at a first operating position (described below) and the second independent rotational shaft 75 is placed at a second operating position (described below).
  • FIG. 9(b) shows a five-axial false-twisting device 15 when the first independent rotational shaft 73 is placed at a first yarn threading position (described below) and the second independent rotational shaft 75 is placed at a second yarn threading position (described below).
  • the supporting table 55 which supports the first independent rotational shaft 73 placed on the near side among the first independent rotational shafts 72 and 73 (i.e., a first movable shaft placed on one side of the present invention) to be rotatable is attached to the supporting table 54 to be able to swing with an axial center of the common rotational shaft 71 as a swing shaft center.
  • the supporting tables 54 and 55 are hinged to each other to be able to open and close. Because of this, the first independent rotational shaft 73 can move between the operating position (first operating position; as shown in FIG.
  • the first independent rotational shaft 73 can change a distance to the first independent rotational shaft 72 while maintaining a distance to the common rotational shaft 71, when viewed in the axial direction.
  • the supporting table 56 which supports the second independent rotational shaft 75 placed on the near side among the second independent rotational shafts 74 and 75 (one side, i.e., a second movable shaft of the present invention) to be rotatable is attached to the supporting table 54 to be able to swing with the axial center of the common rotational shaft 71 as the swing shaft center. Because of this, the second independent rotational shaft 75 can move between the operating position (second operating position; as shown in FIG.
  • the yarn guide 63a is fixed to the supporting table 55, and the yarn guide 63b is fixed to the supporting table 56. Therefore, when the first independent rotational shaft 73 moves to the first yarn threading position from the first operating position, the yarn guide 63a also moves to the near side and to the inner side (common rotational shaft 71 side) in the base longitudinal direction of the five-axial false-twisting device 15 (as shown in FIG. 9(b) ).
  • the yarn guide 63b also moves to the near side and to the inner side (common rotational shaft 71 side) in the base longitudinal direction of the five-axial false-twisting device 15 (as shown in FIG. 9(b) ). Yarn threading to the yarn guide 63 is facilitated because the yarn guides 63a and 63b (yarn guide 63) move to the near side (toward an operator).
  • the yarn guide 63 moves to the inner side (common rotational shaft 71 side) in the base longitudinal direction of the five-axial false-twisting device 15 so that space between the yarn guide 63 of the five-axial false-twisting device 15 and a yarn guide 63 of an adjacent five-axial false-twisting device 15 is widened. Therefore, the yarn threading to the yarn guide 63 is further facilitated.
  • a rotational angle of the supporting table 55 is, for example, 27° to 30°. Because the rotational angle described above is 27° or more, when the first independent rotational shaft 73 is placed at the first yarn threading position, the circular plate members 57 attached to the first independent rotational shaft 72 and the circular plate members 57 attached to the first independent rotational shaft 73 do not substantially overlap when viewed in the axial direction (as show in FIG. 9(b) ).
  • the common rotational shaft 71, the first independent rotational shaft 72, and the second independent rotational shaft 74 are attached to the supporting table 54 to be rotatable, and are fixed in position.
  • the common rotational shaft 71, the first independent rotational shaft 72, and the second independent rotational shaft 74 are equivalent to three fixed rotational shafts of the present invention.
  • the first independent rotational shaft 73 and the second independent rotational shaft 75 are not equivalent to the three fixed rotational shafts of the present invention.
  • FIG. 10(a) shows a guide supporter 90 (described below) viewed from the leading end side in the axial direction.
  • FIG. 10(b) shows yarn paths viewed in the base longitudinal direction before positions of the yarn guides 61a and 61b are adjusted.
  • FIG. 10(c) shows yarn paths viewed in the base longitudinal direction after the positions of the yarn guides 61a and 61b are adjusted.
  • FIG. 11 shows a driving mechanism viewed from the base end side in the axial direction.
  • the five-axial false-twisting device 15 includes the guide supporter 90 supporting the yarn guides 61a and 61b placed upstream in the yarn running direction.
  • the guide supporter 90 includes, for example, a first supporting member 91 and a second supporting member 92.
  • the first supporting member 91 is a member extending in the axial direction, and attached to a one side end of the supporting table 54 on the far side in the base longitudinal direction.
  • the second supporting member 92 is a member attached to the leading end portion of the first supporting member 91 in the axial direction.
  • the second supporting member 92 includes an extending portion 93 which extends to the inner side in the base longitudinal direction of the five-axial false-twisting device 15 and a pair of guide mounting portions 94a and 94b which are provided integrally with the extending portion 93 and extend in a direction substantially orthogonal to both of the axial direction and the base longitudinal direction.
  • the guide mounting portion 94a is placed on one side (first false-twisting unit 51 side) in the base longitudinal direction of the five-axial false-twisting device 15.
  • the guide mounting portion 94b is placed on the other side (second false-twisting unit 52 side) in the base longitudinal direction of the five-axial false-twisting device 15.
  • an attachment hole 95a is formed at the guide mounting portion 94a in order to mount the yarn guide 61a
  • an attachment hole 95b is formed at the guide mounting portion 94b in order to mount the yarn guide 61b.
  • the yarn guide 61a is attached to the guide mounting portion 94a by a fastener 96a which includes an unillustrated screw passing through the attachment hole 95a.
  • the yarn guide 61b is attached to the guide mounting portion 94b by a fastener 96b.
  • the attachment holes 95a and 95b extend in a direction substantially orthogonal to both of the axial direction and the base longitudinal direction (as shown in FIG. 4 ).
  • the yarn guides 61a and 61b are movable yarn guides which are able to be adjusted in position in a direction substantially orthogonal to the base longitudinal direction, when viewed in the axial direction.
  • the yarn guide 61a can be moved along the attachment hole 95a when the fastener 96a is loosened.
  • the yarn guide 61a can be fixed in position by fastening the fastener 96a.
  • the yarn guide 61b is similarly arranged.
  • the circular plate member 81 of the first false-twisting unit 51 and the circular plate member 82 of the second false-twisting unit 52 are placed point-symmetrically with each other (as shown in FIG. 6(a) ).
  • the positions of the circular plate members 81 and 82 are different from each other when viewed in the base longitudinal direction. Therefore, as shown in FIG. 10(b) , a bending angle of the yarn Y1 running via the yarn guide 61a and a bending angle of the yarn Y2 running via the yarn guide 61b are different from each other if the yarn guides 61a and 61b are placed to overlap with each other when viewed in the base longitudinal direction.
  • yarn quality of the yarn Y1 and yarn quality of the yarn Y2 may be different from each other.
  • relative positional relationship between the yarn guides 61a and 61b can be adjusted because the yarn guides 61a and 61b are the movable yarn guides. Therefore, a gap between the bending angle of the yarn Y1 and the bending angle of the yarn Y2 can be reduced by adjusting the positions of the yarn guides 61a and 61b properly (as shown in FIG. 10(c) ).
  • the driving mechanism 58 includes the motor 85 and belts 86, 87, 88, and 89.
  • the motor 85 is placed on the farther side than the supporting table 54, and is a drive source for driving all of five rotational shafts.
  • the belt 86 is an endless belt for transmitting the power of the motor 85 to the common rotational shaft 71 (intermediate shaft of the present invention).
  • the belt 86 is wound around a pulley 101 attached to a drive shaft 85a of the motor 85 and a pulley 102 attached to the common rotational shaft 71.
  • the belt 87 (common belt of the present invention) is an endless belt for transmitting the power of the motor 85, via the common rotational shaft 71, to the first independent rotational shaft 72 and the second independent rotational shaft 74 which are two of three fixed rotational shafts.
  • the belt 87 is wound around a pulley 103 attached to the common rotational shaft 71, a pulley 104 attached to the first independent rotational shaft 72, and a pulley 105 attached to the second independent rotational shaft 74 (as shown in FIG. 5 and FIG. 11 ).
  • the belt 88 is an endless belt for transmitting the power of the motor 85 to the first independent rotational shaft 73 via the common rotational shaft 71.
  • the belt 88 is wound around a pulley 106 attached to the common rotational shaft 71 and a pulley 107 attached to the first independent rotational shaft 73 (as shown in FIG. 5 and FIG. 11 ).
  • the belt 89 is an endless belt for transmitting the power of the motor 85 to the second independent rotational shaft 75 via the common rotational shaft 71.
  • the belt 89 is wound around a pulley 108 attached to the common rotational shaft 71 and a pulley 109 attached to the second independent rotational shaft 75 (as shown in FIG. 5 and FIG. 11 ).
  • a belt for transmitting the power to the first independent rotational shaft 72 and a belt for transmitting the power to the second independent rotational shaft 74 are provided individually instead of the belt 87 for driving both of the first independent rotational shaft 72 and the second independent rotational shaft 74, the number of belts is increased. As a result, the number of pulleys attached to the common rotational shaft 71 is increased, and the length of the common rotational shaft 71 is disadvantageously increased. In this regard, in the present embodiment, increase in number of belts is suppressed because the three fixed rotational shafts are driven together by the belt 87.
  • the first independent rotational shaft 73 is movable between the first operating position and the first yarn threading position which is on the near side of the first operating position. Because of this, the space between two first independent rotational shafts 72 and 73 can be widened in the yarn threading to the first false-twisting unit 51. Therefore, in a structure in which the five-axial false-twisting devices 15 are aligned in the base longitudinal direction, the yarn threading from the working space 22 is facilitated.
  • the second independent rotational shaft 75 is movable between the second operating position and the second yarn threading position, the space between the second independent rotational shafts 74 and 75 can be widened in the yarn threading to the second false-twisting unit 52. As described above, in the draw texturing machine 1 in which the five-axial false-twisting devices 15 are aligned in the base longitudinal direction, the yarn threading is facilitated.
  • the first independent rotational shaft 73 and the second independent rotational shaft 75 can swing with the common rotational shaft 71 as the swing shaft center. In other words, the distance between the first independent rotational shaft 73 and the common rotational shaft 71 and the distance between the second independent rotational shaft 75 and the common rotational shaft 71 are not changed when the first independent rotational shaft 73 and the second independent rotational shaft 75 are moved. Therefore, it is possible to avoid damage of the belts 88 and 89 because of looseness or excessive tension.
  • the positions of the yarn guides 61a and 61b are adjusted so that a difference between the yarn path of the yarn Y1 guided by the yarn guide 61a and the yarn path of the yarn Y2 guided by the yarn guide 61b is suppressed to be small. Therefore, the difference in quality between the yarn Y1 and the yarn Y2 is suppressed.
  • the yarn guides 61a and 61b are movable in the direction substantially orthogonal to the base longitudinal direction, when viewed in the axial direction. Therefore, movable areas of the yarn guides 61a and 61b can be widened while the yarn guides 61a and 61b are suppressed from interfering with each other, so that the yarn paths are effectively adjusted.
  • the belt 87 can drive the common rotational shaft 71, the first independent rotational shaft 72, and the second independent rotational shaft 74 together, increase in number of belts is suppressed. Therefore, increase in length of the rotational shaft 53 is suppressed, and increase in size of the device is suppressed.
  • the power of the motor 85 is transmitted to the common rotational shaft 71 placed at the center in the base longitudinal direction among five rotational shafts 53. Because of this, the five-axial false-twisting device 15 can be configured to transmit the power further to the other rotational shafts 53 placed around the common rotational shaft 71. Therefore, the structure for transmitting of the power can be simplified.
  • the circular plate member 81 placed at the most upstream in the first yarn running direction of the first false-twisting unit 51 and the circular plate member 82 placed at the most upstream in the second yarn running direction of the second false-twisting unit 52 are placed in the same first plane 203. Furthermore, the circular plate member 83 placed at the most downstream in the first yarn running direction of the first false-twisting unit 51 and the circular plate member 84 placed at the most downstream in the second yarn running direction of the second false-twisting unit 52 are placed in the same second plane 204. Because of this, the circular plate members 57 are small in size in the axial direction. Therefore, the increase in size of the device can be suppressed in the axial direction.

Landscapes

  • Engineering & Computer Science (AREA)
  • Mechanical Engineering (AREA)
  • Textile Engineering (AREA)
  • Yarns And Mechanical Finishing Of Yarns Or Ropes (AREA)
  • Lubricants (AREA)
  • Structure Of Belt Conveyors (AREA)
  • Paper (AREA)
EP21170124.8A 2019-05-27 2020-05-04 Draw texturing machine Active EP3889328B1 (en)

Priority Applications (1)

Application Number Priority Date Filing Date Title
SI202030551T SI3889328T1 (sl) 2019-05-27 2020-05-04 Stroj za raztegljivo teksturiranje

Applications Claiming Priority (2)

Application Number Priority Date Filing Date Title
JP2019098754A JP7319089B2 (ja) 2019-05-27 2019-05-27 仮撚加工機
EP20172699.9A EP3744883B1 (en) 2019-05-27 2020-05-04 Draw texturing machine

Related Parent Applications (2)

Application Number Title Priority Date Filing Date
EP20172699.9A Division EP3744883B1 (en) 2019-05-27 2020-05-04 Draw texturing machine
EP20172699.9A Division-Into EP3744883B1 (en) 2019-05-27 2020-05-04 Draw texturing machine

Publications (2)

Publication Number Publication Date
EP3889328A1 EP3889328A1 (en) 2021-10-06
EP3889328B1 true EP3889328B1 (en) 2024-11-27

Family

ID=70553740

Family Applications (2)

Application Number Title Priority Date Filing Date
EP21170124.8A Active EP3889328B1 (en) 2019-05-27 2020-05-04 Draw texturing machine
EP20172699.9A Active EP3744883B1 (en) 2019-05-27 2020-05-04 Draw texturing machine

Family Applications After (1)

Application Number Title Priority Date Filing Date
EP20172699.9A Active EP3744883B1 (en) 2019-05-27 2020-05-04 Draw texturing machine

Country Status (5)

Country Link
EP (2) EP3889328B1 (enExample)
JP (1) JP7319089B2 (enExample)
CN (1) CN111996623B (enExample)
SI (2) SI3889328T1 (enExample)
TW (1) TWI822994B (enExample)

Families Citing this family (2)

* Cited by examiner, † Cited by third party
Publication number Priority date Publication date Assignee Title
JP2024174569A (ja) * 2023-06-05 2024-12-17 Tmtマシナリー株式会社 仮撚加工機及び糸掛け方法
CN118109930A (zh) * 2024-04-17 2024-05-31 绍兴易纺机械制造有限公司 一种加捻工艺以及采用该加捻工艺的加捻设备

Family Cites Families (18)

* Cited by examiner, † Cited by third party
Publication number Priority date Publication date Assignee Title
GB933438A (en) * 1958-05-19 1963-08-08 Klinger Mfg Co Ltd Improvements in or relating to apparatus for false twisting of yarns
CH388523A (de) * 1960-03-25 1965-02-28 Glanzstoff Ag Falschdrallvorrichtung
FR2311116A1 (fr) * 1975-05-15 1976-12-10 Socitex Broche de texturation fausse-torsion par disques
JPS5921975B2 (ja) * 1976-06-30 1984-05-23 東レ株式会社 嵩高ノントルク糸の製造方法
FR2377463A1 (fr) * 1977-01-13 1978-08-11 Asa Sa Broche perfectionnee de texturation par friction a l'aide de disques
JPS5844772B2 (ja) * 1979-06-07 1983-10-05 東レ株式会社 摩擦仮撚加工のスタ−ト方法
JPS62199826A (ja) * 1986-02-26 1987-09-03 帝人株式会社 摩擦仮撚装置
JPH0740786U (ja) * 1993-12-24 1995-07-21 帝人株式会社 摩擦仮撚装置の糸掛けユニット
FR2745011B1 (fr) * 1996-02-20 1998-03-13 Icbt Roanne Machine pour la realisation d'un fil mixte par assemblage de deux fils textures par fausse torsion
JPH1121731A (ja) * 1997-07-03 1999-01-26 Teijin Seiki Co Ltd 仮撚装置
JPH11107087A (ja) * 1997-10-06 1999-04-20 Teijin Seiki Co Ltd 糸条の仮撚装置
CN1804170B (zh) * 2005-01-14 2011-04-06 香港理工大学 低扭单股环锭纱线的加工方法与设备
JP4486115B2 (ja) * 2007-08-30 2010-06-23 Tmtマシナリー株式会社 糸巻取装置、及び仮撚加工機
JP2011047074A (ja) * 2009-08-27 2011-03-10 Tmt Machinery Inc 仮撚加工機
DE102010034460A1 (de) * 2010-08-16 2012-02-16 Detlef Görgens Friktionsfalschdrallaggregat komplett mit Motor, Netzgerät, Transformator und Steuerung für eine Eingangsspannung bis 220V
JP6530921B2 (ja) * 2015-02-04 2019-06-12 Tmtマシナリー株式会社 仮撚加工機及び巻取装置ユニット
JP6615496B2 (ja) * 2015-06-01 2019-12-04 Tmtマシナリー株式会社 仮撚加工機
JP6914664B2 (ja) * 2017-02-08 2021-08-04 Tmtマシナリー株式会社 仮撚加工機

Also Published As

Publication number Publication date
EP3889328A1 (en) 2021-10-06
EP3744883B1 (en) 2024-04-24
TWI822994B (zh) 2023-11-21
SI3744883T1 (sl) 2024-07-31
TW202043560A (zh) 2020-12-01
JP7319089B2 (ja) 2023-08-01
CN111996623A (zh) 2020-11-27
EP3744883A1 (en) 2020-12-02
CN111996623B (zh) 2024-02-23
SI3889328T1 (sl) 2025-04-30
JP2020193402A (ja) 2020-12-03

Similar Documents

Publication Publication Date Title
JP4486115B2 (ja) 糸巻取装置、及び仮撚加工機
EP3889328B1 (en) Draw texturing machine
TWI703247B (zh) 假撚加工機
EP3540104B1 (en) Draw texturing machine
EP2676912B1 (en) Take-up winder
JP2019030988A (ja) フィラメントワインディング装置
JP6914664B2 (ja) 仮撚加工機
EP4269305A1 (en) Winding device
EP3974568B1 (en) Textile machine
EP3744882B1 (en) Draw texturing machine
EP3312319B1 (en) Belt-type false-twisting device
EP4242154B1 (en) Winding device and winding system
CN106460251A (zh) 纺织机和假捻装置
EP4198181A2 (en) Yarn sending device and false-twist texturing machine
EP4474542A1 (en) Draw texturing machine and yarn threading method
EP4382648A1 (en) Yarn heater and false-twist texturing machine
JP6533144B2 (ja) ベルト式仮撚装置
JP2000027042A (ja) 延伸仮撚機
JP2022189739A (ja) 仮撚加工機

Legal Events

Date Code Title Description
PUAI Public reference made under article 153(3) epc to a published international application that has entered the european phase

Free format text: ORIGINAL CODE: 0009012

STAA Information on the status of an ep patent application or granted ep patent

Free format text: STATUS: THE APPLICATION HAS BEEN PUBLISHED

AC Divisional application: reference to earlier application

Ref document number: 3744883

Country of ref document: EP

Kind code of ref document: P

AK Designated contracting states

Kind code of ref document: A1

Designated state(s): AL AT BE BG CH CY CZ DE DK EE ES FI FR GB GR HR HU IE IS IT LI LT LU LV MC MK MT NL NO PL PT RO RS SE SI SK SM TR

STAA Information on the status of an ep patent application or granted ep patent

Free format text: STATUS: REQUEST FOR EXAMINATION WAS MADE

17P Request for examination filed

Effective date: 20220201

P01 Opt-out of the competence of the unified patent court (upc) registered

Effective date: 20230426

GRAP Despatch of communication of intention to grant a patent

Free format text: ORIGINAL CODE: EPIDOSNIGR1

STAA Information on the status of an ep patent application or granted ep patent

Free format text: STATUS: GRANT OF PATENT IS INTENDED

INTG Intention to grant announced

Effective date: 20240801

GRAS Grant fee paid

Free format text: ORIGINAL CODE: EPIDOSNIGR3

GRAA (expected) grant

Free format text: ORIGINAL CODE: 0009210

STAA Information on the status of an ep patent application or granted ep patent

Free format text: STATUS: THE PATENT HAS BEEN GRANTED

AC Divisional application: reference to earlier application

Ref document number: 3744883

Country of ref document: EP

Kind code of ref document: P

AK Designated contracting states

Kind code of ref document: B1

Designated state(s): AL AT BE BG CH CY CZ DE DK EE ES FI FR GB GR HR HU IE IS IT LI LT LU LV MC MK MT NL NO PL PT RO RS SE SI SK SM TR

REG Reference to a national code

Ref country code: GB

Ref legal event code: FG4D

RIN1 Information on inventor provided before grant (corrected)

Inventor name: KITAGAWA, SHIGEKI

Inventor name: HORIMOTO, TAKAYUKI

REG Reference to a national code

Ref country code: CH

Ref legal event code: EP

REG Reference to a national code

Ref country code: IE

Ref legal event code: FG4D

REG Reference to a national code

Ref country code: DE

Ref legal event code: R096

Ref document number: 602020042327

Country of ref document: DE

REG Reference to a national code

Ref country code: LT

Ref legal event code: MG9D

REG Reference to a national code

Ref country code: NL

Ref legal event code: MP

Effective date: 20241127

PG25 Lapsed in a contracting state [announced via postgrant information from national office to epo]

Ref country code: IS

Free format text: LAPSE BECAUSE OF FAILURE TO SUBMIT A TRANSLATION OF THE DESCRIPTION OR TO PAY THE FEE WITHIN THE PRESCRIBED TIME-LIMIT

Effective date: 20250327

Ref country code: PT

Free format text: LAPSE BECAUSE OF FAILURE TO SUBMIT A TRANSLATION OF THE DESCRIPTION OR TO PAY THE FEE WITHIN THE PRESCRIBED TIME-LIMIT

Effective date: 20250327

Ref country code: HR

Free format text: LAPSE BECAUSE OF FAILURE TO SUBMIT A TRANSLATION OF THE DESCRIPTION OR TO PAY THE FEE WITHIN THE PRESCRIBED TIME-LIMIT

Effective date: 20241127

PG25 Lapsed in a contracting state [announced via postgrant information from national office to epo]

Ref country code: FI

Free format text: LAPSE BECAUSE OF FAILURE TO SUBMIT A TRANSLATION OF THE DESCRIPTION OR TO PAY THE FEE WITHIN THE PRESCRIBED TIME-LIMIT

Effective date: 20241127

Ref country code: NL

Free format text: LAPSE BECAUSE OF FAILURE TO SUBMIT A TRANSLATION OF THE DESCRIPTION OR TO PAY THE FEE WITHIN THE PRESCRIBED TIME-LIMIT

Effective date: 20241127

REG Reference to a national code

Ref country code: AT

Ref legal event code: MK05

Ref document number: 1745780

Country of ref document: AT

Kind code of ref document: T

Effective date: 20241127

PG25 Lapsed in a contracting state [announced via postgrant information from national office to epo]

Ref country code: BG

Free format text: LAPSE BECAUSE OF FAILURE TO SUBMIT A TRANSLATION OF THE DESCRIPTION OR TO PAY THE FEE WITHIN THE PRESCRIBED TIME-LIMIT

Effective date: 20241127

PG25 Lapsed in a contracting state [announced via postgrant information from national office to epo]

Ref country code: ES

Free format text: LAPSE BECAUSE OF FAILURE TO SUBMIT A TRANSLATION OF THE DESCRIPTION OR TO PAY THE FEE WITHIN THE PRESCRIBED TIME-LIMIT

Effective date: 20241127

PG25 Lapsed in a contracting state [announced via postgrant information from national office to epo]

Ref country code: NO

Free format text: LAPSE BECAUSE OF FAILURE TO SUBMIT A TRANSLATION OF THE DESCRIPTION OR TO PAY THE FEE WITHIN THE PRESCRIBED TIME-LIMIT

Effective date: 20250227

PG25 Lapsed in a contracting state [announced via postgrant information from national office to epo]

Ref country code: LV

Free format text: LAPSE BECAUSE OF FAILURE TO SUBMIT A TRANSLATION OF THE DESCRIPTION OR TO PAY THE FEE WITHIN THE PRESCRIBED TIME-LIMIT

Effective date: 20241127

Ref country code: GR

Free format text: LAPSE BECAUSE OF FAILURE TO SUBMIT A TRANSLATION OF THE DESCRIPTION OR TO PAY THE FEE WITHIN THE PRESCRIBED TIME-LIMIT

Effective date: 20250228

Ref country code: AT

Free format text: LAPSE BECAUSE OF FAILURE TO SUBMIT A TRANSLATION OF THE DESCRIPTION OR TO PAY THE FEE WITHIN THE PRESCRIBED TIME-LIMIT

Effective date: 20241127

PGFP Annual fee paid to national office [announced via postgrant information from national office to epo]

Ref country code: SI

Payment date: 20250407

Year of fee payment: 6

PG25 Lapsed in a contracting state [announced via postgrant information from national office to epo]

Ref country code: PL

Free format text: LAPSE BECAUSE OF FAILURE TO SUBMIT A TRANSLATION OF THE DESCRIPTION OR TO PAY THE FEE WITHIN THE PRESCRIBED TIME-LIMIT

Effective date: 20241127

PG25 Lapsed in a contracting state [announced via postgrant information from national office to epo]

Ref country code: RS

Free format text: LAPSE BECAUSE OF FAILURE TO SUBMIT A TRANSLATION OF THE DESCRIPTION OR TO PAY THE FEE WITHIN THE PRESCRIBED TIME-LIMIT

Effective date: 20250227

PG25 Lapsed in a contracting state [announced via postgrant information from national office to epo]

Ref country code: SM

Free format text: LAPSE BECAUSE OF FAILURE TO SUBMIT A TRANSLATION OF THE DESCRIPTION OR TO PAY THE FEE WITHIN THE PRESCRIBED TIME-LIMIT

Effective date: 20241127

PGFP Annual fee paid to national office [announced via postgrant information from national office to epo]

Ref country code: DE

Payment date: 20250520

Year of fee payment: 6

PG25 Lapsed in a contracting state [announced via postgrant information from national office to epo]

Ref country code: DK

Free format text: LAPSE BECAUSE OF FAILURE TO SUBMIT A TRANSLATION OF THE DESCRIPTION OR TO PAY THE FEE WITHIN THE PRESCRIBED TIME-LIMIT

Effective date: 20241127

PGFP Annual fee paid to national office [announced via postgrant information from national office to epo]

Ref country code: IT

Payment date: 20250522

Year of fee payment: 6

PG25 Lapsed in a contracting state [announced via postgrant information from national office to epo]

Ref country code: EE

Free format text: LAPSE BECAUSE OF FAILURE TO SUBMIT A TRANSLATION OF THE DESCRIPTION OR TO PAY THE FEE WITHIN THE PRESCRIBED TIME-LIMIT

Effective date: 20241127

PG25 Lapsed in a contracting state [announced via postgrant information from national office to epo]

Ref country code: RO

Free format text: LAPSE BECAUSE OF FAILURE TO SUBMIT A TRANSLATION OF THE DESCRIPTION OR TO PAY THE FEE WITHIN THE PRESCRIBED TIME-LIMIT

Effective date: 20241127

PG25 Lapsed in a contracting state [announced via postgrant information from national office to epo]

Ref country code: SK

Free format text: LAPSE BECAUSE OF FAILURE TO SUBMIT A TRANSLATION OF THE DESCRIPTION OR TO PAY THE FEE WITHIN THE PRESCRIBED TIME-LIMIT

Effective date: 20241127

PGFP Annual fee paid to national office [announced via postgrant information from national office to epo]

Ref country code: TR

Payment date: 20250407

Year of fee payment: 6

PG25 Lapsed in a contracting state [announced via postgrant information from national office to epo]

Ref country code: CZ

Free format text: LAPSE BECAUSE OF FAILURE TO SUBMIT A TRANSLATION OF THE DESCRIPTION OR TO PAY THE FEE WITHIN THE PRESCRIBED TIME-LIMIT

Effective date: 20241127

REG Reference to a national code

Ref country code: DE

Ref legal event code: R097

Ref document number: 602020042327

Country of ref document: DE

PG25 Lapsed in a contracting state [announced via postgrant information from national office to epo]

Ref country code: SE

Free format text: LAPSE BECAUSE OF FAILURE TO SUBMIT A TRANSLATION OF THE DESCRIPTION OR TO PAY THE FEE WITHIN THE PRESCRIBED TIME-LIMIT

Effective date: 20241127

PLBE No opposition filed within time limit

Free format text: ORIGINAL CODE: 0009261

STAA Information on the status of an ep patent application or granted ep patent

Free format text: STATUS: NO OPPOSITION FILED WITHIN TIME LIMIT

26N No opposition filed

Effective date: 20250828