EP3551947B1 - Regenerator für kryo-kühler mit helium als arbeitsgas, ein verfahren zum herstellen eines solchen regenerators sowie einen kryo-kühler mit einem solchen regenerator - Google Patents

Regenerator für kryo-kühler mit helium als arbeitsgas, ein verfahren zum herstellen eines solchen regenerators sowie einen kryo-kühler mit einem solchen regenerator Download PDF

Info

Publication number
EP3551947B1
EP3551947B1 EP17832047.9A EP17832047A EP3551947B1 EP 3551947 B1 EP3551947 B1 EP 3551947B1 EP 17832047 A EP17832047 A EP 17832047A EP 3551947 B1 EP3551947 B1 EP 3551947B1
Authority
EP
European Patent Office
Prior art keywords
regenerator
cell
cells
working gas
cavities
Prior art date
Legal status (The legal status is an assumption and is not a legal conclusion. Google has not performed a legal analysis and makes no representation as to the accuracy of the status listed.)
Active
Application number
EP17832047.9A
Other languages
English (en)
French (fr)
Other versions
EP3551947A1 (de
Inventor
Jens Dr. Höhne
Current Assignee (The listed assignees may be inaccurate. Google has not performed a legal analysis and makes no representation or warranty as to the accuracy of the list.)
Pressure Wave Systems GmbH
Original Assignee
Pressure Wave Systems GmbH
Priority date (The priority date is an assumption and is not a legal conclusion. Google has not performed a legal analysis and makes no representation as to the accuracy of the date listed.)
Filing date
Publication date
Application filed by Pressure Wave Systems GmbH filed Critical Pressure Wave Systems GmbH
Publication of EP3551947A1 publication Critical patent/EP3551947A1/de
Application granted granted Critical
Publication of EP3551947B1 publication Critical patent/EP3551947B1/de
Active legal-status Critical Current
Anticipated expiration legal-status Critical

Links

Images

Classifications

    • FMECHANICAL ENGINEERING; LIGHTING; HEATING; WEAPONS; BLASTING
    • F25REFRIGERATION OR COOLING; COMBINED HEATING AND REFRIGERATION SYSTEMS; HEAT PUMP SYSTEMS; MANUFACTURE OR STORAGE OF ICE; LIQUEFACTION SOLIDIFICATION OF GASES
    • F25BREFRIGERATION MACHINES, PLANTS OR SYSTEMS; COMBINED HEATING AND REFRIGERATION SYSTEMS; HEAT PUMP SYSTEMS
    • F25B9/00Compression machines, plants or systems, in which the refrigerant is air or other gas of low boiling point
    • F25B9/14Compression machines, plants or systems, in which the refrigerant is air or other gas of low boiling point characterised by the cycle used, e.g. Stirling cycle
    • FMECHANICAL ENGINEERING; LIGHTING; HEATING; WEAPONS; BLASTING
    • F25REFRIGERATION OR COOLING; COMBINED HEATING AND REFRIGERATION SYSTEMS; HEAT PUMP SYSTEMS; MANUFACTURE OR STORAGE OF ICE; LIQUEFACTION SOLIDIFICATION OF GASES
    • F25BREFRIGERATION MACHINES, PLANTS OR SYSTEMS; COMBINED HEATING AND REFRIGERATION SYSTEMS; HEAT PUMP SYSTEMS
    • F25B9/00Compression machines, plants or systems, in which the refrigerant is air or other gas of low boiling point
    • F25B9/14Compression machines, plants or systems, in which the refrigerant is air or other gas of low boiling point characterised by the cycle used, e.g. Stirling cycle
    • F25B9/145Compression machines, plants or systems, in which the refrigerant is air or other gas of low boiling point characterised by the cycle used, e.g. Stirling cycle pulse-tube cycle
    • FMECHANICAL ENGINEERING; LIGHTING; HEATING; WEAPONS; BLASTING
    • F25REFRIGERATION OR COOLING; COMBINED HEATING AND REFRIGERATION SYSTEMS; HEAT PUMP SYSTEMS; MANUFACTURE OR STORAGE OF ICE; LIQUEFACTION SOLIDIFICATION OF GASES
    • F25BREFRIGERATION MACHINES, PLANTS OR SYSTEMS; COMBINED HEATING AND REFRIGERATION SYSTEMS; HEAT PUMP SYSTEMS
    • F25B2309/00Gas cycle refrigeration machines
    • F25B2309/002Gas cycle refrigeration machines with parallel working cold producing expansion devices in one circuit
    • FMECHANICAL ENGINEERING; LIGHTING; HEATING; WEAPONS; BLASTING
    • F25REFRIGERATION OR COOLING; COMBINED HEATING AND REFRIGERATION SYSTEMS; HEAT PUMP SYSTEMS; MANUFACTURE OR STORAGE OF ICE; LIQUEFACTION SOLIDIFICATION OF GASES
    • F25BREFRIGERATION MACHINES, PLANTS OR SYSTEMS; COMBINED HEATING AND REFRIGERATION SYSTEMS; HEAT PUMP SYSTEMS
    • F25B2309/00Gas cycle refrigeration machines
    • F25B2309/003Gas cycle refrigeration machines characterised by construction or composition of the regenerator
    • FMECHANICAL ENGINEERING; LIGHTING; HEATING; WEAPONS; BLASTING
    • F25REFRIGERATION OR COOLING; COMBINED HEATING AND REFRIGERATION SYSTEMS; HEAT PUMP SYSTEMS; MANUFACTURE OR STORAGE OF ICE; LIQUEFACTION SOLIDIFICATION OF GASES
    • F25BREFRIGERATION MACHINES, PLANTS OR SYSTEMS; COMBINED HEATING AND REFRIGERATION SYSTEMS; HEAT PUMP SYSTEMS
    • F25B2309/00Gas cycle refrigeration machines
    • F25B2309/14Compression machines, plants or systems characterised by the cycle used 
    • F25B2309/1408Pulse-tube cycles with pulse tube having U-turn or L-turn type geometrical arrangements
    • FMECHANICAL ENGINEERING; LIGHTING; HEATING; WEAPONS; BLASTING
    • F25REFRIGERATION OR COOLING; COMBINED HEATING AND REFRIGERATION SYSTEMS; HEAT PUMP SYSTEMS; MANUFACTURE OR STORAGE OF ICE; LIQUEFACTION SOLIDIFICATION OF GASES
    • F25BREFRIGERATION MACHINES, PLANTS OR SYSTEMS; COMBINED HEATING AND REFRIGERATION SYSTEMS; HEAT PUMP SYSTEMS
    • F25B2309/00Gas cycle refrigeration machines
    • F25B2309/14Compression machines, plants or systems characterised by the cycle used 
    • F25B2309/1415Pulse-tube cycles characterised by regenerator details

Definitions

  • the invention relates to a regenerator for cryocoolers with helium as the working gas according to claim 1, a method for producing such a regenerator according to claims 13 and 14 and a cryocooler provided with such a regenerator according to claim 15.
  • cryo-coolers e.g. B. Stirling, Gifford-McMahon and pulse tube coolers are operated regeneratively. i.e. the thermal capacity of a material is used to store the cold or to pre-cool warm gas as it enters the expansion chamber.
  • a problem here is that at temperatures in the 2K to 20K range, the heat capacity of almost all materials decreases sharply. It is therefore very difficult to find materials that have a sufficiently high heat capacity in the range between 2K and 20K.
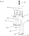
  • 12 shows the typical structure of a two-stage pulse tube cooler with a first cold stage of 20 to approx. 30K and a second cold stage of 22 to approx. 2K.
  • the first cold stage 220 includes a first pulse tube 224 and a first regenerator 226.
  • the second cold stage 222 includes a second pulse tube 228 and a second regenerator 230 in accordance with the present invention. With the first cold stage 220 approx. 30K and with the second cold stage 222 approx. 4K are achieved.
  • the first pulse tube 224, the first regenerator 226 and the second pulse tube 228 terminate in a connecting means 232 which separates the environment from the area to be cooled.
  • Working gas is supplied and discharged in a pulsating manner by a pump (not shown) via working gas lines 234 .
  • the working gas lines 234 open into the first regenerator 226 and via valves 236 there is a connection to the first pulse tube 224 and the second pulse tube 228 as well as to ballast volume 238.
  • the second regenerator 230 in the second cold stage 222 consists of a first regenerator section 240 and a low-temperature - Regenerator section 242.
  • the first regenerator section 240 consists of superimposed metal screens 244 - see figure 13 .
  • the cryogenic regenerator section 242 contains rare earth connections, e.g. B. ErNi, HoCu 2 and the like.
  • the structure of the second regenerator 230 is shown schematically in 11 shown. Rare earth compounds are relatively expensive. Furthermore, these materials are used in the form of beads 46 (100 to several 100 micrometers in diameter).
  • a problem here is the fixation of the balls in the oscillating flow of the working gas, since any kind of movement leads to abrasion and thus dust, which drastically reduces the service life of the cryocooler.
  • ball beds according to 13 a significant dead volume that does not contribute to heat exchange or cooling capacity.
  • Helium is often used as a working gas in cryogenic coolers. In the temperature range from 2K to 20K, helium has a comparatively high heat capacity, which is equal to the heat capacity of rare earth compounds in this temperature range. It has therefore been proposed to use helium as the regenerator material. From the U.S. 2012/0304668 A1 , the, DE 10319510 A1 , the DE 102005007627 A1 , CN 104197591A , DE 19924184 A1 and the US4359872A closed hollow bodies made of glass or metal and filled with helium are known as regenerator structures. This basic idea has not yet resulted in a finished product.
  • regenerator which is inexpensive in comparison to regenerators with rare earth compounds and which uses helium as the heat storage material and nevertheless has a simple structure.
  • the regenerator consists of a hollow cell with heat-conducting cell walls.
  • the outside of the cell walls at least partially delimits a flow channel for the working gas helium.
  • the cavity is filled with helium as a heat storage material and is connected to the outside of the cell via a pressure equalization opening.
  • the working gas, helium flows around the can-shaped cell, as a result of which heat transfer takes place via the cell walls between the working gas helium outside the cavity and the helium inside the cavity.
  • the size of the cell(s) in relation to the size of the flow channel of the working gas is selected in such a way that the desired pressure differences are set between the high-pressure side and the low-pressure side of the regenerator with the smallest possible dead volume.
  • the cell walls of the cell are very thin, so that the desired heat exchange can take place.
  • the ratio of the volume of the cavity or cavities to the opening area or outflow resistance of the pressure equalization opening is chosen so that the pressure in the cavity or cavities in the working frequency range of cooler operation (approx. 1 to 60 Hz) hardly changes, or at least only slightly.
  • This mode of operation can be compared to a capacitor at high frequencies - it is virtually unaware of the change in voltage if the capacity is high enough and the voltage change is small.
  • the pressure in the cell would always fluctuate around the medium pressure of the cooling system, typically around 16 bar.
  • the stable pressure is important because otherwise the volume of the cavity or cavities would be a large contributor to the "dead volume" if its pressure was between e.g.
  • the opening area or the outflow resistance of the pressure compensation opening is selected in such a way that before the regenerator is put into operation and during the start-up phase, helium penetrates into the cavity or cavities due to the prevailing pressure conditions.
  • the high outflow resistance of the pressure equalization opening results in the "condenser effect" explained above during the Pressure fluctuations in the area of the regenerator with the working frequency of a cooler.
  • the temperature of the working gas helium and also of the helium in the regenerator cavities decreases. As a result, the volume of helium is reduced and helium continues to flow into the regenerator cavities via the pressure equalization opening. i.e.
  • the pressure equalization opening has the form of a capillary.
  • the cell is penetrated by flow channels that are delimited by cell walls. This results in an enlarged heat exchange surface and thus improved heat transfer between the helium in the cavities and the working gas outside.
  • the flow channels are preferably designed as slots. The slits end short of the edge of the cell, preventing the cell from falling apart.
  • the flow channels are formed as a plurality of slots that are straight and parallel to each other and terminate short of the edge of the cell so that the cell cannot fall apart.
  • a circumferential channel is formed at the edge of the cell into which the multiple interconnected cavities open.
  • the slit-shaped flow channels for working gas preferably run in a straight line and parallel to one another, on the one hand to minimize the flow resistance and on the other hand to uniformly close the tubular cavities between the shape. Due to the straightness and the parallelism, an equal distance is obtained in a simple manner between two flow channels.
  • a single cell optionally with a plurality of tubular structures, can have the shape of a disc. Alternatively, multiple cells can be assembled into a disk shape. - Claim2.
  • the arrangement in a row according to claim 3 increases the heat storage capacity of the regenerator.
  • Thermal insulation between cells arranged one behind the other in the direction of flow of the working gas - claim 4 - prevents heat from being exchanged between the cavities in the direction of flow of the working gas.
  • Such a heat exchange in the flow direction of the working gas would mean a short circuit of the regenerator; a heat exchange in the flow direction of the working gas does not contribute to the function of the regenerator.
  • the thickness of the thermally insulating layer is preferably between 0.1 mm and 0.5 mm.
  • the alignment elements according to claim 5 to 7 simplify the alignment of the flow channels of cells lying one on top of the other.
  • the alignment elements are z.
  • the shape of a capillary means that the cross-sectional area of the opening is very small compared to the surface area of the hollow body.
  • the pressure equalization opening can also be provided by leaks that occur during the manufacture of the cells - claim 8.
  • the size and thus the permeability of the pressure equalization opening are chosen so that during a working cycle of the regenerator, the pressure change in the cell is a maximum of 20% and preferably a maximum of 10%. This is an optimization process.
  • the larger the capillary the greater the unwanted mass transfer, the greater the pressure fluctuations in the cell cavity and the faster the helium penetrates into the cavities when the regenerator is started up.
  • the smaller the capillary the less compression work has to be done, but the longer it takes for the helium to penetrate the cavities when the regenerator is started up.
  • the surfaces of the hollow bodies are provided with turbulence structures - claim 9
  • the cross-sectional shapes of the tubular cavities according to claim 10 enable the manufacture of the regenerator by means of 3D printing (claim 14).
  • the cuboid or rectangular shape of the cross sections of the cavities is optimal for heat exchange.
  • Cells with tubular cavities with at least one sloping cell wall or with a triangular cross-section can be easily created using 3D printing.
  • structures with vertical or sloping cell walls slopes of 45° or more
  • a diamond-shaped cross-section, a pentagonal cross-section or a house-shaped cross-section is also suitable - claim 10.
  • flow channels are arranged between the tubular cavities - claim 11.
  • the disk-shaped regenerator in which the disk-shaped regenerator consists of one or more disk-shaped cells and each cell comprises two half-cells, means that both half-cells can be produced by means of 3D printing.
  • the proportion of the volume of the cavities—and thus of the helium in the cavities—in the total volume of the regenerator increases compared to regenerators that only have one-piece cells. This increases the Heat storage capacity of the regenerator or the regenerator can be made more compact with the same heat capacity.
  • cuboid cavities or elliptical cavities can be produced from two components as a whole or in two steps - claim 13 or 14.
  • a first component with "open cavities” or with pot-shaped depressions is first produced.
  • these depressions are then covered by second components.
  • the first and second components are permanently joined together, e.g. B. by gluing or welding.
  • regenerators according to the present invention are particularly suitable for Stirling, Gifford-McMahon or pulse tube coolers in particular - claim 15.
  • the hollow bodies are made of metal and/or and can be made very thin compared to the prior art due to the pressure equalization opening, which reduces the heat transfer resistance between the helium inside the cavities and the helium working gas outside the cavities.
  • the cell walls of the cavities preferably have a constant thickness, at least along the flow channels, and are in the range between 0.1 mm and 0.5 mm. Due to the constant wall thickness of the cell walls, a uniform heat transfer is achieved between the working gas helium in the flow channels and the helium in the cavities.
  • the entire regenerator preferably has a thickness of 5 mm to 100 mm in the flow direction of the working gas.
  • the Figures 1 and 2 show a first embodiment of the regenerator 1 according to the invention in its simplest form.
  • the regenerator 1 consists of a cell 2 with cell walls 4 which enclose a cavity 6 .
  • the cell walls 4 have an outside 4a and an inside 4i.
  • a pressure equalization opening in the form of a capillary 8 passes through the cell walls 4 .
  • the regenerator 1 has a circular cross-section and is arranged in a tubular flow channel 10 for the working gas helium.
  • the interior of the cavity 6 is filled with helium as a regenerator medium or a heat-accumulating medium.
  • the regenerator 1 or the cell 2 is dimensioned in such a way that an annular gap 12 remains between the tubular flow channel 10 for the working gas and the outside 4a of the cell wall 4 .
  • the working gas helium can thus flow around the regenerator 1 and exchange heat with the helium in the cavity 6 via the heat-conducting cell walls 4 .
  • Figures 3a and 3b show a second embodiment of the invention with a disc-shaped cell 2.
  • the cell 2 differs from the cell 2 by Figure 1 and 2 in that the cell 2 according to the second embodiment is penetrated by a plurality of slots 20 running in a straight line in one plane as flow channels for the working gas.
  • the slit-shaped flow channels 20 run parallel to one another, but end in front of the edge of the cell 2, so that the cell 2 cannot fall apart.
  • tubular cavities 6 with a rectangular cross section. All the cavities 6 open into a peripheral channel 24 provided at the edge of the disc-shaped cell 2, so that the cavities 6 and the peripheral channel 24 form a single cavity.
  • one or two larger openings 22 initially remain through which the loose 3D printing material can be blown out before the 3D printing. These openings are then closed so that only one or more pressure equalization openings 8 remain in the form of capillaries. It is also possible to arrange several cells 2 one behind the other in the flow direction of the working gas, resulting in a regenerator with a higher output.
  • FIG. 4 1 shows a third embodiment of the invention, in which a plurality of cells 2-1, 2-2, 2-3 are stacked one on top of the other.
  • the three disk-shaped cells 2-i with a circular cross-section have an identical structure.
  • the cells 2-i are similar to the cell 2 of the second embodiment and differ from the cell by Figure 1 and 2 in that the cells 2-i are penetrated by a plurality of slots 20 running in a straight line in one plane as flow channels for the working gas.
  • the slit-shaped flow channels 20 run parallel to one another, but end in front of the edge of the cells 2-i, so that the cell 2 cannot fall apart.
  • tubular cavities 6-i which have a cross-section in the form of an equilateral triangle with a right angle.
  • the apex of the right-angled triangle points upwards, so that the two sides of the equilateral triangle extend upwards at a 45° angle.
  • Cavities 6-i with a triangular cross-section can be easily produced using 3D printing.
  • the cavities 6-i are connected to one another at the edge of the disc-shaped cells 2-i.
  • a pressure equalization opening 8 connects the cavities 6-i with the area outside the cells 2-i.
  • the cells 2-i have a plurality of alignment pins 30 on their upper side and corresponding alignment depressions 32 are arranged on the opposite side. Through these alignment elements 30, 32 is achieved that the slit-shaped flow channels 20 of the cells 6-i lying one above the other are aligned with one another, so that continuous flow channels result through the regenerator.
  • a thermally insulating layer 34 is arranged between the individual cells 6 - i, through which the alignment pin 30 passes, so that the alignment pins can engage in the alignment openings 32 located above.
  • FIG 5 shows schematically a fourth embodiment of the regenerator in the form of a disk-shaped cell 2, which differs from the cells 2-i according to 4 differs in that instead of a tubular cavity with a triangular cross section, two tubular cavities 6a and 6b are provided.
  • the cross section of the tubular cavities 6a and 6b is also in the shape of a right-angled equilateral triangle. The right angle begins on the inside of the partition wall 4, which delimits the slit-shaped flow channels. This results in a partition 4 with a constant wall thickness between the flow channels 20 and the cavities 6-i. This leads to an improved heat transfer between the working gas in the flow channel 20 and the helium in the cavities 6a and 6b.
  • the pressure equalization opening 8 connects the cavities 6a, 6b with the area outside the cell 2.
  • FIG. 6 shows a fifth embodiment of the invention, which differs from the embodiment according to FIG figure 4 differs only in that the tubular cavities 6a, 6b are arranged with triangular cross section with the base of the right triangle towards the flow channels 20. Since the base is the length of the side of the equilateral triangle, this improves heat transfer.
  • FIG. 1 shows a regenerator 101 with a large number of cells 102 which are arranged in the form of a 3-dimensional matrix 103 with two layers of cells 102.
  • FIG. The cells 102 are cubic and basically identical in construction. However, since the regenerator 101 fills a pipe cross section, the cells 102 inevitably have a different shape in the edge area.
  • the individual cells 102 each comprise a cube-shaped cavity 106 with a heat-conducting shell 104 and a pressure equalization opening 108 in the form of a capillary. How out 8 can be seen, the individual cells are 102 arranged offset one behind the other in the direction of flow 112 of the working gas.
  • the cells 102 lying next to one another are connected to one another by means of thermally conductive connecting elements 114 .
  • the cells 102 lying one behind the other in the direction of flow 112 are connected to one another with thermally insulating or poorly conducting connecting elements 116 and form a flow channel 120.
  • FIG 7 only two tiers of cells 102 are shown, while in 8 three layers of cells 102 are shown.
  • the gas volume of the individual cavities 106 is approximately 1 mm 2
  • the wall thickness of the shell 104 is approximately 0.2 mm.
  • the distance between the individual cells 102 is approximately 0.2 mm.
  • the total space requirement of a cell 102 is approximately 8 mm 3 .
  • the regenerator 101 according to the invention is preferably used as a low-temperature regenerator section 242 in the coldest cold stage of a cryocooler.
  • FIG 11 shows an eighth embodiment of the invention in the form of a disc-shaped cell 2, which is composed of a first and a second half-cell 50, 52, so that a cell 2 results analogously to the embodiments according to FIG figure 5 and 6 between the slit-shaped flow channels 20 has cuboid structures in cross-section.
  • Both half-cells 50, 52 each have a plurality of first and second cavities 54 and 56 having a cross section of an isosceles triangle.
  • the two half-cells 50, 52 can be produced using 3D printing.
  • the two half-cells each have a flat side 58 and an uneven side 60 .
  • the two uneven sides 60 have a complementary shape and when the two half-cells 50, 52 are assembled, the complementary uneven sides 60 of the two half-cells lie on top of each other.
  • the regenerators with cells 2, each having two half-cells 50, 52 increases in the regenerators with cells 2, each having two half-cells 50, 52, the proportion of the cavity volume in the total volume of the regenerator. This makes the regenerator more efficient.
  • the pressure equalization opening 8 is in the Figures 2 to 6 and 9 to 11 not marked but available. Since the cavities 6-i; 6′, 6a, 6b are connected to one another, the pressure equalization opening 8 can be provided at any point in the cells 2.
  • Figures 12a, 12b and 12c show possible further cross-sectional shapes of the cavities 6 in the disk-shaped regenerators according to FIG Figures 3 to 6 and 11 that can be easily produced using 3D printing.

Landscapes

  • Engineering & Computer Science (AREA)
  • Physics & Mathematics (AREA)
  • Mechanical Engineering (AREA)
  • Thermal Sciences (AREA)
  • General Engineering & Computer Science (AREA)
  • Compressors, Vaccum Pumps And Other Relevant Systems (AREA)
  • Heat-Exchange Devices With Radiators And Conduit Assemblies (AREA)
  • Separation By Low-Temperature Treatments (AREA)

Description

  • Die Erfindung betrifft einen Regenerator für Kryo-Kühler mit Helium als Arbeitsgas gemäß Anspruch 1, ein Verfahren zur Herstellung eines solchen Regenerators nach Anspruch13 und 14 sowie einen mit einem solchen Regenerator versehenen KryoKühler nach Anspruch 15.
  • Periodisch betriebene Kryo-Kühler, wie z. B. Stirling-, Gifford-McMahon- und Pulsrohr-Kühler werden regeneratorisch betrieben. D. h. man nutzt die Wärmekapazität eines Materials aus, um die Kälte zu speichern bzw. um warmes Gas beim Eintritt in die Expansionskammer vor zu kühlen. Ein Problem hierbei ist, dass bei Temperaturen im Bereich 2K bis 20K die Wärmekapazität fast aller Materialien stark abnimmt. Damit ist es sehr schwer, Materialien zu finden, die im Bereich zwischen 2K und 20K eine ausreichend hohe Wärmekapazität aufweisen. Fig. 12 zeigt den typischen Aufbau eines zweistufigen Pulsröhrenkühlers mit einer ersten Kaltstufe 20 bis ca. 30K und einer zweiten Kaltstufe 22 bis ca. 2K. Die erste Kaltstufe 220 umfasst ein erstes Pulsrohr 224 einen ersten Regenerator 226. Die zweite Kaltstufe 222 umfasst ein zweites Pulsrohr 228 und einen zweiten Regenerator 230 gemäß der vorliegenden Erfindung. Mit der ersten Kaltstufe 220 werden ca. 30K und mit der zweiten Kaltstufe 222 werden ca. 4K erreicht. Das erste Pulsrohr 224, der erste Regenerator 226 und das zweite Pulsrohr 228 enden in einem Verbindungsmittel 232, der die Umgebung von dem zu kühlenden Bereich trennt. Über Arbeitsgasleitungen 234 wird von einer nicht dargestellten Pumpe pulsierend Arbeitsgas zu- und abgeführt. Die Arbeitsgasleitungen 234 münden in den ersten Regenerator 226 und über Ventile 236 besteht eine Verbindung mit dem ersten Pulsrohr 224 und dem zweiten Pulsrohr 228 sowie mit Balastvolumen 238. Der zweite Regenerator 230 in der zweiten Kaltstufe 222 besteht aus einem ersten Regeneratorabschnitt 240 und aus einem Tieftemperatur-Regeneratorabschnitt 242. Der erste Regeneratorabschnitt 240 besteht aus übereinanderliegenden Metallsieben 244 - siehe Fig. 13. Der Tieftemperatur-Regeneratorabschnitt 242 enthält seltene Erdverbindungen, z. B. ErNi, HoCu2 und dergleichen. Der Aufbau des zweiten Regenerators 230 ist schematisch in Fig. 11 dargestellt. Seltene Erdverbindungen sind relativ teuer. Weiterhin werden diese Materialen in Form von Kügelchen 46 (100 bis mehrere 100 Mikrometer Durchmesser) eingesetzt. Ein Problem hierbei ist die Fixierung der Kugeln im oszillierenden Fluss des Arbeitsgases, da jede Art von Bewegung zum Abrieb und damit Staub führt, welche die Lebensdauer der Kryo-Kühler drastisch reduziert. Darüber hinaus bedingen Kugelschüttungen gemäß Fig. 13 ein erhebliches Totvolumen, das nicht zum Wärmetausch und auch nicht zur Kühlleistung beiträgt.
  • Helium wird häufig als Arbeitsgas bei Kryo-Kühler eingesetzt. Helium besitzt in dem Temperaturbereich von 2K bis 20K eine vergleichsweise hohe Wärmekapazität, die der Wärmekapazität von seltenen Erdverbindungen in diesem Temperaturbereich gleich kommt. Daher ist vorgeschlagen worden Helium als Regenerator-Material einzusetzen. Aus der US 2012/0304668 A1 , der, DE 10319510 A1 , der DE 102005007627 A1 , CN 104197591 A , DE 19924184 A1 und der US 4359872 A sind mit Helium gefüllte geschlossene Hohlkörper aus Glas oder Metall als Regeneratorstrukturen bekannt. Diese Grundidee hat bis jetzt zu keinem fertigen Produkt geführt. Darüber hinaus führen mit Helium gefüllte Kügelchen wieder zu Abrieb, was die Einsatzdauer des Kryo-Kühlers verringert. Das Grundproblem dieser bekannten geschlossenen Hohlkörper mit Helium besteht in der aufwendigen Befüllung der Hohlkörper mit Helium unter Überdruck. Aufgrund des Überdrucks muss die Wandstärke der Hohlkörper erhöht werden, was zu einer Verschlechterung der Wärmeübergangswiderstände führt.
  • In dem Artikel "Heat Capacity Characterization of a 4K Regenerator with Non-Rare Earth Material" in Cryocoolers 19, International Cryocooler Conference, Inc., Boulder, CO, 2016 wird eine Struktur mit Adsorbermaterial, das Helium absorbieren kann, als Regenerator für Kryo-Kühler vorgeschlagen. Der Aufbau des Regenerators ist kompliziert und aufwendig und es besteht die Gefahr, dass Teile des Adsorbermaterials durch den Arbeitsgasstrom mitgerissen werden. Durch die mitgerissenen Adsorberpartikel würde die Lebensdauer eines Kryo-Kühlers mit einem solchen Regenerator drastisch reduziert.
  • Es ist daher Aufgabe der vorliegenden Erfindung einen im Vergleich zu Regeneratoren mit seltenen Erdverbindungen kostengünstigen Regenerator anzugeben, der Helium als Wärmespeichermaterial nutzt und dennoch einen einfachen Aufbau aufweist.
  • Die Lösung dieser Aufgabe erfolgt durch die Merkmale des Anspruch 1.
  • Der Regenerator besteht im einfachsten Fall aus einer hohlen Zelle mit Wärme leitenden Zellwänden. Die Außenseite der Zellwände begrenzt wenigstens zum Teil einen Strömungskanal für das Arbeitsgas Helium. Der Hohlraum ist mit Helium als Wärmespeichermaterial gefüllt und ist über eine Druckausgleichsöffnung mit Außenseite der Zelle verbunden. Das Arbeitsgas Helium, umströmt die dosenförmige Zelle, wodurch über die Zellwände ein Wärmeübergang zwischen dem Arbeitsgas Helium außerhalb des Hohlraums und dem Helium innerhalb des Hohlraums stattfindet. Die Größe der Zelle(n) in Relation zu der Größe des Strömungskanals des Arbeitsgases ist so gewählt, dass sich zwischen der Hochdruckseite und der Niederdruckseite des Regenerators die gewünschten Druckdifferenzen bei einem möglichst geringen Totvolumen einstellen. Die Zellwände der Zelle weisen eine sehr geringe Wandstärke auf, sodass der gewünschte Wärmeaustausch erfolgen kann. Das Verhältnis von Volumen des oder der Hohlräume zu Öffnungsfläche bzw. Ausströmwiderstand der Druckausgleichsöffnung ist so gewählt, dass sich der Druck im Hohlraum oder in den Hohlräumen im Arbeitsfrequenzbereich des Kühlerbetriebs (ca. 1 bis 60 Hz) kaum oder zumindest nur wenig ändert. Diese Funktionsweise ist vergleichbar mit einem Kondensator bei hohen Frequenzen - dieser bekommt von der Änderung der Spannung quasi nichts mit, wenn die Kapazität hoch genug ist und die Spannungsänderung gering. Im typischen Anwendungsfall würde der Druck in der Zelle immer um den Mitteldruck des Kühlsystems, typischer Weise ca. 16 bar, schwanken. Der stabile Druck ist deshalb wichtig, da ansonsten das Volumen des oder der Hohlräume einen großen Beitrag zum "Totvolumen" wäre, wenn dessen Druck bei jeder Periode zwischen z. B. 8 und 24 bar schwanken würde, ohne dass es zur Kühlung beiträgt. Die Öffnungsfläche bzw. der Ausströmwiderstand der Druckausgleichsöffnung ist so gewählt, dass vor Inbetriebnahme des Regenerators und während der Anlaufphase aufgrund der herrschenden Druckverhältnisse Helium in den oder die Hohlräume eindringt. Durch den hohen Ausströmwiderstand der Druckausgleichsöffnung ergibt sich der vorstehend erläuterte "Kondensator-Effekt" während der Druckschwankungen im Bereich des Regenerators mit der Arbeitsfrequenz eines Kühlers. In der Anlaufphase sinkt die Temperatur des Arbeitsgases Helium und auch des Heliums in den Regeneratorhohlräumen. Folglich verringert sich das Volumen des Heliums und über die Druckausgleichsöffnung strömt weiter Helium in die Regeneratorhohlräume nach. D. h. während der Anlaufphase muss Helium nachgefüllt werden, bis sich die Arbeitstemperaturen und -drücke eingestellt haben. Ohne Druckausgleichsöffnung müssten die Hohlräume in der Zelle vorab mit Helium befüllt werden, was aufgrund der Drücke im Bereich von 16 bar im Arbeitsbereich des Kryo-Kühlers erheblich dickere Zellwände bedingen würde. Werden die Hohlkörper bei Umgebungstemperatur mit Helium befüllt, müssen aufgrund der geringeren Dichte von Helium bei Umgebungstemperatur noch wesentlich höhere Drücke für die Befüllung gewählt werden. Dies führt zu dickeren Zellwänden mit erheblich höheren Wärmedurchgangswiderstand. Durch die dickeren Zellwände würde einen Wärmedurchgangswiderstand der Zellwände so hoch, dass im Arbeitsfrequenzbereich von Kryo-Kühlern kaum mehr zu einem Wärmeaustausch zwischen dem Arbeitsgas Helium und dem Helium im Inneren des oder der Hohlräume kommen würde. Dies dürfte auch der Grund sein, dass kein Kryo-Kühler auf dem Markt ist, der einen Regenerator mit Helium in geschlossenen Hohlräumen einsetzt. Die Druckausgleichsöffnung hat erfindungsgemäß die Form einer Kapillare.
  • Die Zelle wird von Strömungskanälen durchsetzt, die von Zellwänden begrenzt sind. Hierdurch ergibt sich eine vergrößerte Wärmeaustauschfläche und somit ein verbesserter Wärmübergang zwischen dem Helium in den Hohlräumen und dem Arbeitsgas außen. Die Strömungskanäle sind vorzugsweise als Schlitze ausgebildet. Die Schlitze enden vor dem Rand der Zelle, sodass die Zelle nicht auseinanderfallen kann. Die Strömungskanäle sind als eine Mehrzahl von Schlitzen ausgebildet, die geradlinig und parallel zueinander verlaufen und vor dem Rand der Zelle enden, sodass die Zelle nicht auseinanderfallen kann. Ein umlaufender Kanal ist an dem Rand der Zelle ausgebildet, in den die mehrere miteinander verbundenen Hohlräume münden.
  • Die schlitzförmigen Strömungskanäle für Arbeitsgas verlaufen vorzugsweise geradlinig und parallel zueinander, um zum einen den Strömungswiderstand zu minimieren und zum anderen, um die rohrförmigen Hohlräume zwischen den gleichförmig zu gestalten. Durch die Geradlinigkeit und die Parallelität ergibt sich auf einfache Weise zwischen zwei Strömungskanälen ein gleicher Abstand.
  • Durch die runde Außenform des Regenerators lassen sie sich auf einfache Weise in die üblicherweise runden Querschnitte der Kryokühler einfügen. Dabei kann eine einzige Zelle, gegebenenfalls mit mehreren rohrförmigen Strukturen, die Form einer Scheibe haben. Alternativ können mehrere Zellen zu einer Scheibenform zusammengefügt werden. - Anspruch2.
  • Durch die Hintereinanderanordnung nach Anspruch 3 erhöht sich die Wärmespeicherkapazität des Regenerators.
  • Durch eine thermische Isolierung zwischen in Strömungsrichtung des Arbeitsgases hintereinander angeordneten Zellen - Anspruch 4 - wird verhindert, dass zwischen den Hohlräumen in Strömungsrichtung des Arbeitsgases Wärme ausgetauscht wird. Ein solcher Wärmeaustausch in Strömungsrichtung des Arbeitsgases würde einen Kurzschluss des Regenerators bedeuten; ein Wärmeaustausch in Strömungsrichtung des Arbeitsgases trägt nicht zur Funktion des Regenerators bei. Die Dicke der thermisch isolierenden Schicht beträgt vorzugsweise zwischen 0,1mm und 0,5mm.
  • Durch die Ausrichtelemente nach Anspruch 5 bis 7 wird die fluchtende Ausrichtung der Strömungskanäle aufeinander liegender Zellen vereinfacht. Die Ausrichtelemente sind z. B. Ausrichtzapfen, die eine konische oder pyramidenförmige Spitze aufweisen.
  • Die Form einer Kapillare bedeuted, dass die Querschnittsfläche der Öffnung im Vergleich zur Oberfläche des Hohlkörpers sehr klein ist.
  • Die Druckausgleichsöffnung kann auch durch Undichtigkeiten bereitgestellt sein, die bei der Herstellung der Zellen auftreten - Anspruch 8.
  • Die Größe und damit die Durchlässigkeit der Druckausgleichsöffnung werden so gewählt, dass während eines Arbeitszyklus des Regenerators die Druckänderung in der Zelle maximal 20% und vorzugsweise maximal 10% beträgt. Es handelt sich hier um einen Optimierungsprozess. Je größer die Kapillare, desto größer ist der unerwünschte Stoffaustausch, desto größer sind die Druckschwankungen im Hohlraum der Zelle und umso schneller erfolgt das Eindringen des Heliums in die Hohlräume bei Inbetriebnahme des Regenerators. Je kleiner die Kapillare desto weniger Kompressionsarbeit muss verrichtet werden, aber desto länger dauert das Eindringen des Heliums in die Hohlräume bei Inbetriebnahme des Regenerators..
  • Um den Wärmeaustausch zwischen dem Arbeitsgas Helium und dem in dem Hohlkörper befindlichen, Wärme speichernden Helium zu verbessern, sind die Oberflächen der Hohlkörper mit Verwirbelungsstrukturen versehen - Anspruch 9
  • Die Querschnittsformen der rohrförmigen Hohlräume nach Anspruch 10 ermöglichen die Herstellung des Regenerators mittels 3D-Druck (Anspruch 14). Die Quaderoder Rechteckform der Querschnitte der Hohlräume ist für den Wärmeaustausch optimal. Zellen mit rohrförmigen Hohlräumen mit wenigstens einer schrägen Zellwand oder mit Dreiecksquerschnitt lassen sich leicht mittels 3D-Druck erzeugen. Mittels 3D-Druck können Strukturen mit vertikalen oder schrägen Zellwänden (Schrägen von 45° oder mehr) leicht hergestellt werden. Dies ist am einfachsten gewährleistet, wenn der Dreiecksquerschnitt der Hohlräume einen rechten Winkel aufweist. Auch geeignet ist ein rautenförmiger Querschnitt, ein fünfeckiger Querschnitt oder ein hausförmiger Querschnitt - Anspruch 10.
  • Für den optimalen Wärmetausch zwischen dem Helium in den rohrförmigen Hohlräumen und dem Arbeitsgas Helium außerhalb der Hohlräume sind zwischen den rohrförmigen Hohlräumen Strömungskanäle angeordnet - Anspruch 11.
  • Durch die vorteilhafte Ausgestaltung nach Anspruch 12, bei der der scheibenförmige Regenerator aus einer oder mehreren scheibenförmigen Zellen besteht und jede Zelle jeweils zwei Halbzellen umfasst, wird erreicht, dass beide Halbzellen mittels 3D-Druck herstellbar sind. Gleichzeitig erhöht sich der Anteil des Volumens der Hohlräume - und damit des Heliums in den Hohlräumen - am Gesamtvolumen des Regenerators im Vergleich zu Regeneratoren, die nur einteilige Zellen aufweisen. Dies erhöht die Wärmespeicherfähigkeit des Regenerators oder der Regenerator kann bei gleicher Wärmekapazität kompakter ausgeführt werden.
  • Bei 3D-Druck-Verfahren können quaderförmige Hohlräume oder ellipsoidförmige Hohlräume als Ganzes oder in zwei Schritten aus zwei Komponenten hergestellt werden - Anspruch 13 oder 14. Nach Anspruch 14 wird zunächst eine erste Komponente mit "offenen Hohlräumen" bzw. mit topfförmigen Vertiefungen erzeugt. Diese Vertiefungen werden dann in einem zweiten Schritt durch zweite Komponenten abgedeckt. Die ersten und zweiten Komponenten werden dauerhaft miteinander verbunden, z. B. durch Verklebung oder Verschweißung.
  • Die Regeneratoren gemäß der vorliegenden Erfindung sind besonders für insbesondere für Stirling-, Gifford-McMahon- oder Pulsrohr-Kühler geeignet - Anspruch 15.
  • Die Hohlkörper bestehen aus Metall und/oder und können aufgrund der Druckausgleichsöffnung gegenüber dem Stand der Technik sehr dünn ausgebildet werden, wodurch der Wärmeübergangswiderstand zwischen dem Helium im Inneren der Hohlräume und dem Arbeitsgas Helium außerhalb Hohlräume sinkt. Die Zellwände der Hohlräume weisen zumindest entlang der Strömungskanäle vorzugsweise eine konstante Dicke auf und liegen im Bereich zwischen 0,1mm und 0,5mm. Durch die konstante Wandstärke der Zellwände wird zwischen dem Arbeitsgas Helium in den Strömungskanälen und dem Helium in den Hohlräumen ein gleichmäßiger Wärmeübergang erreicht.
  • Der gesamte Regenerator weist in Strömungsrichtung des Arbeitsgases vorzugsweise eine Dicke von 5mm bis 100mm auf.
  • Die übrigen Ansprüche beziehen sich auf weitere vorteilhafte Ausgestaltungen der Erfindung.
  • Nachfolgend werden bevorzugte Ausführungsformen der Erfindung anhand der Zeichnung beschrieben.
  • Es zeigt:
    • Fig. 1 eine Schnittdarstellung einer ersten Ausführungsform des Regenerators in einem Strömungskanal für Arbeitsgas,
    • Fig. 2 eine Schnittdarstellung der ersten Ausführungsform entlang II - II in Fig. 1,
    • Fig. 3a und 3b eine schematische Darstellung einer zweiten Ausführungsform,
    • Fig. 4 eine schematische Darstellung einer dritten Ausführungsform,
    • Fig. 5 eine schematische Darstellung einer vierten Ausführungsform,
    • Fig. 6 eine schematische Darstellung einer fünften Ausführungsform,
    • Fig. 7 eine sechste Ausführungsform, die nicht durch die beanspruchte Erfindung abgedeckt ist, in Form einer dreidimensionalen Matrixanordnung mit zwei Lagen von Zellen mit einem kreisringförmigen Außendurchmesser,
    • Fig. 8, die nicht durch die beanspruchte Erfindung abgedeckt ist, eine Detaildarstellung der Matrixanordnung mit drei Lagen von Zellen senkrecht zur Strömungsrichtung des Arbeitsgases betrachtet,
    • Fig. 9 und 10 schematische Darstellungen zur Herstellung des Regenerators aus einer Schalenstruktur und einer Abdeckung gemäß einer siebten Ausführungsform,
    • Fig. 11 eine achte Ausführungsform der Erfindung, die aus zwei mittels 3D-Druck hergestellten Strukturen besteht,
    • Fig. 12a, 12b und 12c Beispiele für Querschnitte der Hohlräume mit dem wärmespeichernden Helium, die sich ohne weiteres mittels 3D-Druck herstellen lassen,
    • Fig. 13 den typischen Aufbau eines Kryo-Kühlers in Form einer Pulsrohrkühlers mit zwei Kaltstufen, wobei die zweite Kaltstufe einen Tieftemperatur-Regenerator aufweist, und
    • Fig. 14 den schematischen Aufbau eines Tieftemperatur-Regenerators nach dem Stand der Technik mit seltenen Erden in Form von Kügelchen.
  • Die Figuren 1 und 2 zeigen eine erste Ausgestaltung des erfindungsgemäßen Regenerators 1 in seiner einfachsten Form. Der Regenerator 1 besteht aus einer Zelle 2 mit Zellwänden 4, die einen Hohlraum 6 umschließen. Die Zellwände 4 weisen eine Außenseite 4a und einen Innenseite 4i auf. Die Zellwände 4 werden von einer Druckausgleichsöffnung in Form einer Kapillare 8 durchsetzt. Der Regenerator 1 weist einen kreisringförmigen Querschnitt auf und ist in einem rohrförmigen Strömungskanal 10 für Arbeitsgas Helium angeordnet. Das Innere des Hohlraums 6 ist mit Helium als Regeneratormedium oder als Wärme speicherndes Medium gefüllt. Der Regenerator 1 bzw. die Zelle 2 ist so dimensioniert, dass zwischen dem rohrförmigen Strömungskanal 10 für Arbeitsgas und der Außenseite 4a der Zellwand 4 ein Ringspalt 12 verbleibt. Damit kann das Arbeitsgas Helium den Regenerator 1 umströmen und über die Wärme leitenden Zellwände 4 mit dem Helium im Hohlraum 6 Wärme austauschen.
  • Fig. 3a und 3b zeigen eine zweite Ausführungsform der Erfindung mit einer scheibenförmigen Zelle 2. Die Zelle 2 unterscheidet sich von der Zelle 2 nach Figur 1 und 2 dadurch, dass die Zelle 2 gemäß der zweiten Ausführungsform von einer Mehrzahl von geradlinig in einer Ebene verlaufenden Schlitzen 20 als Strömungskanäle für Arbeitsgas durchsetzt ist. Die schlitzförmigen Strömungskanäle 20 verlaufen parallel zueinander, enden jedoch vor dem Rand der Zelle 2, so dass die die Zelle 2 nicht auseinander fallen kann. In den durch Zellwände 4 umschlossenen quaderförmigen Bereichen zwischen den schlitzförmigen Strömungskanälen 20 befinden sich rohrförmige Hohlräume 6 mit einem rechteckigen Querschnitt. Alle Hohlräume 6 münden in einen am Rand der scheibenförmigen Zelle 2 vorgesehenen umlaufenden Kanal 24, so dass die Hohlräume 6 und der umlaufende Kanal 24 einen einzigen Hohlraum bilden.
  • Bei der Herstellung der scheibenförmigen Zelle 2 mittels 3D-Druck verbleiben zunächst eine oder zwei größere Öffnungen 22 durch die das lose 3D-Druck-Material noch dem 3D-Druck ausgeblasen werden kann. Diese Öffnungen werden anschließend verschlossen, so das lediglich eine oder mehrere Druckausgleichsöffnungen 8 in Form von Kapillaren verbleiben. Es lassen sich auch mehrere Zellen 2 in Strömungsrichtung des Arbeitsgases hintereinander anordnen, wodurch sich ein Regenerator mit höherer Leistung ergibt.
  • Fig. 4 zeigt eine dritte Ausführungsform der Erfindung, bei der eine Mehrzahl von Zellen 2-1, 2-2, 2-3 übereinander gestapelt sind. Die drei scheibenförmigen Zellen 2-i mit kreisförmigem Querschnitt weisen einen identischen Aufbau auf. Die Zellen 2-i ähneln der Zelle 2 der zweiten Ausführungsform und unterscheiden sich von der Zelle nach Figur 1 und 2 dadurch, dass die Zellen 2-i von einer Mehrzahl von geradlinig in einer Ebene verlaufenden Schlitzen 20 als Strömungskanäle für Arbeitsgas durchsetzt sind. Die schlitzförmigen Strömungskanäle 20 verlaufen parallel zueinander, enden jedoch vor dem Rand der Zellen 2-i, sodass die die Zelle 2 nicht auseinander fallen kann. In den durch Zellwände 4 umschlossenen quaderförmigen Bereichen zwischen den schlitzförmigen Strömungskanälen 20 befinden sich rohrförmige Hohlräume 6-i, die einen Querschnitt in Form eines gleichseitigen Dreiecks mit rechtem Winkel aufweisen. Die Spitze des Dreiecks mit dem rechten Winkel zeigt nach oben, so dass sich die beiden Seiten des gleichseitigen Dreiecks in einem Winkel von 45° nach oben erstrecken. Hohlräume 6-i mit dreieckigem Querschnitt lassen sich leicht mittels 3D-Druck herstellen. Bei der Herstellung der scheibenförmigen Zellen 2 mittels 3D-Druck verbleibt zunächst eine oder zwei größere Öffnungen 22 durch die das lose 3D-Druck-Material noch dem 3D-Druck ausgeblasen werden kann. Diese Öffnungen werden anschließend verschlossen, so das lediglich eine oder mehrere Druckausgleichsöffnungen 8 in Form von Kapillaren verbleiben.
  • Die Hohlräume 6-i sind am Rand der scheibenförmigen Zellen 2-i miteinander verbunden. Eine Druckausgleichsöffnung 8 verbindet die Hohlräume 6-i mit dem Bereich außerhalb der Zellen 2-i. Die Zellen 2-i weisen auf ihrer Oberseite eine Mehrzahl von Ausrichtzapfen 30 auf und an der gegenüberliegenden Seite sind entsprechende Ausrichtvertiefungen 32 angeordnet. Durch diese Ausrichtelemente 30, 32 wird erreicht, dass die schlitzförmigen Strömungskanäle 20 der übereinander liegenden Zellen 6-i zueinander fluchten, sodass sich durch den Regenerator durchgehende Strömungskanäle ergeben. Zwischen den einzelnen Zellen 6-i ist jeweils eine thermisch-isolierende Schicht 34 angeordnet, die von dem Ausrichtzapfen 30 durchsetzt wird, sodass die Ausrichtzapfen in die darüber liegenden Ausrichtöffnungen 32 eingreifen können.
  • Fig. 5 zeigt schematisch eine vierte Ausführungsform des Regenerators in Form einer scheibenförmigen Zelle 2, die sich von den Zellen 2-i nach Fig. 4 dadurch unterscheidet, dass statt einem rohrförmigem Hohlraum mit Dreiecksquerschnitt jeweils zwei rohrförmige Hohlräume 6a und 6b vorgesehen sind. Der Querschnitt der rohrförmigen Hohlräume 6a und 6b weist ebenfalls die Form eines gleichseitigen Dreiecks mit rechtem Winkel auf. Der rechte Winkel setzt an der Innenseite der Trennwand 4 an, die die schlitzförmigen Strömungskanäle begrenzt. Hierdurch ergibt sich eine Trennwand 4 mit konstanter Wandstärke zwischen den Strömungskanälen 20 und den Hohlräumen 6-i. Dies führt zu einem verbesserten Wärmeübergang zwischen dem Arbeitsgas im Strömungskanal 20 und dem Helium in den Hohlräumen 6a und 6b. Die Druckausgleichsöffnung 8 verbindet die Hohlräume 6a, 6b mit dem Bereich außerhalb der Zelle 2.
  • Fig. 6 zeigt eine fünfte Ausführungsform der Erfindung, die sich von der Ausführungsform nach Figur 4 lediglich dadurch unterscheidet, dass die rohrförmigen Hohlräume 6a, 6b mit Dreiecksquerschnitt mit der Basis des rechtwinkligen Dreiecks zu den Strömungskanälen 20 hin angeordnet sind. Da die Basis die Länge der Seite des gleichseitigen Dreiecks ist, wird hierdurch der Wärmeübergang verbessert.
  • Figuren 7 und 8 zeigen schematisch den Aufbau einer sechsten Ausführungsform, die nicht durch die beanspruchte Erfindung abgedeckt ist. Fig. 7 zeigt einen Regenerator 101 mit einer Vielzahl von Zellen 102, die in Form einer 3-dimensionalen Matrix 103 mit zwei Lagen von Zellen 102 angeordnet sind. Die Zellen 102 sind würfelförmig und grundsätzlich in ihrem Aufbau identisch. Da jedoch der Regenerator 101 einen Rohrquerschnitt ausfüllt, weisen die Zellen 102 im Randbereich zwangsweise eine abweichende Form auf. Die einzelnen Zellen 102 umfassen jeweils einen würfelförmigen Hohlraum 106 mit einer Wärme leitenden Hülle 104 und einer Druckausgleichsöffnung 108 in Form einer Kapillare. Wie aus Fig. 8 zu ersehen ist, sind die einzelnen Zellen 102 in Strömungsrichtung 112 des Arbeitsgases hintereinander versetzt angeordnet. Die nebeneinander liegenden Zellen 102 sind mittels thermisch leitender Verbindungselemente 114 miteinander verbunden. Die in Strömungsrichtung 112 hintereinander liegenden Zellen 102 sind mit thermisch isolierenden bzw. schlecht leitenden Verbindungselementen 116 miteinander verbunden und bilden einen Strömungskanal 120. Auf diese Weise ergibt sich die mechanisch feste Matrixanordnung 103 aus Zellen 102. In Fig. 7 sind lediglich zwei Lagen von Zellen 102 gezeigt, während in Fig. 8 drei Schichten bzw. Lagen von Zellen 102 gezeigt sind. Das Gasvolumen der einzelnen Hohlräume 106 beträgt ca. 1mm2, die Wandstärke der Hülle 104 beträgt ca. 0,2 mm. Der Abstand zwischen den einzelnen Zellen 102 beträgt ca. 0,2 mm. Der gesamte Platzbedarf einer Zelle 102 beträgt ca. 8mm3.
  • Der erfindungsgemäße Regenerator 101 wird vorzugsweise in der kältesten Kaltstufe eines Kryo-Kühlers als Tieftemperatur-Regeneratorabschnitt 242 eingesetzt.
  • Figuren 9 und 10 zeigen siebte Ausführungsform der Erfindung, bei der die Zelle 2 mit schlitzförmigen Strömungskanälen 20 entsprechend den Ausführungsformen nach den Figuren 3 bis 6. Der Unterschied zu den Ausführungsformen nach den Figuren 4 bis 6 besteht in der Form der rohrförmigen Hohlräume 6'. Die Hohlräume 6' sind wie bei der zweiten Ausführungsform nach Fig. 3a und 3b im Querschnitt rechteckig. Die Herstellung erfolgt - im Gegensatz zu der zweiten Ausführungsform in zwei Schritten mit wenigstens zwei Komponenten. Zunächst wird eine erste Komponente 40 mit "offenen Hohlräumen" bzw. mit topfförmigen Vertiefungen 42 erzeugt, z. B. mittels 3D-Druck. Loses 3D-Druck-Material wird in einem zweiten Schritt aus den topfförmigen Vertiefungen entfernt. Dann werden die Vertiefungen 42 in einem dritten Schritt durch zweite Komponenten 44 abgedeckt. Die ersten und zweiten Komponenten 40, 44 werden dauerhaft miteinander verbunden, z. B. durch Verklebung oder Verschweißung.
  • Fig. 11 zeigt eine achte Ausführungsform der Erfindung in Form einer scheibenförmigen Zelle 2, die aus einer ersten und einer zweiten Halbzelle 50, 52 zusammengesetzt ist, so dass sich eine Zelle 2 ergibt die analog den Ausführungsformen nach Fig. 5 und 6 zwischen den schlitzförmigen Strömungskanälen 20 Strukturen im Querschnitt quaderförmige Strukturen aufweist. Beide Halbzellen 50, 52 weisen jeweils eine Mehrzahl von ersten und zweiten Hohlräumen 54 und 56 mit einem Querschnitt eines gleichschenkeligen Dreiecks auf. Die beiden Halbzellen 50, 52 lassen sich mittels 3D-Druck herstellen. Die beiden Halbzellen weisen jeweils eine plane Seite 58 und eine unebene Seite 60 auf. Die beiden unebenen Seiten 60 weisen eine komplementäre Form auf und wenn die beiden Halbzellen 50, 52 zusammengesetzt sind, liegen die komplementären unebenen Seiten 60 der beiden Halbzellen aufeinander. Im Vergleich zu den Ausführungsformen nach Fig. 4 bis 6 vergrößert sich bei den Regeneratoren mit Zellen 2, die jeweils zwei Halbzellen 50, 52 aufweisen der Anteil des Hohlraumvolumens am Gesamtvolumen des Regenerators. Der Regenerator wird dadurch leistungsfähiger.
  • Analog der zweiten Ausführungsform nach Fig. 3a und 3b weisen auch die Ausführungsformen nach Fig. 4 bis 6 und 9 bis 11 einen umlaufenden Kanal 24 auf.
  • Die Druckausgleichsöffnung 8 ist in den Figuren 2 bis 6 und 9 bis 11 nicht eingezeichnet aber vorhanden. Da die Hohlräume 6-i; 6', 6a, 6b miteinander verbunden sind, kann die Druckausgleichsöffnung 8 an beliebiger Stelle der Zellen 2 vorgesehen sein.
  • Die Figuren 12a, 12b und 12c zeigen mögliche weitere Querschnittsformen der Hohlräume 6 in den scheibenförmigen Regeneratoren nach den Figuren 3 bis 6 und 11, die sich einfach mittels 3D-Druck herstellen lassen.
  • Bezugszeichenliste:
  • 1
    Regenerator
    2
    Zelle
    4
    Zellwand
    4i
    Innenseite der Zellwand 4
    4a
    Außenseite der Zellwand 4
    6, 6-i, 6a, 6b
    Hohlraum
    8
    Druckausgleichsöffnung
    10
    Strömungskanal für Arbeitsgas
    12
    Ringspalt zwischen 2 und 10
    20
    schlitzförmige Strömungskanäle für Arbeitsgas
    22
    Ausblasöffnungen
    24
    umlaufender Verbindungskanal
    30
    Ausrichtzapfen
    32
    Ausrichtvertiefungen
    34
    thermisch isolierende Schicht
    40
    erste Komponente mit topfförmigen Vertiefungen
    42
    topfförmige Vertiefungen
    44
    Abdeckungen
    50
    erste Halbzelle
    52
    zweite Halbzelle
    54
    erste Hohlräume
    56
    zweite Hohlräume
    58
    plane Seite von 50, 52
    60
    uneben Seite von 50, 52
    101
    Regenerator
    102
    Zellen
    103
    Matrixanordnung
    104
    Hülle bzw. Zellwände
    106
    Hohlraum
    108
    Druckausgleichsöffnung
    112
    Strömungsrichtung des Arbeitsgases
    114
    thermisch leitende Verbindungselemente
    116
    thermisch isolierende Verbindungselemente
    120
    Strömungskanal
    220
    erste Kaltstufe
    222
    zweite Kaltstufe
    224
    erstes Pulsrohr
    226
    erster Regenerator
    228
    zweites Pulsrohr
    230
    zweiter Regenerator
    232
    Verbindungsmittel
    234
    Arbeitsgasleitungen
    236
    Ventile
    238
    Balastvolumen
    240
    erster Regeneratorabschnitt von 230
    242
    Tieftemperatur-Regeneratorabschnitt von 230
    244
    Metallsiebe in 230
    246
    Kügelchen aus seltenen Erdverbindungen

Claims (15)

  1. Regenerator für Kryo-Kühler mit Helium als Arbeitsgas, mit
    wenigstens einer Zelle (2) mit Zellwänden (4), die eine Außenseite (4a) und eine Innenseite (4i) aufweisen;
    wobei die Zellwände (4) wenigstens teilweise Wärme leitend sind,
    wobei die wenigstens eine Zelle (2) mehrere miteinander verbundene Hohlräume (6; 6-i; 6a, 6b) aufweist, die von den Zellwänden (4) umschlossen sind,
    wobei die Außenseite (4a) der Zellwände (4) wenigstens teilweise einen Strömungskanal für das Arbeitsgas Helium begrenzen;
    wobei die wenigstens eine Zelle (2) eine Druckausgleichsöffnung (8) aufweist,
    wobei die wenigstens eine Zelle (2) Strömungskanäle (20) für das Arbeitsgas aufweist, die durch die Zellwände (4) begrenzt sind, und
    wobei die Hohlräume (6; 6-i; 6a, 6b) mit Heliumgas als Wärmespeichermaterial gefüllt sind,
    dadurch gekennzeichnet, dass
    die Druckausgleichsöffnung (8) als Kapillare ausgebildet ist, und
    die Strömungskanäle (20) als eine Mehrzahl von Schlitzen ausgebildet sind, die geradlinig und parallel zueinander verlaufen und vor dem Rand der Zelle (2) enden, sodass die Zelle (2) nicht auseinanderfallen kann, und
    ein umlaufender Kanal (24) an dem Rand der Zelle (2) ausgebildet ist, in den die mehrere miteinander verbundenen Hohlräume (6; 6-i; 6a, 6b) münden.
  2. Regenerator nach einen der vorhergehenden Ansprüche, dadurch gekennzeichnet, dass die wenigstens eine Zelle (2) als Scheibe mit einem runden Querschnitt ausgebildet ist.
  3. Regenerator nach einem der vorhergehenden Ansprüche, dadurch gekennzeichnet, dass eine Mehrzahl von Zellen (2) in Strömungsrichtung des Arbeitsgases hintereinander angeordnet ist.
  4. Regenerator nach Anspruch 3, dadurch gekennzeichnet, dass in Strömungsrichtung des Arbeitsgases hintereinander angeordnete Zellen (2) durch eine thermisch isolierende Schicht (34) mit Strömungskanälen (20) für das Arbeitsgas voneinander getrennt sind.
  5. Regenerator nach Anspruch 4, dadurch gekennzeichnet, dass die Zellen (2) und die thermisch isolierende Schicht (34) jeweils Ausrichtelemente (30, 32) aufweisen, so dass die Strömungskanäle (20) der Zellen (2) und der thermisch isolierenden Schicht oder Schichten (34) miteinander fluchten.
  6. Regenerator nach Anspruch 5, dadurch gekennzeichnet, dass die Ausrichtelemente mehrere Ausrichtzapfen (30) auf einer Seite der Zellen (2) und komplementär geformte Ausrichtvertiefungen (32) auf der anderen Seite der Zellen umfassen.
  7. Regenerator nach Anspruch 6, dadurch gekennzeichnet, dass die thermisch isolierende Schicht (34) Ausrichtöffnungen aufweist, die von den Ausrichtzapfen (30) durchsetzt sind, so dass die Strömungskanäle (20) für das Arbeitsgas in den Zellen (2) und in der thermisch isolierenden Schicht (34) miteinander fluchten.
  8. Regenerator nach einem der vorhergehenden Ansprüche, dadurch gekennzeichnet, dass sich die Druckausgleichsöffnung (8) aufgrund von Undichtigkeiten während der Herstellung des Regenerators ergibt.
  9. Regenerator nach einem der vorhergehenden Ansprüche, dadurch gekennzeichnet, dass die Außenseite der Zellwände (4) in den Strömungskanälen (20) für Arbeitsgas Verwirbelungsstrukturen aufweisen.
  10. Regenerator nach einem der vorhergehenden Ansprüche, dadurch gekennzeichnet, dass die Hohlräume (6-i; 6', 6a, 6b) rohrförmigen sind und einen Querschnitt in Form eines Dreiecks, einen Querschnitt in Form eines Rechtecks oder einen Querschnitt mit wenigstens einer schräge Zellwand umfassen.
  11. Regenerator nach Anspruch 10, dadurch gekennzeichnet, dass bei mehreren rohrförmigen Hohlräumen (6-i; 6', 6a, 6b) pro Zelle (2) zwischen den rohrförmigen Hohlräumen (6-i; 6', 6a, 6b) Strömungskanälen (20) für das Arbeitsgas angeordnet sind.
  12. Regenerator nach einem der vorhergehenden Ansprüche, dadurch gekennzeichnet,
    dass die Zellen (2) aus zwei Halbzellen (51, 50) zusammengesetzt sind, die jeweils mehrere Hohlräume mit einem Querschnitt in Form eines Dreiecks aufweisen,
    dass die rohrförmigen Hohlräume (6-i; 6', 6a, 6b) zwischen den Strömungskanälen (20) für das Arbeitsgas angeordnet sind,
    dass jede Halbzelle eine plane Seite und eine unebene Seite aufweist,
    dass die unebenen Seiten der beiden Halbzellen komplementär zueinander ausgebildet sind, und
    dass die beiden komplementären unebenen Seiten der beiden Halbzellen einander kontaktieren.
  13. Verfahren zur Herstellung eines Regenerators nach einem der vorhergehenden Ansprüche, dadurch gekennzeichnet, dass die Zelle (2) mittels 3D-Druck hergestellt wird.
  14. Verfahren zur Herstellung eines Regenerators nach einem der vorhergehenden Ansprüche 1 bis 12, dadurch gekennzeichnet, dass die Zelle (2) aus wenigstens zwei Komponenten (40, 44) hergestellt ist, die nach Herstellung der beiden Komponenten (40, 44) miteinander verbunden werden, und dass wenigstens eine Komponente (40) eine Vertiefung (42) aufweist, die zumindest einen Teil des oder der Hohlräume (6') bildet.
  15. Kryo-Kühler in Form eines Stirling-, Gifford-McMahon- oder PulsrohrKühlers mit wenigstens einem Regenerator (1), gekennzeichnet durch einen Regenerator (1) nach einem der vorhergehenden Ansprüche 1 bis 12.
EP17832047.9A 2016-12-08 2017-12-06 Regenerator für kryo-kühler mit helium als arbeitsgas, ein verfahren zum herstellen eines solchen regenerators sowie einen kryo-kühler mit einem solchen regenerator Active EP3551947B1 (de)

Applications Claiming Priority (3)

Application Number Priority Date Filing Date Title
DE202016106860.6U DE202016106860U1 (de) 2016-12-08 2016-12-08 Regenerator für Kryo-Kühler mit Helium als Arbeitsgas
DE102017203506.4A DE102017203506A1 (de) 2016-12-08 2017-03-03 Regenerator für Kryo-Kühler mit Helium als Arbeitsgas, ein Verfahren zum Herstellen eines solchen Regenerators sowie einen Kryo-Kühler mit einem solchen Regenerator
PCT/EP2017/081750 WO2018104410A1 (de) 2016-12-08 2017-12-06 Regenerator für kryo-kühler mit helium als arbeitsgas, ein verfahren zum herstellen eines solchen regenerators sowie einen kryo-kühler mit einem solchen regenerator

Publications (2)

Publication Number Publication Date
EP3551947A1 EP3551947A1 (de) 2019-10-16
EP3551947B1 true EP3551947B1 (de) 2022-09-14

Family

ID=61765518

Family Applications (1)

Application Number Title Priority Date Filing Date
EP17832047.9A Active EP3551947B1 (de) 2016-12-08 2017-12-06 Regenerator für kryo-kühler mit helium als arbeitsgas, ein verfahren zum herstellen eines solchen regenerators sowie einen kryo-kühler mit einem solchen regenerator

Country Status (6)

Country Link
US (1) US11333406B2 (de)
EP (1) EP3551947B1 (de)
JP (2) JP2019536972A (de)
CN (1) CN110050161B (de)
DE (2) DE202016106860U1 (de)
WO (1) WO2018104410A1 (de)

Families Citing this family (4)

* Cited by examiner, † Cited by third party
Publication number Priority date Publication date Assignee Title
US10041747B2 (en) * 2010-09-22 2018-08-07 Raytheon Company Heat exchanger with a glass body
FR3090840B1 (fr) * 2018-12-20 2021-01-08 Univ Franche Comte Régénérateur et procédé de fabrication d’un tel régénérateur
DE202021100084U1 (de) 2021-01-11 2022-04-12 Pressure Wave Systems Gmbh Regenerator für Kryo-Kühler mit Helium als Arbeitsgas und als Wärmespeichermaterial sowie einen Kryo-Kühler mit einem solchen Regenerator
CN116358323A (zh) * 2023-05-06 2023-06-30 中国科学院理化技术研究所 高压氦气换热系统、换热方法及回热式热机系统

Family Cites Families (18)

* Cited by examiner, † Cited by third party
Publication number Priority date Publication date Assignee Title
US4359872A (en) * 1981-09-15 1982-11-23 North American Philips Corporation Low temperature regenerators for cryogenic coolers
JPS62233688A (ja) * 1986-03-31 1987-10-14 Aisin Seiki Co Ltd 蓄熱器
JP2558810B2 (ja) * 1988-05-14 1996-11-27 住友電気工業株式会社 焼結中空部品の製造方法
JP2697470B2 (ja) * 1992-04-08 1998-01-14 ダイキン工業株式会社 再生器及びその製造方法
EP0637727A3 (de) * 1993-08-05 1997-11-26 Corning Incorporated Kreuzstromwärmetauscher und Herstellungsverfahren
DE4401246A1 (de) * 1994-01-18 1995-07-20 Bosch Gmbh Robert Regenerator
JPH07318181A (ja) * 1994-05-20 1995-12-08 Daikin Ind Ltd 極低温冷凍機
US6131644A (en) * 1998-03-31 2000-10-17 Advanced Mobile Telecommunication Technology Inc. Heat exchanger and method of producing the same
DE19924184A1 (de) 1999-05-27 2000-11-30 Christoph Heiden Vorrichtung zur Nutzung der spezifischen Wärme von Helium-Gas in Regeneratoren von Tieftemperaturgaskältemaschinen
DE10318510A1 (de) * 2003-04-24 2004-11-11 Leybold Vakuum Gmbh Wärmespeichermittel
DE10319510B4 (de) 2003-04-30 2016-12-29 Zumtobel Lighting Gmbh Stromschienensystem für Leuchten und Verriegelungselement zur Verwendung in einem Stromschienensystem
DE102005007627A1 (de) * 2004-02-19 2005-09-15 Siemens Ag Regenerator für einen kryogenen Refrigerator
JP5468424B2 (ja) * 2010-03-12 2014-04-09 住友重機械工業株式会社 蓄冷器、蓄冷式冷凍機、クライオポンプ、および冷凍装置
WO2011115200A1 (ja) * 2010-03-19 2011-09-22 住友重機械工業株式会社 蓄冷器、gm冷凍機およびパルスチューブ冷凍機
WO2012065245A1 (en) * 2010-11-18 2012-05-24 Etalim Inc. Stirling cycle transducer apparatus
JP5790989B2 (ja) * 2011-05-10 2015-10-07 独立行政法人国立高等専門学校機構 蓄冷器
CN104197591B (zh) * 2014-08-29 2016-11-30 浙江大学 采用氦气作为回热介质的深低温回热器及其脉管制冷机
JP6185954B2 (ja) * 2015-03-31 2017-08-23 ミネベアミツミ株式会社 球面すべり軸受及びその製造方法

Also Published As

Publication number Publication date
CN110050161A (zh) 2019-07-23
JP2022084912A (ja) 2022-06-07
EP3551947A1 (de) 2019-10-16
US20190323737A1 (en) 2019-10-24
DE202016106860U1 (de) 2018-03-09
DE102017203506A1 (de) 2018-06-14
WO2018104410A1 (de) 2018-06-14
CN110050161B (zh) 2021-06-04
US20220057114A9 (en) 2022-02-24
JP2019536972A (ja) 2019-12-19
US11333406B2 (en) 2022-05-17

Similar Documents

Publication Publication Date Title
EP3551947B1 (de) Regenerator für kryo-kühler mit helium als arbeitsgas, ein verfahren zum herstellen eines solchen regenerators sowie einen kryo-kühler mit einem solchen regenerator
EP2126495B1 (de) Kältegerät
EP0122429B1 (de) Verbundwerkstoff in Stab-, Rohr-, Band-, Blech- oder Plattenform mit reversiblen thermo-mechanischen Eigenschaften und Verfahren zu dessen Herstellung
DE112004002637T5 (de) Hartgelöteter Plattenwärmetauscher und transkritisches Kühlsystem
WO2009056446A1 (de) Verfahren zur herstellung eines wärmetauschers
DE112004002839T5 (de) Vorrichtung für den Wärmetransport und Verfahren zu dessen Herstellung
EP1616137A1 (de) Wärmespeichermittel
DE2227189A1 (de) Thermodynamisches Verfahren sowie Anordnung zur Durchführung des Verfahrens
DE19616838A1 (de) Brennkammer mit Schwitzkühlung
DE102012110701A1 (de) Wärmeübertrager für einen Kältemittelkreislauf
DE3812427A1 (de) Verfahren zur herstellung eines regenerators fuer eine tieftemperatur-kaeltemaschine und nach diesem verfahren hergestellter regenerator
EP2926073B1 (de) Wärmeübertrager
DE102004002252A1 (de) Wärmeübertrager für Fahrzeuge
DE69806683T3 (de) Mit mehreren Röhren gefertigter Wärmetauscher
EP1588115B1 (de) Wärmeübertrager, insbesondere gaskühler
DE4432340C1 (de) Verfahren zur Herstellung eines Verdampfers für ein Kompressorkühlgerät
EP4275002B1 (de) Regenerator für kryo-kühler mit helium als arbeitsgas und als wärmespeichermaterial, verfahren zum herstellen eines solchen regenerators sowie kryo-kühler mit einem solchen regenerator
DE102004003325A1 (de) Koaxial-Wärmetauscher, Verfahren zur Herstellung eines Koaxial-Wärmetauschers, Verfahren zum Anschließen eines Koaxial-Wärmetauschers und ringförmige Dichtung für einen Koaxial-Wärmetauscher
DE69713547T2 (de) Kryostat für Tiefsttemperatur-Kälteanlage und Kälteanlagen mit einem solchen Kryostat
DE1514260C3 (de) Verfahren zur Herstellung eines Gehäusesockels für eine Hableiteranordnung
DE112013005720T5 (de) Kompakter Wärmetauscher für eine Wärmepumpe
EP3795937B1 (de) Wärmeaustauscher
EP1166025B1 (de) Mehrblock-wärmeübertrager
DE69112010T2 (de) Kühlfinger für Halbleiterschaltung und kryogenische Anordnung mit solchem Finger.
EP2942592A1 (de) Latentwärmespeicher

Legal Events

Date Code Title Description
STAA Information on the status of an ep patent application or granted ep patent

Free format text: STATUS: UNKNOWN

STAA Information on the status of an ep patent application or granted ep patent

Free format text: STATUS: THE INTERNATIONAL PUBLICATION HAS BEEN MADE

PUAI Public reference made under article 153(3) epc to a published international application that has entered the european phase

Free format text: ORIGINAL CODE: 0009012

STAA Information on the status of an ep patent application or granted ep patent

Free format text: STATUS: REQUEST FOR EXAMINATION WAS MADE

17P Request for examination filed

Effective date: 20190515

AK Designated contracting states

Kind code of ref document: A1

Designated state(s): AL AT BE BG CH CY CZ DE DK EE ES FI FR GB GR HR HU IE IS IT LI LT LU LV MC MK MT NL NO PL PT RO RS SE SI SK SM TR

AX Request for extension of the european patent

Extension state: BA ME

DAV Request for validation of the european patent (deleted)
DAX Request for extension of the european patent (deleted)
STAA Information on the status of an ep patent application or granted ep patent

Free format text: STATUS: EXAMINATION IS IN PROGRESS

17Q First examination report despatched

Effective date: 20200414

GRAP Despatch of communication of intention to grant a patent

Free format text: ORIGINAL CODE: EPIDOSNIGR1

STAA Information on the status of an ep patent application or granted ep patent

Free format text: STATUS: GRANT OF PATENT IS INTENDED

INTG Intention to grant announced

Effective date: 20220404

GRAS Grant fee paid

Free format text: ORIGINAL CODE: EPIDOSNIGR3

GRAA (expected) grant

Free format text: ORIGINAL CODE: 0009210

STAA Information on the status of an ep patent application or granted ep patent

Free format text: STATUS: THE PATENT HAS BEEN GRANTED

RIN1 Information on inventor provided before grant (corrected)

Inventor name: HOEHNE, JENS

RIN1 Information on inventor provided before grant (corrected)

Inventor name: HOEHNE, JENS, DR.

AK Designated contracting states

Kind code of ref document: B1

Designated state(s): AL AT BE BG CH CY CZ DE DK EE ES FI FR GB GR HR HU IE IS IT LI LT LU LV MC MK MT NL NO PL PT RO RS SE SI SK SM TR

REG Reference to a national code

Ref country code: GB

Ref legal event code: FG4D

Free format text: NOT ENGLISH

REG Reference to a national code

Ref country code: CH

Ref legal event code: EP

REG Reference to a national code

Ref country code: DE

Ref legal event code: R096

Ref document number: 502017013820

Country of ref document: DE

REG Reference to a national code

Ref country code: IE

Ref legal event code: FG4D

Free format text: LANGUAGE OF EP DOCUMENT: GERMAN

REG Reference to a national code

Ref country code: AT

Ref legal event code: REF

Ref document number: 1518929

Country of ref document: AT

Kind code of ref document: T

Effective date: 20221015

REG Reference to a national code

Ref country code: LT

Ref legal event code: MG9D

REG Reference to a national code

Ref country code: NL

Ref legal event code: MP

Effective date: 20220914

PG25 Lapsed in a contracting state [announced via postgrant information from national office to epo]

Ref country code: SE

Free format text: LAPSE BECAUSE OF FAILURE TO SUBMIT A TRANSLATION OF THE DESCRIPTION OR TO PAY THE FEE WITHIN THE PRESCRIBED TIME-LIMIT

Effective date: 20220914

Ref country code: RS

Free format text: LAPSE BECAUSE OF FAILURE TO SUBMIT A TRANSLATION OF THE DESCRIPTION OR TO PAY THE FEE WITHIN THE PRESCRIBED TIME-LIMIT

Effective date: 20220914

Ref country code: NO

Free format text: LAPSE BECAUSE OF FAILURE TO SUBMIT A TRANSLATION OF THE DESCRIPTION OR TO PAY THE FEE WITHIN THE PRESCRIBED TIME-LIMIT

Effective date: 20221214

Ref country code: LV

Free format text: LAPSE BECAUSE OF FAILURE TO SUBMIT A TRANSLATION OF THE DESCRIPTION OR TO PAY THE FEE WITHIN THE PRESCRIBED TIME-LIMIT

Effective date: 20220914

Ref country code: LT

Free format text: LAPSE BECAUSE OF FAILURE TO SUBMIT A TRANSLATION OF THE DESCRIPTION OR TO PAY THE FEE WITHIN THE PRESCRIBED TIME-LIMIT

Effective date: 20220914

Ref country code: FI

Free format text: LAPSE BECAUSE OF FAILURE TO SUBMIT A TRANSLATION OF THE DESCRIPTION OR TO PAY THE FEE WITHIN THE PRESCRIBED TIME-LIMIT

Effective date: 20220914

PG25 Lapsed in a contracting state [announced via postgrant information from national office to epo]

Ref country code: HR

Free format text: LAPSE BECAUSE OF FAILURE TO SUBMIT A TRANSLATION OF THE DESCRIPTION OR TO PAY THE FEE WITHIN THE PRESCRIBED TIME-LIMIT

Effective date: 20220914

Ref country code: GR

Free format text: LAPSE BECAUSE OF FAILURE TO SUBMIT A TRANSLATION OF THE DESCRIPTION OR TO PAY THE FEE WITHIN THE PRESCRIBED TIME-LIMIT

Effective date: 20221215

PG25 Lapsed in a contracting state [announced via postgrant information from national office to epo]

Ref country code: SM

Free format text: LAPSE BECAUSE OF FAILURE TO SUBMIT A TRANSLATION OF THE DESCRIPTION OR TO PAY THE FEE WITHIN THE PRESCRIBED TIME-LIMIT

Effective date: 20220914

Ref country code: RO

Free format text: LAPSE BECAUSE OF FAILURE TO SUBMIT A TRANSLATION OF THE DESCRIPTION OR TO PAY THE FEE WITHIN THE PRESCRIBED TIME-LIMIT

Effective date: 20220914

Ref country code: PT

Free format text: LAPSE BECAUSE OF FAILURE TO SUBMIT A TRANSLATION OF THE DESCRIPTION OR TO PAY THE FEE WITHIN THE PRESCRIBED TIME-LIMIT

Effective date: 20230116

Ref country code: ES

Free format text: LAPSE BECAUSE OF FAILURE TO SUBMIT A TRANSLATION OF THE DESCRIPTION OR TO PAY THE FEE WITHIN THE PRESCRIBED TIME-LIMIT

Effective date: 20220914

Ref country code: CZ

Free format text: LAPSE BECAUSE OF FAILURE TO SUBMIT A TRANSLATION OF THE DESCRIPTION OR TO PAY THE FEE WITHIN THE PRESCRIBED TIME-LIMIT

Effective date: 20220914

PG25 Lapsed in a contracting state [announced via postgrant information from national office to epo]

Ref country code: SK

Free format text: LAPSE BECAUSE OF FAILURE TO SUBMIT A TRANSLATION OF THE DESCRIPTION OR TO PAY THE FEE WITHIN THE PRESCRIBED TIME-LIMIT

Effective date: 20220914

Ref country code: PL

Free format text: LAPSE BECAUSE OF FAILURE TO SUBMIT A TRANSLATION OF THE DESCRIPTION OR TO PAY THE FEE WITHIN THE PRESCRIBED TIME-LIMIT

Effective date: 20220914

Ref country code: IS

Free format text: LAPSE BECAUSE OF FAILURE TO SUBMIT A TRANSLATION OF THE DESCRIPTION OR TO PAY THE FEE WITHIN THE PRESCRIBED TIME-LIMIT

Effective date: 20230114

Ref country code: EE

Free format text: LAPSE BECAUSE OF FAILURE TO SUBMIT A TRANSLATION OF THE DESCRIPTION OR TO PAY THE FEE WITHIN THE PRESCRIBED TIME-LIMIT

Effective date: 20220914

REG Reference to a national code

Ref country code: DE

Ref legal event code: R097

Ref document number: 502017013820

Country of ref document: DE

PG25 Lapsed in a contracting state [announced via postgrant information from national office to epo]

Ref country code: NL

Free format text: LAPSE BECAUSE OF FAILURE TO SUBMIT A TRANSLATION OF THE DESCRIPTION OR TO PAY THE FEE WITHIN THE PRESCRIBED TIME-LIMIT

Effective date: 20220914

Ref country code: AL

Free format text: LAPSE BECAUSE OF FAILURE TO SUBMIT A TRANSLATION OF THE DESCRIPTION OR TO PAY THE FEE WITHIN THE PRESCRIBED TIME-LIMIT

Effective date: 20220914

PLBE No opposition filed within time limit

Free format text: ORIGINAL CODE: 0009261

STAA Information on the status of an ep patent application or granted ep patent

Free format text: STATUS: NO OPPOSITION FILED WITHIN TIME LIMIT

PG25 Lapsed in a contracting state [announced via postgrant information from national office to epo]

Ref country code: DK

Free format text: LAPSE BECAUSE OF FAILURE TO SUBMIT A TRANSLATION OF THE DESCRIPTION OR TO PAY THE FEE WITHIN THE PRESCRIBED TIME-LIMIT

Effective date: 20220914

REG Reference to a national code

Ref country code: CH

Ref legal event code: PL

26N No opposition filed

Effective date: 20230615

REG Reference to a national code

Ref country code: BE

Ref legal event code: MM

Effective date: 20221231

PG25 Lapsed in a contracting state [announced via postgrant information from national office to epo]

Ref country code: SI

Free format text: LAPSE BECAUSE OF FAILURE TO SUBMIT A TRANSLATION OF THE DESCRIPTION OR TO PAY THE FEE WITHIN THE PRESCRIBED TIME-LIMIT

Effective date: 20220914

Ref country code: LU

Free format text: LAPSE BECAUSE OF NON-PAYMENT OF DUE FEES

Effective date: 20221206

PG25 Lapsed in a contracting state [announced via postgrant information from national office to epo]

Ref country code: LI

Free format text: LAPSE BECAUSE OF NON-PAYMENT OF DUE FEES

Effective date: 20221231

Ref country code: IE

Free format text: LAPSE BECAUSE OF NON-PAYMENT OF DUE FEES

Effective date: 20221206

Ref country code: CH

Free format text: LAPSE BECAUSE OF NON-PAYMENT OF DUE FEES

Effective date: 20221231

PG25 Lapsed in a contracting state [announced via postgrant information from national office to epo]

Ref country code: BE

Free format text: LAPSE BECAUSE OF NON-PAYMENT OF DUE FEES

Effective date: 20221231

REG Reference to a national code

Ref country code: AT

Ref legal event code: MM01

Ref document number: 1518929

Country of ref document: AT

Kind code of ref document: T

Effective date: 20221206

PG25 Lapsed in a contracting state [announced via postgrant information from national office to epo]

Ref country code: HU

Free format text: LAPSE BECAUSE OF FAILURE TO SUBMIT A TRANSLATION OF THE DESCRIPTION OR TO PAY THE FEE WITHIN THE PRESCRIBED TIME-LIMIT; INVALID AB INITIO

Effective date: 20171206

PG25 Lapsed in a contracting state [announced via postgrant information from national office to epo]

Ref country code: AT

Free format text: LAPSE BECAUSE OF NON-PAYMENT OF DUE FEES

Effective date: 20221206

PG25 Lapsed in a contracting state [announced via postgrant information from national office to epo]

Ref country code: CY

Free format text: LAPSE BECAUSE OF FAILURE TO SUBMIT A TRANSLATION OF THE DESCRIPTION OR TO PAY THE FEE WITHIN THE PRESCRIBED TIME-LIMIT

Effective date: 20220914

Ref country code: AT

Free format text: LAPSE BECAUSE OF NON-PAYMENT OF DUE FEES

Effective date: 20221206

PG25 Lapsed in a contracting state [announced via postgrant information from national office to epo]

Ref country code: MK

Free format text: LAPSE BECAUSE OF FAILURE TO SUBMIT A TRANSLATION OF THE DESCRIPTION OR TO PAY THE FEE WITHIN THE PRESCRIBED TIME-LIMIT

Effective date: 20220914

Ref country code: IT

Free format text: LAPSE BECAUSE OF FAILURE TO SUBMIT A TRANSLATION OF THE DESCRIPTION OR TO PAY THE FEE WITHIN THE PRESCRIBED TIME-LIMIT

Effective date: 20220914

PG25 Lapsed in a contracting state [announced via postgrant information from national office to epo]

Ref country code: MC

Free format text: LAPSE BECAUSE OF FAILURE TO SUBMIT A TRANSLATION OF THE DESCRIPTION OR TO PAY THE FEE WITHIN THE PRESCRIBED TIME-LIMIT

Effective date: 20220914

PG25 Lapsed in a contracting state [announced via postgrant information from national office to epo]

Ref country code: MC

Free format text: LAPSE BECAUSE OF FAILURE TO SUBMIT A TRANSLATION OF THE DESCRIPTION OR TO PAY THE FEE WITHIN THE PRESCRIBED TIME-LIMIT

Effective date: 20220914

PG25 Lapsed in a contracting state [announced via postgrant information from national office to epo]

Ref country code: BG

Free format text: LAPSE BECAUSE OF FAILURE TO SUBMIT A TRANSLATION OF THE DESCRIPTION OR TO PAY THE FEE WITHIN THE PRESCRIBED TIME-LIMIT

Effective date: 20220914

PG25 Lapsed in a contracting state [announced via postgrant information from national office to epo]

Ref country code: MT

Free format text: LAPSE BECAUSE OF FAILURE TO SUBMIT A TRANSLATION OF THE DESCRIPTION OR TO PAY THE FEE WITHIN THE PRESCRIBED TIME-LIMIT

Effective date: 20220914

PG25 Lapsed in a contracting state [announced via postgrant information from national office to epo]

Ref country code: TR

Free format text: LAPSE BECAUSE OF FAILURE TO SUBMIT A TRANSLATION OF THE DESCRIPTION OR TO PAY THE FEE WITHIN THE PRESCRIBED TIME-LIMIT

Effective date: 20220914

PGFP Annual fee paid to national office [announced via postgrant information from national office to epo]

Ref country code: DE

Payment date: 20250922

Year of fee payment: 9

PGFP Annual fee paid to national office [announced via postgrant information from national office to epo]

Ref country code: GB

Payment date: 20251218

Year of fee payment: 9

PGFP Annual fee paid to national office [announced via postgrant information from national office to epo]

Ref country code: FR

Payment date: 20251218

Year of fee payment: 9