EP3327240B1 - Haltevorrichtung zum halten einer sonnenschutzvorrichtung und haltesystem - Google Patents

Haltevorrichtung zum halten einer sonnenschutzvorrichtung und haltesystem Download PDF

Info

Publication number
EP3327240B1
EP3327240B1 EP17202730.2A EP17202730A EP3327240B1 EP 3327240 B1 EP3327240 B1 EP 3327240B1 EP 17202730 A EP17202730 A EP 17202730A EP 3327240 B1 EP3327240 B1 EP 3327240B1
Authority
EP
European Patent Office
Prior art keywords
sun protection
protection device
holder
holding element
side wall
Prior art date
Legal status (The legal status is an assumption and is not a legal conclusion. Google has not performed a legal analysis and makes no representation as to the accuracy of the status listed.)
Active
Application number
EP17202730.2A
Other languages
English (en)
French (fr)
Other versions
EP3327240A1 (de
Inventor
Detlef Aufderheide
Current Assignee (The listed assignees may be inaccurate. Google has not performed a legal analysis and makes no representation or warranty as to the accuracy of the list.)
Hunter Douglas Industries Switzerland GmbH
Original Assignee
Hunter Douglas Industries Switzerland GmbH
Priority date (The priority date is an assumption and is not a legal conclusion. Google has not performed a legal analysis and makes no representation as to the accuracy of the date listed.)
Filing date
Publication date
Application filed by Hunter Douglas Industries Switzerland GmbH filed Critical Hunter Douglas Industries Switzerland GmbH
Publication of EP3327240A1 publication Critical patent/EP3327240A1/de
Application granted granted Critical
Publication of EP3327240B1 publication Critical patent/EP3327240B1/de
Active legal-status Critical Current
Anticipated expiration legal-status Critical

Links

Images

Classifications

    • EFIXED CONSTRUCTIONS
    • E06DOORS, WINDOWS, SHUTTERS, OR ROLLER BLINDS IN GENERAL; LADDERS
    • E06BFIXED OR MOVABLE CLOSURES FOR OPENINGS IN BUILDINGS, VEHICLES, FENCES OR LIKE ENCLOSURES IN GENERAL, e.g. DOORS, WINDOWS, BLINDS, GATES
    • E06B9/00Screening or protective devices for wall or similar openings, with or without operating or securing mechanisms; Closures of similar construction
    • E06B9/24Screens or other constructions affording protection against light, especially against sunshine; Similar screens for privacy or appearance; Slat blinds
    • E06B9/40Roller blinds
    • E06B9/42Parts or details of roller blinds, e.g. suspension devices, blind boxes
    • E06B9/50Bearings specially adapted therefor
    • EFIXED CONSTRUCTIONS
    • E06DOORS, WINDOWS, SHUTTERS, OR ROLLER BLINDS IN GENERAL; LADDERS
    • E06BFIXED OR MOVABLE CLOSURES FOR OPENINGS IN BUILDINGS, VEHICLES, FENCES OR LIKE ENCLOSURES IN GENERAL, e.g. DOORS, WINDOWS, BLINDS, GATES
    • E06B9/00Screening or protective devices for wall or similar openings, with or without operating or securing mechanisms; Closures of similar construction
    • E06B9/24Screens or other constructions affording protection against light, especially against sunshine; Similar screens for privacy or appearance; Slat blinds
    • E06B9/26Lamellar or like blinds, e.g. venetian blinds
    • E06B9/28Lamellar or like blinds, e.g. venetian blinds with horizontal lamellae, e.g. non-liftable
    • E06B9/30Lamellar or like blinds, e.g. venetian blinds with horizontal lamellae, e.g. non-liftable liftable
    • E06B9/32Operating, guiding, or securing devices therefor
    • E06B9/323Structure or support of upper box

Definitions

  • the invention relates to a sun protection device with a holding device with two holders for mounting on side walls that delimit a light entry opening and face one another, the holders each having a contact surface for contact with the side wall and a holding element on which the sun protection device is arranged with a first orientation relative to the contact surface can.
  • a fastening system for sun protection systems is from the DE 10 2005 062 995 B3 known.
  • Such holding devices are used to hold sun protection devices in particular on roof windows. With these roof windows, the sun protection device is attached to the inside of the light entry opening on the window frame.
  • holders are arranged in pairs on the side walls delimiting the light entry opening.
  • the side wall delimiting the light-entry surface can be aligned at right angles to the light-entry opening or have an angle that deviates from 90° and is generally greater than the light-entry opening.
  • a matching set of holders is usually provided for each frame geometry, ie each angle of the side wall to the light entry opening. This leads to undesirable material and storage costs and can lead to incorrect assembly when using unsuitable holders.
  • the DE 10 2005 062 995 B3 solves this problem by providing a convex bearing surface on the holder, with different bores provided for different angles of the side wall. In this way, the orientation of the holder relative to the side wall is adapted to the respective angle of inclination.
  • a holding device is from the U.S. 2,301,863A known.
  • the holding device shown here is used to attach a sunshade to a window frame.
  • the holding device consists of a hinge leaf as a contact surface for laying on the window frame and a holder for the sun protection.
  • the hinge leaf and the bracket are pivotally connected to each other by means of a hinge pin.
  • the sunshade is fixed to the bracket.
  • the problem on which the invention is based is to reduce unnecessary storage costs for a sun protection device with a holding device of the type mentioned at the outset and to avoid incorrect assembly as far as possible, while at the same time enabling a secure and, in particular, non-pivotable arrangement of the holder on the side wall.
  • the problem is solved in a sun protection device with a holding device of the type mentioned at the outset in that the holding element is at a distance from the contact surface and that the sun protection device can be arranged on the holding element with at least a second orientation to the contact surface.
  • the same holder can be used for at least two frame geometries. In this way it is not necessary to change the orientation of the holder to the side wall depending on the angle of inclination thereof.
  • the contact surface or the holder can be designed in such a way that good contact with the side wall is possible and, in particular, low leverage forces occur during operation of the sun protection device or when it is installed.
  • a development of the invention is characterized in that the retaining element has at least one pin on which the sun protection device can be arranged in a number of orientations relative to the contact surface.
  • the sun protection device can be arranged pivotably on the pin. Any angle of inclination can be realized as a result.
  • the holding element can be designed as a pivot bearing.
  • the holding element forms part of a joint or hinge. This gives a high Stability with simultaneous flexible use for different angles of inclination and is also easy and inexpensive to produce.
  • Another development of the invention is characterized in that the holding element is provided for sliding the sun protection device on.
  • mounting the sun protection device on the holder becomes particularly easy.
  • the sliding of the sun protection device can be provided parallel to a pivot axis of the pivot bearing. This results in a simple construction since the required design of the means for sliding does not conflict with the required design for pivoting into the different positions for the different angles of inclination.
  • An advantageous embodiment of the invention is characterized in that the holding element has fastening means for the sun protection device. This makes it particularly easy to mount the sun protection device on the holder.
  • latching means and/or a hole for screwing in a screw can be provided. In both cases, easy assembly and reliable attachment of the sun protection device to the holder is possible.
  • the two holders of the holding device ensure that the sun protection device is seated securely and without play in the light entry opening.
  • the holder has fastening means for fastening to the side wall.
  • the holder can be easily and reliably attached to the side wall.
  • openings can be provided, preferably screw holes.
  • the holder can easily be fastened to the side wall.
  • the holder can also have a recess for a mounting part arranged on the side wall.
  • Such mounting hardware is common with some skylights.
  • the holder according to the invention can also be used with roof windows of this type.
  • the recess forms a receptacle for the assembly part.
  • this recording means that additional fastening means can be dispensed with. If the receptacle is designed for a non-positive and/or positive connection with the mounting part, a secure fit results with little assembly effort. If the contact surface is flat in a particularly preferred embodiment, a secure fit is ensured with low leverage forces.
  • the invention can be used particularly advantageously as part of a sun protection system. It is advantageous here if a positioning aid is provided for the holder. In this way, the assembly at the specified position of the side wall can be reliably guaranteed.
  • the positioning aid can preferably be arranged on the holding element. In this way, the position of the holding element itself, which is ultimately important when attaching the sun protection device, can be reliably ensured. It is also advantageous if the positioning aid can be attached in several orientations to the contact surface.
  • the positioning aid should preferably be able to be pivotably attached to the holding element. In this way, a secure positioning of the holder can be ensured with a positioning aid and a holder, regardless of the angle of inclination of the side wall to the light entry surface.
  • the positioning aid has at least one stop for positioning the holder.
  • the stop is used for positioning in relation to an upper edge of the light entry opening and/or to a front side of a window reveal or a window frame. In this way, the light gaps between the sun protection device and the frame parts of the roof window can be reduced to a minimum. This ensures good sun protection.
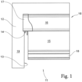
  • FIG. 1 shows a schematic partial view of a sun protection device 10 as a first exemplary embodiment of the invention.
  • the sun protection device 10 is arranged in a frame 12, namely a window frame 12 of a roof surface window, for shading a light entry opening 11.
  • the frame 12 has the sun protection device 10 facing side walls 13, of which only one side wall 13 can be seen in the figure.
  • the side walls 13 delimit the light entry opening 11 laterally.
  • a holder 14 for holding the sun protection device 10 is arranged on the side wall 13 and faces the sun protection device 10 .
  • the sun protection device 10 has a curtain 15 for shading the light entry opening 11 .
  • a cover 16 of the sun protection device 10 is provided on the upper side of the curtain and partially covers the frame 12 .
  • the cover 16 is closed off at the side by an end cap 17 .
  • An end strip 18 is provided on the lower end of the hanging 15 facing away from the cover 16 .
  • the end cap 17 rests against a front face 19 of the frame 12 .
  • the front 19 and the side wall 13 form the in 1 shown frame 12 a right angle.
  • FIG 2 shows the sunshade device 10 of FIG 1 in the state detached from the holder 14.
  • the frame 12 has an upper edge 20 which 1 was covered by the cover 16.
  • the holder 14 has a base 21 which abuts the side wall 13. As shown in FIG. A holding element 22 is provided at a distance from the base 21 and the side wall 13 and is connected to the base 21 by means of a web 23 . As can further be seen from the figure, the web 23 has a hole 24 . By screwing a screw, not shown in the figure, into the hole 24, the sunshade device can be secured to the holder, as will be seen below with reference to FIG 22 will be explained in more detail.
  • the retaining element 22 has an upper peg 25 and a lower peg 26 on ends of a body 27 that face away from one another.
  • the body 27 also has a recess 28 on its longitudinal side facing away from the web 23.
  • the base 21 two holes 29, 30 on.
  • the holder 14 can be fastened to the frame 12 by screwing in screws (not shown in the figure) through the holes 29, 30 in the side wall 13.
  • the sun protection device 10 has a winding shaft 31 onto which the curtain 15 can be wound in a known manner.
  • the sun protection device 10 can be pushed onto the holding element 22 from below in the figure and secured thereto in a manner explained in more detail below.
  • FIG 3 12 shows a cross section of the sunshade device 10 and the frame 12 of FIG 1 .
  • the sun protection device 10 has a carrier 32 which is fastened to the holder 14, as explained in more detail below.
  • the cover 16 and the end cap 17 rest on the front side 19 and thus cover an upper light gap.
  • the figure also shows a disc 33 on the end of the frame 12 facing away from the cover 16 .
  • the curtain 15 extends approximately parallel to the pane 11 in the state shown extend down to shade the light entry opening or wind it up again on the winding shaft 31 by the spring force of a spring that is not described in detail.
  • FIG. 4 shows the section XX of 3 .
  • the holder 14 bears against the side wall 13 with a contact surface 34 arranged on the side of the base 21 facing away from the holding element 22 .
  • the carrier 32 has a projection 35 on its end facing away from the winding shaft 31 .
  • the projection 35 is designed as a web 35 and is arranged in the recess 28 of the holding element 22 .
  • the sun protection device 10 can be mounted in the frame 12 by means of the holder 14, in which the side wall 13 and the front side 19 form approximately a right angle with one another. Since the web 35 can be moved in the receptacle 28 in a hinge-like manner similar to a socket joint, the sun protection device 10 can also be fastened in the same way in other frames with the holder 14, in which the side wall 13 and the front side 19 have a larger angle than 90 degrees to each other.
  • FIG 5 shows a similar representation 4 .
  • the sun protection device 10 is mounted in a frame 36 by means of the holder 14 .
  • the frame 36 differs from the frame 12 in that the side wall 13 and the front 19 are at an angle greater than 90 degrees to one another.
  • the side wall 13 and the front 19 have an angle of 105 degrees to each other.
  • this is the largest angle for which the holder 14 can be used.
  • the carrier 32 comes to rest against the side wall 13 with its lower end in the figure. This is possible, although the holder 14 as well as in 4 is attached to the side wall 13 at the same angle to the latter.
  • the contact surface 34 rests against the side wall 13 .
  • the web 35 can be moved in the receptacle 28 like in a joint socket.
  • the light gap at the side of the winding shaft 31 can continue to be covered by the end cap 17 .
  • assembly in frame geometries is possible in which the angle of the side wall 13 and the front side 19 is between 90 degrees and 105 degrees.
  • the height of the web 23 may have to be increased, so that a larger distance between the holding element 22 and the contact surface 34 is realized.
  • FIG. 6 shows a similar representation 4 .
  • a frame 37 is shown in which the side wall 13 is at an angle greater than 90 degrees to a front face 39 of the frame 37 .
  • the angle between the side wall 13 and the front 39 is 95 degrees.
  • a shoulder 38 is provided between the side wall 13 and the front side 39 . It can be seen from the figure that even with this angle between the side wall 13 and the front side 39 and despite the step 38, the same holder 14 can be used for mounting the sun protection device 10.
  • the sun protection device 10 is mounted in a frame 40 by means of the holder 14 .
  • the angle between the side wall 13 and the front 19 is 102 degrees.
  • assembly with the holder 14 is possible in the same way.
  • FIG. 8 shows a schematic partial representation of the frame 12 for mounting the holder 14.
  • a positioning aid 41 is arranged in the upper left corner of the frame 12.
  • FIG. The positioning aid has two supports 42, 43 on a handle 44 at opposite ends.
  • receptacles 45, 46 for the pins 25, 26 of the holder 14 are provided on the side of the supports 42, 43 facing away from the handle.
  • the pins 25, 26 are in the associated receptacles 45, 46.
  • the positioning aid further has stops 47, 48 for striking against the side wall 13 and stops 49, 50 for striking against the upper edge 20 on. At the in the 8 the state shown, the stop 49 rests against the upper edge 20 .
  • the stop 50 comes to rest with the upper edge 20.
  • the position of the holder 14 on the side wall 13 is fixed by the rest of the supports 42, 43 on the front side 19 of the frame 12 and by the stop 49 striking the upper edge 20. Since the pins 25, 26 are in the receptacles 45, 46, a different angle between the positioning aid 41 and the holder 14 is possible with other frame geometries. In this way, the holder 14 is always reliably positioned for the respective frame geometry. After the position of the holder 14 has been determined by means of the positioning aid 41, the holder 14 can be screwed tightly to the side wall 13 through the holes 29, 30 by means of screws 51, 52.
  • FIG 9 shows the holder 14 of FIG 8 after screwing the screws 51, 52 through the holes 29, 30 into the side wall 13, the positioning aid being removed from the holder 14. Because of the interaction of the stop 49 with the upper edge 20, the height of the holder 14 is correctly adjusted. Through the interaction of the supports 42, 43 with the front side 19, the spacing of the holding element 22 is in turn set correctly in such a way that the cover 16 and the end cap 17 come to rest on the front side 19.
  • the holder 14 shows the positioning aid 41 in a perspective view when it has been removed from the holder 14 .
  • the holder 14 also has a latching hook 53 . After sliding the sun protection device 10 onto the holding element 22 of the holder 14 , the carrier 32 snaps into the snap-in hook 53 by means of snap-in elements corresponding to the snap-in hook and is thus held securely on the holder 14 .
  • the figure also shows how the receptacles 45, 46 can be plugged onto the pins 25, 26. It can also be seen that the positioning aid 41 can be pivoted about these pins 25, 26 when the receptacles 45, 46 are pushed onto the pins 25, 26.
  • FIG. 11 shows a similar representation 10 from a different perspective. The figure serves to better illustrate the interaction of positioning aid 41 and holder 14.
  • FIG. 12 shows a similar representation 10 .
  • the positioning aid 41 is pushed onto the holder 14 in such a way that the pins 25, 26 are accommodated in the receptacles 45, 46.
  • FIG. 13 shows a plan view of the positioning aid 41 and the holder 14.
  • the positioning aid 41 is removed from the holder 14. The figure serves to better understand how the positioning aid works.
  • the Figures 15 to 17 show the positioning aid 41 arranged on the holder 14 in different geometries. It can be seen from the figures that the position of the holder relative to a front of a frame increases as the angle between the side wall and the front increases. In this way, a correct positioning of the holder is achieved by means of the positioning aid at the respective angle between the side wall and the front side.
  • FIG. 18 shows a perspective partial view of a frame 12. Shown is a perspective view of the upper left corner. As can be seen from the figure, the frame 12 has a mounting part 54 on the side wall 13 in its upper left corner. There are window manufacturers who provide such assembly parts 54 for the assembly of their own sun protection devices.
  • FIG 19 shows the arrangement of the holder 14 in the frame 12 with mounting part 54 of FIG 18 .
  • the holder 14 can also be used in the presence of such mounting parts 54, the holder 14 has a recess above its base 21.
  • the base 21 comes to lie on the underside of the mounting part 54, while the web 23 is arranged on an unnumbered front side of the mounting part 54.
  • the holder 14 can be positioned in the manner described and screwed to the side wall 13 by means of the screws 51, 52.
  • the holder 14 can thus be used independently of the frame geometry and the presence of assembly parts 54 and can be reliably positioned by means of the positioning aid 41 .
  • the 20 12 shows a holder 55 as another embodiment of the invention.
  • the same elements carry the same reference numbers.
  • the holder 55 has a frame 56 which encloses a recess 57.
  • the dimensions of this recess 57 correspond to those of the assembly part 54.
  • the holder 25 has a holding element 28 similar to the holding element 22 .
  • the same elements carry the same reference numbers.
  • the holding element 58 has no pins 25, 26, since positioning is effected by the mounting part 54. But it is also possible that the holding element 58 also has pins 25, 26. In this way, the holder 55 can be used with or without the mounting part 54 and with different frame geometries.
  • FIG 21 shows a plan view of the side wall 13 of the holder 55 of FIG 20 .
  • the frame 56 encloses the mounting part 54 in a non-positive manner.
  • the holder 55 is held securely on the mounting part 54 by plugging the frame 56 onto the mounting part 54 .
  • a further screw connection by means of screws 51, 52 through the holes 29, 30 is not necessary in this case.
  • the cover 16 has a web 59 at its end facing the end cap 17.
  • the web 59 in turn has a slot 60, the position of which corresponds to that of the hole 24 when the sun protection device 10 is pushed onto the holding element 22 .
  • the sun protection device 52 is pushed onto the holding element 22 with its carrier 32 , the sun protection device 10 can be secured on the holder 24 by means of the latching hook 53 .

Landscapes

  • Engineering & Computer Science (AREA)
  • Structural Engineering (AREA)
  • Architecture (AREA)
  • Civil Engineering (AREA)
  • Curtains And Furnishings For Windows Or Doors (AREA)

Description

  • Die Erfindung betrifft eine Sonnenschutzvorrichtung mit einer Haltevorrichtung mit zwei Haltern zum Montieren an eine Lichteintrittsöffnung einander zugewandten begrenzenden Seitenwänden, wobei die Halter jeweils eine Anlagefläche zum Anlegen an die Seitenwand und ein Halteelement haben, an dem die Sonnenschutzvorrichtung unter einer ersten Orientierung zu der Anlagefläche angeordnet werden kann.
  • Ein Befestigungssystem für Sonnenschutzanlagen ist aus der DE 10 2005 062 995 B3 bekannt. Derartige Haltevorrichtungen dienen zum Halten von Sonnenschutzvorrichtungen an insbesondere Dachflächenfenstern. Die Sonnenschutzvorrichtung wird bei diesen Dachflächenfenstern an der Innenseite der Lichteintrittsöffnung am Fensterrahmen befestigt. Dazu werden Halter paarweise an den die Lichteintrittsöffnung begrenzenden Seitenwänden angeordnet. Es gibt allerdings mehrere Systeme Dachflächenfenster, die mit unterschiedlichen Rahmengeometrien arbeiten. Insbesondere kann die die Lichteintrittsfläche begrenzende Seitenwand rechtwinklig zu der Lichteintrittsöffnung ausgerichtet sein oder einen von 90° abweichenden, im Regelfall größeren Winkel zu der Lichteintrittsöffnung haben. Üblicherweise ist für jede Rahmengeometrie, also jeden Winkel der Seitenwand zu der Lichteintrittsöffnung, ein darauf abgestimmter Haltersatz vorgesehen. Dies führt zu unerwünschtem Material- und Lagerhaltungsaufwand und kann zu Fehlmontage bei Verwendung ungeeigneter Halter führen.
  • Die DE 10 2005 062 995 B3 löst dieses Problem, indem eine konvexe Auflagefläche an dem Halter vorgesehen ist, wobei verschiedene Bohrungen für unterschiedliche Winkel der Seitenwand vorgesehen sind. Auf diese Weise wird die Orientierung des Halters zu der Seitenwand dem jeweiligen Neigungswinkel angepasst.
  • Nachteilig bei dieser Lösung ist, dass jeweils nur ein verhältnismäßig kleiner Teil der konvexen Anlagefläche des Halters an der Seitenwand anliegt. Es ergibt sich dadurch eine verhältnismäßig flexible Anbringung des Halters an der Seitenwand. Durch die dadurch auftretenden großen Hebelkräfte kann somit im Betrieb der Sonnenschutzvorrichtung oder bei der Montage derselben an den Haltern eine Positionsveränderung der Halter, insbesondere ein Verschwenken derselben, nicht verhindert werden. Auf diese Weise können Beschädigungen am Fensterrahmen, wie auch an dem Halter, auftreten.
  • Eine Haltevorrichtung ist aus der US 2,301,863 A bekannt. Die hier gezeigte Haltevorrichtung dient zum Befestigen eines Sonnenschutzes an einem Fensterrahmen. Die Haltevorrichtung besteht aus einem Scharnierblatt als Anlagefläche zum Anlegen an den Fensterrahmen und einer Halterung für den Sonnenschutz. Das Scharnierblatt und die Halterung sind mittels eines Scharnierstifts verschwenkbar miteinander verbunden. Der Sonnenschutz ist an der Halterung fixiert.
  • Das der Erfindung zugrundeliegende Problem ist es, bei einer Sonnenschutzvorrichtung mit einer Haltevorrichtung der eingangs genannten Art unnötigen Lagerhaltungsaufwand zu reduzieren und eine Fehlmontage möglichst zu vermeiden, wobei gleichzeitig eine sichere und insbesondere nicht schwenkbare Anordnung des Halters an der Seitenwand ermöglicht werden soll.
  • Das Problem wird bei einer Sonnenschutzvorrichtung mit einer Haltevorrichtung der eingangs genannten Art dadurch gelöst, dass das Halteelement von der Anlagefläche beabstandet ist, und dass die Sonnenschutzvorrichtung unter mindestens einer zweiten Orientierung zu der Anlagefläche an dem Halteelement angeordnet werden kann.
  • Auf diese Weise kann derselbe Halter für mindestens zwei Rahmengeometrien verwendet werden. Es ist auf diese Weise nicht erforderlich, die Orientierung des Halters zu der Seitenwand abhängig von deren Neigungswinkel zu verändern. Dadurch kann die Anlagefläche bzw. der Halter so ausgebildet werden, dass eine gute Anlage an der Seitenwand möglich ist und insbesondere geringe Hebelkräfte im Betrieb der Sonnenschutzvorrichtung oder bei deren Montage auftreten.
  • Eine Weiterbildung der Erfindung zeichnet sich dadurch aus, dass das Halteelement mindestens einen Zapfen aufweist, an dem die Sonnenschutzvorrichtung unter mehreren Orientierungen zu der Anlagefläche angeordnet werden kann. Dies macht die Konstruktion besonders einfach und ermöglicht eine vielfältige Verwendbarkeit. Insbesondere kann die Sonnenschutzvorrichtung an dem Zapfen schwenkbar angeordnet sein. Hierdurch sind beliebige Neigungswinkel realisierbar. Vorzugsweise kann das Halteelement als Schwenklager ausgebildet sein. Insbesondere bildet das Halteelement einen Teil eines Gelenkes oder Scharnieres. Dies ergibt eine hohe Stabilität bei gleichzeitig flexibler Verwendung für unterschiedliche Neigungswinkel und ist außerdem einfach und kostengünstig herstellbar.
  • Eine andere Weiterbildung der Erfindung zeichnet sich dadurch aus, dass das Halteelement zum Aufschieben der Sonnenschutzvorrichtung vorgesehen ist. Auf diese Weise wird das Montieren der Sonnenschutzvorrichtung an dem Halter besonders einfach. Das Aufschieben der Sonnenschutzvorrichtung kann parallel zu einer Schwenkachse des Schwenklagers vorgesehen sein. Dies ergibt eine einfache Konstruktion, da die erforderliche Ausgestaltung der Mittel zum Aufschieben nicht mit der erforderlichen Ausführung zur Schwenkbarkeit in die verschiedenen Positionen für die unterschiedlichen Neigungswinkel kollidiert.
  • Eine vorteilhafte Ausgestaltung der Erfindung zeichnet sich dadurch aus, dass das Halteelement Befestigungsmittel für die Sonnenschutzvorrichtung aufweist. Dies macht die Montage der Sonnenschutzvorrichtung an dem Halter besonders einfach. Insbesondere können Rastmittel und/oder ein Loch zum Einschrauben einer Schraube vorgesehen sein. In beiden Fällen ist eine leichte Montage und eine zuverlässige Befestigung der Sonnenschutzvorrichtung an dem Halter möglich.
  • Die zwei Halter der Haltevorrichtung ergeben einen sicheren und spielfreien Sitz der Sonnenschutzvorrichtung in der Lichteintrittsöffnung.
  • Bei einer anderen Ausführungsform ist vorgesehen, dass der Halter Befestigungsmittel zum Befestigen an der Seitenwand aufweist. Hierdurch kann der Halter einfach und zuverlässig an der Seitenwand befestigt werden. Insbesondere können Öffnungen vorgesehen sein, bevorzugt Schraublöcher. Durch Hindurchgreifen einer geeigneten Befestigung durch die Öffnungen bzw. durch Hindurchschrauben durch die Schraublöcher ist so eine Befestigung des Halters an der Seitenwand einfach möglich. Vorzugsweise kann der Halter auch eine Aussparung für ein an der Seitenwand angeordnetes Montageteil haben. Derartige Montageteile sind bei einigen Dachflächenfenstern üblich. Auf diese Weise ist der erfindungsgemäße Halter auch bei derartigen Dachflächenfenstern verwendbar. Insbesondere bildet die Aussparung eine Aufnahme für das Montageteil. Durch das Zusammenwirken dieser Aufnahme mit dem Montageteil kann so auf weitere Befestigungsmittel verzichtet werden. Wenn die Aufnahme für eine kraftschlüssige und/oder formschlüssige Verbindung mit dem Montageteil ausgebildet ist, ergibt sich mit geringem Montageaufwand ein sicherer Sitz. Wenn bei einer besonders bevorzugten Ausführungsform die Anlagefläche plan ist, wird so ein fester Sitz bei geringen auftretenden Hebelkräften gewährleistet.
  • Besonders vorteilhaft lässt sich die Erfindung als Teil eines Sonnenschutzsystems verwenden. Hierbei ist es von Vorteil, wenn eine Positionierhilfe für den Halter vorgesehen ist. Auf diese Weise lässt sich die Montage an der vorgegebenen Position der Seitenwand sicher gewährleisten. Die Positionierhilfe kann vorzugsweise an dem Halteelement angeordnet werden. Auf diese Weise lässt sich die Position des Halteelementes selber, auf die es letztendlich bei der Anbringung der Sonnenschutzvorrichtung ankommt, sicher gewährleisten. Es ist außerdem von Vorteil, wenn die Positionierhilfe in mehreren Orientierungen zu der Anlagefläche anbringbar ist. Vorzugsweise sollte die Positionierhilfe schwenkbar an dem Halteelement anbringbar sein. Auf diese Weise kann mit einer Positionierhilfe und einem Halter eine sichere Positionierung des Halters, unabhängig vom Neigungswinkel der Seitenwand zu der Lichteintrittsfläche, gewährleistet werden.
  • Es ist weiter von Vorteil, wenn die Positionierhilfe mindestens einen Anschlag zum Positionieren des Halters aufweist. Auf diese Weise kann durch Anlegen des Anschlags an die vorgesehene Stelle eine sichere Positionierung gewährleistet werden. Insbesondere dient der Anschlag zum Positionieren in Bezug auf einen oberen Rand der Lichteintrittsöffnung und/oder auf eine Vorderseite einer Fensterlaibung oder eines Fensterrahmens. Auf diese Weise lassen sich die Lichtspalte zwischen der Sonnenschutzvorrichtung und den Rahmenteilen des Dachflächenfensters auf ein Minimum reduzieren. Dadurch wird ein guter Sonnenschutz gewährleistet.
  • Nachfolgend werden Ausführungsbeispiele der Erfindung anhand der Zeichnungen näher erläutert. Es zeigen:
  • Fig. 1
    eine schematische Teilansicht einer Sonnenschutzvorrichtung mit einer Haltevorrichtung mit den Erfindungsmerkmalen,
    Fig. 2
    die Sonnenschutzvorrichtung von Fig. 1 in von der Haltevorrichtung abgenommenem Zustand,
    Fig. 3
    einen Querschnitt der Sonnenschutzvorrichtung von Fig. 1,
    Fig. 4
    den Schnitt X-X von Fig. 3 in vergrößerter Teildarstellung,
    Fig. 5
    eine Darstellung ähnlich Fig. 4,
    Fig. 6
    eine zweite Darstellung ähnlich Fig. 4,
    Fig. 7
    eine weitere Darstellung ähnlich Fig. 4,
    Fig. 8
    eine schematische Darstellung einer Positionierhilfe für die Haltevorrichtung mit den Erfindungsmerkmalen,
    Fig. 9
    die Haltevorrichtung von Fig. 8 im positionierten Zustand,
    Fig. 10
    eine Darstellung der Positioniereinrichtung und der Haltevorrichtung in voneinander gelöstem Zustand,
    Fig. 11
    eine Darstellung ähnlich der von Fig. 10 aus einer anderen Perspektive,
    Fig. 12
    eine Darstellung ähnlich Fig. 10 in einem Zustand, in dem die Positionierhilfe mit der Haltevorrichtung verbunden ist,
    Fig. 13
    eine Draufsicht auf die von dem Halter abgenommene Positionierhilfe,
    Fig. 14
    eine Abbildung der von dem Halter abgenommenen Positionierhilfe aus einer Blickrichtung in Fig. 13 von oben,
    Fig. 15
    eine Darstellung ähnlich Fig. 14 mit mit dem Halter verbundener Positionierhilfe unter einem ersten Winkel von Positionierhilfe und Halter,
    Fig. 16
    eine Darstellung ähnlich Fig. 15 mit einem zweiten Winkel zwischen Positionierhilfe und Halter,
    Fig. 17
    eine Darstellung ähnlich Fig. 15 mit einem weiteren Winkel zwischen Positionierhilfe und Halter,
    Fig. 18
    eine schematische Teildarstellung eines Fensterrahmens mit einem Montageteil,
    Fig. 19
    eine Darstellung ähnlich Fig. 18 mit an dem Montageteil angebrachtem Halter,
    Fig. 20
    eine Darstellung ähnlich Fig. 19 eines weiteren Halters mit den Erfindungsmerkmalen in von dem Montageteil abgenommenen Zustand,
    Fig. 21
    eine Draufsicht auf die Seitenwand mit auf das Montageteil aufgestecktem weiterem Halter, und
    Fig. 22
    eine Darstellung ähnlich Fig. 2 mit von einer Abdeckung der Sonnenschutzvorrichtung abgenommener Endkappe.
  • Fig. 1 zeigt eine schematische Teilansicht einer Sonnenschutzvorrichtung 10 als ein erstes Ausführungsbeispiel der Erfindung. Die Sonnenschutzvorrichtung 10 ist bei dem gezeigten Ausführungsbeispiel zum Verschatten einer Lichteintrittsöffnung 11 in einem Rahmen 12, nämlich einem Fensterrahmen 12 eines Dachflächenfensters angeordnet. Der Rahmen 12 hat der Sonnenschutzvorrichtung 10 zugewandte Seitenwände 13, von denen in der Figur nur eine Seitenwand 13 zu sehen ist. Die Seitenwände 13 begrenzen die Lichteintrittsöffnung 11 seitlich.
  • Wie sich der Figur weiter entnehmen lässt, ist an der Seitenwand 13 und der Sonnenschutzvorrichtung 10 zugewandt ein Halter 14 zum Halten der Sonnenschutzvorrichtung 10 angeordnet. Die Sonnenschutzvorrichtung 10 weist einen Behang 15 zum Verschatten der Lichteintrittsöffnung 11 auf. An der Oberseite des Behangs und den Rahmen 12 teilweise überdeckend ist eine Abdeckung 16 der Sonnenschutzvorrichtung 10 vorgesehen. Seitlich wird die Abdeckung 16 durch eine Endkappe 17 abgeschlossen. Am von der Abdeckung 16 abgewandten unteren Ende des Behanges 15 ist eine Abschlussleiste 18 vorgesehen.
  • Bei dem gezeigten Ausführungsbeispiel liegt die Endkappe 17 an einer Vorderseite 19 des Rahmens 12 an. Die Vorderseite 19 und die Seitenwand 13 bilden bei dem in Fig. 1 gezeigten Rahmen 12 einen rechten Winkel.
  • Fig. 2 zeigt die Sonnenschutzvorrichtung 10 von Fig. 1 in von dem Halter 14 abgenommenen Zustand.
  • Wie sich der Figur entnehmen lässt, weist der Rahmen 12 einen oberen Rand 20 auf, der in Fig. 1 von der Abdeckung 16 überdeckt wurde.
  • Bei dem gezeigten Ausführungsbeispiel hat der Halter 14 eine Basis 21, die an der Seitenwand 13 anliegt. Von der Basis 21 und der Seitenwand 13 beabstandet ist ein Halteelement 22 vorgesehen, das mittels eines Steges 23 mit der Basis 21 verbunden ist. Wie sich der Figur weiter entnehmen lässt, weist der Steg 23 ein Loch 24 auf. Durch Einschrauben einer nicht in der Figur dargestellten Schraube in das Loch 24 kann die Sonnenschutzvorrichtung an dem Halter gesichert werden, wie nachfolgend anhand von Fig. 22 noch näher erläutert wird.
  • Das Halteelement 22 hat bei dem gezeigten Ausführungsbeispiel einen oberen Zapfen 25 und einen unteren Zapfen 26 an voneinander abgewandten Enden eines Korpus 27. Der Korpus 27 hat außerdem an seiner von dem Steg 23 abgewandten Längsseite eine Aussparung 28. Wie sich der Figur weiter entnehmen lässt, weist die Basis 21 zwei Löcher 29, 30 auf. Durch Einschrauben von nicht in der Figur dargestellten Schrauben durch die Löcher 29, 30 in die Seitenwand 13 lässt sich der Halter 14 an dem Rahmen 12 befestigen.
  • Wie sich der Figur weiter entnehmen lässt, hat die Sonnenschutzvorrichtung 10 eine Wickelwelle 31 auf die der Behang 15 auf bekannte Weise aufgewickelt werden kann. Die Sonnenschutzvorrichtung 10 lässt sich auf nachfolgend noch näher erläuterte Weise in der Figur von unten auf das Halteelement 22 aufschieben und an diesem sichern.
  • Fig. 3 zeigt einen Querschnitt der Sonnenschutzvorrichtung 10 und des Rahmen 12 von Fig. 1. Wie sich der Figur entnehmen lässt, weist die Sonnenschutzvorrichtung 10 einen Träger 32 auf, der an dem Halter 14 befestigt wird, wie nachfolgend noch näher erläutert. In der Figur ist zu erkennen, dass die Abdeckung 16 und die Endkappe 17 auf der Vorderseite 19 aufliegen und so einen oberen Lichtspalt verdecken. In der Figur ist außerdem eine Scheibe 33 am von der Abdeckung 16 abgewandten Ende des Rahmens 12 eingezeichnet.
  • Wie sich der Figur entnehmen lässt, erstreckt sich der Behang 15 in dem gezeigten Zustand in etwa parallel zu der Scheibe 11. Durch Eingreifen in eine nicht mit einem Bezugszeichen versehene Nut in der Abschlussleiste 18 lässt sich der Behang 15 auf bekannte Weise in der Figur nach unten zum Verschatten der Lichteintrittsöffnung ausfahren oder durch Federkraft einer nicht näher beschriebenen Feder in der Wickelwelle 31 wieder auf diese aufwickeln.
  • Fig. 4 zeigt den Schnitt X-X von Fig. 3. Wie sich der Figur entnehmen lässt, liegt der Halter 14 mit einer auf der von dem Halteelement 22 abgewandten Seite der Basis 21 angeordneten Anlagefläche 34 an der Seitenwand 13 an.
  • Wie sich der Figur weiter entnehmen lässt, hat der Träger 32 einen Vorsprung 35 an seinem von der Wickelwelle 31 abgewandten Ende. Der Vorsprung 35 ist bei dem gezeigten Ausführungsbeispiel als Steg 35 ausgebildet und in der Aussparung 28 des Halteelementes 22 angeordnet.
  • In dem gezeigten Zustand kann die Sonnenschutzvorrichtung 10 mittels des Halters 14 in dem Rahmen 12 montiert werden, bei dem die Seitenwand 13 und die Vorderseite 19 etwa einen rechten Winkel miteinander bilden. Dadurch dass der Steg 35 in der Aufnahme 28 scharnierartig ähnlich wie in einer Gelenkpfanne bewegt werden kann, lässt sich mit dem Halter 14 die Sonnenschutzvorrichtung 10 auf gleiche Weise auch in anderen Rahmen befestigen, bei denen die Seitenwand 13 und die Vorderseite 19 einen größeren Winkel als 90 Grad zueinander haben.
  • Fig. 5 zeigt eine Darstellung ähnlich Fig. 4. Dabei ist die Sonnenschutzvorrichtung 10 mittels des Halters 14 in einem Rahmen 36 montiert. Der Rahmen 36 unterscheidet sich von dem Rahmen 12 dadurch, dass die Seitenwand 13 und die Vorderseite 19 einen größeren Winkel als 90 Grad zueinander haben. Bei dem gezeigten Ausführungsbeispiel haben die Seitenwand 13 und die Vorderseite 19 einen Winkel von 105 Grad zueinander. Wie sich der Figur entnehmen lässt, ist dies bei dem gezeigten Halter 14 der größte Winkel, für den der Halter 14 verwendbar ist. Der Träger 32 kommt in dem in der Figur gezeigten Montagezustand mit seinem in der Figur unteren Ende an der Seitenwand 13 zu liegen. Dies ist möglich, obwohl der Halter 14 wie auch in Fig. 4 unter gleichem Winkel zu der Seitenwand 13 an dieser befestigt ist. Dabei liegt die Anlagefläche 34 an der Seitenwand 13 an. Dies wird dadurch ermöglicht, dass der Steg 35 in der Aufnahme 28 wie in einer Gelenkpfanne bewegt werden kann. Der Lichtspalt seitlich der Wickelwelle 31 kann dabei weiterhin von der Endkappe 17 verdeckt werden.
  • Bei dem gezeigten Ausführungsbeispiel ist eine Montage in Rahmengeometrien möglich, bei denen der Winkel der Seitenwand 13 und der Vorderseite 19 zwischen 90 Grad und 105 Grad beträgt. Zur Verwendung bei größeren Winkeln zwischen der Seitenwand 13 und der Vorderseite 14 ist gegebenenfalls die Höhe des Steges 23 zu vergrößern, so dass ein größerer Abstand zwischen dem Halteelement 22 und der Anlagefläche 34 realisiert wird.
  • Fig. 6 zeigt eine Darstellung ähnlich Fig. 4. Im Unterschied zu der Darstellung von Fig. 4 ist jedoch ein Rahmen 37 dargestellt, bei dem die Seitenwand 13 einen größeren Winkel als 90 Grad zu einer Vorderseite 39 des Rahmens 37 hat. Bei dem gezeigten Ausführungsbeispiel beträgt der Winkel zwischen der Seitenwand 13 und der Vorderseite 39 95 Grad. Wie sich der Figur weiter entnehmen lässt, ist ein Absatz 38 zwischen der Seitenwand 13 und der Vorderseite 39 vorgesehen. Es lässt sich aus der Figur entnehmen, dass auch bei diesem Winkel zwischen Seitenwand 13 und Vorderseite 39 und trotz des Absatzes 38 der gleiche Halter 14 für die Montage der Sonnenschutzvorrichtung 10 verwenden lässt.
  • Fig. 7 zeigt eine Darstellung ähnlich Fig. 4. Bei der gezeigten Ansicht ist die Sonnenschutzvorrichtung 10 mittels des Halters 14 in einem Rahmen 40 montiert. Bei dem Rahmen 40 beträgt der Winkel zwischen der Seitenwand 13 und der Vorderseite 19 102 Grad. Auch hierbei ist eine Montage mit dem Halter 14 auf gleiche Weise möglich.
  • Wie sich den vorhergehenden Figuren entnehmen lässt, kann mit dem Halter 14 bei verschiedenen Rahmengeometrien eine zuverlässige Montage der Sonnenschutzvorrichtung 10 erreicht werden. Es ist hierzu lediglich der Abstand des Halters 14 von der Vorderseite 19 entsprechend des Winkels zwischen der Seitenwand 13 und der Vorderseite 19 anzupassen. Wie diese Anpassung auf einfache Weise zuverlässig erfolgen kann wird nachfolgend anhand der Fig. 8 bis 17 näher erläutert.
  • Fig. 8 zeigt eine schematische Teildarstellung des Rahmens 12 zur Montage des Halters 14. Wie sich der Figur entnehmen lässt, ist eine Positionierhilfe 41 in der oberen linken Ecke des Rahmens 12 angeordnet. Die Positionierhilfe hat zwei Auflagen 42, 43 an einem Griffstück 44 an voneinander abgewandten Enden. Auf der von dem Griffstück abgewandten Seite der Auflagen 42, 43 sind Aufnahmen 45, 46 für die Zapfen 25, 26 des Halters 14 vorgesehen. In dem gezeigten Zustand befinden sich die Zapfen 25, 26 in den zugehörigen Aufnahmen 45, 46. Wie sich der Figur weiterhin entnehmen lässt, weist die Positionierhilfe weiter Anschläge 47, 48 zum Anschlagen an die Seitenwand 13 und Anschläge 49, 50 zum Anschlagen an den oberen Rand 20 auf. Bei dem in der Fig. 8 dargestellten Zustand liegt der Anschlag 49 an dem oberen Rand 20 an. Bei rechtsseitiger Montage eines spiegelverkehrten Halters 14 in der rechten oberen Ecke eines Rahmens 12 kommt der Anschlag 50 mit dem oberen Rand 20 zur Anlage. Durch das Anliegen der Auflagen 42, 43 an der Vorderseite 19 des Rahmens 12 und durch Anschlagen des Anschlags 49 an den oberen Rand 20 ist die Position des Halters 14 an der Seitenwand 13 festgelegt. Da sich die Zapfen 25, 26 in den Aufnahmen 45, 46 befinden, ist bei anderen Rahmengeometrien ein anderer Winkel zwischen der Positionierhilfe 41 und dem Halter 14 möglich. Auf diese Weise wird der Halter 14 bei der jeweiligen Rahmengeometrie immer zuverlässig positioniert. Nach dem die Position des Halters 14 so mittels der Positionierhilfe 41 festgelegt worden ist, kann der Halter 14 mittels Schrauben 51, 52 durch die Löcher 29, 30 hindurch mit der Seitenwand 13 fest verschraubt werden.
  • Fig. 9 zeigt den Halter 14 von Fig. 8 nach Einschrauben der Schrauben 51, 52 durch die Löcher 29, 30 in die Seitenwand 13 hinein, wobei die Positionierhilfe von dem Halter 14 abgenommen ist. Wegen des Zusammenwirkens des Anschlages 49 mit dem oberen Rand 20 ist die Höhe des Halters 14 korrekt eingestellt. Durch das Zusammenwirken der Auflagen 42, 43 mit der Vorderseite 19 ist wiederum der Abstand des Halteelementes 22 derartig korrekt eingestellt, dass die Abdeckung 16 und die Endkappe 17 auf der Vorderseite 19 zu liegen kommen.
  • Fig. 10 zeigt die Positionierhilfe 41 in von dem Halter 14 abgenommenen Zustand in einer perspektivischen Darstellung. Wie sich der Figur außerdem entnehmen lässt, weist der Halter 14 außerdem einen Rasthaken 53 auf. Nach Aufschieben der Sonnenschutzvorrichtung 10 auf das Halteelement 22 des Halters 14 rastet der Träger 32 mittels mit dem Rasthaken korrespondierender Rastelemente in den Rasthaken 53 ein und ist so sicher an dem Halter 14 gehalten.
  • In der Figur zu sehen ist außerdem, wie die Aufnahmen 45, 46 auf die Zapfen 25, 26 aufgesteckt werden können. Es ist ferner ersichtlich, dass sich die Positionierhilfe 41 bei auf die Zapfen 25, 26 aufgeschobenen Aufnahmen 45, 46 um diese Zapfen 25, 26 verschwenken lässt.
  • Fig. 11 zeigt eine Darstellung ähnlich Fig. 10 aus einer anderen Perspektive. Die Figur dient der besseren Veranschaulichung des Zusammenwirkens von Positionierhilfe 41 und Halter 14.
  • Fig. 12 zeigt eine Darstellung ähnlich Fig. 10. In der Figur 12 ist die Positionierhilfe 41 derartig auf den Halter 14 aufgeschoben, dass die Zapfen 25, 26 in den Aufnahmen 45, 46 aufgenommen werden.
  • Fig. 13 zeigt eine Draufsicht auf die Positionierhilfe 41 und den Halter 14. Die Positionierhilfe 41 ist dabei von dem Halter 14 abgenommen. Die Figur dient dem besseren Verständnis der Wirkungsweise der Positionierhilfe.
  • Fig. 14 zeigt die Positionierhilfe 41 und den Halter 14 von Fig. 13 in der Fig. 13 von oben her gesehen.
  • Die Fig. 15 bis 17 zeigen die an dem Halter 14 angeordnete Positionierhilfe 41 unter verschiedenen Geometrien. Aus den Figuren ist ersichtlich, dass sich die Position des Halters relativ zu einer Vorderseite eines Rahmens mit größer werdendem Winkel zwischen Seitenwand und Vorderseite vergrößert. Auf diese Weise wird bei dem jeweiligen Winkel zwischen Seitenwand und Vorderseite eine korrekte Positionierung des Halters mittels der Positionierhilfe erreicht.
  • Fig. 18 zeigt eine perspektivische Teildarstellung eines Rahmens 12. Gezeigt ist ein perspektivischer Einblick in die obere linke Ecke. Wie sich der Figur entnehmen lässt, weist der Rahmen 12 in seiner linken oberen Ecke an der Seitenwand 13 ein Montageteil 54 auf. Es gibt Fensterhersteller die derartige Montageteile 54 zur Montage von eigenen Sonnenschutzvorrichtungen vorsehen.
  • Fig. 19 zeigt die Anordnung des Halters 14 in dem Rahmen 12 mit Montageteil 54 von Fig. 18. Damit der Halter 14 auch bei Vorhandensein derartiger Montageteile 54 verwendet werden kann, hat der Halter 14 oberhalb seiner Basis 21 eine Aussparung. Auf diese Weise kommt die Basis 21 an der Unterseite des Montageteiles 54 zu liegen, während der Steg 23 an einer nicht mit einem Bezugszeichen versehenen Vorderseite des Montageteiles 54 angeordnet ist. Auf diese Weise kann der Halter 14 auf die beschriebene Weise positioniert und mittels der Schrauben 51, 52 an der Seitenwand 13 verschraubt werden. Der Halter 14 kann somit unabhängig von der Rahmengeometrie und dem Vorhandensein von Montageteilen 54 verwendet und mittels der Positionierhilfe 41 zuverlässig positioniert werden.
  • Fig. 20 zeigt einen Halter 55 als ein weiteres Ausführungsbeispiel der Erfindung. Gleiche Elemente tragen die gleichen Bezugsziffern. Im Unterschied zu dem Halter 14 hat der Halter 55 einen Rahmen 56, der eine Aussparung 57 umschließt. Diese Aussparung 57 entspricht von ihren Abmessungen dem Montageteil 54.
  • Außerdem weist der Halter 25 ein Halteelement 28 ähnlich dem Halteelement 22 auf. Gleiche Elemente tragen die gleichen Bezugsziffern. Im Unterschied zu dem Halteelement 22 hat das Halteelement 58 keine Zapfen 25, 26, da eine Positionierung durch das Montageteil 54 erfolgt. Es ist aber auch möglich, dass das Halteelement 58 ebenfalls über Zapfen 25, 26 verfügt. Auf diese Weise kann der Halter 55 mit oder ohne Montageteil 54 und bei verschiedenen Rahmengeometrien verwendet werden.
  • Fig. 21 zeigt eine Draufsicht auf die Seitenwand 13 des Halters 55 von Fig. 20. Wie sich der Figur entnehmen lässt, schließt der Rahmen 56 das Montageteil 54 kraftschlüssig ein. Auf diese Weise ist der Halter 55 durch Aufstecken des Rahmens 56 auf das Montageteil 54 sicher an diesem gehalten. Eine weitere Verschraubung mittels Schrauben 51, 52 durch die Löcher 29, 30 ist in diesem Fall entbehrlich.
  • Fig. 22 zeigt eine Darstellung ähnlich Fig. 2, wobei in dieser Figur die Endkappe 17 von der Abdeckung 16 abgenommen ist. Wie sich der Figur entnehmen lässt, hat die Abdeckung 16 an ihrem der Endkappe 17 zugewandten Ende einen Steg 59. Der Steg 59 weist wiederum einen Schlitz 60 auf, dessen Position dem des Loches 24 entspricht, wenn die Sonnenschutzvorrichtung 10 auf das Halteelement 22 aufgeschoben ist. Schiebt man also die Sonnenschutzvorrichtung 52 mit ihrem Träger 32 auf das Halteelement 22 auf, so kann die Sonnenschutzvorrichtung 10 mittels des Rasthakens 53 an dem Halter 24 gesichert werden. Es ist allerdings auch möglich, alternativ oder zusätzlich eine Schraube 61 durch den Schlitz 60 hindurch in das Loch 24 einzuschrauben. Auch auf diese Weise wird alternativ oder zusätzlich die Sonnenschutzvorrichtung an dem Halter 14 gesichert. Bezuszeichenliste:
    10 Sonnenschutzvorrichtung 37 Rahmen
    11 Lichteintrittsöffnung 38 Absatz
    12 Rahmen 39 Vorderseite
    13 Seitenwand 40 Rahmen
    14 Halter 41 Positionierhilfe
    15 Behang 42 Auflage
    16 Abdeckung 43 Auflage
    17 Endkappe 44 Griffstück
    18 Abschlussleiste 45 Aufnahme
    19 Vorderseite 46 Aufnahme
    20 Oberer Rand 47 Anschlag
    21 Basis 48 Anschlag
    22 Halteelement 49 Anschlag
    23 Steg 50 Anschlag
    24 Loch 51 Schraube
    25 Oberer Zapfen 52 Schraube
    26 Unterer Zapfen 53 Rasthaken
    27 Korpus 54 Montageteil
    28 Aussparung 55 Halter
    29 Loch 56 Rahmen
    30 Loch 57 Aussparung
    31 Wickelwelle 58 Halteelement
    32 Träger 59 Steg
    33 Scheibe 60 Schlitz
    34 Anlagefläche 61 Schraube
    35 Steg
    36 Rahmen

Claims (9)

  1. Sonnenschutzvorrichtung mit einer Haltevorrichtung mit zwei Haltern (14, 55) zum Montieren an eine Lichteintrittsöffnung (11) begrenzenden einander zugewandten Seitenwänden (13), wobei die Halter (14, 55) jeweils eine Anlagefläche (34) zum Anlegen an die Seitenwand (13) und ein Halteelement (22, 58) haben, an dem die Sonnenschutzvorrichtung (10) unter einer ersten Orientierung zu der Anlagefläche (34) angeordnet werden kann, dadurch gekennzeichnet, dass das Halteelement (22, 58) von der Anlagefläche (34) beabstandet ist, und dass das Halteelement (22) mindestens einen Zapfen (25, 26) aufweist, an dem die Sonnenschutzvorrichtung (10) unter der ersten Orientierung und unter mindestens einer zweiten Orientierung zu der Anlagefläche (34) anordenbar ist.
  2. Sonnenschutzvorrichtung nach Anspruch 1, dadurch gekennzeichnet, dass die Sonnenschutzvorrichtung (10) an dem Zapfen (25, 26) des Halteelements (22) unter mehreren Orientierungen zu der Anlagefläche (34), insbesondere schwenkbar, angeordnet werden kann, und/oder dass das Halteelement (22, 58) als Schwenklager ausgebildet ist, insbesondere einen Teil eines Gelenkes oder Scharnieres bildet.
  3. Sonnenschutzvorrichtung nach Anspruch 1 oder 2, dadurch gekennzeichnet, dass das Halteelement (22, 58) zum Aufschieben der Sonnenschutzvorrichtung (10), insbesondere parallel zu einer Schwenkachse des Schwenklagers, ausgebildet ist.
  4. Sonnenschutzvorrichtung nach einem der vorhergehenden Ansprüche, dadurch gekennzeichnet, dass die Halter (14, 55) Befestigungsmittel (53, 24) für die Sonnenschutzvorrichtung (10) aufweisen, insbesondere Rastmittel (53) und/oder ein Loch (24) zum Einschrauben einer Schraube (61).
  5. Sonnenschutzvorrichtung nach einem der vorhergehenden Ansprüche, dadurch gekennzeichnet, dass die Halter (14, 55) Befestigungsmittel zum Befestigen an der Seitenwand (13), insbesondere Öffnungen, bevorzugt Schraublöcher (29, 30), aufweisen.
  6. Sonnenschutzvorrichtung nach einem der vorhergehenden Ansprüche, dadurch gekennzeichnet, dass die Halter (14, 55) eine Aussparung (57) für ein an der Seitenwand (13) angeordnetes Montageteil (54) haben, die insbesondere eine Aufnahme für das Montageteil (54) bildet, wobei vorzugsweise die Aufnahme für eine kraftschlüssige oder formschlüssige Verbindung mit dem Montageteil (54) ausgebildet ist.
  7. Sonnenschutzvorrichtung nach einem der vorhergehenden Ansprüche, dadurch gekennzeichnet, dass die Anlagefläche (34) plan ist.
  8. Sonnenschutzsystem mit einer Sonnenschutzvorrichtung nach einem der vorhergehenden Ansprüche, gekennzeichnet durch eine Positionierhilfe (41) für einen Halter (14) wobei die Positionierhilfe (41) vorzugsweise an dem Halteelement (22), insbesondere in mehreren Orientierungen zu der Anlagefläche (34), besonders bevorzugt schwenkbar, anbringbar ist.
  9. Sonnenschutzsystem nach Anspruch 8, dadurch gekennzeichnet, dass die Positionierhilfe (41) mindestens einen Anschlag (42, 43, 49, 50) zum Positionieren eines Halters (14) aufweist, insbesondere in Bezug auf einen oberen Rand (20) der Lichteintrittsöffnung (11) und/oder auf eine Vorderseite (19) einer Fensterlaibung oder eines Fensterrahmens (12).
EP17202730.2A 2016-11-28 2017-11-21 Haltevorrichtung zum halten einer sonnenschutzvorrichtung und haltesystem Active EP3327240B1 (de)

Applications Claiming Priority (1)

Application Number Priority Date Filing Date Title
DE102016122915.6A DE102016122915A1 (de) 2016-11-28 2016-11-28 Haltevorrichtung zum Halten einer Sonnenschutzvorrichtung und Haltesystem

Publications (2)

Publication Number Publication Date
EP3327240A1 EP3327240A1 (de) 2018-05-30
EP3327240B1 true EP3327240B1 (de) 2023-05-10

Family

ID=60450438

Family Applications (1)

Application Number Title Priority Date Filing Date
EP17202730.2A Active EP3327240B1 (de) 2016-11-28 2017-11-21 Haltevorrichtung zum halten einer sonnenschutzvorrichtung und haltesystem

Country Status (4)

Country Link
EP (1) EP3327240B1 (de)
DE (1) DE102016122915A1 (de)
DK (1) DK3327240T3 (de)
PL (1) PL3327240T3 (de)

Families Citing this family (2)

* Cited by examiner, † Cited by third party
Publication number Priority date Publication date Assignee Title
EP4006295B1 (de) * 2020-11-27 2025-02-19 VKR Holding A/S Abschirmvorrichtung für ein dachfenster und dachfenster mit einer solchen abschirmvorrichtung
DE102021003122A1 (de) 2021-06-18 2022-12-22 Hunter Douglas Holding GmbH & Co. KG Montagevorrichtung für Plisseeanlagen

Citations (1)

* Cited by examiner, † Cited by third party
Publication number Priority date Publication date Assignee Title
EP3325753A1 (de) * 2015-07-21 2018-05-30 Somfy Activites Sa Vorrichtung zum aufwickeln einer abschirmung mit einer scharnierwandbefestigung

Family Cites Families (4)

* Cited by examiner, † Cited by third party
Publication number Priority date Publication date Assignee Title
US2301863A (en) * 1941-01-17 1942-11-10 Harry D Forse Double roller shade support and light shield
AT501233B1 (de) * 2004-12-22 2006-10-15 Wo & Wo Gruen Gmbh Kopfteil
DE102005062995B3 (de) 2005-12-30 2007-05-16 Warema Kunststofftechnik Und M Befestigungssystem für Sonnenschutzanlagen
DK2011951T3 (da) * 2007-07-03 2019-12-09 Hunter Douglas Ind Bv Holder sammen med og til understøtning af en afdækningsanordning

Patent Citations (1)

* Cited by examiner, † Cited by third party
Publication number Priority date Publication date Assignee Title
EP3325753A1 (de) * 2015-07-21 2018-05-30 Somfy Activites Sa Vorrichtung zum aufwickeln einer abschirmung mit einer scharnierwandbefestigung

Also Published As

Publication number Publication date
PL3327240T3 (pl) 2023-10-30
DE102016122915A1 (de) 2018-05-30
EP3327240A1 (de) 2018-05-30
DK3327240T3 (da) 2023-07-24

Similar Documents

Publication Publication Date Title
EP2715021B1 (de) Scharnier
DE4219681C2 (de) Einstellbares Abhebescharnier
DE1919146C3 (de) Scharnier
EP2331367B1 (de) Spiegelhalterung zum befestigen eines spiegels an einem fahrzeug und spiegel mit einer solchen spiegelhalterung
WO1989008180A1 (fr) Fixation pour dispositifs antisolaires
EP3327240B1 (de) Haltevorrichtung zum halten einer sonnenschutzvorrichtung und haltesystem
DE112014006955B4 (de) Türscharnier mit höhenverstellvorrichtung für eine drehende tür
EP3425155B1 (de) Klemmschutzeinrichtung für eine tür
EP2951374B1 (de) Laufteil zum führen eines möbelteils in einer führungsrichtung über eine führungsschiene und möbelbeschlag
DE4128486C2 (de) Verschlußvorrichtung für Flügel
DE102017121385A1 (de) Blendenträger und Schubkasten
DE2629727C3 (de) Heb- und absenkbare Auflage
DE102017206462B4 (de) System zur fixierung einer abdeckung an einem gepäckbehälter
DE3913319C2 (de)
DE69808038T2 (de) Verbesserung der gelenkigen Verbindung eines Flügels an einem Rahmen
EP1777363B1 (de) Vorrichtung zum Arretieren einer Tür eines Gehäuses
DE102022213472B3 (de) Halterung zum Halten einer Markisenkomponente, Lagerteil zum Lagern einer Tuchwelle und Markise
DE19828233A1 (de) Wandkonsole
EP2947247B1 (de) Wohndachfenster mit verstellbarem scharnier
EP3860400A1 (de) Befestigungsvorrichtung für eine blende eines schubkastens an einer zarge
EP2589735A2 (de) Beschlaganordnung
DE102018114585A1 (de) Schubkasten und Verfahren zur Montage einer Rückwand an einer Seitenzarge eines Schubkastens
EP3623558B1 (de) Deckelbeschlag zum schwenkbaren befestigen eines deckels an einem möbelkorpus
DE3117118A1 (de) Scharnier, insbesondere fuer tueren, wie tueren von sicherungs- oder schaltkaesten
DE7713094U1 (de) Griff, insbesondere haltegriff fuer fahrzeuge

Legal Events

Date Code Title Description
PUAI Public reference made under article 153(3) epc to a published international application that has entered the european phase

Free format text: ORIGINAL CODE: 0009012

STAA Information on the status of an ep patent application or granted ep patent

Free format text: STATUS: THE APPLICATION HAS BEEN PUBLISHED

AK Designated contracting states

Kind code of ref document: A1

Designated state(s): AL AT BE BG CH CY CZ DE DK EE ES FI FR GB GR HR HU IE IS IT LI LT LU LV MC MK MT NL NO PL PT RO RS SE SI SK SM TR

AX Request for extension of the european patent

Extension state: BA ME

STAA Information on the status of an ep patent application or granted ep patent

Free format text: STATUS: REQUEST FOR EXAMINATION WAS MADE

17P Request for examination filed

Effective date: 20181130

RBV Designated contracting states (corrected)

Designated state(s): AL AT BE BG CH CY CZ DE DK EE ES FI FR GB GR HR HU IE IS IT LI LT LU LV MC MK MT NL NO PL PT RO RS SE SI SK SM TR

STAA Information on the status of an ep patent application or granted ep patent

Free format text: STATUS: EXAMINATION IS IN PROGRESS

17Q First examination report despatched

Effective date: 20200224

GRAP Despatch of communication of intention to grant a patent

Free format text: ORIGINAL CODE: EPIDOSNIGR1

STAA Information on the status of an ep patent application or granted ep patent

Free format text: STATUS: GRANT OF PATENT IS INTENDED

INTG Intention to grant announced

Effective date: 20220518

GRAJ Information related to disapproval of communication of intention to grant by the applicant or resumption of examination proceedings by the epo deleted

Free format text: ORIGINAL CODE: EPIDOSDIGR1

STAA Information on the status of an ep patent application or granted ep patent

Free format text: STATUS: EXAMINATION IS IN PROGRESS

INTC Intention to grant announced (deleted)
GRAP Despatch of communication of intention to grant a patent

Free format text: ORIGINAL CODE: EPIDOSNIGR1

STAA Information on the status of an ep patent application or granted ep patent

Free format text: STATUS: GRANT OF PATENT IS INTENDED

GRAS Grant fee paid

Free format text: ORIGINAL CODE: EPIDOSNIGR3

GRAA (expected) grant

Free format text: ORIGINAL CODE: 0009210

STAA Information on the status of an ep patent application or granted ep patent

Free format text: STATUS: THE PATENT HAS BEEN GRANTED

INTG Intention to grant announced

Effective date: 20230316

AK Designated contracting states

Kind code of ref document: B1

Designated state(s): AL AT BE BG CH CY CZ DE DK EE ES FI FR GB GR HR HU IE IS IT LI LT LU LV MC MK MT NL NO PL PT RO RS SE SI SK SM TR

REG Reference to a national code

Ref country code: GB

Ref legal event code: FG4D

Free format text: NOT ENGLISH

REG Reference to a national code

Ref country code: AT

Ref legal event code: REF

Ref document number: 1566837

Country of ref document: AT

Kind code of ref document: T

Effective date: 20230515

Ref country code: CH

Ref legal event code: EP

REG Reference to a national code

Ref country code: DE

Ref legal event code: R096

Ref document number: 502017014700

Country of ref document: DE

REG Reference to a national code

Ref country code: IE

Ref legal event code: FG4D

Free format text: LANGUAGE OF EP DOCUMENT: GERMAN

P01 Opt-out of the competence of the unified patent court (upc) registered

Effective date: 20230515

REG Reference to a national code

Ref country code: DK

Ref legal event code: T3

Effective date: 20230720

REG Reference to a national code

Ref country code: NL

Ref legal event code: FP

REG Reference to a national code

Ref country code: LT

Ref legal event code: MG9D

PG25 Lapsed in a contracting state [announced via postgrant information from national office to epo]

Ref country code: SE

Free format text: LAPSE BECAUSE OF FAILURE TO SUBMIT A TRANSLATION OF THE DESCRIPTION OR TO PAY THE FEE WITHIN THE PRESCRIBED TIME-LIMIT

Effective date: 20230510

Ref country code: PT

Free format text: LAPSE BECAUSE OF FAILURE TO SUBMIT A TRANSLATION OF THE DESCRIPTION OR TO PAY THE FEE WITHIN THE PRESCRIBED TIME-LIMIT

Effective date: 20230911

Ref country code: NO

Free format text: LAPSE BECAUSE OF FAILURE TO SUBMIT A TRANSLATION OF THE DESCRIPTION OR TO PAY THE FEE WITHIN THE PRESCRIBED TIME-LIMIT

Effective date: 20230810

Ref country code: ES

Free format text: LAPSE BECAUSE OF FAILURE TO SUBMIT A TRANSLATION OF THE DESCRIPTION OR TO PAY THE FEE WITHIN THE PRESCRIBED TIME-LIMIT

Effective date: 20230510

PG25 Lapsed in a contracting state [announced via postgrant information from national office to epo]

Ref country code: RS

Free format text: LAPSE BECAUSE OF FAILURE TO SUBMIT A TRANSLATION OF THE DESCRIPTION OR TO PAY THE FEE WITHIN THE PRESCRIBED TIME-LIMIT

Effective date: 20230510

Ref country code: LV

Free format text: LAPSE BECAUSE OF FAILURE TO SUBMIT A TRANSLATION OF THE DESCRIPTION OR TO PAY THE FEE WITHIN THE PRESCRIBED TIME-LIMIT

Effective date: 20230510

Ref country code: LT

Free format text: LAPSE BECAUSE OF FAILURE TO SUBMIT A TRANSLATION OF THE DESCRIPTION OR TO PAY THE FEE WITHIN THE PRESCRIBED TIME-LIMIT

Effective date: 20230510

Ref country code: IS

Free format text: LAPSE BECAUSE OF FAILURE TO SUBMIT A TRANSLATION OF THE DESCRIPTION OR TO PAY THE FEE WITHIN THE PRESCRIBED TIME-LIMIT

Effective date: 20230910

Ref country code: HR

Free format text: LAPSE BECAUSE OF FAILURE TO SUBMIT A TRANSLATION OF THE DESCRIPTION OR TO PAY THE FEE WITHIN THE PRESCRIBED TIME-LIMIT

Effective date: 20230510

Ref country code: GR

Free format text: LAPSE BECAUSE OF FAILURE TO SUBMIT A TRANSLATION OF THE DESCRIPTION OR TO PAY THE FEE WITHIN THE PRESCRIBED TIME-LIMIT

Effective date: 20230811

PG25 Lapsed in a contracting state [announced via postgrant information from national office to epo]

Ref country code: FI

Free format text: LAPSE BECAUSE OF FAILURE TO SUBMIT A TRANSLATION OF THE DESCRIPTION OR TO PAY THE FEE WITHIN THE PRESCRIBED TIME-LIMIT

Effective date: 20230510

PG25 Lapsed in a contracting state [announced via postgrant information from national office to epo]

Ref country code: SK

Free format text: LAPSE BECAUSE OF FAILURE TO SUBMIT A TRANSLATION OF THE DESCRIPTION OR TO PAY THE FEE WITHIN THE PRESCRIBED TIME-LIMIT

Effective date: 20230510

PG25 Lapsed in a contracting state [announced via postgrant information from national office to epo]

Ref country code: SM

Free format text: LAPSE BECAUSE OF FAILURE TO SUBMIT A TRANSLATION OF THE DESCRIPTION OR TO PAY THE FEE WITHIN THE PRESCRIBED TIME-LIMIT

Effective date: 20230510

Ref country code: SK

Free format text: LAPSE BECAUSE OF FAILURE TO SUBMIT A TRANSLATION OF THE DESCRIPTION OR TO PAY THE FEE WITHIN THE PRESCRIBED TIME-LIMIT

Effective date: 20230510

Ref country code: RO

Free format text: LAPSE BECAUSE OF FAILURE TO SUBMIT A TRANSLATION OF THE DESCRIPTION OR TO PAY THE FEE WITHIN THE PRESCRIBED TIME-LIMIT

Effective date: 20230510

Ref country code: EE

Free format text: LAPSE BECAUSE OF FAILURE TO SUBMIT A TRANSLATION OF THE DESCRIPTION OR TO PAY THE FEE WITHIN THE PRESCRIBED TIME-LIMIT

Effective date: 20230510

REG Reference to a national code

Ref country code: DE

Ref legal event code: R097

Ref document number: 502017014700

Country of ref document: DE

PLBE No opposition filed within time limit

Free format text: ORIGINAL CODE: 0009261

STAA Information on the status of an ep patent application or granted ep patent

Free format text: STATUS: NO OPPOSITION FILED WITHIN TIME LIMIT

26N No opposition filed

Effective date: 20240213

PG25 Lapsed in a contracting state [announced via postgrant information from national office to epo]

Ref country code: SI

Free format text: LAPSE BECAUSE OF FAILURE TO SUBMIT A TRANSLATION OF THE DESCRIPTION OR TO PAY THE FEE WITHIN THE PRESCRIBED TIME-LIMIT

Effective date: 20230510

PG25 Lapsed in a contracting state [announced via postgrant information from national office to epo]

Ref country code: SI

Free format text: LAPSE BECAUSE OF FAILURE TO SUBMIT A TRANSLATION OF THE DESCRIPTION OR TO PAY THE FEE WITHIN THE PRESCRIBED TIME-LIMIT

Effective date: 20230510

Ref country code: IT

Free format text: LAPSE BECAUSE OF FAILURE TO SUBMIT A TRANSLATION OF THE DESCRIPTION OR TO PAY THE FEE WITHIN THE PRESCRIBED TIME-LIMIT

Effective date: 20230510

PG25 Lapsed in a contracting state [announced via postgrant information from national office to epo]

Ref country code: MC

Free format text: LAPSE BECAUSE OF FAILURE TO SUBMIT A TRANSLATION OF THE DESCRIPTION OR TO PAY THE FEE WITHIN THE PRESCRIBED TIME-LIMIT

Effective date: 20230510

PG25 Lapsed in a contracting state [announced via postgrant information from national office to epo]

Ref country code: LU

Free format text: LAPSE BECAUSE OF NON-PAYMENT OF DUE FEES

Effective date: 20231121

PG25 Lapsed in a contracting state [announced via postgrant information from national office to epo]

Ref country code: MC

Free format text: LAPSE BECAUSE OF FAILURE TO SUBMIT A TRANSLATION OF THE DESCRIPTION OR TO PAY THE FEE WITHIN THE PRESCRIBED TIME-LIMIT

Effective date: 20230510

Ref country code: LU

Free format text: LAPSE BECAUSE OF NON-PAYMENT OF DUE FEES

Effective date: 20231121

REG Reference to a national code

Ref country code: IE

Ref legal event code: MM4A

PG25 Lapsed in a contracting state [announced via postgrant information from national office to epo]

Ref country code: IE

Free format text: LAPSE BECAUSE OF NON-PAYMENT OF DUE FEES

Effective date: 20231121

PG25 Lapsed in a contracting state [announced via postgrant information from national office to epo]

Ref country code: IE

Free format text: LAPSE BECAUSE OF NON-PAYMENT OF DUE FEES

Effective date: 20231121

PG25 Lapsed in a contracting state [announced via postgrant information from national office to epo]

Ref country code: BG

Free format text: LAPSE BECAUSE OF FAILURE TO SUBMIT A TRANSLATION OF THE DESCRIPTION OR TO PAY THE FEE WITHIN THE PRESCRIBED TIME-LIMIT

Effective date: 20230510

PG25 Lapsed in a contracting state [announced via postgrant information from national office to epo]

Ref country code: BG

Free format text: LAPSE BECAUSE OF FAILURE TO SUBMIT A TRANSLATION OF THE DESCRIPTION OR TO PAY THE FEE WITHIN THE PRESCRIBED TIME-LIMIT

Effective date: 20230510

PG25 Lapsed in a contracting state [announced via postgrant information from national office to epo]

Ref country code: CY

Free format text: LAPSE BECAUSE OF FAILURE TO SUBMIT A TRANSLATION OF THE DESCRIPTION OR TO PAY THE FEE WITHIN THE PRESCRIBED TIME-LIMIT; INVALID AB INITIO

Effective date: 20171121

PG25 Lapsed in a contracting state [announced via postgrant information from national office to epo]

Ref country code: HU

Free format text: LAPSE BECAUSE OF FAILURE TO SUBMIT A TRANSLATION OF THE DESCRIPTION OR TO PAY THE FEE WITHIN THE PRESCRIBED TIME-LIMIT; INVALID AB INITIO

Effective date: 20171121

REG Reference to a national code

Ref country code: CH

Ref legal event code: U11

Free format text: ST27 STATUS EVENT CODE: U-0-0-U10-U11 (AS PROVIDED BY THE NATIONAL OFFICE)

Effective date: 20251201

PG25 Lapsed in a contracting state [announced via postgrant information from national office to epo]

Ref country code: TR

Free format text: LAPSE BECAUSE OF FAILURE TO SUBMIT A TRANSLATION OF THE DESCRIPTION OR TO PAY THE FEE WITHIN THE PRESCRIBED TIME-LIMIT

Effective date: 20230510

PGFP Annual fee paid to national office [announced via postgrant information from national office to epo]

Ref country code: NL

Payment date: 20251124

Year of fee payment: 9

PGFP Annual fee paid to national office [announced via postgrant information from national office to epo]

Ref country code: DE

Payment date: 20251126

Year of fee payment: 9

PGFP Annual fee paid to national office [announced via postgrant information from national office to epo]

Ref country code: GB

Payment date: 20251125

Year of fee payment: 9

PGFP Annual fee paid to national office [announced via postgrant information from national office to epo]

Ref country code: AT

Payment date: 20251118

Year of fee payment: 9

PGFP Annual fee paid to national office [announced via postgrant information from national office to epo]

Ref country code: DK

Payment date: 20251124

Year of fee payment: 9

PGFP Annual fee paid to national office [announced via postgrant information from national office to epo]

Ref country code: FR

Payment date: 20251124

Year of fee payment: 9

PGFP Annual fee paid to national office [announced via postgrant information from national office to epo]

Ref country code: BE

Payment date: 20251124

Year of fee payment: 9

PGFP Annual fee paid to national office [announced via postgrant information from national office to epo]

Ref country code: CH

Payment date: 20251201

Year of fee payment: 9

PGFP Annual fee paid to national office [announced via postgrant information from national office to epo]

Ref country code: CZ

Payment date: 20251111

Year of fee payment: 9

PGFP Annual fee paid to national office [announced via postgrant information from national office to epo]

Ref country code: PL

Payment date: 20251113

Year of fee payment: 9