EP3312940B2 - Kontakteinsatz für ein steckverbinderteil - Google Patents

Kontakteinsatz für ein steckverbinderteil Download PDF

Info

Publication number
EP3312940B2
EP3312940B2 EP17195383.9A EP17195383A EP3312940B2 EP 3312940 B2 EP3312940 B2 EP 3312940B2 EP 17195383 A EP17195383 A EP 17195383A EP 3312940 B2 EP3312940 B2 EP 3312940B2
Authority
EP
European Patent Office
Prior art keywords
contact
plug
frame part
housing
protective
Prior art date
Legal status (The legal status is an assumption and is not a legal conclusion. Google has not performed a legal analysis and makes no representation as to the accuracy of the status listed.)
Active
Application number
EP17195383.9A
Other languages
English (en)
French (fr)
Other versions
EP3312940B1 (de
EP3312940A1 (de
Inventor
Thorsten Diessel
Heinz Reibke
Volker JARMUTH
Michael Lüdke
Hartmut Schwettmann
Current Assignee (The listed assignees may be inaccurate. Google has not performed a legal analysis and makes no representation or warranty as to the accuracy of the list.)
Phoenix Contact GmbH and Co KG
Original Assignee
Phoenix Contact GmbH and Co KG
Priority date (The priority date is an assumption and is not a legal conclusion. Google has not performed a legal analysis and makes no representation as to the accuracy of the date listed.)
Filing date
Publication date
Family has litigation
First worldwide family litigation filed litigation Critical https://patents.darts-ip.com/?family=60043061&utm_source=google_patent&utm_medium=platform_link&utm_campaign=public_patent_search&patent=EP3312940(B2) "Global patent litigation dataset” by Darts-ip is licensed under a Creative Commons Attribution 4.0 International License.
Application filed by Phoenix Contact GmbH and Co KG filed Critical Phoenix Contact GmbH and Co KG
Publication of EP3312940A1 publication Critical patent/EP3312940A1/de
Application granted granted Critical
Publication of EP3312940B1 publication Critical patent/EP3312940B1/de
Publication of EP3312940B2 publication Critical patent/EP3312940B2/de
Active legal-status Critical Current
Anticipated expiration legal-status Critical

Links

Images

Classifications

    • HELECTRICITY
    • H01ELECTRIC ELEMENTS
    • H01RELECTRICALLY-CONDUCTIVE CONNECTIONS; STRUCTURAL ASSOCIATIONS OF A PLURALITY OF MUTUALLY-INSULATED ELECTRICAL CONNECTING ELEMENTS; COUPLING DEVICES; CURRENT COLLECTORS
    • H01R13/00Details of coupling devices of the kinds covered by groups H01R12/70 or H01R24/00 - H01R33/00
    • H01R13/648Protective earth or shield arrangements on coupling devices, e.g. anti-static shielding  
    • HELECTRICITY
    • H01ELECTRIC ELEMENTS
    • H01RELECTRICALLY-CONDUCTIVE CONNECTIONS; STRUCTURAL ASSOCIATIONS OF A PLURALITY OF MUTUALLY-INSULATED ELECTRICAL CONNECTING ELEMENTS; COUPLING DEVICES; CURRENT COLLECTORS
    • H01R13/00Details of coupling devices of the kinds covered by groups H01R12/70 or H01R24/00 - H01R33/00
    • H01R13/46Bases; Cases
    • H01R13/514Bases; Cases composed as a modular blocks or assembly, i.e. composed of co-operating parts provided with contact members or holding contact members between them
    • HELECTRICITY
    • H01ELECTRIC ELEMENTS
    • H01RELECTRICALLY-CONDUCTIVE CONNECTIONS; STRUCTURAL ASSOCIATIONS OF A PLURALITY OF MUTUALLY-INSULATED ELECTRICAL CONNECTING ELEMENTS; COUPLING DEVICES; CURRENT COLLECTORS
    • H01R13/00Details of coupling devices of the kinds covered by groups H01R12/70 or H01R24/00 - H01R33/00
    • H01R13/46Bases; Cases
    • H01R13/516Means for holding or embracing insulating body, e.g. casing, hoods
    • H01R13/518Means for holding or embracing insulating body, e.g. casing, hoods for holding or embracing several coupling parts, e.g. frames
    • HELECTRICITY
    • H01ELECTRIC ELEMENTS
    • H01RELECTRICALLY-CONDUCTIVE CONNECTIONS; STRUCTURAL ASSOCIATIONS OF A PLURALITY OF MUTUALLY-INSULATED ELECTRICAL CONNECTING ELEMENTS; COUPLING DEVICES; CURRENT COLLECTORS
    • H01R13/00Details of coupling devices of the kinds covered by groups H01R12/70 or H01R24/00 - H01R33/00
    • H01R13/648Protective earth or shield arrangements on coupling devices, e.g. anti-static shielding  
    • H01R13/655Protective earth or shield arrangements on coupling devices, e.g. anti-static shielding   with earth brace
    • HELECTRICITY
    • H01ELECTRIC ELEMENTS
    • H01RELECTRICALLY-CONDUCTIVE CONNECTIONS; STRUCTURAL ASSOCIATIONS OF A PLURALITY OF MUTUALLY-INSULATED ELECTRICAL CONNECTING ELEMENTS; COUPLING DEVICES; CURRENT COLLECTORS
    • H01R4/00Electrically-conductive connections between two or more conductive members in direct contact, i.e. touching one another; Means for effecting or maintaining such contact; Electrically-conductive connections having two or more spaced connecting locations for conductors and using contact members penetrating insulation
    • H01R4/28Clamped connections, spring connections
    • H01R4/48Clamped connections, spring connections utilising a spring, clip, or other resilient member

Definitions

  • the invention relates to a contact insert for a connector part according to the preamble of claim 1.
  • Such a contact insert comprises a frame part which has a plug-in section for plugging into another plug-in connector part, at least one electrical contact element arranged on the plug-in section and an earthing element arranged on the frame part to which a protective line can be connected.
  • a connector insert has several rows of contact elements.
  • the contact insert can be inserted into a bulkhead housing that is attached to a mounting wall.
  • PE metal part A grounding element (referred to as PE metal part) which is used to fasten a contact insert, for example in a plug housing, and has a so-called PE screw connection for connecting a protective line.
  • a contact insert with a frame part and a contact module insertable therein is known.
  • a connection device for connecting a protective conductor is arranged on the frame part, which has a connection arm with a screw connection.
  • a variety of contact modules can be inserted into a frame part known as a mounting frame. Some of the modules can also be used to connect protective conductors for so-called PE contacting (PE stands for "protective earth”). These contact modules are designed as screw connections.
  • DE 295 05 272 U1 discloses a sensor-actuator distributor with a distributor housing in which a circuit board is arranged, on which a plug part is arranged. The plug part can be connected to a connector plug.
  • DE 10 2013 108 383 discloses a connector module in whose housing an electrical contact is accommodated to which an earth connection can be applied.
  • JP 2004 319196 A discloses a contact device for shielded cable.
  • the contact insert has a Contacting device which has a housing with a plug-in opening for inserting the protective line and a spring element arranged on the housing for locking the protective line in the plug-in opening and for contacting the protective line with the earthing element.
  • Such a grounding element can be detachably mounted on a frame part of a contact insert with a contacting device arranged thereon. This can, if necessary, enable the contact insert to be equipped with a grounding element and a contacting device arranged thereon without having to adapt the design of the frame part. Such a grounding element with a contacting device arranged thereon can thus be used on an existing frame part and, if necessary, even retrofitted.
  • the protective cable is connected to the grounding element on the frame part via a spring-loaded connection.
  • the protective cable can be easily and conveniently inserted with a (stripped) wire end into the plug-in opening of the contacting device housing. It is inserted and thus reaches the area of the spring element, which locks the protective cable in the housing and ensures contact between the protective cable and the grounding element. Therefore, connection requires (only) plugging in the protective cable.
  • the locking and contact of the protective cable with the grounding element can advantageously occur automatically, without the need for further operating steps to secure the protective cable to the grounding element.
  • the spring element has a clamping leg that engages the protective cable when inserted into the plug-in opening.
  • the protective cable is locked in the housing of the contacting device via the clamping leg.
  • the clamping leg is configured, for example, to press the protective cable against a contact section of the grounding element, thus bringing the protective cable into electrical contact with the grounding element.
  • the protective cable When the protective cable is inserted into the plug-in opening of the housing, the protective cable acts on the clamping leg of the spring element and deflects it, preferably elastically, in such a way that the protective cable is locked in the housing and contacted with the grounding element.
  • the clamping leg is movably arranged within the housing.
  • the spring element in one embodiment, has a retaining leg, via which the spring element is held to the housing.
  • the retaining leg can, for example, be bent over to form the clamping leg and secured between housing sections of the housing in such a way that the spring element is attached to the housing via the retaining leg.
  • the connection between the protective cable and the contacting device is preferably detachable.
  • the contacting device can, for example, have a release element that can be actuated to release the protective cable and, for example, has an arm with which the release element acts on the spring element when actuated.
  • the release element can, for example, be actuated using a tool, such as a screwdriver, and can be pressed into the housing of the contacting device for actuation.
  • the release element acts with its arm on the clamping leg of the spring element and presses it out of contact with the protective cable, so that the locking of the protective cable in the housing is released and the protective cable can thus be pulled out of the plug-in opening.
  • the housing of the contacting device can have two (separate) plug-in openings for inserting two protective conductors and two spring elements for locking the protective conductors in the plug-in openings.
  • the contacting device thus provides two plug-in locations for connecting two protective conductors. It is also conceivable and possible, in principle, to provide even more plug-in locations, e.g., three or four plug-in locations, for connecting more than two protective conductors. In this way, multiple protective conductors can be connected to the contacting device in a simple and convenient manner, ensuring reliable electrical contact with the grounding element and reliable mechanical support.
  • Each spring element can be designed as described above and in particular have a clamping leg for locking and contacting the protective line.
  • the grounding element has, for example, a contact lug for establishing grounding contact with the additional connector part.
  • the contact lug can, for example, extend along a connection direction along which the connector parts are to be connected to one another on the frame part, so that when the connector part is plugged into the additional connector part, the contact lug runs onto an associated contact section on the additional connector part, thereby establishing a connection between the connector parts for common grounding.
  • the contact insert can be of modular design.
  • one or more modular contact modules can be attached to the frame part, which can be designed, for example, as a rectangular receiving frame, in order to modularly equip the frame part with contact modules and thus create an individual contact insert for a connector part.
  • Each contact module can have one or more plug-in openings for inserting electrical cables and can also have one or more contact elements for making contact with an associated further connector part.
  • a plurality of plug-in locations offset from one another along a transverse direction transverse to the connection direction
  • plug-in locations offset from one another along a transverse direction transverse to the connection direction
  • a contact module to be attached to the frame part can be designed such that a cable can be inserted into a plug-in opening of the contact module in one plug-in direction.
  • the protective cable can also be inserted into the plug-in opening of the contacting device along the plug-in direction, so that the protective cable is connected to the contacting device of the earthing element in the same direction as other electrical cables are connected to the plug-in openings of the contact module.
  • the electrical cables can also be connected to the contact module via spring-loaded connections, so that protective cables, like other cables (e.g., for data transmission or to provide an electrical supply), can be plugged into the contact insert in a simple, and possibly even automated, manner.
  • the frame part has a frame opening into which the contact module is inserted.
  • the frame part (which is rectangular in its basic shape) encloses the frame opening and thus creates a receiving space with slots into which one or more contact modules can be inserted. In the inserted position, they lock into the frame part and thus create a (modularly configurable) mating face on the frame part.
  • the one or more contact modules can be inserted into the frame opening in the insertion direction and are locked into the frame part in the inserted position.
  • the grounding element is arranged outside the frame opening on the frame part, for example on a narrow end face of the (rectangular) frame part. While one or more contact modules are thus inserted into the frame opening enclosed by the frame part, the grounding element with the contacting device arranged thereon is fastened outside the frame opening on the frame part, in particular in the region of the end face of the frame part. It is conceivable that the frame part has a (single) grounding element with a contacting device arranged thereon. However, it is also conceivable and possible that a grounding element is arranged on each side of the frame part on opposite end faces of the frame part, in which case both grounding elements or just one of the grounding elements can have a contacting device.
  • the grounding element is positively connected to the frame part.
  • the grounding element is thus attached to the frame part in such a way that a positive connection exists between the frame part and the grounding element, thus holding the grounding element to the frame part.
  • Such a positive connection can be established, for example, via an engagement section of the grounding element that can be inserted into an engagement opening in the frame part and (additionally or alternatively) via a locking section that creates a snap-in connection with the frame part.
  • the engagement section can, for example, be inserted along the plug-in direction into the associated engagement opening of the frame part and creates a positive connection between the grounding element and the frame part transversely to the plug-in direction.
  • the locking section can, for example, when the engagement section is inserted into the associated engagement opening, engage in a snap-in engagement with an undercut of the frame part in order to secure the grounding element to the frame part in a positive-locking manner along the plug-in direction. The engagement section and the locking section thus secure the grounding element to the frame part when attached to the frame part.
  • the housing of the contacting device is positively connected to the grounding element.
  • the housing can, for example, be made of an electrically insulating plastic material and encloses the spring element to create the spring-loaded connection.
  • the housing can, for example, have a positive-locking section (for example, in the form of a resilient latching tongue), via which the housing is latched to the grounding element in the attached position.
  • the connection between the housing of the contacting device and the grounding element is thus also positively latched, which enables easy attachment of the housing to the grounding element while also ensuring a firm hold in the attached position.
  • the contact insert can be used, for example, on a connector part, whereby such a connector part can have a connector housing in which the contact insert is accommodated.
  • a connector housing can be connected to an electrical cable with a plurality of conductors.
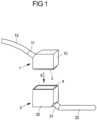
  • Fig. 1 shows a schematic view of two connector parts 1, 3 that can be plugged together along a connection direction E.
  • Each connector part 1, 3 has a connector housing 10, 30, in which a contact insert 2, 4 with contact elements arranged thereon is received.
  • a cable 12, 32 is connected to the connector housing 10, 30 via a cable outlet 11, 31 and is electrically connected within the connector housing 10, 30 to the contact elements of the respectively assigned contact insert 2, 4.
  • the present invention can be used not only for connector parts with manually handled connector housings, but can also be used, for example, for connectors provided on electrical systems, for example a control cabinet, in which a contact insert is to be fixed, for example, to a device wall, for example a control cabinet wall.
  • Each contact insert 2, 4 has a frame part 20, 40 in the form of a rectangular frame, which forms a frame opening 201, 401 into which—in the illustrated embodiment—a contact module 21, 41 is inserted.
  • a plug-in section 200, 400 is formed on the frame part 20, 40, wherein the plug-in section 200 of the first contact insert 2 forms a socket into which the plug-in section 400 of the frame part 40 of the other contact insert 4 can be inserted.
  • Each contact module 21, 41 has a plurality of plug-in openings 210, 410 into which electrical lines 24 (see Fig. 3 ) for electrical contact with contact elements 211, 411 in the form of contact pins or contact sockets.
  • electrical lines 24 see Fig. 3
  • the contact elements 211 of one, first contact insert 2 engage with the associated contact elements 411 of the other, second contact insert 4, so that electrical contact is established between the contact inserts 2, 4.
  • one or more contact modules can be inserted into the frame opening 201, 401 of each frame part 20, 40, so that individual contact arrangements can be created on the contact inserts 2, 4 to form a customized mating face.
  • one contact module 21, 41 is precisely inserted into the frame part 20, 40 and connected to the frame part 20, 40 in a snap-in manner.
  • Grounding elements 22, 42 are arranged on both sides of the frame part 20, 40, which, on the one hand, enable mechanical fixing of the contact insert 2, 4 to the associated connector housing 10, 30 via fastening elements 220, 420 and, on the other hand, provide protective contact between the contact inserts 2, 4.
  • Each grounding element 22, 42 is supported on the frame part 20, 40 assigned to it via locking sections 221, 421, whereby in this way (if the frame part 20, 40 is made of an electrically conductive material, in particular a metal material), the frame part 20, 40 can also be included in the grounding.
  • Contacting lugs 222, 422 extend on the respective associated plug-in section 200, 400 (see Fig. 5B in conjunction with Fig. 2 ) of the earthing elements 22, 42, which run onto each other when the contact inserts 2, 4 are plugged in and thus create an electrical contact between the earthing elements 22, 42 of the two contact inserts 2, 4.
  • contacting devices 23', 43' in the form of screw connections for connecting protective lines are provided on the earthing elements 22, 42.
  • a contacting device 23 is arranged on a grounding element 22, which contacting device comprises a housing 230 with two plug-in openings 231 for inserting protective lines 25 (see Fig. 6 ) and enables connection of the protective lines 25 by plug-in contact.
  • the contacting device 23 has, as can be seen from the sectional view according to Fig. 6 As can be seen, two spring elements 26 are enclosed and held in the housing 230, each of which is assigned to one of the plug-in openings 231. Each spring element 26 has a clamping leg 260, which extends into the area of the plug-in opening 231 assigned to the spring element 26 and serves to lock and contact a protective line 25 inserted into the plug-in opening 231. A holding leg 261 is bent over to form the clamping leg 260 and is enclosed between housing sections 233 of the housing 230, so that the spring element 26 is fixed in the housing 230 via the holding leg 261.
  • the clamping leg 260 is movable within the housing 230, undergoing elastic deformation relative to the retaining leg 261.
  • a (stripped) wire end 250 of the protective cable 25 presses against the clamping leg 260 and pushes it aside, allowing the wire end 250 to slide past the clamping leg 260 and be elastically pressed against a contacting portion 223 of the grounding element 22 via the end of the clamping leg 260.
  • the clamping leg 260 (acting like a barb) locks the protective cable 25 in the plug-in opening 231 when the protective cable 25 is (fully) inserted into the plug-in opening 231 with the wire end 250.
  • the protective line 25 is thus held mechanically on the contacting device 23 via the spring element 26 on the one hand and is in planar contact with the contacting section 223 of the earthing element 22 on the other hand due to elastic pressure of the clamping leg 260.
  • each plug-in opening 231 is assigned a release element 27, which can be displaced in a release opening 232 of the housing 230 such that, by applying pressure to the release element 27 (e.g., using a tool), the release element 27 slides with a body 270 in the release opening 232 and acts on the clamping leg 260 with an arm 271 protruding from the body 270, so that the latter is pressed out of contact with the wire end 250 of the protective cable 25.
  • the protective cable 25 can thus be pulled out of the associated plug-in opening 231.
  • Fig. 5A and 5B show a view of the contact insert 2 in the connected state with the contact insert 4 within the connector housing 30 associated with the contact insert 4 (the contact insert 2 is shown without the connector housing 10).
  • both contact inserts 2, 4 each have a contacting device 23, 43 on a respective grounding element 22, 42, so that the connection of protective lines 25 in a plug-in manner with a reliable mechanical connection and electrical contact is possible for both contact inserts 2, 4.
  • the contacting device 43 on the contact insert 4 is constructed identically to that described above for the contacting device 23 of the contact insert 2.
  • the contact lugs 222, 422 of the grounding elements 22, 42 are in contact with one another.
  • the contact lugs 222, 422 converge on one another and thus provide electrical contact for the common grounding of the contact inserts 2, 4.
  • the earthing element 22, 42 is positively connected to the associated frame part 20, 40 of the contact insert 2, 4, as will be explained below with reference to Fig. 7 to 11 will be explained using an earthing element 22 of the contact insert 2 having a contacting device 23.
  • the grounding element 22 has support sections 224 which extend transversely to the plugging direction S and carry the fastening elements 220 for fastening the contact insert 2 in the housing 10 of an associated connector part 1.
  • the support sections 224 rest on an end section 205 of the plug-in section 200 of the frame part 20, as can be seen, for example, from Fig. 8 can be seen, and are supported above it in the plugging direction S on the frame part 20.
  • the earthing element 22 (with the contacting device 23 arranged thereon) is attached in the plug-in direction S by pushing engagement sections 225 of the earthing element 22, which are bent over to form a wall section 226, in the plug-in direction S into engagement with associated engagement openings 203 on an end face 202 of the frame part 20 in order to thereby establish a positive connection (transverse to the plug-in direction S) between the earthing element 22 and the frame part 20.
  • the locking sections 221 which protrude from the support sections 224 counter to the plug-in direction S, snap into engagement with undercuts 204 on the end face 202 of the frame part 20, so that the earthing element 22 is fixed in a locking manner counter to the plug-in direction S on the end face 202 of the frame part 20.
  • the earthing element 22 is thus connected to the frame part 20 in a locking manner and is thereby fixed to the frame part 20.
  • the contacting device 23 is connected to the grounding element 22 via its housing 230 in a latching and thus form-fitting manner.
  • the housing 230 has form-fitting sections 234 on both sides in the form of resilient latching tongues, which engage with the contacting sections 223 of the grounding element 22 when the housing 230 is placed in the plug-in direction S on the grounding element 22, as can be seen from a synopsis of Fig. 7 and Fig. 11 can be seen.
  • the form-fitting sections 234 engage in latching openings 227 of the contacting sections 223 and thereby fix the housing 230 (with the spring elements 26 enclosed therein) to the grounding element 22.
  • the contacting device 23 can thus be attached to the grounding element 22 in a simple manner by plugging the housing 230 into the grounding element 22 in the plugging direction S.
  • the earthing element 22 can also be attached to the frame part 20 in a simple manner - with or without the contacting device 23 arranged thereon - so that the contact insert 2 can be easily installed.
  • a grounding element 22 with a contacting device 23 of the type described can be used in particular on existing frame parts 20 without the need to significantly adapt the design of the frame part 20.
  • Existing frame parts 20 can thus be equipped with grounding elements 22 and contacting devices 23 arranged thereon and, if necessary, also retrofitted.
  • a contacting device for contacting an associated grounding element may have one or more plug-in openings for connecting one or more protective conductors.
  • such a contacting device may have only one plug-in opening.
  • exactly one contact module is attached to the associated frame part of a contact insert.

Landscapes

  • Details Of Connecting Devices For Male And Female Coupling (AREA)
  • Connector Housings Or Holding Contact Members (AREA)

Description

  • Die Erfindung betrifft einen Kontakteinsatz für ein Steckverbinderteil nach dem Oberbegriff des Anspruchs 1.
  • Ein derartiger Kontakteinsatz umfasst ein Rahmenteil, das einen Steckabschnitt zum steckenden Verbinden mit einem weiteren Steckverbinderteil aufweist, zumindest ein an dem Steckabschnitt angeordnetes, elektrisches Kontaktelement und ein an dem Rahmenteil angeordnetes Erdungselement, an das eine Schutzleitung anschließbar ist.
  • Ein solcher Kontakteinsatz kann beispielsweise in ein Steckergehäuse eines Steckverbinderteils eingesetzt werden und ermöglicht auf diese Weise, Steckergehäuse mit ganz unterschiedlichen Kontakteinsätzen auszustatten und somit individuelle, einer bestimmten Verwendung angepasste Steckgesichter an dem Steckverbinderteil zur Verfügung zu stellen. An dem Steckabschnitt des Rahmenteils sind hierbei ein oder mehrere elektrische Kontaktelemente angeordnet, die bei Verbinden des Steckverbinderteils mit einem zugeordneten, weiteren Steckverbinderteil mit Kontaktelementen des weiteren Steckverbinderteils elektrisch kontaktierend in Eingriff gelangen, sodass eine elektrische Verbindung zwischen den Steckverbinderteilen hergestellt wird.
  • Über das Erdungselement kann hierbei generell bei steckendem Verbinden der Steckverbinderteile eine Erdung zwischen den Steckverbinderteilen erfolgen, sodass die Steckverbinderteile in gestecktem Zustand auf gleichem Erdungspotenzial liegen. Über das Erdungselement kann hierbei beispielsweise auch das Rahmenteil, wenn dieses aus einem elektrisch leitfähigen (Metall-) Material hergestellt ist, geerdet werden.
  • Bei einem aus der DE 295 20 008 U1 bekannten Steckverbinderteil weist ein Steckverbindereinsatz mehrere Reihen von Kontaktelementen auf. Der Kontakteinsatz kann in ein Anbaugehäuse eingesetzt werden, das an einer Montagewand befestigt ist.
  • Aus der DE 10 2007 013 536 B3 ist ein Erdungselement (bezeichnet als PE-Metallteil) bekannt, das zur Befestigung eines Kontakteinsatzes beispielsweise in einem Steckergehäuse dient und eine sogenannte PE-Schraubverbindung zum Anschließen einer Schutzleitung aufweist.
  • Aus der DE 10 2010 017 717 A1 ist ein Kontakteinsatz mit einem Rahmenteil und einem darin einsetzbaren Kontaktmodul bekannt. An dem Rahmenteil ist eine Anschlusseinrichtung zum Anschließen eines Schutzleiters angeordnet, die einen Anschlussarm mit einem Schraubanschluss aufweist.
  • Bei einem aus der EP 0 882 318 B1 bekannten Kontakteinsatz sind eine Vielzahl von Kontaktmodulen in ein als Aufnahmerahmen bezeichnetes Rahmenteil einsetzbar. Einige der Module können hierbei auch zum Anschließen von Schutzleitungen zur sogenannten PE-Kontaktierung (PE steht für "protective earth") dienen. Diese Kontaktmodule sind als Schraubanschlüsse ausgebildet.
  • DE 295 05 272 U1 offenbart einen Sensor-Aktor Verteiler mit einem Verteilergehäuse, in welchem eine Platine angeordnet ist, auf welcher ein Steckerteil angeordnet ist. Das Steckerteil kann mit einem Anschlussstecker verbunden werden. DE 10 2013 108 383 offenbart ein Steckverbindermodul, in dessen Gehäuse ein elektrischer Kontakt aufgenommen ist, an welchem eine Erdung anliegen kann. JP 2004 319196 A offenbart eine Kontakteinrichtung für geschirmtes Kabel.
  • Herkömmlich ist vornehmlich vorgesehen worden, einen Anschluss zum Anschließen einer Schutzleitung als Schraubanschluss auszubilden. Dies ermöglicht eine zuverlässige, mechanisch feste Verbindung der Schutzleitung mit dem Kontakteinsatz, kann aber unter Umständen Beschränkungen in der Handhabbarkeit unterliegen. So kann ein Schraubanschluss unter Umständen, wenn der Kontakteinsatz in ein zugeordnetes Gehäuse eines Steckverbinderteils eingesetzt ist, nicht mehr einfach zugänglich sein, was erforderlich machen kann, eine Schutzleitung vor Einsetzen des Kontakteinsatzes in das Gehäuse zu befestigen. Zudem erfordert das Anbringen mehrerer Schutzleitungen das Anstecken der Schutzleitungen an den (einen) Schraubanschluss und das gleichzeitige Fixieren der Schutzleitungen durch Festziehen einer Schraube.
    Aufgabe der vorliegenden Erfindung ist es, einen Kontakteinsatz für ein Steckverbinderteil zur Verfügung zu stellen, der einen einfachen Anschluss einer Schutzleitung ermöglicht.
    Diese Aufgabe wird durch einen Gegenstand mit den Merkmalen des Anspruchs 1 gelöst. Demnach weist der Kontakteinsatz eine an dem Erdungselement angeordnete
    Kontaktierungseinrichtung auf, die ein Gehäuse mit einer Stecköffnung zum Einstecken der Schutzleitung und ein an dem Gehäuse angeordnetes Federelement zum Arretieren der Schutzleitung in der Stecköffnung und zum Kontaktieren der Schutzleitung mit dem Erdungselement aufweist.
  • Ein solches Erdungselement kann lösbar mit einer daran angeordneten Kontaktierungseinrichtung an einem Rahmenteil eines Kontakteinsatzes angeordnet werden. Dies kann gegebenenfalls eine Bestückung eines Kontakteinsatzes mit einem Erdungselement und einer daran angeordneten Kontaktierungseinrichtung ermöglichen, ohne dass hierzu die Bauform des Rahmenteils angepasst werden muss. Ein solches Erdungselement mit einer daran angeordneten Kontaktierungseinrichtung kann somit gegebenenfalls an einem bereits bestehenden Rahmenteil zum Einsatz kommen und gegebenenfalls auch nachgerüstet werden.
  • Das Anschließen der Schutzleitung an das Erdungselement an dem Rahmenteil erfolgt über einen Federkraftanschluss. Zum Verbinden der Schutzleitung mit dem Erdungselement kann die Schutzleitung in einfacher, bequemer Weise mit einem (abisolierten) Aderende in die Stecköffnung des Gehäuses der Kontaktierungseinrichtung eingesteckt werden und gelangt dadurch in den Bereich des Federelements, die die Schutzleitung in dem Gehäuse arretiert und ein Kontaktieren der Schutzleitung mit dem Erdungselement bewirkt. Zum Anschließen ist somit (lediglich) ein Einstecken der Schutzleitung erforderlich. Das Arretieren und Kontaktieren der Schutzleitung mit dem Erdungselement kann hierbei vorteilhafterweise selbsttätig erfolgen, ohne dass weitere Bedienungsschritte zum Festlegen der Schutzleitung an dem Erdungselement erforderlich sind.
  • Das Federelement weist, in einer Ausgestaltung, einen Klemmschenkel auf, der bei in die Stecköffnung eingesteckter Schutzleitung mit der Schutzleitung in Anlage ist. Über den Klemmschenkel erfolgt die Arretierung der Schutzleitung in dem Gehäuse der Kontaktierungseinrichtung, wobei zur Kontaktierung der Schutzleitung mit dem Erdungselement der Klemmschenkel beispielsweise ausgebildet ist, die Schutzleitung gegen einen Kontaktierungsabschnitt des Erdungselements zu drücken und somit die Schutzleitung in elektrischen Kontakt mit dem Erdungselement zu bringen.
  • Bei Einstecken der Schutzleitung in die Stecköffnung des Gehäuses wirkt die Schutzleitung auf den Klemmschenkel des Federelements ein und lenkt diesen vorzugsweise federelastisch derart aus, dass die Arretierung der Schutzleitung in dem Gehäuse unter Kontaktierung mit dem Erdungselement bewirkt wird. Der Klemmschenkel ist hierzu bewegbar in dem Gehäuse angeordnet.
  • Zusätzlich zu dem Klemmschenkel weist das Federelement, in einer Ausgestaltung, einen Halteschenkel auf, über den das Federelement an dem Gehäuse gehalten ist. Der Halteschenkel kann beispielsweise zu dem Klemmschenkel umgebogen und zwischen Gehäuseabschnitten des Gehäuses derart festgelegt sein, dass über den Halteschenkel das Federelement an dem Gehäuse befestigt ist. Bei Einstecken der Schutzleitung in die Stecköffnung des Gehäuses wirkt die Schutzleitung auf den Klemmschenkel ein und bewegt den Klemmschenkel zu dem Halteschenkel unter elastischer Verformung des Federelements, sodass die Schutzleitung unter Vorspannung in dem Gehäuse der Kontaktierungseinrichtung gehalten wird.
  • Die Verbindung der Schutzleitung mit der Kontaktierungseinrichtung ist vorzugsweise lösbar. Hierzu kann die Kontaktierungseinrichtung beispielsweise ein Entsperrelement aufweisen, das zum Lösen der Schutzleitung betätigt werden kann und beispielsweise einen Arm aufweist, mit dem das Entsperrelement bei Betätigung auf das Federelement einwirkt. Das Entsperrelement kann beispielsweise durch ein Werkzeug, zum Beispiel einen Schraubendreher, betätigt werden und zur Betätigung in das Gehäuse der Kontaktierungseinrichtung hinein zu drücken sein. Hierdurch wirkt das Entsperrelement mit seinem Arm auf den Klemmschenkel des Federelements ein und drückt diesen außer Anlage mit der Schutzleitung, sodass die Arretierung der Schutzleitung in dem Gehäuse aufgehoben ist und die Schutzleitung somit aus der Stecköffnung herausgezogen werden kann.
  • In einer Ausgestaltung kann das Gehäuse der Kontaktierungseinrichtung zwei (getrennte) Stecköffnungen zum Einstecken von zwei Schutzleitungen und zwei Federelemente zum Arretieren der Schutzleitungen in den Stecköffnungen aufweisen. Die Kontaktierungseinrichtung stellt somit zwei Steckplätze zum Anschließen zweier Schutzleitungen bereit, wobei grundsätzlich auch denkbar und möglich ist, noch mehr Steckplätze, z.B. drei oder vier Steckplätze, zum Anschließen von mehr als zwei Schutzleitungen vorzusehen. Auf diese Weise können mehrere Schutzleitungen in einfacher, bequemer Weise unter zuverlässiger elektrischer Kontaktierung mit dem Erdungselement und bei zuverlässigem mechanischen Halt an die Kontaktierungseinrichtung angeschlossen werden.
  • Jedes Federelement kann hierbei wie vorangehend beschrieben ausgebildet sein und insbesondere einen Klemmschenkel zum Arretieren und Kontaktieren der Schutzleitung aufweisen.
  • Das Erdungselement weist beispielsweise eine Kontaktierungsfahne zum erdenden Kontaktieren mit dem weiteren Steckverbinderteil auf. Die Kontaktierungsfahne kann beispielsweise entlang einer Verbindungsrichtung, entlang derer die Steckverbinderteile miteinander zu verbinden sind, an dem Rahmenteil erstreckt sein, sodass die Kontaktierungsfahne bei steckendem Verbinden des Steckverbinderteils mit dem weiteren Steckverbinderteil auf einen zugeordneten Kontaktabschnitt an dem weiteren Steckverbinderteil aufläuft und dadurch eine Verbindung zwischen den Steckverbinderteilen zur gemeinsamen Erdung herstellt.
  • Der Kontakteinsatz kann modular ausgebildet sein. Beispielsweise kann vorgesehen sein, dass an das Rahmenteil, das beispielsweise als rechteckiger Aufnahmerahmen ausgebildet sein kann, ein oder mehrere modulare Kontaktmodule angesetzt werden können, um das Rahmenteil modular mit Kontaktmodulen zu bestücken und somit einen individuellen Kontakteinsatz für ein Steckverbinderteil zu schaffen. Jedes Kontaktmodul kann hierbei ein oder mehrere Stecköffnungen zum Einstecken elektrischer Leitungen aufweisen und kann zudem ein oder mehrere Kontaktelemente zum Kontaktieren mit einem zugeordneten weiteren Steckverbinderteil aufweisen. An dem Rahmenteil können beispielsweise eine Mehrzahl von (entlang einer Querrichtung quer zur Verbindungsrichtung zueinander versetzten) Steckplätzen vorgesehen sein, in die eine Mehrzahl von Kontaktmodulen eingesteckt werden kann.
  • Ist der Kontakteinsatz modular mit modular an das Rahmenteil anzusetzenden Kontaktmodulen ausgebildet, sind die Kontaktelemente des Kontakteinsatzes vorzugsweise Bestandteil der Kontaktmodule. In diesem Fall kann der Steckabschnitt zum steckenden Verbinden mit dem weiteren Steckverbinderteil einstückig an dem Rahmenteil geformt oder auch durch die Kontaktmodule gebildet sein. Ist der Steckabschnitt durch die Kontaktmodule gebildet, bilden die Kontaktmodule somit das Steckgesicht des Steckverbinderteils, an dem der Kontakteinsatz zum Einsatz kommt, aus.
  • Ein an das Rahmenteil anzusetzendes Kontaktmodul kann so ausgestaltet sein, dass eine Leitung in eine Steckrichtung in eine Stecköffnung des Kontaktmoduls einzustecken ist. Vorzugsweise ist hierbei auch die Schutzleitung entlang der Steckrichtung in die Stecköffnung der Kontaktierungseinrichtung einzustecken, sodass das Anschließen der Schutzleitung an die Kontaktierungseinrichtung des Erdungselements in die gleiche Richtung wie das Anschließen von anderen elektrischen Leitungen an die Stecköffnungen des Kontaktmoduls erfolgt. Auch das Anschließen der elektrischen Leitungen an das Kontaktmodul kann hierbei über Federkraftanschlüsse erfolgen, sodass Schutzleitungen genauso wie andere Leitungen (beispielsweise für eine Datenübertragung oder zum Bereitstellen einer elektrischen Versorgung) in einfacher, gegebenenfalls auch automatisierbarer Weise an den Kontakteinsatz angesteckt werden können.
  • In einer Ausgestaltung weist das Rahmenteil eine Rahmenöffnung auf, in die das Kontaktmodul eingesetzt ist. Das (in seiner Grundform rechteckige) Rahmenteil umschließt die Rahmenöffnung und schafft somit einen Aufnahmeraum mit Steckplätzen, in die ein oder mehrere Kontaktmodule eingesetzt werden können, um in eingesetzter Stellung mit dem Rahmenteil zu verrasten und somit ein (modular konfigurierbares) Steckgesicht an dem Rahmenteil zu schaffen. Das eine oder die mehreren Kontaktmodule können in die Steckrichtung in die Rahmenöffnung einzusetzen sein und sind in eingesetzter Stellung mit dem Rahmenteil verrastet.
  • Das Erdungselement ist hierbei außerhalb der Rahmenöffnung an dem Rahmenteil, zum Beispiel an einer schmalen Stirnseite des (rechteckigen) Rahmenteils, angeordnet. Während ein oder mehrere Kontaktmodule somit in die vom Rahmenteil umschlossene Rahmenöffnung eingesetzt sind, ist das Erdungselement mit der daran angeordneten Kontaktierungseinrichtung außerhalb der Rahmenöffnung an dem Rahmenteil, insbesondere im Bereich der Stirnseite des Rahmenteils, befestigt. Denkbar ist, dass das Rahmenteil ein (einziges) Erdungselement mit einer daran angeordneten Kontaktierungseinrichtung aufweist. Denkbar und möglich ist aber auch, dass beidseitig des Rahmenteils an einander gegenüberliegenden Stirnseiten des Rahmenteils jeweils ein Erdungselement angeordnet ist, wobei in diesem Fall beide Erdungselemente oder auch nur eines der Erdungselemente eine Kontaktierungseinrichtung aufweisen können.
  • In einer Ausgestaltung ist das Erdungselement formschlüssig mit dem Rahmenteil verbunden. Das Erdungselement ist somit derart an das Rahmenteil angesetzt, dass eine formschlüssige Verbindung zwischen dem Rahmenteil und dem Erdungselement besteht und somit das Erdungselement an dem Rahmenteil gehalten ist.
  • Eine solche formschlüssige Verbindung kann zum Beispiel über einen in eine Eingriffsöffnung des Rahmenteils einzuschiebenden Eingriffsabschnitt des Erdungselements und (zusätzlich oder alternativ) über einen eine Rastverbindung mit dem Rahmenteil herstellenden Rastabschnitt hergestellt werden. Der Eingriffsabschnitt kann beispielsweise entlang der Steckrichtung in die zugeordnete Eingriffsöffnung des Rahmenteils einzuschieben sein und stellt einen Formschluss zwischen dem Erdungselement und dem Rahmenteil quer zur Steckrichtung her. Der Rastabschnitt kann demgegenüber zum Beispiel bei einem Einschieben des Eingriffsabschnitts in die zugeordnete Eingriffsöffnung mit einem Hinterschnitt des Rahmenteils rastend in Eingriff gelangen, um auf diese Weise das Erdungselement entlang der Steckrichtung formschlüssig zu dem Rahmenteil festzulegen. Über den Eingriffsabschnitt und den Rastabschnitt ist das Erdungselement in an das Rahmenteil angesetzter Stellung somit zu dem Rahmenteil festgelegt.
  • Es ergibt sich eine Anordnung, bei der das Erdungselement in einfacher Weise zur Montage des Kontakteinsatzes an das Rahmenteil angesetzt werden kann und in angesetzter Stellung fest und belastbar an dem Rahmenteil gehalten ist.
  • In einer Ausgestaltung ist das Gehäuse der Kontaktierungseinrichtung formschlüssig mit dem Erdungselement verbunden. Das Gehäuse kann beispielsweise aus einem elektrisch isolierenden Kunststoffmaterial hergestellt sein und fasst das Federelement zur Verwirklichung des Federkraftanschlusses ein. Das Gehäuse kann beispielsweise einen Formschlussabschnitt (zum Beispiel in Form einer federnden Rastzunge) aufweisen, über den das Gehäuse in angesetzter Stellung mit dem Erdungselement verrastet ist. Auch die Verbindung zwischen dem Gehäuse der Kontaktierungseinrichtung und dem Erdungselement erfolgt somit in formschlüssiger, rastender Weise, was ein einfaches Ansetzen des Gehäuses an das Erdungselement ermöglicht, bei zudem festem Halt in angesetzter Stellung.
  • Der Kontakteinsatz kann beispielsweise an einem Steckverbinderteil verwendet werden, wobei ein solches Steckverbinderteil ein Steckergehäuse aufweisen kann, in dem der Kontakteinsatz aufgenommen wird. Solch ein Steckergehäuse kann an ein elektrisches Kabel mit einer Vielzahl von Leitungsadern angeschlossen sein. Denkbar und möglich ist aber auch, einen solchen Kontakteinsatz beispielsweise an einem Anbaugehäuse an einem Schaltschrank oder einer anderen elektrischen Anlagen zu verwenden.
  • Der der Erfindung zugrunde liegende Gedanke soll nachfolgend anhand der in den Figuren dargestellten Ausführungsbeispiele näher erläutert werden. Es zeigen:
  • Fig. 1
    eine schematische Ansicht zweier Steckverbinderteile, die steckend entlang einer Verbindungsrichtung miteinander verbunden werden können;
    Fig. 2
    eine Ansicht zweier Kontakteinsätze der Steckverbinderteile;
    Fig. 3
    eine Ansicht eines Ausführungsbeispiels eines Kontakteinsatzes, der ein Rahmenteil, daran angeordnete Erdungselemente und eine Kontaktierungseinrichtung zum Anschließen einer Schutzleitung an eines der Erdungselemente aufweist;
    Fig. 4
    eine gesonderte Ansicht eines Erdungselements mit einer Kontaktierungseinrichtung;
    Fig. 5A
    eine Ansicht eines Kontakteinsatzes eines Steckverbinderteils in verbundenem Zustand mit einem Kontakteinsatz eines weiteren Steckverbinderteils;
    Fig. 5B
    eine Schnittansicht entlang der Linie A-A gemäß Fig. 5A;
    Fig. 6
    eine Schnittansicht entlang der Linie B-B gemäß Fig. 4;
    Fig. 7
    eine Ansicht des Erdungselements mit der daran angeordneten Kontaktierungseinrichtung;
    Fig. 8
    eine gesonderte Ansicht des Erdungselements an dem Rahmenteil des Kontakteinsatzes;
    Fig. 9
    eine Seitenansicht der Anordnung gemäß Fig. 8;
    Fig. 10
    eine Draufsicht auf die Anordnung gemäß Fig. 8; und
    Fig. 11
    eine rückseitige Ansicht des Erdungselements (betrachtet von Seiten des Rahmenteils) mit der daran angeordneten Kontaktierungseinrichtung.
  • Fig. 1 zeigt eine schematische Ansicht zweier Steckverbinderteile 1, 3, die entlang einer Verbindungsrichtung E steckend miteinander verbunden werden können. Jedes Steckverbinderteil 1, 3 weist ein Steckergehäuse 10, 30 auf, in dem jeweils ein Kontakteinsatz 2, 4 mit daran angeordneten Kontaktelementen aufgenommen ist. Über einen Kabelabgang 11, 31 ist jeweils ein Kabel 12, 32 an das Steckergehäuse 10, 30 angeschlossen und innerhalb des Steckergehäuses 10, 30 mit den Kontaktelementen des jeweils zugeordneten Kontakteinsatzes 2, 4 elektrisch verbunden.
  • Angemerkt sei bereits an dieser Stelle, dass die vorliegende Erfindung nicht nur bei Steckverbinderteilen mit händisch zu handhabenden Steckergehäusen einsetzbar ist, sondern beispielsweise auch bei an elektrischen Anlagen, beispielsweise einem Schaltschrank, vorgesehenen Steckverbindern verwendet werden kann, bei denen ein Kontakteinsatz beispielsweise an einer Gerätewand, beispielsweise einer Schaltschrankwand, festzulegen ist.
  • Ein Ausführungsbeispiel zweier entlang der Verbindungsrichtung E steckend miteinander zu verbindender Kontakteinsätze 2, 4 zeigt Fig. 2. Jeder Kontakteinsatz 2, 4 weist ein Rahmenteil 20, 40 in Form eines rechteckigen Rahmens auf, der eine Rahmenöffnung 201, 401 ausbildet, in die - bei dem dargestellten Ausführungsbeispiel - ein Kontaktmodul 21, 41 eingesetzt ist. An dem Rahmenteil 20, 40 ist ein Steckabschnitt 200, 400 ausgebildet, wobei der Steckabschnitt 200 des einen, ersten Kontakteinsatzes 2 eine Buchse ausbildet, in die der Steckabschnitt 400 des Rahmenteils 40 des anderen Kontakteinsatzes 4 eingesteckt werden kann.
  • Jedes Kontaktmodul 21, 41 weist eine Mehrzahl von Stecköffnungen 210, 410 auf, in die elektrische Leitungen 24 (siehe Fig. 3) zum elektrischen Kontaktieren mit Kontaktelementen 211, 411 in Form von Kontaktstiften oder Kontaktbuchsen eingesteckt werden können. In einem miteinander verbundenen Zustand stehen die Kontaktelemente 211 des einen, ersten Kontakteinsatzes 2 mit den zugeordneten Kontaktelementen 411 des anderen, zweiten Kontakteinsatzes 4 in Eingriff, sodass eine elektrische Kontaktierung zwischen den Kontakteinsätzen 2, 4 bewirkt wird.
  • In die Rahmenöffnung 201, 401 eines jeden Rahmenteils 20, 40 können grundsätzlich ein oder mehrere Kontaktmodule eingesetzt werden, sodass an den Kontakteinsätzen 2, 4 individuelle Kontaktanordnungen zur Ausbildung eines individuellen Steckgesichtes geschaffen werden können. Bei dem dargestellten Ausführungsbeispiel ist (genau) ein Kontaktmodul 21, 41 passgenau in das Rahmenteil 20, 40 eingesetzt und rastend mit dem Rahmenteil 20, 40 verbunden. Möglich ist aber auch, mehrere (kleinere) Kontaktmodule nebeneinander in dem Rahmenteil 20, 40 anzuordnen.
  • Beidseits des Rahmenteils 20, 40 sind Erdungselemente 22, 42 angeordnet, die zum einen über Befestigungselemente 220, 420 eine mechanische Festlegung des Kontakteinsatzes 2, 4 an dem zugeordneten Steckergehäuse 10, 30 ermöglichen und zum anderen eine Schutzkontaktierung zwischen den Kontakteinsätzen 2, 4 bereitstellen. Jedes Erdungselement 22, 42 ist über Rastabschnitte 221, 421 an dem ihm zugeordneten Rahmenteil 20, 40 abgestützt, wobei auf diese Weise (wenn das Rahmenteil 20, 40 aus einem elektrisch leitfähigen Material, insbesondere einem Metallmaterial, gefertigt ist) auch das Rahmenteil 20, 40 in die Erdung mit einbezogen sein kann.
  • An dem jeweils zugeordneten Steckabschnitt 200, 400 erstrecken sich Kontaktierungsfahnen 222, 422 (siehe Fig. 5B in Zusammenschau mit Fig. 2) der Erdungselemente 22, 42, die bei steckendem Verbinden der Kontakteinsätze 2, 4 aufeinander auflaufen und dadurch eine elektrische Kontaktierung zwischen den Erdungselementen 22, 42 der beiden Kontakteinsätze 2, 4 herstellen.
  • Bei dem in Fig. 2 dargestellten Ausführungsbeispiel herkömmlicher Kontakteinsätze 2, 4 sind an den Erdungselementen 22, 42 Kontaktierungseinrichtungen 23', 43' in Form von Schraubanschlüssen zum Anschließen von Schutzleitungen vorgesehen.
  • Demgegenüber ist bei dem in Fig. 3 bis 6 dargestellten Ausführungsbeispiel eines Kontakteinsatzes 2 an einem Erdungselement 22 eine Kontaktierungseinrichtung 23 angeordnet, die ein Gehäuse 230 mit zwei Stecköffnungen 231 zum Einstecken von Schutzleitungen 25 (siehe Fig. 6) aufweist und ein Anschließen der Schutzleitungen 25 durch steckende Kontaktierung ermöglicht.
  • Die Kontaktierungseinrichtung 23 weist, wie aus der Schnittansicht gemäß Fig. 6 ersichtlich, zwei in dem Gehäuse 230 eingefasste und gehaltene Federelemente 26 auf, die jeweils einer der Stecköffnungen 231 zugeordnet sind. Jedes Federelement 26 weist einen Klemmschenkel 260 auf, der sich in den Bereich der dem Federelement 26 zugeordneten Stecköffnung 231 hinein erstreckt und zum Arretieren und Kontaktieren einer in die Stecköffnung 231 eingesteckten Schutzleitung 25 dient. Zu dem Klemmschenkel 260 ist ein Halteschenkel 261 umgebogen, der zwischen Gehäuseabschnitten 233 des Gehäuses 230 eingefasst ist, sodass über den Halteschenkel 261 das Federelement 26 in dem Gehäuse 230 festgelegt ist.
  • Der Klemmschenkel 260 ist in dem Gehäuse 230 bewegbar, unter elastischer Verformung zu dem Halteschenkel 261. Bei Einstecken einer Schutzleitung 25 drückt ein (abisoliertes) Aderende 250 der Schutzleitung 25 auf den Klemmschenkel 260 und drückt diesen beiseite, sodass das Aderende 250 an dem Klemmschenkel 260 vorbei gleiten kann und über das Ende des Klemmschenkels 260 elastisch gegen einen Kontaktierungsabschnitt 223 des Erdungselements 22 gedrückt wird. Durch den (nach Art eines Widerhakens wirkenden) Klemmschenkel 260 ist die Schutzleitung 25 in der Stecköffnung 231 arretiert, wenn die Schutzleitung 25 mit dem Aderende 250 (vollständig) in die Stecköffnung 231 eingesteckt ist. Die Schutzleitung 25 ist über das Federelement 26 somit zum einen mechanisch an der Kontaktierungseinrichtung 23 gehalten und ist zum anderen durch elastischen Druck des Klemmschenkels 260 in flächiger Anlage mit dem Kontaktierungsabschnitt 223 des Erdungselements 22.
  • Die Verbindung der Schutzleitung 25 mit der Kontaktierungseinrichtung 23 ist lösbar. Hierzu ist jeder Stecköffnung 231 ein Entsperrelement 27 zugeordnet, das in einer Entsperröffnung 232 des Gehäuses 230 verschiebbar ist derart, dass durch Druck auf das Entsperrelement 27 (z.B. mittels eines Werkzeugs) das Entsperrelement 27 mit einem Körper 270 in der Entsperröffnung 232 gleitet und mit einem von dem Körper 270 vorstehenden Arm 271 auf den Klemmschenkel 260 einwirkt, sodass dieser außer Anlage mit dem Aderende 250 der Schutzleitung 25 gedrückt wird. Die Schutzleitung 25 kann somit aus der zugeordneten Stecköffnung 231 herausgezogen werden.
  • Bei dem in Fig. 3 bis 6 dargestellten Ausführungsbeispiel ist lediglich an einem Erdungselement 22 des Kontakteinsatzes 2 eine Kontaktierungseinrichtung 23 angeordnet (in Fig. 3 links dargestellt). Denkbar und möglich ist selbstverständlich auch, zusätzlich an dem anderen Erdungselement 22 (in Fig. 3 rechts) eine solche Kontaktierungseinrichtung 23 vorzusehen.
  • Über die Kontaktierungseinrichtung 23 ist ein Anschließen einer Schutzleitung 25 an das zugeordnete Erdungselement 22 in einfacher Weise durch Einstecken in eine der Stecköffnungen 231 möglich. Wie aus Fig. 3 ersichtlich, entspricht die Steckrichtung S, in die die Schutzleitungen 25 in die Stecköffnungen 231 einzustecken sind, der Steckrichtung S, in die auch die weiteren elektrischen Leitungen 24 in die Stecköffnungen 210 des Kontaktmoduls 21 des Kontakteinsatzes 2 einzustecken sind. Das Verbinden der Schutzleitungen 25 kann damit ganz gleich wie für die weiteren elektrischen Leitungen 24 erfolgen, gegebenenfalls auch bei bereits in einem Aufnahmegehäuse eingefasstem Kontakteinsatz 2, 4.
  • Fig. 5A und 5B zeigen eine Ansicht des Kontakteinsatzes 2 in verbundenem Zustand mit dem Kontakteinsatz 4 innerhalb des dem Kontakteinsatz 4 zugeordneten Steckergehäuses 30 (der Kontakteinsatz 2 ist ohne Steckergehäuse 10 dargestellt). Wie aus der Schnittansicht der beiden Kontakteinsätze 2, 4 gemäß Fig. 5B ersichtlich, weisen beide Kontakteinsätze 2, 4 an jeweils einen Erdungselement 22, 42 eine Kontaktierungseinrichtung 23, 43 auf, sodass für beide Kontakteinsätze 2, 4 das Anschließen von Schutzleitungen 25 in steckender Weise unter zuverlässiger mechanischer Verbindung und elektrischer Kontaktierung möglich ist. Die Kontaktierungseinrichtung 43 an dem Kontakteinsatz 4 ist hierbei identisch wie vorangehend für die Kontaktierungseinrichtung 23 des Kontakteinsatzes 2 beschrieben aufgebaut.
  • Wie zudem aus Fig. 5B ersichtlich ist, sind in verbundenem Zustand die Kontaktierungsfahnen 222, 422 der Erdungselemente 22, 42 kontaktierend miteinander in Anlage. Bei steckendem Verbinden laufen die Kontaktierungsfahnen 222, 422 aufeinander auf und stellen somit eine elektrische Kontaktierung zur gemeinsamen Erdung der Kontakteinsätze 2, 4 zur Verfügung.
  • Das Erdungselement 22, 42 ist bei dem dargestellten Ausführungsbeispiel formschlüssig mit dem zugeordneten Rahmenteil 20, 40 des Kontakteinsatzes 2, 4 verbunden, wie dies nachfolgend anhand von Fig. 7 bis 11 anhand eines eine Kontaktierungseinrichtung 23 aufweisenden Erdungselements 22 des Kontakteinsatzes 2 erläutert werden soll.
  • Das Erdungselement 22 weist Auflageabschnitt 224 auf, die sich quer zur Steckrichtung S erstrecken und die Befestigungselemente 220 zur Befestigung des Kontakteinsatzes 2 in dem Gehäuse 10 eines zugeordneten Steckverbinderteils 1 tragen. In einer mit dem Rahmenteil 20 verbundenen Stellung des Erdungselements 20 liegen die Auflageabschnitte 224 auf einem Endabschnitt 205 des Steckabschnitts 200 des Rahmenteils 20 auf, wie dies zum Beispiel aus Fig. 8 ersichtlich ist, und sind darüber in Steckrichtung S an dem Rahmenteil 20 abgestützt.
  • Das Ansetzen des Erdungselements 22 (mit der daran angeordneten Kontaktierungseinrichtung 23) erfolgt in die Steckrichtung S, indem zu einem Wandungsabschnitt 226 umgebogene Eingriffsabschnitte 225 des Erdungselements 22 in die Steckrichtung S in Eingriff mit zugeordneten Eingriffsöffnungen 203 an einer Stirnseite 202 des Rahmenteils 20 geschoben werden, um auf diese Weise einen Formschluss (quer zur Steckrichtung S) zwischen dem Erdungselement 22 und dem Rahmenteil 20 herzustellen.
  • Ist das Erdungselement 22 an das Rahmenteil 20 angesetzt und sind die Eingriffsabschnitte 225 in Eingriff mit den zugeordneten Eingriffsöffnungen 203 geschoben worden, bis die Auflageabschnitte 224 in Auflage mit dem Endabschnitt 205 des Steckabschnitts 200 des Rahmenteils 20 gelangen, schnappen die Rastabschnitte 221, die entgegen der Steckrichtung S von den Auflageabschnitten 224 vorstehen, in Eingriff mit Hinterschnitten 204 an der Stirnseite 202 des Rahmenteils 20, sodass das Erdungselement 22 entgegen der Steckrichtung S an der Stirnseite 202 des Rahmenteils 20 rastend festgelegt ist.
  • In angesetzter Stellung ist das Erdungselement 22 somit rastend mit dem Rahmenteil 20 verbunden und dadurch an dem Rahmenteil 20 festgelegt.
  • Die Kontaktierungseinrichtung 23 ist über ihr Gehäuse 230 rastend und damit formschlüssig mit dem Erdungselement 22 verbunden. Das Gehäuse 230 weist hierzu beidseits Formschlussabschnitte 234 in Form von federnden Rastzungen auf, die bei Ansetzen des Gehäuses 230 in die Steckrichtung S an das Erdungselement 22 mit den Kontaktierungsabschnitten 223 des Erdungselements 22 in Eingriff gelangen, wie dies aus einer Zusammenschau von Fig. 7 und Fig. 11 ersichtlich ist. In angesetzter Stellung greifen die Formschlussabschnitte 234 in Rastöffnungen 227 der Kontaktierungsabschnitte 223 ein und legen dadurch das Gehäuse 230 (mit den darin eingefassten Federelementen 26) zu dem Erdungselement 22 fest.
  • Die Kontaktierungseinrichtung 23 kann somit in einfacher Weise an das Erdungselement 22 angesetzt werden, indem das Gehäuse 230 in die Steckrichtung S an das Erdungselement 22 angesteckt wird.
  • Zudem kann auch das Erdungselement 22 in einfacher Weise - mit oder ohne daran angeordneter Kontaktierungseinrichtung 23 - an das Rahmenteil 20 angesetzt werden, sodass sich eine einfache Montage des Kontakteinsatzes 2 ergibt.
  • Ein Erdungselement 22 mit einer daran angeordneten Kontaktierungseinrichtung 23 der beschriebenen Art kann insbesondere an bereits bestehenden Rahmenteilen 20 zum Einsatz kommen, ohne dass die Bauform des Rahmenteils 20 wesentlich angepasst werden muss. Bestehende Rahmenteile 20 können somit mit Erdungselementen 22 und daran angeordneten Kontaktierungseinrichtungen 23 bestückt und gegebenenfalls auch nachgerüstet werden.
  • Der der Erfindung zugrunde liegende Gedanke ist nicht auf die vorangehend geschilderten Ausführungsbeispiele beschränkt, sondern lässt sich grundsätzlich auch in gänzlich anders gearteter Weise verwirklichen.
  • An einer Kontaktierungseinrichtung zur Kontaktierung mit einem zugeordneten Erdungselement können ein oder mehrere Stecköffnungen zum Anschließen eines oder mehrerer Schutzleitungen vorgesehen sein. Z.B. kann eine solche Kontaktierungseinrichtung nur eine Stecköffnung aufweisen. Denkbar und möglich ist aber auch, an einer solchen Kontaktierungseinrichtung mehr als zwei Stecköffnungen zum Verbinden von mehr als zwei Schutzleitungen vorzusehen.
  • Bei dem dargestellten Ausführungsbeispiel ist genau ein Kontaktmodul an das zugeordnete Rahmenteil eines Kontakteinsatzes angesetzt. Denkbar und möglich ist aber auch, mehrere Kontaktmodule nebeneinander zu Bereitstellung unterschiedlicher Kontaktelemente zum Schaffen eines individuell angepassten Steckgesichtes in das Rahmenteil des Kontakteinsatzes einzusetzen.
  • Bezugszeichenliste
  • 1
    Steckverbinderteil
    10
    Steckergehäuse
    11
    Kabelabgang
    12
    Kabel
    2
    Kontakteinsatz
    20
    Rahmenteil (Modulrahmen)
    200
    Steckabschnitt
    201
    Rahmenöffnung
    202
    Stirnseite
    203
    Eingriffsöffnung
    204
    Hinterschnitt
    205
    Endabschnitt
    21
    Kontaktmodul
    210
    Stecköffnungen
    211
    Kontaktelemente
    22
    Erdungselement (PE-Blech)
    220
    Befestigungselement
    221
    Rastabschnitt
    222
    Kontaktierungsfahne
    223
    Kontaktierungsabschnitt
    224
    Auflageabschnitt
    225
    Eingriffsabschnitt
    226
    Wandungsabschnitt
    227
    Rastöffnung
    23, 23'
    Kontaktierungseinrichtung
    230
    Gehäuse
    231
    Stecköffnung
    232
    Entsperröffnung
    233
    Gehäuseabschnitte
    234
    Formschlussabschnitt
    24
    Leitungen
    25
    Schutzleitung
    250
    Aderende
    26
    Federelement
    260
    Klemmschenkel
    261
    Halteschenkel
    27
    Entsperrelement
    270
    Körper
    271
    Arm
    3
    Steckverbinderteil
    30
    Steckergehäuse
    31
    Kabelabgang
    32
    Kabel
    4
    Kontakteinsatz
    40
    Modulrahmen
    400
    Steckabschnitt
    401
    Rahmenöffnung
    41
    Kontaktmodul
    410
    Stecköffnungen
    411
    Kontaktelemente
    42
    Erdungselement (PE-Blech)
    420
    Befestigungselement
    421
    Rastabschnitt
    422
    Kontaktierungsfahne
    43, 43'
    Kontaktierungseinrichtung
    E
    Verbindungsrichtung
    S
    Steckrichtung

Claims (15)

  1. Kontakteinsatz (2, 4) für ein Steckverbinderteil (1, 3), mit
    - einem Rahmenteil (20), das einen Steckabschnitt (200) zum steckenden Verbinden mit einem weiteren Steckverbinderteil (3, 1) aufweist,
    - zumindest einem an dem Steckabschnitt (200) angeordneten elektrischen Kontaktelement (211),
    - einem an dem Rahmenteil (20) angeordneten Erdungselement (22), an das eine Schutzleitung (25) anschließbar ist,
    - einer an dem Erdungselement (22) angeordneten Kontaktierungseinrichtung (23), die ein Gehäuse (230) mit einer Stecköffnung (231) zum Einstecken der Schutzleitung (25) und ein an dem Gehäuse (230) angeordnetes Federelement (26) zum Arretieren der Schutzleitung (25) in der Stecköffnung (231) und zum Kontaktieren der Schutzleitung (25) mit dem Erdungselement (22) aufweist, und
    - einem an dem Rahmenteil (20) angeordneten Kontaktmodul (21), das zumindest eine Stecköffnung (210) zum Einstecken zumindest einer elektrischen Leitung (24) in eine Steckrichtung (S) aufweist, wobei das zumindest eine Kontaktelement (211) Bestandteil des Kontaktmoduls (21) ist, wobei das Rahmenteil (20) eine Rahmenöffnung (201) aufweist, in die das Kontaktmodul (21) eingesetzt ist,
    dadurch gekennzeichnet, dass das Erdungselement (22) außerhalb der Rahmenöffnung (201) an dem Rahmenteil (20) angeordnet ist, wobei das Erdungselement (22) mit der daran angeordneten Kontaktierungseinrichtung (23) außerhalb der Rahmenöffnung (201) an dem Rahmenteil (20) befestigt ist.
  2. Kontakteinsatz (2, 4) nach Anspruch 1, dadurch gekennzeichnet, dass das Federelement (26) einen Klemmschenkel (260) aufweist, der bei in die Stecköffnung (231) eingesteckter Schutzleitung (25) mit der Schutzleitung (25) in Anlage ist.
  3. Kontakteinsatz (2, 4) nach Anspruch 2, dadurch gekennzeichnet, dass der Klemmschenkel (260) ausgebildet ist, die Schutzleitung (25) gegen einen Kontaktierungsabschnitt (223) des Erdungselements (22) zu drücken.
  4. Kontakteinsatz (2, 4) nach Anspruch 2 oder 3, dadurch gekennzeichnet, dass der Klemmschenkel (260) zu dem Gehäuse (230) bewegbar ist.
  5. Kontakteinsatz (2, 4) nach einem der Ansprüche 2 bis 4, dadurch gekennzeichnet, dass das Federelement (26) einen Halteschenkel (261) aufweist, über den das Federelement (26) an dem Gehäuse (230) gehalten ist.
  6. Kontakteinsatz (2, 4) nach einem der vorangehenden Ansprüche, dadurch gekennzeichnet, dass die Kontaktierungseinrichtung (23) ein Entsperrelement (27) aufweist, das zum Lösen der Schutzleitung (25) aus der Stecköffnung (231) betätigbar ist.
  7. Kontakteinsatz (2, 4) nach Anspruch 6, dadurch gekennzeichnet, dass das Entsperrelement (27) einen Arm (271) aufweist, mit dem das Entsperrelement (27) bei Betätigung auf das Federelement (26) einwirkt.
  8. Kontakteinsatz (2, 4) nach einem der vorangehenden Ansprüche, dadurch gekennzeichnet, dass das Gehäuse (230) der Kontaktierungseinrichtung (23) zwei Stecköffnungen (231) zum Einstecken von zwei Schutzleitungen (25) und zwei Federelemente (26) zum Arretieren der Schutzleitungen (25) in den Stecköffnungen (231) aufweist.
  9. Kontakteinsatz (2, 4) nach einem der vorangehenden Ansprüche, dadurch gekennzeichnet, dass das Erdungselement (22) eine Kontaktierungsfahne (222, 422) zum erdenden Kontaktieren mit dem weiteren Steckverbinderteil (3, 1) aufweist.
  10. Kontakteinsatz (2, 4) nach einem der Ansprüche 1 bis 9, dadurch gekennzeichnet, dass die Schutzleitung (25) in die Steckrichtung (S) in die Stecköffnung (231) der Kontaktierungseinrichtung (23) einsteckbar ist.
  11. Kontakteinsatz (2, 4) nach einem der vorangehenden Ansprüche, dadurch gekennzeichnet, dass das Erdungselement (22) formschlüssig mit dem Rahmenteil (20) verbunden ist.
  12. Kontakteinsatz (2, 4) nach einem der vorangehenden Ansprüche, dadurch gekennzeichnet, dass das Erdungselement (22) einen Eingriffsabschnitt (225), der zur Verbindung in eine Eingriffsöffnung (203) des Rahmenteils (20) eingeschoben ist, und/oder einen Rastabschnitt (221), über den das Erdungselement (22) mit dem Rahmenteil (20) verrastet ist, aufweist.
  13. Kontakteinsatz (2, 4) nach einem der vorangehenden Ansprüche, dadurch gekennzeichnet, dass das Gehäuse (230) der Kontaktierungseinrichtung (23) formschlüssig mit dem Erdungselement (22) verbunden ist.
  14. Kontakteinsatz (2, 4) nach einem der vorangehenden Ansprüche, dadurch gekennzeichnet, dass das Gehäuse (230) der Kontaktierungseinrichtung (23) einen Formschlussabschnitt (234) aufweist, über den das Gehäuse (230) mit dem Erdungselement (22) verrastet ist.
  15. Steckverbinderteil (1, 3) mit einem Kontakteinsatz (2, 4) nach einem der vorangehenden Ansprüche.
EP17195383.9A 2016-10-20 2017-10-09 Kontakteinsatz für ein steckverbinderteil Active EP3312940B2 (de)

Applications Claiming Priority (1)

Application Number Priority Date Filing Date Title
DE102016120002.6A DE102016120002A1 (de) 2016-10-20 2016-10-20 Kontakteinsatz für ein Steckverbinderteil

Publications (3)

Publication Number Publication Date
EP3312940A1 EP3312940A1 (de) 2018-04-25
EP3312940B1 EP3312940B1 (de) 2020-01-15
EP3312940B2 true EP3312940B2 (de) 2025-04-30

Family

ID=60043061

Family Applications (1)

Application Number Title Priority Date Filing Date
EP17195383.9A Active EP3312940B2 (de) 2016-10-20 2017-10-09 Kontakteinsatz für ein steckverbinderteil

Country Status (3)

Country Link
EP (1) EP3312940B2 (de)
CN (1) CN107968297B (de)
DE (2) DE102016120002A1 (de)

Families Citing this family (14)

* Cited by examiner, † Cited by third party
Publication number Priority date Publication date Assignee Title
DE102017106720A1 (de) 2017-03-29 2018-10-04 Phoenix Contact Gmbh & Co. Kg Kompakte Leiteranschlussklemme
DE102017108162A1 (de) 2017-04-18 2018-10-18 Phoenix Contact Gmbh & Co. Kg Baugruppe für ein Steckverbinderteil mit einem Kontakteinsatz und einem Erdungselement
EP3850712B1 (de) 2018-09-13 2025-08-06 HARTING Electric Stiftung & Co. KG Steckverbinder mit masseanschlussbereich
DE102018126615A1 (de) * 2018-10-25 2020-04-30 Phoenix Contact E-Mobility Gmbh Steckverbinder mit einem elektrischen Verbindungselement für mehrere Schirmleiter
DE102018133135A1 (de) * 2018-12-20 2020-06-25 Phoenix Contact Gmbh & Co. Kg Halterahmen für einen Steckverbinder
DE102019103772B4 (de) * 2019-02-13 2024-05-23 Harting Electric Stiftung & Co. Kg Schutzleiteranschluss
DE102019104704A1 (de) 2019-02-25 2020-08-27 Harting Electric Gmbh & Co. Kg Anschlusseinrichtung für elektrische Leiter
DE102019132167A1 (de) * 2019-11-27 2021-05-27 Connaught Electronics Ltd. Elektrischer Stecker zum Anschluss an eine Fahrzeugkamera, sowie Anordnung
DE102019135726A1 (de) * 2019-12-23 2021-06-24 Phoenix Contact Gmbh & Co. Kg Halterahmen für einen Steckverbinder
LU102017B1 (de) * 2020-08-25 2022-02-25 Phoenix Contact Gmbh & Co Potentialverteileranordnung
CN114914739A (zh) * 2021-02-09 2022-08-16 哈廷电子有限公司及两合公司 用于连接器的嵌件
CN118943792A (zh) 2023-05-09 2024-11-12 哈廷电子基金会两合公司 推入式嵌件及包括其的连接器
DE102024113595A1 (de) * 2024-05-15 2025-11-20 Harting Electric Stiftung & Co. Kg Erdungsmodul für einen modularen Industriesteckverbinder
WO2025252280A1 (de) * 2024-06-05 2025-12-11 Harting Electric Stiftung & Co. Kg Einsteckbare schutzerdungsplatte, einsteckeinsatz und verfahren zum zusammenbau desselben

Citations (12)

* Cited by examiner, † Cited by third party
Publication number Priority date Publication date Assignee Title
DE8111418U1 (de) 1981-04-15 1981-11-05 Harting Elektronik Gmbh, 4992 Espelkamp Anschlußverteiler
US5478259A (en) 1994-03-28 1995-12-26 Burndy Corporation Card edge connector with combined shielding and voltage drain protection
DE202006009460U1 (de) 2005-10-29 2007-03-15 Weidmüller Interface GmbH & Co. KG Anschlussvorrichtung für Leiter
DE102007013536B3 (de) 2007-03-18 2008-10-02 Phoenix Contact Gmbh & Co. Kg PE-Anschluss für Steckverbinder
DE202010008028U1 (de) 2009-07-18 2010-12-30 Weidmüller Interface GmbH & Co. KG Anschlussvorrichtung für Leiter
WO2011069522A1 (de) 2009-12-09 2011-06-16 Harting Electric Gmbh & Co. Kg Systemsteckverbinder
DE102011115637A1 (de) 2011-06-21 2012-12-27 Phoenix Contact Gmbh & Co. Kg Elektrische Anschlussklemme
EP2544314A2 (de) 2010-02-22 2013-01-09 Tyco Electronics AMP GmbH Kontakt Mittel zur Befestigung eines Endes eines Kabels
DE102010017717B4 (de) 2010-07-02 2014-06-05 Phoenix Contact Gmbh & Co. Kg Steckverbinder
DE102013108383A1 (de) 2013-08-05 2015-02-05 Harting Electric Gmbh & Co. Kg Steckverbindermodul
WO2015091098A1 (de) 2013-12-17 2015-06-25 Eaton Electrical Ip Gmbh & Co. Kg System von elektronikgehäuse und schutzkontaktanordnung
DE202014010621U1 (de) 2014-10-16 2016-02-11 Harting Electric Gmbh & Co. Kg Steckverbinder

Family Cites Families (11)

* Cited by examiner, † Cited by third party
Publication number Priority date Publication date Assignee Title
DE29505272U1 (de) * 1995-03-29 1995-07-20 Phoenix Contact Gmbh & Co., 32825 Blomberg Sensor-Aktor-Verteiler
DE29520008U1 (de) 1995-12-16 1996-03-07 Harting Elektronik Gmbh, 32339 Espelkamp Elektrischer Steckverbinder
DE29602740U1 (de) 1996-02-21 1996-04-11 Phoenix Contact GmbH & Co, 32825 Blomberg Elektrischer Steckverbinder
DE10325009B4 (de) * 2002-08-21 2004-09-16 Ges Electronic & Service Gmbh Modularer Steckverbinder und dessen Verwendung
DE20300266U1 (de) * 2003-01-08 2004-05-19 Bals Elektrotechnik Gmbh & Co. Kg Leiteranschlussklemme, insbesondere für Steckverbinder
JP2004319196A (ja) * 2003-04-15 2004-11-11 Auto Network Gijutsu Kenkyusho:Kk シールド接続構造
DE20308863U1 (de) * 2003-06-06 2003-08-21 Ria Btr Produktions Gmbh Anschlussklemme
DE102006004238B4 (de) * 2005-01-28 2011-09-29 Amphenol-Tuchel Electronics Gmbh Steckverbinder
DE202005015465U1 (de) * 2005-10-01 2007-02-15 Weidmüller Interface GmbH & Co. KG Steckverbindersystem aus schweren elektrischen Steckverbindern
FR2936659B1 (fr) * 2008-09-29 2010-11-12 Legrand France Broche electrique integrant la cage d'une borne de connexion electrique automatique
JP5313805B2 (ja) 2009-08-07 2013-10-09 スリーエム イノベイティブ プロパティズ カンパニー フローティングコネクタ

Patent Citations (12)

* Cited by examiner, † Cited by third party
Publication number Priority date Publication date Assignee Title
DE8111418U1 (de) 1981-04-15 1981-11-05 Harting Elektronik Gmbh, 4992 Espelkamp Anschlußverteiler
US5478259A (en) 1994-03-28 1995-12-26 Burndy Corporation Card edge connector with combined shielding and voltage drain protection
DE202006009460U1 (de) 2005-10-29 2007-03-15 Weidmüller Interface GmbH & Co. KG Anschlussvorrichtung für Leiter
DE102007013536B3 (de) 2007-03-18 2008-10-02 Phoenix Contact Gmbh & Co. Kg PE-Anschluss für Steckverbinder
DE202010008028U1 (de) 2009-07-18 2010-12-30 Weidmüller Interface GmbH & Co. KG Anschlussvorrichtung für Leiter
WO2011069522A1 (de) 2009-12-09 2011-06-16 Harting Electric Gmbh & Co. Kg Systemsteckverbinder
EP2544314A2 (de) 2010-02-22 2013-01-09 Tyco Electronics AMP GmbH Kontakt Mittel zur Befestigung eines Endes eines Kabels
DE102010017717B4 (de) 2010-07-02 2014-06-05 Phoenix Contact Gmbh & Co. Kg Steckverbinder
DE102011115637A1 (de) 2011-06-21 2012-12-27 Phoenix Contact Gmbh & Co. Kg Elektrische Anschlussklemme
DE102013108383A1 (de) 2013-08-05 2015-02-05 Harting Electric Gmbh & Co. Kg Steckverbindermodul
WO2015091098A1 (de) 2013-12-17 2015-06-25 Eaton Electrical Ip Gmbh & Co. Kg System von elektronikgehäuse und schutzkontaktanordnung
DE202014010621U1 (de) 2014-10-16 2016-02-11 Harting Electric Gmbh & Co. Kg Steckverbinder

Also Published As

Publication number Publication date
EP3312940B1 (de) 2020-01-15
CN107968297A (zh) 2018-04-27
CN107968297B (zh) 2020-03-17
DE202017007056U1 (de) 2019-05-02
EP3312940A1 (de) 2018-04-25
DE102016120002A1 (de) 2018-04-26

Similar Documents

Publication Publication Date Title
EP3312940B2 (de) Kontakteinsatz für ein steckverbinderteil
EP3613110B1 (de) Baugruppe für ein steckverbinderteil mit einem kontakteinsatz und einem erdungselement
DE102015114186A1 (de) Elektrische Reihenklemme
EP3593411B1 (de) Kontakteinsatz für ein steckverbinderteil
EP2497169A2 (de) Montageanordnung für elektrische geräte
DE202017107035U1 (de) Steckverbinderteil mit einem PE-Anschluss
EP3446371B1 (de) Steckverbinderteil mit in einen halterahmen eingesetzten modularen kontakteinsätzen
DE102020119128A1 (de) Steckverbindermodul zum Anschließen einer Schutzleitung
DE102016121966A1 (de) Kontakteinsatz für ein Steckverbinderteil
DE102017105077B4 (de) Kontakteinsatz für ein Steckverbinderteil
DE202017101365U1 (de) Kontakteinsatz für ein Steckverbinderteil
DE102010033112A1 (de) Elektroinstallationsgerät
DE10005260A1 (de) Isoliergehäuse für Verteilerklemme
EP4591404A1 (de) Elektrisches kontaktelement, steckverbindereinsatz und modularer industriesteckverbinder damit
DE29602268U1 (de) Geschirmte Leiterplattensteckbuchse
DE2139701C3 (de) Elektronische Anlage mit einem Rahmen zur Aufnahme von steckbaren Karten mit gedruckten Schaltungen
EP3625854B1 (de) Anordnung mit zwei anschlusseinrichtungen und einer bolzenklemme
DE102015110223A1 (de) Baugruppe einer Klemmeneinrichtung zum Anschließen von elektrischen Leitern
LU100001B1 (de) Steckverbinderteil mit einem PE-Anschluss
DE202013104941U1 (de) Elektrische Steckverbinderanordnung und Schirmanbindungselement hierzu
LU505385B1 (de) Baukastensystem zum Herstellen eines Frontsteckers
EP2920852A1 (de) Steckdoseneinsatz
EP2262062B1 (de) Steckverbinder
DE10331441A1 (de) Kontakteinsatz zum Anschließen der Leiter eines mehradrigen Kabels und elektrisches Gerät
DE19619323A1 (de) Elektrische Steckverbindung

Legal Events

Date Code Title Description
REG Reference to a national code

Ref country code: DE

Ref legal event code: R138

Ref document number: 202017007056

Country of ref document: DE

Free format text: GERMAN DOCUMENT NUMBER IS 502017003505

PUAI Public reference made under article 153(3) epc to a published international application that has entered the european phase

Free format text: ORIGINAL CODE: 0009012

STAA Information on the status of an ep patent application or granted ep patent

Free format text: STATUS: THE APPLICATION HAS BEEN PUBLISHED

AK Designated contracting states

Kind code of ref document: A1

Designated state(s): AL AT BE BG CH CY CZ DE DK EE ES FI FR GB GR HR HU IE IS IT LI LT LU LV MC MK MT NL NO PL PT RO RS SE SI SK SM TR

AX Request for extension of the european patent

Extension state: BA ME

STAA Information on the status of an ep patent application or granted ep patent

Free format text: STATUS: REQUEST FOR EXAMINATION WAS MADE

17P Request for examination filed

Effective date: 20180921

RBV Designated contracting states (corrected)

Designated state(s): AL AT BE BG CH CY CZ DE DK EE ES FI FR GB GR HR HU IE IS IT LI LT LU LV MC MK MT NL NO PL PT RO RS SE SI SK SM TR

TPAC Observations filed by third parties

Free format text: ORIGINAL CODE: EPIDOSNTIPA

STAA Information on the status of an ep patent application or granted ep patent

Free format text: STATUS: EXAMINATION IS IN PROGRESS

17Q First examination report despatched

Effective date: 20190411

GRAP Despatch of communication of intention to grant a patent

Free format text: ORIGINAL CODE: EPIDOSNIGR1

STAA Information on the status of an ep patent application or granted ep patent

Free format text: STATUS: GRANT OF PATENT IS INTENDED

INTG Intention to grant announced

Effective date: 20190917

GRAS Grant fee paid

Free format text: ORIGINAL CODE: EPIDOSNIGR3

GRAA (expected) grant

Free format text: ORIGINAL CODE: 0009210

STAA Information on the status of an ep patent application or granted ep patent

Free format text: STATUS: THE PATENT HAS BEEN GRANTED

AK Designated contracting states

Kind code of ref document: B1

Designated state(s): AL AT BE BG CH CY CZ DE DK EE ES FI FR GB GR HR HU IE IS IT LI LT LU LV MC MK MT NL NO PL PT RO RS SE SI SK SM TR

REG Reference to a national code

Ref country code: CH

Ref legal event code: EP

Ref country code: GB

Ref legal event code: FG4D

Free format text: NOT ENGLISH

REG Reference to a national code

Ref country code: IE

Ref legal event code: FG4D

Free format text: LANGUAGE OF EP DOCUMENT: GERMAN

REG Reference to a national code

Ref country code: AT

Ref legal event code: REF

Ref document number: 1225989

Country of ref document: AT

Kind code of ref document: T

Effective date: 20200215

REG Reference to a national code

Ref country code: DE

Ref legal event code: R096

Ref document number: 502017003505

Country of ref document: DE

REG Reference to a national code

Ref country code: NL

Ref legal event code: MP

Effective date: 20200115

REG Reference to a national code

Ref country code: LT

Ref legal event code: MG4D

PG25 Lapsed in a contracting state [announced via postgrant information from national office to epo]

Ref country code: NO

Free format text: LAPSE BECAUSE OF FAILURE TO SUBMIT A TRANSLATION OF THE DESCRIPTION OR TO PAY THE FEE WITHIN THE PRESCRIBED TIME-LIMIT

Effective date: 20200415

Ref country code: PT

Free format text: LAPSE BECAUSE OF FAILURE TO SUBMIT A TRANSLATION OF THE DESCRIPTION OR TO PAY THE FEE WITHIN THE PRESCRIBED TIME-LIMIT

Effective date: 20200607

Ref country code: FI

Free format text: LAPSE BECAUSE OF FAILURE TO SUBMIT A TRANSLATION OF THE DESCRIPTION OR TO PAY THE FEE WITHIN THE PRESCRIBED TIME-LIMIT

Effective date: 20200115

Ref country code: RS

Free format text: LAPSE BECAUSE OF FAILURE TO SUBMIT A TRANSLATION OF THE DESCRIPTION OR TO PAY THE FEE WITHIN THE PRESCRIBED TIME-LIMIT

Effective date: 20200115

Ref country code: NL

Free format text: LAPSE BECAUSE OF FAILURE TO SUBMIT A TRANSLATION OF THE DESCRIPTION OR TO PAY THE FEE WITHIN THE PRESCRIBED TIME-LIMIT

Effective date: 20200115

PG25 Lapsed in a contracting state [announced via postgrant information from national office to epo]

Ref country code: GR

Free format text: LAPSE BECAUSE OF FAILURE TO SUBMIT A TRANSLATION OF THE DESCRIPTION OR TO PAY THE FEE WITHIN THE PRESCRIBED TIME-LIMIT

Effective date: 20200416

Ref country code: IS

Free format text: LAPSE BECAUSE OF FAILURE TO SUBMIT A TRANSLATION OF THE DESCRIPTION OR TO PAY THE FEE WITHIN THE PRESCRIBED TIME-LIMIT

Effective date: 20200515

Ref country code: BG

Free format text: LAPSE BECAUSE OF FAILURE TO SUBMIT A TRANSLATION OF THE DESCRIPTION OR TO PAY THE FEE WITHIN THE PRESCRIBED TIME-LIMIT

Effective date: 20200415

Ref country code: LV

Free format text: LAPSE BECAUSE OF FAILURE TO SUBMIT A TRANSLATION OF THE DESCRIPTION OR TO PAY THE FEE WITHIN THE PRESCRIBED TIME-LIMIT

Effective date: 20200115

Ref country code: SE

Free format text: LAPSE BECAUSE OF FAILURE TO SUBMIT A TRANSLATION OF THE DESCRIPTION OR TO PAY THE FEE WITHIN THE PRESCRIBED TIME-LIMIT

Effective date: 20200115

Ref country code: HR

Free format text: LAPSE BECAUSE OF FAILURE TO SUBMIT A TRANSLATION OF THE DESCRIPTION OR TO PAY THE FEE WITHIN THE PRESCRIBED TIME-LIMIT

Effective date: 20200115

REG Reference to a national code

Ref country code: DE

Ref legal event code: R026

Ref document number: 502017003505

Country of ref document: DE

PLBI Opposition filed

Free format text: ORIGINAL CODE: 0009260

PLAX Notice of opposition and request to file observation + time limit sent

Free format text: ORIGINAL CODE: EPIDOSNOBS2

PG25 Lapsed in a contracting state [announced via postgrant information from national office to epo]

Ref country code: ES

Free format text: LAPSE BECAUSE OF FAILURE TO SUBMIT A TRANSLATION OF THE DESCRIPTION OR TO PAY THE FEE WITHIN THE PRESCRIBED TIME-LIMIT

Effective date: 20200115

Ref country code: DK

Free format text: LAPSE BECAUSE OF FAILURE TO SUBMIT A TRANSLATION OF THE DESCRIPTION OR TO PAY THE FEE WITHIN THE PRESCRIBED TIME-LIMIT

Effective date: 20200115

Ref country code: SK

Free format text: LAPSE BECAUSE OF FAILURE TO SUBMIT A TRANSLATION OF THE DESCRIPTION OR TO PAY THE FEE WITHIN THE PRESCRIBED TIME-LIMIT

Effective date: 20200115

Ref country code: SM

Free format text: LAPSE BECAUSE OF FAILURE TO SUBMIT A TRANSLATION OF THE DESCRIPTION OR TO PAY THE FEE WITHIN THE PRESCRIBED TIME-LIMIT

Effective date: 20200115

Ref country code: EE

Free format text: LAPSE BECAUSE OF FAILURE TO SUBMIT A TRANSLATION OF THE DESCRIPTION OR TO PAY THE FEE WITHIN THE PRESCRIBED TIME-LIMIT

Effective date: 20200115

Ref country code: CZ

Free format text: LAPSE BECAUSE OF FAILURE TO SUBMIT A TRANSLATION OF THE DESCRIPTION OR TO PAY THE FEE WITHIN THE PRESCRIBED TIME-LIMIT

Effective date: 20200115

Ref country code: LT

Free format text: LAPSE BECAUSE OF FAILURE TO SUBMIT A TRANSLATION OF THE DESCRIPTION OR TO PAY THE FEE WITHIN THE PRESCRIBED TIME-LIMIT

Effective date: 20200115

Ref country code: RO

Free format text: LAPSE BECAUSE OF FAILURE TO SUBMIT A TRANSLATION OF THE DESCRIPTION OR TO PAY THE FEE WITHIN THE PRESCRIBED TIME-LIMIT

Effective date: 20200115

26 Opposition filed

Opponent name: HARTING ELECTRIC GMBH & CO. KG

Effective date: 20201012

PG25 Lapsed in a contracting state [announced via postgrant information from national office to epo]

Ref country code: PL

Free format text: LAPSE BECAUSE OF FAILURE TO SUBMIT A TRANSLATION OF THE DESCRIPTION OR TO PAY THE FEE WITHIN THE PRESCRIBED TIME-LIMIT

Effective date: 20200115

Ref country code: SI

Free format text: LAPSE BECAUSE OF FAILURE TO SUBMIT A TRANSLATION OF THE DESCRIPTION OR TO PAY THE FEE WITHIN THE PRESCRIBED TIME-LIMIT

Effective date: 20200115

PLBB Reply of patent proprietor to notice(s) of opposition received

Free format text: ORIGINAL CODE: EPIDOSNOBS3

REG Reference to a national code

Ref country code: CH

Ref legal event code: PL

PG25 Lapsed in a contracting state [announced via postgrant information from national office to epo]

Ref country code: LU

Free format text: LAPSE BECAUSE OF NON-PAYMENT OF DUE FEES

Effective date: 20201009

Ref country code: MC

Free format text: LAPSE BECAUSE OF FAILURE TO SUBMIT A TRANSLATION OF THE DESCRIPTION OR TO PAY THE FEE WITHIN THE PRESCRIBED TIME-LIMIT

Effective date: 20200115

REG Reference to a national code

Ref country code: BE

Ref legal event code: MM

Effective date: 20201031

PG25 Lapsed in a contracting state [announced via postgrant information from national office to epo]

Ref country code: LI

Free format text: LAPSE BECAUSE OF NON-PAYMENT OF DUE FEES

Effective date: 20201031

Ref country code: CH

Free format text: LAPSE BECAUSE OF NON-PAYMENT OF DUE FEES

Effective date: 20201031

Ref country code: BE

Free format text: LAPSE BECAUSE OF NON-PAYMENT OF DUE FEES

Effective date: 20201031

PG25 Lapsed in a contracting state [announced via postgrant information from national office to epo]

Ref country code: IE

Free format text: LAPSE BECAUSE OF NON-PAYMENT OF DUE FEES

Effective date: 20201009

PG25 Lapsed in a contracting state [announced via postgrant information from national office to epo]

Ref country code: TR

Free format text: LAPSE BECAUSE OF FAILURE TO SUBMIT A TRANSLATION OF THE DESCRIPTION OR TO PAY THE FEE WITHIN THE PRESCRIBED TIME-LIMIT

Effective date: 20200115

Ref country code: MT

Free format text: LAPSE BECAUSE OF FAILURE TO SUBMIT A TRANSLATION OF THE DESCRIPTION OR TO PAY THE FEE WITHIN THE PRESCRIBED TIME-LIMIT

Effective date: 20200115

Ref country code: CY

Free format text: LAPSE BECAUSE OF FAILURE TO SUBMIT A TRANSLATION OF THE DESCRIPTION OR TO PAY THE FEE WITHIN THE PRESCRIBED TIME-LIMIT

Effective date: 20200115

GBPC Gb: european patent ceased through non-payment of renewal fee

Effective date: 20211009

PG25 Lapsed in a contracting state [announced via postgrant information from national office to epo]

Ref country code: MK

Free format text: LAPSE BECAUSE OF FAILURE TO SUBMIT A TRANSLATION OF THE DESCRIPTION OR TO PAY THE FEE WITHIN THE PRESCRIBED TIME-LIMIT

Effective date: 20200115

Ref country code: AL

Free format text: LAPSE BECAUSE OF FAILURE TO SUBMIT A TRANSLATION OF THE DESCRIPTION OR TO PAY THE FEE WITHIN THE PRESCRIBED TIME-LIMIT

Effective date: 20200115

APBM Appeal reference recorded

Free format text: ORIGINAL CODE: EPIDOSNREFNO

APBP Date of receipt of notice of appeal recorded

Free format text: ORIGINAL CODE: EPIDOSNNOA2O

PLAB Opposition data, opponent's data or that of the opponent's representative modified

Free format text: ORIGINAL CODE: 0009299OPPO

PG25 Lapsed in a contracting state [announced via postgrant information from national office to epo]

Ref country code: GB

Free format text: LAPSE BECAUSE OF NON-PAYMENT OF DUE FEES

Effective date: 20211009

APAH Appeal reference modified

Free format text: ORIGINAL CODE: EPIDOSCREFNO

R26 Opposition filed (corrected)

Opponent name: HARTING ELECTRIC STIFTUNG & CO. KG

Effective date: 20201012

APBQ Date of receipt of statement of grounds of appeal recorded

Free format text: ORIGINAL CODE: EPIDOSNNOA3O

P01 Opt-out of the competence of the unified patent court (upc) registered

Effective date: 20230424

REG Reference to a national code

Ref country code: AT

Ref legal event code: MM01

Ref document number: 1225989

Country of ref document: AT

Kind code of ref document: T

Effective date: 20221009

PG25 Lapsed in a contracting state [announced via postgrant information from national office to epo]

Ref country code: AT

Free format text: LAPSE BECAUSE OF NON-PAYMENT OF DUE FEES

Effective date: 20221009

APAH Appeal reference modified

Free format text: ORIGINAL CODE: EPIDOSCREFNO

APAH Appeal reference modified

Free format text: ORIGINAL CODE: EPIDOSCREFNO

APBU Appeal procedure closed

Free format text: ORIGINAL CODE: EPIDOSNNOA9O

PGFP Annual fee paid to national office [announced via postgrant information from national office to epo]

Ref country code: FR

Payment date: 20241025

Year of fee payment: 8

PUAH Patent maintained in amended form

Free format text: ORIGINAL CODE: 0009272

STAA Information on the status of an ep patent application or granted ep patent

Free format text: STATUS: PATENT MAINTAINED AS AMENDED

PGFP Annual fee paid to national office [announced via postgrant information from national office to epo]

Ref country code: DE

Payment date: 20241227

Year of fee payment: 8

27A Patent maintained in amended form

Effective date: 20250430

AK Designated contracting states

Kind code of ref document: B2

Designated state(s): AL AT BE BG CH CY CZ DE DK EE ES FI FR GB GR HR HU IE IS IT LI LT LU LV MC MK MT NL NO PL PT RO RS SE SI SK SM TR

REG Reference to a national code

Ref country code: DE

Ref legal event code: R102

Ref document number: 502017003505

Country of ref document: DE

PGFP Annual fee paid to national office [announced via postgrant information from national office to epo]

Ref country code: IT

Payment date: 20251022

Year of fee payment: 9