EP3203148B1 - Betriebslagermittel mit zumindest einer schublade - Google Patents

Betriebslagermittel mit zumindest einer schublade Download PDF

Info

Publication number
EP3203148B1
EP3203148B1 EP16000266.3A EP16000266A EP3203148B1 EP 3203148 B1 EP3203148 B1 EP 3203148B1 EP 16000266 A EP16000266 A EP 16000266A EP 3203148 B1 EP3203148 B1 EP 3203148B1
Authority
EP
European Patent Office
Prior art keywords
light
drawer
equipment storage
storage means
emitting means
Prior art date
Legal status (The legal status is an assumption and is not a legal conclusion. Google has not performed a legal analysis and makes no representation as to the accuracy of the status listed.)
Active
Application number
EP16000266.3A
Other languages
German (de)
English (en)
French (fr)
Other versions
EP3203148A1 (de
Inventor
Franz Oberhänsli
Joël Brunschwiler
Current Assignee (The listed assignees may be inaccurate. Google has not performed a legal analysis and makes no representation or warranty as to the accuracy of the list.)
Lista AG
Original Assignee
Lista AG
Priority date (The priority date is an assumption and is not a legal conclusion. Google has not performed a legal analysis and makes no representation as to the accuracy of the date listed.)
Filing date
Publication date
Priority to EP16000266.3A priority Critical patent/EP3203148B1/de
Application filed by Lista AG filed Critical Lista AG
Priority to DK16000266.3T priority patent/DK3203148T3/da
Priority to ES16000266T priority patent/ES2767277T3/es
Priority to PL16000266T priority patent/PL3203148T3/pl
Priority to HUE16000266A priority patent/HUE047838T2/hu
Priority to PT160002663T priority patent/PT3203148T/pt
Priority to KR1020187025297A priority patent/KR20190030639A/ko
Priority to PCT/EP2017/000123 priority patent/WO2017133839A1/de
Priority to AU2017215906A priority patent/AU2017215906A1/en
Priority to CA3015920A priority patent/CA3015920A1/en
Priority to CN201780020071.XA priority patent/CN109477632B/zh
Publication of EP3203148A1 publication Critical patent/EP3203148A1/de
Application granted granted Critical
Publication of EP3203148B1 publication Critical patent/EP3203148B1/de
Active legal-status Critical Current
Anticipated expiration legal-status Critical

Links

Images

Classifications

    • BPERFORMING OPERATIONS; TRANSPORTING
    • B25HAND TOOLS; PORTABLE POWER-DRIVEN TOOLS; MANIPULATORS
    • B25HWORKSHOP EQUIPMENT, e.g. FOR MARKING-OUT WORK; STORAGE MEANS FOR WORKSHOPS
    • B25H3/00Storage means or arrangements for workshops facilitating access to, or handling of, work tools or instruments
    • B25H3/02Boxes
    • B25H3/021Boxes comprising a number of connected storage elements
    • B25H3/023Boxes comprising a number of connected storage elements movable relative to one another for access to their interiors
    • B25H3/028Boxes comprising a number of connected storage elements movable relative to one another for access to their interiors by sliding extraction from within a common frame
    • FMECHANICAL ENGINEERING; LIGHTING; HEATING; WEAPONS; BLASTING
    • F21LIGHTING
    • F21VFUNCTIONAL FEATURES OR DETAILS OF LIGHTING DEVICES OR SYSTEMS THEREOF; STRUCTURAL COMBINATIONS OF LIGHTING DEVICES WITH OTHER ARTICLES, NOT OTHERWISE PROVIDED FOR
    • F21V33/00Structural combinations of lighting devices with other articles, not otherwise provided for
    • F21V33/0004Personal or domestic articles
    • F21V33/0012Furniture
    • BPERFORMING OPERATIONS; TRANSPORTING
    • B25HAND TOOLS; PORTABLE POWER-DRIVEN TOOLS; MANIPULATORS
    • B25HWORKSHOP EQUIPMENT, e.g. FOR MARKING-OUT WORK; STORAGE MEANS FOR WORKSHOPS
    • B25H3/00Storage means or arrangements for workshops facilitating access to, or handling of, work tools or instruments
    • B25H3/06Trays
    • EFIXED CONSTRUCTIONS
    • E05LOCKS; KEYS; WINDOW OR DOOR FITTINGS; SAFES
    • E05BLOCKS; ACCESSORIES THEREFOR; HANDCUFFS
    • E05B17/00Accessories in connection with locks
    • E05B17/10Illuminating devices on or for locks or keys; Transparent or translucent lock parts; Indicator lights
    • EFIXED CONSTRUCTIONS
    • E05LOCKS; KEYS; WINDOW OR DOOR FITTINGS; SAFES
    • E05BLOCKS; ACCESSORIES THEREFOR; HANDCUFFS
    • E05B41/00Locks with visible indication as to whether the lock is locked or unlocked
    • EFIXED CONSTRUCTIONS
    • E05LOCKS; KEYS; WINDOW OR DOOR FITTINGS; SAFES
    • E05BLOCKS; ACCESSORIES THEREFOR; HANDCUFFS
    • E05B47/00Operating or controlling locks or other fastening devices by electric or magnetic means
    • EFIXED CONSTRUCTIONS
    • E05LOCKS; KEYS; WINDOW OR DOOR FITTINGS; SAFES
    • E05BLOCKS; ACCESSORIES THEREFOR; HANDCUFFS
    • E05B65/00Locks or fastenings for special use
    • E05B65/46Locks or fastenings for special use for drawers
    • E05B65/462Locks or fastenings for special use for drawers for two or more drawers
    • FMECHANICAL ENGINEERING; LIGHTING; HEATING; WEAPONS; BLASTING
    • F21LIGHTING
    • F21YINDEXING SCHEME ASSOCIATED WITH SUBCLASSES F21K, F21L, F21S and F21V, RELATING TO THE FORM OR THE KIND OF THE LIGHT SOURCES OR OF THE COLOUR OF THE LIGHT EMITTED
    • F21Y2103/00Elongate light sources, e.g. fluorescent tubes
    • F21Y2103/10Elongate light sources, e.g. fluorescent tubes comprising a linear array of point-like light-generating elements
    • FMECHANICAL ENGINEERING; LIGHTING; HEATING; WEAPONS; BLASTING
    • F21LIGHTING
    • F21YINDEXING SCHEME ASSOCIATED WITH SUBCLASSES F21K, F21L, F21S and F21V, RELATING TO THE FORM OR THE KIND OF THE LIGHT SOURCES OR OF THE COLOUR OF THE LIGHT EMITTED
    • F21Y2115/00Light-generating elements of semiconductor light sources
    • F21Y2115/10Light-emitting diodes [LED]

Definitions

  • the invention relates to an operating bearing means, in particular a drawer cabinet, which has a body or a frame for receiving drawers, wherein guide means are provided with which drawers are extendable and insertable, wherein at least one optical display means is provided by means of a control of the operating bearing means provided signals regarding state information of the drawers are optically displayed.
  • tool cabinets have already been developed whose access is controlled via an access authorization system. This should be locked or released from a central location whole cabinets and individual drawers. Since the drawers are usually divided by Eingnacsschn and different storage goods can be present with different access rights in the individual compartments of the drawers, also frame for covering drawers are offered, whose size corresponds exactly to the respective drawer surface.
  • the frame should be placed on top of the drawer and fastened to it. It has a matrix-like structure and has for each compartment of the respective drawer a top accessible and closable with a hinged flap opening and releasable.
  • Each flap is associated with a release request button on the frame which can be used to request a release to open the particular flap or open a flap by a higher level access release device.
  • a release request button on the frame which can be used to request a release to open the particular flap or open a flap by a higher level access release device.
  • the locking device of the corresponding drawer and the corresponding flap of the drawer is unlocked or maintained the lock.
  • the Applicant already has drawer cabinets and other drawer-based warehouse equipment in their program where status or status information about individual drawers is displayed on the front panel.
  • status information may include, but is not limited to, release information about the corresponding drawer and compartments within that drawer.
  • the previous solution has the disadvantage of a high technical complexity due to the required cabling, in which cables and / or sliding contacts must be laid down in the drawers so that the drawers energy and signals are available.
  • the invention is therefore an object of the invention to provide a way for operational bearing means of the aforementioned, can be displayed with less technical effort than before, to drawers visually perceptible status and / or status information.
  • the at least one light emitting means arranged on the frame or on the body is directed onto at least one drawer display means arranged on one of the drawers so that light emitted by the light emitting means can be displayed on the drawer as its optically detectable signal on the drawer display means.
  • a preferred embodiment of the invention can provide that the light emitting means are arranged at least approximately vertically one behind the other.
  • Such a solution can be realized for example by a cost-effective LED strip, in which individual LEDs are combined in one component and as independent as possible by the controller can be switched.
  • LEDs as Lichtemittierstoff are in the context of the present invention but also independent of embodiments in which a plurality Lichtemittierstoff are summarized as LED strip.
  • the invention thus also encompasses preferred embodiments with a plurality of but separate LEDs or other light emitting means.
  • a short distance between the at least one light emitting means and a suitable location of the respective drawer for the at least one display means on the drawer can be realized, for example, by providing the at least one light emitting means in the region of a front opening of the frame or Carcass is arranged, from which the drawers from the frame or body can be pulled out and inserted.
  • the same advantage results in an advantageous development of the invention, in which light emitting means with inserted drawers are located directly opposite ends of gripping strips of the drawers.
  • the light from at least one light emitting means is directed either directly to the drawer front or indirectly via light conducting means to the drawer front becomes.
  • a handle element such as a handle bar, which is provided for handling the drawer by a user in an extract from and a drawer of the drawer in the cabinet body to be considered part of the drawer front, even if the grip element is a separate component or is a separate assembly.
  • the thus indicated by the respective Lichtemittierstoff by contactless transmission of the light or the light signals information about or to the corresponding drawer can be read on the respective drawer front as optically perceptible information.
  • At least a doubling of transferable to the drawers optical information and signals can be achieved according to the invention are arranged in the light emitting means on two different, in particular opposite, sides of the opening on the frame or body of the operating bearing means.
  • an increase in the number of different optical information that can be displayed in each case in one drawer can also be achieved by using light emitting means which can emit light in different colors.
  • Different optical information can be achieved in a further embodiment according to the invention-alternatively or in addition to the possibilities described above-with, in particular, the same light-emitting means and also by different flashing sequences generated by this light-emitting means.
  • means may be provided on at least one of the drawers, by means of which contactless transmitted to the drawer optical signals can be forwarded from a receiving point of the optical signal to the drawer to another location of the drawer, in particular by at least one the drawer or its handle bar arranged light guide element.
  • Such a preferred embodiment of the invention may in particular comprise a transparent handle bar, on whose at least one end face - in the inserted state of the drawer and in the switched-on state of the light emitting means - the light of Lichtemittierffens is directed and the light is in particular contactlessly introduced into the handle.
  • the light can be reproduced anywhere on the handle bar and thus the corresponding information can be displayed.
  • transparent and partially transparent or non-transparent handle strips may be provided.
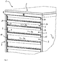
  • Fig. 1 shows a drawer cabinet 1, as it is widely used for the storage of operating and production means, as well as for tools in the field of production or the craft.
  • the drawer cabinet 1 has a body 2 made of metal sheets.
  • Each of the drawers 3 is provided with drawer slides 4, for example, telescopically constructed so-called full extensions.
  • the drawer cabinet 1 may be provided with an access authorization device and with a single pull-out protection. With the single pull-out protection a simultaneous withdrawal of more than one drawer - and thus a risk of tipping due to too many pulled out drawers 3 - can be prevented.
  • the access authorization device can be determined, preferably changeable, which drawers 3 released for an excerpt from the body 2 and which Drawers 3 are locked for an excerpt. For different users and / or groups of users different access permissions can be present and preferably be set changeable.
  • the respective data about access authorizations are changeably stored in a control of the drawer cabinet 1 and / or a common control of a plurality of drawer cabinets 1.
  • Both the access authorization device and the individual pull-out protection can resort to the same locking mechanism with which a drawer 3 and / or a group of drawers 3 of the drawer cabinet 1 can be locked separately from other drawers 3 against an extract.
  • a tab arranged in the region of the rear side of the respective drawer can cooperate with a closure profile arranged in the region of the rear wall of the body (not shown in the figures).
  • a retracted into the body 2 drawer 3 engages this in the closure profile and depending on the position of the closure profile this can capture the tab form fit or engage behind or release, so that the tab and thus belonging to the respective tab drawer is locked against an excerpt.
  • the present invention is not limited to this type of mechanical locking or release by a single pull-out protection described herein. In principle, the invention can be used with any individual pull-out protection and any access authorization device. In addition, it is also possible to use the invention without a single pull-out protection.
  • a vertically aligned row 8 of LEDs 9 is arranged on the body 2 in the region of the front ends of the two side walls 6, 7 respectively.
  • the light-emitting diodes 9 arranged on one side of the drawers 3 are in each case formed as a one-piece LED strip 10 or LED strip, which is preferably located in a protective tube or protective cover for protection against damage.
  • any other type of light emitting means may be provided, for example incandescent lamps and / or light foils.
  • the LEDs 9 are located on inner sides of the edges 14 of the opening of the body 2, with which the body 2, the front sides 3a of the inserted drawers 3 surrounds.
  • each of the two substantially parallel to each other and vertically aligned rows 8 of Light emitting diodes 9 is independent of the other light emitting diodes 9 of this row 8 of a control of the drawer cabinet 1 by means of appropriate signals on and off.
  • Each light-emitting diode 9 of each of the two rows of LEDs 8 is assigned to only one drawer 3 and is therefore each directly opposite a front side of their respective associated drawer 3.
  • the thus per drawer 3 a total of at least two light-emitting diodes 9 (at each end face 20 of Handle bar 21 each have a light emitting diode) can also be operated independently.
  • a different number of Lichtemittierstoff per drawer may be provided, in particular at least two Lichtemittierstoff on at least one or both of the end faces of the drawers.
  • at least two Lichtemittierstoff on at least one or both of the end faces of the drawers may be provided.
  • only at least one light emitting means is provided only at one end face of the drawers.
  • other light emitting means may be provided as LEDs, as well as in one embodiment, different types of Lichtemittierstoffn can be used, for example, incandescent and / or light-emitting foils.
  • the LED strip 10 is arranged in an undercut 22 of the front frame of the body 2, so that the LED strip 10 is largely hidden from the outside and not or barely visible.
  • the LEDs 9 of the LED strip are each directly opposite the end faces 20 of the handles 21 of the drawers.
  • a handle strip cover 23 is attached.
  • the handle strip cover 23 may have a facing the respective LED and arranged at a small distance from the LED surface 24, so that the Grip cover 23 associated LED emits their light emission at least among others in the direction of the surface 24 of the handle strip cover 23 and radiates.
  • handle bar covers 23 of the drawers have the function of drawer indicator means for displaying the emitted light at the respective drawer. Since the respective LED signals a specific information, such as an existing access authorization for this drawer, or "disorder", or "expiration of access time", a user can read this visually perceptible information on the corresponding end 20 of the handle bar 21 and remove this , In order to improve the recognizability of the optical signal on the end face 20 of the respective grip strip 21, the end face 20 may be provided with (particularly strong) reflective material.
  • an inclination or a curvature of the surface 24 front side 20 may be provided so that the light emitted from the respective LED on the front light does not occur along an orthogonal to the surface of the end face aligned optical axis and the incident light - with respect to the front 3a of the drawer 3 - is reflected forward in front of the drawer 3.
  • LEDs or other Lichtemittierstoff are arranged in the region of the opening of the body.
  • the LEDs emit light in the direction of the front sides of them respectively associated gripping strips of the drawers, wherein the light emitting means actuated by the respective control, so on and off, are.
  • the light impinging on the end face of the respective grip strip is not reflected from there, but is guided from the end face of the grip strip into the grip strip.
  • the handle bar can be made transparent to it at least in a portion of it, so that the light introduced into the handle bar light from the outside is recognizable or visually perceptible.
  • light guide means are present in or on the handle bar, with which light can be directed in an area towards the center or the opposite other end side of the respective drawer to at any, but predetermined, location of the handle or the Drawer front to be brought to the display.
  • the light generated by the light emitting means can be transmitted without contact and displayed at locations far away from the respective light emitting element on the drawer or its handle bar.
  • the handle bar can be illuminated over its entire length.
  • another element of the drawer in particular the drawer front, can be illuminated by at least one light emitting means arranged laterally on the frame.
  • light can be introduced into another element arranged on the drawer, by means of which the respective light can be seen from outside as belonging to the respective drawer.
  • a light guide element instead of in or on the handle bar and on the front side a light guide element may be arranged by the non-contact light of the not arranged on the drawer Lichtemittierstoffs received and this light is forwarded to any point on the drawer front to be displayed there.
  • the light originating from one or more light emitting elements can also be emitted to the front of the respective drawer itself in order to provide there optically detectable signals for the transmission of information about the respective drawer.
  • more than just one light emitting element can be provided if required.
  • at least one or more or all of the drawers may have at least two or more optical waveguide elements each associated with a drawer.
  • Each light guide element may in this case be assigned the display of different information, such as "outside the operating time". To better distinguish the different information, different light guide elements of a drawer can emit light in different colors.
  • a light guide element displays different light signals, for example, flashing sequences with different on and / or off times and / or different brightnesses, changeable brightnesses, color changes, in particular stepless and / or hard color changes.

Landscapes

  • Engineering & Computer Science (AREA)
  • Mechanical Engineering (AREA)
  • Health & Medical Sciences (AREA)
  • Public Health (AREA)
  • General Engineering & Computer Science (AREA)
  • Drawers Of Furniture (AREA)
  • Illuminated Signs And Luminous Advertising (AREA)
EP16000266.3A 2016-02-03 2016-02-03 Betriebslagermittel mit zumindest einer schublade Active EP3203148B1 (de)

Priority Applications (11)

Application Number Priority Date Filing Date Title
DK16000266.3T DK3203148T3 (da) 2016-02-03 2016-02-03 Driftslagermiddel med i det mindste en skuffe
ES16000266T ES2767277T3 (es) 2016-02-03 2016-02-03 Mueble de almacenamiento industrial con al menos un cajón
PL16000266T PL3203148T3 (pl) 2016-02-03 2016-02-03 Środek magazynowania zakładowego z co najmniej jedną szufladą
HUE16000266A HUE047838T2 (hu) 2016-02-03 2016-02-03 Üzemi tárolóeszköz legalább egy fiókkal
PT160002663T PT3203148T (pt) 2016-02-03 2016-02-03 Meio de armazenamento de equipamento com pelo menos uma gaveta
EP16000266.3A EP3203148B1 (de) 2016-02-03 2016-02-03 Betriebslagermittel mit zumindest einer schublade
KR1020187025297A KR20190030639A (ko) 2016-02-03 2017-02-01 적어도 하나의 서랍을 갖는 작동식 저장 수단
PCT/EP2017/000123 WO2017133839A1 (de) 2016-02-03 2017-02-01 Betriebslagermittel mit zumindest einer schublade
AU2017215906A AU2017215906A1 (en) 2016-02-03 2017-02-01 Operational storage means with at least one drawer
CA3015920A CA3015920A1 (en) 2016-02-03 2017-02-01 Operational storage means with at least one drawer
CN201780020071.XA CN109477632B (zh) 2016-02-03 2017-02-01 带有至少一个抽屉的运行贮藏器件

Applications Claiming Priority (1)

Application Number Priority Date Filing Date Title
EP16000266.3A EP3203148B1 (de) 2016-02-03 2016-02-03 Betriebslagermittel mit zumindest einer schublade

Publications (2)

Publication Number Publication Date
EP3203148A1 EP3203148A1 (de) 2017-08-09
EP3203148B1 true EP3203148B1 (de) 2019-10-16

Family

ID=55345633

Family Applications (1)

Application Number Title Priority Date Filing Date
EP16000266.3A Active EP3203148B1 (de) 2016-02-03 2016-02-03 Betriebslagermittel mit zumindest einer schublade

Country Status (11)

Country Link
EP (1) EP3203148B1 (pl)
KR (1) KR20190030639A (pl)
CN (1) CN109477632B (pl)
AU (1) AU2017215906A1 (pl)
CA (1) CA3015920A1 (pl)
DK (1) DK3203148T3 (pl)
ES (1) ES2767277T3 (pl)
HU (1) HUE047838T2 (pl)
PL (1) PL3203148T3 (pl)
PT (1) PT3203148T (pl)
WO (1) WO2017133839A1 (pl)

Families Citing this family (3)

* Cited by examiner, † Cited by third party
Publication number Priority date Publication date Assignee Title
US10976047B2 (en) * 2018-08-23 2021-04-13 Snap-On Incorporated Illumination for storage units
EP4282596A1 (de) * 2022-05-25 2023-11-29 Lista AG Betriebsmittellagereinrichtung mit einer zugriffsüberwachung
TWI826260B (zh) * 2023-02-14 2023-12-11 高宗熙 工具存放結構

Family Cites Families (10)

* Cited by examiner, † Cited by third party
Publication number Priority date Publication date Assignee Title
US7142944B2 (en) * 2002-08-07 2006-11-28 Supplypro, Inc. Apparatus for securing drawer contents
DE202006007151U1 (de) * 2006-05-04 2007-09-20 Hettich Strothmann Gmbh & Co. Kg Möbel
CN103090750B (zh) * 2011-11-04 2015-11-18 广州美电贝尔电业科技有限公司 一种子弹箱
CN202503965U (zh) * 2011-12-31 2012-10-31 澄思源生物科技(上海)有限公司 一种基于物联网技术的铁皮石斛生产柜
WO2014090644A1 (de) * 2012-12-11 2014-06-19 BSH Bosch und Siemens Hausgeräte GmbH Haushaltskältegerät mit einem anzeigemittel für einen behälterdeckel
US9195803B2 (en) * 2013-03-28 2015-11-24 Aesynt Incorporated Systems, methods, apparatuses, and computer program products for providing controlled access to intravenous bags
DE102014005715A1 (de) * 2013-06-18 2014-12-18 YL GmbH Schublade
CN103465242A (zh) * 2013-08-28 2013-12-25 昆山凯恒五金配件有限公司 推拉式照明工具柜
CN204597295U (zh) * 2015-05-15 2015-08-26 河南工业职业技术学院 一种多功能电气柜
CN204696542U (zh) * 2015-06-26 2015-10-07 宁夏天地经纬电力设备工程有限公司 一种低压开关柜

Non-Patent Citations (1)

* Cited by examiner, † Cited by third party
Title
None *

Also Published As

Publication number Publication date
ES2767277T3 (es) 2020-06-17
WO2017133839A1 (de) 2017-08-10
PL3203148T3 (pl) 2020-06-01
DK3203148T3 (da) 2020-01-27
PT3203148T (pt) 2020-01-21
AU2017215906A1 (en) 2018-09-27
CN109477632A (zh) 2019-03-15
CN109477632B (zh) 2022-02-11
HUE047838T2 (hu) 2020-05-28
EP3203148A1 (de) 2017-08-09
KR20190030639A (ko) 2019-03-22
CA3015920A1 (en) 2017-08-10

Similar Documents

Publication Publication Date Title
DE202009000472U1 (de) Schublade mit lichtdurchlässiger Wand
EP3203148B1 (de) Betriebslagermittel mit zumindest einer schublade
DE202014105208U1 (de) Vorrichtung zur Aufnahme von Getränkebehältern und elektronischen Geräten
DE102014003505A1 (de) Kraftfahrzeugtürschloss mit Kindersicherung
DE202014002768U1 (de) Rücknahmeautomat
DE102008060034A1 (de) Lagervorrichtung mit Dokumentationsmöglichkeit der Entnahme von Gegenständen sowie entsprechendes Einlagerungs- und Entnahmeverfahren
DE102016110529A1 (de) Schublade mit absenkbarem Boden und hiermit ausgestattetes Möbelstück, insbesondere Schrank
EP2862993A2 (de) Korpusübergreifender Zentralverriegelungsbeschlag für aufeinander aufliegende Schubladenschränke
DE202010001579U1 (de) Beleuchtungsvorrichtung für ein bewegliches Möbelelement sowie Möbelelement
EP1790528A1 (de) Vorrichtung zur Beleuchtung der Griffkontur eines Fahrzeug-Außengriffs
AT10609U1 (de) Möbel mit schubladen
EP1875025B1 (de) Schrankmöbel
DE102013111734A1 (de) Schublade mit Auszug und Kühlschrank mit Schublade
DE2329127C3 (pl)
DE4446435C2 (de) Vitrine mit einer Beleuchtungseinrichtung
DE102019009084B4 (de) Kantenschutzmodul zur Anbringung an einem Rand einer Stellplatte
EP4282596A1 (de) Betriebsmittellagereinrichtung mit einer zugriffsüberwachung
DE202014000872U1 (de) Schublade
DE202012012811U1 (de) Versenkbare Schreibtischleuchte
DE202013005791U1 (de) Sortimentsbox für Fahrzeuge
DE29905396U1 (de) Anzeigevorrichtung an einem Regal, insbesondere einem Hochregal
DE112018000529T5 (de) Laborspeichergerät mit LED-Streifen-Statusanzeige
WO2022136160A1 (de) Umlaufregal mit einer anzeigevorrichtung für lagergut und ein verfahren zum kommissionieren mittels eines derartigen umlaufregals
DE102015118634A1 (de) Gabelschuh, Modul sowie zugehöriges System für ein Flurförderzeug
EP3089902A1 (de) Fahrzeug mit gepäckablage

Legal Events

Date Code Title Description
PUAI Public reference made under article 153(3) epc to a published international application that has entered the european phase

Free format text: ORIGINAL CODE: 0009012

STAA Information on the status of an ep patent application or granted ep patent

Free format text: STATUS: THE APPLICATION HAS BEEN PUBLISHED

AK Designated contracting states

Kind code of ref document: A1

Designated state(s): AL AT BE BG CH CY CZ DE DK EE ES FI FR GB GR HR HU IE IS IT LI LT LU LV MC MK MT NL NO PL PT RO RS SE SI SK SM TR

AX Request for extension of the european patent

Extension state: BA ME

STAA Information on the status of an ep patent application or granted ep patent

Free format text: STATUS: REQUEST FOR EXAMINATION WAS MADE

17P Request for examination filed

Effective date: 20180208

RBV Designated contracting states (corrected)

Designated state(s): AL AT BE BG CH CY CZ DE DK EE ES FI FR GB GR HR HU IE IS IT LI LT LU LV MC MK MT NL NO PL PT RO RS SE SI SK SM TR

GRAP Despatch of communication of intention to grant a patent

Free format text: ORIGINAL CODE: EPIDOSNIGR1

STAA Information on the status of an ep patent application or granted ep patent

Free format text: STATUS: GRANT OF PATENT IS INTENDED

INTG Intention to grant announced

Effective date: 20181206

GRAS Grant fee paid

Free format text: ORIGINAL CODE: EPIDOSNIGR3

GRAL Information related to payment of fee for publishing/printing deleted

Free format text: ORIGINAL CODE: EPIDOSDIGR3

GRAS Grant fee paid

Free format text: ORIGINAL CODE: EPIDOSNIGR3

GRAA (expected) grant

Free format text: ORIGINAL CODE: 0009210

STAA Information on the status of an ep patent application or granted ep patent

Free format text: STATUS: THE PATENT HAS BEEN GRANTED

AK Designated contracting states

Kind code of ref document: B1

Designated state(s): AL AT BE BG CH CY CZ DE DK EE ES FI FR GB GR HR HU IE IS IT LI LT LU LV MC MK MT NL NO PL PT RO RS SE SI SK SM TR

REG Reference to a national code

Ref country code: GB

Ref legal event code: FG4D

Free format text: NOT ENGLISH

REG Reference to a national code

Ref country code: CH

Ref legal event code: EP

REG Reference to a national code

Ref country code: DE

Ref legal event code: R096

Ref document number: 502016007077

Country of ref document: DE

REG Reference to a national code

Ref country code: IE

Ref legal event code: FG4D

Free format text: LANGUAGE OF EP DOCUMENT: GERMAN

REG Reference to a national code

Ref country code: AT

Ref legal event code: REF

Ref document number: 1191637

Country of ref document: AT

Kind code of ref document: T

Effective date: 20191115

REG Reference to a national code

Ref country code: FI

Ref legal event code: FGE

REG Reference to a national code

Ref country code: PT

Ref legal event code: SC4A

Ref document number: 3203148

Country of ref document: PT

Date of ref document: 20200121

Kind code of ref document: T

Free format text: AVAILABILITY OF NATIONAL TRANSLATION

Effective date: 20200113

REG Reference to a national code

Ref country code: DK

Ref legal event code: T3

Effective date: 20200124

REG Reference to a national code

Ref country code: SE

Ref legal event code: TRGR

REG Reference to a national code

Ref country code: NL

Ref legal event code: FP

REG Reference to a national code

Ref country code: NO

Ref legal event code: T2

Effective date: 20191016

REG Reference to a national code

Ref country code: LT

Ref legal event code: MG4D

PG25 Lapsed in a contracting state [announced via postgrant information from national office to epo]

Ref country code: LV

Free format text: LAPSE BECAUSE OF FAILURE TO SUBMIT A TRANSLATION OF THE DESCRIPTION OR TO PAY THE FEE WITHIN THE PRESCRIBED TIME-LIMIT

Effective date: 20191016

Ref country code: BG

Free format text: LAPSE BECAUSE OF FAILURE TO SUBMIT A TRANSLATION OF THE DESCRIPTION OR TO PAY THE FEE WITHIN THE PRESCRIBED TIME-LIMIT

Effective date: 20200116

Ref country code: GR

Free format text: LAPSE BECAUSE OF FAILURE TO SUBMIT A TRANSLATION OF THE DESCRIPTION OR TO PAY THE FEE WITHIN THE PRESCRIBED TIME-LIMIT

Effective date: 20200117

Ref country code: LT

Free format text: LAPSE BECAUSE OF FAILURE TO SUBMIT A TRANSLATION OF THE DESCRIPTION OR TO PAY THE FEE WITHIN THE PRESCRIBED TIME-LIMIT

Effective date: 20191016

REG Reference to a national code

Ref country code: HU

Ref legal event code: AG4A

Ref document number: E047838

Country of ref document: HU

PG25 Lapsed in a contracting state [announced via postgrant information from national office to epo]

Ref country code: HR

Free format text: LAPSE BECAUSE OF FAILURE TO SUBMIT A TRANSLATION OF THE DESCRIPTION OR TO PAY THE FEE WITHIN THE PRESCRIBED TIME-LIMIT

Effective date: 20191016

Ref country code: RS

Free format text: LAPSE BECAUSE OF FAILURE TO SUBMIT A TRANSLATION OF THE DESCRIPTION OR TO PAY THE FEE WITHIN THE PRESCRIBED TIME-LIMIT

Effective date: 20191016

Ref country code: IS

Free format text: LAPSE BECAUSE OF FAILURE TO SUBMIT A TRANSLATION OF THE DESCRIPTION OR TO PAY THE FEE WITHIN THE PRESCRIBED TIME-LIMIT

Effective date: 20200224

REG Reference to a national code

Ref country code: ES

Ref legal event code: FG2A

Ref document number: 2767277

Country of ref document: ES

Kind code of ref document: T3

Effective date: 20200617

PG25 Lapsed in a contracting state [announced via postgrant information from national office to epo]

Ref country code: AL

Free format text: LAPSE BECAUSE OF FAILURE TO SUBMIT A TRANSLATION OF THE DESCRIPTION OR TO PAY THE FEE WITHIN THE PRESCRIBED TIME-LIMIT

Effective date: 20191016

REG Reference to a national code

Ref country code: DE

Ref legal event code: R097

Ref document number: 502016007077

Country of ref document: DE

PG2D Information on lapse in contracting state deleted

Ref country code: IS

PG25 Lapsed in a contracting state [announced via postgrant information from national office to epo]

Ref country code: RO

Free format text: LAPSE BECAUSE OF FAILURE TO SUBMIT A TRANSLATION OF THE DESCRIPTION OR TO PAY THE FEE WITHIN THE PRESCRIBED TIME-LIMIT

Effective date: 20191016

Ref country code: EE

Free format text: LAPSE BECAUSE OF FAILURE TO SUBMIT A TRANSLATION OF THE DESCRIPTION OR TO PAY THE FEE WITHIN THE PRESCRIBED TIME-LIMIT

Effective date: 20191016

Ref country code: IS

Free format text: LAPSE BECAUSE OF FAILURE TO SUBMIT A TRANSLATION OF THE DESCRIPTION OR TO PAY THE FEE WITHIN THE PRESCRIBED TIME-LIMIT

Effective date: 20200216

PLBE No opposition filed within time limit

Free format text: ORIGINAL CODE: 0009261

STAA Information on the status of an ep patent application or granted ep patent

Free format text: STATUS: NO OPPOSITION FILED WITHIN TIME LIMIT

PG25 Lapsed in a contracting state [announced via postgrant information from national office to epo]

Ref country code: SK

Free format text: LAPSE BECAUSE OF FAILURE TO SUBMIT A TRANSLATION OF THE DESCRIPTION OR TO PAY THE FEE WITHIN THE PRESCRIBED TIME-LIMIT

Effective date: 20191016

Ref country code: SM

Free format text: LAPSE BECAUSE OF FAILURE TO SUBMIT A TRANSLATION OF THE DESCRIPTION OR TO PAY THE FEE WITHIN THE PRESCRIBED TIME-LIMIT

Effective date: 20191016

REG Reference to a national code

Ref country code: FI

Ref legal event code: MAE

REG Reference to a national code

Ref country code: DK

Ref legal event code: EBP

Effective date: 20200229

26N No opposition filed

Effective date: 20200717

REG Reference to a national code

Ref country code: NO

Ref legal event code: MMEP

REG Reference to a national code

Ref country code: SE

Ref legal event code: EUG

REG Reference to a national code

Ref country code: NL

Ref legal event code: MM

Effective date: 20200301

REG Reference to a national code

Ref country code: BE

Ref legal event code: MM

Effective date: 20200229

PG25 Lapsed in a contracting state [announced via postgrant information from national office to epo]

Ref country code: NO

Free format text: LAPSE BECAUSE OF NON-PAYMENT OF DUE FEES

Effective date: 20200229

Ref country code: MC

Free format text: LAPSE BECAUSE OF FAILURE TO SUBMIT A TRANSLATION OF THE DESCRIPTION OR TO PAY THE FEE WITHIN THE PRESCRIBED TIME-LIMIT

Effective date: 20191016

Ref country code: SE

Free format text: LAPSE BECAUSE OF NON-PAYMENT OF DUE FEES

Effective date: 20200204

Ref country code: LU

Free format text: LAPSE BECAUSE OF NON-PAYMENT OF DUE FEES

Effective date: 20200203

Ref country code: CZ

Free format text: LAPSE BECAUSE OF NON-PAYMENT OF DUE FEES

Effective date: 20200203

Ref country code: FI

Free format text: LAPSE BECAUSE OF NON-PAYMENT OF DUE FEES

Effective date: 20200203

PG25 Lapsed in a contracting state [announced via postgrant information from national office to epo]

Ref country code: HU

Free format text: LAPSE BECAUSE OF NON-PAYMENT OF DUE FEES

Effective date: 20200204

Ref country code: SI

Free format text: LAPSE BECAUSE OF FAILURE TO SUBMIT A TRANSLATION OF THE DESCRIPTION OR TO PAY THE FEE WITHIN THE PRESCRIBED TIME-LIMIT

Effective date: 20191016

PG25 Lapsed in a contracting state [announced via postgrant information from national office to epo]

Ref country code: NL

Free format text: LAPSE BECAUSE OF NON-PAYMENT OF DUE FEES

Effective date: 20200301

PG25 Lapsed in a contracting state [announced via postgrant information from national office to epo]

Ref country code: PT

Free format text: LAPSE BECAUSE OF NON-PAYMENT OF DUE FEES

Effective date: 20201202

Ref country code: IE

Free format text: LAPSE BECAUSE OF NON-PAYMENT OF DUE FEES

Effective date: 20200203

Ref country code: DK

Free format text: LAPSE BECAUSE OF NON-PAYMENT OF DUE FEES

Effective date: 20200229

PG25 Lapsed in a contracting state [announced via postgrant information from national office to epo]

Ref country code: BE

Free format text: LAPSE BECAUSE OF NON-PAYMENT OF DUE FEES

Effective date: 20200229

PG25 Lapsed in a contracting state [announced via postgrant information from national office to epo]

Ref country code: ES

Free format text: LAPSE BECAUSE OF NON-PAYMENT OF DUE FEES

Effective date: 20200204

PG25 Lapsed in a contracting state [announced via postgrant information from national office to epo]

Ref country code: TR

Free format text: LAPSE BECAUSE OF FAILURE TO SUBMIT A TRANSLATION OF THE DESCRIPTION OR TO PAY THE FEE WITHIN THE PRESCRIBED TIME-LIMIT

Effective date: 20191016

Ref country code: MT

Free format text: LAPSE BECAUSE OF FAILURE TO SUBMIT A TRANSLATION OF THE DESCRIPTION OR TO PAY THE FEE WITHIN THE PRESCRIBED TIME-LIMIT

Effective date: 20191016

Ref country code: CY

Free format text: LAPSE BECAUSE OF FAILURE TO SUBMIT A TRANSLATION OF THE DESCRIPTION OR TO PAY THE FEE WITHIN THE PRESCRIBED TIME-LIMIT

Effective date: 20191016

PG25 Lapsed in a contracting state [announced via postgrant information from national office to epo]

Ref country code: MK

Free format text: LAPSE BECAUSE OF FAILURE TO SUBMIT A TRANSLATION OF THE DESCRIPTION OR TO PAY THE FEE WITHIN THE PRESCRIBED TIME-LIMIT

Effective date: 20191016

PGFP Annual fee paid to national office [announced via postgrant information from national office to epo]

Ref country code: CH

Payment date: 20250301

Year of fee payment: 10

PGFP Annual fee paid to national office [announced via postgrant information from national office to epo]

Ref country code: DE

Payment date: 20250901

Year of fee payment: 10

PGFP Annual fee paid to national office [announced via postgrant information from national office to epo]

Ref country code: PL

Payment date: 20250730

Year of fee payment: 10

Ref country code: IT

Payment date: 20250827

Year of fee payment: 10

PGFP Annual fee paid to national office [announced via postgrant information from national office to epo]

Ref country code: GB

Payment date: 20250901

Year of fee payment: 10

PGFP Annual fee paid to national office [announced via postgrant information from national office to epo]

Ref country code: FR

Payment date: 20250827

Year of fee payment: 10

Ref country code: AT

Payment date: 20250828

Year of fee payment: 10