EP3145362B1 - Lunchbox - Google Patents
Lunchbox Download PDFInfo
- Publication number
- EP3145362B1 EP3145362B1 EP15730851.1A EP15730851A EP3145362B1 EP 3145362 B1 EP3145362 B1 EP 3145362B1 EP 15730851 A EP15730851 A EP 15730851A EP 3145362 B1 EP3145362 B1 EP 3145362B1
- Authority
- EP
- European Patent Office
- Prior art keywords
- shell
- lunchbox
- lower shell
- upper shell
- heating element
- Prior art date
- Legal status (The legal status is an assumption and is not a legal conclusion. Google has not performed a legal analysis and makes no representation as to the accuracy of the status listed.)
- Active
Links
Images
Classifications
-
- B—PERFORMING OPERATIONS; TRANSPORTING
- B65—CONVEYING; PACKING; STORING; HANDLING THIN OR FILAMENTARY MATERIAL
- B65D—CONTAINERS FOR STORAGE OR TRANSPORT OF ARTICLES OR MATERIALS, e.g. BAGS, BARRELS, BOTTLES, BOXES, CANS, CARTONS, CRATES, DRUMS, JARS, TANKS, HOPPERS, FORWARDING CONTAINERS; ACCESSORIES, CLOSURES, OR FITTINGS THEREFOR; PACKAGING ELEMENTS; PACKAGES
- B65D81/00—Containers, packaging elements, or packages, for contents presenting particular transport or storage problems, or adapted to be used for non-packaging purposes after removal of contents
- B65D81/34—Containers, packaging elements, or packages, for contents presenting particular transport or storage problems, or adapted to be used for non-packaging purposes after removal of contents for packaging foodstuffs or other articles intended to be cooked or heated within the package
- B65D81/3476—Packages provided with an electrical circuit, e.g. resistances, for heating the contents
-
- A—HUMAN NECESSITIES
- A45—HAND OR TRAVELLING ARTICLES
- A45C—PURSES; LUGGAGE; HAND CARRIED BAGS
- A45C11/00—Receptacles for purposes not provided for in groups A45C1/00-A45C9/00
- A45C11/20—Lunch or picnic boxes or the like
-
- A—HUMAN NECESSITIES
- A45—HAND OR TRAVELLING ARTICLES
- A45C—PURSES; LUGGAGE; HAND CARRIED BAGS
- A45C13/00—Details; Accessories
- A45C13/005—Hinges
-
- A—HUMAN NECESSITIES
- A45—HAND OR TRAVELLING ARTICLES
- A45C—PURSES; LUGGAGE; HAND CARRIED BAGS
- A45C13/00—Details; Accessories
- A45C13/008—Details; Accessories for making water- or air-tight
-
- B—PERFORMING OPERATIONS; TRANSPORTING
- B65—CONVEYING; PACKING; STORING; HANDLING THIN OR FILAMENTARY MATERIAL
- B65D—CONTAINERS FOR STORAGE OR TRANSPORT OF ARTICLES OR MATERIALS, e.g. BAGS, BARRELS, BOTTLES, BOXES, CANS, CARTONS, CRATES, DRUMS, JARS, TANKS, HOPPERS, FORWARDING CONTAINERS; ACCESSORIES, CLOSURES, OR FITTINGS THEREFOR; PACKAGING ELEMENTS; PACKAGES
- B65D43/00—Lids or covers for rigid or semi-rigid containers
- B65D43/02—Removable lids or covers
- B65D43/0202—Removable lids or covers without integral tamper element
- B65D43/0204—Removable lids or covers without integral tamper element secured by snapping over beads or projections
-
- B—PERFORMING OPERATIONS; TRANSPORTING
- B65—CONVEYING; PACKING; STORING; HANDLING THIN OR FILAMENTARY MATERIAL
- B65D—CONTAINERS FOR STORAGE OR TRANSPORT OF ARTICLES OR MATERIALS, e.g. BAGS, BARRELS, BOTTLES, BOXES, CANS, CARTONS, CRATES, DRUMS, JARS, TANKS, HOPPERS, FORWARDING CONTAINERS; ACCESSORIES, CLOSURES, OR FITTINGS THEREFOR; PACKAGING ELEMENTS; PACKAGES
- B65D43/00—Lids or covers for rigid or semi-rigid containers
- B65D43/14—Non-removable lids or covers
- B65D43/16—Non-removable lids or covers hinged for upward or downward movement
- B65D43/163—Non-removable lids or covers hinged for upward or downward movement the container and the lid being made separately
-
- B—PERFORMING OPERATIONS; TRANSPORTING
- B65—CONVEYING; PACKING; STORING; HANDLING THIN OR FILAMENTARY MATERIAL
- B65D—CONTAINERS FOR STORAGE OR TRANSPORT OF ARTICLES OR MATERIALS, e.g. BAGS, BARRELS, BOTTLES, BOXES, CANS, CARTONS, CRATES, DRUMS, JARS, TANKS, HOPPERS, FORWARDING CONTAINERS; ACCESSORIES, CLOSURES, OR FITTINGS THEREFOR; PACKAGING ELEMENTS; PACKAGES
- B65D43/00—Lids or covers for rigid or semi-rigid containers
- B65D43/14—Non-removable lids or covers
- B65D43/22—Devices for holding in closed position, e.g. clips
-
- B—PERFORMING OPERATIONS; TRANSPORTING
- B65—CONVEYING; PACKING; STORING; HANDLING THIN OR FILAMENTARY MATERIAL
- B65D—CONTAINERS FOR STORAGE OR TRANSPORT OF ARTICLES OR MATERIALS, e.g. BAGS, BARRELS, BOTTLES, BOXES, CANS, CARTONS, CRATES, DRUMS, JARS, TANKS, HOPPERS, FORWARDING CONTAINERS; ACCESSORIES, CLOSURES, OR FITTINGS THEREFOR; PACKAGING ELEMENTS; PACKAGES
- B65D53/00—Sealing or packing elements; Sealings formed by liquid or plastics material
- B65D53/02—Collars or rings
-
- B—PERFORMING OPERATIONS; TRANSPORTING
- B65—CONVEYING; PACKING; STORING; HANDLING THIN OR FILAMENTARY MATERIAL
- B65D—CONTAINERS FOR STORAGE OR TRANSPORT OF ARTICLES OR MATERIALS, e.g. BAGS, BARRELS, BOTTLES, BOXES, CANS, CARTONS, CRATES, DRUMS, JARS, TANKS, HOPPERS, FORWARDING CONTAINERS; ACCESSORIES, CLOSURES, OR FITTINGS THEREFOR; PACKAGING ELEMENTS; PACKAGES
- B65D81/00—Containers, packaging elements, or packages, for contents presenting particular transport or storage problems, or adapted to be used for non-packaging purposes after removal of contents
- B65D81/38—Containers, packaging elements, or packages, for contents presenting particular transport or storage problems, or adapted to be used for non-packaging purposes after removal of contents with thermal insulation
- B65D81/3813—Containers, packaging elements, or packages, for contents presenting particular transport or storage problems, or adapted to be used for non-packaging purposes after removal of contents with thermal insulation rigid container being in the form of a box, tray or like container
-
- B—PERFORMING OPERATIONS; TRANSPORTING
- B65—CONVEYING; PACKING; STORING; HANDLING THIN OR FILAMENTARY MATERIAL
- B65D—CONTAINERS FOR STORAGE OR TRANSPORT OF ARTICLES OR MATERIALS, e.g. BAGS, BARRELS, BOTTLES, BOXES, CANS, CARTONS, CRATES, DRUMS, JARS, TANKS, HOPPERS, FORWARDING CONTAINERS; ACCESSORIES, CLOSURES, OR FITTINGS THEREFOR; PACKAGING ELEMENTS; PACKAGES
- B65D81/00—Containers, packaging elements, or packages, for contents presenting particular transport or storage problems, or adapted to be used for non-packaging purposes after removal of contents
- B65D81/38—Containers, packaging elements, or packages, for contents presenting particular transport or storage problems, or adapted to be used for non-packaging purposes after removal of contents with thermal insulation
- B65D81/3813—Containers, packaging elements, or packages, for contents presenting particular transport or storage problems, or adapted to be used for non-packaging purposes after removal of contents with thermal insulation rigid container being in the form of a box, tray or like container
- B65D81/3823—Containers, packaging elements, or packages, for contents presenting particular transport or storage problems, or adapted to be used for non-packaging purposes after removal of contents with thermal insulation rigid container being in the form of a box, tray or like container formed of different materials, e.g. laminated or foam filling between walls
Definitions
- the present invention relates to a lunch box for storing, transporting and heating foods, in particular food prepared for consumption.
- Snack boxes for storing and transporting food consumed on the move or at work have been in use for many decades.
- Two-piece metal or plastic cans with hinged lid or with attachable lid with large base for a main meal or with overlapping, about the same size upper and lower part for breads oa
- one or two-part disposable containers mostly made of foam in use, usually to offer ready-to-eat portions of fruits, vegetables or ready meals.
- the folding container consists of an upper shell and a lower shell, which are hinged together on one longitudinal side. At the opposite Long side a snap closure is provided.
- the upper shell is with an upper inner cover and the lower shell with. provided a lower inner lid, so that the two inner volumes are completely and independently closed.
- the articulation of the inner lid opposite side of a lid closure in the form of a latch in the upper shell and the lower shell is provided in each case.
- Another plastic lunch box for storing food is in the DE 10157494 B4 disclosed. It consists of a container with side walls, a bottom and a molded lid. On the underside of the container, an additional chamber is arranged, which can be closed with an additional cover. Lid and additional lid are connected via a film hinge with the container.
- Another container with lid for storing food contains an exothermic heating element according to EP 0412159 B1 ,
- the container comprises an upper inner container for the materials to be heated and a lower inner container underneath containing water and an exothermic material, the lower inner container being provided with a cover.
- the container further comprises an externally operable means for contacting the exothermic material with the water.
- the cover of the lower inner container is vapor permeable but impermeable to the exothermic material.
- a portable lunchbox is from the WO 2011/112284 A1 known.
- the lunch box comprises an upper shell and a lower shell, which are hinged together on one longitudinal side, wherein on the opposite longitudinal side a closure is provided.
- a pivotable separating shell is provided, so that an upper and a lower chamber for receiving food products are formed.
- a shell can be used, which can be further loaded with a cooling or warming gel to temporarily hold a certain temperature of food can.
- the GB 2056264 A shows a conventional lunch box to keep food warm for use in kitchens or catering with a lid hinged by hinged to the box and can be locked by means of safety gear.
- a power connection is provided, wherein the heating element is a koventionerbare heating wire, which allows only a heating of the food from below.
- heated lunch box is in the lower shell a, with an attachable lid lockable inner container can be used.
- the lower shell is provided with a power connection for a heating element in the lower shell, which is arranged in an insulating layer of foam. The heatability of food in the inner container is limited resp. lengthy.
- the invention is based on the object to provide a lunch box that overcomes the disadvantages of the prior art and that is easy to handle.
- the object is achieved according to the invention with a lunch box with the features of claim 1.
- the lunch box according to the invention is suitable for storing, transporting and heating foods, in particular ready-to-eat foods. It can be used flexibly.
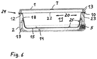
- a lunchbox 30 (FIG. Fig. 1 . 2 ) comprises an upper shell 1 and a lower shell 2, each made of plastic and / of the metal, for example polypropylene (PP), wherein the upper shell 1 acts as a lid and compared to the lower shell 2 is substantially flatter.
- the upper shell 1 and the lower shell 2 are hinged together on one longitudinal side by means of integrally molded film hinge 3, wherein, instead of the film hinge 3 and a hinge joint which is attached to the upper and lower shell, or the like is possible.
- the upper shell 1 could be opened against the film hinge and it would also be easier to replace than a film hinge.
- the film hinge 3 opposite longitudinal side a snap closure 4 (or snap closure) is provided.
- Upper shell 1 and lower shell 2 lie flat in the dividing plane 22 and overlap each other with a projection 21 of the upper shell 1.
- the height of the lower shell 2 is in the example a multiple of the height of the upper shell 1, at least one and a half times.
- a power connector socket 5 is provided, which may be in the form of conventional plug as well as a USB port. Alternatively or additionally, such a power connector socket 5 may also be provided in the upper shell 1.
- an LED 6 is also arranged as a status indicator (heating) and start button.
- pressure compensation element 7 is attached in the upper shell 1 .
- the peripheral edge regions 8 ( Fig. 3 ) of upper shell 1 and lower shell 2 are correspondingly designed such that they act as a seal resp. can receive a sealing element 9. This sealing element is inserted in a groove 10 near the edge of the lower shell 2.
- Part of the lunch box 30 is still a shell 11 for receiving the food to be heated.
- the shell 11 is formed, for example, of an aluminum material having a thickness of 0.5 mm and arranged in the lower shell 2.
- the shell 11 has an encircling molded and L-shaped angled edge region. By means of the smaller leg 24 of the edge region, the shell 11 is mounted in the groove 10 of the lower shell 2.
- a groove 23 is also formed, in which a seal 12, for example, an O-ring is inserted.
- the shell 11 is additionally fixable in position by means of locking cams 16, 18 and / or click connections in the lower shell 2.
- the lower shell near the wall at least two spaced steles 19, which are provided at the upper end with a locking cam 18 ( Fig. 4, 5 ).
- a locking cam 18 ( Fig. 4, 5 ).
- On the steles 19 but could also be a latching element with a locking cam mounted, in which the steles 19 would be formed without locking cams 18 in this embodiment.
- These locking cams 18 of the locking element press against the formed on the shell 11 locking cam 16, so that the shell 11 is fixed in position.
- the shell 11 can be easily removed from the lower shell 2 for cleaning or other purposes. Instead of this type of attachment, an arrangement of the shell 11 by means of adhesive bond would also be possible. In this case, the sealing element 9 could be omitted.
- the shell 11 and the lower shell 2 are adapted in their design and shape together. coordinated with each other, for example by means of the locking cam 16 and shape-responsive counter-elements of the shell 11.
- the shell 11 can be used resp. be used in the lower shell 2.
- nubs 25, a latching element or a guide rail can be provided to specify the shell shape used. By a precise fit on these nubs 25, the shell 11 is held in position and can not be used vice versa (security feature).
- the knobs 25 also serve for easy replacement of the shell 11, to ensure that the shell 11 is always used properly.
- As a further security element could be mounted in the edge region of the lower shell 2 under tension standing positioning grid 20, positioning pickup or the like, which hold the shell 11 in position. they offer the possibility of possibly also in the side region of the lower shell 2 to attach a further guide rail.
- thermal insulation 14 for example, provided from a polyurethane integral foam, between which and the shell 11 is still a heating element 15 is mounted with a heating foil.
- the thermal insulation 14 could also be formed from a Keraguss S molded part, an airgel molded part or an EPS molded part.
- Thermal insulation 14 and heating foil 15 can cover the bottom area of the shell 11 ( Fig. 5 ) or preferably even the side walls of the shell 11 at least up to the locking cam 16 border resp. enclose ( Fig. 4 ).
- the inside of the upper shell 1 may be provided with such a thermal insulation 14 and a heating element 15.
- the control electronics 17 is arranged on a flat circuit board, which in turn is inserted in a space-saving manner on the inner wall of the lower shell 2 ( Fig. 5 ).
- the control electronics 17 includes the electronic control, a safety circuit, a load switch and a power supply.
- the electronic control should have at least one temperature sensor, one Heater switch, the start-stop switch and the output for the LED 6 include.
- the electronic control can also allow different heating modes, for example, bottom and / or top heat.
- the heating element 15 consists in a conventional manner of a metallic heating foil which is embedded between two silicone layers for electrical insulation.
- Kapton heating foils polyester heating foils or contact heating elements.
- the power supply can be 5V to 240V, including usual tolerances. For example, with 5V or 12V DC no special safety measures would have to be provided.
- the shell 11 For a 230V DC version, the shell 11 would either be grounded or the aforementioned double electrical insulation would be required.
- the connection variants the current carrying capacity, temperature and resistance to cleaning agents must be observed.
- the electrical connections are waterproof.
- the heating power of the heating foil 15 should be at least about 20-150W, to allow heating of the food in case of need up to about 140 ° C. Depending on the food, smaller or larger heat outputs may also be permissible, the values also being dependent on whether a heating element is only in the lower shell 2 or also in the upper shell 1 is provided.
- a heating element When a heating element is arranged in the upper shell 1, its heating power is normally lower than in the lower shell 2.
- the lunch box is connected to the power source to heat a food and the start button, the LED 6 is pressed.
- the LED 6 signals by lighting the heating process over a pre-set in the control electronics 17 period. After the end of the heating period, the control electronics switch off the heating foil, the LED 6 goes out. Other operating modes can be programmed.
Landscapes
- Engineering & Computer Science (AREA)
- Mechanical Engineering (AREA)
- Life Sciences & Earth Sciences (AREA)
- Food Science & Technology (AREA)
- Purses, Travelling Bags, Baskets, Or Suitcases (AREA)
- Packages (AREA)
Applications Claiming Priority (2)
| Application Number | Priority Date | Filing Date | Title |
|---|---|---|---|
| CH00773/14A CH709678A2 (de) | 2014-05-21 | 2014-05-21 | Lunchbox zum Aufbewahren, zum Transport und zum Erwärmen von Lebensmitteln. |
| PCT/IB2015/053684 WO2015177726A1 (de) | 2014-05-21 | 2015-05-19 | Lunchbox |
Publications (2)
| Publication Number | Publication Date |
|---|---|
| EP3145362A1 EP3145362A1 (de) | 2017-03-29 |
| EP3145362B1 true EP3145362B1 (de) | 2019-08-21 |
Family
ID=53476937
Family Applications (1)
| Application Number | Title | Priority Date | Filing Date |
|---|---|---|---|
| EP15730851.1A Active EP3145362B1 (de) | 2014-05-21 | 2015-05-19 | Lunchbox |
Country Status (17)
| Country | Link |
|---|---|
| US (1) | US10737869B2 (enExample) |
| EP (1) | EP3145362B1 (enExample) |
| JP (1) | JP2017516613A (enExample) |
| KR (1) | KR102289148B1 (enExample) |
| CN (1) | CN107072367A (enExample) |
| AU (1) | AU2015262963A1 (enExample) |
| BR (1) | BR112016027117B1 (enExample) |
| CA (1) | CA2949611A1 (enExample) |
| CH (1) | CH709678A2 (enExample) |
| EA (1) | EA035997B1 (enExample) |
| ES (1) | ES2756724T3 (enExample) |
| MA (1) | MA39830A1 (enExample) |
| MX (1) | MX2016015213A (enExample) |
| MY (1) | MY172575A (enExample) |
| UA (1) | UA120759C2 (enExample) |
| WO (1) | WO2015177726A1 (enExample) |
| ZA (1) | ZA201607961B (enExample) |
Cited By (1)
| Publication number | Priority date | Publication date | Assignee | Title |
|---|---|---|---|---|
| EP4458710A4 (en) * | 2022-10-31 | 2025-12-31 | Logipack Inc | TRANSPORT BOX |
Families Citing this family (34)
| Publication number | Priority date | Publication date | Assignee | Title |
|---|---|---|---|---|
| US10781028B2 (en) | 2014-02-07 | 2020-09-22 | Yeti Coolers, Llc | Insulating device backpack |
| US10384855B2 (en) | 2014-02-07 | 2019-08-20 | Yeti Coolers, Llc | Insulating device and method for forming insulating device |
| US9139352B2 (en) | 2014-02-07 | 2015-09-22 | Yeti Coolers, Llc | Insulating container |
| USD948954S1 (en) | 2014-09-08 | 2022-04-19 | Yeti Coolers, Llc | Insulating device |
| USD934636S1 (en) | 2014-09-08 | 2021-11-02 | Yeti Coolers, Llc | Insulating device |
| USD787187S1 (en) | 2014-09-23 | 2017-05-23 | Yeti Coolers, Llc | Insulating device |
| CN108430255B (zh) | 2015-11-02 | 2021-11-30 | 野醍冷却器有限责任公司 | 封闭系统和具有封闭系统的绝热装置 |
| USD802373S1 (en) | 2016-02-05 | 2017-11-14 | Yeti Coolers, Llc | Insulating device |
| CN117243455A (zh) | 2016-02-05 | 2023-12-19 | 野醍冷却器有限责任公司 | 绝热装置 |
| US12012274B2 (en) | 2016-02-05 | 2024-06-18 | Yeti Coolers, Llc | Insulating device backpack |
| USD801123S1 (en) | 2016-02-05 | 2017-10-31 | Yeti Coolers, Llc | Insulating device |
| USD805851S1 (en) | 2016-06-01 | 2017-12-26 | Yeti Coolers, Llc | Cooler |
| EP3313174A4 (en) * | 2016-07-14 | 2019-02-27 | Rolane Christian Grinnell | PORTABLE PET FEEDER AND SUPPLY MEMORY DEVICE |
| CH712690A2 (de) | 2016-07-15 | 2018-01-15 | Faitron Ag | Mealbox. |
| CH713295A2 (de) | 2016-12-28 | 2018-06-29 | Faitron Ag | Lunchgefäss. |
| USD829244S1 (en) | 2017-04-25 | 2018-09-25 | Yeti Coolers, Llc | Insulating device |
| MX2019014177A (es) | 2017-06-09 | 2020-01-21 | Yeti Coolers Llc | Dispositivo aislante. |
| USD848219S1 (en) | 2017-10-30 | 2019-05-14 | Yeti Coolers, Llc | Backpack cooler |
| JP7469315B2 (ja) | 2018-09-28 | 2024-04-16 | ネクセニック アーゲー | ポータブルランチボックス |
| PT3704991T (pt) | 2019-03-05 | 2021-05-19 | Cs Centro Stirling S Coop | Ancheira |
| ES2826248B2 (es) * | 2019-11-15 | 2021-10-19 | Asociacion De Investigacion De Mat Plasticos Y Conexas | Envase calefactable |
| US11242189B2 (en) | 2019-11-15 | 2022-02-08 | Yeti Coolers, Llc | Insulating device |
| USD929191S1 (en) | 2019-11-15 | 2021-08-31 | Yeti Coolers, Llc | Insulating device |
| USD929192S1 (en) | 2019-11-15 | 2021-08-31 | Yeti Coolers, Llc | Insulating device |
| NL2024259B1 (en) * | 2019-11-18 | 2021-07-29 | Myheatbox V O F | Portable food container |
| USD902587S1 (en) * | 2020-01-18 | 2020-11-24 | Dengfeng Zhu | Case |
| USD943409S1 (en) * | 2021-01-05 | 2022-02-15 | Guobin Ding | Storage box |
| EP4042916A1 (de) | 2021-02-12 | 2022-08-17 | Nexenic AG | Portable lunchbox |
| PL4297608T3 (pl) * | 2021-02-26 | 2025-03-31 | Faitron Ag | Pudełko na posiłek |
| USD1005803S1 (en) * | 2021-03-18 | 2023-11-28 | MyDabba Inc. | Electric heated lunch box |
| US11738914B2 (en) | 2021-11-18 | 2023-08-29 | Yeti Coolers, Llc | Container and latching system |
| CN114044263A (zh) * | 2021-12-02 | 2022-02-15 | 达坦能源科技(上海)有限公司 | 一种带自检测功能的随钻测量仪器仪器箱 |
| US20250333232A1 (en) * | 2024-04-30 | 2025-10-30 | Heather Summers | Heated storage case device |
| US12457665B1 (en) * | 2025-03-07 | 2025-10-28 | Zhe CAI | Heating lunch box |
Citations (2)
| Publication number | Priority date | Publication date | Assignee | Title |
|---|---|---|---|---|
| GB2056264A (en) * | 1979-07-25 | 1981-03-18 | Broad T | Improvements in lunch boxes |
| US6144016A (en) * | 1999-06-21 | 2000-11-07 | Garvin; Tomika | Heating element lunch box |
Family Cites Families (31)
| Publication number | Priority date | Publication date | Assignee | Title |
|---|---|---|---|---|
| US3602691A (en) * | 1969-10-13 | 1971-08-31 | Richard R Frazier | Electrical hot plate assembly for lunch boxes |
| US3814900A (en) * | 1972-07-18 | 1974-06-04 | I Frey | Food warming system with supporting rack structure and food warming appliances |
| US3806699A (en) * | 1972-08-14 | 1974-04-23 | R Hannivig | Heated lunch box |
| US3808401A (en) * | 1972-11-28 | 1974-04-30 | R Wright | Electrically heated portable lunch box |
| JPS503174U (enExample) * | 1973-05-07 | 1975-01-14 | ||
| JPS5150218Y2 (enExample) * | 1973-10-24 | 1976-12-03 | ||
| US3869595A (en) * | 1974-06-19 | 1975-03-04 | Walter Collins | Insulated heated lunch box |
| US4037081A (en) * | 1976-06-21 | 1977-07-19 | Aldridge Bobby V | Electro-lunch bucket |
| JPS57102321U (enExample) * | 1980-12-16 | 1982-06-23 | ||
| US4420678A (en) * | 1981-04-03 | 1983-12-13 | Kalb Frank H | Lunch bucket |
| AU2382288A (en) | 1987-09-17 | 1989-04-17 | Gentoku Kaneko | Heater |
| CN1036318A (zh) * | 1988-03-31 | 1989-10-18 | 阎起祥 | 密封式组合饭盒 |
| JPH0675524B2 (ja) * | 1989-02-22 | 1994-09-28 | 象印マホービン株式会社 | ランチジャー |
| JPH02269682A (ja) * | 1989-04-08 | 1990-11-05 | Matsushita Electric Works Ltd | 保温容器 |
| JPH03121008A (ja) * | 1989-10-05 | 1991-05-23 | Brother Ind Ltd | 保温容器 |
| US4969558A (en) * | 1989-10-27 | 1990-11-13 | Fisher Timothy M | Lunchbox apparatus for microwave |
| JPH0584110A (ja) * | 1991-09-27 | 1993-04-06 | Sansei Kogyo Kk | 弁当箱 |
| US5569401A (en) * | 1994-09-23 | 1996-10-29 | Gilliland; Linda L. | Insulated heating container |
| US5694832A (en) * | 1995-01-06 | 1997-12-09 | Matsushita Electric Industrial Co., Ltd. | Automatic bread producing machine |
| JP3001195B2 (ja) * | 1997-04-16 | 2000-01-24 | 光金属工業株式会社 | 加熱調理食品の保存法とそれに用いる真空密閉保存容器 |
| DE19807388A1 (de) * | 1998-02-21 | 1999-09-09 | Mai | Behältnis zum Transportieren von Nahrungsmitteln |
| US6541738B1 (en) * | 2001-08-20 | 2003-04-01 | Louis Casasola | Portable food container with incorporated heaters |
| DE10157494B4 (de) | 2001-11-23 | 2011-03-24 | Leifheit Ag | Lunchbox |
| CN2669679Y (zh) * | 2003-11-27 | 2005-01-12 | 杨洪明 | 可放热饭盒 |
| US20080121630A1 (en) * | 2006-11-29 | 2008-05-29 | Jo-Anne Simard | Portable food container |
| US20110215097A1 (en) | 2010-03-08 | 2011-09-08 | Archie Jr Willard Nelson | Dual compartment sandwich container and method of making same |
| US9326498B2 (en) * | 2010-09-14 | 2016-05-03 | JAB Distributors, LLC | Heatable enclosure for pest eradication |
| CN202015050U (zh) * | 2011-01-21 | 2011-10-26 | 九阳股份有限公司 | 一种双层防烫电水壶 |
| CN202536380U (zh) * | 2012-02-09 | 2012-11-21 | 李慧佳 | 自动加热野餐食物箱 |
| CN202919884U (zh) * | 2012-09-05 | 2013-05-08 | 蔡培明 | 保鲜便当盒 |
| DE202013010997U1 (de) | 2013-12-04 | 2014-01-15 | Jelenia Plast Sp. Z.O.O. | Klappbehälter |
-
2014
- 2014-05-21 CH CH00773/14A patent/CH709678A2/de not_active Application Discontinuation
-
2015
- 2015-05-19 EP EP15730851.1A patent/EP3145362B1/de active Active
- 2015-05-19 AU AU2015262963A patent/AU2015262963A1/en not_active Abandoned
- 2015-05-19 US US15/312,869 patent/US10737869B2/en active Active
- 2015-05-19 WO PCT/IB2015/053684 patent/WO2015177726A1/de not_active Ceased
- 2015-05-19 MY MYPI2016704263A patent/MY172575A/en unknown
- 2015-05-19 CN CN201580039307.5A patent/CN107072367A/zh active Pending
- 2015-05-19 CA CA2949611A patent/CA2949611A1/en not_active Abandoned
- 2015-05-19 BR BR112016027117-3A patent/BR112016027117B1/pt active IP Right Grant
- 2015-05-19 JP JP2017513377A patent/JP2017516613A/ja active Pending
- 2015-05-19 KR KR1020167032548A patent/KR102289148B1/ko active Active
- 2015-05-19 MA MA39830A patent/MA39830A1/fr unknown
- 2015-05-19 ES ES15730851T patent/ES2756724T3/es active Active
- 2015-05-19 MX MX2016015213A patent/MX2016015213A/es unknown
- 2015-05-19 UA UAA201612987A patent/UA120759C2/uk unknown
- 2015-05-19 EA EA201692362A patent/EA035997B1/ru not_active IP Right Cessation
-
2016
- 2016-11-17 ZA ZA2016/07961A patent/ZA201607961B/en unknown
Patent Citations (2)
| Publication number | Priority date | Publication date | Assignee | Title |
|---|---|---|---|---|
| GB2056264A (en) * | 1979-07-25 | 1981-03-18 | Broad T | Improvements in lunch boxes |
| US6144016A (en) * | 1999-06-21 | 2000-11-07 | Garvin; Tomika | Heating element lunch box |
Cited By (1)
| Publication number | Priority date | Publication date | Assignee | Title |
|---|---|---|---|---|
| EP4458710A4 (en) * | 2022-10-31 | 2025-12-31 | Logipack Inc | TRANSPORT BOX |
Also Published As
| Publication number | Publication date |
|---|---|
| UA120759C2 (uk) | 2020-02-10 |
| CH709678A2 (de) | 2015-11-30 |
| EP3145362A1 (de) | 2017-03-29 |
| MY172575A (en) | 2019-12-03 |
| US10737869B2 (en) | 2020-08-11 |
| US20170137205A1 (en) | 2017-05-18 |
| KR102289148B1 (ko) | 2021-08-17 |
| MA39830A1 (fr) | 2018-02-28 |
| EA201692362A1 (ru) | 2017-04-28 |
| MX2016015213A (es) | 2017-05-04 |
| EA035997B1 (ru) | 2020-09-10 |
| BR112016027117A2 (enExample) | 2017-08-15 |
| JP2017516613A (ja) | 2017-06-22 |
| ES2756724T3 (es) | 2020-04-27 |
| CA2949611A1 (en) | 2015-11-26 |
| AU2015262963A1 (en) | 2016-12-08 |
| ZA201607961B (en) | 2017-09-27 |
| WO2015177726A1 (de) | 2015-11-26 |
| CN107072367A (zh) | 2017-08-18 |
| BR112016027117B1 (pt) | 2022-06-28 |
| KR20170010363A (ko) | 2017-01-31 |
Similar Documents
| Publication | Publication Date | Title |
|---|---|---|
| EP3145362B1 (de) | Lunchbox | |
| EP3855989B1 (de) | Portable lunchbox | |
| EP3408599B1 (de) | Transportbehältersystem und transportbehälter | |
| DE295159T1 (de) | Elektrisches kochgeraet. | |
| DE602005000899T2 (de) | Heizbehälter zum Mitnehmen von Pizzen, geeignet zur Verbindung mit dem Zigarettenanzünder eines Fahrzeugs und/oder zum Betrieb mit einer Batterie | |
| CH716719A2 (de) | Lunchbox. | |
| EP4297608B1 (de) | Lunchbox | |
| DE102009026334A1 (de) | Transportbehälter für Speisen | |
| USD904012S1 (en) | Container closure | |
| EP0026756A1 (de) | Vorratsbehälter für Heissgetränke und Heizvorrichtung für diesen Behälter | |
| CN204930644U (zh) | 一种微波炉饭盒 | |
| DE202014001976U1 (de) | Portable Kochtopf - Isolierung | |
| WO2004023947A1 (de) | Elektrischer wasserkocher | |
| DE60110723T2 (de) | Modulare Einrichtung zum Konservieren und zum Aufwärmen von Servierplatten | |
| DE69905679T2 (de) | Elektrisches Haushaltsgerät zur Nahrungszubereitung in der Art einer Vielzweckküchenmaschine | |
| DE2102322A1 (de) | Deckel fur einen Behalter zum Er warmen von Speisen | |
| USD903141S1 (en) | Dental mixing palette | |
| DE202018105363U1 (de) | Multifunktionsspülbecken | |
| DE29904672U1 (de) | Reerhitzbare Assiette | |
| DE8115361U1 (de) | Kochgeschirr, insbesondere fuer mikrowellenoefen | |
| DE1941164U (de) | Vorrichtung zum erhitzen von lebensmitteln. | |
| AT12360U1 (de) | Gastronormbehälter | |
| DE7920175U1 (de) | Kassette zur isothermen Aufnahme von Essensportionen | |
| DE8611179U1 (de) | Behälter mit dicht schließendem Deckel zum Transportieren und Aufwärmen von Speisen | |
| DE20102636U1 (de) | Heizwärmesystem für transportable Isolierbehälter, zur Warmhaltung von Speisen/Lebensmitteln und anderen Substanzen jeglicher Art; Spannungen: 12V, 24V, 230V Gleich/Wechselspg.en Temperaturen regelbar; |
Legal Events
| Date | Code | Title | Description |
|---|---|---|---|
| STAA | Information on the status of an ep patent application or granted ep patent |
Free format text: STATUS: THE INTERNATIONAL PUBLICATION HAS BEEN MADE |
|
| PUAI | Public reference made under article 153(3) epc to a published international application that has entered the european phase |
Free format text: ORIGINAL CODE: 0009012 |
|
| STAA | Information on the status of an ep patent application or granted ep patent |
Free format text: STATUS: REQUEST FOR EXAMINATION WAS MADE |
|
| 17P | Request for examination filed |
Effective date: 20161221 |
|
| AK | Designated contracting states |
Kind code of ref document: A1 Designated state(s): AL AT BE BG CH CY CZ DE DK EE ES FI FR GB GR HR HU IE IS IT LI LT LU LV MC MK MT NL NO PL PT RO RS SE SI SK SM TR |
|
| AX | Request for extension of the european patent |
Extension state: BA ME |
|
| DAV | Request for validation of the european patent (deleted) | ||
| DAX | Request for extension of the european patent (deleted) | ||
| STAA | Information on the status of an ep patent application or granted ep patent |
Free format text: STATUS: EXAMINATION IS IN PROGRESS |
|
| 17Q | First examination report despatched |
Effective date: 20180430 |
|
| GRAP | Despatch of communication of intention to grant a patent |
Free format text: ORIGINAL CODE: EPIDOSNIGR1 |
|
| STAA | Information on the status of an ep patent application or granted ep patent |
Free format text: STATUS: GRANT OF PATENT IS INTENDED |
|
| INTG | Intention to grant announced |
Effective date: 20190401 |
|
| GRAS | Grant fee paid |
Free format text: ORIGINAL CODE: EPIDOSNIGR3 |
|
| GRAA | (expected) grant |
Free format text: ORIGINAL CODE: 0009210 |
|
| STAA | Information on the status of an ep patent application or granted ep patent |
Free format text: STATUS: THE PATENT HAS BEEN GRANTED |
|
| AK | Designated contracting states |
Kind code of ref document: B1 Designated state(s): AL AT BE BG CH CY CZ DE DK EE ES FI FR GB GR HR HU IE IS IT LI LT LU LV MC MK MT NL NO PL PT RO RS SE SI SK SM TR |
|
| RAP1 | Party data changed (applicant data changed or rights of an application transferred) |
Owner name: FAITRON AG |
|
| REG | Reference to a national code |
Ref country code: GB Ref legal event code: FG4D Free format text: NOT ENGLISH |
|
| REG | Reference to a national code |
Ref country code: CH Ref legal event code: EP |
|
| REG | Reference to a national code |
Ref country code: DE Ref legal event code: R096 Ref document number: 502015010076 Country of ref document: DE |
|
| REG | Reference to a national code |
Ref country code: AT Ref legal event code: REF Ref document number: 1168689 Country of ref document: AT Kind code of ref document: T Effective date: 20190915 |
|
| REG | Reference to a national code |
Ref country code: IE Ref legal event code: FG4D Free format text: LANGUAGE OF EP DOCUMENT: GERMAN |
|
| REG | Reference to a national code |
Ref country code: LT Ref legal event code: MG4D |
|
| REG | Reference to a national code |
Ref country code: CH Ref legal event code: NV Representative=s name: WEINMANN ZIMMERLI AG, CH Ref country code: NL Ref legal event code: MP Effective date: 20190821 |
|
| PG25 | Lapsed in a contracting state [announced via postgrant information from national office to epo] |
Ref country code: FI Free format text: LAPSE BECAUSE OF FAILURE TO SUBMIT A TRANSLATION OF THE DESCRIPTION OR TO PAY THE FEE WITHIN THE PRESCRIBED TIME-LIMIT Effective date: 20190821 Ref country code: HR Free format text: LAPSE BECAUSE OF FAILURE TO SUBMIT A TRANSLATION OF THE DESCRIPTION OR TO PAY THE FEE WITHIN THE PRESCRIBED TIME-LIMIT Effective date: 20190821 Ref country code: SE Free format text: LAPSE BECAUSE OF FAILURE TO SUBMIT A TRANSLATION OF THE DESCRIPTION OR TO PAY THE FEE WITHIN THE PRESCRIBED TIME-LIMIT Effective date: 20190821 Ref country code: PT Free format text: LAPSE BECAUSE OF FAILURE TO SUBMIT A TRANSLATION OF THE DESCRIPTION OR TO PAY THE FEE WITHIN THE PRESCRIBED TIME-LIMIT Effective date: 20191223 Ref country code: NO Free format text: LAPSE BECAUSE OF FAILURE TO SUBMIT A TRANSLATION OF THE DESCRIPTION OR TO PAY THE FEE WITHIN THE PRESCRIBED TIME-LIMIT Effective date: 20191121 Ref country code: NL Free format text: LAPSE BECAUSE OF FAILURE TO SUBMIT A TRANSLATION OF THE DESCRIPTION OR TO PAY THE FEE WITHIN THE PRESCRIBED TIME-LIMIT Effective date: 20190821 Ref country code: LT Free format text: LAPSE BECAUSE OF FAILURE TO SUBMIT A TRANSLATION OF THE DESCRIPTION OR TO PAY THE FEE WITHIN THE PRESCRIBED TIME-LIMIT Effective date: 20190821 Ref country code: BG Free format text: LAPSE BECAUSE OF FAILURE TO SUBMIT A TRANSLATION OF THE DESCRIPTION OR TO PAY THE FEE WITHIN THE PRESCRIBED TIME-LIMIT Effective date: 20191121 |
|
| PG25 | Lapsed in a contracting state [announced via postgrant information from national office to epo] |
Ref country code: LV Free format text: LAPSE BECAUSE OF FAILURE TO SUBMIT A TRANSLATION OF THE DESCRIPTION OR TO PAY THE FEE WITHIN THE PRESCRIBED TIME-LIMIT Effective date: 20190821 Ref country code: AL Free format text: LAPSE BECAUSE OF FAILURE TO SUBMIT A TRANSLATION OF THE DESCRIPTION OR TO PAY THE FEE WITHIN THE PRESCRIBED TIME-LIMIT Effective date: 20190821 Ref country code: GR Free format text: LAPSE BECAUSE OF FAILURE TO SUBMIT A TRANSLATION OF THE DESCRIPTION OR TO PAY THE FEE WITHIN THE PRESCRIBED TIME-LIMIT Effective date: 20191122 Ref country code: RS Free format text: LAPSE BECAUSE OF FAILURE TO SUBMIT A TRANSLATION OF THE DESCRIPTION OR TO PAY THE FEE WITHIN THE PRESCRIBED TIME-LIMIT Effective date: 20190821 Ref country code: IS Free format text: LAPSE BECAUSE OF FAILURE TO SUBMIT A TRANSLATION OF THE DESCRIPTION OR TO PAY THE FEE WITHIN THE PRESCRIBED TIME-LIMIT Effective date: 20191221 |
|
| PG25 | Lapsed in a contracting state [announced via postgrant information from national office to epo] |
Ref country code: TR Free format text: LAPSE BECAUSE OF FAILURE TO SUBMIT A TRANSLATION OF THE DESCRIPTION OR TO PAY THE FEE WITHIN THE PRESCRIBED TIME-LIMIT Effective date: 20190821 |
|
| REG | Reference to a national code |
Ref country code: ES Ref legal event code: FG2A Ref document number: 2756724 Country of ref document: ES Kind code of ref document: T3 Effective date: 20200427 |
|
| PG25 | Lapsed in a contracting state [announced via postgrant information from national office to epo] |
Ref country code: EE Free format text: LAPSE BECAUSE OF FAILURE TO SUBMIT A TRANSLATION OF THE DESCRIPTION OR TO PAY THE FEE WITHIN THE PRESCRIBED TIME-LIMIT Effective date: 20190821 Ref country code: PL Free format text: LAPSE BECAUSE OF FAILURE TO SUBMIT A TRANSLATION OF THE DESCRIPTION OR TO PAY THE FEE WITHIN THE PRESCRIBED TIME-LIMIT Effective date: 20190821 Ref country code: RO Free format text: LAPSE BECAUSE OF FAILURE TO SUBMIT A TRANSLATION OF THE DESCRIPTION OR TO PAY THE FEE WITHIN THE PRESCRIBED TIME-LIMIT Effective date: 20190821 Ref country code: DK Free format text: LAPSE BECAUSE OF FAILURE TO SUBMIT A TRANSLATION OF THE DESCRIPTION OR TO PAY THE FEE WITHIN THE PRESCRIBED TIME-LIMIT Effective date: 20190821 |
|
| PG25 | Lapsed in a contracting state [announced via postgrant information from national office to epo] |
Ref country code: SK Free format text: LAPSE BECAUSE OF FAILURE TO SUBMIT A TRANSLATION OF THE DESCRIPTION OR TO PAY THE FEE WITHIN THE PRESCRIBED TIME-LIMIT Effective date: 20190821 Ref country code: CZ Free format text: LAPSE BECAUSE OF FAILURE TO SUBMIT A TRANSLATION OF THE DESCRIPTION OR TO PAY THE FEE WITHIN THE PRESCRIBED TIME-LIMIT Effective date: 20190821 Ref country code: SM Free format text: LAPSE BECAUSE OF FAILURE TO SUBMIT A TRANSLATION OF THE DESCRIPTION OR TO PAY THE FEE WITHIN THE PRESCRIBED TIME-LIMIT Effective date: 20190821 Ref country code: IS Free format text: LAPSE BECAUSE OF FAILURE TO SUBMIT A TRANSLATION OF THE DESCRIPTION OR TO PAY THE FEE WITHIN THE PRESCRIBED TIME-LIMIT Effective date: 20200224 |
|
| REG | Reference to a national code |
Ref country code: DE Ref legal event code: R097 Ref document number: 502015010076 Country of ref document: DE |
|
| PLBE | No opposition filed within time limit |
Free format text: ORIGINAL CODE: 0009261 |
|
| STAA | Information on the status of an ep patent application or granted ep patent |
Free format text: STATUS: NO OPPOSITION FILED WITHIN TIME LIMIT |
|
| PG2D | Information on lapse in contracting state deleted |
Ref country code: IS |
|
| 26N | No opposition filed |
Effective date: 20200603 |
|
| PG25 | Lapsed in a contracting state [announced via postgrant information from national office to epo] |
Ref country code: SI Free format text: LAPSE BECAUSE OF FAILURE TO SUBMIT A TRANSLATION OF THE DESCRIPTION OR TO PAY THE FEE WITHIN THE PRESCRIBED TIME-LIMIT Effective date: 20190821 |
|
| PG25 | Lapsed in a contracting state [announced via postgrant information from national office to epo] |
Ref country code: MC Free format text: LAPSE BECAUSE OF FAILURE TO SUBMIT A TRANSLATION OF THE DESCRIPTION OR TO PAY THE FEE WITHIN THE PRESCRIBED TIME-LIMIT Effective date: 20190821 |
|
| REG | Reference to a national code |
Ref country code: BE Ref legal event code: MM Effective date: 20200531 |
|
| PG25 | Lapsed in a contracting state [announced via postgrant information from national office to epo] |
Ref country code: LU Free format text: LAPSE BECAUSE OF NON-PAYMENT OF DUE FEES Effective date: 20200519 |
|
| PG25 | Lapsed in a contracting state [announced via postgrant information from national office to epo] |
Ref country code: IE Free format text: LAPSE BECAUSE OF NON-PAYMENT OF DUE FEES Effective date: 20200519 |
|
| PG25 | Lapsed in a contracting state [announced via postgrant information from national office to epo] |
Ref country code: BE Free format text: LAPSE BECAUSE OF NON-PAYMENT OF DUE FEES Effective date: 20200531 |
|
| REG | Reference to a national code |
Ref country code: AT Ref legal event code: MM01 Ref document number: 1168689 Country of ref document: AT Kind code of ref document: T Effective date: 20200519 |
|
| PG25 | Lapsed in a contracting state [announced via postgrant information from national office to epo] |
Ref country code: AT Free format text: LAPSE BECAUSE OF NON-PAYMENT OF DUE FEES Effective date: 20200519 |
|
| PG25 | Lapsed in a contracting state [announced via postgrant information from national office to epo] |
Ref country code: MT Free format text: LAPSE BECAUSE OF FAILURE TO SUBMIT A TRANSLATION OF THE DESCRIPTION OR TO PAY THE FEE WITHIN THE PRESCRIBED TIME-LIMIT Effective date: 20190821 Ref country code: CY Free format text: LAPSE BECAUSE OF FAILURE TO SUBMIT A TRANSLATION OF THE DESCRIPTION OR TO PAY THE FEE WITHIN THE PRESCRIBED TIME-LIMIT Effective date: 20190821 |
|
| PG25 | Lapsed in a contracting state [announced via postgrant information from national office to epo] |
Ref country code: MK Free format text: LAPSE BECAUSE OF FAILURE TO SUBMIT A TRANSLATION OF THE DESCRIPTION OR TO PAY THE FEE WITHIN THE PRESCRIBED TIME-LIMIT Effective date: 20190821 |
|
| REG | Reference to a national code |
Ref country code: DE Ref legal event code: R082 Ref document number: 502015010076 Country of ref document: DE Representative=s name: WEIDNER STERN JESCHKE PATENTANWAELTE PARTNERSC, DE Ref country code: DE Ref legal event code: R082 Ref document number: 502015010076 Country of ref document: DE Representative=s name: WENZEL NEMETZADE WARTHMUELLER PATENTANWAELTE P, DE |
|
| PGFP | Annual fee paid to national office [announced via postgrant information from national office to epo] |
Ref country code: DE Payment date: 20250602 Year of fee payment: 11 |
|
| PGFP | Annual fee paid to national office [announced via postgrant information from national office to epo] |
Ref country code: GB Payment date: 20250524 Year of fee payment: 11 Ref country code: ES Payment date: 20250602 Year of fee payment: 11 |
|
| PGFP | Annual fee paid to national office [announced via postgrant information from national office to epo] |
Ref country code: IT Payment date: 20250529 Year of fee payment: 11 |
|
| PGFP | Annual fee paid to national office [announced via postgrant information from national office to epo] |
Ref country code: FR Payment date: 20250520 Year of fee payment: 11 |
|
| PGFP | Annual fee paid to national office [announced via postgrant information from national office to epo] |
Ref country code: CH Payment date: 20250613 Year of fee payment: 11 |
|
| REG | Reference to a national code |
Ref country code: DE Ref legal event code: R082 Ref document number: 502015010076 Country of ref document: DE Representative=s name: WENZEL NEMETZADE WARTHMUELLER PATENTANWAELTE P, DE |