EP2977145B2 - Zentrisch-spannvorrichtung - Google Patents

Zentrisch-spannvorrichtung Download PDF

Info

Publication number
EP2977145B2
EP2977145B2 EP15174952.0A EP15174952A EP2977145B2 EP 2977145 B2 EP2977145 B2 EP 2977145B2 EP 15174952 A EP15174952 A EP 15174952A EP 2977145 B2 EP2977145 B2 EP 2977145B2
Authority
EP
European Patent Office
Prior art keywords
centrical
clamping device
base body
bearing
spindle
Prior art date
Legal status (The legal status is an assumption and is not a legal conclusion. Google has not performed a legal analysis and makes no representation as to the accuracy of the status listed.)
Active
Application number
EP15174952.0A
Other languages
English (en)
French (fr)
Other versions
EP2977145B1 (de
EP2977145A1 (de
Inventor
Marcel Schlüssel
Current Assignee (The listed assignees may be inaccurate. Google has not performed a legal analysis and makes no representation or warranty as to the accuracy of the list.)
Gressel AG
Original Assignee
Gressel AG
Priority date (The priority date is an assumption and is not a legal conclusion. Google has not performed a legal analysis and makes no representation as to the accuracy of the date listed.)
Filing date
Publication date
Family has litigation
First worldwide family litigation filed litigation Critical https://patents.darts-ip.com/?family=53785410&utm_source=google_patent&utm_medium=platform_link&utm_campaign=public_patent_search&patent=EP2977145(B2) "Global patent litigation dataset” by Darts-ip is licensed under a Creative Commons Attribution 4.0 International License.
Application filed by Gressel AG filed Critical Gressel AG
Publication of EP2977145A1 publication Critical patent/EP2977145A1/de
Publication of EP2977145B1 publication Critical patent/EP2977145B1/de
Application granted granted Critical
Publication of EP2977145B2 publication Critical patent/EP2977145B2/de
Active legal-status Critical Current
Anticipated expiration legal-status Critical

Links

Images

Classifications

    • BPERFORMING OPERATIONS; TRANSPORTING
    • B25HAND TOOLS; PORTABLE POWER-DRIVEN TOOLS; MANIPULATORS
    • B25BTOOLS OR BENCH DEVICES NOT OTHERWISE PROVIDED FOR, FOR FASTENING, CONNECTING, DISENGAGING OR HOLDING
    • B25B1/00Vices
    • B25B1/06Arrangements for positively actuating jaws
    • B25B1/10Arrangements for positively actuating jaws using screws
    • B25B1/103Arrangements for positively actuating jaws using screws with one screw perpendicular to the jaw faces, e.g. a differential or telescopic screw
    • BPERFORMING OPERATIONS; TRANSPORTING
    • B25HAND TOOLS; PORTABLE POWER-DRIVEN TOOLS; MANIPULATORS
    • B25BTOOLS OR BENCH DEVICES NOT OTHERWISE PROVIDED FOR, FOR FASTENING, CONNECTING, DISENGAGING OR HOLDING
    • B25B1/00Vices
    • B25B1/24Details, e.g. jaws of special shape, slideways
    • B25B1/2405Construction of the jaws
    • BPERFORMING OPERATIONS; TRANSPORTING
    • B25HAND TOOLS; PORTABLE POWER-DRIVEN TOOLS; MANIPULATORS
    • B25BTOOLS OR BENCH DEVICES NOT OTHERWISE PROVIDED FOR, FOR FASTENING, CONNECTING, DISENGAGING OR HOLDING
    • B25B1/00Vices
    • B25B1/24Details, e.g. jaws of special shape, slideways
    • B25B1/2489Slideways
    • BPERFORMING OPERATIONS; TRANSPORTING
    • B25HAND TOOLS; PORTABLE POWER-DRIVEN TOOLS; MANIPULATORS
    • B25BTOOLS OR BENCH DEVICES NOT OTHERWISE PROVIDED FOR, FOR FASTENING, CONNECTING, DISENGAGING OR HOLDING
    • B25B1/00Vices
    • B25B1/24Details, e.g. jaws of special shape, slideways
    • BPERFORMING OPERATIONS; TRANSPORTING
    • B25HAND TOOLS; PORTABLE POWER-DRIVEN TOOLS; MANIPULATORS
    • B25BTOOLS OR BENCH DEVICES NOT OTHERWISE PROVIDED FOR, FOR FASTENING, CONNECTING, DISENGAGING OR HOLDING
    • B25B1/00Vices
    • B25B1/24Details, e.g. jaws of special shape, slideways
    • B25B1/2484Supports

Definitions

  • the invention relates to a centric clamping device according to the preamble of patent claim 1.
  • Centric clamping devices usually have a base body that can be clamped, e.g. With the help of the adjusting spindle, the clamping jaws, which are movably arranged on the base body, can be moved apart and together at the same time, which enables centric clamping of workpieces.
  • a generic centric clamping device is known. This has a base body, two clamping jaws guided in a displaceable manner on the base body and an adjusting spindle rotatably mounted on the base body by means of a spindle bearing for the opposite adjustment of the two clamping jaws.
  • the spindle bearing consists of a bearing piece which is fastened to the base body by means of screws and contains a cup-shaped bearing web for engagement in an annular groove of the adjusting spindle.
  • U1 discloses a clamping device with a base body and two clamping jaws which are arranged opposite one another on the base body and are guided in an adjustable manner towards and away from one another along a common axis.
  • the clamping jaws are adjusted via an adjusting spindle, which is rotatably mounted in a central bearing housing and has external thread sections of opposite pitch at its end regions, which are screwed into the clamping jaws.
  • the DE 10 2013 104 467 A1 discloses a centering vise in which two mutually adjustable clamping jaws are displaceably guided on a base body.
  • the clamping jaws can be adjusted via a threaded spindle that is rotatably mounted in a central bearing block.
  • the DE 297 23 435 U1 discloses a centric clamping device with two linearly guided clamping carriages that can be moved in relation to one another.
  • the clamping slides are adjusted by means of a threaded spindle which is rotatably mounted within a bearing block and has opposing threaded sections at both ends for engaging in threaded nuts of two pistons.
  • a clamping device With a first clamping jaw fixedly arranged on a base body and a second clamping jaw guided adjustably on the base body.
  • the second clamping jaw can be adjusted by means of a screw spindle arranged in a spindle recess in the base body.
  • the spindle recess of the base body between the two clamping jaws is covered by a cover element over the entire adjustment range of the clamping jaws.
  • the DE 10 2007 027 808 B3 relates to a clamping device in which the carriers of the clamping jaws are designed as half-shells enclosing the adjusting spindle.
  • the object of the invention is to create a centric clamping device of the type mentioned at the outset, which contains a highly accurate spindle bearing that is optimally protected against contamination.
  • the spindle bearing is accommodated in a bearing block and has two bearing sleeves that are axially adjustable within the bearing block.
  • the spindle bearing can also be preloaded and adjusted without play by mutual adjustment of the two bearing sleeves.
  • the adjusting spindle is completely covered and sealed by the bearing block in the bearing area. The centric clamping device is therefore insensitive to chips and the adjusting spindle is protected from contamination in a closed system.
  • the spindle bearing can be designed as a roller bearing with a plurality of rolling bodies guided between the bearing sleeves and the adjusting spindle.
  • the adjusting spindle can, for example, have two annular grooves spaced apart from one another for the inside bearing of the rolling bodies, which are designed, for example, as balls.
  • the two bearing sleeves can each contain a shoulder-shaped bearing surface for the outside bearing of the rolling bodies on the end faces facing one another. By mutual bracing of the two bearing sleeves, the shoulder-shaped bearing surfaces can be brought into contact with the balls and thus an adjustment with as little play as possible can be achieved.
  • the spindle bearing could also be designed as a plain bearing with axially adjustable plain bearing sleeves.
  • a simple axial adjustment of the bearing sleeves can be achieved in that the two bearing sleeves each have an external thread for engaging in a corresponding internal thread of a through-opening running through the bearing block.
  • the bearing block which is closed over the entire circumference, can be designed in one piece with the base body.
  • An optimized chip flow can be achieved by indentations between the bearing block and two side walls of the base body leading to the outside passages are arranged with sloping bottom surfaces leading downwards.
  • the two clamping jaws can be adjustable via slides that are slidably guided in the base body.
  • the slides can be installed in the base body in such a way that the result is a construction that is protected from dirt and is insensitive to chips.
  • the adjusting spindle expediently has two external threads designed as right-hand and left-hand threads for engagement with corresponding internal threads on through-bores of the two slides.
  • the clamping jaws are preferably releasably attached to the slides. As a result, the clamping jaws can be exchanged if necessary and adapted to the respective clamping task.
  • the clamping jaws can have any shape.
  • the centric clamping device shown in different views contains a base body 1 on which two clamping jaws 2 and 3 are slidably guided via slides 4 and 5 and can be adjusted in opposite directions by an adjusting mechanism with an adjusting spindle 6 .
  • the base body 1 has two spaced side walls 7 and 8 with upper guide surfaces 9 and 10 .
  • the two guide surfaces 9 and 10 are formed on a hardened and ground upper part of the two side walls 7 and 8 of the base body 1 .
  • the guide surfaces 9 and 10 can also be arranged on separate guide rails or guide rails that can be replaced if necessary.
  • the two slides 4 and 5 are fitted between the two side panels 7 and 8 of the base body 1 and are guided in a displaceable manner.
  • the slides 4 and 5 have a stepped cross section with an upper bearing surface 11 .
  • FIG. 4 As can be seen, in the upper bearing surface 11 of the two slides 4 and 5, two indentations 12 and 13 are arranged one behind the other, viewed in the longitudinal direction of the base body 1, for the form-fitting engagement of a projection 14 projecting downwards from the underside of the clamping jaws 2 and 3.
  • the clamping jaws 2 and 3 can be offset inwards or outwards and figure 3 recognizable screws 15 are fastened to the respective slide 4 or 5 in the exact position.
  • the clamping jaws 2 and 3 can have any shape adapted to the respective clamping task.
  • the clamping jaws 2 and 3 are designed as reversible jaws with different clamping surfaces. By turning the clamping jaws 2 and 3, the clamping range can be expanded or changed in a simple manner.
  • the adjusting spindle 6 In the middle of the base body 1, between the two side walls 7 and 8, there is a bearing block 16, which is closed at the top and to the side, for mounting the adjusting spindle 6.
  • the two slides 4 and 5 have a recess 17 or a cover for receiving the bearing block 16 and for covering the adjusting spindle 6 on the end faces facing one another.
  • the adjustment spindle 6 is covered by the recesses 17 or the covers on the slides 4 and 5 and the chips are deflected.
  • the adjusting spindle 6 is mounted rotatably about its longitudinal axis and secured in the axial direction by a spindle bearing 18, which will be explained in more detail below.
  • the adjusting spindle 6 mounted centrally within the bearing block 16 has an adjusting pin 19 which protrudes outwards from the base body 1 and the slide 5 and is provided here with an external hexagon, as well as two external threads 20 and 21 designed as right-hand and left-hand threads for engagement with corresponding internal threads 22 and 23 on through holes 24 and 25 of the two slides 4 and 5 contains.
  • the two slides 4 and 5 can be moved in opposite directions to one another and the clamping jaws 2 and 3 can thus be moved together or apart at the same time.
  • the two slides 4 and 5 are sealed off from the adjusting spindle 6 at their mutually facing end faces via annular sealing elements 26 .
  • the bearing block 16 shown in detail is designed in one piece with the base body 1 in the embodiment shown and contains a through opening 27 running in the longitudinal direction of the base body 1, in which the spindle bearing 18 for the adjusting spindle 6 is accommodated.
  • the spindle bearing 18 comprises two bearing sleeves 28 and 29 which are arranged axially adjustable within the through-opening 27 and in which the adjusting spindle 6 is rotatably mounted.
  • the adjusting spindle 6 contains a central annular collar 30 and two annular grooves 31 and 32 provided on the right and left of the annular collar 30, in which rolling elements 33 distributed over the circumference of the adjusting spindle 6 are mounted.
  • the two bearing sleeves 28 and 29 each have an external thread 34 for engaging in a corresponding internal thread 35 of the through opening 27 and each contain a shoulder-shaped bearing surface 36 on the end faces facing one another, on which the inner side guided in the two annular grooves 31 and 32 and here as Balls formed rolling elements 33 come to rest on the outside.
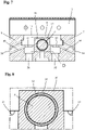
  • the central bearing block 16 arranged between the two side walls of the base body 1 is shown in a cross section. Between the bearing block 16 and the two side walls 7 and 8 of the base body 1 are depressions 37 with countersunk holes 38 for fastening the base body 1 to a machine table or the like. Provided. In the two side panels 7 and 8, passages 39 leading outwards from the recesses 37 are arranged with bottom surfaces 40 leading obliquely downwards. As a result, chips that get into the depressions 37 can be discharged to the outside in a simple and effective manner.
  • the adjusting spindle 6 and also the bearing block 16 are covered by the recesses 17 or the covers on the slides 4 and 5 and the chips are guided to the depressions 37 and from there via the passages 39 to the outside.
  • the two clamping jaws 2 and 3 are designed as reversible jaws and have straight clamping surfaces on one side and stepped clamping surfaces on the other side. By turning the clamping jaws 2 and 3, the clamping range can easily be expanded.
  • the clamping jaws 2 and 3 can also have any other shape that is adapted to the respective clamping task.

Landscapes

  • Engineering & Computer Science (AREA)
  • Mechanical Engineering (AREA)
  • Jigs For Machine Tools (AREA)
  • Machine Tool Units (AREA)
  • Clamps And Clips (AREA)

Description

  • Die Erfindung betrifft eine Zentrisch-Spannvorrichtung nach dem Oberbegriff des Patentanspruchs 1.
  • Zentrisch-Spannvorrichtungen weisen üblicherweise einen z.B. auf einem Maschinentisch aufspannbaren Grundkörper, zwei an dem Grundkörper über Längsführungen verschiebbar geführte Spannbacken und eine Verstellspindel zur gegenläufigen Verstellung der beiden Spannbacken auf. Mit Hilfe der Verstellspindel können die am Grundkörper verschiebbar angeordneten Spannbacken gleichzeitig auseinander- und zusammengefahren werden, wodurch eine zentrische Spannung von Werkstücken ermöglicht wird.
  • Aus der DE 10 2012 112 755 A1 ist eine gattungsgemäße Zentrisch-Spannvorrichtung bekannt. Diese weist einen Grundkörper, zwei am Grundkörper verschiebbar geführte Spannbacken und eine mittels einer Spindellagerung drehbar am Grundkörper gelagerte Verstellspindel zur gegenläufigen Verstellung der beiden Spannbacken auf. Die Spindelllagerung besteht bei dieser bekannten Spannvorrichtung aus einem mittels Schrauben am Grundkörper befestigten Lagerstück, das einen schalenförmigen Lagersteg zum Eingriff in eine Ringnut der Verstellspindel enthält.
  • In der DE 20 2004 009 517 U1 ist eine Spanneinrichtung mit einem Grundkörper und zwei Spannbacken offenbart, die einander gegenüberliegend an dem Grundkörper angeordnet und entlang einer gemeinsamen Achse aufeinander zu und voneinander weg verstellbar geführt sind. Die Verstellung der Spannbacken erfolgt über eine Stellspindel, die in einem zentralen Lagergehäuse drehbar gelagert ist und an ihren Endbereichen Außengewindeabschnitte gegensätzlicher Steigung aufweist, welche in die Spannbacken eingeschraubt sind.
  • Die DE 10 2013 104 467 A1 offenbart einen Zentrischspanner, bei dem an einem Grundkörper zwei gegeneinander verstellbare Spannbacken verschiebbar geführt sind. Die Spannbacken sind über eine in einem mittigen Lagerblock drehbar gelagerte Gewindespindel verstellbar.
  • Die DE 297 23 435 U1 offenbart eine Zentrisch-Spannvorrichtung mit zwei linear geführt gegeneinander bewegbaren Spannschlitten. Die Verstellung der Spannschlitten erfolgt durch eine innerhalb eines Lagerblocks drehbar gelagerte Gewindespindel, die an ihren beiden Enden gegenläufige Gewindeabschnitte zum Eingriff in Gewindemuttern zweier Kolben aufweist.
  • Aus der EP 1 688 219 A1 ist eine Spanneinrichtung mit einer an einem Grundkörper fest angeordneten ersten Spannbacke und einer am Grundkörpers verstellbar geführten zweiten Spannbacke bekannt. Die zweite Spannbacke ist mittels einer in einer Spindelausnehmung des Grundkörpers angeordneten Schraubspindel verstellbar. Zur Vermeidung von Verschmutzungen ist die Spindelausnehmung des Grundkörpers zwischen den beiden Spannbacken über den gesamten Verstellbereich der Spannbacken durch ein Deckelement abgedeckt.
  • Die DE 10 2007 027 808 B3 betrifft eine Spannvorrichtung, bei der die Träger der Spannbacken als die Verstellspindel umschließende Halbschalen ausgebildet sind.
  • Aufgabe der Erfindung ist es, eine Zentrisch-Spannvorrichtung der eingangs genannten Art zu schaffen, die eine gegen Verschmutzung optimal geschützte Spindelllagerung mit hoher Genauigkeit enthält.
  • Diese Aufgabe wird durch eine Zentrisch-Spannvorrichtung mit den Merkmalen des Anspruchs 1 gelöst. Zweckmäßige Weiterbildungen und vorteilhafte Ausführungsformen der Erfindung sind Gegenstand der Unteransprüche.
  • Bei der erfindungsgemäßen Zentrisch-Spannvorrichtung ist die Spindellagerung in einem Lagerblock untergebracht und weist zwei innerhalb des Lagerblocks axial verstellbare Lagerhülsen auf. Durch die axiale Verstellung der beiden Lagerhülsen kann nicht nur axiale Lage der Verstellspindel bezüglich des Grundkörpers eingestellt werden, über eine gegenseitige Verstellung der beiden Lagerhülsen kann die Spindellagerung außerdem vorgespannt und spielfrei eingestellt werden. Dadurch ist eine hohe Präzision und gute Wiederholgenauigkeit erreichbar. Außerdem ist die Verstellspindel über den Lagerblock im Bereich der Lagerung komplett abgedeckt und abgedichtet. Die Zentrisch-Spannvorrichtung ist somit unempfindlich gegen Späne und die Verstellspindel ist in einem geschlossenen System vor Verschmutzungen geschützt.
  • In einer besonders reibungsarmen und positionsgenau einstellbaren Ausführung kann die Spindellagerung als Rollenlagerung mit mehreren zwischen den Lagerhülsen und der Verstellspindel geführten Wälzkörpern ausgebildet sein. Die Verstellspindel kann hierzu z.B. zwei voneinander beabstandete Ringnuten zur innenseitigen Lagerung der z.B. als Kugeln ausgebildeten Wälzköper aufweisen. Die beiden Lagerhülsen können an den einander zugewandten Stirnseiten jeweils eine schulterförmige Lagerfläche zur außenseitigen Lagerung der Wälzköper enthalten. Durch gegenseitiges Verspannen der beiden Lagerhülsen, können die schulterförmigen Lagerflächen zur Anlage an den Kugeln gebracht und somit eine möglichst spielfreie Einstellung erreicht werden. Die Spindellagerung könnte aber auch als Gleitlagerung mit axial verstellbaren Gleitlagerhülsen ausgebildet sein.
  • Eine einfache axiale Verstellung der Lagerhülsen kann dadurch erreicht werden, dass die beiden Lagerhülsen jeweils ein Außengewinde zum Eingriff in ein entsprechendes Innengewinde einer durch den Lagerblock verlaufenden Durchgangsöffnung aufweisen.
  • In einer besonders stabilen und vor Verschmutzung optimal geschützten Bauweise kann der über den gesamten Umfang geschlossene Lagerblock einteilig mit dem Grundkörper ausgebildet sein. Ein optimierter Späneabfluss ist dadurch erreichbar, dass von Vertiefungen zwischen dem Lagerblock und zwei Seitenwangen des Grundkörpers nach außen führende Durchgänge mit schräg nach unten führenden Bodenflächen angeordnet sind.
  • Gemäß einer weiteren vorteilhaften Ausführung können die beiden Spannbacken über in dem Grundkörper verschiebbar geführte Schieber verstellbar sein. Die Schieber können so in den Grundkörper eingebaut sein, dass sich eine vor Verschmutzung geschützte und gegen Späne unempfindliche Bauweise ergibt. Die Verstellspindel weist zweckmäßigerweise zwei als Rechts- bzw. Linksgewinde ausgeführte Außengewinde zum Eingriff mit entsprechenden Innengewinden an Durchgangsbohrungen der beiden Schieber auf.
  • Die Spannbacken sind vorzugsweise lösbar auf den Schiebern befestigt. Dadurch können die Spannbacken bei Bedarf ausgetauscht und an die jeweilige Spannaufgabe angepasst werden. Die Spannbacken können eine beliebige Form aufweisen.
  • Weitere Besonderheiten und Vorzüge der Erfindung ergeben sich aus der folgenden Beschreibung eines bevorzugten Ausführungsbeispiels anhand der Zeichnung. Es zeigen:
  • Figur 1
    eine erfindungsgemäße Zentrisch-Spannvorrichtung in einer Perspektive von oben;
    Figur 2
    die Zentrisch-Spannvorrichtung von Figur 1 in einer Perspektive von unten;
    Figur 3
    die Zentrisch-Spannvorrichtung von Figur 1 in einer Draufsicht;
    Figur 4
    die Zentrisch-Spannvorrichtung von Figur 1 in einem Längsschnitt entlang der Linie A-A von Figur 3;
    Figur 5
    eine vergrößerte Detailansicht des Bereichs C von Figur 4;
    Figur 6
    die Zentrisch-Spannvorrichtung von Figur 1 in einer Seitenansicht;
    Figur 7
    einen Querschnitt entlang der Linie B-B von Figur 6 und
    Figur 8
    eine vergrößerte Detailansicht des Bereichs D von Figur 7.
  • Die in den Figuren 1 bis 4 in unterschiedlichen Ansichten dargestellte Zentrisch-Spannvorrichtung enthält einem Grundkörper 1, an dem zwei Spannbacken 2 und 3 über Schieber 4 und 5 verschiebbar geführt und durch einen Verstellmechanismus mit einer Verstellspindel 6 gegenläufig verstellbar sind. Der Grundkörper 1 weist zwei voneinander beabstandete Seitenwangen 7 und 8 mit oberen Führungsflächen 9 und 10 auf. Bei der gezeigten Ausführungsform sind die beiden Führungsflächen 9 und 10 an einem gehärteten und geschliffenen oberen Teil der beiden Seitenwangen 7 und 8 des Grundkörpers 1 ausgeführt. Die Führungsflächen 9 und 10 können aber auch an gesonderten und bei Bedarf auswechselbaren Führungsschienen oder Führungsleisten angeordnet sein. Zwischen den beiden Seitenwangen 7 und 8 des Grundkörpers 1 sind die beiden Schieber 4 und 5 eingepasst und verschiebbar geführt. Bei dem gezeigten Ausführungsbeispiel weisen die Schieber 4 und 5 einen stufenförmigen Querschnitt mit einer oberen Auflagefläche 11 auf.
  • Wie aus Figur 4 hervorgeht, sind in der oberen Auflagefläche 11 der beiden Schieber 4 und 5 jeweils zwei in Längsrichtung des Grundkörpers 1 gesehen hintereinander liegende Vertiefungen 12 und 13 zum formschlüssigen Eingriff eines von der Unterseite der Spannbacken 2 und 3 nach unten vorstehenden Ansatzes 14 angeordnet. Dadurch können die Spannbacken 2 und 3 nach innen oder außen versetzt und durch in Figur 3 erkennbare Schrauben 15 an dem jeweiligen Schieber 4 bzw. 5 positionsgenau befestigt werden. Die Spannbacken 2 und 3 können eine beliebige, an die jeweilige Spannaufgabe angepasste Form aufweisen. Bei der gezeigten Ausführung sind die Spannbacken 2 und 3 als Wendebacken mit unterschiedlichem Spannflächen ausgeführt. Durch Umdrehen der Spannbacken 2 und 3 kann so der Spannbereich auf einfache Weise erweitert bzw. verändert werden.
  • In der Mitte des Grundkörpers 1 ist zwischen den beiden Seitenwangen 7 und 8 ein nach oben und zur Seite geschlossener Lagerblock 16 zur Lagerung der Verstellspindel 6 angeordnet. Die beiden Schieber 4 und 5 weisen an den einander zugewandeten Stirnseiten eine Ausnehmung 17 oder eine Abdeckung zur Aufnahme des Lagerblocks 16 und zur Abdeckung der Verstellspindel 6 auf. Dadurch können die beiden Schieber 4 und 5 unter Abdeckung der Verstellspindel 6 über dem Lagerblock 16 zusammengeschoben werden. Durch die Ausnehmungen 17 oder die Abdeckungen an den Schiebern 4 und 5 wird die Verstellspindel 6 abgedeckt und die Späne werden abgelenkt. Innerhalb des Lagerblocks 16 ist die Verstellspindel 6 durch eine im Folgenden noch näher erläuterte Spindellagerung 18 um ihre Längsachse drehbar und in Axialrichtung gesichert gelagert.
  • Aus Figur 4 ist ersichtlich, dass die innerhalb des Lagerblocks 16 mittig gelagerte Verstellspindel 6 einen gegenüber dem Grundköper 1 und dem Schieber 5 nach außen vorstehenden und hier mit einem Außensechskant versehenen Stellzapfen 19 sowie zwei als Rechts- bzw. Linksgewinde ausgeführte Außengewinde 20 bzw. 21 zum Eingriff mit entsprechenden Innengewinden 22 bzw. 23 an Durchgangsbohrungen 24 und 25 der beiden Schieber 4 und 5 enthält. Durch Drehung des Stellzapfens 19 mit Hilfe einer geeigneten Handkurbel oder eines anderen Betätigungselements können so die beiden Schieber 4 und 5 entgegengesetzt zueinander verschoben und die Spannbacken 2 und 3 somit gleichzeitig zusammen- bzw. auseinander gefahren werden. Über ringförmige Dichtelemente 26 sind die beiden Schieber 4 und 5 an ihren einander zugewandten Stirnseiten gegenüber der Verstellspindel 6 abgedichtet.
  • Der in Figur 5 im Detail dargestellte Lagerblock 16 ist bei der gezeigten Ausführung einteilig mit dem Grundkörper 1 ausgeführt und enthält eine in Längsrichtung des Grundkörpers 1 verlaufende Durchgangsöffnung 27, in der die Spindellagerung 18 für die Verstellspindel 6 untergebracht ist. Die Spindellagerung 18 umfasst zwei innerhalb der Durchgangsöffnung 27 axial verstellbar angeordnete Lagerhülsen 28 und 29, in denen die Verstellspindel 6 drehbar gelagert ist. Die Verstellspindel 6 enthält einen zentralen Ringbund 30 und zwei rechts und links vom Ringbund 30 vorgesehene Ringnuten 31 bzw. 32, in denen über den Umfang der Verstellspindel 6 verteilte Wälzkörper 33 gelagert sind. Die beiden Lagerhülsen 28 und 29 weisen jeweils ein Außengewinde 34 zum Eingriff in ein entsprechendes Innengewinde 35 der Durchgangsöffnung 27 auf und enthalten an den einander zugewandten Stirnseiten jeweils eine schulterförmige Lagerfläche 36, an der die innenseitig in den beiden Ringnuten 31 und 32 geführten und hier als Kugeln ausgebildeten Wälzkörper 33 außenseitig zur Anlage gelangen. Durch eine gleichgerichtete Verstellung der beiden Lagerhülsen 28 und 29 innerhalb des Lagerblocks 16 kann die Lage der Verstellspindel 6 bezüglich des Grundkörpers 1 eingestellt werden. Über einen gegenseitige Verstellung der beiden Lagerhülsen 28 und 29 kann die Spindellagerung 18 dagegen vorgespannt und spielfrei eingestellt werden.
  • In den Figuren 7 und 8 ist der zwischen den beiden Seitenwangen des Grundkörpers 1 angeordnete zentrale Lagerblock 16 in einem Querschnitt gezeigt. Zwischen dem Lagerblock 16 und den beiden Seitenwangen 7 und 8 des Grundkörpers 1 sind Vertiefungen 37 mit Senkbohrungen 38 zur Befestigung des Grundkörpers 1 auf einem Maschinentisch oder dgl. vorgesehen. In den beiden Seitenwangen 7 und 8 sind von den Vertiefungen 37 nach außen führende Durchgänge 39 mit schräg nach unten führenden Bodenflächen 40 angeordnet. Dadurch können in die Vertiefungen 37 gelangende Späne auf einfache und effektive Weise nach außen abgeführt werden. Durch die Ausnehmungen 17 oder die Abdeckungen an den Schiebern 4 und 5 wird die Verstellspindel 6 und auch der Lagerblock 16 abgedeckt und die Späne werden zu den Vertiefungen 37 und von dort über die Durchgänge 39 nach außen gelenkt.
  • Bei der gezeigten Ausführung sind die beiden Spannbacken 2 und 3 als Wendebacken ausgebildet und weisen an der einen Seite gerade und an der anderen Seite treppenförmige Spannflächen auf. Durch Umdrehen der Spannbacken 2 und 3 kann so der Spannbereich auf einfache Weise erweitert werden. Die Spannbacken 2 und 3 können aber auch jede andere beliebige, an die jeweilige Spannaufgabe angepasste, Form aufweisen.

Claims (11)

  1. Zentrisch-Spannvorrichtung, die einen Grundkörper (1), zwei am Grundkörper (1) verschiebbar geführte Spannbacken (2, 3) und eine mittels einer Spindellagerung (18) drehbar am Grundkörper (1) gelagerte Verstellspindel (6) zur gegenläufigen Verstellung der beiden Spannbacken (2, 3) enthält, wobei die Spindellagerung (18) in einem Lagerblock (16) untergebracht ist und zwei innerhalb des Lagerblocks (16) axial verstellbare Lagerhülsen (28, 29) enthält und wobei die beiden Spannbacken (2, 3) über in dem Grundkörper (1) verschiebbar geführte Schieber (4, 5) verstellbar sind, dadurch gekennzeichnet, dass die beiden Schieber (4, 5) an den einander zugewandten Stirnseiten eine Ausnehmung (17) zur Aufnahme des Lagerblocks (16) und zur Abdeckung der Verstellspindel (6) aufweisen.
  2. Zentrisch-Spannvorrichtung nach Anspruch 1, dadurch gekennzeichnet, dass die Spindellagerung (18) als Rollenlagerung mit mehreren zwischen den Lagerhülsen (28, 29) und der Verstellspindel (6) angeordneten Wälzkörpern (33) ausgebildet ist.
  3. Zentrisch-Spannvorrichtung nach Anspruch 2, dadurch gekennzeichnet, dass die Verstellspindel (6) zwei voneinander beabstandete Ringnuten (31, 33) zur innenseitigen Lagerung der Wälzköper (33) enthält.
  4. Zentrisch-Spannvorrichtung nach Anspruch 2 oder 3, dadurch gekennzeichnet, dass die beiden Lagerhülsen (28, 29) an den einander zugewandten Stirnseiten jeweils eine schulterförmige Lagerfläche (36) zur außenseitigen Lagerung der Wälzköper (33) aufweisen.
  5. Zentrisch-Spannvorrichtung nach einem der Ansprüche 1 bis 4, dadurch gekennzeichnet, dass die beiden Lagerhülsen (28, 29) jeweils ein Außengewinde (34) zum Eingriff in ein entsprechendes Innengwinde (35) einer durch den Lagerblock (16) verlaufenden Durchgangsöffnung (27) aufweisen.
  6. Zentrisch-Spannvorrichtung nach einem der Ansprüche 1 bis 5, dadurch gekennzeichnet, dass der Lagerblock (16) einteilig mit dem Grundkörper (1) ausgebildet ist.
  7. Zentrisch-Spannvonichtung nach Anspruch 6, dadurch gekennzeichnet, dass die Verstellspindel (6) zwei als Rechts- bzw. Linksgewinde ausgeführte Außengewinde (20, 21) zum Eingriff mit entsprechenden Innengewinden (22, 23) an Durchgangsbohrungen (24, 25) der beiden Schieber (4, 5) enthält.
  8. Zentrisch-Spannvorrichtung nach Anspruch 6 oder 7, dadurch gekennzeichnet, dass die beiden Spannbacken (2, 3) lösbar an den Schiebern (4, 5) befestigt sind.
  9. Zentrisch-Spannvorrichtung nach einem der Ansprüche 1 bis 8, dadurch gekennzeichnet, dass der Lagerblock (16) zwischen zwei Seitenwangen (7, 8) des Grundkörpers (1) angeordnet ist.
  10. Zentrisch-Spannvorrichtung nach Anspruch 9, dadurch gekennzeichnet, dass zwischen dem Lagerblock (16) und den beiden Seitenwangen (7, 8) Vertiefungen (37) angeordnet ist.
  11. Zentrisch-Spannvorrichtung nach Anspruch 10, dadurch gekennzeichnet, dass in den beiden Seitenwangen (7, 8) von den Vertiefungen (37) nach außen führende Durchgänge (39) mit schräg nach unten führenden Bodenflächen (40) angeordnet sind.
EP15174952.0A 2014-07-23 2015-07-02 Zentrisch-spannvorrichtung Active EP2977145B2 (de)

Applications Claiming Priority (1)

Application Number Priority Date Filing Date Title
DE102014110352.1A DE102014110352B3 (de) 2014-07-23 2014-07-23 Zentrisch-Spannvorrichtung

Publications (3)

Publication Number Publication Date
EP2977145A1 EP2977145A1 (de) 2016-01-27
EP2977145B1 EP2977145B1 (de) 2017-05-10
EP2977145B2 true EP2977145B2 (de) 2022-10-26

Family

ID=53785410

Family Applications (1)

Application Number Title Priority Date Filing Date
EP15174952.0A Active EP2977145B2 (de) 2014-07-23 2015-07-02 Zentrisch-spannvorrichtung

Country Status (3)

Country Link
US (1) US9962812B2 (de)
EP (1) EP2977145B2 (de)
DE (1) DE102014110352B3 (de)

Families Citing this family (13)

* Cited by examiner, † Cited by third party
Publication number Priority date Publication date Assignee Title
US11666997B1 (en) * 2015-11-18 2023-06-06 Elijah Tooling, Inc. Precision locating fastening device
CZ308696B6 (cs) * 2016-02-24 2021-03-03 Protechnik S.R.O. Strojní svěrák s modulárním systémem upínání
JP6674805B2 (ja) * 2016-03-16 2020-04-01 株式会社ナベヤ センタリング調整機能付きマシンバイス
DE102016117420B3 (de) 2016-09-15 2018-03-01 Allmatic-Jakob Spannsysteme Gmbh Spannantrieb und Zentrischspannsystem
CN106737302B (zh) * 2017-01-22 2019-08-27 高密宏泰机床制造有限公司 浮动式夹具
ES2698703A1 (es) * 2017-08-04 2019-02-05 Fresmak Sa Dispositivo de sujeción de piezas
DE102017122112B4 (de) * 2017-09-25 2021-12-09 Lang Technik Gmbh Schraubstockvorrichtung
PT3685963T (pt) * 2019-01-28 2022-08-16 Oml Srl Dispositivo de fixação, em particular um torno
US11667012B1 (en) * 2019-03-21 2023-06-06 Kurt Manufacturing Company, Inc. Self-centering dual direction clamping vise with adjustable center support
DE102020101064B3 (de) 2020-01-17 2021-03-18 Lang Technik Gmbh Werkstückspannvorrichtung
DE102021117229B4 (de) * 2021-07-05 2024-12-05 Lang Technik Gmbh Spannvorrichtung und Verfahren zur Handhabung eines Werkstücks
TWI785835B (zh) * 2021-10-07 2022-12-01 林長毅 中心虎鉗
WO2023247057A1 (de) * 2022-06-24 2023-12-28 Hemo Ag Zentrumspannvorrichtung zum spannen von mechanisch zu bearbeitenden werkstücken

Citations (1)

* Cited by examiner, † Cited by third party
Publication number Priority date Publication date Assignee Title
US20140131933A1 (en) 2012-11-15 2014-05-15 Chris Taylor Self-Centering Vise

Family Cites Families (25)

* Cited by examiner, † Cited by third party
Publication number Priority date Publication date Assignee Title
US1811299A (en) * 1928-08-25 1931-06-23 Jr Paul Brockhaus Vise
US3720116A (en) * 1971-03-23 1973-03-13 Bendix Corp Arrangement for preloading ball screw assemblies & method of manufacture of the ball screw nut therefor
DE3026158A1 (de) 1980-07-10 1982-02-04 Victor Göteborg Crail Vorrichtung zum schnellen verschieben und blockieren von einem oder mehreren beweglichen teilen
GB2088496B (en) * 1980-11-29 1985-05-15 Smith Bernard Locking mechanism for screws and shafts
US4413818A (en) 1981-08-24 1983-11-08 Kurt Manufacturing Company, Inc. Combination vise
US4591199A (en) * 1984-05-24 1986-05-27 Zaytran Inc. Device for gripping workpieces
US4934674A (en) * 1989-03-22 1990-06-19 Kurt Manufacturing Company, Inc. Two station, single action vise
DE3925718A1 (de) 1989-08-03 1991-02-07 Saurer Allma Gmbh Schraubstock zum zentrischen spannen
US5501118A (en) * 1994-12-05 1996-03-26 Thomson Saginaw Ball Screw Co., Inc. Ball nut and screw assembly with preload retaining ball return tube clamp
DE19717467C2 (de) * 1996-04-26 1999-03-04 Kohn Spannwerkzeuge Mechanisch Spannstock
DE19621754C2 (de) 1996-05-30 2000-10-12 Konrad Kreuzer Hochdruckspanner mit Kraftverstärker
AT3049U1 (de) * 1997-08-30 1999-09-27 Hico Himmel & Co Kg Vorrichtung zum zentrierten spannen von werkstücken oder dergleichen
DE29723435U1 (de) * 1997-08-30 1998-08-27 Hico Himmel & Co KG, 78727 Oberndorf Vorrichtung zum zentrierten Spannen von Werkstücken o.dgl.
US6017026A (en) * 1997-12-11 2000-01-25 Durfee, Jr.; David L. Machining vise
US6079704A (en) * 1998-09-08 2000-06-27 Buck; James R. Timing device for workholding apparatus
FR2792567B3 (fr) 1999-04-22 2001-06-08 Sagop Etau de serrage
DE202004009517U1 (de) * 2004-06-17 2004-10-14 Schunk GmbH & Co. KG Fabrik für Spann- und Greiftechnik Spanneinrichtung
DE102004040360A1 (de) 2004-08-20 2006-02-23 Ina-Schaeffler Kg Kugelgewindetrieb
ATE345194T1 (de) * 2005-06-15 2006-12-15 Hb Feinmechanik Gmbh & Co Kg Spanneinrichtung mit einem deckelement für ihre spindelausnehmung
DE102007027808B3 (de) * 2007-06-13 2008-08-14 Gressel Ag Spannvorrichtung
ES2336399B8 (es) 2007-07-25 2011-08-02 Fresmak, S.A. Mordaza.
CH699112A2 (de) * 2008-07-11 2010-01-15 Dieter Mosig Spannvorrichtung mit Mitteln zur Spülung.
US8256753B2 (en) * 2009-06-17 2012-09-04 Productivity Systems, Llc High-density fixture vise
CH707170B1 (de) * 2012-11-09 2016-03-31 Raphael Rogenmoser Vorrichtung zum zentrierten Spannen eines Gegenstands.
DE102012112755B4 (de) * 2012-12-20 2014-11-20 Gressel Ag Zentrisch-Spannvorrichtung

Patent Citations (1)

* Cited by examiner, † Cited by third party
Publication number Priority date Publication date Assignee Title
US20140131933A1 (en) 2012-11-15 2014-05-15 Chris Taylor Self-Centering Vise

Also Published As

Publication number Publication date
EP2977145B1 (de) 2017-05-10
US20160023329A1 (en) 2016-01-28
US9962812B2 (en) 2018-05-08
DE102014110352B3 (de) 2015-10-08
EP2977145A1 (de) 2016-01-27

Similar Documents

Publication Publication Date Title
EP2977145B2 (de) Zentrisch-spannvorrichtung
EP1946890B1 (de) Zentrierspanner
DE102007004057B3 (de) Zentrierspanner
EP3028812A1 (de) Spannvorrichtung
DE3718157A1 (de) Schraubstock
EP3685963B1 (de) Spannvorrichtung, insbesondere schraubstock
EP0901883B1 (de) Spannvorrichtung, insbesondere Maschinenschraubstock
DE4300344A1 (de)
DE19810771C1 (de) Basis-Profil für die Spanntechnik zu vermessender Werkstücke
DE1453213C3 (de)
DE3925642A1 (de) Werkzeugmaschine
EP0997655A1 (de) Linearführung
DE3841480C2 (de)
DE4317049A1 (de) Linearführung mit klemmbarem Führungselement
DE2705628C2 (de) Aufbau-Werkzeugmaschine
DE20009521U1 (de) Niederzug-Schnellspannvorrichtung
EP1245358A1 (de) Anschlagvorrichtung für eine Zugsäge, insbesondere eine Unterflurzugsäge
DE102015014664B3 (de) Aufnahmevorrichtung für eine mittig gelagerte Gewindespindel mit einem diese umfassenden Bund im Grundkörper eines Zentrierspanners
EP3159100B1 (de) Drehmaschine
DE4012468C2 (de)
DE19739418C2 (de) Einrichtung zum Spannen und Positionieren eines Maschinenschraubstockes auf den Maschinentisch einer Werkzeugmaschine, insbesondere einer Ständerbohrmaschine
EP1213095A2 (de) Spannwerkzeug
DE19941234A1 (de) Vorrichtung zum Einspannen von Werkstücken
EP2803446B1 (de) Spannvorrichtung
DE3333624C2 (de)

Legal Events

Date Code Title Description
PUAI Public reference made under article 153(3) epc to a published international application that has entered the european phase

Free format text: ORIGINAL CODE: 0009012

AK Designated contracting states

Kind code of ref document: A1

Designated state(s): AL AT BE BG CH CY CZ DE DK EE ES FI FR GB GR HR HU IE IS IT LI LT LU LV MC MK MT NL NO PL PT RO RS SE SI SK SM TR

AX Request for extension of the european patent

Extension state: BA ME

17P Request for examination filed

Effective date: 20160727

RBV Designated contracting states (corrected)

Designated state(s): AL AT BE BG CH CY CZ DE DK EE ES FI FR GB GR HR HU IE IS IT LI LT LU LV MC MK MT NL NO PL PT RO RS SE SI SK SM TR

GRAP Despatch of communication of intention to grant a patent

Free format text: ORIGINAL CODE: EPIDOSNIGR1

STAA Information on the status of an ep patent application or granted ep patent

Free format text: STATUS: GRANT OF PATENT IS INTENDED

INTG Intention to grant announced

Effective date: 20170110

GRAS Grant fee paid

Free format text: ORIGINAL CODE: EPIDOSNIGR3

GRAA (expected) grant

Free format text: ORIGINAL CODE: 0009210

STAA Information on the status of an ep patent application or granted ep patent

Free format text: STATUS: THE PATENT HAS BEEN GRANTED

AK Designated contracting states

Kind code of ref document: B1

Designated state(s): AL AT BE BG CH CY CZ DE DK EE ES FI FR GB GR HR HU IE IS IT LI LT LU LV MC MK MT NL NO PL PT RO RS SE SI SK SM TR

REG Reference to a national code

Ref country code: GB

Ref legal event code: FG4D

Free format text: NOT ENGLISH

REG Reference to a national code

Ref country code: AT

Ref legal event code: REF

Ref document number: 891799

Country of ref document: AT

Kind code of ref document: T

Effective date: 20170515

Ref country code: CH

Ref legal event code: NV

Representative=s name: LUCHS AND PARTNER PATENTANWAELTE, CH

Ref country code: CH

Ref legal event code: EP

REG Reference to a national code

Ref country code: IE

Ref legal event code: FG4D

Free format text: LANGUAGE OF EP DOCUMENT: GERMAN

REG Reference to a national code

Ref country code: DE

Ref legal event code: R096

Ref document number: 502015001025

Country of ref document: DE

REG Reference to a national code

Ref country code: FR

Ref legal event code: PLFP

Year of fee payment: 3

REG Reference to a national code

Ref country code: NL

Ref legal event code: FP

REG Reference to a national code

Ref country code: LT

Ref legal event code: MG4D

PG25 Lapsed in a contracting state [announced via postgrant information from national office to epo]

Ref country code: ES

Free format text: LAPSE BECAUSE OF FAILURE TO SUBMIT A TRANSLATION OF THE DESCRIPTION OR TO PAY THE FEE WITHIN THE PRESCRIBED TIME-LIMIT

Effective date: 20170510

Ref country code: NO

Free format text: LAPSE BECAUSE OF FAILURE TO SUBMIT A TRANSLATION OF THE DESCRIPTION OR TO PAY THE FEE WITHIN THE PRESCRIBED TIME-LIMIT

Effective date: 20170810

Ref country code: GR

Free format text: LAPSE BECAUSE OF FAILURE TO SUBMIT A TRANSLATION OF THE DESCRIPTION OR TO PAY THE FEE WITHIN THE PRESCRIBED TIME-LIMIT

Effective date: 20170811

Ref country code: LT

Free format text: LAPSE BECAUSE OF FAILURE TO SUBMIT A TRANSLATION OF THE DESCRIPTION OR TO PAY THE FEE WITHIN THE PRESCRIBED TIME-LIMIT

Effective date: 20170510

Ref country code: FI

Free format text: LAPSE BECAUSE OF FAILURE TO SUBMIT A TRANSLATION OF THE DESCRIPTION OR TO PAY THE FEE WITHIN THE PRESCRIBED TIME-LIMIT

Effective date: 20170510

Ref country code: HR

Free format text: LAPSE BECAUSE OF FAILURE TO SUBMIT A TRANSLATION OF THE DESCRIPTION OR TO PAY THE FEE WITHIN THE PRESCRIBED TIME-LIMIT

Effective date: 20170510

PG25 Lapsed in a contracting state [announced via postgrant information from national office to epo]

Ref country code: RS

Free format text: LAPSE BECAUSE OF FAILURE TO SUBMIT A TRANSLATION OF THE DESCRIPTION OR TO PAY THE FEE WITHIN THE PRESCRIBED TIME-LIMIT

Effective date: 20170510

Ref country code: BG

Free format text: LAPSE BECAUSE OF FAILURE TO SUBMIT A TRANSLATION OF THE DESCRIPTION OR TO PAY THE FEE WITHIN THE PRESCRIBED TIME-LIMIT

Effective date: 20170810

Ref country code: IS

Free format text: LAPSE BECAUSE OF FAILURE TO SUBMIT A TRANSLATION OF THE DESCRIPTION OR TO PAY THE FEE WITHIN THE PRESCRIBED TIME-LIMIT

Effective date: 20170910

Ref country code: PL

Free format text: LAPSE BECAUSE OF FAILURE TO SUBMIT A TRANSLATION OF THE DESCRIPTION OR TO PAY THE FEE WITHIN THE PRESCRIBED TIME-LIMIT

Effective date: 20170510

Ref country code: LV

Free format text: LAPSE BECAUSE OF FAILURE TO SUBMIT A TRANSLATION OF THE DESCRIPTION OR TO PAY THE FEE WITHIN THE PRESCRIBED TIME-LIMIT

Effective date: 20170510

Ref country code: SE

Free format text: LAPSE BECAUSE OF FAILURE TO SUBMIT A TRANSLATION OF THE DESCRIPTION OR TO PAY THE FEE WITHIN THE PRESCRIBED TIME-LIMIT

Effective date: 20170510

PG25 Lapsed in a contracting state [announced via postgrant information from national office to epo]

Ref country code: SK

Free format text: LAPSE BECAUSE OF FAILURE TO SUBMIT A TRANSLATION OF THE DESCRIPTION OR TO PAY THE FEE WITHIN THE PRESCRIBED TIME-LIMIT

Effective date: 20170510

Ref country code: CZ

Free format text: LAPSE BECAUSE OF FAILURE TO SUBMIT A TRANSLATION OF THE DESCRIPTION OR TO PAY THE FEE WITHIN THE PRESCRIBED TIME-LIMIT

Effective date: 20170510

Ref country code: RO

Free format text: LAPSE BECAUSE OF FAILURE TO SUBMIT A TRANSLATION OF THE DESCRIPTION OR TO PAY THE FEE WITHIN THE PRESCRIBED TIME-LIMIT

Effective date: 20170510

Ref country code: DK

Free format text: LAPSE BECAUSE OF FAILURE TO SUBMIT A TRANSLATION OF THE DESCRIPTION OR TO PAY THE FEE WITHIN THE PRESCRIBED TIME-LIMIT

Effective date: 20170510

Ref country code: EE

Free format text: LAPSE BECAUSE OF FAILURE TO SUBMIT A TRANSLATION OF THE DESCRIPTION OR TO PAY THE FEE WITHIN THE PRESCRIBED TIME-LIMIT

Effective date: 20170510

REG Reference to a national code

Ref country code: DE

Ref legal event code: R026

Ref document number: 502015001025

Country of ref document: DE

PLBI Opposition filed

Free format text: ORIGINAL CODE: 0009260

PLAX Notice of opposition and request to file observation + time limit sent

Free format text: ORIGINAL CODE: EPIDOSNOBS2

PG25 Lapsed in a contracting state [announced via postgrant information from national office to epo]

Ref country code: SM

Free format text: LAPSE BECAUSE OF FAILURE TO SUBMIT A TRANSLATION OF THE DESCRIPTION OR TO PAY THE FEE WITHIN THE PRESCRIBED TIME-LIMIT

Effective date: 20170510

26 Opposition filed

Opponent name: ENGINEERING DATA

Effective date: 20180212

REG Reference to a national code

Ref country code: IE

Ref legal event code: MM4A

PG25 Lapsed in a contracting state [announced via postgrant information from national office to epo]

Ref country code: IE

Free format text: LAPSE BECAUSE OF NON-PAYMENT OF DUE FEES

Effective date: 20170702

REG Reference to a national code

Ref country code: BE

Ref legal event code: MM

Effective date: 20170731

PG25 Lapsed in a contracting state [announced via postgrant information from national office to epo]

Ref country code: SI

Free format text: LAPSE BECAUSE OF FAILURE TO SUBMIT A TRANSLATION OF THE DESCRIPTION OR TO PAY THE FEE WITHIN THE PRESCRIBED TIME-LIMIT

Effective date: 20170510

PLBB Reply of patent proprietor to notice(s) of opposition received

Free format text: ORIGINAL CODE: EPIDOSNOBS3

PG25 Lapsed in a contracting state [announced via postgrant information from national office to epo]

Ref country code: LU

Free format text: LAPSE BECAUSE OF NON-PAYMENT OF DUE FEES

Effective date: 20170702

REG Reference to a national code

Ref country code: FR

Ref legal event code: PLFP

Year of fee payment: 4

PG25 Lapsed in a contracting state [announced via postgrant information from national office to epo]

Ref country code: BE

Free format text: LAPSE BECAUSE OF NON-PAYMENT OF DUE FEES

Effective date: 20170731

PG25 Lapsed in a contracting state [announced via postgrant information from national office to epo]

Ref country code: MT

Free format text: LAPSE BECAUSE OF FAILURE TO SUBMIT A TRANSLATION OF THE DESCRIPTION OR TO PAY THE FEE WITHIN THE PRESCRIBED TIME-LIMIT

Effective date: 20170510

PG25 Lapsed in a contracting state [announced via postgrant information from national office to epo]

Ref country code: HU

Free format text: LAPSE BECAUSE OF FAILURE TO SUBMIT A TRANSLATION OF THE DESCRIPTION OR TO PAY THE FEE WITHIN THE PRESCRIBED TIME-LIMIT; INVALID AB INITIO

Effective date: 20150702

Ref country code: MC

Free format text: LAPSE BECAUSE OF FAILURE TO SUBMIT A TRANSLATION OF THE DESCRIPTION OR TO PAY THE FEE WITHIN THE PRESCRIBED TIME-LIMIT

Effective date: 20170510

PG25 Lapsed in a contracting state [announced via postgrant information from national office to epo]

Ref country code: CY

Free format text: LAPSE BECAUSE OF FAILURE TO SUBMIT A TRANSLATION OF THE DESCRIPTION OR TO PAY THE FEE WITHIN THE PRESCRIBED TIME-LIMIT

Effective date: 20170510

PG25 Lapsed in a contracting state [announced via postgrant information from national office to epo]

Ref country code: MK

Free format text: LAPSE BECAUSE OF FAILURE TO SUBMIT A TRANSLATION OF THE DESCRIPTION OR TO PAY THE FEE WITHIN THE PRESCRIBED TIME-LIMIT

Effective date: 20170510

APAH Appeal reference modified

Free format text: ORIGINAL CODE: EPIDOSCREFNO

APBM Appeal reference recorded

Free format text: ORIGINAL CODE: EPIDOSNREFNO

APBP Date of receipt of notice of appeal recorded

Free format text: ORIGINAL CODE: EPIDOSNNOA2O

APBQ Date of receipt of statement of grounds of appeal recorded

Free format text: ORIGINAL CODE: EPIDOSNNOA3O

PG25 Lapsed in a contracting state [announced via postgrant information from national office to epo]

Ref country code: TR

Free format text: LAPSE BECAUSE OF FAILURE TO SUBMIT A TRANSLATION OF THE DESCRIPTION OR TO PAY THE FEE WITHIN THE PRESCRIBED TIME-LIMIT

Effective date: 20170510

PG25 Lapsed in a contracting state [announced via postgrant information from national office to epo]

Ref country code: PT

Free format text: LAPSE BECAUSE OF FAILURE TO SUBMIT A TRANSLATION OF THE DESCRIPTION OR TO PAY THE FEE WITHIN THE PRESCRIBED TIME-LIMIT

Effective date: 20170510

PG25 Lapsed in a contracting state [announced via postgrant information from national office to epo]

Ref country code: AL

Free format text: LAPSE BECAUSE OF FAILURE TO SUBMIT A TRANSLATION OF THE DESCRIPTION OR TO PAY THE FEE WITHIN THE PRESCRIBED TIME-LIMIT

Effective date: 20170510

REG Reference to a national code

Ref country code: AT

Ref legal event code: MM01

Ref document number: 891799

Country of ref document: AT

Kind code of ref document: T

Effective date: 20200702

PG25 Lapsed in a contracting state [announced via postgrant information from national office to epo]

Ref country code: AT

Free format text: LAPSE BECAUSE OF NON-PAYMENT OF DUE FEES

Effective date: 20200702

APBU Appeal procedure closed

Free format text: ORIGINAL CODE: EPIDOSNNOA9O

PUAH Patent maintained in amended form

Free format text: ORIGINAL CODE: 0009272

STAA Information on the status of an ep patent application or granted ep patent

Free format text: STATUS: PATENT MAINTAINED AS AMENDED

27A Patent maintained in amended form

Effective date: 20221026

AK Designated contracting states

Kind code of ref document: B2

Designated state(s): AL AT BE BG CH CY CZ DE DK EE ES FI FR GB GR HR HU IE IS IT LI LT LU LV MC MK MT NL NO PL PT RO RS SE SI SK SM TR

REG Reference to a national code

Ref country code: DE

Ref legal event code: R102

Ref document number: 502015001025

Country of ref document: DE

REG Reference to a national code

Ref country code: NL

Ref legal event code: FP

PGFP Annual fee paid to national office [announced via postgrant information from national office to epo]

Ref country code: NL

Payment date: 20250723

Year of fee payment: 11

PGFP Annual fee paid to national office [announced via postgrant information from national office to epo]

Ref country code: DE

Payment date: 20250807

Year of fee payment: 11

PGFP Annual fee paid to national office [announced via postgrant information from national office to epo]

Ref country code: IT

Payment date: 20250731

Year of fee payment: 11

PGFP Annual fee paid to national office [announced via postgrant information from national office to epo]

Ref country code: GB

Payment date: 20250724

Year of fee payment: 11

PGFP Annual fee paid to national office [announced via postgrant information from national office to epo]

Ref country code: FR

Payment date: 20250723

Year of fee payment: 11

PGFP Annual fee paid to national office [announced via postgrant information from national office to epo]

Ref country code: CH

Payment date: 20250801

Year of fee payment: 11