EP2871981B1 - Vorrichtung zum stopfen von zigarettenhülsen - Google Patents
Vorrichtung zum stopfen von zigarettenhülsen Download PDFInfo
- Publication number
- EP2871981B1 EP2871981B1 EP13734434.7A EP13734434A EP2871981B1 EP 2871981 B1 EP2871981 B1 EP 2871981B1 EP 13734434 A EP13734434 A EP 13734434A EP 2871981 B1 EP2871981 B1 EP 2871981B1
- Authority
- EP
- European Patent Office
- Prior art keywords
- tobacco
- length
- stop
- slide
- chamber
- Prior art date
- Legal status (The legal status is an assumption and is not a legal conclusion. Google has not performed a legal analysis and makes no representation as to the accuracy of the status listed.)
- Active
Links
Images
Classifications
-
- A—HUMAN NECESSITIES
- A24—TOBACCO; CIGARS; CIGARETTES; SIMULATED SMOKING DEVICES; SMOKERS' REQUISITES
- A24C—MACHINES FOR MAKING CIGARS OR CIGARETTES
- A24C5/00—Making cigarettes; Making tipping materials for, or attaching filters or mouthpieces to, cigars or cigarettes
- A24C5/40—Hand-driven apparatus for making cigarettes
- A24C5/42—Pocket cigarette-fillers
- A24C5/425—Pocket cigarette-fillers for obtaining cigarettes of various lengths
-
- A—HUMAN NECESSITIES
- A24—TOBACCO; CIGARS; CIGARETTES; SIMULATED SMOKING DEVICES; SMOKERS' REQUISITES
- A24C—MACHINES FOR MAKING CIGARS OR CIGARETTES
- A24C5/00—Making cigarettes; Making tipping materials for, or attaching filters or mouthpieces to, cigars or cigarettes
- A24C5/40—Hand-driven apparatus for making cigarettes
- A24C5/42—Pocket cigarette-fillers
Definitions
- the invention relates to a device for stuffing prefabricated cigarette tubes, with a housing, a tobacco chamber, a tobacco associated therewith, a movable pressing bar for forming tobacco inserted into the tobacco chamber into a strand, a tobacco support associated abutment for one end of the tobacco rod, and a for filling the cigarette tubes with the tobacco rod relative to the housing displaceable slider.
- Such a device is known from DE 41 10 830 C1 known.
- the abutment is designed as an adjustable longitudinal direction of the tobacco part, provided according to the number of cigarette tubes of different length to be stuffed at least two predetermined locking positions are.
- Another generic device is from the DE 20 2008 012 816 U1 known.
- the tobacco support is displaceable relative to the abutment displaced by a distance in the direction of movement of the slider, which corresponds approximately to the length difference of the different Greraum lengths.
- a distance in the direction of movement of the slider corresponds approximately to the length difference of the different Greraum lengths.
- displaceable in the direction of movement of the slider arrangement of the tobacco support this moves automatically into a position corresponding to the available length of the tobacco when acting in the displacement direction, a force exceeding the adhesion of the tobacco support in the housing. This is the case regularly when the end of the tobacco support facing away from the abutment comes into contact with the filter of a filter sleeve.
- the pressing beam has a fixed part and a pressing member that optionally complements the movable part.
- an insert which can be inserted into the tobacco chamber, optionally on the abutment-side end, is provided. This is so dimensioned that it not only adapts the length of the tobacco chamber to the filling space length of the cigarette tube in the state inserted into the tobacco chamber, but the insert also forms a stop for the wall of the slider carrying a sleeve for holding the cigarette tube, so that Also, the maximum displacement is adapted to the respective filling space length of the cigarette tube.
- Another device for stuffing pre-made cigarette tubes comprises a housing and a slide displaceable relative to the housing for filling the cigarette tubes with the tobacco rod.
- the housing has a stop in association with the ejection slide of the shape that the ejection slide can be moved back far different to the filling of a tobacco press chamber with tobacco.
- the invention is therefore based on the object to provide an improved device for stuffing prefabricated cigarette tubes.
- a selectively attachable to the slider, provided in the attached state, the displacement path relative to the housing by a certain length shortening stop By attaching the stop, the displacement path is shortened by about a length by which the length of the filling space of a first cigarette tube differs from the longer filling space of another cigarette tube.
- the cigarette tube having the shorter filling space length may be a sleeve having a prolonged and / or filter portion supplemented by an activated carbon region so as to reduce the pollutant content inhaled when smoking a cigarette comprising a prefabricated filter sleeve.
- the stop on the slide is optionally attachable, it can be easily assemble or disassemble, because the slide is in contrast, for example, easily accessible to the tobacco receiving chamber and offers a relative to the tobacco receiving chamber considerably larger mounting space, so that the stop considerably larger and thus easier operable as an insertable example, in the tobacco receiving chamber stop can be formed.
- the abutment is then designed such that it protrudes when attached stop by the same length in the tobacco chamber. In this way it is achieved that the length of the tobacco receiving chamber is adapted in a corresponding manner to the filling space length of the cigarette tube with the shorter filling space as the displacement path.
- a spout with a free, preferably bevelled end is provided at an end portion of the slider, the outer diameter approximately the inner diameter of a cigarette tube corresponds.
- it is first pushed onto the spout, preferably by pressing down a cover provided on the slide, on which the pressing beam is provided, held stationary to the spout and finally pulled over by relocating the slider over the tobacco support, whereby the tobacco rod located thereon is displaced into the filling space of the cigarette paper tube.
- the stop is formed in a particularly preferred embodiment of the device according to the invention as a separate component of an effective length, which is selectively attachable to a remote from the spout wall of the slider.
- This separate component can for example be attached to a sales unit for the device according to the invention and be mounted by the user latter in the simplest manner, he would like to fill with the device cigarette tubes with shorter Greraum-length.
- the device according to the invention makes it suitable in a particularly simple manner for filling three different cigarette tubes which differ in their filling space lengths, in that the sales unit has two optionally mountable stops which differ in their length. be attached. Accordingly, a suitability for filling four different cigarette tubes by adding three different stops, for five different cigarette tubes by four stops, etc. possible.
- the abutment is - particularly preferably - formed by a provided in the tobacco receiving space insert whose length corresponds at least to the effective length of the longest stop provided.
- effective length is meant the length by which the displacement travel of the slider is shortened by activating the longest stop.
- the insert In order to shorten the displacement path, the insert, the cross-section of which preferably corresponds to the cross-section of a tobacco rod produced with the device, projects into the tobacco receiving chamber when the slider is in its end position limited by the stop, in which the tobacco receiving chamber with tobacco is in use is filled.
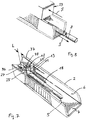
- the exemplary embodiment of a device according to the invention denoted by 100 in the drawing as a whole comprises a housing 1 with a base part 2, in which side recessed grips 3, 4 are incorporated.
- the base part is made of plastic.
- a slider 8 is guided in a straight line in the direction of movement S between the inner side walls 5, 6 and the bottom wall 7 thereof.
- the slider 8 on both sides of projections 9, which engage in complementary grooves 10 in the side walls 5, 6.
- a spout 11 is provided on the slide 8, whose outer diameter is adapted to the inner diameter of a prefabricated cigarette tube Z, that it can be pushed onto the spout 11 without much game.
- the free end of the spout 11 is laterally bevelled.
- the grommet 11 is integrally formed on its side inclined to the free end end portion of a retaining plate 12. To attach the spout 11 to the slide 13 grooves 14 are incorporated in the front wall, in which the holding plate 12 with its lateral edges from above can be inserted.
- a cover 15 is hinged to the slide 8 about a horizontal, perpendicular to the direction of movement S axis X a lid.
- the slider has an elongated recess 16 in the direction of movement S, which forms a tobacco chamber 17 and extends completely through the slider 8 in the vertical direction V.
- the bottom of the tobacco chamber 17 forms a trough-shaped tobacco support 18, which abuts the side almost of the side walls of the recess 16 and the lateral edges of longitudinal projections 19 of the tobacco chamber 17 covers so as to avoid tobacco getting between the lateral edges of the tobacco pad and the walls of the recess 16.
- the tobacco support 18 is made of a dimensionally stable material, such as metal and secured in the rear, protruding from the tobacco chamber 17 area on a arranged on the bottom wall 7 base on the base. Between the underside of the tobacco support 18 and the bottom wall 7 there is sufficient clearance that the tobacco support 18 when moving the slider 8 can penetrate unhindered through the spout 10 back (as in particular Fig. 7 shows).
- a pressing beam 21 is formed, the downwardly facing side 22 of which is in the closed state approximately hollow with the same radius as the tobacco support 18.
- the pressing beam 21 is further positioned so that it coincides with the side walls of the recess 16 under the tobacco support 18 in the closed state upwards such that the tobacco chamber has an approximately circular shape in cross section.
- a handle 23 which can be displaced towards the rear against an elastic force is attached to the lid 15. It has two extensions 24 which engage in against the elastic force to the rear displaced state of the handle in complementary recesses 25 of the slider 8. By the engagement of the extensions 24 in the recesses 25, the lid is locked against folding about the axis X.
- the tobacco chamber 17 is loosely filled with tobacco when the lid 15 is open. Subsequently, the open end of a prefabricated cigarette tube Z is pushed onto the spout 11 and the lid 15 is closed by pivoting about the axis X.
- the cigarette tube Z is held in position on the spout 11 by a pressing block 26 provided on the front portion of the lid 15 pushing the sleeve material against the spout 11 over part of the circumference. In the closed position of the lid 15, this is by actuation of the handle 23 and engagement the extensions 24 locked in the recesses 25.
- the lid 15 is displaced together with the slider 8 to the rear, wherein the cigarette tube Z pulled over the tobacco pad 18 and the tobacco held by a rear end of the tobacco chamber 18 forming abutment 27 and thus the cigarette tube Z over the located in the tobacco chamber 17 Tobacco rod is pulled.
- a stop 29 is provided, which is optionally on a wall 28, the wall 13, which carries the spout 11, opposite, mountable (see in particular FIGS. 5 and 6 ).
- the stop 29 can be pushed from the open bottom of the slide 8 on the wall 28.
- the stop in cross-section is approximately like a flattened in the vertical direction " ⁇ " formed.
- Between its foot 31 and its head 32 are located facing each other from slots 33 whose width is slightly smaller than the thickness of the wall 28 is formed.
- a recess 34 is incorporated centrally, which is slightly wider than the width of the bridge 35, which connects the foot 31 with the head 32 is.
- the stop 29 In its mounted position ( Fig. 5 ), the stop 29 is held by a clamping fit due to the engagement of the wall 28 in the slots 33 on both sides of the recess 34.
- the projection 29 reduces the maximum displacement path of the slider 8 in the displacement direction S relative to the base part 2 by the effective length D, which corresponds to the distance between the top of the foot 31 and the head 33.
- the abutment 27 has a length L, which corresponds to the effective length D of the stopper 29 (see Fig. 6 and 7 ).
- the abutment 27 through an insert 36, for example made of plastic, whose cross section corresponds approximately to the cross section of the tobacco rod to be introduced into the sleeve.
- the insert 36 is positioned relative to the rear wall 37 of the base member 2 such that the abutment surface 38 facing the grommet 11 is aligned with the front-side rear wall 39 in the recess 16 when the abutment 29 is not mounted and the slider is in its forward extreme position.
- the abutment surface 38 protrudes accordingly into the recess 16 by the effective length D of the abutment and correspondingly shortens the tobacco chamber 17.
Landscapes
- Packaging Of Annular Or Rod-Shaped Articles, Wearing Apparel, Cassettes, Or The Like (AREA)
- Paper (AREA)
- Wrapping Of Specific Fragile Articles (AREA)
Description
- Die Erfindung betrifft eine Vorrichtung zum Stopfen vorgefertigter Zigarettenhülsen, mit einem Gehäuse, einer Tabakkammer, einer dieser zugeordneten Tabakauflage, einem bewegbaren Pressbalken zum Formen des in die Tabakkammer eingelegten Tabaks zu einem Strang, einem der Tabakauflage zugeordneten Widerlager für ein Ende des Tabakstranges, und einem zum Füllen der Zigarettenhülsen mit dem Tabakstrang relativ zum Gehäuse verlagerbaren Schieber.
- Eine derartige Vorrichtung ist aus der
DE 41 10 830 C1 bekannt. - Um bei dieser Vorrichtung die Länge der Tabakkammer an unterschiedliche Füllraum-Längen von Zigarettenhülsen anpassen zu können, ist das Widerlager als ein in Längsrichtung der Tabakauflage verstellbarer Teil ausgebildet, für den entsprechend der Anzahl der zu stopfenden Zigarettenhülsen unterschiedlicher Länge zumindest zwei vorgegebene Rast-Positionen vorgesehen sind.
- Eine weitere, gattungsgemäße Vorrichtung ist aus der
DE 20 2008 012 816 U1 bekannt. - Bei dieser ist die Tabakauflage relativ zum Widerlager um eine Strecke in Bewegungsrichtung des Schiebers verlagerbar gelagert, die etwa der Längendifferenz der unterschiedlichen Füllraum-Längen entspricht. Hierdurch ist es nicht mehr erforderlich, das Widerlager verstellbar und in bestimmten Positionen verrastbar auszugestalten. Durch die in Bewegungsrichtung des Schiebers verlagerbare Anordnung der Tabakauflage verschiebt sich diese selbsttätig in eine Position, die der für den Tabak zur Verfügung stehenden Länge entspricht, wenn in Verlagerungsrichtung eine Kraft wirkt, die den Kraftschluss der Tabakauflage in dem Gehäuse übersteigt. Dies ist regelmäßig der Fall, wenn das dem Widerlager abgewandte Ende der Tabakauflage mit dem Filter einer Filterhülse in Berührung kommt.
- Um bei dieser Ausführungsform die Länge des Pressbalkens an die Füllraum-Länge der jeweils verwendeten Zigarettenhülse anpassen zu können, weist der Pressbalken einen feststehenden Teil und einen den Pressbalken wahlweise ergänzenden beweglichen Teil auf.
- Eine weitere, gattungsgemäße Vorrichtung offenbart die
US 2004/0200485 A1 . - Zur Anpassung der Länge der Tabakkammer an unterschiedliche Füllraum-Längen von Zigarettenhülsen ist ein wahlweise am widerlagerseitigen Ende in die Tabakkammer einsetzbarer Einsatz vorgesehen. Dieser ist so bemessen, dass er im in die Tabakkammer eingesetzten Zustand nicht nur die Länge der Tabakkammer an die Füllraum-Länge der Zigarettenhülse anpasst, sondern der Einsatz auch einen Anschlag für die eine Tülle zum Halten der Zigarettenhülse tragende Wand des Schiebers bildet, so dass auch der maximale Verschiebeweg an die jeweilige Füllraum-Länge der Zigarettenhülse angepasst ist.
- Aus der
ist eine weitere Vorrichtung zum Stopfen vorgefertigter Zigarettenhülsen bekannt. Sie umfasst ein Gehäuse und einen zum Füllen der Zigarettenhülsen mit dem Tabakstrang relativ zum Gehäuse verlagerbaren Schieber. Das Gehäuse weist einen Anschlag in Zuordnung zum Ausstoßschieber der Gestalt auf, dass der Ausstoßschieber unterschiedlich weit zur Befüllung einer Tabakpresskammer mit Tabak zurückbewegt werden kann.WO 97/20476 A1 - Nachteilig ist bei diesen vorbekannten Vorrichtungen, dass sie aufwändig herzustellen und/oder nur schwierig an unterschiedliche Füllraum-Längen von Zigarettenhülsen anpassbar sind.
- Der Erfindung liegt daher die Aufgabe zugrunde, eine verbesserte Vorrichtung zum Stopfen vorgefertigter Zigarettenhülsen zu schaffen.
- Bei der erfindungsgemäßen Vorrichtung ist ein an dem Schieber wahlweise anbringbarer, im angebrachten Zustand den Verlagerungsweg relativ zum Gehäuse um eine bestimmte Länge verkürzender Anschlag vorgesehen. Durch Anbringen des Anschlags wird der Verlagerungsweg etwa um eine Länge verkürzt, um die sich die Länge des Füllraumes einer ersten Zigarettenhülse von dem längeren Füllraum einer anderen Zigarettenhülse unterscheidet. Insbesondere kann es sich bei der Zigarettenhülse mit der kürzeren Füllraum-Länge um eine Hülse mit einem verlängerten und/oder durch einen Aktivkohlebereich ergänzten Filterteil handeln, um so den beim Rauchen einer eine vorgefertigte Filterhülse umfassenden Zigarette eingeatmeten Schadstoffgehalt zu reduzieren.
- Dadurch, dass der Anschlag an dem Schieber wahlweise anbringbar ist, lässt er sich leicht montieren oder demontieren, da der Schieber im Gegensatz beispielsweise zur Tabakaufnahmekammer leicht zugänglich ist und einen gegenüber der Tabakaufnahmekammer erheblich größeren Montageraum bietet, so dass der Anschlag erheblich größer und somit leichter bedienbar als ein beispielsweise in die Tabakaufnahmekammer einbringbarer Anschlag ausgebildet sein kann.
- Das Widerlager ist dann derart ausgebildet, dass es bei angebrachtem Anschlag um dieselbe Länge in die Tabakkammer hineinragt. Auf diese Weise wird erzielt, dass die Länge der Tabakaufnahmekammer in entsprechender Weise an die Füllraum-Länge der Zigarettenhülse mit dem kürzeren Füllraum wie der Verlagerungsweg angepasst ist.
- Vorzugsweise ist an einem Endbereich des Schiebers eine Tülle mit einem freien, vorzugsweise abgeschrägten Ende vorgesehen, der Außendurchmesser etwa dem Innendurchmesser einer Zigarettenhülse entspricht. Zum Befüllen der Hülse wird diese zunächst auf die Tülle aufgeschoben, vorzugsweise durch herabdrücken eines an dem Schieber vorgesehenen Deckels, an welchem der Pressbalken vorgesehen ist, ortsfest zur Tülle gehalten und schließlich durch Zurückverlagern des Schiebers über die Tabakauflage herübergezogen, wodurch der auf dieser befindliche Tabakstrang in den Füllraum der Zigarettenpapierhülse verlagert wird.
- Der Anschlag ist bei einer besonders bevorzugten Ausführungsform der erfindungsgemäßen Vorrichtung als separates Bauteil einer wirksamen Länge ausgebildet, welches wahlweise an einer von der Tülle entfernten Wandung des Schiebers befestigbar ist. Dieses separate Bauteil kann beispielsweise einer Verkaufseinheit für die erfindungsgemäße Vorrichtung beigefügt sein und von dem Benutzer letzterer auf einfachste Weise montiert werden, sollte er mit der Vorrichtung Zigarettenhülsen mit kürzerer Füllraum-Länge füllen wollen.
- Insbesondere ist es mit der erfindungsgemäßen Vorrichtung auch möglich, diese auf besonders einfache Weise zur Füllung von drei verschiedenen Zigarettenhülsen, die sich in ihren Füllraum-Längen unterscheiden, geeignet zu machen, indem der Verkaufseinheit zwei wahlweise montierbare Anschläge, die sich in ihrer Länge unterscheiden, beigefügt werden. Dementsprechend ist auch eine Eignung zur Füllung von vier verschiedenen Zigarettenhülsen durch Beifügen von drei unterschiedlichen Anschlägen, für fünf verschiedene Zigarettenhülsen durch vier Anschläge usw. möglich.
- Das Widerlager ist - besonders bevorzugt - von einem in dem Tabakaufnahmeraum vorgesehenen Einsatz gebildet, dessen Länge zumindest der wirksamen Länge des längsten vorgesehenen Anschlags entspricht. Unter "wirksamer Länge" ist die Länge zu verstehen, um welche der Verlagerungsweg des Schiebers durch Aktivieren bzw. Anbringen des längsten Anschlags verkürzt wird. Um die Verkürzung des Verlagerungswegs ragt dann der Einsatz, dessen Querschnitt vorzugsweise dem Querschnitt eines mit der Vorrichtung produzierten Tabakstrangs entspricht, in die Tabakaufnahmekammer hinein, wenn der Schieber sich in seiner durch den Anschlag begrenzten Endposition, in welcher bei Benutzung der Vorrichtung die Tabakaufnahmekammer mit Tabak befüllt wird, befindet.
- In den Zeichnungen ist ein Ausführungsbeispiel einer erfindungsgemäßen Vorrichtung zum Stopfen vorgefertigter Zigarettenhülsen dargestellt. Es zeigen:
- Fig. 1
- eine perspektivische Ansicht dieses Ausführungsbeispiels von schräg oben bei geschlossenem Deckel und montiertem Anschlag, d. h. zur Befüllung von Zigarettenhülsen mit verkürzten Füllraum-Längen, wobei verdeckte Linien teilweise gestrichelt dargestellt sind;
- Fig. 2
- dasselbe Ausführungsbeispiel wie in
Fig. 1 in derselben Perspektive, jedoch mit geöffnetem Deckel und nicht eingesetztem Anschlag, d. h. zur Befüllung von Zigarettenhülsen mit größeren Füllraum-Längen, wobei eine auf die Tülle aufgeschobene Zigarettenhülse gestrichelt angedeutet ist; - Fig. 3
- dasselbe Ausführungsbeispiel der erfindungsgemäßen Vorrichtung in einer perspektivischen Ansicht von schräg hinten (Ansicht III in
Fig. 1 ); - Fig. 4
- das in
Fig. 3 dargestellte Ausführungsbeispiel in einer Ansicht von unten; - Fig. 5
- die Einzelheit IV in
Fig. 4 in einer vergrößerten Einzeldarstellung; - Fig. 6
- dieselbe Ansicht wie in
Fig. 5 , jedoch mit abgenommenem Anschlag; - Fig. 7
- eine Ansicht gemäß
Fig. 1 jedoch mit vollständig geöffnetem Deckel und nahezu vollständig zurückverlagertem Schieber sowie - Fig. 8
- eine perspektivische Teildarstellung mit angedeuteter Zigarettenhülse während des Befüllvorgangs letzterer.
- Das in der Zeichnung als Ganzes mit 100 bezeichnete Ausführungsbeispiel einer erfindungsgemäßen Vorrichtung umfasst ein Gehäuse 1 mit einem Basisteil 2, in das seitliche Griffmulden 3, 4 eingearbeitet sind.
- Das Basisteil ist aus Kunststoff hergestellt.
- In dem Basisteil 2 des Gehäuses 1 ist zwischen dessen inneren Seitenwänden 5, 6 und dessen Bodenwand 7 ein Schieber 8 in Bewegungsrichtung S geradlinig geführt. Zur Fixierung des Schiebers 8 senkrecht zur Bodenwand 7 umfasst der Schieber 8 beidseitig Vorsprünge 9, die in komplementäre Nuten 10 in den Seitenwänden 5, 6 eingreifen.
- An dem in
Fig. 1 rechts dargestellten, im weiteren mit vorderen bezeichneten Ende ist an dem Schieber 8 eine Tülle 11 vorgesehen, deren Außendurchmesser derart an den Innendurchmesser einer vorgefertigten Zigarettenhülse Z angepasst ist, dass diese ohne großes Spiel auf die Tülle 11 aufgeschoben werden kann. Zur Erleichterung des Aufschiebevorganges ist das freie Ende der Tülle 11 seitlich abgeschrägt. - Die Tülle 11 ist an ihrem dem seitlich abgeschrägten freien Ende gegenüberliegenden Endbereich an einer Halteplatte 12 angeformt. Zur Befestigung der Tülle 11 an dem Schieber sind an dessen vorderer Wandung 13 Nuten 14 eingearbeitet, in welche die Halteplatte 12 mit ihren seitlichen Rändern von oben einschiebbar ist.
- An dem hinteren, in
Fig. 1 und 2 links dargestellten Ende des Gehäuses 1 ist um eine horizontale, senkrecht zur Bewegungsrichtung S verlaufende Achse X ein Deckel 15 verschwenkbar an dem Schieber 8 angelenkt. - Der Schieber weist eine in Bewegungsrichtung S lang gestreckte Ausnehmung 16 auf, die eine Tabakkammer 17 bildet und sich in senkrechter Richtung V vollständig durch den Schieber 8 hindurcherstreckt.
- Den Boden der Tabakkammer 17 bildet eine muldenförmig ausgebildete Tabakauflage 18, die seitlich nahezu an den Seitenwänden der Ausnehmung 16 anliegt und deren seitliche Ränder von Längsvorsprüngen 19 der Tabakkammer 17 überdeckt werden, um so zu vermeiden, dass Tabak zwischen die seitlichen Ränder der Tabakauflage und den Wänden der Ausnehmung 16 gelangt.
- Die Tabakauflage 18 ist aus einen formsteifen Material, beispielsweise Metall hergestellt und im hinteren, aus der Tabakkammer 17 herausragenden Bereich auf einem an der Bodenwand 7 angeordneten Sockel an der Basis befestigt. Zwischen der Unterseite der Tabakauflage 18 und der Bodenwand 7 existiert ausreichend Spiel, dass die Tabakauflage 18 beim Verschieben des Schiebers 8 nach hinten ungehindert durch die Tülle 10 hindurchdringen kann (wie insbesondere
Fig. 7 zeigt). - An der im geschlossenen Zustand des Deckels 15 unteren Seite 20 ist ein Pressbalken 21 angeformt, dessen im geschlossenen Zustand nach unten weisende Seite 22 etwa mit demselben Radius hohl ausgebildet ist wie die Tabakauflage 18. Der Pressbalken 21 ist ferner so positioniert, dass er zusammen mit den Seitenwänden der Ausnehmung 16 unter der Tabakauflage 18 im geschlossenen Zustand nach oben derart abschließt, dass die Tabakkammer im Querschnitt eine etwa kreisrunde Form aufweist.
- An dem im geschlossenen Zustand des Deckels vorderen Endbereich ist eine gegen eine elastische Kraft nach hinten verlagerbare Handhabe 23 an dem Deckel 15 angebracht. Sie weist zwei Fortsätze 24 auf, die im gegen die elastische Kraft nach hinten verlagerten Zustand der Handhabe in komplementäre Ausnehmungen 25 des Schiebers 8 einrücken. Durch den Eingriff der Fortsätze 24 in die Ausnehmungen 25 ist der Deckel gegen ein Aufklappen um die Achse X arretiert.
- Zum Stopfen einer vorgefertigten Zigarettenhülse Z mit Tabak wird bei geöffnetem Deckel 15 die Tabakkammer 17 locker mit Tabak gefüllt. Anschließend wird auf die Tülle 11 das offene Ende einer vorgefertigten Zigarettenhülse Z aufgeschoben und der Deckel 15 durch Verschwenken um die Achse X geschlossen. Die Zigarettenhülse Z wird in ihrer Position auf der Tülle 11 gehalten, indem ein am vorderen Bereich des Deckels 15 vorgesehener Anpressblock 26 das Hülsenmaterial über einen Teil des Umfangs gegen die Tülle 11 drückt. In der geschlossenen Position des Deckels 15 wird dieser durch Betätigung der Handhabe 23 und Einrücken der Fortsätze 24 in die Ausnehmungen 25 arretiert. Anschließend wird der Deckel 15 zusammen mit dem Schieber 8 nach hinten verlagert, wobei die Zigarettenhülse Z über die Tabakauflage 18 gezogen und der Tabak durch ein das hintere Ende der Tabakkammer 18 bildendes Widerlager 27 gehalten und somit die Zigarettenhülse Z über den in der Tabakkammer 17 befindlichen Tabakstrang gezogen wird.
- Um mit der Vorrichtung auch Zigarettenhülsen Z mit unterschiedlichen Füllraum-längen befüllen zu können, kann der maximale Verlagerungsweg des Schiebers 8 relativ zum Basisteil 2 des Gehäuses 1 verändert werden. Hierzu ist ein Anschlag 29 vorgesehen, der wahlweise an einer Wandung 28, die der Wandung 13, welche die Tülle 11 trägt, gegenüberliegt, montierbar ist (siehe insbesondere
Fig. 5 und 6 ). - Der Anschlag 29 kann von der offenen Unterseite des Schiebers 8 auf die Wandung 28 aufgeschoben werden. Hierzu ist der Anschlag im Querschnitt etwa wie ein in vertikaler Richtung flachgedrücktes "Ω" ausgebildet. Zwischen dessen Fuß 31 und dessen Kopf 32 finden sich voneinander fortweisende Schlitze 33, deren Breite geringfügig kleiner als die Dicke der Wandung 28 ausgebildet ist. In die Wandung 28 ist mittig eine Ausnehmung 34 eingearbeitet, die geringfügig breiter als die Breite der Brücke 35, welche den Fuß 31 mit dem Kopf 32 verbindet, ist. In seiner montierten Position (
Fig. 5 ) wird der Anschlag 29 durch einen Klemmsitz aufgrund des Eingriffs der Wandung 28 in die Schlitze 33 beidseits der Ausnehmung 34 gehalten. - Im montieren Zustand reduziert der Ansatz 29 den maximalen Verlagerungsweg des Schiebers 8 in Verschiebungsrichtung S relativ zum Basisteil 2 um die wirksame Länge D, die dem Abstand zwischen der Oberseite des Fußes 31 und des Kopfes 33 entspricht.
- Damit die Länge der Tabakkammer 17 in dem entsprechenden Maße verkürzt wird, weist das Widerlager 27 eine Länge L auf, die der wirksamen Länge D des Anschlags 29 entspricht (siehe
Fig. 6 und7 ). Hierzu ist das Widerlager 27 durch einen Einsatz 36 beispielsweise aus Kunststoff gebildet, dessen Querschnitt etwa dem Querschnitt des in die Hülse einzubringenden Tabakstranges entspricht. - Der Einsatz 36 ist relativ zur Rückwand 37 des Basisteils 2 derart positioniert, dass die der Tülle 11 zugewandte Widerlagerfläche 38 mit der stirnseitigen Rückwand 39 in der Ausnehmung 16 fluchtet, wenn der Anschlag 29 nicht montiert ist und sich der Schieber in seiner vorderen Extremstellung befindet.
- Ist der Anschlag 29 montiert, so ragt die Widerlagerfläche 38 dementsprechend um die wirksame Länge D des Anschlags in die Ausnehmung 16 hinein und verkürzt dementsprechend die Tabakkammer 17.
-
- 100
- Vorrichtung
- 1
- Gehäuse
- 2
- Basisteil
- 3, 4
- Griffmulden
- 5, 6
- innere Seitenwänden
- 7
- Bodenwand
- 8
- Schieber
- 9
- Vorsprünge
- 10
- Nuten
- 11
- Tülle
- 12
- Halteplatte
- 13
- Wandung
- 14
- Nuten
- 15
- Deckel
- 16
- Ausnehmung
- 17
- Tabakkammer
- 18
- Tabakauflage
- 19
- Längsvorsprünge
- 20
- untere Seite
- 21
- Pressbalken
- 22
- Seite
- 23
- Handhabe
- 24
- Fortsätze
- 25
- Ausnehmungen
- 26
- Anpressblock
- 27
- Widerlager
- 28
- Wandung
- 29
- Anschlag
- 30
- Unterseite
- 31
- Fuß
- 32
- Kopf
- 33
- Schlitze
- 34
- Ausnehmung
- 35
- Brücke
- 36
- Einsatz
- 37
- Rückwand
- 38
- Widerlagerfläche
- 39
- Stirnfläche
- D
- Länge
- L
- Länge
- S
- Verschieberichtung
- V
- senkrechte Richtung
- X
- Schenkachse
- Z
- Zigarettenhülse
Claims (6)
- Vorrichtung (100) zum Stopfen vorgefertigter Zigarettenhülsen (Z), mit einem Gehäuse (1), einer Tabakkammer (17), einer dieser zugeordneten Tabakauflage (18), einem bewegbaren Pressbalken (21) zum Formen des in die Tabakkammer (17) eingelegten Tabaks zu einem Strang, einem der Tabakauflage (18) zugeordneten Widerlager (27) für ein Ende des Tabakstranges und einem zum Füllen der Zigarettenhülse (Z) mit dem Tabakstrang relativ zum Gehäuse (1) verlagerbaren Schieber (8),
dadurch gekennzeichnet,
dass ein an dem Schieber (8) wahlweise anbringbarer, im angebrachten Zustand den Verlagerungsweg relativ zum Gehäuse (1) um eine Länge (D) verkürzender Anschlag (29) vorgesehen ist,
und dass das Widerlager (27) derart ausgebildet ist, dass es bei angebrachtem Anschlag (29) um die Länge (D) in die Tabakkammer (17) hineinragt. - Vorrichtung nach Anspruch 1, dadurch gekennzeichnet, dass an dem Schieber (8) eine Tülle (11) mit einem freien, vorzugsweise abgeschrägten Ende vorgesehen ist, deren Außendurchmesser etwa dem Innendurchmesser einer Zigarettenhülse (Z) entspricht.
- Vorrichtung nach Anspruch 2, dadurch gekennzeichnet, dass der Anschlag (29) als separates Bauteil einer wirksamen Länge (D) ausgebildet ist, welches wahlweise an einer von der Tülle (11) entfernten Wandung (28) des Schiebers (8) befestigbar ist.
- Vorrichtung nach einem der Ansprüche 1 bis 3, dadurch gekennzeichnet, dass eine Mehrzahl von wahlweise aktivierbaren oder an dem Schieber (8) wahlweise anbringbaren Anschläge (29) vorgesehen sind, die sich in ihrer wirksamen Länge (D) voneinander unterscheiden.
- Vorrichtung nach Anspruch 4, dadurch gekennzeichnet, dass das Widerlager (27) von einem Einsatz (36) gebildet ist, dessen Länge zumindest der wirksamen Länge (D) des größten vorgesehenen Anschlags (29) entspricht.
- Vorrichtung nach Anspruch 5, dadurch gekennzeichnet, dass der Querschnitt des das Widerlager (27) bildenden Einsatzes (36) etwa dem Querschnitt eines mit der Vorrichtung produzierbaren Tabakstrangs entspricht.
Priority Applications (3)
| Application Number | Priority Date | Filing Date | Title |
|---|---|---|---|
| HRP20180294TT HRP20180294T1 (hr) | 2012-07-13 | 2013-07-09 | Uređaj za punjenje cigaretnih tuba |
| PL13734434T PL2871981T3 (pl) | 2012-07-13 | 2013-07-09 | Urządzenie do wypełniania gilz papierosowych |
| SM20180256T SMT201800256T1 (it) | 2012-07-13 | 2013-07-09 | Dispositivo per riempire tubetti per sigarette |
Applications Claiming Priority (2)
| Application Number | Priority Date | Filing Date | Title |
|---|---|---|---|
| DE202012102605U DE202012102605U1 (de) | 2012-07-13 | 2012-07-13 | Vorrichtung zum Stopfen von Zigarettenhülsen |
| PCT/EP2013/064423 WO2014009329A1 (de) | 2012-07-13 | 2013-07-09 | Vorrichtung zum stopfen von zigarettenhülsen |
Publications (2)
| Publication Number | Publication Date |
|---|---|
| EP2871981A1 EP2871981A1 (de) | 2015-05-20 |
| EP2871981B1 true EP2871981B1 (de) | 2017-12-20 |
Family
ID=48747588
Family Applications (1)
| Application Number | Title | Priority Date | Filing Date |
|---|---|---|---|
| EP13734434.7A Active EP2871981B1 (de) | 2012-07-13 | 2013-07-09 | Vorrichtung zum stopfen von zigarettenhülsen |
Country Status (12)
| Country | Link |
|---|---|
| EP (1) | EP2871981B1 (de) |
| CN (1) | CN104470383B (de) |
| DE (1) | DE202012102605U1 (de) |
| DK (1) | DK2871981T3 (de) |
| ES (1) | ES2657946T3 (de) |
| HR (1) | HRP20180294T1 (de) |
| HU (1) | HUE036650T2 (de) |
| IL (1) | IL236378B (de) |
| PL (1) | PL2871981T3 (de) |
| RU (1) | RU2603955C2 (de) |
| SM (1) | SMT201800256T1 (de) |
| WO (1) | WO2014009329A1 (de) |
Families Citing this family (3)
| Publication number | Priority date | Publication date | Assignee | Title |
|---|---|---|---|---|
| US10231480B1 (en) * | 2016-09-12 | 2019-03-19 | Republic Tobacco L.P. | Handheld cigarette-making machine |
| CN106579547B (zh) * | 2016-12-15 | 2017-12-01 | 上海理工大学 | 实验室用小型手工卷烟装置 |
| USD952938S1 (en) | 2020-08-18 | 2022-05-24 | Republic Brands L.P. | Cigarette-making machine |
Family Cites Families (7)
| Publication number | Priority date | Publication date | Assignee | Title |
|---|---|---|---|---|
| DE3706504A1 (de) * | 1987-02-27 | 1988-09-08 | Efka Werke Kiehn Gmbh Fritz | Handstopfgeraet fuer zigarettenhuelsen, insbesondere fuer zigarettenfilterhuelsen |
| DE4110830C1 (de) | 1991-04-04 | 1992-05-27 | Gizeh-Werk Gmbh, 5275 Bergneustadt, De | |
| AU7293196A (en) * | 1995-12-04 | 1997-06-27 | Efka-Werke Fritz Keihn Gmbh | Manual packing device for cigarette tubes, in particular cigarette filter tubes with a variable-length tobacco packing chamber |
| DE20204447U1 (de) * | 2002-03-20 | 2002-05-29 | Yu, Chin-Tung, Hou Li, Taichung | Zigarettenfüllvorrichtung |
| FR2847429B1 (fr) * | 2002-11-25 | 2006-06-23 | Republic Technologies Na Llc | Machine a garnir des tubes de cigarettes ayant differentes longueurs |
| CA2424881A1 (en) | 2003-04-08 | 2004-10-08 | Ctc Canada Inc. | Convertible compact cigarette making machine |
| DE202008012816U1 (de) * | 2008-09-26 | 2010-03-04 | Gizeh Raucherbedarf Gmbh | Vorrichtung zum Stopfen von Zigarettenhülsen |
-
2012
- 2012-07-13 DE DE202012102605U patent/DE202012102605U1/de not_active Expired - Lifetime
-
2013
- 2013-07-09 CN CN201380037506.3A patent/CN104470383B/zh active Active
- 2013-07-09 EP EP13734434.7A patent/EP2871981B1/de active Active
- 2013-07-09 RU RU2015104800/12A patent/RU2603955C2/ru active
- 2013-07-09 SM SM20180256T patent/SMT201800256T1/it unknown
- 2013-07-09 ES ES13734434.7T patent/ES2657946T3/es active Active
- 2013-07-09 WO PCT/EP2013/064423 patent/WO2014009329A1/de not_active Ceased
- 2013-07-09 PL PL13734434T patent/PL2871981T3/pl unknown
- 2013-07-09 HR HRP20180294TT patent/HRP20180294T1/hr unknown
- 2013-07-09 DK DK13734434.7T patent/DK2871981T3/en active
- 2013-07-09 HU HUE13734434A patent/HUE036650T2/hu unknown
-
2014
- 2014-12-21 IL IL236378A patent/IL236378B/en active IP Right Grant
Also Published As
| Publication number | Publication date |
|---|---|
| IL236378A0 (en) | 2015-02-26 |
| SMT201800256T1 (it) | 2018-07-17 |
| IL236378B (en) | 2018-05-31 |
| ES2657946T3 (es) | 2018-03-07 |
| WO2014009329A1 (de) | 2014-01-16 |
| DK2871981T3 (en) | 2018-02-26 |
| CN104470383B (zh) | 2017-11-07 |
| DE202012102605U1 (de) | 2013-10-14 |
| RU2603955C2 (ru) | 2016-12-10 |
| PL2871981T3 (pl) | 2018-06-29 |
| CN104470383A (zh) | 2015-03-25 |
| HRP20180294T1 (hr) | 2018-04-06 |
| HUE036650T2 (hu) | 2018-07-30 |
| EP2871981A1 (de) | 2015-05-20 |
| HK1207799A1 (en) | 2016-02-12 |
| RU2015104800A (ru) | 2016-08-27 |
Similar Documents
| Publication | Publication Date | Title |
|---|---|---|
| EP2440088B1 (de) | Ausziehführung für schubladen | |
| DE4110830C1 (de) | ||
| EP2056416B1 (de) | Abisolierzange | |
| DE3128595A1 (de) | Gestell aus loesbar verbindbaren profilstangen | |
| EP3496570B1 (de) | Zarge für einen schubkasten | |
| EP0200760A1 (de) | Profilstange zum festklemmen von platten, insbesondere von glasplatten, für schauvitrinen, verkaufstheken, messemobiliar od.dgl. | |
| DE2103991B2 (de) | Stopfvorrichtung fuer zigarettenpapierhuelsen | |
| DE202008014111U1 (de) | Abisolierzange | |
| DE2444896A1 (de) | Verfahren zum einsetzen einer vorgeformten dichtung in eine nut | |
| EP2355673B1 (de) | Vorrichtung zum stopfen von zigarettenhülsen | |
| EP2871981B1 (de) | Vorrichtung zum stopfen von zigarettenhülsen | |
| EP3258044A1 (de) | Flügelanordnung und verfahren zur frontalmontage eines beschlagteils in einer solchen flügelanordnung | |
| EP3682127B1 (de) | Anordnung mit befestigungselement zum lösbaren verbinden von zwei bauelementen | |
| EP3049287B1 (de) | Haltevorrichtung für ein tragbares elektronisches gerät in einem kraftfahrzeug | |
| DE202009003743U1 (de) | Vorrichtung zum Stanzen, Schneiden und Kanten von Blechteilen | |
| AT395891B (de) | Vorrichtung fuer rollotraeger | |
| DE4440587A1 (de) | Basquill-Schloß | |
| DE10242519B4 (de) | Schublade oder dergleichen | |
| DE2356377A1 (de) | Einhak-befestigungsvorrichtung | |
| DE4224888C1 (en) | Vehicle number-plate mounting - has deeper insertion groove between chamfered corners with insertion slits and hinging plate-supports locking in groove | |
| EP1698256B1 (de) | Sitzmöbel, insbesondere Bürostuhl | |
| EP3489451B1 (de) | Verbund eines rollladenkastens mit einem rahmen | |
| DE3326692A1 (de) | Zerlegbarer bettrahmen | |
| EP0480300B1 (de) | Vorrichtung zur Längsverstellung von Fersenhaltern | |
| DE8712001U1 (de) | Halterungselement |
Legal Events
| Date | Code | Title | Description |
|---|---|---|---|
| PUAI | Public reference made under article 153(3) epc to a published international application that has entered the european phase |
Free format text: ORIGINAL CODE: 0009012 |
|
| 17P | Request for examination filed |
Effective date: 20150204 |
|
| AK | Designated contracting states |
Kind code of ref document: A1 Designated state(s): AL AT BE BG CH CY CZ DE DK EE ES FI FR GB GR HR HU IE IS IT LI LT LU LV MC MK MT NL NO PL PT RO RS SE SI SK SM TR |
|
| AX | Request for extension of the european patent |
Extension state: BA ME |
|
| DAX | Request for extension of the european patent (deleted) | ||
| GRAP | Despatch of communication of intention to grant a patent |
Free format text: ORIGINAL CODE: EPIDOSNIGR1 |
|
| INTG | Intention to grant announced |
Effective date: 20170926 |
|
| GRAS | Grant fee paid |
Free format text: ORIGINAL CODE: EPIDOSNIGR3 |
|
| GRAA | (expected) grant |
Free format text: ORIGINAL CODE: 0009210 |
|
| AK | Designated contracting states |
Kind code of ref document: B1 Designated state(s): AL AT BE BG CH CY CZ DE DK EE ES FI FR GB GR HR HU IE IS IT LI LT LU LV MC MK MT NL NO PL PT RO RS SE SI SK SM TR |
|
| REG | Reference to a national code |
Ref country code: GB Ref legal event code: FG4D Free format text: NOT ENGLISH |
|
| REG | Reference to a national code |
Ref country code: CH Ref legal event code: EP |
|
| REG | Reference to a national code |
Ref country code: IE Ref legal event code: FG4D Free format text: LANGUAGE OF EP DOCUMENT: GERMAN |
|
| REG | Reference to a national code |
Ref country code: AT Ref legal event code: REF Ref document number: 955543 Country of ref document: AT Kind code of ref document: T Effective date: 20180115 |
|
| REG | Reference to a national code |
Ref country code: DE Ref legal event code: R096 Ref document number: 502013009073 Country of ref document: DE |
|
| REG | Reference to a national code |
Ref country code: HR Ref legal event code: TUEP Ref document number: P20180294 Country of ref document: HR |
|
| REG | Reference to a national code |
Ref country code: RO Ref legal event code: EPE Ref country code: NL Ref legal event code: FP |
|
| REG | Reference to a national code |
Ref country code: DK Ref legal event code: T3 Effective date: 20180221 |
|
| REG | Reference to a national code |
Ref country code: CH Ref legal event code: NV Representative=s name: R.A. EGLI AND CO, PATENTANWAELTE, CH |
|
| REG | Reference to a national code |
Ref country code: ES Ref legal event code: FG2A Ref document number: 2657946 Country of ref document: ES Kind code of ref document: T3 Effective date: 20180307 |
|
| REG | Reference to a national code |
Ref country code: HR Ref legal event code: T1PR Ref document number: P20180294 Country of ref document: HR |
|
| PG25 | Lapsed in a contracting state [announced via postgrant information from national office to epo] |
Ref country code: SE Free format text: LAPSE BECAUSE OF FAILURE TO SUBMIT A TRANSLATION OF THE DESCRIPTION OR TO PAY THE FEE WITHIN THE PRESCRIBED TIME-LIMIT Effective date: 20171220 Ref country code: LT Free format text: LAPSE BECAUSE OF FAILURE TO SUBMIT A TRANSLATION OF THE DESCRIPTION OR TO PAY THE FEE WITHIN THE PRESCRIBED TIME-LIMIT Effective date: 20171220 Ref country code: FI Free format text: LAPSE BECAUSE OF FAILURE TO SUBMIT A TRANSLATION OF THE DESCRIPTION OR TO PAY THE FEE WITHIN THE PRESCRIBED TIME-LIMIT Effective date: 20171220 Ref country code: NO Free format text: LAPSE BECAUSE OF FAILURE TO SUBMIT A TRANSLATION OF THE DESCRIPTION OR TO PAY THE FEE WITHIN THE PRESCRIBED TIME-LIMIT Effective date: 20180320 |
|
| REG | Reference to a national code |
Ref country code: LT Ref legal event code: MG4D |
|
| PG25 | Lapsed in a contracting state [announced via postgrant information from national office to epo] |
Ref country code: LV Free format text: LAPSE BECAUSE OF FAILURE TO SUBMIT A TRANSLATION OF THE DESCRIPTION OR TO PAY THE FEE WITHIN THE PRESCRIBED TIME-LIMIT Effective date: 20171220 Ref country code: GR Free format text: LAPSE BECAUSE OF FAILURE TO SUBMIT A TRANSLATION OF THE DESCRIPTION OR TO PAY THE FEE WITHIN THE PRESCRIBED TIME-LIMIT Effective date: 20180321 Ref country code: RS Free format text: LAPSE BECAUSE OF FAILURE TO SUBMIT A TRANSLATION OF THE DESCRIPTION OR TO PAY THE FEE WITHIN THE PRESCRIBED TIME-LIMIT Effective date: 20171220 |
|
| REG | Reference to a national code |
Ref country code: SK Ref legal event code: T3 Ref document number: E 26564 Country of ref document: SK |
|
| REG | Reference to a national code |
Ref country code: FR Ref legal event code: PLFP Year of fee payment: 6 |
|
| REG | Reference to a national code |
Ref country code: HU Ref legal event code: AG4A Ref document number: E036650 Country of ref document: HU |
|
| PG25 | Lapsed in a contracting state [announced via postgrant information from national office to epo] |
Ref country code: EE Free format text: LAPSE BECAUSE OF FAILURE TO SUBMIT A TRANSLATION OF THE DESCRIPTION OR TO PAY THE FEE WITHIN THE PRESCRIBED TIME-LIMIT Effective date: 20171220 Ref country code: CY Free format text: LAPSE BECAUSE OF FAILURE TO SUBMIT A TRANSLATION OF THE DESCRIPTION OR TO PAY THE FEE WITHIN THE PRESCRIBED TIME-LIMIT Effective date: 20171220 |
|
| PG25 | Lapsed in a contracting state [announced via postgrant information from national office to epo] |
Ref country code: IS Free format text: LAPSE BECAUSE OF FAILURE TO SUBMIT A TRANSLATION OF THE DESCRIPTION OR TO PAY THE FEE WITHIN THE PRESCRIBED TIME-LIMIT Effective date: 20180420 |
|
| REG | Reference to a national code |
Ref country code: DE Ref legal event code: R097 Ref document number: 502013009073 Country of ref document: DE |
|
| PLBE | No opposition filed within time limit |
Free format text: ORIGINAL CODE: 0009261 |
|
| STAA | Information on the status of an ep patent application or granted ep patent |
Free format text: STATUS: NO OPPOSITION FILED WITHIN TIME LIMIT |
|
| 26N | No opposition filed |
Effective date: 20180921 |
|
| PG25 | Lapsed in a contracting state [announced via postgrant information from national office to epo] |
Ref country code: SI Free format text: LAPSE BECAUSE OF FAILURE TO SUBMIT A TRANSLATION OF THE DESCRIPTION OR TO PAY THE FEE WITHIN THE PRESCRIBED TIME-LIMIT Effective date: 20171220 |
|
| PG25 | Lapsed in a contracting state [announced via postgrant information from national office to epo] |
Ref country code: MC Free format text: LAPSE BECAUSE OF FAILURE TO SUBMIT A TRANSLATION OF THE DESCRIPTION OR TO PAY THE FEE WITHIN THE PRESCRIBED TIME-LIMIT Effective date: 20171220 |
|
| REG | Reference to a national code |
Ref country code: HR Ref legal event code: ODRP Ref document number: P20180294 Country of ref document: HR Payment date: 20190528 Year of fee payment: 7 |
|
| PG25 | Lapsed in a contracting state [announced via postgrant information from national office to epo] |
Ref country code: PT Free format text: LAPSE BECAUSE OF FAILURE TO SUBMIT A TRANSLATION OF THE DESCRIPTION OR TO PAY THE FEE WITHIN THE PRESCRIBED TIME-LIMIT Effective date: 20171220 |
|
| PG25 | Lapsed in a contracting state [announced via postgrant information from national office to epo] |
Ref country code: MK Free format text: LAPSE BECAUSE OF NON-PAYMENT OF DUE FEES Effective date: 20171220 |
|
| REG | Reference to a national code |
Ref country code: HR Ref legal event code: ODRP Ref document number: P20180294 Country of ref document: HR Payment date: 20200703 Year of fee payment: 8 |
|
| PG25 | Lapsed in a contracting state [announced via postgrant information from national office to epo] |
Ref country code: AL Free format text: LAPSE BECAUSE OF FAILURE TO SUBMIT A TRANSLATION OF THE DESCRIPTION OR TO PAY THE FEE WITHIN THE PRESCRIBED TIME-LIMIT Effective date: 20171220 |
|
| REG | Reference to a national code |
Ref country code: HR Ref legal event code: ODRP Ref document number: P20180294 Country of ref document: HR Payment date: 20210705 Year of fee payment: 9 |
|
| PGFP | Annual fee paid to national office [announced via postgrant information from national office to epo] |
Ref country code: IE Payment date: 20220609 Year of fee payment: 10 Ref country code: GB Payment date: 20220606 Year of fee payment: 10 |
|
| REG | Reference to a national code |
Ref country code: HR Ref legal event code: ODRP Ref document number: P20180294 Country of ref document: HR Payment date: 20220708 Year of fee payment: 10 |
|
| PGFP | Annual fee paid to national office [announced via postgrant information from national office to epo] |
Ref country code: DK Payment date: 20220714 Year of fee payment: 10 |
|
| REG | Reference to a national code |
Ref country code: DE Ref legal event code: R082 Ref document number: 502013009073 Country of ref document: DE Representative=s name: PATENTANWAELTE KLUIN DEBELIUS WEBER PARTG MBB, DE |
|
| PGFP | Annual fee paid to national office [announced via postgrant information from national office to epo] |
Ref country code: MT Payment date: 20220729 Year of fee payment: 10 |
|
| P01 | Opt-out of the competence of the unified patent court (upc) registered |
Effective date: 20230524 |
|
| REG | Reference to a national code |
Ref country code: HR Ref legal event code: ODRP Ref document number: P20180294 Country of ref document: HR Payment date: 20230628 Year of fee payment: 11 |
|
| REG | Reference to a national code |
Ref country code: DK Ref legal event code: EBP Effective date: 20230731 |
|
| GBPC | Gb: european patent ceased through non-payment of renewal fee |
Effective date: 20230709 |
|
| REG | Reference to a national code |
Ref country code: IE Ref legal event code: MM4A |
|
| PG25 | Lapsed in a contracting state [announced via postgrant information from national office to epo] |
Ref country code: GB Free format text: LAPSE BECAUSE OF NON-PAYMENT OF DUE FEES Effective date: 20230709 |
|
| PG25 | Lapsed in a contracting state [announced via postgrant information from national office to epo] |
Ref country code: IE Free format text: LAPSE BECAUSE OF NON-PAYMENT OF DUE FEES Effective date: 20230709 |
|
| PG25 | Lapsed in a contracting state [announced via postgrant information from national office to epo] |
Ref country code: DK Free format text: LAPSE BECAUSE OF NON-PAYMENT OF DUE FEES Effective date: 20230731 |
|
| PG25 | Lapsed in a contracting state [announced via postgrant information from national office to epo] |
Ref country code: IE Free format text: LAPSE BECAUSE OF NON-PAYMENT OF DUE FEES Effective date: 20230709 Ref country code: DK Free format text: LAPSE BECAUSE OF NON-PAYMENT OF DUE FEES Effective date: 20230731 |
|
| REG | Reference to a national code |
Ref country code: HR Ref legal event code: ODRP Ref document number: P20180294 Country of ref document: HR Payment date: 20240704 Year of fee payment: 12 |
|
| PGFP | Annual fee paid to national office [announced via postgrant information from national office to epo] |
Ref country code: PL Payment date: 20250630 Year of fee payment: 13 |
|
| PGFP | Annual fee paid to national office [announced via postgrant information from national office to epo] |
Ref country code: CZ Payment date: 20250627 Year of fee payment: 13 |
|
| REG | Reference to a national code |
Ref country code: HR Ref legal event code: ODRP Ref document number: P20180294 Country of ref document: HR Payment date: 20250704 Year of fee payment: 13 |
|
| PGFP | Annual fee paid to national office [announced via postgrant information from national office to epo] |
Ref country code: NL Payment date: 20250723 Year of fee payment: 13 Ref country code: LU Payment date: 20250722 Year of fee payment: 13 |
|
| PGFP | Annual fee paid to national office [announced via postgrant information from national office to epo] |
Ref country code: HU Payment date: 20250804 Year of fee payment: 13 |
|
| PGFP | Annual fee paid to national office [announced via postgrant information from national office to epo] |
Ref country code: SM Payment date: 20250723 Year of fee payment: 13 |
|
| PGFP | Annual fee paid to national office [announced via postgrant information from national office to epo] |
Ref country code: ES Payment date: 20250819 Year of fee payment: 13 |
|
| PGFP | Annual fee paid to national office [announced via postgrant information from national office to epo] |
Ref country code: DE Payment date: 20250731 Year of fee payment: 13 |
|
| PGFP | Annual fee paid to national office [announced via postgrant information from national office to epo] |
Ref country code: TR Payment date: 20250703 Year of fee payment: 13 Ref country code: IT Payment date: 20250731 Year of fee payment: 13 |
|
| PGFP | Annual fee paid to national office [announced via postgrant information from national office to epo] |
Ref country code: BE Payment date: 20250722 Year of fee payment: 13 Ref country code: BG Payment date: 20250718 Year of fee payment: 13 |
|
| PGFP | Annual fee paid to national office [announced via postgrant information from national office to epo] |
Ref country code: HR Payment date: 20250704 Year of fee payment: 13 |
|
| PGFP | Annual fee paid to national office [announced via postgrant information from national office to epo] |
Ref country code: FR Payment date: 20250723 Year of fee payment: 13 Ref country code: AT Payment date: 20250721 Year of fee payment: 13 |
|
| PGFP | Annual fee paid to national office [announced via postgrant information from national office to epo] |
Ref country code: CH Payment date: 20250801 Year of fee payment: 13 |
|
| PGFP | Annual fee paid to national office [announced via postgrant information from national office to epo] |
Ref country code: RO Payment date: 20250709 Year of fee payment: 13 |
|
| PGFP | Annual fee paid to national office [announced via postgrant information from national office to epo] |
Ref country code: SK Payment date: 20250703 Year of fee payment: 13 |