EP2834026B1 - Stempeleinheit und system zum aufbau von stempeleinheiten - Google Patents
Stempeleinheit und system zum aufbau von stempeleinheiten Download PDFInfo
- Publication number
- EP2834026B1 EP2834026B1 EP12772877.2A EP12772877A EP2834026B1 EP 2834026 B1 EP2834026 B1 EP 2834026B1 EP 12772877 A EP12772877 A EP 12772877A EP 2834026 B1 EP2834026 B1 EP 2834026B1
- Authority
- EP
- European Patent Office
- Prior art keywords
- punch
- stamping
- holding
- plate
- unit according
- Prior art date
- Legal status (The legal status is an assumption and is not a legal conclusion. Google has not performed a legal analysis and makes no representation as to the accuracy of the status listed.)
- Not-in-force
Links
- 238000004080 punching Methods 0.000 description 31
- 238000013459 approach Methods 0.000 description 6
- 230000008901 benefit Effects 0.000 description 6
- 238000004519 manufacturing process Methods 0.000 description 6
- 230000008859 change Effects 0.000 description 4
- 239000000463 material Substances 0.000 description 4
- 238000010276 construction Methods 0.000 description 3
- 238000000034 method Methods 0.000 description 3
- 238000007639 printing Methods 0.000 description 3
- 229910000760 Hardened steel Inorganic materials 0.000 description 2
- 230000006835 compression Effects 0.000 description 2
- 238000007906 compression Methods 0.000 description 2
- 238000005520 cutting process Methods 0.000 description 2
- 238000013461 design Methods 0.000 description 2
- 238000003780 insertion Methods 0.000 description 2
- 230000037431 insertion Effects 0.000 description 2
- 230000008569 process Effects 0.000 description 2
- 125000006850 spacer group Chemical group 0.000 description 2
- 229910000906 Bronze Inorganic materials 0.000 description 1
- 230000009471 action Effects 0.000 description 1
- 230000002730 additional effect Effects 0.000 description 1
- 238000004873 anchoring Methods 0.000 description 1
- 230000005540 biological transmission Effects 0.000 description 1
- 230000015572 biosynthetic process Effects 0.000 description 1
- 239000010974 bronze Substances 0.000 description 1
- KUNSUQLRTQLHQQ-UHFFFAOYSA-N copper tin Chemical compound [Cu].[Sn] KUNSUQLRTQLHQQ-UHFFFAOYSA-N 0.000 description 1
- 238000011161 development Methods 0.000 description 1
- 238000010586 diagram Methods 0.000 description 1
- 230000003628 erosive effect Effects 0.000 description 1
- 238000004880 explosion Methods 0.000 description 1
- 238000000605 extraction Methods 0.000 description 1
- 238000010438 heat treatment Methods 0.000 description 1
- 238000003801 milling Methods 0.000 description 1
- 238000002156 mixing Methods 0.000 description 1
- 238000000465 moulding Methods 0.000 description 1
- 238000012856 packing Methods 0.000 description 1
- 230000009467 reduction Effects 0.000 description 1
- 238000007493 shaping process Methods 0.000 description 1
- 238000003860 storage Methods 0.000 description 1
- 230000007704 transition Effects 0.000 description 1
- 230000003313 weakening effect Effects 0.000 description 1
Images
Classifications
-
- B—PERFORMING OPERATIONS; TRANSPORTING
- B41—PRINTING; LINING MACHINES; TYPEWRITERS; STAMPS
- B41N—PRINTING PLATES OR FOILS; MATERIALS FOR SURFACES USED IN PRINTING MACHINES FOR PRINTING, INKING, DAMPING, OR THE LIKE; PREPARING SUCH SURFACES FOR USE AND CONSERVING THEM
- B41N6/00—Mounting boards; Sleeves Make-ready devices, e.g. underlays, overlays; Attaching by chemical means, e.g. vulcanising
-
- B—PERFORMING OPERATIONS; TRANSPORTING
- B21—MECHANICAL METAL-WORKING WITHOUT ESSENTIALLY REMOVING MATERIAL; PUNCHING METAL
- B21D—WORKING OR PROCESSING OF SHEET METAL OR METAL TUBES, RODS OR PROFILES WITHOUT ESSENTIALLY REMOVING MATERIAL; PUNCHING METAL
- B21D28/00—Shaping by press-cutting; Perforating
- B21D28/24—Perforating, i.e. punching holes
- B21D28/34—Perforating tools; Die holders
-
- B—PERFORMING OPERATIONS; TRANSPORTING
- B41—PRINTING; LINING MACHINES; TYPEWRITERS; STAMPS
- B41K—STAMPS; STAMPING OR NUMBERING APPARATUS OR DEVICES
- B41K1/00—Portable hand-operated devices without means for supporting or locating the articles to be stamped, i.e. hand stamps; Inking devices or other accessories therefor
- B41K1/36—Details
Definitions
- the present invention relates to a stamp unit for attachment to a top of a punch with a pressure plate, a punch and a punch plate and with a system for the construction of such stamp units.
- stamp units are so far built exclusively in such a way that a Wegprofiled forming die is made over its entire length with its punched cross-section by cutting it out of a full hardened block over its entire length by means of wire EDM.
- a common method of attaching the stamp in the stamp holder plate is to make a stamping die in the form of the stamp with the desired circumferential chamfering.
- the upper end of the forming punch is then heated and the chamfer on the punch is upset by means of a press in the stamping mold.
- the bevel of the upset head also serves to retract the punch, which occurs by the heating described the additional effect that as a result of the Anlass bines the hardness of the punch in the head area is reduced.
- a unit made in this way is fastened to an upper part of a punching tool, for example by means of two screws, which is usually a column-guided standard frame. It can be installed in a tool several individual punch units when several desired breakthroughs are to be made.
- the DE 103 11 911 A1 is a quick-change device for punching, cutting, punch or contour stamp described.
- the device comprises a punch holding plate with receiving bores for the punches.
- a displaceable clamping plate with free holes is arranged, whose arrangement corresponds to that of the mounting holes.
- a stamp of the quick-change device is designed as a punch, which has a widened head part at its end acted on pressure, which is arranged in the region of the clamping plate facing away from the end of the punch holder plate. Between the head part and the clamping plate of the punch passes through a spacer sleeve.
- Another stamp of the quick-change device is designed as a contour punch. This has a approach to which the clamping plate rests.
- the contour punch has a transverse bore into which a dowel pin is inserted.
- This dowel pin is flush mounted in a milling of the punch plate.
- the actual punching force is passed through the punch head.
- moving the clamping plate is the spacer sleeve and concerning the punch covered the contour of the dowel pin of the clamping plate so that the punch can not fall out and also forces when retracting the punch can be transferred.
- a stamp unit is described with a punch and a punch holder.
- Punch and punch holder are firmly connected together by means of an accessible from the side of the punch holder screw.
- the punch holder is formed by a punch holder upper part and a punch holder lower part, which are fixedly connected to each other by a screw, also formed in the stamp holder upper part screwed impact plate.
- the punch holder upper part passes through an annular spring carrier in an area of reduced cross-section, which is displaceably guided in this region of the punch holder upper part.
- a plurality of springs are effective between the punch holder top and the spring carrier and press the spring carrier against an approach of the punch holder lower part when not impact plate.
- the clamping punch encloses a punch guide.
- the punch guide lays on the workpiece to be punched and presses the spring carrier against the stamp holder upper part when the springs are compressed.
- the springs press the spring carrier and thus also the punch guide away from the punch holder upper part, so that material can be removed from the punch by means of the punch guide.
- a pin pull-out tool for removing a stop pin from an anchoring structure is known.
- the tool includes a slide hammer.
- the object of the present invention is to provide a punch unit and a system for the construction of stamp units whose production cost is reduced.
- the object is achieved according to the stamp unit according to the invention that in the stamp unit for attachment to an upper part of a punch, with a pressure plate, a punch and a punch holder plate, wherein the pressure plate between the punch and the punch holder plate is arranged, the punching forces of the punch plate over the pressure plate are transferred to the punch and the pressure plate acts on a punch thrust on a shoulder of the punch, wherein on the shoulder of the punch a holding shoe is provided which projects through a slot in the pressure plate and is secured in the punch plate.
- the solution according to the invention has the advantage that the length of the continuously profiled forming punch can be shortened by approximately 30%, whereby a considerable reduction in working time also occurs.
- the individual parts can also be releasably screwed together in the solution according to the invention, so that the upsetting and the production of an exact Anstauchmatrize for the production of the punch as well as the sanding of the upset punch after insertion into the punch plate.
- Another advantage is that punches with different shape cross sections can be used with standardized pressure plates and punch holding plates, since they no longer cut out according to the profiling of the punch Need to become. It is even possible that the cross section of the punch is larger than the stamp receiving plate in some areas, so that multiple receiving plates can be avoided. For example, if the dimensions of a through-profiled forming die have to be changed, it is not necessary to change the punch receiving plate as well.
- a holding shoe which projects through a slot in the pressure plate and is secured in the punch holding plate.
- the holding shoe is preferably made with certain dimensions, so that, as already indicated above, punch punches with different shape cross sections can be used together with standardized punch holding plates and pressure plates without problems whose openings are no longer adapted to the individual shape of the punch but the standardized holding shoe.
- the holding shoe is arranged at a right angle to the shoulder.
- the punch retaining plate releasable fastening means which cooperate with corresponding fastening means on the holding shoe. This makes it possible to change the punch in the tool, without the punch unit must be solved by the entire punching tool.
- at least one bore can be provided in the holding shoe, into which a bolt engages. After loosening the bolt is in this embodiment, easily pulling the punch down from the receptacle for the
- Holding shoe in the punch plate and the pressure plate possible.
- the standardized holding shoe also makes it possible to stock stamp blanks with a corresponding holding shoe and then, if necessary, to produce the desired shape of the punch in a very short time by simple wire erosion without any change to the mounting system of the punch in the stamp unit. It is only necessary to ensure that the shape of the cross-section reasonably evenly includes the holding shoe, wherein the projection of the holding shoe preferably always meets the stamp cross-section and does not project laterally.
- the bolts for attaching the holding shoe for example, have a threaded portion which is screwed into a threaded bore in the punch holder plate.
- the bolt has a conical head which cooperates with a conical bore in the retaining shoe.
- this can then pull the punch with his shoulder against the pressure plate, so that a play-free contact between the pressure plate and the shoulder of the punch is ensured.
- the stamp unit has a hold-down, which is guided by means of guide pins resiliently on the pressure plate.
- a hold-down is in the inventive arrangement the elements of a stamp unit particularly easy to implement, since the hardened pressure plate can easily record polished guide holes for the guide pin wear.
- the guide pins may be bronze or coated hardened steel, to name but two examples.
- a transverse web is provided in the slot of the punch holder plate for receiving the holding shoe of the punch.
- This crosspiece which is in the range of a Passungsrachens the punch, increases the stability of the punch plate in the region of the slot, so that it can not come to dimensional changes due to the high forces acting by tightening the mounting bolts.
- the slot in the punch-holding plate and the slot in the pressure plate are arranged offset eccentrically in alignment. Due to the asymmetrical arrangement of the pick-up tester for the punch shoe, very narrow punches can be positioned very close to one another, which can be an advantage for certain applications. Accordingly, the stamp units are then mounted with the sides of the lesser distance to the slots against each other in the tool.
- the punch has an approach for a pull-out device for pulling in the punching direction.
- the punches of the present system are installed after mounting the punch retainer plate to the end, after which the punch retainer plate is bolted and pinned, as the shoulder of the punch, depending on the design, obscures the bolt and pin holes after assembly.
- the proposed approach provides a way to set a pull-out tool to selectively exert impact pulses on the punch, so that it dissolves from the punch unit.
- the projection may have at least one blind or through bore lying transversely to the punching direction.
- a punching punch with larger punching surfaces it is also possible in another preferred embodiment to provide a threaded bore in the punching surface which is aligned parallel to the punching direction.
- the holes described above are axially in alignment with a fixation of the holding shoe, which is arranged centrally in the rule.
- this adapter element can easily consist of an external thread possibly directly on the guide rod of the slide hammer, while a transversal bore a U-shaped adapter can be provided by means of a transverse bolt, the positive connection to the punch for introducing the Produces impact pulses.
- the solution according to the invention allows standardized stamp holding plates and printing plates to be combined with stamping dies of different cross-sectional shape.
- punch holding plates and printing plates can be kept in pairs in a few standard sizes, which can then be freely combined with the punches due to the standardized holding shoes.
- Another advantage of the solution according to the invention is generally that it is possible to use punch holding plates and pressure plates whose cross section does not have to be substantially larger than the cross section of the punch. This allows a significantly higher packing density of Reach punch units during assembly in the punching tool. In individual cases, this can mean considerable cost advantages in punching operations.
- a punch unit can be advantageous in which a single punch plate and / or a single pressure plate are provided for receiving a plurality of punch punches. Accordingly, such a punch holding plate and / or pressure plate has a plurality of slots for receiving the respective holding shoe of a punch.
- the slots can be arranged parallel or at an arbitrary angle to each other, so that it is possible to arrange a plurality of punches very space-saving in the tool.
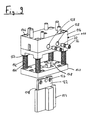
- a prior art stamp unit 200 is shown.
- This stamp unit 200 consists essentially of a forming punch 202, a punch receiving plate 204 and a pressure plate 206, wherein the punch holding plate 204 is disposed between the pressure plate 206 and the punch 202.
- the punching forces are applied by the pressure plate 206 to an upset head 208 (see FIG Fig. 2 ) of the forming die 202, wherein the pressure plate 206 is screwed by means of countersunk screws 210 with the punch holding plate 204.
- the forming punch 202 is also secured by means of its upset head 208 against falling out of the punch holding plate 204, which has a chamfer 212 for this purpose.
- the punch holding plate 204 After the upsetting of the head 208 of the forming punch 202, it is inserted into the punch holding plate 204, the punch holding plate 204 having a recessed cross section 213 corresponding to the forming cross section of the punch 202. After insertion of the forming die 202, the backside in the head region of the punch 202 is smoothed smooth, so that then the pressure plate 206 can be mounted without play. Mounting screws 214 serve to secure the unit 200 to the top of a punch tool (not shown).
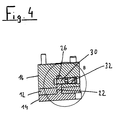
- a punch unit 10 in which a pressure plate 12 is arranged between a forming punch 14 and a punch holding plate 16.
- the punching forces are transmitted from the punch plate 16 via the pressure plate 12 on the punch 14, wherein the contact between the pressure plate 12 and the punch 14 takes place in the region of a shoulder 18, which does not mark the rear end of the punch 14.
- the shoulder 18 forms the head side of a shaped cross-section 20, wherein in the area the shoulder 18 as the rear end of the punch 14, a holding shoe 22 connects, which has a certain height relative to the shoulder 18 and a certain cross-section.
- the projection of the holding shoe 22 should completely hit the shoulder 18, since the mold cross section 20 is otherwise very difficult to produce and possibly also strength problems in the transition region between the holding shoe 22 and the shoulder 18 may occur.
- the shoulder 18 and the shoe are at right angles to each other.
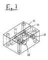
- the holding shoe 22 engages in a slot 24 (see Fig. 7 ) on the underside of the punch plate 16 a.
- holes 26 in the holding shoe 22 are aligned with holes 28 in the punch receiving plate 24, which are provided with an internal thread.
- the intermediate pressure plate 12 is screwed to the punch holder plate 16.
- the bolts 30 also allow the transmission of tensile forces, such as occur during a return movement after a punching stroke. These forces can be in the order of 10 to 15% of the actual punching forces, so that sufficient strength in the area of the screw connection must be taken into account.
- the screw connection itself is in Fig. 4 and 5 illustrated in more detail.
- the holding shoe 22 is shown in cross-section and it can be seen that the holes 26 run in the holding shoe 22 from the edge regions in each case conically towards the center. Accordingly, this hole cooperates with a threaded bolt 30, whose head is frustoconical. As a result, the holding shoe and thus the punch 14 is precisely positioned when screwing the bolt by playing with his shoulder is pulled against the pressure plate.
- a second threaded bolt 32 serves to secure the first threaded bolt 30 with the truncated cone head.
- the solution shown makes it possible to use a plurality of punches 14 with very different shape cross sections with one and the same punch plate 16 and pressure plate 12 in combination.
- the punch holder plate must, according to the preceding description, only have a slot 24 for receiving the holding shoe and fastening means which cooperate with the attachment means of the punch 14 executed in the example as simple bores 26.
- the pressure plate itself need only be provided with a simple slot which is adapted to the cross-sectional shape of the holding shoe 22.
- the guidance or positioning of the punch 14 is taken over by the punch holder plate 16, so that the slot 34 (see Fig. 8 ) in the pressure plate 12 need not be made too great in terms of accuracy, which makes it possible to harden the pressure plate 12 even after the production of the slot 34, which reduces the cost.
- the stamp unit shown makes it possible, for example, to keep blanks of punches 14 ready, which already have the finished holding shoe 22 on their upper side, but in the shank region they have a round or square shape or rectangular cross-section, which allows the omission of a variety of shapes. This can then be produced in a simple manner by wire EDM, which is readily possible due to lack of undercut.
- Another great advantage of the solution shown is that the punch 14 can be removed without removing the punch unit 10 from the punching tool by the two fastening bolts 30, 32 are released.
- a preferred embodiment of a stamp unit 110 is shown, which in turn has a punch plate 116, a pressure plate 112 and a punch 114. Also shown are the fastening bolts 30, 32, which are screwed into threaded bores 128 in the punch-holding plate 116 in order to cooperate with bores 126 on a holding shoe 122 of the punch 114 and fix it to the punch unit 110.
- the in Fig. 9 Stamp unit 110 shown a hold-down 140 which is guided on guide plate 144 and intermediate helical compression springs 142 movable on the pressure plate 112. This is made possible by the "bottom" pressure plate 112 which has respective guide holes for the guide pins 144 in the region of its four corners.
- the guide pins 144 themselves move during compression in free holes 146 in the punch holder plate 116.
- the hold-down 140 serves to hold down the sheet during punching and after the actual punching process as a scraper of the punch in the retraction movement. Since the molding cross-section of the punch 114 marks the largest cross-sectional area and the hold-down 140 has a recess 148 corresponding to the punch cross-section, the punch 114 can be easily removed downwards from the punch unit 110 despite the mounted hold-down 140.
- This construction is made possible only by the pressure plate 112 arranged below, because the hardened material of the pressure plate 112 allows the immediate formation of four ground guide holes 150 which would not be accommodated in the punch holder itself.
- the path of the blank holder 140 is limited by the height of the punch holder plate 116 minus the head height of the guide pin 144th
- Fig. 10 shows the stamp unit 114 from Fig. 9 from the punch side.
- the fastening bolts are replaced by corresponding fastening bolts 132 with laterally over the edge of the punch plate 116 protruding hexagonal heads 133, so that the bolts are accessible according to an open-end wrench even in narrow gaps between adjacent punch units.
- a punching surface 160 of the punch 114 axial threaded hole 162 into which an external thread 164 on a shaft 166 of a slide hammer 168 is screwed.
- the threaded hole 162 is axially aligned with the position of a fixing pin (not shown) of the punch receiving plate, ie axially aligned a suitably trained Passungsrachen 170 in the holding shoe 122 of the punch 114 (see also Fig. 11 ).
- the threaded hole 162 allows the form-fitting fixing of the slide hammer 168 designed as extracting device, wherein by means of the movable hammer 172, which is movable against a stop 174, impact pulses are introduced into the punch 114, so that it can be solved, which may be necessary to disassemble the punch unit from the tool or nachzuschleifen to the punch in the event of stumping.
- the positive connection between the turn as a slide hammer 168 and the transverse bore 362 takes place here by means of a U-shaped adapter 280, wherein a screw 282 by aligned holes in the leg ends and the Transversal bore 362 produces the positive connection between the adapter 280 and the punch 314.
- the adapter 280 is provided with a threaded bushing 284, in which the external thread 164 of the slide hammer can be screwed, so that the impulses exerted by the movable hammer 172 on the stop 174 pulses can be introduced into the punch for releasing it.
- the design of the in Fig. 14 punch punch 314 shown is formed with a band 315, because due to the very slim die shape without tape no sufficient shoulder surface would be available. In such a case, the punch can then be hard-milled or countersunk for production, similar to a Abstreifplatte integrated in the punch unit Fig. 9 is not possible with this form.
- a punch unit 410 is shown with a punch holding plate 416, a pressure plate 412 and a punch 414.
- This stamping unit broadly corresponds to the previously proposed punch units, so that a more detailed description of most details is omitted here.
- the slot 424 in the punch retainer plate 416 is formed with a crosspiece 425 which increases the rigidity of the punch retainer plate in this area.
- the crossbar 425 engages in the assembled state in the already provided Passungsrachen 470 of the punch. It has been shown that dimensional changes in the course of operation can be reduced by the crosspiece, which can be caused, for example, by tightening the fastening screws 432 and the forces thus introduced into the punch holding plate.
- a further embodiment of a punch unit 510 is shown, in which a likewise provided with a cross bar 525 slot 524 in the punch holding plate 516 as well as an aligned slot 534 in the pressure plate 512 is arranged eccentrically offset from one edge.
- a further punch unit 510 is shown, which is arranged back to back with the second punch unit 510.
- the punches 514 of the units can be pressed closer together as a result and can be accommodated in the tool in a correspondingly space-saving manner.
- the remaining details of the stamp units 510 need not be discussed in greater detail here, they will become apparent from the description of the preceding embodiments for those skilled in the drawing.
- a stamp unit 610 which has a special feature of a punch holding plate 616, the receptacles for three punches 614a, 614b and 614c has.
- three slots 624a, 624b and 624c are provided, which in turn are each divided by a transverse web 625.
- Escaping slots in the pressure plate 612, which is also integrally formed, are not recognizable, since the punch holding plate 616 and the pressure plate 612 are mounted together.
- Such an embodiment makes it possible to accommodate three punches in a desired cross-sectional shape and in the desired orientation to each other very space-saving closely together in the tool.
- Other combinations, for example, with two or four or more punch punches are of course readily possible.
Landscapes
- Engineering & Computer Science (AREA)
- Mechanical Engineering (AREA)
- Mounting, Exchange, And Manufacturing Of Dies (AREA)
- Perforating, Stamping-Out Or Severing By Means Other Than Cutting (AREA)
- Footwear And Its Accessory, Manufacturing Method And Apparatuses (AREA)
- Punching Or Piercing (AREA)
- Forging (AREA)
Description
- Die vorliegende Erfindung befasst sich mit einer Stempeleinheit zur Befestigung an einem Oberteil eines Stanzwerkzeuges mit einer Druckplatte, einem Stanzstempel und einer Stempelhalteplatte und mit einem System zum Aufbau von solchen Stempeleinheiten.
- Derartige Stempeleinheiten werden bislang ausschließlich in der Weise aufgebaut, dass ein durchprofilierter Formstempel über seine gesamte Länge mit seinem Stanzquerschnitt hergestellt wird, indem man ihn aus einem vollen gehärteten Block über seine gesamte Länge mittels Drahterodieren herausschneidet. Ein übliches Verfahren zur Befestigung des Stempels in der Stempelhalteplatte besteht darin, dass man eine Prägematrize in Form des Stempels mit der gewünschten umlaufenden Anfasung herstellt. Das obere Ende des Formstempels wird anschließend erhitzt und die Fase an dem Stempel mittels einer Presse in der Prägeform angestaucht. Die Fase des angestauchten Kopfes dient auch dazu, den Stanzstempel zurückzuziehen, wobei durch das beschriebene Erhitzen der zusätzliche Effekt eintritt, dass in Folge des Anlasseffektes die Härte des Stempels im Kopfbereich gemindert wird.
- Nach dem Einschieben des Formstempels in die Stempelaufnahme wird diese kopfseitig überschliffen und anschließend mit einer Druckplatte aus gehärtetem Stahl verschraubt. Die Stanzkräfte wirken dann bei einem Stanzhub über die Druckplatte auf den Stempelkopf, der das hintere Ende des Formstempels bildet.
- Diese Lösung erfordert es, dass für jeden erforderlichen Stanzstempelquerschnitt eine eigene Stempeleinheit bereitgehalten werden muss, wobei die Stempelhalteplatte individuell für jeden einzelnen Formstempel gefertigt werden muss.
- Eine dermaßen hergestellte Einheit wird an einem Oberteil eines Stanzwerkzeuges beispielsweise mittels zwei Schrauben befestigt, wobei es sich meist um ein säulengeführtes Standardgestell handelt. Es können mehrere einzelne Stempeleinheiten in ein Werkzeug eingebaut werden, wenn mehrere gewünschte Durchbrüche gefertigt werden sollen.
- In der
DE 103 11 911 A1 ist eine Schnellwechselvorrichtung für Stanz-, Schneid-, Loch- oder Konturstempel beschrieben. Die Vorrichtung umfasst eine Stempelhalteplatte mit Aufnahmebohrungen für die Stempel. In Arbeitsrichtung unterhalb der Stempelplatte ist eine verschiebbare Klemmplatte mit Freibohrungen angeordnet, deren Anordnung derjenigen der Aufnahmebohrungen entspricht. Ein Stempel der Schnellwechselvorrichtung ist als Lochstempel ausgebildet, der an seinem Druck beaufschlagten Ende, das in dem Bereich des der Klemmplatte abgewandten Endes der Stempelhalteplatte angeordnet ist, ein verbreitertes Kopfteil aufweist. Zwischen dem Kopfteil und der Klemmplatte durchsetzt der Lochstempel eine Distanzhülse. Ein anderer Stempel der Schnellwechselvorrichtung ist als Konturstempel ausgebildet. Dieser hat einen Ansatz, an dem die Klemmplatte anliegt. Der Konturstempel weist eine Querbohrung auf, in die ein Passstift eingesteckt ist. Beim Einbau ist dieser Passstift bündig in eine Fräsung der Stempelhalteplatte versenkt. Die eigentliche Stanzkraft wird über den Stempelkopf geleitet. Beim Verschieben der Klemmplatte wird betreffend den Lochstempel die Distanzhülse und betreffend den Konturstempel der Passstift von der Klemmplatte abgedeckt, sodass die Stempel nicht herausfallen können und zudem Kräfte beim Zurückziehen der Stempel übertragen werden können. - In der
ist eine Stempeleinheit mit einem Stanzstempel und einem Stempelhalter beschrieben. Stanzstempel und Stempelhalter sind miteinander mittels einer von der Seite des Stempelhalters zugänglichen Schraube miteinander fest verbunden. Der Stempelhalter ist durch ein Stempelhalteroberteil und ein Stempelhalterunterteil, die miteinander durch eine Verschraubung fest verbunden sind, ferner eine in das Stempelhalteroberteil eingeschraubte Schlagplatte gebildet. Das Stempelhalteroberteil durchsetzt in einem Bereich reduzierten Querschnitts einen ringförmigen Federträger, der in diesem Bereich des Stempelhalteroberteils in diesem verschieblich geführt ist. Eine Vielzahl von Federn sind zwischen dem Stempelhalteroberteil und dem Federträger wirksam und drücken bei nicht beaufschlagter Schlagplatte den Federträger gegen einen Ansatz des Stempelhalterunterteils. Zusätzlich umschließt den Spannstempel eine Stempelführung. Beim Stanzvorgang legt sich die Stempelführung auf das zu stanzende Werkstück und drückt den Federträger, bei zusammendrücken der Federn, gegen das Stempelhalteroberteil. Nach Beendigung des Stanzvorgangs drücken die Federn den Federträger und damit auch die Stempelführung wieder vom Stempelhalteroberteil weg, sodass mittels der Stempelführung Material vom Stanzstempel abgestreift werden kann.GB 2 038 690 A - Aus der
DE 10 2010 025 105 A1 ist ein Stiftausziehwerkzeug zum Entfernen eines Anschlagstiftes aus einer Verankerungsstruktur bekannt. Das Werkzeug umfasst einen Gleithammer. Die Aufgabe der vorliegenden Erfindung besteht darin, eine Stanzstempeleinheit sowie ein System zum Aufbau von Stempeleinheiten zu schaffen, deren Herstellungsaufwand vermindert ist. - Die Aufgabe wird betreffend die Stempeleinheit erfindungsgemäß dadurch gelöst, dass bei der Stempeleinheit zur Befestigung an einem Oberteil eines Stanzwerkzeuges, mit einer Druckplatte, einem Stanzstempel und einer Stempelhalteplatte, wobei die Druckplatte zwischen den Stanzstempel und der Stempelhalteplatte angeordnet ist, die Stanzkräfte von der Stempelhalteplatte über die Druckplatte auf den Stanzstempel übertragen werden und die Druckplatte bei einem Stanzschub auf eine Schulter des Stanzstempels wirkt, wobei an der Schulter des Stanzstempels ein Halteschuh vorgesehen ist, der durch einen Schlitz in der Druckplatte ragt und in der Stempelhalteplatte befestigt ist.
- Die erfindungsgemäße Lösung bietet den Vorteil, dass sich die Länge des durchgehend profilierten Formstempels um ca. 30 % verkürzen lässt, wobei auch eine erhebliche Arbeitszeitverkürzung eintritt. Die einzelnen Teile können bei der erfindungsgemäßen Lösung auch lösbar miteinander verschraubt sein, so dass das Anstauchen und das Herstellen einer exakten Anstauchmatrize zur Herstellung des Stanzstempels ebenso entfällt wie das Überschleifen des angestauchten Formstempels nach dem Einsetzen in die Stempelhalteplatte. Ein weiterer Vorteil besteht darin, dass Stanzstempel mit unterschiedlichen Formquerschnitten mit standardisierten Druckplatten und Stempelhalteplatten eingesetzt werden können, da diese nicht mehr entsprechend der Profilierung des Stempels ausgespart werden müssen. Dabei ist es sogar möglich, dass der Querschnitt des Stempels in einigen Bereichen größer ist als die Stempel-Aufnahmeplatte, so dass Mehrfachaufnahmeplatten vermieden werden können. Müssen beispielsweise die Maße eines durchprofilierten Formstempels geändert werden, ist es nicht notwendig, auch die Stempelaufnahmeplatte zu ändern.
- Gemäß der Erfindung ist vorgesehen, dass an der Schulter des Stanzstempels ein Halteschuh vorgesehen ist, der durch einen Schlitz in der Druckplatte ragt und in der Stempelhalteplatte befestigt ist. Der Halteschuh ist vorzugsweise mit bestimmten Abmessungen gefertigt, so dass, wie bereits zuvor angedeutet, problemlos Stanzstempel mit unterschiedlichen Formquerschnitten gemeinsam mit standardisierten Stempelhalteplatten und Druckplatten eingesetzt werden können, deren Öffnungen nicht mehr der individuellen Formgebung des Stanzstempels sondern dem standardisierten Halteschuh angepasst sind. Vorzugsweise ist der Halteschuh zu der Schulter in einem rechten Winkel angeordnet.
- In einer bevorzugten Ausführungsform der Erfindung weist die Stempelhalteplatte lösbare Befestigungsmittel auf, die mit korrespondieren Befestigungsmitteln an dem Halteschuh zusammenwirken. Dadurch ist es möglich, den Stempel im Werkzeug zu wechseln, ohne dass die Stempeleinheit von dem Gesamtstanzwerkzeug gelöst werden muss. Im einfachsten Fall kann in dem Halteschuh wenigstens eine Bohrung vorgesehen sein, in welche ein Bolzen eingreift. Nach dem Lösen des Bolzens ist bei dieser Ausführungsform ohne weiteres ein Herausziehen des Stanzstempels nach unten aus der Aufnahme für den
- Halteschuh in der Stempelhalteplatte und der Druckplatte möglich. Der standardisierte Halteschuh ermöglicht es auch, Stempelrohlinge mit einem entsprechenden Halteschuh auf Lager zu nehmen und dann im Bedarfsfall in kürzester Zeit durch einfaches Drahterodieren die gewünschte Formgebung des Stanzstempels herzustellen, ohne dass sich dadurch an dem Befestigungssystem des Stanzstempels in der Stempeleinheit etwas ändern würde. Es ist lediglich darauf zu achten, dass der Formquerschnitt einigermaßen gleichmäßig den Halteschuh umfasst, wobei die Projektion des Halteschuhs vorzugsweise immer den Stempelquerschnitt trifft und nicht seitlich übersteht.
- Die Bolzen zum Befestigen des Halteschuhs können beispielsweise einen Gewindebereich aufweisen, der in einer Gewindebohrung in der Stempelhalteplatte eingedreht ist. Dadurch können die Stanzstempel auf einfache Weise gelöst werden.
- Vorzugsweise besitzt der Bolzen einen konischen Kopf, der mit einer konischen Bohrung in dem Halteschuh zusammenwirkt. Beim Eindrehen des Bolzens kann dieser dann den Stanzstempel mit seiner Schulter gegen die Druckplatte ziehen, so dass ein spielfreier Kontakt zwischen der Druckplatte und der Schulter des Stanzstempels sichergestellt ist.
- Zur Befestigung der Stempeleinheit an einem Oberteil eines Stanzwerkzeuges sind zweckmäßigerweise geeignete Befestigungselemente vorgesehen.
- Eine bevorzugte Weiterbildung der Stempeleinheit sieht vor, dass die Stempeleinheit einen Niederhalter aufweist, der mittels Führungsbolzen federnd an der Druckplatte geführt ist. Ein solcher Niederhalter ist bei der erfindungsgemäßen Anordnung der Elemente einer Stempeleinheit besonders einfach zu verwirklichen, da die gehärtete Druckplatte ohne weiteres geschliffene Führungsbohrungen für die Führungsbolzen verschleißfrei aufnehmen kann. Die Führungsbolzen können aus Bronze oder beschichteten gehärtetem Stahl bestehen, um nur zwei Beispiele zu nennen. Beim Zusammendrücken von Federelementen durch den Stanzhub bewegen sich die vier Führungssäulen dann in der Stempelhalteplatte in dafür vorgesehenen Freibohrungen nach oben. Begrenzt wird der Weg durch die Höhe der Stempelhalteplatte minus der Kopfhöhe der Führungsbolzen.
- Vorzugsweise ist in dem Schlitz der Stempelhalteplatte zur Aufnahme des Halteschuhs des Stanzstempels ein Quersteg vorgesehen. Dieser Quersteg, der im Bereich eines Passungsrachens des Stanzstempels liegt, erhöht die Stabilität der Stempelhalteplatte im Bereich des Schlitzes, so dass es nicht zu Maßänderungen in Folge der hohen wirkenden Kräfte durch das Anziehen der Befestigungsbolzen kommen kann. In einer weiteren bevorzugten Ausführungsform der Erfindung ist vorgesehen, dass der Schlitz in der Stempelhalteplatte und der Schlitz in der Druckplatte fluchtend außermittig versetzt angeordnet sind. Durch die asymmetrische Anordnung der Aufnahmenester für den Stempelschuh können sehr schmale Stanzstempel sehr nahe beieinander positioniert werden, was für bestimmte Anwendungsfälle einen Vorteil darstellen kann. Entsprechend werden die Stempeleinheiten dann mit den Seiten des geringeren Abstandes zu den Schlitzen gegeneinander im Werkzeug montiert.
- Vorzugsweise besitzt der Stanzstempel einen Ansatz für eine Auszugsvorrichtung zum Ausziehen in Stanzrichtung.
- Die Stempel des vorliegenden Systems werden nach der Montage der Stempelhalteplatte zum Abschluss eingebaut, nach dem die Stempelhalteplatte verschraubt und verstiftet ist, da die Schulter des Stempels je nach Ausführung die Schrauben- und Stiftlöcher nach der Montage verdecken.
- Dies ist besonders dann der Fall, wenn der Stempel eine breite Schulter hat, die sich an der Druckplatte abstüzt, um den Stanzdruck aufzunehmen, so dass in einem solchen Fall eine Demontage nur nach Entfernung einer Abstreifplatte möglich ist, sofern eine solche vorhanden ist. Entsprechend muss auch der Stanzstempel in einem ersten Schritt demontiert werden, wenn er stumpf ist oder die ganze Stempeleinheit ausgebaut werden soll.
- Es hat sich gezeigt, dass die Stanzstempel nach dem Lösen der Halteschrauben nicht immer ohne weiteres entfernen lassen, da sie sich in den engen Passungen verklemmen können. Hierzu bietet der vorgesehene Ansatz eine Möglichkeit, ein Auszugswerkzeug anzusetzen, um gezielt Schlagimpulse auf den Stanzstempel auszuüben, so dass dieser sich aus der Stempeleinheit löst.
- Der Ansatz kann bei einer ersten Ausführungsform wenigstens eine transversal zur Stanzrichtung liegende Sack- oder Durchgangsbohrung aufweisen, bei Stanzstempel mit größeren Stanzflächen ist es auch in einer weiteren bevorzugten Ausführungsform möglich, in der Stanzfläche eine Gewindebohrung vorzusehen, die parallel zur Stanzrichtung ausgerichtet ist. Vorzugsweise liegen die zuvor beschriebenen Bohrungen axial in der Flucht einer Fixierung des Halteschuhs, die in der Regel mittig angeordnet ist.
- Mit Hilfe der Ansätze lässt sich eine Auszugsvorrichtung zur Demontage des Stanzstempels ansetzen, die einen Gleithammer aufweist, der über ein entsprechend ausgebildetes Adapterelement mit den Ansatz an dem Stanzstempel formschlüssig verbindbar ist. Bei einer Gewindebohrung in der Stanzfläche kann dieses Adapterelement ganz einfach aus einem Außengewinde ggf. unmittelbar auf dem Führungsstab des Gleithammers bestehen, während bei einer Transversalbohrung ein u-förmiger Adapter vorgesehen sein kann, der mittels eines Querbolzens die formschlüssige Verbindung zu dem Stanzstempel zum Einleiten der Schlagimpulse herstellt.
- Gegenstand der vorliegenden Anmeldung ist auch die Schaffung eines Systems zum Aufbau von Stempeleinheiten nach einem der vorhergehenden Ansprüche. Wie bereits erwähnt, erlaubt es die erfindungsgemäße Lösung, standardisierte Stempelhalteplatten und Druckplatten mit Stanzstempeln unterschiedlicher Querschnittsform zu kombinieren. So können beispielsweise Stempelhalteplatten und Druckplatten paarweise in einigen wenigen Standardgrößen bereitgehalten werden, die dann mit den Stanzstempeln aufgrund der normierten Halteschuhe frei kombinierbar sind. Auf die Möglichkeit, Rohlinge mit fertigen Halteschuhen vorzuhalten, wurde bereits hingewiesen. Die endgültige Formgebung der Stanzstempel kann dann kurzfristig und schnell erfolgen.
- Ein weiterer Vorteil der erfindungsgemäßen Lösung besteht allgemein darin, dass es möglich ist, Stempelhalteplatten und Druckplatten einzusetzen, deren Querschnitt nicht wesentlich größer sein muss als der Querschnitt des Stanzstempels. Dadurch lässt sich eine erheblich höhere Packungsdichte der Stempeleinheiten bei der Montage im Stanzwerkzeug erreichen. Im Einzelfall kann dies beträchtliche Kostenvorteile bei Stanzvorgängen bedeuten.
- Um die Kombinationsmöglichkeiten unter idealer Anordnung der Stanzstempel zueinander zu erhöhen, können auch Ausführungsformen einer Stanzstempeleinheit von Vorteil sein, bei welchem eine einzige Stempelhalteplatte und / oder auch eine einzige Druckplatte zur Aufnahme einer Mehrzahl von Stanzstempeln vorgesehen sind. Entsprechend verfügt eine derartige Stempelhalteplatte und / oder Druckplatte über eine Mehrzahl von Schlitzen zur Aufnahme des jeweiligen Halteschuhs eines Stanzstempels. Die Schlitze können parallel oder in einem beliebigen Winkel zueinander angeordnet werden, so dass sich mehrere Stanzstempel sehr platzsparend im Werkzeug anordnen lassen.
- Nachfolgend wird anhand der beigefügten Zeichnungen näher auf Ausführungsbeispiele der Erfindung eingegangen.
- Fig. 1
- eine Stempeleinheit nach dem Stand der Technik in Schrägansicht;
- Fig. 2
- ein Explosionsschaubild des Stanzstempels nach
Fig. 1 ; - Fig. 3
- ein Explosionsschaubild einer Stempeleinheit in Schrägansicht;
- Fig. 4
- einen Querschnitt der Stempeleinheit nach
Fig. 3 ; - Fig. 5
- ein Detail B aus
Fig. 4 ; - Fig. 6
- eine Schrägansicht des Stanzstempels;
- Fig. 7
- eine Schrägansicht der Stempelhalteplatte;
- Fig. 8
- eine Schrägansicht der Druckplatte;
- Fig. 9
- eine Stempeleinheit in Schrägansicht mit einem zusätzlichen Niederhalter;
- Fig. 10
- eine Schrägansicht eines Stanzstempels mit einer Auzugsvorrichtung;
- Fig. 11
- eine Schrägansicht des Stanzstempels der Stempeleinheit nach
Fig. 1 ; - Fig. 12
- eine Schrägansicht einer weiteren Ausführungsform einer Stempeleinheit mit einer entsprechend angepassten Auszugsvorrichtung;
- Fig. 13
- eine Seitenansicht der Stempeleinheit und der Ausziehvorrichtung nach
Fig. 12 ; - Fig. 14
- eine seitliche perspektivische Ansicht des Stanzstempels der Stempeleinheit nach
Fig. 12 und 13 ; - Fig. 15
- ein Explosionsschaubild einer weiteren Ausführungsform einer Stempeleinheit;
- Fig. 16
- ein Explosionsschaubild von Stempeleinheiten gemäß einer weiteren Ausführungsform;
- Fig. 17
- ein Explosionsschaubild einer Stempeleinheit mit mehreren Stanzstempeln.
- In
Fig. 1 ist eine Stempeleinheit 200 nach dem Stand der Technik gezeigt. Diese Stempeleinheit 200 besteht im wesentlichen aus einem Formstempel 202, einer Stempelaufnahmeplatte 204 und einer Druckplatte 206, wobei die Stempelhalteplatte 204 zwischen der Druckplatte 206 und dem Stempel 202 angeordnet ist. Die Stanzkräfte werden durch die Druckplatte 206 auf einen angestauchten Kopf 208 (sieheFig. 2 ) des Formstempels 202 übertragen, wobei die Druckplatte 206 mittels Senkkopfschrauben 210 mit der Stempelhalteplatte 204 verschraubt ist. Der Formstempel 202 ist mittels seines angestauchten Kopfes 208 auch gegen Herausfallen der Stempelhalteplatte 204 gesichert, die hierzu eine Fase 212 aufweist. Nach dem Anstauchen des Kopfes 208 des Formstempels 202 wird dieser in die Stempelhalteplatte 204 eingefügt, wobei die Stempelhalteplatte 204 einen ausgesparten Querschnitt 213 entsprechend dem Formquerschnitt des Stanzstempels 202 aufweist. Nach dem Einsetzen des Formstempels 202 wird die Rückseite im Kopfbereich des Stempels 202 glatt überschliffen, so dass dann die Druckplatte 206 spielfrei montiert werden kann. Befestigungsschrauben 214 dienen dazu, die Einheit 200 an der Oberseite eines Stempelwerkzeuges (nicht gezeigt) zu befestigen. - Diese Lösung nach dem Stand der Technik bedingt, dass der Formstempel 202 immer auch die vollständige Höhe der Stempelhalterplatte überdecken muss und entsprechend länger gefertigt sein muss. Die Art der Anbringung in der Einheit bedingt auch, dass der Stanzstempel 202 nur nach Entnahme der Einheit aus dem Stanzwerkzeug zerlegt werden kann, um beispielsweise den Formstempel nachzuschleifen oder auszutauschen. Zudem muss für jeden Formstempel eine passende Stempelhalteplatte bereit gehalten werden, die entsprechend aufwendig gefertigt werden muss. Aufgrund des Überschleifens ist jeder Stanzstempel individuell mit einer einzigen Stempelhalteplatte gepaart.
- In
Fig. 3 ist eine Stempeleinheit 10 gezeigt, bei welcher eine Druckplatte 12 zwischen einem Formstempel 14 und einer Stempelhalteplatte 16 angeordnet ist. Die Stanzkräfte werden dabei von der Stempelhalteplatte 16 über die Druckplatte 12 auf den Stanzstempel 14 übertragen, wobei der Kontakt zwischen der Druckplatte 12 und dem Stanzstempel 14 im Bereich einer Schulter 18 stattfindet, die nicht das rückwärtige Ende des Stanzstempels 14 markiert. Die Schulter 18 bildet die Kopfseite eines Formquerschnittes 20, wobei sich im Bereich der Schulter 18 als rückwärtiges Ende des Stanzstempels 14 ein Halteschuh 22 anschließt, der eine bestimmte Höhe bezogen auf die Schulter 18 und einen bestimmten Querschnitt besitzt. Die Projektion des Halteschuhs 22 sollte dabei vollständig die Schulter 18 treffen, da der Formquerschnitt 20 ansonsten sehr schwer herzustellen ist und möglicherweise auch Festigkeitsprobleme im Übergangsbereich zwischen dem Halteschuh 22 und der Schulter 18 auftreten können. Die Schulter 18 und der Halteschuh stehen in einem rechten Winkel zueinander. - Der Halteschuh 22 greift in einen Schlitz 24 (siehe
Fig. 7 ) an der Unterseite der Stempelhalteplatte 16 ein. Im eingesetzten Zustand fluchten Bohrungen 26 in dem Halteschuh 22 mit Bohrungen 28 in der Stempelaufnahmeplatte 24, die mit einem Innengewinde versehen sind. Dies ermöglicht ist, Gewindebolzen 30 in die Bohrungen 28 einzudrehen, die den Stanzstempel 14 an der Stempelhalteplatte 16 fixieren. Die zwischenliegende Druckplatte 12 ist mit der Stempelhalteplatte 16 verschraubt. Die Bolzen 30 ermöglichen auch die Übertragung von Zugkräften, wie sie bei einer Rückholbewegung nach einem Stanzhub auftreten. Diese Kräfte können in einer Größenordnung von 10 bis 15 % der eigentlichen Stanzkräfte liegen, so dass ausreichende Festigkeiten im Bereich der Schraubverbindung zu beachten sind. Die Schraubverbindung selbst ist inFig. 4 und5 näher veranschaulicht. Dort ist der Halteschuh 22 im Querschnitt dargestellt und es ist erkennbar, dass die Bohrungen 26 in dem Halteschuh 22 von den Randbereichen her jeweils konisch zur Mitte hin zulaufen. Entsprechend wirkt diese Bohrung mit einem Gewindebolzen 30 zusammen, dessen Kopf kegelstumpfförmig ausgebildet ist. Dadurch wird der Halteschuh und damit der Stanzstempel 14 beim Eindrehen des Bolzens exakt positioniert, indem er mit seiner Schulter spielfrei gegen die Druckplatte gezogen wird. Ein zweiter Gewindebolzen 32 dient zur Sicherung des ersten Gewindebolzens 30 mit dem Kegelstumpfkopf. Alternativ kann auch ein Bolzen mit einem seitlich über die Stempelplatte 16 überstehenden Kopf, z. B. einem Sechskantkopf, verwendet werden. Dies kann vorteilhaft sein, wenn mehrere Halteplatten 16 eng beieinander liegen, da die Köpfe dann mit einem Mehrkantschlüssel gut erreichbar sind, ohne dass die Halteplatten zum Wechsel des Stanzstempels aus dem Werkzeug entnommen werden müssen. - Die gezeigte Lösung ermöglicht es, eine Vielzahl von Stanzstempeln 14 mit sehr unterschiedlichen Formquerschnitten mit ein und derselben Stempelhalteplatte 16 und Druckplatte 12 in Kombination einzusetzen. Die Stempelhalteplatte muss entsprechend der vorhergehenden Beschreibung lediglich einen Schlitz 24 zur Aufnahme des Halteschuhs und Befestigungsmittel aufweisen, die mit den im Beispielsfall als einfachen Bohrungen 26 ausgeführten Befestigungsmitteln des Stanzstempels 14 zusammenwirken. Die Druckplatte selbst muss lediglich mit einem einfachen Schlitz versehen sein, der an die Querschnittsform des Halteschuhs 22 angepasst ist. Die Führung bzw. Positionierung des Stanzstempels 14 wird aber von der Stempelhalteplatte 16 übernommen, so dass an den Schlitz 34 (siehe
Fig. 8 ) in der Druckplatte 12 keine allzu großen Anforderungen hinsichtlich der Genauigkeit gestellt werden müssen, was es möglich macht, die Druckplatte 12 auch nach der Herstellung des Schlitzes 34 zu härten, was die Kosten senkt. - Die gezeigte Stempeleinheit ermöglicht es, beispielsweise Rohlinge von Stanzstempeln 14 bereit zu halten, die an ihrer Oberseite bereits über den fertig ausgebildeten Halteschuh 22 verfügen, im Schaftbereich jedoch einen runden oder viereckigen oder rechteckigen Querschnitt besitzen, der das Aussparen einer Vielzahl von Formen ermöglicht. Diese kann dann auf einfache Weise im Drahterodierverfahren hergestellt werden, was aufgrund fehlender Hinterschneidung ohne weiteres möglich ist. Ein weiterer großer Vorteil der gezeigten Lösung besteht darin, dass der Stempel 14 auch ohne Entnahme der Stempeleinheit 10 aus dem Stanzwerkzeug entfernt werden kann, indem die beiden Befestigungsbolzen 30, 32 gelöst werden. Es ist nicht mehr notwendig, für jeden Formstempel eine eigens aufwendig gefertigte Stempelhaltplatte bereitzuhalten, sondern es ist möglich, mit einer geringen Anzahl von Stempelhalteplatten, die beispielsweise verschiedene Größen abdecken, praktisch alle in einem Größenbereich geforderten Formquerschnitte des Stanzstempels zu realisieren. Neben den Herstellungskosten vermindern sich dadurch auch die Lagerhaltungskosten.
- In
Fig. 9 ist eine bevorzugte Weiterbildung einer Stempeleinheit 110 gezeigt, die wiederum eine Stempelhalteplatte 116, eine Druckplatte 112 und einen Stanzstempel 114 aufweist. Gezeigt sind wiederum auch die Befestigungsbolzen 30, 32, die in Gewindebohrungen 128 in der Stempelhalteplatte 116 eingeschraubt werden, um mit Bohrungen 126 an einem Halteschuh 122 des Stanzstempels 114 zusammenzuwirken und diesen an der Stempeleinheit 110 zu fixieren. Zusätzlich zu der zuvor beschriebenen Ausführungsform besitzt die inFig. 9 gezeigte Stempeleinheit 110 einen Niederhalter 140, der über Führungsbolzen 144 und zwischenliegende Schraubendruckfedern 142 beweglich an der Druckplatte 112 geführt ist. Dies wird durch die "unten" angeordnete Druckplatte 112 ermöglicht, die im Bereich ihrer vier Ecken jeweils Führungsbohrungen für die Führungsbolzen 144 aufweist. Die Führungsbolzen 144 selbst bewegen sich beim Einfedern in Freibohrungen 146 in der Stempelhalteplatte 116. Der Niederhalter 140 dient der Niederhaltung des Bleches beim Stanzen und nach dem eigentlichen Stanzvorgang als Abstreifer des Stempels bei der Rückzugsbewegung. Da der Formquerschnitt des Stanzstempels 114 den größten Querschnittsbereich markiert und der Niederhalter 140 ein dem Stanzstempelquerschnitt entsprechende Aussparung 148 aufweist, kann der Stanzstempel 114 trotz des montierten Niederhalters 140 problemlos nach unten aus der Stempeleinheit 110 entnommen werden. Diese Konstruktion wird erst durch die unten angeordnete Druckplatte 112 ermöglicht, weil das gehärtete Material der Druckplatte 112 die unmittelbare Ausbildung von vier geschliffenen Führungsbohrungen 150 erlaubt, die in der Stempelaufnahme selbst nicht unterzubringen wären. Der Weg des Niederhalters 140 wird begrenzt durch die Höhe der Stempelhalteplatte 116 minus der Kopfhöhe der Führungsbolzen 144. -
Fig. 10 zeigt die Stempeleinheit 114 ausFig. 9 von der Stanzstempelseite her. Bei dieser Ausführungsform sind die Befestigungsbolzen durch entsprechende Befestigungsbolzen 132 mit seitlich über die Flanke der Stempelhalteplatte 116 hervorstehenden Sechskantköpfen 133 ersetzt, so dass die Bolzen entsprechend mit einem Maulschlüssel auch in engen Spalten zwischen nebeneinander liegenden Stempeleinheiten zugänglich sind. - Gut erkennbar ist auch eine in etwa mittig in einer Stanzfläche 160 des Stanzstempels 114 liegende axiale Gewindebohrung 162, in die ein Außengewinde 164 auf einem Schaft 166 eines Gleithammers 168 einschraubbar ist. Die Gewindebohrung 162 liegt axial fluchtend zur Position eines Fixierstiftes (nicht gezeigt) der Stempelaufnahmeplatte, d.h. axial fluchtend zu einem entsprechend ausgebildeten Passungsrachen 170 im Halteschuh 122 des Stanzstempels 114 (siehe auch
Fig. 11 ). - Sollte sich nach dem Lösen der Bolzen 132 der Stanzstempel 114 nicht entnehmen lassen, weil er sich beispielsweise unter der Einwirkung der Klemmkräfte mit seinem Schuh verklemmt hat, erlaubt die Gewindebohrung 162 das formschlüssige Festlegen der als Gleithammer 168 ausgebildeten Auszugsvorrichtung, wobei mit Hilfe des beweglichen Hammers 172, der gegen einen Anschlag 174 beweglich ist, Schlagimpulse in den Stanzstempel 114 einleitbar sind, so dass dieser sich lösen lässt, was unter Umständen notwendig ist, um die Stempeleinheit aus dem Werkzeug zu demontieren oder auch um den Stanzstempel im Falle eines Stumpfwerdens nachzuschleifen.
- Die in
Fig. 10 und 11 gezeigte Lösung ist in Fällen ohne weiteres anwendbar, wo der Stanzstempel 114 eine hinreichend große Stanzfläche 160 aufweist, um ohne für die Funktionsfähigkeit bedeutende Materialschwächung eine entsprechende Axialbohrung 162 für das Innengewinde einzubringen. Bei sehr schmal bauenden Stanzstempeln ist als weitere Ausführungsform für einen Ansatz zum Ansetzen einer Auszugsvorrichtung eine Transversalbohrung 362 (sieheFig. 14 ) in einem Stanzstempel 314 vorgesehen, wobei die Transversalbohrung 362 wiederum in Flucht zu einem Passungsrachen 370 des Stanzstempels 314 liegt. AusFig. 12 und 13 ist gut zu erkennen, dass der sehr schmale Stanzstempel nicht genug Material bietet, um eine Innengewindebohrung entsprechendFig. 10 und 11 vorzusehen. Die formschlüssige Verbindung zwischen der wiederum als Gleithammer 168 und der Transversalbohrung 362 erfolgt hier mittels eines u-förmigen Adapters 280, wobei eine Schraubverbindung 282 durch fluchtende Bohrungen in den Schenkelenden sowie die Transversalbohrung 362 die formschlüssige Verbindung zwischen dem Adapter 280 und dem Stanzstempel 314 herstellt. An seinem anderen Ende ist der Adapter 280 mit einer Gewindebuchse 284 versehen, in welche das Außengewinde 164 des Gleithammers einschraubbar ist, so dass die durch den beweglichen Hammer 172 auf den Anschlag 174 ausgeübten Impulse in den Stanzstempel zu dessen Lösen eingeleitet werden können. - Die Bauform des in
Fig. 14 gezeigten Stanzstempels 314 ist mit einem Band 315 ausgebildet, da aufgrund der sehr schlanken Stempelform, ohne Band keine hinreichende Schulterfläche zur Verfügung stünde. In einem solchen Fall kann der Stanzstempel dann zur Herstellung hart gefräst oder senkerodiert werden, eine in die Stanzstempeleinheit integrierte Abstreifenplatte ähnlichFig. 9 ist bei dieser Form nicht möglich. - In
Fig. 15 ist eine Stempeleinheit 410 mit einer Stempelhalteplatte 416, einer Druckplatte 412 sowie einem Stanzstempel 414 gezeigt. Diese Stanzstempeleinheit entspricht in weiten Zügen den bereits zuvor vorgestellten Stanzstempeleinheiten, so dass auf eine nähere Beschreibung der meisten Einzelheiten hier verzichtet wird. Im Unterschied zu den zuvor beschriebenen Ausführungsformen ist jedoch der Schlitz 424 in der Stempelhalteplatte 416 mit einem Quersteg 425 ausgebildet, der die Steifigkeit der Stempelhalteplatte in diesem Bereich erhöht. Der Quersteg 425 greift im montierten Zustand in den ohnehin vorgesehenen Passungsrachen 470 des Stanzstempels ein. Es hat sich gezeigt, dass durch den Quersteg Maßänderungen im Laufe des Betriebes verringert werden können, die beispielsweise durch das Anziehen der Befestigungsschrauben 432 und die damit in die Stempelhalteplatte eingeleiteten Kräfte hervorgerufen werden können. - In
Fig. 16 ist eine weitere Ausführungsform einer Stempeleinheit 510 gezeigt, bei welcher ein ebenfalls mit einem Quersteg 525 versehener Schlitz 524 in der Stempelhalteplatte 516 ebenso wie ein fluchtender Schlitz 534 in der Druckplatte 512 außermittig zu einem Rand versetzt angeordnet ist. Zur Veranschaulichung des Zweckes dieser Maßnahme ist eine weitere Stempeleinheit 510 gezeigt, die Rücken an Rücken mit der zweiten Stempeleinheit 510 angeordnet ist. Dadurch lassen sich im Ergebnis die Stanzstempel 514 der Einheiten näher aneinanderrücken und entsprechend platzsparend im Werkzeug unterbringen. Auf die übrigen Details der Stempeleinheiten 510 braucht an dieser Stelle nicht näher eingegangen zu werden, sie ergeben sich aus der Beschreibung der vorangehenden Ausführungsformen für den Fachmann aus der Zeichnung. - In
Fig. 17 ist schließlich eine Stempeleinheit 610 gezeigt, die als Besonderheit einer Stempelhalteplatte 616 besitzt, die Aufnahmen für drei Stanzstempel 614a, 614b und 614c aufweist. Hierzu sind drei Schlitze 624a, 624b und 624c vorgesehen, die wiederum jeweils durch einen Quersteg 625 geteilt sind. Fluchtende Schlitze in der Druckplatte 612, die ebenfalls einteilig ausgebildet ist, sind nicht erkennbar, da die Stempelhalteplatte 616 und die Druckplatte 612 aneinander montiert sind. Eine derartige Ausführungsform ermöglicht es, drei Stanzstempel in einer gewünschten Querschnittsform und in gewünschter Ausrichtung zueinander sehr platzsparend eng beieinander im Werkzeug unterzubringen. Weitere Kombinationen beispielsweise mit zwei oder vier oder noch mehr Stanzstempeln sind selbstverständlich ohne weiteres möglich.
Claims (14)
- Stempeleinheit zur Befestigung an einem Oberteil eines Stanzwerkzeuges mit einer Druckplatte (12; 112), einem Stanzstempel (14; 114) und einer Stempelhalteplatte (16; 116), wobei die Druckplatte (12; 112) zwischen dem Stanzstempel (14; 114) und der Stempelhalteplatte (16; 116) angeordnet ist, wobei die Stanzkräfte von der Stempelhalteplatte (16; 116) über die Druckplatte (12; 112) auf den Stanzstempel (14; 114) übertragen werden und die Druckplatte (12; 112)bei einem Stanzhub auf eine Schulter (18; 118) des Stanzstempels (14; 114) wirkt, dadurch gekennzeichnet, dass an der Schulter (18; 118) des Stanzstempels (14; 114) ein Halteschuh (22; 122) vorgesehen ist, der durch einen Schlitz (34) in der Druckplatte (12; 112) ragt und in der Stempelhalteplatte (16; 116) befestigt ist.
- Stempeleinheit nach Anspruch 1, dadurch gekennzeichnet, dass zwischen dem Halteschuh (22; 122) und der Schulter (18; 118) ein rechter Winkel vorgesehen ist.
- Stempeleinheit nach Anspruch 1 oder 2, dadurch gekennzeichnet, dass die Stempelhalteplatte (16; 116) lösbare Befestigungsmittel aufweist, die mit korrespondierenden Befestigungsmitteln an dem Halteschuh (22; 122) zusammenwirken.
- Stempeleinheit nach Anspruch 3, dadurch gekennzeichnet, dass in dem Halteschuh (22; 122) wenigstens eine Bohrung (26; 126) vorgesehen ist, in welche ein Bolzen (30) eingreift.
- Stempeleinheit nach Anspruch 4, dadurch gekennzeichnet, dass der Bolzen (30) einen Gewindebereich aufweist, der in eine Gewindebohrung (28) in der Stempelhalteplatte (16) eingreift.
- Stempeleinheit nach Anspruch 4 oder 5, dadurch gekennzeichnet, dass der Kopf des Bolzens (30) und die Gewindebohrung (28) konisch ausgebildet sind, so dass der Bolzen (30) beim Eindrehen den Stanzstempel (14; 114) mit einer Schulter (18; 118) gegen die Druckplatte (12; 112) zieht.
- Stempeleinheit nach einem der vorhergehenden Ansprüche, dadurch gekennzeichnet, dass der Halteschuh (22; 122) in seiner Projektion den Stempelquerschnitt vollständig trifft.
- Stempeleinheit nach einem der vorhergehenden Ansprüche, dadurch gekennzeichnet, dass an der Stempelhalteplatte (16; 116) Befestigungselemente zur Verbindung mit einem Oberteil eines Stanzwerkzeuges vorgesehen sind.
- Stempeleinheit nach einem der vorhergehenden Ansprüche, dadurch gekennzeichnet, dass ein Niederhalter (140) vorgesehen ist, der mittels Führungsbolzen (144) federnd an der Druckplatte (112) geführt ist.
- Stempeleinheit nach einem der vorhergehenden Ansprüche, dadurch gekennzeichnet, dass der Stanzstempel einen Ansatz für eine Auszugsvorrichtung zum Ausziehen in Stanzrichtung aufweist, wobei der Ansatz wenigstens eine transversal zur Stanzrichtung liegende Sack- oder Durchgangsbohrung (362) aufweist.
- Stempeleinheit nach einem der Ansprüche 1 bis 9, dadurch gekennzeichnet, dass der Stanzstempel einen Ansatz für eine Auszugsvorrichtung zum Ausziehen in Stanzrichtung aufweist, wobei der Ansatz eine in der Stanzfläche vorgesehene Gewindebohrung (162) aufweist, die parallel zur Stanzrichtung ausgerichtet ist.
- Stempeleinheit nach einem der vorhergehenden Ansprüche, dadurch gekennzeichnet, dass in einem Schlitz (424; 524; 624) in der Stempelhalteplatte (416;516;616) ein Quersteg (425;525;625) vorgesehen ist.
- Stempeleinheit nach einem der vorhergehenden Ansprüche, dadurch gekennzeichnet, dass eine einzige Stempelhalteplatte (616) und / oder eine einzige Druckplatte (612) mit Aufnahmen für eine Mehrzahl von Stanzstempeln (614a,614b,614c) vorgesehen ist.
- System zum Aufbau von Stempeleinheiten nach einem der vorhergehenden Ansprüche, bestehend aus einer bestimmten Anzahl von Stempelhalteplatten (12) und passenden Druckplatten (14) in bestimmten Größen mit jeweils einem bestimmten Schlitz (24) in der Stempelhalteplatte (16) und einem Schlitz (34) in der Druckplatte zur wahlweisen Aufnahme von Halteschuhen (22) einer Vielzahl von Stanzstempeln (14) mit unterschiedlichen Formquerschnitten.
Applications Claiming Priority (3)
| Application Number | Priority Date | Filing Date | Title |
|---|---|---|---|
| DE102012006665 | 2012-04-03 | ||
| DE102012014698.1A DE102012014698B4 (de) | 2012-04-03 | 2012-07-25 | Stempeleinheit und System zum Aufbau von Stempeleinheiten |
| PCT/EP2012/003723 WO2013149630A1 (de) | 2012-04-03 | 2012-09-05 | Stempeleinheit und system zum aufbau von stempeleinheiten |
Publications (2)
| Publication Number | Publication Date |
|---|---|
| EP2834026A1 EP2834026A1 (de) | 2015-02-11 |
| EP2834026B1 true EP2834026B1 (de) | 2016-10-26 |
Family
ID=49209790
Family Applications (1)
| Application Number | Title | Priority Date | Filing Date |
|---|---|---|---|
| EP12772877.2A Not-in-force EP2834026B1 (de) | 2012-04-03 | 2012-09-05 | Stempeleinheit und system zum aufbau von stempeleinheiten |
Country Status (5)
| Country | Link |
|---|---|
| US (1) | US9579920B2 (de) |
| EP (1) | EP2834026B1 (de) |
| JP (1) | JP6063554B2 (de) |
| DE (1) | DE102012014698B4 (de) |
| WO (1) | WO2013149630A1 (de) |
Families Citing this family (6)
| Publication number | Priority date | Publication date | Assignee | Title |
|---|---|---|---|---|
| DE102012014698B4 (de) * | 2012-04-03 | 2014-07-03 | Julia Vanderpool | Stempeleinheit und System zum Aufbau von Stempeleinheiten |
| DE102012025300A1 (de) | 2012-12-28 | 2014-07-03 | Julia Vanderpool | Verstellbare Stempelaufnahme |
| CN104552451B (zh) * | 2015-01-04 | 2017-04-26 | 京东方科技集团股份有限公司 | 一种裁切装置 |
| US9878461B2 (en) * | 2015-05-14 | 2018-01-30 | Omnitool, Inc. | Rigid punch tool |
| CN108942306B (zh) * | 2018-08-23 | 2021-01-08 | 四川福蓉科技股份公司 | 一种蘑菇头夹具 |
| CN110216192B (zh) * | 2019-05-28 | 2024-06-07 | 东莞智富五金制品有限公司 | 一种快速换模的冲压装置 |
Citations (7)
| Publication number | Priority date | Publication date | Assignee | Title |
|---|---|---|---|---|
| US4092888A (en) * | 1977-07-01 | 1978-06-06 | Wilson Tool Company | Self-stripping punch and guide assembly |
| EP0000762A1 (de) * | 1977-08-10 | 1979-02-21 | Houdaille Industries, Inc. | Abstreifvorrichtung für Stanzstempel und Verfahren zur Herstellung |
| GB2038690A (en) * | 1978-11-20 | 1980-07-30 | Mercer Nairne & Co Ltd | Improved punch assembly |
| EP0628364A1 (de) * | 1993-06-07 | 1994-12-14 | Amada Metrecs Company, Limited | Stanzwerkzeug |
| DE10311911A1 (de) * | 2003-03-17 | 2004-10-07 | Gs-Konstruktion Gmbh | Schnellwechselvorrichtung für Stanz-, Schneid-, Loch- oder Konturstempel |
| DE102008062471A1 (de) * | 2008-12-16 | 2010-06-17 | Pass Stanztechnik Ag | Bearbeitungswerkzeug für ein Werkstück |
| DE102010025105A1 (de) * | 2010-06-25 | 2011-12-29 | Gerhard Ruoff | Stiftausziehwerkzeug für einen Einschlagstift mit Kopf |
Family Cites Families (35)
| Publication number | Priority date | Publication date | Assignee | Title |
|---|---|---|---|---|
| US17455A (en) * | 1857-06-02 | Heel-cuttek for cutting out heels of boots and shoes | ||
| US1910296A (en) * | 1929-02-11 | 1933-05-23 | Guardian Trust Company | Punch retainer mechanism |
| US2420146A (en) * | 1945-09-21 | 1947-05-06 | Mueller Otto | Locking and ejecting device |
| US2997907A (en) * | 1957-11-22 | 1961-08-29 | Constantino Alfred | Self aligning punching apparatus |
| US3103845A (en) * | 1959-04-07 | 1963-09-17 | Porter Prec Products | Demountable retainer for punch and die sets |
| US3563124A (en) * | 1968-12-16 | 1971-02-16 | Dayton Progress Corp | Punch and die retainers |
| US3677118A (en) * | 1970-08-20 | 1972-07-18 | Bendix Corp | Diaphragm trimmer |
| US3935771A (en) * | 1975-02-10 | 1976-02-03 | Houdaille Industries, Inc. | Punch and stripping guide assembly |
| JPS5239881A (en) * | 1975-09-25 | 1977-03-28 | Hitachi Ltd | Puncher for a continous line |
| US4031787A (en) * | 1976-07-28 | 1977-06-28 | Houdaille Industries, Inc. | Punch and stripper assembly |
| US4064917A (en) * | 1976-10-18 | 1977-12-27 | Honeywell Information Systems Inc. | Apparatus for cutting and forming flexible beam leads of an integrated circuit chip |
| IT1156914B (it) * | 1978-03-13 | 1987-02-04 | Lavazza Gian Maria | Procedimento e dispositivo per tranciare da un nastro di lamiera una pluralita' di pezzi continui a forma di pettine |
| US4375774A (en) * | 1979-12-26 | 1983-03-08 | Wilson Tool Company | Adjustable punch head |
| US4377100A (en) * | 1981-02-19 | 1983-03-22 | Wallis Bernard J | Punch retainer |
| DE3241046A1 (de) * | 1982-11-06 | 1984-05-10 | Trumpf GmbH & Co, 7257 Ditzingen | Stanzmaschine, deren stanzstempel als mehrfachstempel ausgebildet ist |
| US4604931A (en) * | 1985-08-16 | 1986-08-12 | Harris Graphics Corporation | Quick change rotary punch |
| US4726270A (en) * | 1987-01-05 | 1988-02-23 | Lucas Rose E | Stamping system |
| US5181438A (en) * | 1990-04-10 | 1993-01-26 | Aip Inc. | Ball lock punch retainer |
| US5038599A (en) * | 1990-04-10 | 1991-08-13 | Aip Inc. | Ball lock punch retainer |
| JP2636127B2 (ja) * | 1993-02-03 | 1997-07-30 | 株式会社アマダメトレックス | パンチング金型 |
| US5839183A (en) * | 1996-09-23 | 1998-11-24 | Porter Precision Products Co. | Punch retainer |
| US5934165A (en) * | 1997-03-19 | 1999-08-10 | Strippit, Inc. | Adjustable punch assembly |
| JP3452491B2 (ja) * | 1998-08-04 | 2003-09-29 | 株式会社アマダ | パンチホルダ装置 |
| JP3551097B2 (ja) * | 1999-09-01 | 2004-08-04 | 松下電器産業株式会社 | プレス加工用パンチ |
| US6679147B1 (en) * | 1999-09-17 | 2004-01-20 | Michael J. Chaulklin | Insertable punch lock |
| US6276247B1 (en) * | 2000-03-03 | 2001-08-21 | Strippit, Inc. | Adjustable punch assembly with releasable locking |
| US6755110B2 (en) * | 2001-06-19 | 2004-06-29 | Wilson Tool International, Inc. | Adjustable length punch assembly |
| DE10261748B4 (de) * | 2002-12-30 | 2011-07-28 | Mate Precision Tooling GmbH, 61440 | Stanzwerkzeug |
| US7707919B1 (en) * | 2005-03-21 | 2010-05-04 | Moeller Manufacturing Company, Inc. | One-piece stripper retainer for a punch |
| JP2008073709A (ja) * | 2006-09-20 | 2008-04-03 | Umix Co Ltd | パンチャー |
| JP4909835B2 (ja) * | 2007-08-02 | 2012-04-04 | 株式会社小松製作所 | プレス機械の金型クランプ機構 |
| JP4462353B2 (ja) * | 2008-01-11 | 2010-05-12 | セイコーエプソン株式会社 | フレキシブル基板の製造方法及びフレキシブル基板打抜装置 |
| EP2522443B1 (de) * | 2008-10-18 | 2014-07-30 | TRUMPF Werkzeugmaschinen GmbH + Co. KG | Bearbeitungsprogramm zum Betreiben einer Stanzmaschine zum stanzenden Bearbeiten von Werkstücken, insbesondere von Blechen |
| US8820200B1 (en) * | 2009-05-27 | 2014-09-02 | Robert Richard Quinn | Modular die system |
| DE102012014698B4 (de) * | 2012-04-03 | 2014-07-03 | Julia Vanderpool | Stempeleinheit und System zum Aufbau von Stempeleinheiten |
-
2012
- 2012-07-25 DE DE102012014698.1A patent/DE102012014698B4/de not_active Expired - Fee Related
- 2012-09-05 WO PCT/EP2012/003723 patent/WO2013149630A1/de not_active Ceased
- 2012-09-05 JP JP2015503759A patent/JP6063554B2/ja not_active Expired - Fee Related
- 2012-09-05 US US14/390,295 patent/US9579920B2/en not_active Expired - Fee Related
- 2012-09-05 EP EP12772877.2A patent/EP2834026B1/de not_active Not-in-force
Patent Citations (7)
| Publication number | Priority date | Publication date | Assignee | Title |
|---|---|---|---|---|
| US4092888A (en) * | 1977-07-01 | 1978-06-06 | Wilson Tool Company | Self-stripping punch and guide assembly |
| EP0000762A1 (de) * | 1977-08-10 | 1979-02-21 | Houdaille Industries, Inc. | Abstreifvorrichtung für Stanzstempel und Verfahren zur Herstellung |
| GB2038690A (en) * | 1978-11-20 | 1980-07-30 | Mercer Nairne & Co Ltd | Improved punch assembly |
| EP0628364A1 (de) * | 1993-06-07 | 1994-12-14 | Amada Metrecs Company, Limited | Stanzwerkzeug |
| DE10311911A1 (de) * | 2003-03-17 | 2004-10-07 | Gs-Konstruktion Gmbh | Schnellwechselvorrichtung für Stanz-, Schneid-, Loch- oder Konturstempel |
| DE102008062471A1 (de) * | 2008-12-16 | 2010-06-17 | Pass Stanztechnik Ag | Bearbeitungswerkzeug für ein Werkstück |
| DE102010025105A1 (de) * | 2010-06-25 | 2011-12-29 | Gerhard Ruoff | Stiftausziehwerkzeug für einen Einschlagstift mit Kopf |
Also Published As
| Publication number | Publication date |
|---|---|
| US9579920B2 (en) | 2017-02-28 |
| JP6063554B2 (ja) | 2017-01-18 |
| WO2013149630A8 (de) | 2014-10-02 |
| DE102012014698A1 (de) | 2013-10-10 |
| JP2015512344A (ja) | 2015-04-27 |
| US20150047521A1 (en) | 2015-02-19 |
| EP2834026A1 (de) | 2015-02-11 |
| DE102012014698B4 (de) | 2014-07-03 |
| WO2013149630A1 (de) | 2013-10-10 |
Similar Documents
| Publication | Publication Date | Title |
|---|---|---|
| EP2834026B1 (de) | Stempeleinheit und system zum aufbau von stempeleinheiten | |
| EP1984590B1 (de) | Verspannbare befestigungseinrichtung | |
| EP1893365B1 (de) | Werkzeugbefestigungseinrichtung für einen keiltrieb | |
| EP2794142B1 (de) | Matrize einer stanzvorrichtung und stanzverfahren | |
| DE69701218T2 (de) | Vorrichtung zum entfernen von ausbruchteilen | |
| DE102021134528B3 (de) | Stanzwerkzeug für den mobilen Einsatz | |
| DE10315724A1 (de) | Durchsetzfügeverfahren und Werkzeug dafür | |
| DE602004000126T2 (de) | Verfahren zur Herstellung von selbststanzenden Muttern | |
| EP3039302A1 (de) | Profilstab sowie profilverbindung | |
| DE3120093A1 (de) | Nietmaschine, insbesondere zum aufnieten der bremsbelaege auf den belagtraeger von bremsbacken | |
| DE3721446C2 (de) | Stanzwerkzeug | |
| WO2015055288A1 (de) | Aufnahmeanordnung eines brechzahnes an einer brechwalze eines brechers | |
| DE69004486T2 (de) | Schneidwerkzeughalter mit Abstreifvorrichtung. | |
| DE3719010A1 (de) | Aufspannvorrichtung fuer werkstuecke | |
| DE102009010363A1 (de) | Fördervorrichtung mit stufenloser Höhenverstellung | |
| DE102006053223B3 (de) | Loch- und Durchzugsstempel | |
| DE202008015601U1 (de) | System zum Aufbauen einer Vorrichtung zum Aufspannen von Werkstücken | |
| EP1559488A2 (de) | Verfahren zur Herstellung von Hohlkörperelement sowie Folgeverbundwerkzeug zur Durchführung des Verfahrens | |
| DE10317015A1 (de) | Vorrichtung zum Stanzen von Werkstücken | |
| DE3406454C2 (de) | ||
| EP2722116B1 (de) | Verfahren und Kneifbackenpaar zum Herstellen einer Bohrspitze, und Schraube, Bohrer oder Bohrniet | |
| EP1624983B1 (de) | Vorrichtung zum entfernen von beulen | |
| DE102005012297B4 (de) | Schmiedemaschine | |
| DE102018111809A1 (de) | Vorrichtung zum entfernen von abfällen aus bogenförmigem material, maschine und zugehöriges verfahren | |
| BE1025998B1 (de) | Werkstückspannvorrichtung und Bürstenherstellungsmaschine |
Legal Events
| Date | Code | Title | Description |
|---|---|---|---|
| PUAI | Public reference made under article 153(3) epc to a published international application that has entered the european phase |
Free format text: ORIGINAL CODE: 0009012 |
|
| 17P | Request for examination filed |
Effective date: 20140910 |
|
| AK | Designated contracting states |
Kind code of ref document: A1 Designated state(s): AL AT BE BG CH CY CZ DE DK EE ES FI FR GB GR HR HU IE IS IT LI LT LU LV MC MK MT NL NO PL PT RO RS SE SI SK SM TR |
|
| AX | Request for extension of the european patent |
Extension state: BA ME |
|
| DAX | Request for extension of the european patent (deleted) | ||
| RIC1 | Information provided on ipc code assigned before grant |
Ipc: B21D 28/34 20060101AFI20160330BHEP |
|
| PUAG | Search results despatched under rule 164(2) epc together with communication from examining division |
Free format text: ORIGINAL CODE: 0009017 |
|
| GRAP | Despatch of communication of intention to grant a patent |
Free format text: ORIGINAL CODE: EPIDOSNIGR1 |
|
| B565 | Issuance of search results under rule 164(2) epc |
Effective date: 20160520 |
|
| INTG | Intention to grant announced |
Effective date: 20160520 |
|
| GRAS | Grant fee paid |
Free format text: ORIGINAL CODE: EPIDOSNIGR3 |
|
| GRAA | (expected) grant |
Free format text: ORIGINAL CODE: 0009210 |
|
| AK | Designated contracting states |
Kind code of ref document: B1 Designated state(s): AL AT BE BG CH CY CZ DE DK EE ES FI FR GB GR HR HU IE IS IT LI LT LU LV MC MK MT NL NO PL PT RO RS SE SI SK SM TR |
|
| REG | Reference to a national code |
Ref country code: GB Ref legal event code: FG4D Free format text: NOT ENGLISH |
|
| REG | Reference to a national code |
Ref country code: CH Ref legal event code: EP |
|
| REG | Reference to a national code |
Ref country code: AT Ref legal event code: REF Ref document number: 839641 Country of ref document: AT Kind code of ref document: T Effective date: 20161115 |
|
| REG | Reference to a national code |
Ref country code: IE Ref legal event code: FG4D Free format text: LANGUAGE OF EP DOCUMENT: GERMAN |
|
| REG | Reference to a national code |
Ref country code: DE Ref legal event code: R096 Ref document number: 502012008639 Country of ref document: DE |
|
| REG | Reference to a national code |
Ref country code: LT Ref legal event code: MG4D |
|
| PG25 | Lapsed in a contracting state [announced via postgrant information from national office to epo] |
Ref country code: LV Free format text: LAPSE BECAUSE OF FAILURE TO SUBMIT A TRANSLATION OF THE DESCRIPTION OR TO PAY THE FEE WITHIN THE PRESCRIBED TIME-LIMIT Effective date: 20161026 |
|
| REG | Reference to a national code |
Ref country code: NL Ref legal event code: MP Effective date: 20161026 |
|
| PG25 | Lapsed in a contracting state [announced via postgrant information from national office to epo] |
Ref country code: GR Free format text: LAPSE BECAUSE OF FAILURE TO SUBMIT A TRANSLATION OF THE DESCRIPTION OR TO PAY THE FEE WITHIN THE PRESCRIBED TIME-LIMIT Effective date: 20170127 Ref country code: LT Free format text: LAPSE BECAUSE OF FAILURE TO SUBMIT A TRANSLATION OF THE DESCRIPTION OR TO PAY THE FEE WITHIN THE PRESCRIBED TIME-LIMIT Effective date: 20161026 Ref country code: SE Free format text: LAPSE BECAUSE OF FAILURE TO SUBMIT A TRANSLATION OF THE DESCRIPTION OR TO PAY THE FEE WITHIN THE PRESCRIBED TIME-LIMIT Effective date: 20161026 Ref country code: NO Free format text: LAPSE BECAUSE OF FAILURE TO SUBMIT A TRANSLATION OF THE DESCRIPTION OR TO PAY THE FEE WITHIN THE PRESCRIBED TIME-LIMIT Effective date: 20170126 |
|
| PG25 | Lapsed in a contracting state [announced via postgrant information from national office to epo] |
Ref country code: PT Free format text: LAPSE BECAUSE OF FAILURE TO SUBMIT A TRANSLATION OF THE DESCRIPTION OR TO PAY THE FEE WITHIN THE PRESCRIBED TIME-LIMIT Effective date: 20170227 Ref country code: RS Free format text: LAPSE BECAUSE OF FAILURE TO SUBMIT A TRANSLATION OF THE DESCRIPTION OR TO PAY THE FEE WITHIN THE PRESCRIBED TIME-LIMIT Effective date: 20161026 Ref country code: NL Free format text: LAPSE BECAUSE OF FAILURE TO SUBMIT A TRANSLATION OF THE DESCRIPTION OR TO PAY THE FEE WITHIN THE PRESCRIBED TIME-LIMIT Effective date: 20161026 Ref country code: HR Free format text: LAPSE BECAUSE OF FAILURE TO SUBMIT A TRANSLATION OF THE DESCRIPTION OR TO PAY THE FEE WITHIN THE PRESCRIBED TIME-LIMIT Effective date: 20161026 Ref country code: FI Free format text: LAPSE BECAUSE OF FAILURE TO SUBMIT A TRANSLATION OF THE DESCRIPTION OR TO PAY THE FEE WITHIN THE PRESCRIBED TIME-LIMIT Effective date: 20161026 Ref country code: IS Free format text: LAPSE BECAUSE OF FAILURE TO SUBMIT A TRANSLATION OF THE DESCRIPTION OR TO PAY THE FEE WITHIN THE PRESCRIBED TIME-LIMIT Effective date: 20170226 Ref country code: PL Free format text: LAPSE BECAUSE OF FAILURE TO SUBMIT A TRANSLATION OF THE DESCRIPTION OR TO PAY THE FEE WITHIN THE PRESCRIBED TIME-LIMIT Effective date: 20161026 Ref country code: ES Free format text: LAPSE BECAUSE OF FAILURE TO SUBMIT A TRANSLATION OF THE DESCRIPTION OR TO PAY THE FEE WITHIN THE PRESCRIBED TIME-LIMIT Effective date: 20161026 |
|
| REG | Reference to a national code |
Ref country code: DE Ref legal event code: R097 Ref document number: 502012008639 Country of ref document: DE |
|
| PG25 | Lapsed in a contracting state [announced via postgrant information from national office to epo] |
Ref country code: RO Free format text: LAPSE BECAUSE OF FAILURE TO SUBMIT A TRANSLATION OF THE DESCRIPTION OR TO PAY THE FEE WITHIN THE PRESCRIBED TIME-LIMIT Effective date: 20161026 Ref country code: CZ Free format text: LAPSE BECAUSE OF FAILURE TO SUBMIT A TRANSLATION OF THE DESCRIPTION OR TO PAY THE FEE WITHIN THE PRESCRIBED TIME-LIMIT Effective date: 20161026 Ref country code: DK Free format text: LAPSE BECAUSE OF FAILURE TO SUBMIT A TRANSLATION OF THE DESCRIPTION OR TO PAY THE FEE WITHIN THE PRESCRIBED TIME-LIMIT Effective date: 20161026 Ref country code: SK Free format text: LAPSE BECAUSE OF FAILURE TO SUBMIT A TRANSLATION OF THE DESCRIPTION OR TO PAY THE FEE WITHIN THE PRESCRIBED TIME-LIMIT Effective date: 20161026 Ref country code: EE Free format text: LAPSE BECAUSE OF FAILURE TO SUBMIT A TRANSLATION OF THE DESCRIPTION OR TO PAY THE FEE WITHIN THE PRESCRIBED TIME-LIMIT Effective date: 20161026 |
|
| PG25 | Lapsed in a contracting state [announced via postgrant information from national office to epo] |
Ref country code: SM Free format text: LAPSE BECAUSE OF FAILURE TO SUBMIT A TRANSLATION OF THE DESCRIPTION OR TO PAY THE FEE WITHIN THE PRESCRIBED TIME-LIMIT Effective date: 20161026 Ref country code: IT Free format text: LAPSE BECAUSE OF FAILURE TO SUBMIT A TRANSLATION OF THE DESCRIPTION OR TO PAY THE FEE WITHIN THE PRESCRIBED TIME-LIMIT Effective date: 20161026 Ref country code: BG Free format text: LAPSE BECAUSE OF FAILURE TO SUBMIT A TRANSLATION OF THE DESCRIPTION OR TO PAY THE FEE WITHIN THE PRESCRIBED TIME-LIMIT Effective date: 20170126 |
|
| PLBE | No opposition filed within time limit |
Free format text: ORIGINAL CODE: 0009261 |
|
| STAA | Information on the status of an ep patent application or granted ep patent |
Free format text: STATUS: NO OPPOSITION FILED WITHIN TIME LIMIT |
|
| 26N | No opposition filed |
Effective date: 20170727 |
|
| PG25 | Lapsed in a contracting state [announced via postgrant information from national office to epo] |
Ref country code: SI Free format text: LAPSE BECAUSE OF FAILURE TO SUBMIT A TRANSLATION OF THE DESCRIPTION OR TO PAY THE FEE WITHIN THE PRESCRIBED TIME-LIMIT Effective date: 20161026 |
|
| REG | Reference to a national code |
Ref country code: CH Ref legal event code: PL |
|
| GBPC | Gb: european patent ceased through non-payment of renewal fee |
Effective date: 20170905 |
|
| PG25 | Lapsed in a contracting state [announced via postgrant information from national office to epo] |
Ref country code: MC Free format text: LAPSE BECAUSE OF FAILURE TO SUBMIT A TRANSLATION OF THE DESCRIPTION OR TO PAY THE FEE WITHIN THE PRESCRIBED TIME-LIMIT Effective date: 20161026 |
|
| REG | Reference to a national code |
Ref country code: IE Ref legal event code: MM4A |
|
| REG | Reference to a national code |
Ref country code: BE Ref legal event code: MM Effective date: 20170930 |
|
| PG25 | Lapsed in a contracting state [announced via postgrant information from national office to epo] |
Ref country code: LU Free format text: LAPSE BECAUSE OF NON-PAYMENT OF DUE FEES Effective date: 20170905 |
|
| REG | Reference to a national code |
Ref country code: FR Ref legal event code: ST Effective date: 20180531 |
|
| PG25 | Lapsed in a contracting state [announced via postgrant information from national office to epo] |
Ref country code: LI Free format text: LAPSE BECAUSE OF NON-PAYMENT OF DUE FEES Effective date: 20170930 Ref country code: IE Free format text: LAPSE BECAUSE OF NON-PAYMENT OF DUE FEES Effective date: 20170905 Ref country code: GB Free format text: LAPSE BECAUSE OF NON-PAYMENT OF DUE FEES Effective date: 20170905 Ref country code: CH Free format text: LAPSE BECAUSE OF NON-PAYMENT OF DUE FEES Effective date: 20170930 |
|
| PG25 | Lapsed in a contracting state [announced via postgrant information from national office to epo] |
Ref country code: FR Free format text: LAPSE BECAUSE OF NON-PAYMENT OF DUE FEES Effective date: 20171002 Ref country code: BE Free format text: LAPSE BECAUSE OF NON-PAYMENT OF DUE FEES Effective date: 20170930 |
|
| PG25 | Lapsed in a contracting state [announced via postgrant information from national office to epo] |
Ref country code: MT Free format text: LAPSE BECAUSE OF FAILURE TO SUBMIT A TRANSLATION OF THE DESCRIPTION OR TO PAY THE FEE WITHIN THE PRESCRIBED TIME-LIMIT Effective date: 20161026 |
|
| REG | Reference to a national code |
Ref country code: AT Ref legal event code: MM01 Ref document number: 839641 Country of ref document: AT Kind code of ref document: T Effective date: 20170905 |
|
| PG25 | Lapsed in a contracting state [announced via postgrant information from national office to epo] |
Ref country code: AT Free format text: LAPSE BECAUSE OF NON-PAYMENT OF DUE FEES Effective date: 20170905 |
|
| PG25 | Lapsed in a contracting state [announced via postgrant information from national office to epo] |
Ref country code: HU Free format text: LAPSE BECAUSE OF FAILURE TO SUBMIT A TRANSLATION OF THE DESCRIPTION OR TO PAY THE FEE WITHIN THE PRESCRIBED TIME-LIMIT; INVALID AB INITIO Effective date: 20120905 |
|
| PG25 | Lapsed in a contracting state [announced via postgrant information from national office to epo] |
Ref country code: CY Free format text: LAPSE BECAUSE OF FAILURE TO SUBMIT A TRANSLATION OF THE DESCRIPTION OR TO PAY THE FEE WITHIN THE PRESCRIBED TIME-LIMIT Effective date: 20161026 |
|
| PG25 | Lapsed in a contracting state [announced via postgrant information from national office to epo] |
Ref country code: MK Free format text: LAPSE BECAUSE OF FAILURE TO SUBMIT A TRANSLATION OF THE DESCRIPTION OR TO PAY THE FEE WITHIN THE PRESCRIBED TIME-LIMIT Effective date: 20161026 |
|
| PG25 | Lapsed in a contracting state [announced via postgrant information from national office to epo] |
Ref country code: TR Free format text: LAPSE BECAUSE OF FAILURE TO SUBMIT A TRANSLATION OF THE DESCRIPTION OR TO PAY THE FEE WITHIN THE PRESCRIBED TIME-LIMIT Effective date: 20161026 |
|
| PG25 | Lapsed in a contracting state [announced via postgrant information from national office to epo] |
Ref country code: AL Free format text: LAPSE BECAUSE OF FAILURE TO SUBMIT A TRANSLATION OF THE DESCRIPTION OR TO PAY THE FEE WITHIN THE PRESCRIBED TIME-LIMIT Effective date: 20161026 |
|
| PGFP | Annual fee paid to national office [announced via postgrant information from national office to epo] |
Ref country code: DE Payment date: 20201124 Year of fee payment: 9 |
|
| REG | Reference to a national code |
Ref country code: DE Ref legal event code: R119 Ref document number: 502012008639 Country of ref document: DE |
|
| PG25 | Lapsed in a contracting state [announced via postgrant information from national office to epo] |
Ref country code: DE Free format text: LAPSE BECAUSE OF NON-PAYMENT OF DUE FEES Effective date: 20220401 |