EP2818642A1 - Dichtringsegment für einen Stator einer Turbine - Google Patents
Dichtringsegment für einen Stator einer Turbine Download PDFInfo
- Publication number
- EP2818642A1 EP2818642A1 EP13174357.7A EP13174357A EP2818642A1 EP 2818642 A1 EP2818642 A1 EP 2818642A1 EP 13174357 A EP13174357 A EP 13174357A EP 2818642 A1 EP2818642 A1 EP 2818642A1
- Authority
- EP
- European Patent Office
- Prior art keywords
- sealing ring
- ring segment
- turbine
- elastic element
- stator
- Prior art date
- Legal status (The legal status is an assumption and is not a legal conclusion. Google has not performed a legal analysis and makes no representation as to the accuracy of the status listed.)
- Withdrawn
Links
- 238000007789 sealing Methods 0.000 claims abstract description 50
- 238000002485 combustion reaction Methods 0.000 description 5
- MCMNRKCIXSYSNV-UHFFFAOYSA-N Zirconium dioxide Chemical compound O=[Zr]=O MCMNRKCIXSYSNV-UHFFFAOYSA-N 0.000 description 3
- 239000012530 fluid Substances 0.000 description 3
- 239000002775 capsule Substances 0.000 description 2
- 238000009434 installation Methods 0.000 description 2
- 239000000463 material Substances 0.000 description 2
- RYGMFSIKBFXOCR-UHFFFAOYSA-N Copper Chemical compound [Cu] RYGMFSIKBFXOCR-UHFFFAOYSA-N 0.000 description 1
- 229910016347 CuSn Inorganic materials 0.000 description 1
- 229910000990 Ni alloy Inorganic materials 0.000 description 1
- 229910000831 Steel Inorganic materials 0.000 description 1
- 230000000712 assembly Effects 0.000 description 1
- 238000000429 assembly Methods 0.000 description 1
- 238000000576 coating method Methods 0.000 description 1
- 230000006835 compression Effects 0.000 description 1
- 238000007906 compression Methods 0.000 description 1
- 239000002826 coolant Substances 0.000 description 1
- 229910052802 copper Inorganic materials 0.000 description 1
- 239000010949 copper Substances 0.000 description 1
- 230000007797 corrosion Effects 0.000 description 1
- 238000005260 corrosion Methods 0.000 description 1
- 238000006073 displacement reaction Methods 0.000 description 1
- 239000000446 fuel Substances 0.000 description 1
- 229910001026 inconel Inorganic materials 0.000 description 1
- 238000003780 insertion Methods 0.000 description 1
- 230000037431 insertion Effects 0.000 description 1
- 239000007788 liquid Substances 0.000 description 1
- 239000000203 mixture Substances 0.000 description 1
- 229910052759 nickel Inorganic materials 0.000 description 1
- PXHVJJICTQNCMI-UHFFFAOYSA-N nickel Substances [Ni] PXHVJJICTQNCMI-UHFFFAOYSA-N 0.000 description 1
- 229910001235 nimonic Inorganic materials 0.000 description 1
- 230000002093 peripheral effect Effects 0.000 description 1
- 230000002028 premature Effects 0.000 description 1
- 230000000630 rising effect Effects 0.000 description 1
- 239000010959 steel Substances 0.000 description 1
- 239000012720 thermal barrier coating Substances 0.000 description 1
Images
Classifications
-
- F—MECHANICAL ENGINEERING; LIGHTING; HEATING; WEAPONS; BLASTING
- F01—MACHINES OR ENGINES IN GENERAL; ENGINE PLANTS IN GENERAL; STEAM ENGINES
- F01D—NON-POSITIVE DISPLACEMENT MACHINES OR ENGINES, e.g. STEAM TURBINES
- F01D9/00—Stators
- F01D9/02—Nozzles; Nozzle boxes; Stator blades; Guide conduits, e.g. individual nozzles
- F01D9/04—Nozzles; Nozzle boxes; Stator blades; Guide conduits, e.g. individual nozzles forming ring or sector
- F01D9/042—Nozzles; Nozzle boxes; Stator blades; Guide conduits, e.g. individual nozzles forming ring or sector fixing blades to stators
-
- F—MECHANICAL ENGINEERING; LIGHTING; HEATING; WEAPONS; BLASTING
- F01—MACHINES OR ENGINES IN GENERAL; ENGINE PLANTS IN GENERAL; STEAM ENGINES
- F01D—NON-POSITIVE DISPLACEMENT MACHINES OR ENGINES, e.g. STEAM TURBINES
- F01D11/00—Preventing or minimising internal leakage of working-fluid, e.g. between stages
- F01D11/001—Preventing or minimising internal leakage of working-fluid, e.g. between stages for sealing space between stator blade and rotor
-
- F—MECHANICAL ENGINEERING; LIGHTING; HEATING; WEAPONS; BLASTING
- F01—MACHINES OR ENGINES IN GENERAL; ENGINE PLANTS IN GENERAL; STEAM ENGINES
- F01D—NON-POSITIVE DISPLACEMENT MACHINES OR ENGINES, e.g. STEAM TURBINES
- F01D11/00—Preventing or minimising internal leakage of working-fluid, e.g. between stages
-
- F—MECHANICAL ENGINEERING; LIGHTING; HEATING; WEAPONS; BLASTING
- F05—INDEXING SCHEMES RELATING TO ENGINES OR PUMPS IN VARIOUS SUBCLASSES OF CLASSES F01-F04
- F05D—INDEXING SCHEME FOR ASPECTS RELATING TO NON-POSITIVE-DISPLACEMENT MACHINES OR ENGINES, GAS-TURBINES OR JET-PROPULSION PLANTS
- F05D2240/00—Components
- F05D2240/80—Platforms for stationary or moving blades
-
- F—MECHANICAL ENGINEERING; LIGHTING; HEATING; WEAPONS; BLASTING
- F05—INDEXING SCHEMES RELATING TO ENGINES OR PUMPS IN VARIOUS SUBCLASSES OF CLASSES F01-F04
- F05D—INDEXING SCHEME FOR ASPECTS RELATING TO NON-POSITIVE-DISPLACEMENT MACHINES OR ENGINES, GAS-TURBINES OR JET-PROPULSION PLANTS
- F05D2260/00—Function
- F05D2260/30—Retaining components in desired mutual position
Definitions
- the invention relates to a sealing ring segment for a stator of a turbine, which essentially has the shape of a cylinder jacket segment and has on its outer side a groove for fixing a plurality of guide vanes.
- a turbine is a turbomachine that converts the internal energy (enthalpy) of a flowing fluid (liquid or gas) into rotational energy and ultimately into mechanical drive energy.
- the fluid flow is removed by the vortex-free as possible laminar flow around the turbine blades a portion of its internal energy, which passes to the blades of the turbine.
- the turbine shaft is rotated, the usable power is delivered to a coupled machine, such as a generator.
- Blades and shaft are parts of the movable rotor or rotor of the turbine, which is arranged within a housing.
- Blades mounted on the axle are mounted on the axle. Blades mounted in a plane each form a paddle wheel or impeller. The blades are slightly curved profiled, similar to an aircraft wing. Before each impeller is usually a stator. These vanes protrude from the housing into the flowing medium and cause it to spin. The swirl generated in the stator (kinetic energy) is used in the following impeller to set the shaft on which the impeller blades are mounted in rotation.
- the stator and the impeller together are called stages. Often several such stages are connected in series. Since the stator is stationary, and the vanes are attached to the housing exterior, a seal must be made to the shaft of the impeller to minimize losses.
- the guide vanes are held on the rotor side by cylinder jacket-shaped sealing rings. These usually consist of a plurality, usually ten segments. These are pushed onto an entanglement at the head of the vanes (tongue and groove connection) and thus seal off the hot gas duct in relation to the rotor. In order to prevent displacement in the circumferential direction, the sealing ring segments are individually fixed by bolts, each of which projects radially into one of the guide vanes.
- sealing ring segment has an acting on the respective vane by means of a restoring elastic element.
- the invention is based on the consideration that the life of the turbine increased and the repair costs for the turbine could be reduced if the wear could be reduced by the relative movement of the vanes and sealing ring segment. For this, the relative movement would have to be limited. However, consideration must be given to the thermal expansion during operation, so that a fixed form-locking fixation is eliminated. Remedy creates a non-positive fixation by means of an elastic element, which ensures a force-locking fixation of the guide vane by its restoring force, while by the elasticity thermal expansion remains possible.
- each guide vane fixable on the sealing ring segment at least one elastic element acting on the respective guide vane by means of a restoring force is provided for each guide vane fixable on the sealing ring segment.
- the sealing ring segment is fixed particularly securely, since a frictional connection is formed by an elastic element with each individual vane. Therefore, none of the vanes can perform a wear-producing relative movement.
- the groove for fixing the guide vanes advantageously extends in the circumferential direction and / or the restoring force of the respective elastic element advantageously acts in the radial direction. This allows easy installation of the sealing ring segment, which can be easily pushed onto the entanglement of the guide vanes. Due to the radial orientation of the elastic element this can be biased from the inside after insertion of the sealing ring.
- the respective elastic element is a pressure pin.
- a pressure pin is a substantially cylindrical element which can be compressed in the axial direction, for example by an internal structure in the manner of a piston.
- the pressure pin z. B. configured by self-resetting by appropriate spring arrangement.
- a pressure pin can be fixed through a corresponding opening in the sealing ring segment and aligned accordingly.
- the respective elastic element in particular the pressure pin comprises a plate spring.
- a plate spring is meant a conical ring shell, which is resilient in the axial direction and so both dormant and vibratory (dynamic) can be claimed.
- the force is usually applied via the upper inner edge and the lower outer edge.
- the diaphragm spring can be used as a single spring or as a spring column. In a column, either individual disc springs or spring assemblies consisting of several springs can be stacked alternately.
- the diaphragm spring has in comparison with other types of springs a number of advantageous properties, it may, for. B. accommodate very large forces in a small installation space.
- the diaphragm spring has a long service life under dynamic load, as z. B. occurs in a turbine.
- Suitable materials include spring steels, also stainless and heat-resistant as well as copper (CuSn 8, CuBe 2) and nickel alloys (Nimonic, Inconel, Duratherm).
- the respective elastic element, in particular the pressure pin is fixed by means of a screw on the sealing ring segment.
- this results in a detachable connection, which thus allows a later replacement in the course of a revision, on the other hand allows a simple assembly.
- the restoring force on the entanglement of the guide blade is precisely adjusted by the depth of the screwing.
- an anti-rotation is provided, for example by a side einhakenden anti-rotation bolt.
- the respective elastic element for the circumferential fixation of the sealing ring segment is arranged such that it fixes the respective guide vane in the circumferential direction in a form-fitting manner.
- the guide vane has a corresponding depression, into which the correspondingly executed elastic element is inserted becomes.
- a plurality of the vanes are arranged at their radially inwardly directed head by means of a spring in a groove of a described sealing ring segment.
- a turbine advantageously comprises such a stator.
- the turbine is designed as a gas turbine.
- the thermal, mechanical and dynamic loads are particularly high, so that the described configuration of the sealing ring segment offers particular advantages in terms of minimizing wear.
- a power plant advantageously comprises such a turbine.
- the advantages achieved by the invention are, in particular, that by introducing a cup spring design for the defined fixed bias of the sealing ring and the vane, an avoidance of relative movements between the two parts is achieved. At the same time a thermal mobility is hereby ensured despite fixed bias. With the disc spring structures described a defined tension between blades and sealing ring segments can be applied, which minimizes or prevents the relative movement, in particular under dynamic loads between the components. The material wear can thus be reduced or avoided.
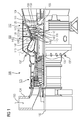
- the FIG. 1 shows a turbine 100, here a gas turbine, in a longitudinal partial section.
- the gas turbine 100 has inside a rotatably mounted around a rotation axis 102 (axial direction) rotor 103, which is also referred to as a turbine runner.
- a rotation axis 102 axial direction
- rotor 103 which is also referred to as a turbine runner.
- an intake housing 104 a compressor 105
- a combustion chamber 110 shown here as an annular combustion chamber 106, with a plurality of coaxially arranged burners 107, a turbine 108 and the exhaust housing 109th
- the combustion chamber 106 communicates with an annular hot gas channel 111.
- turbine stages 112 connected in series form the turbine 108.
- Each turbine stage 112 is formed from two blade rings.
- a guide blade ring 115 is followed by a ring 125 formed of rotor blades 120.
- the guide vanes 130 are fastened to the stator 143, whereas the rotor blades 120 of a ring 125 are attached to the rotor 103 by means of a turbine disk 133.
- the rotor blades 120 thus form components of the rotor or rotor 103.
- Coupled to the rotor 103 is a generator or a working machine (not shown).
- air 105 is sucked in and compressed by the compressor 105 through the intake housing 104.
- the compressed air provided at the turbine-side end of the compressor 105 is supplied to the burners 107 where it is mixed with a fuel.
- the mixture is then burned to form the hot and pressurized working fluid 113 in the combustor 110.
- the working medium 113 flows along the hot gas channel 111 past the guide vanes 130 and the rotor blades 120.
- the working medium 113 expands in a pulse-transmitting manner so that the rotor blades 120 drive the rotor 103 and drive the machine coupled to it.
- the components exposed to the hot working medium 113 are subject to thermal loads during operation of the gas turbine 100.
- the guide vanes 130 and rotor blades 120 of the first turbine stage 112, viewed in the direction of flow of the working medium 113, are subjected to the highest thermal load in addition to the heat shield stones lining the combustion chamber 106. In order to withstand the temperatures prevailing there, they are cooled by means of a coolant.
- Each vane 130 has a vane root (not shown) facing the housing 138 of the turbine 108 and a vane head opposite the vane root.
- the vane head faces the rotor 103 and is fixed in a sealing ring 140.
- Each sealing ring 140 of a turbine stage encloses the shaft of the rotor 103. It is advantageously formed of ten similar sealing ring segments 144.
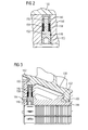
- sealing pins 146 are provided in the sealing ring segments, which in FIG. 2 are shown in cross section.
- the pressure pin 146 is fixed in a radially aligned through bore 148 with a thread 150 by screwing.
- the pressure pin consists of a cylindrical portion 152 with a corresponding thread for screwing with the sealing ring segment, an adjoining piston 154 of smaller diameter, on which a in the axial direction of the pressure pin 146 movable capsule 156 sits, which surrounds the piston 154 at its tip , As a result, it is fixed in a form-fitting manner in the radial direction of the pressure bolt 146.
- the piston 154 between section 152 and capsule 156 enclosing a total of eight mutually arranged disc springs 158 are positioned, which exert a restoring force at an axial compression of the pressure pin 146. Since the pressure pin 146 is screwed into the sealing ring segment 144 in the radial direction relative to the axis of rotation of the gas turbine 102, it exerts a defined force on the entanglement of the guide blade 130, so that relative movements are prevented, but thermal expansion remains possible. The return force can be adjusted via the screw-in depth.
- FIG. 3 shows a longitudinal section through the sealing ring segment 144.
- the sealing ring 144 has two axially and radially spaced grooves 160 which extend in the circumferential direction and are open in the radial direction.
- the sealing ring segment 144 can be pushed onto the guide vane ring during assembly. Since the pressure pin 146 has a radial restoring force the vane 130 is elastically fixed in the grooves 160.
- the pressure pin 146 is secured against rotation by means of a bolt 164.
- the bolt 164 is inserted through a axially extending bore which meets the bore 148 of the pressure bolt 146 and screwed. As a result, it exerts a lateral force on the thread of the pressure bolt 146 and fixes it non-positively.
- FIG. 4 shows finally a partial section through the sealing ring 140 and the sealing ring segments 144.
- the pressure pin 146 exert a restoring force on the guide vanes 130 as described.
- One of the pressure bolts 146 is additionally designed as a peripheral fixing bolt 166. It is longer than the remaining pressure pin 146 and protrudes into a depression 168 of a foot of a guide blade 130 which is molded onto it. As a result, the sealing ring segment 144 is fixed to the guide blade 130 in the circumferential direction.
Landscapes
- Engineering & Computer Science (AREA)
- Mechanical Engineering (AREA)
- General Engineering & Computer Science (AREA)
- Turbine Rotor Nozzle Sealing (AREA)
Priority Applications (8)
| Application Number | Priority Date | Filing Date | Title |
|---|---|---|---|
| EP13174357.7A EP2818642A1 (de) | 2013-06-28 | 2013-06-28 | Dichtringsegment für einen Stator einer Turbine |
| CN201480035984.5A CN105392966B (zh) | 2013-06-28 | 2014-06-25 | 用于涡轮机的定子的密封环段 |
| EP14734785.0A EP2984295B1 (de) | 2013-06-28 | 2014-06-25 | Dichtringsegment für einen stator einer turbine |
| RU2016102766A RU2657390C2 (ru) | 2013-06-28 | 2014-06-25 | Сегмент уплотнительного кольца для статора турбины |
| PCT/EP2014/063432 WO2014207058A1 (de) | 2013-06-28 | 2014-06-25 | Dichtringsegment für einen stator einer turbine |
| JP2016522477A JP6067942B2 (ja) | 2013-06-28 | 2014-06-25 | タービンのステータのためのシールリングセグメント |
| US14/898,135 US10215041B2 (en) | 2013-06-28 | 2014-06-25 | Sealing ring segment for a stator of a turbine |
| SA515370314A SA515370314B1 (ar) | 2013-06-28 | 2015-12-24 | قطاع منع تسريب حلقي لجزء ساكن من توربين |
Applications Claiming Priority (1)
| Application Number | Priority Date | Filing Date | Title |
|---|---|---|---|
| EP13174357.7A EP2818642A1 (de) | 2013-06-28 | 2013-06-28 | Dichtringsegment für einen Stator einer Turbine |
Publications (1)
| Publication Number | Publication Date |
|---|---|
| EP2818642A1 true EP2818642A1 (de) | 2014-12-31 |
Family
ID=48700406
Family Applications (2)
| Application Number | Title | Priority Date | Filing Date |
|---|---|---|---|
| EP13174357.7A Withdrawn EP2818642A1 (de) | 2013-06-28 | 2013-06-28 | Dichtringsegment für einen Stator einer Turbine |
| EP14734785.0A Active EP2984295B1 (de) | 2013-06-28 | 2014-06-25 | Dichtringsegment für einen stator einer turbine |
Family Applications After (1)
| Application Number | Title | Priority Date | Filing Date |
|---|---|---|---|
| EP14734785.0A Active EP2984295B1 (de) | 2013-06-28 | 2014-06-25 | Dichtringsegment für einen stator einer turbine |
Country Status (7)
| Country | Link |
|---|---|
| US (1) | US10215041B2 (enExample) |
| EP (2) | EP2818642A1 (enExample) |
| JP (1) | JP6067942B2 (enExample) |
| CN (1) | CN105392966B (enExample) |
| RU (1) | RU2657390C2 (enExample) |
| SA (1) | SA515370314B1 (enExample) |
| WO (1) | WO2014207058A1 (enExample) |
Families Citing this family (5)
| Publication number | Priority date | Publication date | Assignee | Title |
|---|---|---|---|---|
| FI3542033T3 (fi) * | 2016-11-18 | 2023-10-12 | Air Liquide | Vähäkitkainen sisääntulosuutin turbohöyrystimeen |
| FR3059041B1 (fr) * | 2016-11-21 | 2020-05-08 | Safran Aircraft Engines | Dispositif de pilotage rotor/stator avec lechette a ressort |
| CN107882599B (zh) * | 2017-11-01 | 2021-02-09 | 中国航发湖南动力机械研究所 | 整体式涡轮外环连接结构及涡轮发动机 |
| EP4053381B1 (en) | 2021-03-01 | 2024-11-20 | ANSALDO ENERGIA S.p.A. | Ring segment device for turbine vanes of a power plant and corresponding gas turbine assembly for power plant |
| CN113294214B (zh) * | 2021-06-24 | 2022-07-22 | 上海万仞动力技术有限公司 | 一种装备有拼装隔板的冲动式汽轮机 |
Citations (4)
| Publication number | Priority date | Publication date | Assignee | Title |
|---|---|---|---|---|
| EP1441108A2 (en) * | 2003-01-27 | 2004-07-28 | United Technologies Corporation | Damper for gas turbine stator assembly |
| US20080019836A1 (en) * | 2004-02-11 | 2008-01-24 | Mtu Aero Engines Gmbh | Damping Arrangement for Guide Vanes |
| US7645117B2 (en) * | 2006-05-05 | 2010-01-12 | General Electric Company | Rotary machines and methods of assembling |
| US20110135479A1 (en) * | 2008-12-25 | 2011-06-09 | Mitsubishi Heavy Industries, Ltd. | Turbine blade and gas turbine |
Family Cites Families (10)
| Publication number | Priority date | Publication date | Assignee | Title |
|---|---|---|---|---|
| GB142924A (en) * | 1919-02-12 | 1920-05-12 | Samuel Hough | Improvements in adjustable rotary cutting heads for lathes |
| US3501246A (en) | 1967-12-29 | 1970-03-17 | Westinghouse Electric Corp | Axial fluid-flow machine |
| US4576548A (en) * | 1984-01-17 | 1986-03-18 | Westinghouse Electric Corp. | Self-aligning static seal for gas turbine stator vanes |
| US4897021A (en) | 1988-06-02 | 1990-01-30 | United Technologies Corporation | Stator vane asssembly for an axial flow rotary machine |
| DE19513457A1 (de) | 1995-04-08 | 1996-10-10 | Abb Management Ag | Rotor einer elektrischen Maschine |
| ES2344059T3 (es) * | 2004-12-23 | 2010-08-17 | Siemens Aktiengesellschaft | Disposicion para la obturacion de un intersticio entre un primer componente y un segundo componente. |
| JP4918263B2 (ja) * | 2006-01-27 | 2012-04-18 | 三菱重工業株式会社 | 軸流圧縮機の静翼環 |
| US8001790B2 (en) * | 2008-08-11 | 2011-08-23 | Mitsubishi Heavy Industries, Ltd. | Gas turbine |
| JP5501609B2 (ja) * | 2008-12-25 | 2014-05-28 | 三菱重工業株式会社 | タービン翼およびガスタービン |
| US8454023B2 (en) * | 2011-05-10 | 2013-06-04 | General Electric Company | Retractable seal system |
-
2013
- 2013-06-28 EP EP13174357.7A patent/EP2818642A1/de not_active Withdrawn
-
2014
- 2014-06-25 EP EP14734785.0A patent/EP2984295B1/de active Active
- 2014-06-25 RU RU2016102766A patent/RU2657390C2/ru active
- 2014-06-25 CN CN201480035984.5A patent/CN105392966B/zh active Active
- 2014-06-25 WO PCT/EP2014/063432 patent/WO2014207058A1/de not_active Ceased
- 2014-06-25 US US14/898,135 patent/US10215041B2/en active Active
- 2014-06-25 JP JP2016522477A patent/JP6067942B2/ja not_active Expired - Fee Related
-
2015
- 2015-12-24 SA SA515370314A patent/SA515370314B1/ar unknown
Patent Citations (4)
| Publication number | Priority date | Publication date | Assignee | Title |
|---|---|---|---|---|
| EP1441108A2 (en) * | 2003-01-27 | 2004-07-28 | United Technologies Corporation | Damper for gas turbine stator assembly |
| US20080019836A1 (en) * | 2004-02-11 | 2008-01-24 | Mtu Aero Engines Gmbh | Damping Arrangement for Guide Vanes |
| US7645117B2 (en) * | 2006-05-05 | 2010-01-12 | General Electric Company | Rotary machines and methods of assembling |
| US20110135479A1 (en) * | 2008-12-25 | 2011-06-09 | Mitsubishi Heavy Industries, Ltd. | Turbine blade and gas turbine |
Also Published As
| Publication number | Publication date |
|---|---|
| JP6067942B2 (ja) | 2017-01-25 |
| RU2016102766A (ru) | 2017-08-01 |
| WO2014207058A1 (de) | 2014-12-31 |
| RU2657390C2 (ru) | 2018-06-13 |
| CN105392966A (zh) | 2016-03-09 |
| SA515370314B1 (ar) | 2020-03-15 |
| CN105392966B (zh) | 2018-03-20 |
| US20160208630A1 (en) | 2016-07-21 |
| RU2016102766A3 (enExample) | 2018-04-04 |
| US10215041B2 (en) | 2019-02-26 |
| EP2984295B1 (de) | 2017-05-03 |
| JP2016523342A (ja) | 2016-08-08 |
| EP2984295A1 (de) | 2016-02-17 |
Similar Documents
| Publication | Publication Date | Title |
|---|---|---|
| EP2503246B1 (de) | Segmentierter Brennkammerkopf | |
| EP2344723B1 (de) | Gasturbine mit dichtplatten an der turbinenscheibe | |
| EP2984295B1 (de) | Dichtringsegment für einen stator einer turbine | |
| EP1508672A1 (de) | Segmentierter Befestigungsring für eine Turbine | |
| DE102014219552A1 (de) | Leitschaufelverstellvorrichtung einer Gasturbine | |
| EP2128524A1 (de) | Bauteilanordnung, Brennkammeranordnung und Gasturbine | |
| DE112016004554T5 (de) | Betätigungsvorrichtung für variable Statorschaufeln | |
| DE102008005579A1 (de) | Verstellbare Leitschaufelanordnung für ein Gasturbinentriebwerk mit einer inkrementell drehbaren Lagerungsbuchse | |
| DE102016117960A1 (de) | Turbolader | |
| EP3064706A1 (de) | Leitschaufelreihe für eine axial durchströmte Strömungsmaschine | |
| EP2799776A1 (de) | Brennerdichtung für Gasturbinen-Brennkammerkopf und Hitzeschild | |
| WO2010052053A1 (de) | Gasturbine mit sicherungsplatte zwischen schaufelfuss und scheibe | |
| EP2211023A1 (de) | Leitschaufelsystem für eine Strömungsmaschine mit segmentiertem Leitschaufelträger | |
| DE102012213016A1 (de) | Verfahren zur Minimierung des Spalts zwischen einem Läufer und einem Gehäuse | |
| DE102010007724A1 (de) | Schraubenlose Zwischenstufendichtung einer Gasturbine | |
| EP3017147B1 (de) | Rotor für eine turbine | |
| EP2591213A2 (de) | Verdichter und zugehörige gasturbine | |
| WO2009109430A1 (de) | Dichtungsanordnung und gasturbine | |
| DE2140337C3 (de) | Gasturbinentriebwerk mit wärmebeweglich gelagerter Welle | |
| WO2009059580A1 (de) | Gasturbinenbauteil und verdichter mit einem solchen bauteil | |
| EP1783325B1 (de) | Befestigungsanordnung eines Rohres an einer Umfangsfläche | |
| DE102021113833A1 (de) | Anordnung zur Zentrierung zweier aneinander angrenzender Teile | |
| DE102015110252A1 (de) | Statorvorrichtung für eine Strömungsmaschine mit einer Gehäuseeinrichtung und mehreren Leitschaufeln | |
| DE102014219063A1 (de) | Konzentrische Bauteilanordnung einer Gasturbine | |
| EP2863020A1 (de) | Turbinenschaufel, Ringsegment, zugehörige Turbinenschaufelanordnung, Stator, Rotor, Turbine und Kraftwerksanlage |
Legal Events
| Date | Code | Title | Description |
|---|---|---|---|
| PUAI | Public reference made under article 153(3) epc to a published international application that has entered the european phase |
Free format text: ORIGINAL CODE: 0009012 |
|
| 17P | Request for examination filed |
Effective date: 20130628 |
|
| AK | Designated contracting states |
Kind code of ref document: A1 Designated state(s): AL AT BE BG CH CY CZ DE DK EE ES FI FR GB GR HR HU IE IS IT LI LT LU LV MC MK MT NL NO PL PT RO RS SE SI SK SM TR |
|
| AX | Request for extension of the european patent |
Extension state: BA ME |
|
| STAA | Information on the status of an ep patent application or granted ep patent |
Free format text: STATUS: THE APPLICATION IS DEEMED TO BE WITHDRAWN |
|
| 18D | Application deemed to be withdrawn |
Effective date: 20150701 |