EP2687641A1 - Dusch-WC mit Wärmepumpe zum Erwärmen des Duschwassers - Google Patents
Dusch-WC mit Wärmepumpe zum Erwärmen des Duschwassers Download PDFInfo
- Publication number
- EP2687641A1 EP2687641A1 EP12177378.2A EP12177378A EP2687641A1 EP 2687641 A1 EP2687641 A1 EP 2687641A1 EP 12177378 A EP12177378 A EP 12177378A EP 2687641 A1 EP2687641 A1 EP 2687641A1
- Authority
- EP
- European Patent Office
- Prior art keywords
- shower
- toilet
- heat pump
- heat
- water
- Prior art date
- Legal status (The legal status is an assumption and is not a legal conclusion. Google has not performed a legal analysis and makes no representation as to the accuracy of the status listed.)
- Granted
Links
- XLYOFNOQVPJJNP-UHFFFAOYSA-N water Substances O XLYOFNOQVPJJNP-UHFFFAOYSA-N 0.000 title claims abstract description 92
- 238000010438 heat treatment Methods 0.000 title claims abstract description 20
- 238000000034 method Methods 0.000 claims abstract description 12
- 210000001015 abdomen Anatomy 0.000 claims abstract description 5
- 238000005338 heat storage Methods 0.000 claims description 11
- 239000010865 sewage Substances 0.000 claims description 10
- 238000011010 flushing procedure Methods 0.000 claims description 7
- 230000003187 abdominal effect Effects 0.000 claims description 5
- 239000002351 wastewater Substances 0.000 claims description 3
- 238000011017 operating method Methods 0.000 claims 1
- 239000013505 freshwater Substances 0.000 abstract description 14
- 210000003608 fece Anatomy 0.000 abstract description 7
- DNHVXYDGZKWYNU-UHFFFAOYSA-N lead;hydrate Chemical compound O.[Pb] DNHVXYDGZKWYNU-UHFFFAOYSA-N 0.000 abstract 1
- 238000009434 installation Methods 0.000 description 9
- 230000008901 benefit Effects 0.000 description 7
- 230000008569 process Effects 0.000 description 7
- 230000006870 function Effects 0.000 description 4
- 238000010276 construction Methods 0.000 description 3
- 238000001514 detection method Methods 0.000 description 3
- 239000000203 mixture Substances 0.000 description 3
- 238000010521 absorption reaction Methods 0.000 description 2
- 239000000919 ceramic Substances 0.000 description 2
- 238000004140 cleaning Methods 0.000 description 2
- 238000001816 cooling Methods 0.000 description 2
- 238000000605 extraction Methods 0.000 description 2
- 238000009413 insulation Methods 0.000 description 2
- 238000002360 preparation method Methods 0.000 description 2
- 238000011144 upstream manufacturing Methods 0.000 description 2
- 229910000831 Steel Inorganic materials 0.000 description 1
- 239000003570 air Substances 0.000 description 1
- 239000012080 ambient air Substances 0.000 description 1
- 230000006399 behavior Effects 0.000 description 1
- 230000015572 biosynthetic process Effects 0.000 description 1
- 239000003990 capacitor Substances 0.000 description 1
- 238000011109 contamination Methods 0.000 description 1
- 125000004122 cyclic group Chemical group 0.000 description 1
- 238000010586 diagram Methods 0.000 description 1
- 238000001035 drying Methods 0.000 description 1
- 230000000694 effects Effects 0.000 description 1
- 238000004146 energy storage Methods 0.000 description 1
- 238000005516 engineering process Methods 0.000 description 1
- 230000006872 improvement Effects 0.000 description 1
- 230000015654 memory Effects 0.000 description 1
- 239000002184 metal Substances 0.000 description 1
- 230000001681 protective effect Effects 0.000 description 1
- 230000009257 reactivity Effects 0.000 description 1
- 238000000926 separation method Methods 0.000 description 1
- 239000010959 steel Substances 0.000 description 1
- 239000008399 tap water Substances 0.000 description 1
- 235000020679 tap water Nutrition 0.000 description 1
Images
Classifications
-
- E—FIXED CONSTRUCTIONS
- E03—WATER SUPPLY; SEWERAGE
- E03D—WATER-CLOSETS OR URINALS WITH FLUSHING DEVICES; FLUSHING VALVES THEREFOR
- E03D9/00—Sanitary or other accessories for lavatories ; Devices for cleaning or disinfecting the toilet room or the toilet bowl; Devices for eliminating smells
- E03D9/08—Devices in the bowl producing upwardly-directed sprays; Modifications of the bowl for use with such devices ; Bidets; Combinations of bowls with urinals or bidets; Hot-air or other devices mounted in or on the bowl, urinal or bidet for cleaning or disinfecting
Definitions
- the present invention relates to a shower toilet, so a water closet (WC) with an abdominal shower for cleaning a user.
- WC water closet
- a known shower toilet regularly has a pump for conveying the shower water, an electric motor for moving a shower arm into and out of the toilet bowl, an electric hair dryer for drying the user after the showering process, an air suction device for odor removal, Occasionally also a seat ring heater and other facilities.
- a pump for conveying the shower water
- an electric motor for moving a shower arm into and out of the toilet bowl
- an electric hair dryer for drying the user after the showering process
- an air suction device for odor removal
- a seat ring heater Occasionally also a seat ring heater and other facilities.
- the object of the invention is the improvement of previously known shower toilets with regard to the hot water.
- a shower toilet with a abdominal shower and a water heater for shower water for the abdomen shower characterized in that the water heater has a heat pump, and by a corresponding method for operating the shower toilet, in which with a heat pump shower water for the abdomen shower of the shower toilet is heated.
- the invention thus proposes the use of a heat pump in a shower toilet for water heating.
- the shower toilet has its own, so separately provided for the shower toilet hot water heater and this water heater in turn own heat pump.
- the invention does not focus on the use, for example, of hot water generated by a central heating system with a heat pump, that is to say the simple connection to a hot water pipe present in the building (which has a heat pump heating system).
- Heat pumps "generate" vividly by a conventional refrigerator comparable thermodynamic cycle of a medium heat, which is withdrawn from a heat reservoir.
- the cyclic process allows the temperature level to be increased from that of the heat reservoir to the required temperature level.
- the cycle must be powered by energy, in particular by operating an electric compressor.
- Today's heat pumps typically reach so-called ratios of the order of four to five. In other words, for a used (usually electrical) energy unit, a heat energy in the amount of four to five times won, the remaining three to four energy components have been removed from the heat reservoir in the form of heat.
- heat pumps not only allow the saving of (electrical) energy - an aspect with shower toilets due to the frequency of use and the limited amounts of heat in the hot water preparation is not always of particular importance.
- heat pumps also allow an increase in heating power over the electrical power used for it.
- this aspect is of particular interest in shower toilets, because the typical appliances of a shower toilet enumerated at the beginning already form electrical consumers and shower toilets are regularly operated on ordinary household power sources, ie at a connection with household voltage (in Europe 230 V effective) and limited current protection (for example of the order of 10 A to 16 A).
- Another aspect is the connection of WC-independent further consumers via the same fuse; In many cases, a specially secured power connection is available for a shower toilet.
- During the toilet use is meant in contrast to the hot water preparation time outside the toilet use, ie using energy storage such as hot water storage (boilers).
- energy storage such as hot water storage (boilers).
- hot water storage can be provided by small heating with a correspondingly extended heating times energetically enough hot water, but in such a system, the water temperature drops during the showering process usually by admixture and would be really comfortable shower toilets with a long showering period persistently high water temperature problematic large storage necessary.
- such memories generate considerable energy losses depending on the insulation effort. The insulation, in turn, can not be arbitrarily improved because of the limitations of the construction volume.
- a heat pump according to the invention with heat pump has the advantage, even substantially instantaneously, d. H. earliest from a detection of an upcoming toilet use, for example, by a user detection by a proximity sensor, detection of a toilet cover movement or simply by switching to provide enough heating power in the remaining time and / or simultaneously with the hot water.
- the heat pump according to the invention is integrated in the shower toilet, which, depending on the individual design, the entire toilet system is meant.
- the toilet body the so-called ceramic
- an installation space of the shower toilet in a building wall such as a drywall (for example, under the therein integrated Spülwassertank) and also structures and attachments on or on the toilet body.
- Heat pump systems that are structurally independent of the shower toilet installed in the sanitary room.
- the heat reservoir of the heat pump can be designed differently in this invention. Considered are the ambient air, building parts in the environment, for example walls of the sanitary room, floor areas under the toilet, steel components of a drywall and the like. Also considered are existing lines, especially near running fresh water or sewage pipes, both in terms of their outer shell, especially in metal pipes, as well as with regard to the introduction of heat exchangers in these lines.
- WC-internal solutions are particularly preferred, namely first the sewage-faeces mixture in the WC itself.
- a heat exchanger can be provided in the WC in its sewer (as opposed to a general sewer), especially in a separate one for this provided sewage tank in the toilet. After use so the faeces located in the toilet are spent together with the rinse water in a tank to be cooled there. After sufficient cooling, they are then transported further into the actual sewer line.
- the advantage of this solution is that the sewage is relatively warm due to the feces and possibly also just used warm shower water of the shower toilet.
- the disadvantage is that the heat exchanger is housed in a pollution-sensitive area and in the case of a sewage tank and the discharge process for sewage and faeces is complicated. Furthermore, in this variant, a heat storage must be provided because the heat pump is running during and after the flushing and time passes until the next use of the toilet.
- Another preferred solution (which does not rule out the above or others) is directed to the flushing water tank (the so-called cistern) of the toilet itself.
- the flushing water tank the so-called cistern
- a heat exchanger the heat pump operation during the toilet use and thereby expire before or during the shower process.
- the specific advantage is that the cooled water is brought out of the building in the subsequent rinsing process via the sewer and therefore hardly absorbs building heat.
- the rinse water tank provides a structurally close heat reservoir with a sufficient volume.
- the heat pump can be combined in an advantageous manner with a heat storage heated by it.
- this affects heat pump operation during WC use.
- the heat pump can still sufficiently heat or at least warm up a water reservoir, then possibly supported by a heat output of the continuing heat pump or to provide a water heater during the shower function hot water.
- the heat storage can then turn out to be much smaller than if no heat pump was present, because there is a higher total heating by the heat pump during the toilet operation.
- the heat storage, especially hot water tank, even before the start of WC use to a certain (not necessarily sufficient) temperature level can be warmed.
- the heat storage is advantageous if the heat exchanger of the heat pump should take energy from the wastewater / faeces / shower water mixture of the toilet itself.
- Operation of the heat pump is advantageous only during toilet use, be it in combination with a heat storage or without.
- the use of the heat pump allows a sufficient heat output even without pre-storage of heat before using the toilet and thus even the omission of a heat storage.
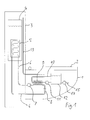
- FIG. 1 shows a schematic view of a shower toilet according to a first embodiment.
- 1 denotes a per se known ceramic toilet body, on the top of a toilet lid 2 and concealed hidden below a seat ring is provided.
- 3 denotes an installation trunk box.
- This may be a previously known drywall stem wall for technical parts of the shower toilet, in particular a in FIG. 1 with 4 designated rinse water tank (hereinafter cistern) act. It could also be one of a sanitary manufacturer supplied installation box similar to the monolith products of the applicant act, which is optionally available with the shower toilet and mounted to facilitate installation in front of a building wall.
- cistern rinse water tank
- the toilet body 1 is designed to be wall-mounted and attached to the installation box 3 via mechanical elements not shown in detail here.
- FIG. 1 is in the toilet body 1, a part of the illustrated below water heater, which is only a schematic (a circuit diagram resembling) and not about the actual local conditions exactly reproducing representation. In practice, the corresponding components of the water heater would rather be in the in FIG. 1 housed on the left rear area of the toilet seat 1 or in a construction not shown on it.
- a functioning as a heat exchanger evaporator 5 is housed in a resource cycle of a heat pump. This is connected via operating lines 6 with the technical elements of the water heater in the toilet body 1, with a compressor 7 and an expansion valve 8. Between these two elements is also a capacitor 9 of the heat pump, which is connected in terms of heat exchange to a hot water circuit 10.
- a circulating pump 11 In the hot water circuit 10 is also a circulating pump 11, the water circulate from a hot water tank 12 and run through the condenser 9.
- the hot water tank 12 is refilled via a fresh water supply line 13 from the installation box 3 out with fresh water
- the fresh water line 13 may be connected, for example via a manifold to the fresh water connection of the cistern 4 with.
- the water is pumped in the hot water tank 12 with the circulation pump 11 through the condenser 9 and heated to a certain temperature.
- the heat pump with the elements 5 to 9 provides the energy, namely the key for the most part by cooling the fresh water in the cistern 4. Since after using the toilet regularly flushing is pressed, the correspondingly cooled rinse water is relatively quickly out of the building transported out and absorbs so far only a small part of the heat withdrawn from it again from the building. Of course, care must be taken that the flushing function of the cistern 4 is not obstructed by ice formation.
- the hot water tank 12 depending on the amount of hot water in the hot water tank 12 and the desired temperature and the power of the heat pump 5 to 9 operation of the heat pump after opening the toilet lid 2 or a user recognition conceivable.
- the time remaining until the actual operation of the shower function and, if necessary, the time during the shower can be completely sufficient with sufficient power, and without very powerful power connection.
- additional electrical consumers which are not shown here, but are also supplied via the same power supply. If required, however, even an elevated temperature can be present before the actual use of the toilet, so that the hot water tank 12 can also be used to extend the heating time.
- the heat pump can also be arranged partially or completely in the installation wall; this also applies, but not necessarily for the hot water tank.
- the fresh water line could be passed through the condenser.
- FIG. 2 shows a representation of the second embodiment analog FIG. 1 , wherein the same reference numerals are used for corresponding elements and accordingly no repeated explanation follows.
- an electric instantaneous water heater 16 is provided here, which is connected downstream of the condenser 9 of the heat pump 5 to 9 in the hot water pipe 15.
- the shower water pump 14 is upstream of the condenser 9 and relates the water to be heated in the same manner as in the first embodiment via a fresh water line 13.
- a known separation 17 is provided, ie a over a certain height falling inlet into a catchment funnel.
- this embodiment has no heat storage but works exclusively instantaneously during the actual showering process.
- the heat pump 5 to 9 contributes most of the necessary heating power and the water heater 16 is provided because of the required here faster reactivity of the overall system. In a start-up phase, it can ensure a faster increase in temperature and, moreover, permit more precise temperature control in continuous operation. Thus, the water heater deteriorates the energy efficiency something, this is ultimately crucial, how well the startup behavior and temperature stability with the slower in itself heat pump 5 to 9 and approximates how small so that the water heater 16 can be designed.
- the third embodiment is in FIG. 3 shown, wherein here again the first embodiment corresponding elements are designated by the same reference numerals and will not be explained again.
- the essential difference from the first two embodiments lies in the existence of a sewage tank 18, which, as shown in dashed lines, is connected downstream of the drain siphon of a bowl of the WC body 1.
- the accumulated in the toilet bowl mix of rinse water, fecal matter and possibly warm shower water is cached in this tank 18 before it is discharged after a certain time via a drain line 19 with a drain valve 20.
- a discharge pump and a shredder to prevent clogging (upstream of the tank 18) could be provided.
- a heat pump 5' to 9 are provided, which is otherwise constructed analogously as in the other two embodiments.
- a hot water tank 12 is provided as in the first embodiment, which is also installed.
- the hot water tank 12 can be made correspondingly large and well insulated.
- Advantage of this embodiment is the use of otherwise unused dissipated residual heat in the wastewater and largely avoiding heat absorption from the building.
- this embodiment is more expensive than the first two in terms of effort and volume and must be carefully designed with regard to the problem of contamination in the sewage tank and before and behind.
- the embodiments may be wholly or partially combined with each other, so for example, the water heater 16 from the second embodiment could also be provided in the first or third embodiment be, or could the heat extraction from the cistern 4 in the first and second embodiment, be combined with the heat extraction from the sewage tank 18.
Landscapes
- Health & Medical Sciences (AREA)
- Public Health (AREA)
- Molecular Biology (AREA)
- Epidemiology (AREA)
- Life Sciences & Earth Sciences (AREA)
- Engineering & Computer Science (AREA)
- Hydrology & Water Resources (AREA)
- Water Supply & Treatment (AREA)
- Heat-Pump Type And Storage Water Heaters (AREA)
Abstract
Description
- Die vorliegende Erfindung bezieht sich auf ein Dusch-WC, also ein Wasserklosett (WC) mit einer Unterleibsdusche zur Reinigung eines Benutzers.
- Dusch-WCs sind seit Längerem bekannt und finden zunehmend auch in Europa Verwendung. Eine Unterleibsdusche richtet einen Duschwasserstrahl auf den Benutzer, um diesen zu reinigen. Dabei wird regelmäßig angewärmtes Leitungswasser verwendet, wobei zum Beispiel elektrische Durchlauferhitzer oder elektrische Boiler Verwendung finden.
- Darüber hinaus weist ein bekanntes Dusch-WC regelmäßig eine Pumpe zum Fördern des Dusch-Wassers, einen Elektromotor zum Verfahren eines Duscharms in die und aus der WC-Schüssel heraus, einen elektrischen Föhn zum Trocknen des Benutzers nach dem Duschvorgang, eine Luftabsaugvorrichtung zur Geruchsbeseitigung, gelegentlich auch eine Sitzringheizung und weitere Einrichtungen auf. Diese Aufzählung ist nur beispielhaft, insbesondere sind diese Einrichtungen für die vorliegende Erfindung nicht notwendig.
- Aufgabe der Erfindung ist die Verbesserung vorbekannter Dusch-WCs im Hinblick auf die Warmwasserbereitung.
- Diese Aufgabe wird gelöst durch ein Dusch-WC mit einer Unterleibsdusche und einem Warmwasserbereiter für Duschwasser für die Unterleibsdusche, dadurch gekennzeichnet, dass der Warmwasserbereiter eine Wärmepumpe aufweist, sowie durch ein entsprechendes Verfahren zum Betreiben des Dusch-WCs, bei dem mit einer Wärmepumpe Duschwasser für die Unterleibsdusche des Dusch-WCs erwärmt wird.
- Die Erfindung schlägt also den Einsatz einer Wärmepumpe in einem Dusch-WC zur Warmwasserbereitung vor. Damit ist gemeint, dass das Dusch-WC einen eigenen, also gesondert für das Dusch-WC vorgesehenem Warmwasserbereiter und dieser Warmwasserbereiter eine wiederum eigene Wärmepumpe aufweist. Die Erfindung richtet sich also nicht auf die Verwendung zum Beispiel von einer Zentralheizung mit Wärmepumpe erzeugten Warmwassers, also den einfachen Anschluss an eine in dem Gebäude (das eine Wärmepumpenheizung aufweist) vorhandene Warmwasserleitung.
- Wärmepumpen "erzeugen" anschaulich gesprochen durch einen einem konventionellen Kühlschrank vergleichbaren thermodynamischen Kreisprozess eines Mediums Wärme, das einem Wärmereservoir entzogen wird. Der Kreisprozess erlaubt dabei die Erhöhung des Temperaturniveaus von dem des Wärmereservoirs auf das benötigte Temperaturniveau. Der Kreisprozess muss durch Energieeinsatz angetrieben werden, insbesondere durch Betrieb eines elektrischen Kompressors. Heutige Wärmepumpen erreichen typischerweise sogenannte Kennzahlen in der Größenordnung von vier bis fünf. In anderen Worten wird für eine eingesetzte (in der Regel elektrische) Energieeinheit eine Wärmeenergie in Höhe des Vier- bis Fünffachen gewonnen, wobei die restlichen drei bis vier Energieanteile dem Wärmereservoir in Form von Wärme entzogen worden sind.
- Damit erlauben Wärmepumpen nicht nur die Einsparung (elektrischer) Energie - ein Aspekt mit bei Dusch-WCs in Folge der Häufigkeit der Nutzung und der begrenzten Wärmemengen bei der Warmwasserbereitung nicht in jedem Fall besonders vorrangiger Bedeutung. Wärmepumpen erlauben aber auch eine Erhöhung der Heizleistung über die dafür eingesetzte elektrische Leistung hinaus. Nach Überzeugung des Erfinders ist dieser Aspekt gerade bei Dusch-WCs von Interesse, weil die eingangs bereits beispielhaft aufgezählten typischen Einrichtungen eines Dusch-WCs durchgängig elektrische Verbraucher bilden und Dusch-WCs regelmäßig an gewöhnlichen Haushaltsstromquellen betrieben werden, also an einem Anschluss mit Haushaltsspannung (in Europa 230 V effektiv) und begrenzter Absicherung der Stromstärke (zum Beispiel in der Größenordnung von 10 A bis 16 A). Ein weiterer Aspekt ist der Anschluss WC-unabhängiger weiterer Verbraucher über dieselbe Sicherung; in vielen Fällen steht nämlich für ein Dusch-WC ein eigens abgesicherter Stromanschluss zur Verfügung.
- Wenn eine aus Komfortgründen und zur Verbesserung der Reinigungswirkung gewünschte Volumenleistung von zum Beispiel 1,5 l/min um zum Beispiel 25 °C erwärmt werden soll, so sind, jedenfalls ohne Heizbetrieb vor Benutzung des WCs und Wärmespeicherung, Heizleistungen nötig, die vor allem unter Berücksichtigung der weiteren elektrischen Verbraucher die Anschlussleistung übersteigen können. Mit einer Wärmepumpe, selbst einer recht einfachen Wärmepumpe mit eher schlechter Kennzahl, könnte aber zum Beispiel eine Anschlussleistung in der Größenordnung von 1 kW für die Warmwasserbereitung während der WC-Benutzung ausreichen und damit genügend Reserven für weitere Verbraucher übrig lassen.
- "Während der WC-Benutzung" ist dabei in Abgrenzung von der Warmwasserbereitung zeitlich außerhalb der WC-Benutzung gemeint, also unter Verwendung von Energiespeichern wie zum Beispiel Warmwasserspeichern (Boilern). Dort lässt sich natürlich durch kleine Heizleistungen mit entsprechend verlängerten Heizzeiten energetisch betrachtet genügend Warmwasser bereitstellen, jedoch sinkt in einem solchen System die Wassertemperatur während des Duschvorgangs in der Regel durch Zumischung ab und wären für wirklich komfortable Dusch-WCs mit über einen längeren Duschzeitraum anhaltend hoher Wassertemperatur problematisch große Speicher notwendig. Im Übrigen erzeugen solche Speicher abhängig vom Isolationsaufwand beträchtliche Energieverluste. Die Isolation wiederum lässt sich wegen der Begrenzungen des Bauvolumens nicht beliebig verbessern.
- Insoweit hat ein erfindungsgemäßes Warmwasserbereitungssystem mit Wärmepumpe den Vorteil, auch im Wesentlichen instantan, d. h. frühestens ab einer Erkennung einer anstehenden WC-Benutzung zum Beispiel durch eine Benutzererkennung durch einen Näherungssensor, Detektion einer WC-Deckelbewegung oder durch einfaches Einschalten, in der verbleibenden Zeit und/oder zeitgleich mit dem Warmwasserabruf genügend Heizleistung bereitzustellen.
- Vorzugsweise ist die erfindungsgemäße Wärmepumpe in dem Dusch-WC integriert, womit je nach individueller Ausführung die gesamte WC-Anlage gemeint ist. Zu dem Dusch-WC gehören also insbesondere der WC-Körper (die sogenannte Keramik) vor der Gebäudewand und, soweit vorhanden, ein Installationsvorbaukasten vor der Gebäudewand, ein Installationsraum des Dusch-WCs in einer Gebäudewand, etwa einer Trockenwand (zum Beispiel unter dem darin integrierten Spülwassertank) und auch Aufbauten und Anbauten auf bzw. an dem WC-Körper. Nicht gemeint sind hier Wärmepumpenanlagen, die baulich unabhängig von dem Dusch-WC in dem Sanitärraum verbaut sind. Insbesondere ist es bevorzugt, das Dusch-WC mit der Wärmepumpe herstellerseitig auszustatten und in einem zu installieren, insbesondere auch als Verkaufs- und/oder Installationseinheit (Modul).
- Das Wärmereservoir der Wärmepumpe kann bei dieser Erfindung unterschiedlich ausgestaltet sein. In Betracht kommen die Umgebungsluft, Gebäudeteile in der Umgebung, zum Beispiel Mauern des Sanitärraums, Fußbodenbereiche unter dem WC, Stahlbauteile einer Trockenbauwand und Ähnliches. In Betracht kommen ferner vorhandene Leitungen, insbesondere in der Nähe verlaufende Frischwasser- oder Abwasserleitungen, und zwar sowohl hinsichtlich ihrer äußeren Hülle, insbesondere bei Metallrohren, als auch hinsichtlich des Einbringens von Wärmetauschern in diese Leitungen.
- Besonders bevorzugt sind jedoch zwei WC-interne Lösungen, nämlich zunächst die Abwasser-Fäkalien-Mischung in dem WC selbst. Dazu kann in dem WC in dessen Abwasserleitung (im Unterschied zu einer allgemeinen Abwasserleitung) ein Wärmetauscher vorgesehen sein, und zwar insbesondere in einem eigens hierfür vorgesehen Fäkalientank im WC. Nach der Benutzung werden also die in dem WC befindlichen Fäkalien zusammen mit dem Spülwasser in einen Tank verbracht, um dort abgekühlt zu werden. Nach ausreichender Abkühlung werden sie dann weiter in die eigentliche Abwasserleitung transportiert. Der Vorteil dieser Lösung besteht darin, dass das Abwasser durch die Fäkalien und möglicherweise auch gerade verwendetes warmes Duschwasser des Dusch-WCs relativ warm ist. Der Nachteil besteht darin, dass der Wärmetauscher in einem verschmutzungssensiblen Bereich untergebracht ist und im Fall eines Fäkalientanks auch der Abführvorgang für Abwasser und Fäkalien verkompliziert wird. Ferner muss bei dieser Variante ein Wärmespeicher vorgesehen sein, weil die Wärmepumpe bei und nach dem Spülvorgang läuft und bis zur nächsten Benutzung des WCs Zeit vergeht.
- Eine andere bevorzugte Lösung (die die zuvor beschriebene oder weitere aber nicht ausschließt) richtet sich auf den Spülwassertank (den sogenannten Spülkasten) des WCs selbst. Hier ist ein mehrere Liter umfassender Frischwasservorrat gegeben, der entweder zu einem Wärmetauscher zirkuliert werden kann oder direkt im Spülwassertank durch einen Wärmetauscher abgekühlt werden kann. Hierbei kann der Wärmepumpenbetrieb während der WC-Benutzung und dabei vor oder während des Duschvorgangs ablaufen. Der spezifische Vorteil besteht darin, dass das abgekühlte Wasser bei dem anschließenden Spülvorgang über die Abwasserleitung aus dem Gebäude herausgebracht wird und daher kaum Gebäudewärme aufnimmt. Auch wenn das Frischwasser in dem Spülwassertank relativ kühl ist, zum Beispiel deutlich kühler als Gebäudeteile, kann sich die Energiebilanz trotzdem dadurch verbessern, dass die Wärmeaufnahme nicht oder wenig zu Lasten der Gebäudeheizung geht. Im Übrigen bietet der Spülwassertank ein baulich nahes Wärmereservoir mit einem ausreichenden Volumen.
- Auch wenn eingangs die erfindungsgemäße Warmwasserbereitung mit der Wärmepumpe als günstige Alternative zur konventionellen Praxis mit Durchlauferhitzern erläutert wurde, ist die Verwendung von Durchlauferhitzern bei der Erfindung erstens nicht ausgeschlossen und zweitens aus bestimmten Gründen auch günstig. Ein zusätzlicher Durchlauferhitzer ist nämlich baulich einfach und klein sowie preiswert und außerdem reaktionsschnell und damit steuerungs- oder regelungstechnisch einfach. Wenn also der größte Teil der Heizleistung von der Wärmepumpe aufgebracht wird, so kann zusätzlich ein weiterer kleinerer Teil aus einem Durchlauferhitzer stammen. Das hat erstens den Vorteil eines schnelleren Erreichens einer ausreichenden Temperatur und im Fall einer Regelung zumindest ungefähr der Soll-Temperatur und zweitens den Vorteil, dass die eigentlichen Steuer- und insbesondere Regelungseingriffe zum Erreichen und Aufrechterhalten der gewünschten Temperatursteuerung bzw. -regelung mit der Heizleistung des Durchlauferhitzers durchgeführt werden können. Wenn der Durchlauferhitzer dabei stromabwärts von der Wärmepumpenheizung liegt, also vorgewärmtes Wasser erhält, kommt hinzu, dass er den höchstliegenden Teil des notwendigen Temperaturhubes bewerkstelligt, in dem die Wärmepumpe den schlechtesten Wirkungsgrad hat.
- Ferner kann die Wärmepumpe in vorteilhafter Weise mit einem von ihr geheizten Wärmespeicher kombiniert sein. Einerseits betrifft das den Wärmepumpenbetrieb während der WC-Benutzung. Dabei kann die Wärmepumpe dennoch einen Wasserspeichervorrat ausreichend erwärmen oder zumindest anwärmen, um dann gegebenenfalls unterstützt durch eine Heizleistung der weiterlaufenden Wärmepumpe oder einen Durchlauferhitzer während der Duschfunktion Warmwasser zu liefern. Der Wärmespeicher kann dann deutlich kleiner ausfallen als wenn keine Wärmepumpe vorhanden wäre, weil durch die Wärmepumpe während des WC-Betriebs eine höhere Gesamtheizleistung vorliegt. Natürlich kann der Wärmespeicher, insbesondere Warmwasserspeicher, auch schon vor dem Beginn der WC-Benutzung auf ein bestimmtes (nicht notwendig ausreichendes) Temperaturniveau angewärmt werden. Ferner ist der Wärmespeicher von Vorteil, wenn der Wärmetauscher der Wärmepumpe Energie aus dem Abwasser/Fäkalien/Duschwasser-Gemisch des WCs selbst entnehmen soll.
- Vorteilhaft ist ein Betrieb der Wärmepumpe nur während der WC-Benutzung, sei es in Kombination mit einem Wärmespeicher oder ohne. Wie bereits erläutert erlaubt die Verwendung der Wärmepumpe eine ausreichende Heizleistung auch ohne Vorab-Speicherung der Wärme vor der WC-Benutzung und damit sogar das Weglassen eines Wärmespeichers.
- Im Folgenden wird die Erfindung anhand dreier Ausführungsbeispiele im Einzelnen erläutert, wobei die Merkmale der Ausführungsbeispiele auch in anderen Kombinationen erfindungswesentlich sein können und sich auf alle Anspruchskategorien beziehen.
- Figur 1
- zeigt eine Seitenansicht mit einer Schemadarstellung eines erfindungsgemäßen Dusch-WC nach einem ersten Ausführungsbeispiel.
- Figur 2
- zeigt eine Darstellung eines zweiten Ausführungsbeispiels analog
Figur 1 . - Figur 3
- zeigt eine Darstellung eines dritten Ausführungsbeispiels analog
Figur 1 undFigur 2 . -
Figur 1 zeigt eine schematische Ansicht eines Dusch-WCs nach einem ersten Ausführungsbeispiel. Dabei ist mit 1 ein an sich vorbekannter Keramik-WC-Körper bezeichnet, auf dessen Oberseite ein WC-Deckel 2 und darunter verborgen ein Sitzring vorgesehen ist. 3 bezeichnet einen Installationsvorbaukasten. Dabei kann es sich um eine an sich vorbekannte Trockenbau-Vorbauwand für technische Teile des Dusch-WCs, insbesondere einen inFigur 1 mit 4 bezeichneten Spülwassertank (im Folgenden Spülkasten), handeln. Es könnte sich hierbei aber auch um einen von einem Sanitärhersteller gelieferten Installationskasten ähnlich den Monolith-Produkten der Anmelderin handeln, der optional mit dem Dusch-WC erhältlich und zur Erleichterung der Installation vor einer Gebäudewand montierbar ist. Schließlich könnte man sich hier auch einen Hohlraum in einer Gebäudewand selbst vorstellen. - Der WC-Körper 1 ist wandhängend ausgeführt und über hier nicht im Einzelnen dargestellte mechanische Elemente an dem Installationskasten 3 befestigt. In
Figur 1 ist in dem WC-Körper 1 ein Teil des im Folgenden erläuterten Warmwasserbereiters eingezeichnet, wobei es sich hierbei nur um eine schematische (einem Schaltdiagramm ähnelnde) und nicht etwa um eine die tatsächlichen örtlichen Verhältnisse genau wiedergebende Darstellung handelt. In der Praxis würden die entsprechenden Bestandteile des Warmwasserbereiters eher im inFigur 1 links liegenden Heckbereich des Klosettkörpers 1 oder in einem nicht gezeichneten Aufbau darauf untergebracht. - In dem wassergefüllten Spülkasten 4 ist ein als Wärmetauscher fungierender Verdampfer 5 in einem Betriebsmittelkreislauf einer Wärmepumpe untergebracht. Dieser ist über Betriebsmittelleitungen 6 mit den technischen Elementen des Warmwasserbereiters im Klosettkörper 1 verbunden, und zwar mit einem Verdichter 7 und einem Expansionsventil 8. Zwischen diesen beiden Elementen liegt ferner ein Kondensator 9 der Wärmepumpe, der hinsichtlich Wärmetausch an einen Warmwasserleitungskreis 10 angeschlossen ist. In dem Warmwasserleitungskreis 10 befindet sich ferner eine Umwälzpumpe 11, die Wasser aus einem Warmwasserspeicher 12 zirkulieren und durch den Kondensator 9 laufen lässt.
- Der Warmwasserspeicher 12 wird über eine Frischwasserzuleitung 13 aus dem Installationskasten 3 heraus mit Frischwasser nachgefüllt, wobei die Frischwasserleitung 13 zum Beispiel über ein Verteilerstück an dem Frischwasseranschluss des Spülkastens 4 mit angeschlossen sein kann.
- Schließlich führt von dem Warmwasserspeicher 12 über eine Wasserpumpe 14 eine Warmwasserleitung 15 zu einer nicht dargestellten und an sich vorbekannten Unterleibsdusche des Dusch-WCs.
- Hier wird also das Wasser in dem Warmwasserspeicher 12 mit der Umwälzpumpe 11 durch den Kondensator 9 gepumpt und so auf eine bestimmte Temperatur erwärmt. Die Wärmepumpe mit den Elementen 5 bis 9 liefert die Energie, und zwar der Kennzahl entsprechend zum größten Teil durch Abkühlen des Frischwassers im Spülkasten 4. Da nach der Benutzung des WCs regelmäßig die Spülung betätigt wird, wird das entsprechend abgekühlte Spülwasser relativ schnell aus dem Gebäude heraus transportiert und nimmt insoweit nur einen kleinen Teil der ihm entzogenen Wärme wieder aus dem Gebäude auf. Natürlich muss darauf geachtet werden, dass die Spülfunktion des Spülkastens 4 nicht durch Eisbildung behindert wird.
- Bei diesem Ausführungsbeispiel ist abhängig von der Warmwassermenge in dem Warmwasserspeicher 12 und der gewünschten Temperatur sowie der Leistung der Wärmepumpe 5 bis 9 ein Betrieb der Wärmepumpe erst nach Öffnen des WC-Deckels 2 oder einer Benutzererkennung denkbar. Die verbleibende Zeit bis zur eigentlichen Betätigung der Duschfunktion und bei Bedarf auch die Zeit während des Duschens kann bei ausreichender Leistung völlig genügen, und zwar ohne besonders leistungsfähigen Stromanschluss. Dies gilt auch bei zusätzlichen elektrischen Verbrauchern, die hier nicht eingezeichnet sind, die aber über denselben Stromanschluss mitversorgt werden. Bei Bedarf kann aber auch schon eine erhöhte Temperatur vor Beginn der eigentlichen WC-Benutzung vorliegen, sodass der Warmwasserspeicher 12 auch dazu genutzt werden kann, die Heizzeit zu verlängern.
- Insgesamt muss bei diesem Ausführungsbeispiel kein schnell reagierendes Heizsystem realisiert werden, ist aber ein Wasserspeicher notwendig. Dieser könnte zwar bei ausreichender Heizleistung der Wärmepumpe während des Duschbetriebs mit Frischwasser nachgefüllt und insoweit klein ausgelegt werden, bedeutet aber in jedem Fall ein vergrößertes Bauvolumen und einen gewissen zusätzlichen Bauaufwand. Wenn nicht nachgefüllt werden kann, ist ein "endloses" Nutzen der Duschfunktion nicht möglich.
- Natürlich kann in diesem Fall die Wärmepumpe auch teilweise oder ganz in der Installationswand angeordnet werden; das gilt auch, aber nicht zwingend für den Warmwasserspeicher. Ferner könnte auch die Frischwasserleitung durch den Kondensator geführt werden. Schließlich ist natürlich auch eine Anordnung des Verdampfers außerhalb des Spülkastens denkbar, indem das Wasser aus dem Spülkasten mit einer weiteren Leitung zum Verdampfer geführt wird.
-
Figur 2 zeigt eine Darstellung des zweiten Ausführungsbeispiels analogFigur 1 , wobei für entsprechende Elemente auch die gleichen Bezugszeichen verwendet sind und dementsprechend keine wiederholte Erläuterung folgt. Im Unterschied zum ersten Ausführungsbeispiel ist hier ein elektrischer Durchlauferhitzer 16 vorgesehen, der stromabwärts von dem Kondensator 9 der Wärmepumpe 5 bis 9 in die Warmwasserleitung 15 geschaltet ist. Bei diesem Beispiel liegt die Duschwasserpumpe 14 stromaufwärts von dem Kondensator 9 und bezieht das zu erwärmende Wasser in gleicher Weise wie beim ersten Ausführungsbeispiel über eine Frischwasserleitung 13. Zur Sicherstellung der entsprechenden Schutzvorschriften für das Frischwassernetz ist hier eine an sich bekannte Trennung 17 vorgesehen, d. h. ein über eine bestimmte Höhe fallender Einlauf in einen Auffangtrichter. - Dementsprechend verfügt dieses Ausführungsbeispiel über keinen Wärmespeicher sondern arbeitet ausschließlich instantan während des eigentlichen Duschvorgangs. Die Wärmepumpe 5 bis 9 trägt dabei den größten Teil zur notwendigen Heizleistung bei und der Durchlauferhitzer 16 ist wegen der hier erforderlichen schnelleren Reaktionsfähigkeit des Gesamtsystems vorgesehen. Er kann in einer Anlaufphase für eine schnellere Temperaturerhöhung sorgen und im Übrigen im Dauerbetrieb eine präzisere Temperaturregelung erlauben. Damit verschlechtert der Durchlauferhitzer den energetischen Wirkungsgrad etwas, wobei hierfür letztlich entscheidend ist, wie gut das Anlaufverhalten und die Temperaturstabilität mit der an sich trägeren Wärmepumpe 5 bis 9 angenähert und wie klein damit der Durchlauferhitzer 16 ausgelegt werden kann. Als Vorteil sind die grundsätzlich sehr gute Steuer- oder Regelbarkeit der Temperatur und die prinzipiell unbegrenzte Duschzeit sowie die im Vergleich zum ersten Ausführungsbeispiel geringe Baugröße zu nennen.
- Hinsichtlich möglicher Varianten wird auf die Anmerkungen zum ersten Ausführungsbeispiel verwiesen.
- Das dritte Ausführungsbeispiel ist in
Figur 3 dargestellt, wobei auch hier wieder dem ersten Ausführungsbeispiel entsprechende Elemente mit den gleichen Bezugsziffern bezeichnet sind und nicht neu erläutert werden. - Der wesentliche Unterschied zu den ersten beiden Ausführungsbeispielen liegt in der Existenz eines Fäkalientanks 18, der, wie gestrichelt eingezeichnet, dem Ablaufsiphon einer Schüssel des WC-Körpers 1 nachgeschaltet ist. Die in der WC-Schüssel angesammelte Mischung aus Spülwasser, Fäkalien und gegebenenfalls warmem Duschwasser wird in diesem Tank 18 zwischengespeichert, bevor sie nach einer bestimmten Zeit über eine Ablaufleitung 19 mit einem Ablassventil 20 abgeführt wird. Hier könnte auch eine Abführpumpe und eine Zerkleinerungseinrichtung zur Vermeidung von Verstopfungen (stromaufwärts von dem Tank 18) vorgesehen sein. Dementsprechend sind in oder an dem Fäkalientank 18 der Wärmetauscher bzw. Verdampfer 5' einer Wärmepumpe 5' bis 9 vorgesehen, die ansonsten analog wie bei den beiden anderen Ausführungsbeispielen aufgebaut ist. Ferner ist ein Warmwasserspeicher 12 wie beim ersten Ausführungsbeispiel vorgesehen, der auch genauso installiert ist. Da allerdings die Fäkalien nur am Ende bzw. nach der WC-Benutzung gekühlt werden können, lässt es sich hier nicht vermeiden, die von der Wärmepumpe erzeugte Heizenergie in dem Warmwasserspeicher 12 für eine längere Zeit bis zur nächsten WC-Benutzung zwischenzuspeichern. Dazu kann der Warmwasserspeicher 12 entsprechend groß und gut isoliert ausgeführt sein.
- Im Übrigen gelten die Anmerkungen zum ersten Ausführungsbeispiel.
- Vorteil dieses Ausführungsbeispiels ist die Nutzung der ansonsten ungenutzt abgeführten Restwärme im Abwasser und die weitgehende Vermeidung der Wärmeaufnahme aus dem Gebäude. Allerdings ist dieses Ausführungsbeispiel hinsichtlich Aufwand und Bauvolumen aufwendiger als die ersten beiden und muss hinsichtlich der Verschmutzungsproblematik im Fäkalientank sowie davor und dahinter sorgfältig ausgelegt werden.
- Im Übrigen können die Ausführungsbeispiele ganz oder teilweise miteinander kombiniert werden, könnte also zum Beispiel der Durchlauferhitzer 16 aus dem zweiten Ausführungsbeispiel auch zusätzlich im ersten oder dritten Ausführungsbeispiel vorgesehen sein, oder könnte der Wärmeentzug aus dem Spülkasten 4 im ersten und zweiten Ausführungsbeispiel mit dem Wärmeentzug aus dem Fäkalientank 18 kombiniert sein.
Claims (12)
- Dusch-WC mit
einer Unterleibsdusche und einem Warmwasserbereiter (5-20, 5') für Duschwasser für die Unterleibsdusche,
dadurch gekennzeichnet, dass der Warmwasserbereiter (5-20, 5') eine Wärmepumpe (5-9, 5') aufweist. - Dusch-WC nach Anspruch 1, bei dem die Wärmepumpe (5-9, 5') in dem Dusch-WC integriert ist.
- Dusch-WC nach Anspruch 1 oder 2, bei dem die Wärmepumpe (5', 6-9) einen Wärmetauscher (5') aufweist, der zur Nutzung von Wärme aus WC-Abwasser ausgelegt ist.
- Dusch-WC nach Anspruch 3, bei dem der Wärmetauscher (5') Teil eines Fäkalientanks (18) in dem Dusch-WC ist.
- Dusch-WC nach einem der vorstehenden Ansprüche, bei der ein Wärmetauscher (5) der Wärmepumpe (5-9) dazu ausgelegt ist, Wärme eines Spülwassertanks (4) des Dusch-WCs zu nutzen.
- Dusch-WC nach einem der vorstehenden Ansprüche, bei dem der Warmwasserbereiter (5-20) zusätzlich einen Durchlauferhitzer (16) zur Verbesserung des Anlaufverhaltens und/oder der Temperatursteuerung aufweist.
- Dusch-WC nach einem der vorstehenden Ansprüche, bei dem der Warmwasserbereiter (5-20, 5') einen durch die Wärmepumpe (5-9, 5') heizbaren Wärmespeicher (12), insbesondere Warmwassertank, aufweist.
- Dusch-WC nach einem der vorstehenden Ansprüche, bei dem kein Wärmespeicher vorgesehen ist, der dazu ausgelegt ist, zeitlich außerhalb einer WC-Benutzung geheizt zu werden.
- Verfahren zum Betreiben eines Dusch-WCs nach einem der vorstehenden Ansprüche, bei dem mit einer Wärmepumpe (5-9, 5') Duschwasser für eine Unterleibsdusche des Dusch-WCs erwärmt wird.
- Verfahren nach Anspruch 9, bei dem die Wärmepumpe (5-9, 5') zeitlich ausschließlich während einer WC-Benutzung in Betrieb ist.
- Verfahren nach Anspruch 9 oder 10 zum Betreiben eines Dusch-WCs nach Anspruch 6, bei dem die Wärmepumpe (5-9, 5') den quantitativen Hauptteil der Heizlast trägt und der Durchlauferhitzer (16) zur Temperaturregelung eingesetzt wird.
- Verwendung einer Wärmepumpe (5-9, 5') für ein Dusch-WC nach einem der Ansprüche 1 bis 8 oder für ein Betriebsverfahren nach einem der Ansprüche 9 bis 11.
Priority Applications (1)
| Application Number | Priority Date | Filing Date | Title |
|---|---|---|---|
| EP20120177378 EP2687641B1 (de) | 2012-07-20 | 2012-07-20 | Dusch-WC mit Wärmepumpe zum Erwärmen des Duschwassers |
Applications Claiming Priority (1)
| Application Number | Priority Date | Filing Date | Title |
|---|---|---|---|
| EP20120177378 EP2687641B1 (de) | 2012-07-20 | 2012-07-20 | Dusch-WC mit Wärmepumpe zum Erwärmen des Duschwassers |
Publications (2)
| Publication Number | Publication Date |
|---|---|
| EP2687641A1 true EP2687641A1 (de) | 2014-01-22 |
| EP2687641B1 EP2687641B1 (de) | 2014-12-24 |
Family
ID=46548311
Family Applications (1)
| Application Number | Title | Priority Date | Filing Date |
|---|---|---|---|
| EP20120177378 Not-in-force EP2687641B1 (de) | 2012-07-20 | 2012-07-20 | Dusch-WC mit Wärmepumpe zum Erwärmen des Duschwassers |
Country Status (1)
| Country | Link |
|---|---|
| EP (1) | EP2687641B1 (de) |
Cited By (4)
| Publication number | Priority date | Publication date | Assignee | Title |
|---|---|---|---|---|
| EP3141668A1 (de) * | 2015-09-09 | 2017-03-15 | Geberit International AG | Dusch-wc mit durchlauferhitzer und boiler |
| EP3170940A1 (de) * | 2015-11-18 | 2017-05-24 | Geberit International AG | Dusch-wc mit einem wassererhitzer |
| CN113789841A (zh) * | 2021-09-13 | 2021-12-14 | 西唯科技(浙江)有限公司 | 一种分区电加热的节能型智能马桶 |
| CN115507548A (zh) * | 2021-06-07 | 2022-12-23 | 北京理工大学 | 基于热泵循环的智能恒温马桶圈 |
Citations (3)
| Publication number | Priority date | Publication date | Assignee | Title |
|---|---|---|---|---|
| DE2809622A1 (de) * | 1978-03-06 | 1979-09-13 | Juergen Kurth | Gesaessreinigungseinrichtung fuer wc-anlagen |
| EP0059888A1 (de) * | 1981-03-06 | 1982-09-15 | Heinz Georg Baus | Einrichtung zum Waschen |
| JP2009072392A (ja) * | 2007-09-21 | 2009-04-09 | Shinwa Tekku Kk | トイレシステム |
-
2012
- 2012-07-20 EP EP20120177378 patent/EP2687641B1/de not_active Not-in-force
Patent Citations (3)
| Publication number | Priority date | Publication date | Assignee | Title |
|---|---|---|---|---|
| DE2809622A1 (de) * | 1978-03-06 | 1979-09-13 | Juergen Kurth | Gesaessreinigungseinrichtung fuer wc-anlagen |
| EP0059888A1 (de) * | 1981-03-06 | 1982-09-15 | Heinz Georg Baus | Einrichtung zum Waschen |
| JP2009072392A (ja) * | 2007-09-21 | 2009-04-09 | Shinwa Tekku Kk | トイレシステム |
Cited By (6)
| Publication number | Priority date | Publication date | Assignee | Title |
|---|---|---|---|---|
| EP3141668A1 (de) * | 2015-09-09 | 2017-03-15 | Geberit International AG | Dusch-wc mit durchlauferhitzer und boiler |
| EP3170940A1 (de) * | 2015-11-18 | 2017-05-24 | Geberit International AG | Dusch-wc mit einem wassererhitzer |
| EP3170940B1 (de) | 2015-11-18 | 2020-01-01 | Geberit International AG | Dusch-wc mit einem wassererhitzer |
| CN115507548A (zh) * | 2021-06-07 | 2022-12-23 | 北京理工大学 | 基于热泵循环的智能恒温马桶圈 |
| CN113789841A (zh) * | 2021-09-13 | 2021-12-14 | 西唯科技(浙江)有限公司 | 一种分区电加热的节能型智能马桶 |
| CN113789841B (zh) * | 2021-09-13 | 2023-03-10 | 西唯科技(浙江)有限公司 | 一种分区电加热的节能型智能马桶 |
Also Published As
| Publication number | Publication date |
|---|---|
| EP2687641B1 (de) | 2014-12-24 |
Similar Documents
| Publication | Publication Date | Title |
|---|---|---|
| EP2309052B1 (de) | Verfahren zur Rückgewinnung von Energie aus der Wärme von Abwasser eines wasserführenden Haushaltsgerätes | |
| EP2446796B1 (de) | Geschirrspüler mit Wärmepumpe | |
| EP2206824B1 (de) | Haushaltgerät mit Bottich, Wärmepumpe und Tank | |
| EP2322072B1 (de) | Geschirrspüler mit Latentwärmespeicher | |
| EP2108299B1 (de) | Programmautomat mit Abwasserwärmerückgewinnung | |
| EP3141176B1 (de) | Geschirrspülmaschine, insbesondere haushaltsgeschirrspülmaschine | |
| EP1717518B1 (de) | Gargerät mit einem Garraumablauf und einem Siphon | |
| DE102009029186A1 (de) | Geschirrspülmaschine mit einem Flottenspeicher sowie zugehöriges Verfahren | |
| EP2687641B1 (de) | Dusch-WC mit Wärmepumpe zum Erwärmen des Duschwassers | |
| WO2010142569A1 (de) | Geschirrspülmaschine mit wärmetauscher sowie zugehöriges steuerungsverfahren | |
| EP3170940B1 (de) | Dusch-wc mit einem wassererhitzer | |
| EP3036364A1 (de) | Haushaltsgerät mit spülwasserbehälter | |
| EP3285011A2 (de) | Gargerät und verfahren zum betreiben | |
| DE102008041955A1 (de) | Vorrichtung zur Erwärmung von Betriebswasser für ein wasserführendes Haushaltgerät zur Pflege von Wäschestücken und Haushaltgerät mit einer solchen Vorrichtung | |
| EP3705789B1 (de) | Wasserversorgungssystem und verfahren zum betreiben eines solchen | |
| DE202012007015U1 (de) | Dusch-WC mit Warmwasserbereiter | |
| DE102009054161B4 (de) | Vorrichtung zum Reinigen und Desinfizieren von Reinigungsgut und Verfahren zur Desinfektion einer Vorrichtung der vorgenannten Art | |
| DE102011103142B3 (de) | Vorrichtung zum Reinigen und Desinfizieren von Reinigungsgut und Verfahren zur Desinfektion einer Vorrichtung der vorgenannten Art | |
| DE102007063111A1 (de) | Verfahren zur Rückgewinnung der Abwasserwärme von Duschen | |
| EP2229866A2 (de) | Geschirrspülmaschine mit einem Frischwasserspeicher | |
| DE2837379A1 (de) | Frostschuetzende anordnung der warm- und kaltwasserleitungen in wohnwagen und fertighaeusern | |
| DE102012024578A1 (de) | Brauchwasservorrichtung zur Speisung von Entnahmestellen mit Kalt- und Warmwasser | |
| EP2440105B1 (de) | Geschirrspülmaschine mit einer enthärtungseinrichtung sowie zugehöriges wartungsverfahren | |
| DE102019218097A1 (de) | Energierückgewinnungstauscher | |
| DE102006028040A1 (de) | Heizanlage |
Legal Events
| Date | Code | Title | Description |
|---|---|---|---|
| PUAI | Public reference made under article 153(3) epc to a published international application that has entered the european phase |
Free format text: ORIGINAL CODE: 0009012 |
|
| 17P | Request for examination filed |
Effective date: 20130114 |
|
| AK | Designated contracting states |
Kind code of ref document: A1 Designated state(s): AL AT BE BG CH CY CZ DE DK EE ES FI FR GB GR HR HU IE IS IT LI LT LU LV MC MK MT NL NO PL PT RO RS SE SI SK SM TR |
|
| AX | Request for extension of the european patent |
Extension state: BA ME |
|
| GRAP | Despatch of communication of intention to grant a patent |
Free format text: ORIGINAL CODE: EPIDOSNIGR1 |
|
| RBV | Designated contracting states (corrected) |
Designated state(s): AL AT BE BG CH CY CZ DE DK EE ES FI FR GB GR HR HU IE IS IT LI LT LU LV MC MK MT NL NO PL PT RO RS SE SI SK SM TR |
|
| INTG | Intention to grant announced |
Effective date: 20140708 |
|
| GRAS | Grant fee paid |
Free format text: ORIGINAL CODE: EPIDOSNIGR3 |
|
| GRAA | (expected) grant |
Free format text: ORIGINAL CODE: 0009210 |
|
| AK | Designated contracting states |
Kind code of ref document: B1 Designated state(s): AL AT BE BG CH CY CZ DE DK EE ES FI FR GB GR HR HU IE IS IT LI LT LU LV MC MK MT NL NO PL PT RO RS SE SI SK SM TR |
|
| REG | Reference to a national code |
Ref country code: GB Ref legal event code: FG4D Free format text: NOT ENGLISH |
|
| REG | Reference to a national code |
Ref country code: CH Ref legal event code: EP |
|
| REG | Reference to a national code |
Ref country code: IE Ref legal event code: FG4D Free format text: LANGUAGE OF EP DOCUMENT: GERMAN |
|
| REG | Reference to a national code |
Ref country code: AT Ref legal event code: REF Ref document number: 703223 Country of ref document: AT Kind code of ref document: T Effective date: 20150115 |
|
| REG | Reference to a national code |
Ref country code: CH Ref legal event code: NV Representative=s name: BOVARD AG, CH |
|
| REG | Reference to a national code |
Ref country code: DE Ref legal event code: R096 Ref document number: 502012001891 Country of ref document: DE Effective date: 20150219 |
|
| REG | Reference to a national code |
Ref country code: NL Ref legal event code: VDEP Effective date: 20141224 |
|
| PG25 | Lapsed in a contracting state [announced via postgrant information from national office to epo] |
Ref country code: FI Free format text: LAPSE BECAUSE OF FAILURE TO SUBMIT A TRANSLATION OF THE DESCRIPTION OR TO PAY THE FEE WITHIN THE PRESCRIBED TIME-LIMIT Effective date: 20141224 Ref country code: LT Free format text: LAPSE BECAUSE OF FAILURE TO SUBMIT A TRANSLATION OF THE DESCRIPTION OR TO PAY THE FEE WITHIN THE PRESCRIBED TIME-LIMIT Effective date: 20141224 Ref country code: NO Free format text: LAPSE BECAUSE OF FAILURE TO SUBMIT A TRANSLATION OF THE DESCRIPTION OR TO PAY THE FEE WITHIN THE PRESCRIBED TIME-LIMIT Effective date: 20150324 |
|
| REG | Reference to a national code |
Ref country code: LT Ref legal event code: MG4D |
|
| PG25 | Lapsed in a contracting state [announced via postgrant information from national office to epo] |
Ref country code: SE Free format text: LAPSE BECAUSE OF FAILURE TO SUBMIT A TRANSLATION OF THE DESCRIPTION OR TO PAY THE FEE WITHIN THE PRESCRIBED TIME-LIMIT Effective date: 20141224 Ref country code: HR Free format text: LAPSE BECAUSE OF FAILURE TO SUBMIT A TRANSLATION OF THE DESCRIPTION OR TO PAY THE FEE WITHIN THE PRESCRIBED TIME-LIMIT Effective date: 20141224 Ref country code: RS Free format text: LAPSE BECAUSE OF FAILURE TO SUBMIT A TRANSLATION OF THE DESCRIPTION OR TO PAY THE FEE WITHIN THE PRESCRIBED TIME-LIMIT Effective date: 20141224 Ref country code: GR Free format text: LAPSE BECAUSE OF FAILURE TO SUBMIT A TRANSLATION OF THE DESCRIPTION OR TO PAY THE FEE WITHIN THE PRESCRIBED TIME-LIMIT Effective date: 20150325 Ref country code: LV Free format text: LAPSE BECAUSE OF FAILURE TO SUBMIT A TRANSLATION OF THE DESCRIPTION OR TO PAY THE FEE WITHIN THE PRESCRIBED TIME-LIMIT Effective date: 20141224 |
|
| PG25 | Lapsed in a contracting state [announced via postgrant information from national office to epo] |
Ref country code: NL Free format text: LAPSE BECAUSE OF FAILURE TO SUBMIT A TRANSLATION OF THE DESCRIPTION OR TO PAY THE FEE WITHIN THE PRESCRIBED TIME-LIMIT Effective date: 20141224 |
|
| PG25 | Lapsed in a contracting state [announced via postgrant information from national office to epo] |
Ref country code: RO Free format text: LAPSE BECAUSE OF FAILURE TO SUBMIT A TRANSLATION OF THE DESCRIPTION OR TO PAY THE FEE WITHIN THE PRESCRIBED TIME-LIMIT Effective date: 20141224 Ref country code: EE Free format text: LAPSE BECAUSE OF FAILURE TO SUBMIT A TRANSLATION OF THE DESCRIPTION OR TO PAY THE FEE WITHIN THE PRESCRIBED TIME-LIMIT Effective date: 20141224 Ref country code: ES Free format text: LAPSE BECAUSE OF FAILURE TO SUBMIT A TRANSLATION OF THE DESCRIPTION OR TO PAY THE FEE WITHIN THE PRESCRIBED TIME-LIMIT Effective date: 20141224 Ref country code: SK Free format text: LAPSE BECAUSE OF FAILURE TO SUBMIT A TRANSLATION OF THE DESCRIPTION OR TO PAY THE FEE WITHIN THE PRESCRIBED TIME-LIMIT Effective date: 20141224 Ref country code: CZ Free format text: LAPSE BECAUSE OF FAILURE TO SUBMIT A TRANSLATION OF THE DESCRIPTION OR TO PAY THE FEE WITHIN THE PRESCRIBED TIME-LIMIT Effective date: 20141224 |
|
| PG25 | Lapsed in a contracting state [announced via postgrant information from national office to epo] |
Ref country code: IS Free format text: LAPSE BECAUSE OF FAILURE TO SUBMIT A TRANSLATION OF THE DESCRIPTION OR TO PAY THE FEE WITHIN THE PRESCRIBED TIME-LIMIT Effective date: 20150424 Ref country code: PL Free format text: LAPSE BECAUSE OF FAILURE TO SUBMIT A TRANSLATION OF THE DESCRIPTION OR TO PAY THE FEE WITHIN THE PRESCRIBED TIME-LIMIT Effective date: 20141224 |
|
| REG | Reference to a national code |
Ref country code: DE Ref legal event code: R097 Ref document number: 502012001891 Country of ref document: DE |
|
| PG25 | Lapsed in a contracting state [announced via postgrant information from national office to epo] |
Ref country code: DK Free format text: LAPSE BECAUSE OF FAILURE TO SUBMIT A TRANSLATION OF THE DESCRIPTION OR TO PAY THE FEE WITHIN THE PRESCRIBED TIME-LIMIT Effective date: 20141224 |
|
| PLBE | No opposition filed within time limit |
Free format text: ORIGINAL CODE: 0009261 |
|
| STAA | Information on the status of an ep patent application or granted ep patent |
Free format text: STATUS: NO OPPOSITION FILED WITHIN TIME LIMIT |
|
| 26N | No opposition filed |
Effective date: 20150925 |
|
| PG25 | Lapsed in a contracting state [announced via postgrant information from national office to epo] |
Ref country code: IT Free format text: LAPSE BECAUSE OF FAILURE TO SUBMIT A TRANSLATION OF THE DESCRIPTION OR TO PAY THE FEE WITHIN THE PRESCRIBED TIME-LIMIT Effective date: 20141224 |
|
| REG | Reference to a national code |
Ref country code: DE Ref legal event code: R119 Ref document number: 502012001891 Country of ref document: DE |
|
| PG25 | Lapsed in a contracting state [announced via postgrant information from national office to epo] |
Ref country code: SI Free format text: LAPSE BECAUSE OF FAILURE TO SUBMIT A TRANSLATION OF THE DESCRIPTION OR TO PAY THE FEE WITHIN THE PRESCRIBED TIME-LIMIT Effective date: 20141224 Ref country code: MC Free format text: LAPSE BECAUSE OF FAILURE TO SUBMIT A TRANSLATION OF THE DESCRIPTION OR TO PAY THE FEE WITHIN THE PRESCRIBED TIME-LIMIT Effective date: 20141224 |
|
| REG | Reference to a national code |
Ref country code: CH Ref legal event code: PL |
|
| PG25 | Lapsed in a contracting state [announced via postgrant information from national office to epo] |
Ref country code: LU Free format text: LAPSE BECAUSE OF FAILURE TO SUBMIT A TRANSLATION OF THE DESCRIPTION OR TO PAY THE FEE WITHIN THE PRESCRIBED TIME-LIMIT Effective date: 20150720 |
|
| REG | Reference to a national code |
Ref country code: IE Ref legal event code: MM4A |
|
| PG25 | Lapsed in a contracting state [announced via postgrant information from national office to epo] |
Ref country code: DE Free format text: LAPSE BECAUSE OF NON-PAYMENT OF DUE FEES Effective date: 20160202 Ref country code: CH Free format text: LAPSE BECAUSE OF NON-PAYMENT OF DUE FEES Effective date: 20150731 Ref country code: LI Free format text: LAPSE BECAUSE OF NON-PAYMENT OF DUE FEES Effective date: 20150731 |
|
| REG | Reference to a national code |
Ref country code: FR Ref legal event code: ST Effective date: 20160331 |
|
| PG25 | Lapsed in a contracting state [announced via postgrant information from national office to epo] |
Ref country code: FR Free format text: LAPSE BECAUSE OF NON-PAYMENT OF DUE FEES Effective date: 20150731 |
|
| PG25 | Lapsed in a contracting state [announced via postgrant information from national office to epo] |
Ref country code: IE Free format text: LAPSE BECAUSE OF NON-PAYMENT OF DUE FEES Effective date: 20150720 |
|
| GBPC | Gb: european patent ceased through non-payment of renewal fee |
Effective date: 20160720 |
|
| PG25 | Lapsed in a contracting state [announced via postgrant information from national office to epo] |
Ref country code: MT Free format text: LAPSE BECAUSE OF FAILURE TO SUBMIT A TRANSLATION OF THE DESCRIPTION OR TO PAY THE FEE WITHIN THE PRESCRIBED TIME-LIMIT Effective date: 20141224 |
|
| PG25 | Lapsed in a contracting state [announced via postgrant information from national office to epo] |
Ref country code: GB Free format text: LAPSE BECAUSE OF NON-PAYMENT OF DUE FEES Effective date: 20160720 Ref country code: BG Free format text: LAPSE BECAUSE OF FAILURE TO SUBMIT A TRANSLATION OF THE DESCRIPTION OR TO PAY THE FEE WITHIN THE PRESCRIBED TIME-LIMIT Effective date: 20141224 Ref country code: HU Free format text: LAPSE BECAUSE OF FAILURE TO SUBMIT A TRANSLATION OF THE DESCRIPTION OR TO PAY THE FEE WITHIN THE PRESCRIBED TIME-LIMIT; INVALID AB INITIO Effective date: 20120720 Ref country code: SM Free format text: LAPSE BECAUSE OF FAILURE TO SUBMIT A TRANSLATION OF THE DESCRIPTION OR TO PAY THE FEE WITHIN THE PRESCRIBED TIME-LIMIT Effective date: 20141224 |
|
| PG25 | Lapsed in a contracting state [announced via postgrant information from national office to epo] |
Ref country code: CY Free format text: LAPSE BECAUSE OF FAILURE TO SUBMIT A TRANSLATION OF THE DESCRIPTION OR TO PAY THE FEE WITHIN THE PRESCRIBED TIME-LIMIT Effective date: 20141224 |
|
| PG25 | Lapsed in a contracting state [announced via postgrant information from national office to epo] |
Ref country code: BE Free format text: LAPSE BECAUSE OF NON-PAYMENT OF DUE FEES Effective date: 20150731 |
|
| PG25 | Lapsed in a contracting state [announced via postgrant information from national office to epo] |
Ref country code: TR Free format text: LAPSE BECAUSE OF FAILURE TO SUBMIT A TRANSLATION OF THE DESCRIPTION OR TO PAY THE FEE WITHIN THE PRESCRIBED TIME-LIMIT Effective date: 20141224 Ref country code: MK Free format text: LAPSE BECAUSE OF FAILURE TO SUBMIT A TRANSLATION OF THE DESCRIPTION OR TO PAY THE FEE WITHIN THE PRESCRIBED TIME-LIMIT Effective date: 20141224 |
|
| PG25 | Lapsed in a contracting state [announced via postgrant information from national office to epo] |
Ref country code: PT Free format text: LAPSE BECAUSE OF FAILURE TO SUBMIT A TRANSLATION OF THE DESCRIPTION OR TO PAY THE FEE WITHIN THE PRESCRIBED TIME-LIMIT Effective date: 20141224 |
|
| REG | Reference to a national code |
Ref country code: AT Ref legal event code: MM01 Ref document number: 703223 Country of ref document: AT Kind code of ref document: T Effective date: 20170720 |
|
| PG25 | Lapsed in a contracting state [announced via postgrant information from national office to epo] |
Ref country code: AL Free format text: LAPSE BECAUSE OF FAILURE TO SUBMIT A TRANSLATION OF THE DESCRIPTION OR TO PAY THE FEE WITHIN THE PRESCRIBED TIME-LIMIT Effective date: 20141224 |
|
| PG25 | Lapsed in a contracting state [announced via postgrant information from national office to epo] |
Ref country code: AT Free format text: LAPSE BECAUSE OF NON-PAYMENT OF DUE FEES Effective date: 20170720 |