EP2646359B1 - Safety circuit of an elevator, and computer program for identifying a functional nonconformance of a safety circuit of an elevator - Google Patents
Safety circuit of an elevator, and computer program for identifying a functional nonconformance of a safety circuit of an elevator Download PDFInfo
- Publication number
- EP2646359B1 EP2646359B1 EP11844512.1A EP11844512A EP2646359B1 EP 2646359 B1 EP2646359 B1 EP 2646359B1 EP 11844512 A EP11844512 A EP 11844512A EP 2646359 B1 EP2646359 B1 EP 2646359B1
- Authority
- EP
- European Patent Office
- Prior art keywords
- elevator
- safety circuit
- node
- communications bus
- testing field
- Prior art date
- Legal status (The legal status is an assumption and is not a legal conclusion. Google has not performed a legal analysis and makes no representation as to the accuracy of the status listed.)
- Active
Links
Images
Classifications
-
- G—PHYSICS
- G06—COMPUTING OR CALCULATING; COUNTING
- G06F—ELECTRIC DIGITAL DATA PROCESSING
- G06F11/00—Error detection; Error correction; Monitoring
- G06F11/22—Detection or location of defective computer hardware by testing during standby operation or during idle time, e.g. start-up testing
- G06F11/26—Functional testing
-
- B—PERFORMING OPERATIONS; TRANSPORTING
- B66—HOISTING; LIFTING; HAULING
- B66B—ELEVATORS; ESCALATORS OR MOVING WALKWAYS
- B66B1/00—Control systems of elevators in general
- B66B1/34—Details, e.g. call counting devices, data transmission from car to control system, devices giving information to the control system
- B66B1/3415—Control system configuration and the data transmission or communication within the control system
- B66B1/3446—Data transmission or communication within the control system
- B66B1/3453—Procedure or protocol for the data transmission or communication
-
- B—PERFORMING OPERATIONS; TRANSPORTING
- B66—HOISTING; LIFTING; HAULING
- B66B—ELEVATORS; ESCALATORS OR MOVING WALKWAYS
- B66B5/00—Applications of checking, fault-correcting, or safety devices in elevators
- B66B5/0087—Devices facilitating maintenance, repair or inspection tasks
- B66B5/0093—Testing of safety devices
-
- B—PERFORMING OPERATIONS; TRANSPORTING
- B66—HOISTING; LIFTING; HAULING
- B66B—ELEVATORS; ESCALATORS OR MOVING WALKWAYS
- B66B5/00—Applications of checking, fault-correcting, or safety devices in elevators
- B66B5/0006—Monitoring devices or performance analysers
- B66B5/0018—Devices monitoring the operating condition of the elevator system
- B66B5/0031—Devices monitoring the operating condition of the elevator system for safety reasons
Definitions
- the invention relates to the identification of a functional nonconformance in the safety circuit of an elevator.
- the design instructions and design regulations concerning the safety circuits of an elevator are changing, especially as a result of developments in microprocessor technology and software technology.
- the safety circuits of an elevator can be designed based on microprocessor control and on data bus architecture.
- a number of sensors measuring the operation of an elevator for example, can be connected to the same data bus, and the operation of the elevator can be monitored with a separate electronic supervision unit connected to the data bus.
- the purpose of the safety circuit of an elevator is to ensure the safe operation of the elevator system in all operating situations.
- a high, generally at least SIL 2 - or SIL 3 - safety integrity level, is required of microprocessor-controlled supervision units, data buses, sensors, et cetera.
- devices and data buses must often be duplicated; duplication, on the other hand, increases the amount of components, circuits and wiring needed.
- the operating voltage for devices to be connected to a data transfer bus is also often carried in the same cable as the signal conductors. A breakage of the insulation of a conductor might cause a short-circuit or the connection of operating voltage to a signal conductor.
- Bus polling is implemented by the cyclic interaction of the master, namely said microprocessor, with its slaves, namely said nodes.
- document WO 2010/109748 A1 shows a computer program for a safety circuit that comprises nodes and sensors being connected by a communication bus, wherein a data package being formed in one of the nodes is sent via the communication bus to another node which carries out a comparison step to evaluate validity of the sent data.
- the aim of the invention is to improve the diagnostics of the safety circuit of an elevator.
- the invention is a method as carried out by a computer program according to claim 1 and also a safety circuit of an elevator according to claim 5.
- the preferred embodiments of the invention are described in the dependent claims.
- a message is formed in node A, and a testing field is added to the message for testing the operation of the safety circuit of an elevator.
- the message containing the aforementioned testing field is sent from node A to the communications bus in the safety circuit of the elevator.
- the aforementioned message containing a testing field is received in node B from the communications bus in the safety circuit of the elevator, and a functional nonconformance of the safety circuit of the elevator is identified in node B on the basis of the testing field received.
- a connection error and/or wiring error of node B is in this case identified on the basis of the testing field received.
- an incorrect polarity of the communications bus is in this case identified as a connection error of node B.
- a signal is formed in node B for indicating a functional nonconformance of the safety circuit of an elevator.
- the aforementioned functional nonconformance of the safety circuit of the elevator is in this case preferably a connection error and/or wiring error of node B.
- the means in node B are controlled to indicate a functional nonconformance of the elevator.
- the signal formed is sent via a communications bus to a second node connected to the communications bus for indicating a functional nonconformance.
- one or more references of a testing field are recorded in the memory of node B for identifying a functional nonconformance of the safety circuit of the elevator, the testing field received is compared to the aforementioned one or more references of a testing field that are recorded in the memory of node B and a functional nonconformance of the safety circuit of the elevator is identified on the basis of a comparison of the testing field received and the one or more references of a testing field that are recorded in the memory.
- information about the degree of severity of the functional nonconformance indicated by the reference in question is connected in connection with one or more references of the testing field in the memory of node B and also a signal is formed in node B, which signal indicates the greatest in degree of its severity of the detected simultaneous functional nonconformances of the safety circuit.
- a signal is formed in node B, which signal indicates the greatest in degree of its severity of the detected simultaneous functional nonconformances of the safety circuit.
- the safety circuit of an elevator comprises a communications bus, nodes connected to the communications bus and also sensors and/or actuators relating to the functionality of the safety circuit, said sensors being connected to the nodes.
- the aforementioned nodes connected to the communications bus comprise a microprocessor and also a memory, in which a program to be executed is stored.
- the aforementioned microprocessor is configured to perform any of the methods according to what is disclosed above for identifying a functional nonconformance of the safety circuit of an elevator.
- the safety circuit comprises at least two nodes, the nodes A and B.
- Node A is preferably an electronic supervision unit of the safety circuit of the elevator, which supervision unit is configured to determine the operating status of the elevator on the basis of measuring data received from the other node(s) connected to the communications bus, and which electronic supervision unit is configured, when it detects a functional nonconformance of the elevator, to activate the machinery brake, to disconnect the electricity supply to the elevator motor and also to prevent the starting of the next run of the elevator.
- the aforementioned communications bus is preferably a serial interface bus.
- the signal to be transferred in the communications bus is a differential signal, and the node B is configured to identify the incorrect polarity of the differential signal connected to the node B on the basis of the testing field received.
- the aforementioned node B preferably comprises means for indicating a functional nonconformance of the elevator.
- the means for indicating a functional nonconformance of the elevator comprise an LED component in the node B, which LED component is controlled with a microprocessor in the node B with a pulse-like control signal, the frequency, duration and frequency of occurrence of which pulse is selected such that the flashing of the LED component gives visual information about the type of, and/or degree of severity of, the functional nonconformance detected.
- information about a detected functional nonconformance of the safety circuit of an elevator is sent to a service center via a data transfer link.
- the aforementioned data transfer link can be e.g. an Internet connection or corresponding wireline connection; the data transfer link can also be implemented wirelessly, e.g. with a GSM connection or with a corresponding data transfer connection based on electromagnetic radiation.
- a functional nonconformance of the safety circuit of an elevator can be reliably identified.
- the occurrence location of a fault can be located quickly and accurately and the located occurrence location can also be indicated to the serviceman repairing the fault or it can be sent to a service center. All this improves the diagnostics of a safety circuit of an elevator and, on the other hand, enables the repair of a fault as quickly as possible such that any harm caused by the fault and relating to operation of the elevator is the minimum possible.
- the safety circuit of the elevator comprises nodes A, B, C, which are connected to a communications bus 6.
- the nodes A, B, C communicate with each other via the communications bus 6.
- the message in the communications bus 6 is transferred as a differential mode serial communication signal using two parallel signal conductors 15A, 15B for the transfer of the signal.
- each of the nodes A, B, C comprises a transmitter/receiver circuit 14A, 14B for the differential signal, preferably for a RS485 signal and based on asynchronous so-called UART protocol.
- the transmitter/receiver circuits 14A, 14B send a differential signal to the communications bus 6 such that in the parallel signal conductors 15A, 15B the same signal is sent simultaneously but inverted.
- the transmitter/receiver circuit 14A, 14B correspondingly reads from the differential the difference between the parallel signal conductors 15A, 15B.
- the safety circuit of the elevator is designed to meet the SIL 3 safety level, for which reason the communications bus 6 as well as the nodes A, B, C to be connected to the communications bus are duplicated in their structure.
- the duplicated structure is redundant such that in both differential data transfer channels 15A, 15B of the duplicated communications bus 6 data transfer occurs independently of the other channel.
- the nodes A, B, C comprise two microprocessors 13A, 13B as well as a transmitter/receiver circuit 14A, 14B connected to said microprocessors in each node.
- the first transmitter/receiver circuit 14A is connected to the first differential data transfer channel 15A, 15B and the second transmitter/receiver circuit 14B is connected to the second differential data transfer channel 15A, 15B according to Fig. 2 .
- the electronic supervision unit of the elevator functions as the node A, which electronic supervision unit receives data via the communications bus 6 from the sensors connected to the nodes B, C and controls, if necessary, the safety breaker 12 of the elevator.
- the safety breaker 12 is a relay, the contact of which opens when the electricity supply to the control coil of the relay ceases.
- the contact of the relay of the safety breaker 12 is connected to the safety circuit of the elevator such that the electricity supply to the electromagnet of the machinery brakes of the hoisting machine (not presented in Fig.
- a varying amount of nodes A, B, C can be connected to the communications bus 6; one node B can be fitted in connection with the elevator car (not presented in Fig. 2 ), preferably on the roof of the elevator car, in which case a sensor 11 measuring the position of the elevator car in the elevator hoistway as well as a sensor (not presented in Fig.
- One node C can be fitted in the elevator hoistway (not presented in Fig. 2 ), and sensors (not presented in Fig. 2 ) determining the limits of the permitted movement of the elevator car in the proximity of the ends of the elevator hoistway, sensors 10 determining the position/locking of a landing door, et cetera, can be fitted to the node.
- One node can be fitted in the machine room, or in an elevator system without machine room in the top part (not presented in Fig. 2 ) of the elevator hoistway, and e.g. a sensor measuring the operation of the overspeed governor can be connected to the node.
- time shared protocol is used such that the electronic supervision unit A sends to the nodes B, C via the communications bus 6 a message 1, and each of the nodes B, C responds to the message within an individual time window.
- One problem in the safety circuit of the elevator according to Fig. 2 is the large amount of wiring, connections and also components needed, owing to which a better solution than prior art is needed for diagnosing various connection errors/wiring errors.
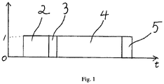
- Fig. 1 illustrates a message structure, which can be used e.g. in the safety circuit of an elevator according to Fig. 2 for identifying a functional nonconformance of the safety circuit of the elevator.
- the message contains a synchronization field 3, on the basis of which the node receiving the message is synchronized to the message to be received.
- the message contains a checking field 5, such as parity/a checksum, on the basis of which the receiving node checks the correctness of the received data in the data field 4.
- the message can variably contain also other fields, e.g.
- a testing field 2 is added to the beginning of the message for testing the operation of the safety circuit of the elevator. The following will present how the testing field 2 can be used for identifying a functional nonconformance of the safety circuit of an elevator.
- the nodes A, B, C send, one at a time, a message according to Fig. 1 to the communications bus 6, and the nodes in the bus receive the message from the communications bus 6.
- the references 9A, 9B, 9C of a testing field that are presented in Fig. 3 are recorded in the memory circuit of a node A, B, C for identifying a functional nonconformance of the safety circuit of the elevator.
- the microprocessor in a node A, B, C compares the testing field received with the references of the testing field in the memory and identifies a functional nonconformance of the safety circuit of the elevator on the basis of a comparison of the testing field 2 received and the references 9A, 9B, 9C of a testing field that are recorded in the memory.
- the testing field is designed such that the signal level, such as the voltage signal level or current signal level, of the testing field to be received remains unchanged for the entire duration of the testing field.
- the graph 9A in Fig. 3 presents a reference of a testing field, when the safety circuit of the elevator is in operating condition.
- the signal received by the microprocessor 13A, 13B in a node A, B, C remains in a logical "1" state for the entire duration of the testing field 2. If the signal received remains in a logical "0" state for the duration of the testing field 2, as is presented in the graph 9B in Fig. 3 , the signal conductors connected to the transmitter/receiver circuit 14A, 14B of a node A, B, C are crossed.
- the graph 9C of Fig. 3 presents a situation in which it has been forgotten to connect the signal conductors 15A, 15B to a node A, B, C. In this case the rest of the message 1, as well as the testing field 2, remains in a logical "1" state.
- a message can also comprise more than one testing field 2.
- a pulse pattern of the testing field 2 and consequently also the references of the testing field, can differ from what is described above.
- the pulse pattern/references of a testing field 2 can also be different in each node A, B, C and in both data transfer channels 15A, 15B, in which case by comparing a testing field 2 and the references of the testing field a possible wiring error/connection error between the different nodes and data transfer channels can be deduced.
- a node A, B, C controls the LEDs 8 with control pulses, the duration and frequency of occurrence of which can determine which type of fault is in question.
- a node A, B, C comprises its own LEDs 8 / microprocessor 13A, 13B for the diagnostics of both data transfer channels 15A, 15B, so that the faulty data transfer channel 15A, 15B can be located on the basis of a flashing LED.
- the degree of severity of the functional nonconformance indicated by the reference 9A, 9B, 9C in question is recorded in connection with the references 9A, 9B, 9C of a testing field.
- the degree of severity of the fault indicated by the reference 9C can be determined to be larger than the degree of severity of the fault indicated by the reference 9B.
- the control of the LED is selected in the node in question always to indicate the greatest fault in terms of its degree of severity.
- the means for indicating a functional nonconformance can comprise, in addition to or instead of LEDs, e.g. a loudspeaker, in which case a functional nonconformance can be indicated as an acoustic signal; the aforementioned means can also comprise a display, in which case a functional nonconformance can be indicated e.g. in symbols, in numbers or in text format.
- the invention is described in connection with the safety circuit of an elevator; however, the invention is also suited for use e.g. in the diagnostics of the safety circuits of an escalator and of a travelator.
- the invention is described above by the aid of a few examples of its embodiment. It is obvious to the person skilled in the art that the invention is not only limited to the embodiments described above, but that many other applications are possible within the scope of the inventive concept defined by the claims.
Landscapes
- Engineering & Computer Science (AREA)
- Automation & Control Theory (AREA)
- General Engineering & Computer Science (AREA)
- Theoretical Computer Science (AREA)
- Computer Networks & Wireless Communication (AREA)
- Computer Hardware Design (AREA)
- Quality & Reliability (AREA)
- Physics & Mathematics (AREA)
- General Physics & Mathematics (AREA)
- Indicating And Signalling Devices For Elevators (AREA)
- Maintenance And Inspection Apparatuses For Elevators (AREA)
- Testing Of Short-Circuits, Discontinuities, Leakage, Or Incorrect Line Connections (AREA)
Applications Claiming Priority (2)
| Application Number | Priority Date | Filing Date | Title |
|---|---|---|---|
| FI20106264A FI122474B (fi) | 2010-12-01 | 2010-12-01 | Hissin turvakytkentä sekä menetelmä hissin turvakytkennän toiminnallisen poikkeaman tunnistamiseksi |
| PCT/FI2011/000049 WO2012072859A1 (en) | 2010-12-01 | 2011-11-24 | Safety circuit of an elevator, and method for identifying a functional nonconformance of a safety circuit of an elevator |
Publications (3)
| Publication Number | Publication Date |
|---|---|
| EP2646359A1 EP2646359A1 (en) | 2013-10-09 |
| EP2646359A4 EP2646359A4 (en) | 2017-06-28 |
| EP2646359B1 true EP2646359B1 (en) | 2022-06-08 |
Family
ID=43414960
Family Applications (1)
| Application Number | Title | Priority Date | Filing Date |
|---|---|---|---|
| EP11844512.1A Active EP2646359B1 (en) | 2010-12-01 | 2011-11-24 | Safety circuit of an elevator, and computer program for identifying a functional nonconformance of a safety circuit of an elevator |
Country Status (6)
| Country | Link |
|---|---|
| US (1) | US9367416B2 (enExample) |
| EP (1) | EP2646359B1 (enExample) |
| JP (1) | JP6088977B2 (enExample) |
| CN (1) | CN103339051B (enExample) |
| FI (1) | FI122474B (enExample) |
| WO (1) | WO2012072859A1 (enExample) |
Families Citing this family (10)
| Publication number | Priority date | Publication date | Assignee | Title |
|---|---|---|---|---|
| EP2738771A1 (en) * | 2012-12-03 | 2014-06-04 | Kone Corporation | An apparatus and a method for memory testing by a programmable circuit in a safety critical system |
| US10065832B2 (en) * | 2013-09-27 | 2018-09-04 | Mitsubishi Electric Corporation | Elevator control apparatus |
| US9452909B2 (en) * | 2013-10-25 | 2016-09-27 | Thyssenkrupp Elevator Ag | Safety related elevator serial communication technology |
| EP2930134B1 (en) * | 2014-04-09 | 2018-05-30 | Kone Corporation | Safety system and method for testing safety critical components in an elevator system |
| KR101883086B1 (ko) * | 2014-04-24 | 2018-07-27 | 미쓰비시덴키 가부시키가이샤 | Plc 유닛 및 프로그래머블 로직 컨트롤러 |
| JP6173653B2 (ja) * | 2015-06-15 | 2017-08-02 | 三菱電機株式会社 | エレベータ安全システム |
| ES2783349T3 (es) * | 2015-12-21 | 2020-09-17 | Inventio Ag | Dispositivo de supervisión para una instalación de transporte de personas, método de prueba e instalación de transporte de personas |
| IL247342A (en) * | 2016-08-18 | 2017-10-31 | Yoram Madar | Detection and control of an arrest prevented an elevator |
| EP3533741B1 (en) * | 2018-03-01 | 2021-01-06 | KONE Corporation | A communication system for transmitting safety information in an elevator system |
| US12210870B2 (en) * | 2021-05-27 | 2025-01-28 | Fort Robotics, Inc. | Ensuring functional safety requirement satisfaction using fault-detectable microcontroller identifiers |
Citations (2)
| Publication number | Priority date | Publication date | Assignee | Title |
|---|---|---|---|---|
| JP2009186352A (ja) * | 2008-02-07 | 2009-08-20 | Yokogawa Electric Corp | 測定システム |
| WO2010109748A1 (ja) * | 2009-03-25 | 2010-09-30 | 三菱電機株式会社 | 信号伝送装置 |
Family Cites Families (25)
| Publication number | Priority date | Publication date | Assignee | Title |
|---|---|---|---|---|
| US4002973A (en) * | 1975-12-23 | 1977-01-11 | Armor Elevator Company | Elevator testing system |
| US4703325A (en) * | 1984-10-22 | 1987-10-27 | Carrier Corp. | Remote subsystem |
| ATE99264T1 (de) * | 1988-08-23 | 1994-01-15 | Inventio Ag | Verfahren und vorrichtung fuer die erzeugung einer schachtinformation bei aufzuegen. |
| US5107964A (en) * | 1990-05-07 | 1992-04-28 | Otis Elevator Company | Separate elevator door chain |
| DE4112626A1 (de) * | 1991-04-18 | 1992-10-22 | Fraunhofer Ges Forschung | Ueberwachungseinrichtung fuer eine steuervorrichtung |
| JPH06300808A (ja) * | 1993-04-19 | 1994-10-28 | Fujitsu Ltd | ケーブル配線検査方式 |
| US5360952A (en) * | 1993-06-01 | 1994-11-01 | Otis Elevator Company | Local area network eleveator communications network |
| US5654531A (en) * | 1995-08-07 | 1997-08-05 | Delaware Capital Formation, Inc. | Redundant multidrop communication system for elevators |
| US5854454A (en) * | 1996-09-16 | 1998-12-29 | Otis Elevator Company | Message routing in control area network (CAN) protocol |
| DE59807293D1 (de) * | 1997-09-22 | 2003-04-03 | Inventio Ag | Ueberwachungseinrichtung für eine Antriebssteuerung für Aufzüge |
| US6173814B1 (en) | 1999-03-04 | 2001-01-16 | Otis Elevator Company | Electronic safety system for elevators having a dual redundant safety bus |
| JP4476413B2 (ja) * | 2000-02-21 | 2010-06-09 | 三菱電機株式会社 | エレベーター制御システム用通信装置 |
| EP1182162B1 (en) * | 2000-03-30 | 2013-11-20 | Mitsubishi Denki Kabushiki Kaisha | Elevator communication controller and communication control method |
| EP1195345B1 (en) * | 2000-04-12 | 2014-01-01 | Mitsubishi Denki Kabushiki Kaisha | Communication control unit for elevator system |
| DE502004004449D1 (de) * | 2003-06-30 | 2007-09-06 | Inventio Ag | Sicherheitssystem einer aufzugsanlage |
| US7353914B2 (en) * | 2003-10-20 | 2008-04-08 | Inventio Ag | Safety system for an elevator |
| SG112018A1 (en) * | 2003-11-11 | 2005-06-29 | Inventio Ag | Elevator installation and monitoring system for an elevator installation |
| EP1852382B1 (en) * | 2005-02-25 | 2015-12-30 | Mitsubishi Denki Kabushiki Kaisha | Elevator apparatus |
| DE102006013578B4 (de) * | 2006-03-22 | 2008-03-27 | Phoenix Contact Gmbh & Co. Kg | Verfahren und Steuer- und Datenübertragungsanlage zum Überprüfen des Einbauortes eines sicheren Kommunikationsteilnehmers |
| FI119231B (fi) * | 2006-12-08 | 2008-09-15 | Kone Corp | Menetelmä, järjestelmä ja ohjelmistotuote hissin turvakytkinten kunnon seuraamiseksi |
| FI125141B (fi) * | 2007-01-03 | 2015-06-15 | Kone Corp | Hissin turvalaite |
| JP5517432B2 (ja) * | 2008-10-16 | 2014-06-11 | 三菱電機株式会社 | エレベータ安全システム |
| AU2010217638B2 (en) * | 2009-02-25 | 2016-07-28 | Inventio Ag | Elevator having a monitoring system |
| CN101539604B (zh) * | 2009-04-20 | 2011-07-20 | 日立电梯(中国)有限公司 | 配线检测系统及配线检测方法 |
| DE102009037347A1 (de) * | 2009-08-14 | 2011-02-17 | K.A. Schmersal Holding Gmbh & Co. Kg | Elektronisches Sicherheitssystem für einen Aufzug |
-
2010
- 2010-12-01 FI FI20106264A patent/FI122474B/fi active
-
2011
- 2011-11-24 CN CN201180066604.0A patent/CN103339051B/zh active Active
- 2011-11-24 EP EP11844512.1A patent/EP2646359B1/en active Active
- 2011-11-24 JP JP2013541392A patent/JP6088977B2/ja not_active Expired - Fee Related
- 2011-11-24 WO PCT/FI2011/000049 patent/WO2012072859A1/en not_active Ceased
-
2013
- 2013-05-20 US US13/897,474 patent/US9367416B2/en active Active
Patent Citations (3)
| Publication number | Priority date | Publication date | Assignee | Title |
|---|---|---|---|---|
| JP2009186352A (ja) * | 2008-02-07 | 2009-08-20 | Yokogawa Electric Corp | 測定システム |
| WO2010109748A1 (ja) * | 2009-03-25 | 2010-09-30 | 三菱電機株式会社 | 信号伝送装置 |
| US20110302466A1 (en) * | 2009-03-25 | 2011-12-08 | Mitsubishi Electric Corporation | Signal transmission device for elevator |
Also Published As
| Publication number | Publication date |
|---|---|
| EP2646359A1 (en) | 2013-10-09 |
| JP6088977B2 (ja) | 2017-03-01 |
| CN103339051B (zh) | 2017-03-08 |
| CN103339051A (zh) | 2013-10-02 |
| WO2012072859A1 (en) | 2012-06-07 |
| JP2014502242A (ja) | 2014-01-30 |
| FI122474B (fi) | 2012-02-15 |
| EP2646359A4 (en) | 2017-06-28 |
| FI20106264A0 (fi) | 2010-12-01 |
| US20140032970A1 (en) | 2014-01-30 |
| US9367416B2 (en) | 2016-06-14 |
Similar Documents
| Publication | Publication Date | Title |
|---|---|---|
| EP2646359B1 (en) | Safety circuit of an elevator, and computer program for identifying a functional nonconformance of a safety circuit of an elevator | |
| AU2011343126B2 (en) | Interface unit, conveying system and method | |
| KR100828253B1 (ko) | 에스컬레이터용 전자 안전 시스템 | |
| CN108394775B (zh) | 电梯安全系统及安全控制方法 | |
| JP4601827B2 (ja) | エレベータ安全システム | |
| CN103874647B (zh) | 具有用于自动化维护的消息传送的升降机系统 | |
| CN108217357B (zh) | 电梯安全系统、电梯系统和操作电梯系统的方法 | |
| RU2665890C2 (ru) | Система управления и передачи данных, шлюзовой модуль, модуль ввода/вывода и способ управления процессами | |
| AU2016376176B2 (en) | Monitoring device for a passenger transport system, testing method and passenger transport system | |
| CN110884972B (zh) | 基于电梯安全回路的门锁检测方法 | |
| EP3403970A1 (en) | A method and system for generating maintenance data of an elevator door system | |
| CN105598986A (zh) | 用于将手动控制单元从多轴机器人断开的方法以及用于实施该方法的机器人 | |
| CN108028791A (zh) | 井道通信系统 | |
| CN100486881C (zh) | 电梯控制装置 | |
| JP2017017856A (ja) | 鉄道車両用配電盤の監視装置 | |
| JP2005343602A (ja) | エレベータ制御装置 | |
| CN113460818B (zh) | 电梯电子板通信系统、方法、设备及计算机可读存储介质 | |
| TR2022021621A2 (tr) | Asansör güvenli̇k kontaği kontrol si̇stemi̇ | |
| CN117088209A (zh) | 电梯安全控制系统、方法、设备及可读存储介质 | |
| HK1220295A1 (zh) | 用於調試電梯設備的方法和裝置 | |
| HK1186452B (en) | Interface unit, conveying system and method |
Legal Events
| Date | Code | Title | Description |
|---|---|---|---|
| PUAI | Public reference made under article 153(3) epc to a published international application that has entered the european phase |
Free format text: ORIGINAL CODE: 0009012 |
|
| 17P | Request for examination filed |
Effective date: 20130507 |
|
| AK | Designated contracting states |
Kind code of ref document: A1 Designated state(s): AL AT BE BG CH CY CZ DE DK EE ES FI FR GB GR HR HU IE IS IT LI LT LU LV MC MK MT NL NO PL PT RO RS SE SI SK SM TR |
|
| DAX | Request for extension of the european patent (deleted) | ||
| RA4 | Supplementary search report drawn up and despatched (corrected) |
Effective date: 20170530 |
|
| RIC1 | Information provided on ipc code assigned before grant |
Ipc: B66B 5/00 20060101AFI20170523BHEP Ipc: B66B 1/34 20060101ALI20170523BHEP |
|
| STAA | Information on the status of an ep patent application or granted ep patent |
Free format text: STATUS: EXAMINATION IS IN PROGRESS |
|
| 17Q | First examination report despatched |
Effective date: 20200417 |
|
| GRAP | Despatch of communication of intention to grant a patent |
Free format text: ORIGINAL CODE: EPIDOSNIGR1 |
|
| STAA | Information on the status of an ep patent application or granted ep patent |
Free format text: STATUS: GRANT OF PATENT IS INTENDED |
|
| INTG | Intention to grant announced |
Effective date: 20220107 |
|
| RIN1 | Information on inventor provided before grant (corrected) |
Inventor name: JOKINEN, RISTO Inventor name: HOVI, ANTTI Inventor name: KATTAINEN, ARI |
|
| GRAJ | Information related to disapproval of communication of intention to grant by the applicant or resumption of examination proceedings by the epo deleted |
Free format text: ORIGINAL CODE: EPIDOSDIGR1 |
|
| STAA | Information on the status of an ep patent application or granted ep patent |
Free format text: STATUS: EXAMINATION IS IN PROGRESS |
|
| GRAP | Despatch of communication of intention to grant a patent |
Free format text: ORIGINAL CODE: EPIDOSNIGR1 |
|
| STAA | Information on the status of an ep patent application or granted ep patent |
Free format text: STATUS: GRANT OF PATENT IS INTENDED |
|
| INTC | Intention to grant announced (deleted) | ||
| GRAS | Grant fee paid |
Free format text: ORIGINAL CODE: EPIDOSNIGR3 |
|
| GRAA | (expected) grant |
Free format text: ORIGINAL CODE: 0009210 |
|
| STAA | Information on the status of an ep patent application or granted ep patent |
Free format text: STATUS: THE PATENT HAS BEEN GRANTED |
|
| INTG | Intention to grant announced |
Effective date: 20220422 |
|
| AK | Designated contracting states |
Kind code of ref document: B1 Designated state(s): AL AT BE BG CH CY CZ DE DK EE ES FI FR GB GR HR HU IE IS IT LI LT LU LV MC MK MT NL NO PL PT RO RS SE SI SK SM TR |
|
| REG | Reference to a national code |
Ref country code: GB Ref legal event code: FG4D |
|
| REG | Reference to a national code |
Ref country code: AT Ref legal event code: REF Ref document number: 1496806 Country of ref document: AT Kind code of ref document: T Effective date: 20220615 Ref country code: CH Ref legal event code: EP |
|
| REG | Reference to a national code |
Ref country code: DE Ref legal event code: R096 Ref document number: 602011072984 Country of ref document: DE |
|
| REG | Reference to a national code |
Ref country code: IE Ref legal event code: FG4D |
|
| REG | Reference to a national code |
Ref country code: LT Ref legal event code: MG9D |
|
| REG | Reference to a national code |
Ref country code: NL Ref legal event code: MP Effective date: 20220608 |
|
| PG25 | Lapsed in a contracting state [announced via postgrant information from national office to epo] |
Ref country code: SE Free format text: LAPSE BECAUSE OF FAILURE TO SUBMIT A TRANSLATION OF THE DESCRIPTION OR TO PAY THE FEE WITHIN THE PRESCRIBED TIME-LIMIT Effective date: 20220608 Ref country code: NO Free format text: LAPSE BECAUSE OF FAILURE TO SUBMIT A TRANSLATION OF THE DESCRIPTION OR TO PAY THE FEE WITHIN THE PRESCRIBED TIME-LIMIT Effective date: 20220908 Ref country code: LT Free format text: LAPSE BECAUSE OF FAILURE TO SUBMIT A TRANSLATION OF THE DESCRIPTION OR TO PAY THE FEE WITHIN THE PRESCRIBED TIME-LIMIT Effective date: 20220608 Ref country code: HR Free format text: LAPSE BECAUSE OF FAILURE TO SUBMIT A TRANSLATION OF THE DESCRIPTION OR TO PAY THE FEE WITHIN THE PRESCRIBED TIME-LIMIT Effective date: 20220608 Ref country code: GR Free format text: LAPSE BECAUSE OF FAILURE TO SUBMIT A TRANSLATION OF THE DESCRIPTION OR TO PAY THE FEE WITHIN THE PRESCRIBED TIME-LIMIT Effective date: 20220909 Ref country code: FI Free format text: LAPSE BECAUSE OF FAILURE TO SUBMIT A TRANSLATION OF THE DESCRIPTION OR TO PAY THE FEE WITHIN THE PRESCRIBED TIME-LIMIT Effective date: 20220608 Ref country code: ES Free format text: LAPSE BECAUSE OF FAILURE TO SUBMIT A TRANSLATION OF THE DESCRIPTION OR TO PAY THE FEE WITHIN THE PRESCRIBED TIME-LIMIT Effective date: 20220608 Ref country code: BG Free format text: LAPSE BECAUSE OF FAILURE TO SUBMIT A TRANSLATION OF THE DESCRIPTION OR TO PAY THE FEE WITHIN THE PRESCRIBED TIME-LIMIT Effective date: 20220908 |
|
| REG | Reference to a national code |
Ref country code: AT Ref legal event code: MK05 Ref document number: 1496806 Country of ref document: AT Kind code of ref document: T Effective date: 20220608 |
|
| PG25 | Lapsed in a contracting state [announced via postgrant information from national office to epo] |
Ref country code: RS Free format text: LAPSE BECAUSE OF FAILURE TO SUBMIT A TRANSLATION OF THE DESCRIPTION OR TO PAY THE FEE WITHIN THE PRESCRIBED TIME-LIMIT Effective date: 20220608 Ref country code: LV Free format text: LAPSE BECAUSE OF FAILURE TO SUBMIT A TRANSLATION OF THE DESCRIPTION OR TO PAY THE FEE WITHIN THE PRESCRIBED TIME-LIMIT Effective date: 20220608 |
|
| PG25 | Lapsed in a contracting state [announced via postgrant information from national office to epo] |
Ref country code: NL Free format text: LAPSE BECAUSE OF FAILURE TO SUBMIT A TRANSLATION OF THE DESCRIPTION OR TO PAY THE FEE WITHIN THE PRESCRIBED TIME-LIMIT Effective date: 20220608 |
|
| PG25 | Lapsed in a contracting state [announced via postgrant information from national office to epo] |
Ref country code: SM Free format text: LAPSE BECAUSE OF FAILURE TO SUBMIT A TRANSLATION OF THE DESCRIPTION OR TO PAY THE FEE WITHIN THE PRESCRIBED TIME-LIMIT Effective date: 20220608 Ref country code: SK Free format text: LAPSE BECAUSE OF FAILURE TO SUBMIT A TRANSLATION OF THE DESCRIPTION OR TO PAY THE FEE WITHIN THE PRESCRIBED TIME-LIMIT Effective date: 20220608 Ref country code: RO Free format text: LAPSE BECAUSE OF FAILURE TO SUBMIT A TRANSLATION OF THE DESCRIPTION OR TO PAY THE FEE WITHIN THE PRESCRIBED TIME-LIMIT Effective date: 20220608 Ref country code: PT Free format text: LAPSE BECAUSE OF FAILURE TO SUBMIT A TRANSLATION OF THE DESCRIPTION OR TO PAY THE FEE WITHIN THE PRESCRIBED TIME-LIMIT Effective date: 20221010 Ref country code: EE Free format text: LAPSE BECAUSE OF FAILURE TO SUBMIT A TRANSLATION OF THE DESCRIPTION OR TO PAY THE FEE WITHIN THE PRESCRIBED TIME-LIMIT Effective date: 20220608 Ref country code: CZ Free format text: LAPSE BECAUSE OF FAILURE TO SUBMIT A TRANSLATION OF THE DESCRIPTION OR TO PAY THE FEE WITHIN THE PRESCRIBED TIME-LIMIT Effective date: 20220608 Ref country code: AT Free format text: LAPSE BECAUSE OF FAILURE TO SUBMIT A TRANSLATION OF THE DESCRIPTION OR TO PAY THE FEE WITHIN THE PRESCRIBED TIME-LIMIT Effective date: 20220608 |
|
| PG25 | Lapsed in a contracting state [announced via postgrant information from national office to epo] |
Ref country code: PL Free format text: LAPSE BECAUSE OF FAILURE TO SUBMIT A TRANSLATION OF THE DESCRIPTION OR TO PAY THE FEE WITHIN THE PRESCRIBED TIME-LIMIT Effective date: 20220608 Ref country code: IS Free format text: LAPSE BECAUSE OF FAILURE TO SUBMIT A TRANSLATION OF THE DESCRIPTION OR TO PAY THE FEE WITHIN THE PRESCRIBED TIME-LIMIT Effective date: 20221008 |
|
| REG | Reference to a national code |
Ref country code: DE Ref legal event code: R097 Ref document number: 602011072984 Country of ref document: DE |
|
| PG25 | Lapsed in a contracting state [announced via postgrant information from national office to epo] |
Ref country code: AL Free format text: LAPSE BECAUSE OF FAILURE TO SUBMIT A TRANSLATION OF THE DESCRIPTION OR TO PAY THE FEE WITHIN THE PRESCRIBED TIME-LIMIT Effective date: 20220608 |
|
| PLBE | No opposition filed within time limit |
Free format text: ORIGINAL CODE: 0009261 |
|
| STAA | Information on the status of an ep patent application or granted ep patent |
Free format text: STATUS: NO OPPOSITION FILED WITHIN TIME LIMIT |
|
| PG25 | Lapsed in a contracting state [announced via postgrant information from national office to epo] |
Ref country code: DK Free format text: LAPSE BECAUSE OF FAILURE TO SUBMIT A TRANSLATION OF THE DESCRIPTION OR TO PAY THE FEE WITHIN THE PRESCRIBED TIME-LIMIT Effective date: 20220608 |
|
| 26N | No opposition filed |
Effective date: 20230310 |
|
| PG25 | Lapsed in a contracting state [announced via postgrant information from national office to epo] |
Ref country code: SI Free format text: LAPSE BECAUSE OF FAILURE TO SUBMIT A TRANSLATION OF THE DESCRIPTION OR TO PAY THE FEE WITHIN THE PRESCRIBED TIME-LIMIT Effective date: 20220608 |
|
| PG25 | Lapsed in a contracting state [announced via postgrant information from national office to epo] |
Ref country code: MC Free format text: LAPSE BECAUSE OF FAILURE TO SUBMIT A TRANSLATION OF THE DESCRIPTION OR TO PAY THE FEE WITHIN THE PRESCRIBED TIME-LIMIT Effective date: 20220608 |
|
| REG | Reference to a national code |
Ref country code: CH Ref legal event code: PL |
|
| P01 | Opt-out of the competence of the unified patent court (upc) registered |
Effective date: 20230525 |
|
| REG | Reference to a national code |
Ref country code: BE Ref legal event code: MM Effective date: 20221130 |
|
| PG25 | Lapsed in a contracting state [announced via postgrant information from national office to epo] |
Ref country code: LI Free format text: LAPSE BECAUSE OF NON-PAYMENT OF DUE FEES Effective date: 20221130 Ref country code: CH Free format text: LAPSE BECAUSE OF NON-PAYMENT OF DUE FEES Effective date: 20221130 |
|
| PG25 | Lapsed in a contracting state [announced via postgrant information from national office to epo] |
Ref country code: LU Free format text: LAPSE BECAUSE OF NON-PAYMENT OF DUE FEES Effective date: 20221124 |
|
| PG25 | Lapsed in a contracting state [announced via postgrant information from national office to epo] |
Ref country code: IE Free format text: LAPSE BECAUSE OF NON-PAYMENT OF DUE FEES Effective date: 20221124 |
|
| PG25 | Lapsed in a contracting state [announced via postgrant information from national office to epo] |
Ref country code: BE Free format text: LAPSE BECAUSE OF NON-PAYMENT OF DUE FEES Effective date: 20221130 |
|
| PG25 | Lapsed in a contracting state [announced via postgrant information from national office to epo] |
Ref country code: IT Free format text: LAPSE BECAUSE OF FAILURE TO SUBMIT A TRANSLATION OF THE DESCRIPTION OR TO PAY THE FEE WITHIN THE PRESCRIBED TIME-LIMIT Effective date: 20220608 |
|
| PG25 | Lapsed in a contracting state [announced via postgrant information from national office to epo] |
Ref country code: HU Free format text: LAPSE BECAUSE OF FAILURE TO SUBMIT A TRANSLATION OF THE DESCRIPTION OR TO PAY THE FEE WITHIN THE PRESCRIBED TIME-LIMIT; INVALID AB INITIO Effective date: 20111124 |
|
| PG25 | Lapsed in a contracting state [announced via postgrant information from national office to epo] |
Ref country code: CY Free format text: LAPSE BECAUSE OF FAILURE TO SUBMIT A TRANSLATION OF THE DESCRIPTION OR TO PAY THE FEE WITHIN THE PRESCRIBED TIME-LIMIT Effective date: 20220608 |
|
| PG25 | Lapsed in a contracting state [announced via postgrant information from national office to epo] |
Ref country code: MK Free format text: LAPSE BECAUSE OF FAILURE TO SUBMIT A TRANSLATION OF THE DESCRIPTION OR TO PAY THE FEE WITHIN THE PRESCRIBED TIME-LIMIT Effective date: 20220608 |
|
| PG25 | Lapsed in a contracting state [announced via postgrant information from national office to epo] |
Ref country code: TR Free format text: LAPSE BECAUSE OF FAILURE TO SUBMIT A TRANSLATION OF THE DESCRIPTION OR TO PAY THE FEE WITHIN THE PRESCRIBED TIME-LIMIT Effective date: 20220608 |
|
| PG25 | Lapsed in a contracting state [announced via postgrant information from national office to epo] |
Ref country code: MT Free format text: LAPSE BECAUSE OF FAILURE TO SUBMIT A TRANSLATION OF THE DESCRIPTION OR TO PAY THE FEE WITHIN THE PRESCRIBED TIME-LIMIT Effective date: 20220608 |
|
| PG25 | Lapsed in a contracting state [announced via postgrant information from national office to epo] |
Ref country code: BG Free format text: LAPSE BECAUSE OF FAILURE TO SUBMIT A TRANSLATION OF THE DESCRIPTION OR TO PAY THE FEE WITHIN THE PRESCRIBED TIME-LIMIT Effective date: 20220608 |
|
| PG25 | Lapsed in a contracting state [announced via postgrant information from national office to epo] |
Ref country code: BG Free format text: LAPSE BECAUSE OF FAILURE TO SUBMIT A TRANSLATION OF THE DESCRIPTION OR TO PAY THE FEE WITHIN THE PRESCRIBED TIME-LIMIT Effective date: 20220608 |
|
| PGFP | Annual fee paid to national office [announced via postgrant information from national office to epo] |
Ref country code: DE Payment date: 20241121 Year of fee payment: 14 |
|
| PGFP | Annual fee paid to national office [announced via postgrant information from national office to epo] |
Ref country code: GB Payment date: 20241120 Year of fee payment: 14 |
|
| PGFP | Annual fee paid to national office [announced via postgrant information from national office to epo] |
Ref country code: FR Payment date: 20241128 Year of fee payment: 14 |