EP2492101B1 - Thermal Head and Method of Manufacturing the same, and Printer - Google Patents
Thermal Head and Method of Manufacturing the same, and Printer Download PDFInfo
- Publication number
- EP2492101B1 EP2492101B1 EP12155066.9A EP12155066A EP2492101B1 EP 2492101 B1 EP2492101 B1 EP 2492101B1 EP 12155066 A EP12155066 A EP 12155066A EP 2492101 B1 EP2492101 B1 EP 2492101B1
- Authority
- EP
- European Patent Office
- Prior art keywords
- thermal head
- upper substrate
- heating resistor
- thermal
- support substrate
- Prior art date
- Legal status (The legal status is an assumption and is not a legal conclusion. Google has not performed a legal analysis and makes no representation as to the accuracy of the status listed.)
- Not-in-force
Links
- 238000004519 manufacturing process Methods 0.000 title claims description 21
- 239000000758 substrate Substances 0.000 claims description 177
- 238000010438 heat treatment Methods 0.000 claims description 138
- 238000003825 pressing Methods 0.000 claims description 9
- 239000010408 film Substances 0.000 description 27
- 230000001681 protective effect Effects 0.000 description 19
- 238000007639 printing Methods 0.000 description 18
- 239000000463 material Substances 0.000 description 16
- 238000005530 etching Methods 0.000 description 14
- 238000004544 sputter deposition Methods 0.000 description 7
- 238000001039 wet etching Methods 0.000 description 7
- 238000001312 dry etching Methods 0.000 description 6
- 239000011521 glass Substances 0.000 description 6
- 239000010409 thin film Substances 0.000 description 6
- 238000009792 diffusion process Methods 0.000 description 5
- 230000017525 heat dissipation Effects 0.000 description 5
- 238000000034 method Methods 0.000 description 5
- KRHYYFGTRYWZRS-UHFFFAOYSA-N Fluorane Chemical compound F KRHYYFGTRYWZRS-UHFFFAOYSA-N 0.000 description 4
- 238000005488 sandblasting Methods 0.000 description 4
- 238000007740 vapor deposition Methods 0.000 description 4
- 229910052782 aluminium Inorganic materials 0.000 description 3
- 238000005229 chemical vapour deposition Methods 0.000 description 3
- 229920002120 photoresistant polymer Polymers 0.000 description 3
- 238000001020 plasma etching Methods 0.000 description 3
- 238000007650 screen-printing Methods 0.000 description 3
- 229910018125 Al-Si Inorganic materials 0.000 description 2
- 229910018520 Al—Si Inorganic materials 0.000 description 2
- 229910003564 SiAlON Inorganic materials 0.000 description 2
- VYPSYNLAJGMNEJ-UHFFFAOYSA-N Silicium dioxide Chemical compound O=[Si]=O VYPSYNLAJGMNEJ-UHFFFAOYSA-N 0.000 description 2
- 230000015572 biosynthetic process Effects 0.000 description 2
- 238000004891 communication Methods 0.000 description 2
- 229910052802 copper Inorganic materials 0.000 description 2
- 230000000694 effects Effects 0.000 description 2
- 229910052737 gold Inorganic materials 0.000 description 2
- 238000005338 heat storage Methods 0.000 description 2
- 229910052709 silver Inorganic materials 0.000 description 2
- 239000000243 solution Substances 0.000 description 2
- WGTYBPLFGIVFAS-UHFFFAOYSA-M tetramethylammonium hydroxide Chemical compound [OH-].C[N+](C)(C)C WGTYBPLFGIVFAS-UHFFFAOYSA-M 0.000 description 2
- OKTJSMMVPCPJKN-UHFFFAOYSA-N Carbon Chemical compound [C] OKTJSMMVPCPJKN-UHFFFAOYSA-N 0.000 description 1
- GRYLNZFGIOXLOG-UHFFFAOYSA-N Nitric acid Chemical compound O[N+]([O-])=O GRYLNZFGIOXLOG-UHFFFAOYSA-N 0.000 description 1
- 229910052581 Si3N4 Inorganic materials 0.000 description 1
- XUIMIQQOPSSXEZ-UHFFFAOYSA-N Silicon Chemical compound [Si] XUIMIQQOPSSXEZ-UHFFFAOYSA-N 0.000 description 1
- 230000002159 abnormal effect Effects 0.000 description 1
- 238000005299 abrasion Methods 0.000 description 1
- XAGFODPZIPBFFR-UHFFFAOYSA-N aluminium Chemical compound [Al] XAGFODPZIPBFFR-UHFFFAOYSA-N 0.000 description 1
- 229910052799 carbon Inorganic materials 0.000 description 1
- 239000000919 ceramic Substances 0.000 description 1
- 229910052681 coesite Inorganic materials 0.000 description 1
- 230000000052 comparative effect Effects 0.000 description 1
- 238000005260 corrosion Methods 0.000 description 1
- 230000007797 corrosion Effects 0.000 description 1
- 229910052906 cristobalite Inorganic materials 0.000 description 1
- 230000003247 decreasing effect Effects 0.000 description 1
- 238000007733 ion plating Methods 0.000 description 1
- 238000003754 machining Methods 0.000 description 1
- 229910052751 metal Inorganic materials 0.000 description 1
- 239000002184 metal Substances 0.000 description 1
- 239000011259 mixed solution Substances 0.000 description 1
- 229910021421 monocrystalline silicon Inorganic materials 0.000 description 1
- 229910017604 nitric acid Inorganic materials 0.000 description 1
- 230000002093 peripheral effect Effects 0.000 description 1
- 238000005498 polishing Methods 0.000 description 1
- 239000011347 resin Substances 0.000 description 1
- 229920005989 resin Polymers 0.000 description 1
- 229910021332 silicide Inorganic materials 0.000 description 1
- FVBUAEGBCNSCDD-UHFFFAOYSA-N silicide(4-) Chemical compound [Si-4] FVBUAEGBCNSCDD-UHFFFAOYSA-N 0.000 description 1
- 229910052710 silicon Inorganic materials 0.000 description 1
- 239000010703 silicon Substances 0.000 description 1
- 239000000377 silicon dioxide Substances 0.000 description 1
- 229910052682 stishovite Inorganic materials 0.000 description 1
- PBCFLUZVCVVTBY-UHFFFAOYSA-N tantalum pentoxide Inorganic materials O=[Ta](=O)O[Ta](=O)=O PBCFLUZVCVVTBY-UHFFFAOYSA-N 0.000 description 1
- 229910052905 tridymite Inorganic materials 0.000 description 1
Images
Classifications
-
- B—PERFORMING OPERATIONS; TRANSPORTING
- B41—PRINTING; LINING MACHINES; TYPEWRITERS; STAMPS
- B41J—TYPEWRITERS; SELECTIVE PRINTING MECHANISMS, i.e. MECHANISMS PRINTING OTHERWISE THAN FROM A FORME; CORRECTION OF TYPOGRAPHICAL ERRORS
- B41J2/00—Typewriters or selective printing mechanisms characterised by the printing or marking process for which they are designed
- B41J2/315—Typewriters or selective printing mechanisms characterised by the printing or marking process for which they are designed characterised by selective application of heat to a heat sensitive printing or impression-transfer material
- B41J2/32—Typewriters or selective printing mechanisms characterised by the printing or marking process for which they are designed characterised by selective application of heat to a heat sensitive printing or impression-transfer material using thermal heads
- B41J2/335—Structure of thermal heads
- B41J2/33585—Hollow parts under the heater
Definitions
- the present invention relates to a thermal head and a method of manufacturing the same, and a printer.
- thermal head for use in thermal printers, which performs printing on a thermal recording medium such as paper by selectively driving a plurality of heating elements based on printing data (see, for example, Japanese Patent Application Laid-open No. 2009-119850 ).
- an upper substrate is bonded to a support substrate having a concave portion formed therein and heating resistors are provided on the upper substrate so that a cavity portion is formed in a region between the upper substrate and the support substrate so as to correspond to the heating resistors.
- This thermal head allows the cavity portion to function as a heat-insulating layer having low thermal conductivity so as to reduce an amount of heat transferring from the heating resistors to the support substrate, to thereby increase thermal efficiency to reduce power consumption.
- a printer having the above-mentioned thermal head installed therein has a pressure mechanism for pressing thermal paper against a platen roller in a sandwiched manner.
- the thermal head is pressed against the thermal paper with an appropriate pressing force. Accordingly, the thermal head is required to have strength high enough to withstand the pressing force applied by the pressure mechanism.
- thermal paper when the thermal paper is pressed against the surface of the thermal head by the platen roller, an air layer is formed between the thermal paper and the surface of the thermal head because of steps defined between the heating resistors and electrodes provided on both sides of the heating resistors.
- the heat generated by the heating resistors is hindered by the air layer from transferring to the thermal paper, which is inconvenient because thermal efficiency of the thermal head may decrease.
- the heat generated by the heating resistors diffuses also in the planar direction of the upper substrate via the electrodes.
- the electrical resistance value of the electrodes can be reduced, but the amount of heat that diffuses via the electrodes is increased. Therefore, the conventional thermal head has a problem that high heat insulating performance exerted by the cavity portion cannot be fully utilized because the heat dissipates from the heating resistors in the planar direction of the upper substrate via the electrodes.
- a thermal head as defined in the preamble of claim 1 is disclosed in EP 2179850 .
- the present invention has been made in view of the above-mentioned circumstances, and it is an object thereof to provide a thermal head capable of improving thermal efficiency while ensuring strength high enough to withstand a pressing force applied by a pressure mechanism, and also provide a method of manufacturing the thermal head, and a printer.
- the present invention provides the following means.
- thermo head as set forth in claim 1.
- the upper substrate provided with the heating resistor functions as a heat storage layer that stores heat generated from the heating resistor.
- the support substrate including the concave portion formed in its front surface and the upper substrate are bonded to each other in the stacked state, to thereby form a cavity portion between the support substrate and the upper substrate.
- the cavity portion is formed in a region corresponding to the heating resistor and functions as a heat-insulating layer that blocks the heat generated from the heating resistor. Therefore, according to the first aspect of the present invention, the heat generated from the heating resistor may be prevented from transferring and dissipating to the support substrate via the upper substrate. As a result, use efficiency of the heat generated from the heating resistor, that is, thermal efficiency of the thermal head may be increased.
- the convex portion is formed between the pair of electrodes provided on both sides of the heating resistor so that smaller steps may be defined between the heating resistor formed on a surface of the convex portion and the electrodes provided at both ends of the heating resistor. Accordingly, an air layer to be formed between a front surface of the heating resistor and thermal paper may be reduced in size. Therefore, according to the first aspect of the present invention, the heat generated by the heating resistor may transfer to the thermal paper efficiently, to thereby increase the thermal efficiency of the thermal head to reduce an amount of energy required for printing.
- the heat generated by the heating resistor diffuses also in the planar direction of the upper substrate via the electrodes.
- the thin portion of at least one of the electrodes, which is disposed above the cavity portion has thermal conductivity lower than other regions (thick portion) of the electrode. Therefore, by providing the thin portion in the region corresponding to the cavity portion (concave portion), the heat generated from the heating resistor may be prevented from easily transferring to the outside of the region corresponding to the cavity portion. This suppresses the diffusion of the heat, which is prevented by the cavity portion from transferring toward the support substrate, in the planar direction of the upper substrate via the electrode. Therefore, the heat may be transferred to an opposite side of the support substrate to increase printing efficiency.
- the upper substrate When a load is applied to the upper substrate during printing, the upper substrate is deformed in a region corresponding to the concave portion, and accordingly a tensile stress occurs at a rear surface of the upper substrate in the above-mentioned region.
- the convex portion formed in the upper substrate in the region corresponding to the concave portion contributes to enhanced strength of the upper substrate, unlike an upper substrate having a uniform thickness.
- the pair of electrodes are each formed in a region outside the convex portion.
- the electrode including the thin portion is disposed on the outer side of the convex portion, and hence the thin portion may be prevented from being applied with pressure from a platen roller, and the reliability of the thermal head may be improved.
- the convex portion may be formed within a region corresponding to the concave portion.
- a region in which the convex portion is not formed that is, a region in which the thickness of the upper substrate is thin, may be provided. This reduces the diffusion of the heat in the planar direction of the upper substrate. Therefore, the thermal efficiency of the thermal head may be improved.
- the convex portion may include: a flat distal end surface; and side surfaces formed extending and inclining from both ends of the distal end surface so that the convex portion is gradually narrower toward the distal end surface.
- the convex portion has the flat distal end surface, a load of a platen roller may be imposed over the distal end surface of the convex portion, to thereby prevent a concentrated load from being imposed on a part of the convex portion. Further, because the side surfaces are formed extending and inclining from the both ends of the distal end surface so that the convex portion may be gradually narrower toward the distal end surface, it is easy to form the heating resistor on the side surfaces of the convex portion.
- the thin portion may extend to an outside of the region corresponding to the concave portion.
- the region of low thermal conductivity (thin portion) of the electrode extends to the outside of the region corresponding to the cavity portion. Accordingly, the diffusion of heat from the heating resistor in the planar direction of the upper substrate via the electrodes may be suppressed more. Therefore, the thermal efficiency of the thermal head may be improved.
- both of the pair of electrodes may include the thin portion.
- the heat generated from the heating resistor may be prevented from easily transferring to the outside of the region corresponding to the cavity portion. Therefore, the diffusion of heat in the planar direction of the upper substrate via the electrodes may be suppressed more effectively.
- a printer including: the above-mentioned thermal head; and a pressure mechanism for feeding a thermal recording medium while pressing the thermal recording medium against a heating resistor of the thermal head.
- the printer described above includes the above-mentioned thermal head, and hence, while ensuring the strength of the upper substrate, the thermal efficiency of the thermal head may be increased to reduce the amount of energy required for printing. Therefore, printing on the thermal recording medium may be performed with low power to prolong battery duration. Besides, a failure due to the breakage of the upper substrate may be prevented to enhance the device reliability.
- a method of manufacturing a thermal head including: forming an opening portion in a front surface of a support substrate; bonding a rear surface of an upper substrate in a stacked state to the front surface of the support substrate, which has the opening portion formed therein in the forming an opening portion; thinning the upper substrate, which is bonded to the support substrate in the bonding; forming a convex portion in a front surface of the upper substrate, which is bonded to the support substrate in the bonding; forming a heating resistor on the front surface of the upper substrate in a region corresponding to the opening portion; and forming electrode layers at both ends of the heating resistor, which is formed in the forming a heating resistor, the electrode layers each including a thin portion, which is connected to the heating resistor in a region corresponding to the opening portion, and a thick portion, which is connected to the heating resistor and is formed thicker than the thin portion.
- a thermal head may be manufactured in which the cavity portion is formed between the support substrate and the upper substrate, and the convex portion is formed between the electrode layers formed at both ends of the heating resistor. Further, at both the ends of the heating resistor, the electrode layers each including the thin portion which is connected to the heating resistor in the region corresponding to the concave portion and the thick portion which is connected to the heating resistor and is formed thicker than the thin portion may be formed. Accordingly, as described above, while ensuring the strength of the upper substrate, the thermal efficiency of the thermal head may be increased to reduce the amount of energy required for printing.
- the present invention provides the effect that the thermal efficiency can be improved while ensuring the strength high enough to withstand a pressing force applied by a pressure mechanism.
- a thermal head 1 and a thermal printer 10 according to a first embodiment of the present invention are described below with reference to the accompanying drawings.
- the thermal head 1 is used for, for example, the thermal printer 10 as illustrated in FIG. 1 , and performs printing on an object to be printed, such as thermal paper 12, by selectively driving a plurality of heating elements based on printing data.
- the thermal printer 10 includes a main body frame 11, a platen roller 13 disposed with its central axis being horizontal, the thermal head 1 disposed opposite to an outer peripheral surface of the platen roller 13, a heat dissipation plate (not shown) supporting the thermal head 1, a paper feeding mechanism 17 for feeding the thermal paper 12 between the platen roller 13 and the thermal head 1, and a pressure mechanism 19 for pressing the thermal head 1 against the thermal paper 12 with a predetermined pressing force.
- the thermal paper 12 is pressed via the thermal head 1 by the operation of the pressure mechanism 19. Accordingly, a reaction force of the platen roller 13 is applied to the thermal head 1 via the thermal paper 12.
- the heat dissipation plate is a plate-shaped member made of a metal such as aluminum, a resin, ceramics, glass, or the like, and serves for fixation and heat dissipation of the thermal head 1.
- a plurality of heating resistors 7 and a plurality of electrodes 8 are arrayed in a longitudinal direction of a rectangular support substrate 3.
- the arrow Y represents a feeding direction of the thermal paper 12 by the paper feeding mechanism 17.
- a rectangular concave portion 2 is formed extending in the longitudinal direction of the support substrate 3.
- symbols Lr, Lm, Lc, and Le represent a width dimension of each heating portion 7A, a width dimension of a convex portion 20, a width dimension of the concave portion 2, and a longitudinal dimension of a thin portion 18, respectively, which are described later.
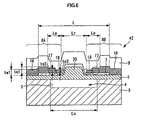
- FIG. 3 illustrates a cross-section taken along the arrow A-A of FIG. 2 .
- the thermal head 1 includes the support substrate 3, an upper substrate 5 bonded to an upper end surface (front surface) of the support substrate 3, the heating resistors 7 provided on the upper substrate 5, the pairs of electrodes 8 provided on both sides of the heating resistors 7, and a protective film 9 for covering the heating resistors 7 and the electrodes 8 to protect the heating resistors 7 and the electrodes 8 from abrasion and corrosion.
- the support substrate 3 is, for example, an insulating substrate such as a glass substrate or a silicon substrate having a thickness approximately ranging from 300 ⁇ m to 1 mm.
- the rectangular concave portion 2 extending in the longitudinal direction of the support substrate 3 is formed.
- the concave portion 2 is, for example, a groove with a depth approximately ranging from 1 ⁇ m to 100 ⁇ m and a width approximately ranging from 50 ⁇ m to 300 ⁇ m.
- the upper substrate 5 is formed of, for example, a glass material with a thickness approximately ranging from 10 ⁇ m to 100 ⁇ m ⁇ 5 ⁇ m, and functions as a heat storage layer for storing heat generated from the heating resistors 7.
- the upper substrate 5 is bonded in a stacked state to the front surface of the support substrate 3 so as to hermetically seal the concave portion 2.
- the concave portion 2 is covered with the upper substrate 5, to thereby form a cavity portion 4 between the upper substrate 5 and the support substrate 3.
- the cavity portion 4 has a communication structure opposed to all the heating resistors 7.
- the cavity portion 4 functions as a hollow heat-insulating layer for preventing the heat, which is generated from the heating resistors 7, from transferring from the upper substrate 5 to the support substrate 3. Because the cavity portion 4 functions as the hollow heat-insulating layer, an amount of heat, which transfers to the above of the heating resistors 7 and is used for printing and the like, may be increased to be more than an amount of heat, which transfers to the support substrate 3 via the upper substrate 5 located under the heating resistors 7. As a result, thermal efficiency of the thermal head 1 may be increased.
- the heating resistors 7 are each provided on the upper end surface of the upper substrate 5 so as to straddle the concave portion 2 in its width direction, and as illustrated in FIG. 2 , a plurality of the heating resistors 7 are arrayed at predetermined intervals in a longitudinal direction of the concave portion 2. In other words, each of the heating resistors 7 is provided opposite to the cavity portion 4 through the intermediation of the upper substrate 5 so as to be situated above the cavity portion 4.
- the pair of electrodes 8 supply the heating resistors 7 with current to allow the heating resistors 7 to generate heat.
- the electrodes 8 include a common electrode 8A connected to one end of each of the heating resistors 7 in a direction orthogonal to the array direction of the heating resistors 7, and individual electrodes 8B connected to another end of each of the heating resistors 7. As illustrated in FIG. 2 , the common electrode 8A is integrally connected to all the heating resistors 7, and the respective individual electrodes 8B are connected to each of the heating resistors 7.
- the pressure mechanism 19 operates to press the thermal paper 12 against a surface portion (printing portion) of the protective film 9 covering the heating portions of the heating resistors 7, and then color is developed on the thermal paper 12 to be printed.
- an actually heating portion is a portion of each of the heating resistors 7 that the electrode 8A or 8B does not overlap, that is, a region of each of the heating resistors 7 between the connecting surface of the common electrode 8A and the connecting surface of each of the individual electrodes 8B, which is situated substantially directly above the cavity portion 4.
- the pair of electrodes 8A and 8B be disposed so that the length (heater length) Lr of the heating portion 7A extending in the longitudinal direction of the heating resistor 7 may be smaller than a distance (inter-dot distance or dot pitch) Wd between the center positions of adjacent heating resistors 7.
- each of the electrodes 8A and 8B includes the thin portion 18 at a connection portion disposed on the surface of the heating resistor 7.
- the thin portion 18 is thinner than other regions (thick portion 16 to be described later).
- each of the electrodes 8A and 8B is formed so as to be thick at the portion disposed on the upper substrate 5 and a part of the connection portion disposed on the heating resistor 7 and so as to be thin at the remaining part of the connection portion disposed on the heating resistor 7.
- the thick portion 16 has a thickness te1 of 1 ⁇ m to 3 ⁇ m, for example. It is desired to set the thickness te1 of the thick portion 16 to fall in such a range as to secure a sufficient electrical resistance value so that the electrical resistance value of the thick portion 16 may be, for example, approximately 1/10 of the electrical resistance value of the heating resistor 7 or lower.
- the thin portion 18 is formed in a range of from the inside of the region on the heating resistor 7 corresponding to the concave portion 2 to the outside of the region.
- a thickness te2 of the thin portion 18 is, for example, approximately 50 nm to approximately 300 nm and is designed in consideration of the thickness te1 and the thermal conductivity of the thick portion 16 (the thermal conductivity of A1 is approximately 200 W/(m ⁇ °C)) and the thickness and the thermal conductivity of the upper substrate 5 (the thermal conductivity of commonly-used glass is approximately 1 W/(m ⁇ 'C)).
- the thickness te2 of the thin portion 18 When the thickness te2 of the thin portion 18 is set smaller than the thickness te1 of the thick portion 16, the thermal conductivity of the electrodes 8A and 8B is reduced in part and heat insulating efficiency is increased. However, when the thickness te2 of the thin portion 18 is set too small (for example, when the thickness te2 of the thin portion 18 is set smaller than 10 nm), the electrical resistance values of the electrodes 8A and 8B are increased in part, with the result that a power loss at the thin portion 18 exceeds the amount of power obtained by increasing the heat insulating efficiency. In addition, the thickness te2 of the thin portion 18 needs to be set considering such a thickness as to be obtained by sputtering as a thin film. Therefore, it is desired to set the thickness te2 of the thin portion 18 to, for example, approximately 50 nm to approximately 300 nm.
- the length Le of each of the thin portions 18 extending in the longitudinal direction of the heating resistors 7 is set larger, the thermal conductivity of the electrodes 8A and 8B is reduced in part and the heat insulating efficiency is increased.
- the electrical resistance values of the electrodes 8A and 8B are increased in part, with the result that a power loss at the thin portion 18 exceeds the amount of power obtained by increasing the heat insulating efficiency. Therefore, it is desired to determine the length Le of the thin portion 18 so that the electrical resistance value of each of the thin portions 18 may be 1/10 of the electrical resistance value of the heating portion 7A or lower.
- the thin portion 18 be disposed within the width (nip width) in a range in which the platen roller 13 and a head portion 9A are brought into contact with each other through the thermal paper 12.
- the nip width is varied depending on the diameter and material of the platen roller 13, it is considered that the nip width generally corresponds to a length L of the heating resistor 7 in the longitudinal direction as illustrated in FIG. 3 .
- a width dimension (Lr+2Le) from the thin portion 18 of the electrode 8A to the thin portion 18 of the electrode 8B is set within approximately 2 mm (within approximately 1 mm from the center position of the heating portion 7A).
- the thick portion 16 provided on the heating resistor 7 is also disposed within the nip width.
- Each of the electrodes 8A and 8B having the above-mentioned shapes has a two-stage structure in which a part of the thick portion 16 and the entire thin portion 18 are disposed on the heating resistor 7.
- the region disposed at a step portion between the heating resistor 7 and the upper substrate 5 is formed thick (as the thick portion 16). In this manner, disconnection of the electrodes 8A and 8B and an abnormal increase in electrical resistance value caused by the step may be prevented to increase the heat insulating efficiency and increase the reliability of the thermal head 10.
- the upper substrate 5 has the convex portion 20 formed in the upper surface (front surface) on which the heating resistors 7 are provided, in a region between the common electrode 8A and the individual electrodes 8B.
- the convex portion 20 has a flat distal end surface 21, and side surfaces 22 formed extending and inclining from both ends of the distal end surface 21 so that the convex portion 20 becomes gradually narrower toward the distal end surface 21.
- the convex portion 20 is formed so that the width dimension of the distal end surface 21 is smaller than the width dimension Lm of the convex portion 20. This way, the convex portion 20 has a trapezoidal shape in longitudinal cross-section.
- the convex portion 20 is formed so that the width dimension Lm thereof is smaller than the width dimension Lc of the concave portion 2.
- the convex portion 20 is formed on the upper end side (front surface) of the upper substrate 5 within a region corresponding to the concave portion 2 formed in the support substrate 3.
- the convex portion 20 is formed to have a height hm approximately ranging from, for example, 0.5 ⁇ m to 3 ⁇ m, which is larger than a thickness of the electrodes 8.
- steps are defined between the heating resistors 7 and the electrodes 8 correspondingly to the thickness of the electrodes 8. Accordingly, also in the front surface of the protective film 9 formed over the heating resistors 7 and the electrodes 8, steps are defined at positions corresponding to the above-mentioned steps (in a region A illustrated in FIG. 10 ).
- the support substrate 3 including the concave portion 2 formed in its front surface and the upper substrate 5 are bonded to each other in the stacked state, to thereby form the cavity portion 4 between the support substrate 3 and the upper substrate 5.
- the cavity portion 4 is formed in the region corresponding to the heating resistors 7 and functions as a heat-insulating layer that blocks the heat generated from the heating resistors 7. Therefore, according to the thermal head 1 of this embodiment, the heat generated from the heating resistors 7 may be prevented from transferring and dissipating to the support substrate 3 via the upper substrate 5. As a result, use efficiency of the heat generated from the heating resistors 7, that is, thermal efficiency of the thermal head 1 may be increased.
- the convex portion 20 is formed between the pair of electrodes 8 provided on both sides of the heating resistor 7. Accordingly, the steps between the heating resistor 7 formed on the surface of the convex portion 20 and the electrodes 8 provided on both sides of the heating resistor 7 may be reduced, to thereby reduce an air layer to be formed between the surface of the heating resistor 7 (protective film 9) and the thermal paper. Therefore, according to the thermal head 1 of this embodiment, the heat generated by the heating resistors 7 may transfer to the thermal paper 12 efficiently, to thereby increase the thermal efficiency of the thermal head 1 to reduce the amount of energy required for printing.
- the height of the convex portion 20 is larger than the height of the electrodes 8, and hence an air layer to be formed between the surface of the thermal head 1 and the thermal paper 12 may be substantially eliminated so that the surface of the thermal head 1 and the thermal paper 12 may be brought into intimate contact with each other. Accordingly, the heat generated by the heating resistors 7 may transfer to the thermal paper 12 efficiently, to thereby increase the thermal efficiency of the thermal head 1 to reduce the amount of energy required for printing.
- the heat generated by the heating resistors 7 diffuses also in the planar direction of the upper substrate 5 via the electrodes 8.
- the thin portion 18 of the electrode 8, which is disposed above the cavity portion 4 has thermal conductivity lower than other regions (thick portion 16) of the electrode 8. Therefore, by providing the thin portion 18 in the region corresponding to the cavity portion 4 (concave portion 2), the heat generated from the heating resistors 7 may be prevented from easily transferring to the outside of the region corresponding to the cavity portion 4. This suppresses the diffusion of the heat, which is prevented by the cavity portion 4 from transferring toward the support substrate 3, in the planar direction of the upper substrate 5 via the electrode 8. Therefore, the heat may be transferred to an opposite side of the support substrate 3 to increase printing efficiency.
- thermal head 1 is different in strength from the conventional thermal head 100.
- FIGS. 4A to 4C and FIGS. 11A to 11C are simplified to illustrate only the upper substrate and the support substrate of the thermal head.
- FIGS. 4A to 4C illustrate the thermal head 1 according to this embodiment
- FIGS. 11A to 11C illustrate the conventional thermal head 100.
- the upper end side (front surface) of the upper substrate 50 has a flat shape.
- FIG. 11B when a concentrated load (arrow 51) is applied onto the upper substrate 50 above the cavity portion 4, the portion of the upper substrate 50 opposed to the cavity portion 4 is deformed and sinks downward. Accordingly, as indicated by an arrow 52 of FIG. 11B , a large tensile stress occurs at a lower end surface (rear surface) of the upper substrate 50, especially at a central position of the applied load.
- a load position S substantially coincides with a maximum stress position T, with the result that the upper substrate 50 is likely to be broken.
- the thermal head 1 has the convex portion 20 formed on the upper end side (in the front surface) of the upper substrate 5. Because of such a structure, as illustrated in FIG. 4B , when the concentrated load (arrow 51) is applied to the upper substrate 5 above the cavity portion 4, large tensile stresses (arrows 31, 32, and 33) occur at the lower end surface (rear surface) of the upper substrate 5 at a central position of the applied load and the base portions of the convex portion 20, respectively. Therefore, as illustrated in FIG. 4C , the positions applied with the large stresses are dispersed into regions T1, T2, and T3, respectively.
- the upper substrate 5 of the thermal head 1 is thick (as the convex portion 20) at the position corresponding to the cavity portion 4 (concave portion 2). Accordingly, the strength of the upper substrate 5 may be enhanced. Besides, when a concentrated load is applied to the front surface of the upper substrate 5, tensile stresses applied to the front surface of the upper substrate 5 may be dispersed. As a result, the thermal head 1 may be provided as the reliable one being less likely to crack even if a minute foreign matter of several to tens of ⁇ m is trapped between the platen roller 13 and the thermal paper 12 to apply a concentrated load to the upper substrate 5, or in other similar cases.
- a material used for the protective film 9 of the thermal head 1 has a significantly large internal stress.
- a SiAlON film formed by sputtering has an internal stress of 500 to 2,000 MPa. Accordingly, directly above the cavity portion 4 (concave portion 2), the convex portion 20 is provided in the front surface of the upper substrate 5 to increase the plate thickness of the upper substrate 5 so that the strength of the upper substrate 5 is enhanced to prevent the upper substrate 5 from being deformed or broken due to the internal stress of the protective film 9.
- the electrode 8 including the thin portion 18 is disposed outside the convex portion 20. This prevents the thin portion 18 of the electrode 8 from crossing over the step of the convex portion 20, and further prevents the thin portion 18 from being applied with pressure from the platen roller. Therefore, the reliability of the thermal head may be improved.
- the convex portion 20 has the distal end surface 21 that is substantially parallel to the front surface of the upper substrate 5, and hence a load of the platen roller 13 may be imposed over the distal end surface 21 of the convex portion 20, to thereby prevent a concentrated load from being imposed on a part of the convex portion 20.
- the thermal efficiency of the thermal head 1 may be increased to reduce the amount of energy required for printing.
- printing on the thermal paper 12 may be performed with low power to prolong battery duration.
- a failure due to the breakage of the upper substrate 5 may be prevented to enhance device reliability.
- thermal head 1 A first modified example of the thermal head 1 according to this embodiment is described below. Note that, the description common to the above-mentioned thermal head 1 according to the first embodiment is omitted below, and hence the following description is mainly directed to differences.
- the thin portion 18 of the electrode 8 is disposed in the range of from the inside of the region on the heating resistor 7 corresponding to the concave portion 2 to the outside of the region.
- the thin portion 18 of the electrode 8 is formed inside the region on the heating resistor 7 corresponding to the concave portion 2.
- the thick portion 16 is also formed inside the region on the heating resistor 7 corresponding to the concave portion 2.
- the heat dissipation amount via the thick portion 16 of the electrode 8 is increased, but the electrical resistance value of the electrode 8 may be reduced to improve the heating efficiency of the heating resistor 7.
- a second modified example of the thermal head 1 according to this embodiment is described below.
- the electrode 8 is formed of a two-stage structure including the thin portion 18 and the thick portion 16.
- the electrode 8 in the vicinity of the heating resistor 7 is formed of a three-stage structure including the thin portion 18, an intermediate portion 17, and the thick portion 16.
- the thermal efficiency of the entire thermal head may be optimized considering a balance between the heat dissipation amount via the thick portion 16 of the electrode 8 and the electrical resistance value of the electrode 8 (heating efficiency of the heating resistor 7). Further, the intermediate portion 17 is provided, and hence the step of the electrode 8 may be reduced to improve the formation state of the protective film 9 with respect to the electrode 8, to thereby prevent peeling between the electrode 8 and the protective film 9.
- the electrode 8 is formed of a three-stage structure, but may be formed of four or more stages.
- a third modified example of the thermal head 1 according to this embodiment is described below.
- the electrode 8 is formed of a two-stage structure including the thin portion 18 and the thick portion 16.
- the electrode 8 in the vicinity of the heating resistor 7 includes a tapered portion 25 which is formed so as to get thicker from the inside to the outside.
- the amount of heat that diffuses from the region corresponding to the concave portion 2 (cavity portion 4) toward the outside via the electrode 8 may be reduced, and the electrical resistance value of the electrode 8 may be reduced to improve the heating efficiency of the heating resistor 7. Further, the formation state of the protective film 9 with respect to the electrode 8 may be improved to prevent the peeling between the electrode 8 and the protective film 9.
- the method of manufacturing the thermal head 1 includes an opening portion forming step of forming an opening portion (concave portion 2) in the front surface of the support substrate 3, a bonding step of bonding the rear surface of the upper substrate 5 in a stacked state to the front surface of the support substrate 3 having the concave portion 2 formed therein, a thinning step of thinning the upper substrate 5 bonded to the support substrate 3, a convex portion forming step of forming the convex portion 20 in the front surface of the upper substrate 5 bonded to the support substrate 3, a resistor forming step of forming the heating resistors 7 on the front surface of the upper substrate 5 in a region corresponding to the cavity portion 4, an electrode layer forming step of forming the electrodes 8 at both ends of the heating resistors 7, and a protective film forming step of forming the protective film 9 over the electrodes 8.
- the concave portion 2 is formed at a position corresponding to a region of the upper substrate 5, in which the heating resistors 7 are to be provided.
- the concave portion 2 is formed in the front surface of the support substrate 3 by performing, for example, sandblasting, dry etching, wet etching, or laser machining.
- the front surface of the support substrate 3 is covered with a photoresist material, and the photoresist material is exposed to light using a photomask of a predetermined pattern so as to be cured in part other than the region for forming the concave portion 2.
- the front surface of the support substrate 3 is cleaned and the uncured photoresist material is removed to obtain etching masks (not shown) having etching windows formed in the region for forming the concave portion 2.
- etching masks not shown
- sandblasting is performed on the front surface of the support substrate 3 to form the concave portion 2 at a depth ranging from 1 ⁇ m to 100 ⁇ m. It is preferred that the depth of the concave portion 2 be, for example, 10 ⁇ m or more and half or less of the thickness of the support sub strate 3.
- the etching masks having the etching windows formed in the region for forming the concave portion 2 are formed on the front surface of the support substrate 3. In this state, etching is performed on the front surface of the support substrate 3 to form the concave portion 2 at a depth ranging from 1 ⁇ m to 100 ⁇ m.
- etching process for example, wet etching using hydrofluoric acid-based etchant or the like is available as well as dry etching such as reactive ion etching (RIE) and plasma etching.
- dry etching such as reactive ion etching (RIE) and plasma etching.
- RIE reactive ion etching
- wet etching is performed using an etchant such as a tetramethylammonium hydroxide solution, a KOH solution, or a mixed solution of hydrofluoric acid and nitric acid.
- the lower end surface (rear surface) of the upper substrate 5, which is a glass substrate or the like having a thickness approximately ranging from 500 ⁇ m to 700 ⁇ m, for example, and the upper end surface (front surface) of the support substrate 3 having the concave portion 2 formed therein are bonded to each other by high temperature fusing or anodic bonding.
- the support substrate 3 and the upper substrate 5 are bonded to each other in a dry state, and the substrates thus bonded to each other are subj ected to heat treatment at a temperature equal to or higher than 200°C and equal to or lower than softening points thereof, for example.
- the concave portion 2 formed in the support substrate 3 is covered with the upper substrate 5 to form the cavity portion 4 between the support substrate 3 and the upper substrate 5.
- the upper substrate 5 thick enough to be easily manufactured and handled in the bonding step is bonded onto the support substrate 3, and then the upper substrate 5 is processed in the thinning step so as to have a desired thickness.
- the thinning step as illustrated in FIG. 8C , mechanical polishing is performed on the upper end surface (front surface) of the upper substrate 5 to process the upper substrate 5 to be thinned to, for example, about 1 to 100 ⁇ m.
- the thinning process may be performed by dry etching, wet etching, or the like.
- the convex portion forming step as illustrated in FIG. 8D , dry etching, wet etching, or the like is performed to form the convex portion 20 in the upper end surface (front surface) of the upper substrate 5 in the region corresponding to the concave portion 2 formed in the support substrate 3.
- the convex portion forming step may be performed simultaneously with the thinning step.
- the region for forming the convex portion 20 covered with a resist material, dry etching, wet etching, or the like may be performed to form the convex portion 20 simultaneously with the thinning of the upper substrate 5.
- the heating resistors 7, the common electrode 8A, the individual electrodes 8B, and the protective film 9 are successively formed on the upper substrate 5.
- a thin film forming method such as sputtering, chemical vapor deposition (CVD), or vapor deposition is used to form a thin film of a heating resistor material on the upper substrate 5, such as a Ta-based thin film or a silicide-based thin film.
- the thin film of the heating resistor material is molded by lift-off, etching, or the like to form the heating resistors 7 having a desired shape.
- the electrode layer forming step includes a first layer forming step of forming an underlayer (hereinafter, referred to as first layer 16a) of the thick portion 16 of the electrode 8 as illustrated in FIG. 8F , and a second layer forming step of forming a second layer 16b on the first layer 16a as illustrated in FIG. 8G
- the first layers 16a are formed at both end portions of the heating resistor 7 on the outer side of the region corresponding to the cavity portion 4.
- the first layer 16a is formed in a manner that a film of a wiring material such as Al, Al-Si, Au, Ag, Cu, or Pt is deposited by sputtering, vapor deposition, or the like. Then, the film thus obtained is formed by lift-off or etching, or alternatively the wiring material is baked after screen-printing, to thereby form the first layer 16a having a desired shape.
- the thickness of the first layer 16a is, for example, approximately 1 ⁇ m to 3 ⁇ m in consideration of a power loss in the wiring of the electrode 8.
- the second layers 16b are formed in a range of from the inside of a region at both end portions of the heating resistor 7 corresponding to the cavity portion 4 to the outside of the region at a substantially uniform thickness.
- the second layer 16b is formed in a manner that a film of the same material as that of the first layer 16a is deposited by sputtering, vapor deposition, or the like. Then, the film thus obtained is formed by lift-off or etching, or alternatively the wiring material is baked after screen-printing, to thereby form the second layer 16b having a desired pattern.
- the second layer 16b having a uniform thickness is formed on each of the surface of the first layer 16a and the surface of the heating resistor 7, and hence the electrode 8 having a two-stage structure including the thin portion 18 formed of the second layer 16b and the thick portion 16, which is thicker than the thin portion 18 by the first layer 16a, may be formed.
- the thickness of the thin portion 18 (second layer 16b) formed as described above is desired to set to, for example, approximately 50 nm to approximately 300 nm in consideration of the thickness and the thermal conductivity of the thick portion 16 (the thermal conductivity of Al is approximately 200 W/(m ⁇ °C)) and the thickness and the thermal conductivity of the upper substrate 5 (the thermal conductivity of commonly-used glass is approximately 1 W/(m ⁇ °C)).
- a film of a protective film material such as SiO 2 , Ta 2 O 5 , SiAlON, Si 3 N 4 , or diamond-like carbon is deposited on the upper substrate 5 by sputtering, ion plating, CVD, or the like to form the protective film 9.
- a film of a protective film material such as SiO 2 , Ta 2 O 5 , SiAlON, Si 3 N 4 , or diamond-like carbon is deposited on the upper substrate 5 by sputtering, ion plating, CVD, or the like to form the protective film 9.
- the thermal head 1 illustrated in FIG. 3 is manufactured.
- the thermal head 1 may be manufactured, in which the cavity portion 4 is formed between the support substrate 3 and the upper substrate 5, and the convex portion 20 is formed between the electrode layers formed at both ends of the heating resistors 7. Further, at both the ends of the heating resistor, the electrode layers each including the thin portion 18 which is connected to the heating resistor 7 in the region corresponding to the concave portion 2 and the thick portion 16 which is connected to the heating resistor 7 and is formed thicker than the thin portion 18 may be formed. This way, as described above, while ensuring the strength of the upper substrate 5, the thermal efficiency of the thermal head 1 may be increased to reduce the amount of energy required for printing.
- the method of manufacturing the thermal head 1 according to this modified example is different from the method of manufacturing the thermal head 1 according to the above-mentioned second embodiment in a method involving forming the thin portion 18 and the thick portion 16 of the electrode 8.
- the description common to the method of manufacturing the thermal head 1 according to the second embodiment is omitted, and the following description is mainly directed to the difference.
- the electrode 8 is formed so as to have a two-stage structure through the first layer forming step and the second layer forming step.
- the electrode 8 is formed so as to have a two-stage structure by etching.
- the electrode layer forming step includes a thick electrode layer forming step of forming a thick electrode layer 26 at a thickness equal to or larger than that of the thick portion 16 as illustrated in FIG. 9F , and an electrode layer removing step of removing a part of the thick electrode layer 26 as illustrated in FIG. 9G .
- the thick electrode layers 26 are formed in a range of from the inside of a region at both end portions of the heating resistor 7 corresponding to the cavity portion 4 to the outside of the region at a substantially uniform thickness which is equal to or larger than the that of the thick portion 16.
- the thick electrode layer 26 is formed in a manner that a film of a wiring material such as Al, Al-Si, Au, Ag, Cu, or Pt is deposited by sputtering, vapor deposition, or the like. Then, the film thus obtained is formed by lift-off or etching, or alternatively the wiring material is baked after screen-printing, to thereby form a pattern of the electrode 8 having a desired shape.
- the inside of a region of the thick electrode layer 26 corresponding to the cavity portion 4 and a part of the outside of the region are removed by etching.
- the electrode 8 having a two-stage structure including the thick portion 16 and the thin portion 18, which is thinner than the thick portion 16 by the amount removed by etching may be formed.
- an interface between the first layer 16a and the second layer 16b of the electrode 8 may be eliminated to improve the strength and the electrical conductivity of the electrode 8.
- the present invention is not particularly limited to one of the above-mentioned embodiments and modified examples, and may be applied to an embodiment in an appropriate combination of the embodiments and modified examples.
- the convex portion 20 may be formed into any other shape in longitudinal cross-section, such as a rectangular shape or curved shape, as long as the heating resistors 7 may be formed.
- the rectangular concave portion 2 extending in the longitudinal direction of the support substrate 3 is formed, and the cavity portion 4 has the communication structure opposed to all the heating resistors 7, but as an alternative thereto, concave portions 2 independent of one another may be formed in the longitudinal direction of the support substrate 3 at positions opposed to the heating resistors 7, and cavity portions 4 independent for each concave portion 2 may be formed through closing the respective concave portions 2 by the upper substrate 5. In this manner, a thermal head including a plurality of hollow heat-insulating layers independent of one another may be formed.
- the thick portion 16 and the thin portion 18 which are provided to both of the pair of electrodes 8
- the thick portion 16 and the thin portion 18 may be provided to only one of the pair of electrodes 8.
Landscapes
- Electronic Switches (AREA)
Applications Claiming Priority (1)
| Application Number | Priority Date | Filing Date | Title |
|---|---|---|---|
| JP2011037310A JP5765844B2 (ja) | 2011-02-23 | 2011-02-23 | サーマルヘッドおよびその製造方法、並びにプリンタ |
Publications (2)
| Publication Number | Publication Date |
|---|---|
| EP2492101A1 EP2492101A1 (en) | 2012-08-29 |
| EP2492101B1 true EP2492101B1 (en) | 2014-10-08 |
Family
ID=45607043
Family Applications (1)
| Application Number | Title | Priority Date | Filing Date |
|---|---|---|---|
| EP12155066.9A Not-in-force EP2492101B1 (en) | 2011-02-23 | 2012-02-13 | Thermal Head and Method of Manufacturing the same, and Printer |
Country Status (4)
| Country | Link |
|---|---|
| US (1) | US8629892B2 (enExample) |
| EP (1) | EP2492101B1 (enExample) |
| JP (1) | JP5765844B2 (enExample) |
| CN (1) | CN102649368B (enExample) |
Families Citing this family (2)
| Publication number | Priority date | Publication date | Assignee | Title |
|---|---|---|---|---|
| JP2013082092A (ja) * | 2011-10-06 | 2013-05-09 | Seiko Instruments Inc | サーマルヘッドおよびその製造方法、並びにサーマルプリンタ |
| JP5943414B2 (ja) * | 2011-12-01 | 2016-07-05 | セイコーインスツル株式会社 | サーマルヘッドの製造方法 |
Family Cites Families (20)
| Publication number | Priority date | Publication date | Assignee | Title |
|---|---|---|---|---|
| JPS5420745A (en) * | 1977-07-15 | 1979-02-16 | Nec Corp | Thermal head |
| JPS606478A (ja) * | 1983-06-24 | 1985-01-14 | Hitachi Ltd | 感熱記録ヘツド |
| JPS61290067A (ja) * | 1985-06-19 | 1986-12-20 | Hitachi Ltd | サ−マルヘツド |
| JPH01221259A (ja) * | 1988-02-29 | 1989-09-04 | Nikon Corp | サーマルヘッド用基板 |
| JPH04147869A (ja) * | 1990-10-11 | 1992-05-21 | Alps Electric Co Ltd | サーマルヘッド |
| KR920009583A (ko) * | 1990-11-20 | 1992-06-25 | 정용문 | 감열기록소자의 제조방법 |
| JP3241755B2 (ja) * | 1991-07-23 | 2001-12-25 | ローム株式会社 | サーマルヘッド及びそれを使用した電子機器 |
| JP3231951B2 (ja) * | 1994-05-12 | 2001-11-26 | アルプス電気株式会社 | サーマルヘッドおよびその製造方法 |
| US5594488A (en) * | 1994-05-12 | 1997-01-14 | Alps Electric Co., Ltd. | Thermal head |
| JP2002036614A (ja) * | 2000-07-25 | 2002-02-06 | Seiko Instruments Inc | 薄膜型サーマルヘッド |
| JP2002067367A (ja) * | 2000-08-31 | 2002-03-05 | Alps Electric Co Ltd | サーマルヘッド及びその製造方法 |
| JP4895344B2 (ja) * | 2005-09-22 | 2012-03-14 | セイコーインスツル株式会社 | 発熱抵抗素子、これを用いたサーマルヘッド及びプリンタ |
| JP5039940B2 (ja) * | 2005-10-25 | 2012-10-03 | セイコーインスツル株式会社 | 発熱抵抗素子、サーマルヘッド、プリンタ、及び発熱抵抗素子の製造方法 |
| JP4548370B2 (ja) * | 2006-03-17 | 2010-09-22 | ソニー株式会社 | サーマルヘッド及びプリンタ装置 |
| JP2007245667A (ja) * | 2006-03-17 | 2007-09-27 | Sony Corp | サーマルヘッド及びプリンタ装置 |
| JP2007245666A (ja) * | 2006-03-17 | 2007-09-27 | Sony Corp | サーマルヘッド及びプリンタ装置 |
| JP2009119850A (ja) | 2007-10-23 | 2009-06-04 | Seiko Instruments Inc | 発熱抵抗素子とその製造方法、サーマルヘッドおよびプリンタ |
| US7768541B2 (en) * | 2007-10-23 | 2010-08-03 | Seiko Instruments Inc. | Heating resistor element, manufacturing method for the same, thermal head, and printer |
| JP5408695B2 (ja) * | 2008-10-27 | 2014-02-05 | セイコーインスツル株式会社 | サーマルヘッドの製造方法 |
| JP5672479B2 (ja) * | 2010-08-25 | 2015-02-18 | セイコーインスツル株式会社 | サーマルヘッド、プリンタおよびサーマルヘッドの製造方法 |
-
2011
- 2011-02-23 JP JP2011037310A patent/JP5765844B2/ja not_active Expired - Fee Related
-
2012
- 2012-02-13 EP EP12155066.9A patent/EP2492101B1/en not_active Not-in-force
- 2012-02-21 CN CN201210040855.8A patent/CN102649368B/zh not_active Expired - Fee Related
- 2012-02-22 US US13/401,894 patent/US8629892B2/en not_active Expired - Fee Related
Also Published As
| Publication number | Publication date |
|---|---|
| CN102649368B (zh) | 2015-11-18 |
| CN102649368A (zh) | 2012-08-29 |
| US8629892B2 (en) | 2014-01-14 |
| JP5765844B2 (ja) | 2015-08-19 |
| EP2492101A1 (en) | 2012-08-29 |
| JP2012171288A (ja) | 2012-09-10 |
| US20120212558A1 (en) | 2012-08-23 |
Similar Documents
| Publication | Publication Date | Title |
|---|---|---|
| US8111273B2 (en) | Thermal head, printer, and manufacturing method for thermal head | |
| US8189021B2 (en) | Thermal head manufacturing method, thermal head, and printer | |
| US20070091161A1 (en) | Heating resistance element, thermal head, printer, and method of manufacturing heating resistance element | |
| EP2298562B1 (en) | Thermal head and printer | |
| EP2364855B1 (en) | Thermal head, printer, and manufacturing method for the thermal head | |
| EP2327554B1 (en) | Thermal head, manufacturing method therefor, and printer | |
| US8212849B2 (en) | Thermal head, manufacturing method therefor, and printer | |
| US8256099B2 (en) | Manufacturing method for a thermal head | |
| US8624946B2 (en) | Thermal head, method of manufacturing thermal head, and printer equipped with thermal head | |
| EP2422988B1 (en) | Thermal head, thermal printer, and manufacturing method for the thermal head | |
| EP2492101B1 (en) | Thermal Head and Method of Manufacturing the same, and Printer | |
| US20090090703A1 (en) | Heating resistance element component and thermal printer | |
| JP5311336B2 (ja) | サーマルヘッド、サーマルプリンタ及びサーマルヘッドの製造方法 | |
| JP5794727B2 (ja) | サーマルヘッドおよびプリンタ | |
| US8122591B2 (en) | Manufacturing method for a heating resistor element component | |
| JP5273786B2 (ja) | サーマルヘッド、プリンタおよびサーマルヘッドの製造方法 | |
| JP5181328B2 (ja) | 発熱抵抗素子部品およびサーマルプリンタ |
Legal Events
| Date | Code | Title | Description |
|---|---|---|---|
| PUAI | Public reference made under article 153(3) epc to a published international application that has entered the european phase |
Free format text: ORIGINAL CODE: 0009012 |
|
| AK | Designated contracting states |
Kind code of ref document: A1 Designated state(s): AL AT BE BG CH CY CZ DE DK EE ES FI FR GB GR HR HU IE IS IT LI LT LU LV MC MK MT NL NO PL PT RO RS SE SI SK SM TR |
|
| AX | Request for extension of the european patent |
Extension state: BA ME |
|
| 17P | Request for examination filed |
Effective date: 20130228 |
|
| GRAJ | Information related to disapproval of communication of intention to grant by the applicant or resumption of examination proceedings by the epo deleted |
Free format text: ORIGINAL CODE: EPIDOSDIGR1 |
|
| GRAP | Despatch of communication of intention to grant a patent |
Free format text: ORIGINAL CODE: EPIDOSNIGR1 |
|
| RIC1 | Information provided on ipc code assigned before grant |
Ipc: B41J 2/335 20060101AFI20140319BHEP |
|
| INTG | Intention to grant announced |
Effective date: 20140407 |
|
| INTC | Intention to grant announced (deleted) | ||
| GRAP | Despatch of communication of intention to grant a patent |
Free format text: ORIGINAL CODE: EPIDOSNIGR1 |
|
| GRAJ | Information related to disapproval of communication of intention to grant by the applicant or resumption of examination proceedings by the epo deleted |
Free format text: ORIGINAL CODE: EPIDOSDIGR1 |
|
| GRAP | Despatch of communication of intention to grant a patent |
Free format text: ORIGINAL CODE: EPIDOSNIGR1 |
|
| INTG | Intention to grant announced |
Effective date: 20140509 |
|
| INTG | Intention to grant announced |
Effective date: 20140603 |
|
| GRAS | Grant fee paid |
Free format text: ORIGINAL CODE: EPIDOSNIGR3 |
|
| GRAA | (expected) grant |
Free format text: ORIGINAL CODE: 0009210 |
|
| AK | Designated contracting states |
Kind code of ref document: B1 Designated state(s): AL AT BE BG CH CY CZ DE DK EE ES FI FR GB GR HR HU IE IS IT LI LT LU LV MC MK MT NL NO PL PT RO RS SE SI SK SM TR |
|
| REG | Reference to a national code |
Ref country code: GB Ref legal event code: FG4D |
|
| REG | Reference to a national code |
Ref country code: CH Ref legal event code: EP Ref country code: AT Ref legal event code: REF Ref document number: 690370 Country of ref document: AT Kind code of ref document: T Effective date: 20141015 |
|
| REG | Reference to a national code |
Ref country code: IE Ref legal event code: FG4D |
|
| REG | Reference to a national code |
Ref country code: DE Ref legal event code: R096 Ref document number: 602012003286 Country of ref document: DE Effective date: 20141120 |
|
| REG | Reference to a national code |
Ref country code: NL Ref legal event code: VDEP Effective date: 20141008 |
|
| REG | Reference to a national code |
Ref country code: AT Ref legal event code: MK05 Ref document number: 690370 Country of ref document: AT Kind code of ref document: T Effective date: 20141008 |
|
| REG | Reference to a national code |
Ref country code: LT Ref legal event code: MG4D |
|
| PG25 | Lapsed in a contracting state [announced via postgrant information from national office to epo] |
Ref country code: NL Free format text: LAPSE BECAUSE OF FAILURE TO SUBMIT A TRANSLATION OF THE DESCRIPTION OR TO PAY THE FEE WITHIN THE PRESCRIBED TIME-LIMIT Effective date: 20141008 |
|
| PG25 | Lapsed in a contracting state [announced via postgrant information from national office to epo] |
Ref country code: NO Free format text: LAPSE BECAUSE OF FAILURE TO SUBMIT A TRANSLATION OF THE DESCRIPTION OR TO PAY THE FEE WITHIN THE PRESCRIBED TIME-LIMIT Effective date: 20150108 Ref country code: LT Free format text: LAPSE BECAUSE OF FAILURE TO SUBMIT A TRANSLATION OF THE DESCRIPTION OR TO PAY THE FEE WITHIN THE PRESCRIBED TIME-LIMIT Effective date: 20141008 Ref country code: ES Free format text: LAPSE BECAUSE OF FAILURE TO SUBMIT A TRANSLATION OF THE DESCRIPTION OR TO PAY THE FEE WITHIN THE PRESCRIBED TIME-LIMIT Effective date: 20141008 Ref country code: FI Free format text: LAPSE BECAUSE OF FAILURE TO SUBMIT A TRANSLATION OF THE DESCRIPTION OR TO PAY THE FEE WITHIN THE PRESCRIBED TIME-LIMIT Effective date: 20141008 Ref country code: PT Free format text: LAPSE BECAUSE OF FAILURE TO SUBMIT A TRANSLATION OF THE DESCRIPTION OR TO PAY THE FEE WITHIN THE PRESCRIBED TIME-LIMIT Effective date: 20150209 Ref country code: IS Free format text: LAPSE BECAUSE OF FAILURE TO SUBMIT A TRANSLATION OF THE DESCRIPTION OR TO PAY THE FEE WITHIN THE PRESCRIBED TIME-LIMIT Effective date: 20150208 |
|
| PG25 | Lapsed in a contracting state [announced via postgrant information from national office to epo] |
Ref country code: SE Free format text: LAPSE BECAUSE OF FAILURE TO SUBMIT A TRANSLATION OF THE DESCRIPTION OR TO PAY THE FEE WITHIN THE PRESCRIBED TIME-LIMIT Effective date: 20141008 Ref country code: AT Free format text: LAPSE BECAUSE OF FAILURE TO SUBMIT A TRANSLATION OF THE DESCRIPTION OR TO PAY THE FEE WITHIN THE PRESCRIBED TIME-LIMIT Effective date: 20141008 Ref country code: CY Free format text: LAPSE BECAUSE OF FAILURE TO SUBMIT A TRANSLATION OF THE DESCRIPTION OR TO PAY THE FEE WITHIN THE PRESCRIBED TIME-LIMIT Effective date: 20141008 Ref country code: RS Free format text: LAPSE BECAUSE OF FAILURE TO SUBMIT A TRANSLATION OF THE DESCRIPTION OR TO PAY THE FEE WITHIN THE PRESCRIBED TIME-LIMIT Effective date: 20141008 Ref country code: LV Free format text: LAPSE BECAUSE OF FAILURE TO SUBMIT A TRANSLATION OF THE DESCRIPTION OR TO PAY THE FEE WITHIN THE PRESCRIBED TIME-LIMIT Effective date: 20141008 Ref country code: HR Free format text: LAPSE BECAUSE OF FAILURE TO SUBMIT A TRANSLATION OF THE DESCRIPTION OR TO PAY THE FEE WITHIN THE PRESCRIBED TIME-LIMIT Effective date: 20141008 Ref country code: PL Free format text: LAPSE BECAUSE OF FAILURE TO SUBMIT A TRANSLATION OF THE DESCRIPTION OR TO PAY THE FEE WITHIN THE PRESCRIBED TIME-LIMIT Effective date: 20141008 Ref country code: GR Free format text: LAPSE BECAUSE OF FAILURE TO SUBMIT A TRANSLATION OF THE DESCRIPTION OR TO PAY THE FEE WITHIN THE PRESCRIBED TIME-LIMIT Effective date: 20150109 |
|
| PG25 | Lapsed in a contracting state [announced via postgrant information from national office to epo] |
Ref country code: BE Free format text: LAPSE BECAUSE OF NON-PAYMENT OF DUE FEES Effective date: 20150228 |
|
| REG | Reference to a national code |
Ref country code: DE Ref legal event code: R097 Ref document number: 602012003286 Country of ref document: DE |
|
| PG25 | Lapsed in a contracting state [announced via postgrant information from national office to epo] |
Ref country code: EE Free format text: LAPSE BECAUSE OF FAILURE TO SUBMIT A TRANSLATION OF THE DESCRIPTION OR TO PAY THE FEE WITHIN THE PRESCRIBED TIME-LIMIT Effective date: 20141008 Ref country code: CZ Free format text: LAPSE BECAUSE OF FAILURE TO SUBMIT A TRANSLATION OF THE DESCRIPTION OR TO PAY THE FEE WITHIN THE PRESCRIBED TIME-LIMIT Effective date: 20141008 Ref country code: RO Free format text: LAPSE BECAUSE OF FAILURE TO SUBMIT A TRANSLATION OF THE DESCRIPTION OR TO PAY THE FEE WITHIN THE PRESCRIBED TIME-LIMIT Effective date: 20141008 Ref country code: SK Free format text: LAPSE BECAUSE OF FAILURE TO SUBMIT A TRANSLATION OF THE DESCRIPTION OR TO PAY THE FEE WITHIN THE PRESCRIBED TIME-LIMIT Effective date: 20141008 Ref country code: DK Free format text: LAPSE BECAUSE OF FAILURE TO SUBMIT A TRANSLATION OF THE DESCRIPTION OR TO PAY THE FEE WITHIN THE PRESCRIBED TIME-LIMIT Effective date: 20141008 |
|
| PLBE | No opposition filed within time limit |
Free format text: ORIGINAL CODE: 0009261 |
|
| STAA | Information on the status of an ep patent application or granted ep patent |
Free format text: STATUS: NO OPPOSITION FILED WITHIN TIME LIMIT |
|
| 26N | No opposition filed |
Effective date: 20150709 |
|
| PG25 | Lapsed in a contracting state [announced via postgrant information from national office to epo] |
Ref country code: LU Free format text: LAPSE BECAUSE OF FAILURE TO SUBMIT A TRANSLATION OF THE DESCRIPTION OR TO PAY THE FEE WITHIN THE PRESCRIBED TIME-LIMIT Effective date: 20150213 |
|
| REG | Reference to a national code |
Ref country code: CH Ref legal event code: PL |
|
| PG25 | Lapsed in a contracting state [announced via postgrant information from national office to epo] |
Ref country code: CH Free format text: LAPSE BECAUSE OF NON-PAYMENT OF DUE FEES Effective date: 20150228 Ref country code: MC Free format text: LAPSE BECAUSE OF FAILURE TO SUBMIT A TRANSLATION OF THE DESCRIPTION OR TO PAY THE FEE WITHIN THE PRESCRIBED TIME-LIMIT Effective date: 20141008 Ref country code: LI Free format text: LAPSE BECAUSE OF NON-PAYMENT OF DUE FEES Effective date: 20150228 |
|
| REG | Reference to a national code |
Ref country code: IE Ref legal event code: MM4A |
|
| REG | Reference to a national code |
Ref country code: FR Ref legal event code: PLFP Year of fee payment: 5 |
|
| PG25 | Lapsed in a contracting state [announced via postgrant information from national office to epo] |
Ref country code: IE Free format text: LAPSE BECAUSE OF NON-PAYMENT OF DUE FEES Effective date: 20150213 |
|
| PG25 | Lapsed in a contracting state [announced via postgrant information from national office to epo] |
Ref country code: SI Free format text: LAPSE BECAUSE OF FAILURE TO SUBMIT A TRANSLATION OF THE DESCRIPTION OR TO PAY THE FEE WITHIN THE PRESCRIBED TIME-LIMIT Effective date: 20141008 |
|
| GBPC | Gb: european patent ceased through non-payment of renewal fee |
Effective date: 20160213 |
|
| PG25 | Lapsed in a contracting state [announced via postgrant information from national office to epo] |
Ref country code: MT Free format text: LAPSE BECAUSE OF FAILURE TO SUBMIT A TRANSLATION OF THE DESCRIPTION OR TO PAY THE FEE WITHIN THE PRESCRIBED TIME-LIMIT Effective date: 20141008 |
|
| REG | Reference to a national code |
Ref country code: FR Ref legal event code: PLFP Year of fee payment: 6 |
|
| PG25 | Lapsed in a contracting state [announced via postgrant information from national office to epo] |
Ref country code: GB Free format text: LAPSE BECAUSE OF NON-PAYMENT OF DUE FEES Effective date: 20160213 |
|
| PG25 | Lapsed in a contracting state [announced via postgrant information from national office to epo] |
Ref country code: BG Free format text: LAPSE BECAUSE OF FAILURE TO SUBMIT A TRANSLATION OF THE DESCRIPTION OR TO PAY THE FEE WITHIN THE PRESCRIBED TIME-LIMIT Effective date: 20141008 Ref country code: SM Free format text: LAPSE BECAUSE OF FAILURE TO SUBMIT A TRANSLATION OF THE DESCRIPTION OR TO PAY THE FEE WITHIN THE PRESCRIBED TIME-LIMIT Effective date: 20141008 Ref country code: HU Free format text: LAPSE BECAUSE OF FAILURE TO SUBMIT A TRANSLATION OF THE DESCRIPTION OR TO PAY THE FEE WITHIN THE PRESCRIBED TIME-LIMIT; INVALID AB INITIO Effective date: 20120213 |
|
| PG25 | Lapsed in a contracting state [announced via postgrant information from national office to epo] |
Ref country code: TR Free format text: LAPSE BECAUSE OF FAILURE TO SUBMIT A TRANSLATION OF THE DESCRIPTION OR TO PAY THE FEE WITHIN THE PRESCRIBED TIME-LIMIT Effective date: 20141008 |
|
| REG | Reference to a national code |
Ref country code: FR Ref legal event code: PLFP Year of fee payment: 7 |
|
| PG25 | Lapsed in a contracting state [announced via postgrant information from national office to epo] |
Ref country code: MK Free format text: LAPSE BECAUSE OF FAILURE TO SUBMIT A TRANSLATION OF THE DESCRIPTION OR TO PAY THE FEE WITHIN THE PRESCRIBED TIME-LIMIT Effective date: 20141008 |
|
| PG25 | Lapsed in a contracting state [announced via postgrant information from national office to epo] |
Ref country code: AL Free format text: LAPSE BECAUSE OF FAILURE TO SUBMIT A TRANSLATION OF THE DESCRIPTION OR TO PAY THE FEE WITHIN THE PRESCRIBED TIME-LIMIT Effective date: 20141008 |
|
| PGFP | Annual fee paid to national office [announced via postgrant information from national office to epo] |
Ref country code: FR Payment date: 20190111 Year of fee payment: 8 Ref country code: IT Payment date: 20190221 Year of fee payment: 8 Ref country code: DE Payment date: 20190129 Year of fee payment: 8 |
|
| REG | Reference to a national code |
Ref country code: DE Ref legal event code: R119 Ref document number: 602012003286 Country of ref document: DE |
|
| PG25 | Lapsed in a contracting state [announced via postgrant information from national office to epo] |
Ref country code: DE Free format text: LAPSE BECAUSE OF NON-PAYMENT OF DUE FEES Effective date: 20200901 Ref country code: FR Free format text: LAPSE BECAUSE OF NON-PAYMENT OF DUE FEES Effective date: 20200229 |
|
| PG25 | Lapsed in a contracting state [announced via postgrant information from national office to epo] |
Ref country code: IT Free format text: LAPSE BECAUSE OF NON-PAYMENT OF DUE FEES Effective date: 20200213 |