EP2465397B1 - Staubsaugerbeutel und Verfahren zum Herstellen eines Staubsaugerbeutels - Google Patents

Staubsaugerbeutel und Verfahren zum Herstellen eines Staubsaugerbeutels Download PDF

Info

Publication number
EP2465397B1
EP2465397B1 EP20100195704 EP10195704A EP2465397B1 EP 2465397 B1 EP2465397 B1 EP 2465397B1 EP 20100195704 EP20100195704 EP 20100195704 EP 10195704 A EP10195704 A EP 10195704A EP 2465397 B1 EP2465397 B1 EP 2465397B1
Authority
EP
European Patent Office
Prior art keywords
vacuum cleaner
holding means
cleaner bag
inwardly folded
bag according
Prior art date
Legal status (The legal status is an assumption and is not a legal conclusion. Google has not performed a legal analysis and makes no representation as to the accuracy of the status listed.)
Not-in-force
Application number
EP20100195704
Other languages
English (en)
French (fr)
Other versions
EP2465397A1 (de
Inventor
Dr. Wolfgang Czado
Current Assignee (The listed assignees may be inaccurate. Google has not performed a legal analysis and makes no representation or warranty as to the accuracy of the list.)
Wolf PVG GmbH and Co KG
Original Assignee
Wolf PVG GmbH and Co KG
Priority date (The priority date is an assumption and is not a legal conclusion. Google has not performed a legal analysis and makes no representation as to the accuracy of the date listed.)
Filing date
Publication date
Application filed by Wolf PVG GmbH and Co KG filed Critical Wolf PVG GmbH and Co KG
Priority to EP20100195704 priority Critical patent/EP2465397B1/de
Publication of EP2465397A1 publication Critical patent/EP2465397A1/de
Application granted granted Critical
Publication of EP2465397B1 publication Critical patent/EP2465397B1/de
Not-in-force legal-status Critical Current
Anticipated expiration legal-status Critical

Links

Images

Classifications

    • AHUMAN NECESSITIES
    • A47FURNITURE; DOMESTIC ARTICLES OR APPLIANCES; COFFEE MILLS; SPICE MILLS; SUCTION CLEANERS IN GENERAL
    • A47LDOMESTIC WASHING OR CLEANING; SUCTION CLEANERS IN GENERAL
    • A47L9/00Details or accessories of suction cleaners, e.g. mechanical means for controlling the suction or for effecting pulsating action; Storing devices specially adapted to suction cleaners or parts thereof; Carrying-vehicles specially adapted for suction cleaners
    • A47L9/10Filters; Dust separators; Dust removal; Automatic exchange of filters
    • A47L9/14Bags or the like; Rigid filtering receptacles; Attachment of, or closures for, bags or receptacles

Definitions

  • the present invention relates to a vacuum cleaner bag having at least one inwardly folded wall portion which is held in at least one holding means in the inwardly folded position.
  • the DE 20 2008 016 300 discloses a vacuum cleaner bag in which an inwardly directed fold is arranged on one side. In operation, this fold may inflate outwardly, thus significantly increasing the internal volume of the vacuum cleaner bag.
  • a disadvantage of such inwardly folded wall sections that they inflate during operation and press outwards, so that the filter material presses against the inner wall of the dust chamber of the vacuum cleaner and in large areas, a flow of air is difficult to be prevented. This deteriorates the suction power. If the inwardly folded wall section remains folded in, the suction performance is likewise impaired since the filter material is not or only insignificantly flows through in the region of the fold.
  • the EP 2 198 765 discloses a vacuum cleaner bag in the form of a block bottom bag, in which a spacer is provided in an interior, which limits the distance between two side walls to each other, to avoid uncontrolled inflation of the vacuum cleaner bag.
  • the inwardly folded wall section is held in the inwardly folded position via at least one retaining means.
  • the inwardly folded wall portion is available as a filter surface and thus the filter area in relation to the internal volume of the vacuum cleaner bag is significantly higher than without inwardly folded wall portion.
  • the holding means has at least one recess or is formed from a net or grid. This ensures that the holding agent can be flowed through and does not adversely affect the suction power.
  • the recess in the holding means is preferably arranged laterally offset from an inflow opening in the upper part or the lower part, so that the holding means also acts as an impact protection and deflects an incoming air flow.
  • the size of the recess is preferably greater than 2 cm 2 , in particular larger than the inflow opening.
  • the geometry of the recess is freely selectable and also several recesses may be incorporated into the retaining means.
  • the holding means is fixed at least in a central region of the wall portion.
  • the inwardly folded wall portion may be fixed over the entire length by the holding means, but for the function of holding the inwardly folded portion to prevent inflation, however, it suffices if the inwardly folded wall portion at one or more points on the Hattestoff is fixed.
  • a fixation on the holding means is particularly useful in the central region, since the inwardly folded wall portion is preferably also fixed to a seam of the vacuum cleaner bag edge.
  • the vacuum cleaner bag on at least two sides on an inwardly folded wall portion.
  • the two inwardly folded wall portions may be connected to each other via the holding means, so that in operation the holding means is loaded to train through the wall sections.
  • the inwardly folded wall portions may be formed symmetrically in order to avoid a displacement of the holding means to a direction by unilaterally acting tensile forces.
  • the holding means is preferably connected via a seam with the inwardly folded wall portion.
  • the seam is preferably directed outwards, so that the seam does not restrict the effective filter volume of the vacuum cleaner bag.
  • the vacuum cleaner bag preferably comprises a top and a bottom as a sheet.
  • the holding means may be formed as an air-permeable sheet.
  • the materials used are preferably single-layer or multi-layer nonwoven materials, paper, composite materials, films or other materials.
  • fabrics such as meshes, scrims, yarn, paper, cardboard or foil. To form a seam, these materials can preferably be welded or glued.
  • At least one seam is provided, which connects the upper part, the lower part and the holding means with each other.
  • the holding means is formed integrally with the upper part and / or the lower part. It is possible to manufacture upper part, lower part and holding means separately, but also an integral design of the holding means is possible.
  • the holding means may be formed in one or two layers, wherein it is possible in a two-ply training to connect an upper layer to the upper part and a lower layer with the lower part, so that the retaining means with the two layers edge forms the inwardly folded wall portion ,
  • the holding means is held by at least one holder on the upper part and / or lower part.
  • a predetermined distance of the holding means to the upper part and / or lower part can be specified, in particular it can be prevented that the holding means rests on the upper part or lower part and thus the available filter surface is reduced.
  • the at least one holder is formed integrally with the holding means, for example as a material strip, which is then fixed to the upper part or lower part.
  • the strip of material can be provided by punching out the passage opening if the material strip remains at least partially connected to the holding means during punching.
  • an upper part and a lower part are first provided from a sheet of air-permeable material, the upper part and lower part are preferably formed separately, but can also be made integrally from one piece.
  • a holding means is arranged on a marginal first edge of the upper part and a first edge or fold of the lower part. Then, the first edge of the upper part is connected to the holding means and a first edge or fold of the lower part.
  • a second edge or fold of the upper part is then connected to the holding means and a second edge or fold of the lower part, which connects the holding means to the lower part.
  • upper part and lower part of sheet material are substantially tubular and promoted to form a vacuum cleaner bag then upper part and lower part perpendicular to the conveying direction and connected to each other, preferably welded.
  • the production of the vacuum cleaner bag can be done in a continuous flow process with high efficiency.
  • upper part, lower part and retaining means of weldable materials such as a single or multi-layer nonwoven fabric, which are then welded together.
  • one, two or three webs of a filter material can be supplied to a processing station.
  • a vacuum cleaner bag 1 comprises an upper part and a lower part 3 made of an air-permeable material, in particular a nonwoven fabric, paper, film or composite material.
  • the vacuum cleaner bag 1 has on two opposite sides of an inwardly folded wall portion 4 on.
  • Each inwardly folded wall portion 4 comprises an upper pleat leg 5, which is formed integrally with the upper part 2, and a lower pleat leg 6, which is formed integrally with the lower part 3.
  • a holding means 8 is arranged in the form of a sheet, which is at least partially connected to the inwardly folded wall portion 4.
  • the holding means 8 is formed from a sheet of air-permeable material, in particular a nonwoven fabric, paper, foil, a scrim, mesh or other material. A training as a strip, yarn or other connection means between the opposite wall sections 4 is possible.
  • the holding means 8 can be loaded in tension and can also have a certain elasticity.
  • the holding means 8 prevents that the two inwardly folded wall sections 4 inflate during operation of the vacuum cleaner bag to the outside.
  • the holding means 8 can be fixed only in a central region on the inwardly folded wall portion 4. It is also possible that the holding means 8 is fixed over the entire length of the folding edge 7.
  • the holding means 8 is intended to prevent at least a swelling of the inwardly folded wall portion 4 to the outside.
  • a seam 9 is provided, which is formed by welding or gluing, and on the pleat legs 5 of the upper part 2, the pleat legs 6 of the lower part 3 and an edge portion of the holding means are fixed to each other, preferably by welding or gluing.
  • a seam 10 is provided, which also connects the pleat leg 5 and the pleat leg 6 and the retaining means 8. The seams 9 and 10 are each directed outwards and thus are outside the internal volume of the vacuum cleaner bag.
  • FIG. 2 the items of the vacuum cleaner bag 1 are shown before the assembly.
  • an inflow opening 12 is recessed, which is surrounded by a holding plate 11.
  • a recess 13 is provided, which is formed larger than the inflow opening 12 and after the preparation of the vacuum cleaner bag 1 of the inflow opening 12 is opposite. It is also possible for the recess 13 to be arranged offset to the inflow opening 12, so that an incoming air flow is at least partially deflected by the holding means 8, so that the holding means 8 acts as impact protection.
  • the upper part 2, the lower part 3 and the holding means 8 are each shown as a rectangular sheet, wherein it is expedient for the production when upper part 2, lower part 3 and holding means 8 are fed as web material to a processing station.
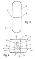
  • FIG. 3 an intermediate stage of the production of the vacuum cleaner bag 1 is shown.
  • the upper part 2 and the lower part 3 are formed substantially tubular and are separated on the mutually facing side by the holding means 8 from each other. In the region of the free edges of the upper part 2 and the lower part 3 and the edges of the holding means 8, these have been connected to seams 9 and 10 with each other.
  • the intermediate stage of the vacuum cleaner bag 1 has an upper hose and a lower hose, which are separated from one another via the holding means 8. In the holding means 8 only recesses 13 are introduced, which allow a flow through.
  • the now flat superimposed track section is formed on four opposite sides of four layers, while in the central region, only the upper part 2, the holding means 8 and the lower part 3 are present.
  • This web is now guided to a cutting and welding station, cut perpendicular to the conveying direction of the vacuum cleaner bag 1 and welded.
  • the finished vacuum cleaner bag is in the plan view in FIG. 4 shown.
  • the inwardly folded wall sections 4 are arranged with a folding edge 7.
  • the wall sections 4 have a width which is between 10% and 40% of the width of the vacuum cleaner bag, preferably in a range between 1 cm and 8 cm, in particular 2 cm to 5 cm.
  • cutting edges 14 are provided, which are arranged adjacent to a seam 15, for example by welding or gluing.
  • the recess 13 is laterally offset from the inflow opening 12. It is of course also possible to arrange the recess 13 in alignment with the inflow opening 12.
  • a plurality of recesses 13 may be provided, for example, on both sides of the inflow opening 12 at least one recess 13th be provided.
  • the holding means 8 may also consist of a net or scrim, so that the introduction of recesses 13 is not necessary.
  • FIG. 5 a modified embodiment for a vacuum cleaner bag 1 is shown, which corresponds in shape substantially to the previous embodiment. Only the holding means 8 'is formed integrally with the lower part 3, so that instead of the three individual parts ( FIG. 2 ) only two items are available.
  • the upper part 2 corresponds to the previous embodiment.
  • a seam 9 is now produced on one side, in which an edge of the upper part 2 with an edge of the holding means 8 'and an edge of the lower part 3 are interconnected.
  • a modified seam 10 ' On the opposite side is a modified seam 10 ', in which an edge of the upper part 2 is connected to a fold, a strip or a transition region 10' between the holding means 8 'and the lower part 3. In this respect, only one edge and one fold or strip are connected to each other.
  • the vacuum cleaner bag 1 from a single web, so that upper part 2, holding means 8 'and lower part 3 are formed integrally. Then, at the seams 9 and 10, only one edge of the upper part 2 or of the lower part 3 is fixed to one another with a transition section 10 'between holding means and lower part 3 or holding means and upper part 2.
  • vacuum bags 1 extend the seams 9 and 10 over the entire length of the vacuum cleaner bag 1. It is of course possible to provide the fixation of the holding means 8 only in a central region, so shorter form.
  • the inwardly folded wall sections 4 could also be held together only in a central region, while in the peripheral region, the seams 15 prevent outward swelling.
  • the holding means 8 need not extend over the entire length of the vacuum cleaner bag 1. It is possible to form the retaining means 8 only as a transverse strip, which is arranged in the region of the inflow opening 12 and is connected at opposite end faces with the inwardly folded wall sections 4.
  • FIG. 6 shows a perspective view of another embodiment of a vacuum cleaner bag, in which compared to the in FIG. 1 embodiment shown still a holder 20 is provided and otherwise the same components are denoted by the same reference numerals.
  • the holder 20 is formed by a strip of material which is formed during the punching of the passage opening 13 when at least a part of the material strip remains connected to the holding means 8, as shown at an edge 22.
  • the holder 20 is fixed at the free end to the upper part 2 adjacent to the inflow opening 12, so that an incoming air flow initially strikes the holder 20, which acts as a deflection device and impact protection.
  • the holder 20 also ensures that the holding means 8 does not rest on the lower part 3 but spaced from the lower part 3 is held.
  • FIG. 7 is one opposite FIG. 6 modified embodiment shown in which a holder 30 is formed integrally with a holding means 8.
  • the holder 30 is connected at a transition to the holding means 8 and fixed on the opposite side 32 on the lower part 3 in a central region opposite to the inflow opening 12.
  • the holder 30 can also form an impact protection and also ensures that the incoming air flow pulls the lower part 3 away from the upper part 2 and the retaining means 8 is also pulled away from the upper part 2 by the holder 30. This ensures that the holding means 8 is spaced from the upper part 2 and held by the lower part 3 and the corresponding filter surfaces can be flowed through.
  • a holder 40 is provided, which is arranged in a loop shape and unlike the holder 20 in FIG. 6 is fixed at the free end 41 on the opposite side of the inflow opening 12.
  • an air flow entering through the inflow opening 12 can flow through the through-opening 13 onto the lower part 3, then being pulled away from the holding means 8 and the upper part 2, so that a secure unfolding of the vacuum cleaner bag after insertion into a vacuum cleaner is ensured.
  • FIGS. 6 to 8 shown holders 20, 30 and 40 may be combined with each other, for example, a plurality of holders may be fixed to the holding means 8 in order to ensure a predetermined spacing between the upper part 2, holding means 8 and lower part 3.
  • FIG. 9 a vacuum cleaner bag is shown in which a dividing wall 50 is arranged in an upper chamber between upper part 2 and a holding means 8 "', the dividing wall 50 being adjacent to an edge 52 Inflow opening 12 fixed to the upper part 2 and on the opposite side to a seam 51 between the upper part 2 and a pleat leg 5.
  • the partition may be formed as a rectangular piece of material, preferably made of a non-woven, and at the edges, not shown, at the seams 15 of the vacuum cleaner bag ( FIG. 4 ).
  • the holding means 8 is formed in two layers, with an upper layer forming the upper pleat leg 5 and a lower layer forming the lower pleat leg 6.
  • the pleat legs 5 and 6 are connected to one another at at least one connection point 18, preferably a weld includes a frame-shaped portion surrounding a through-hole 13.
  • the partition 50 omitted and arranged on opposite sides an additional spacer 60 between the upper pleat leg 5 and the lower pleat leg 6.
  • the spacer 60 is formed from a shaped body, for example made of foam, and has upper ribs 61 for abutment with the upper fold leg 5 and lower ribs 62 for engagement with the lower fold leg 6.
  • partition 50 and the spacer 60 can also in the embodiments of FIGS. 1 to 8 be provided.

Landscapes

  • Engineering & Computer Science (AREA)
  • Mechanical Engineering (AREA)
  • Filters For Electric Vacuum Cleaners (AREA)

Description

  • Die vorliegende Erfindung betrifft einen Staubsaugerbeutel mit mindestens einem nach innen gefalteten Wandabschnitt, der über mindestens ein Haltemittel in der nach innen gefalteten Position gehalten ist.
  • Die DE 20 2008 016 300 offenbart einen Staubsaugerbeutel, bei dem auf einer Seite eine nach innen gerichtete Falte angeordnet ist. Im Betrieb kann sich diese Falte nach außen aufblähen und vergrößert somit signifikant das Innenvolumen des Staubsaugerbeutels. Nachteilig bei solchen nach innen gefalteten Wandabschnitten ist, dass diese sich im Betrieb aufblähen und nach außen aufdrücken, so dass das Filtermaterial gegen die Innenwand des Staubraumes des Staubsaugers drückt und in großen Bereichen ein Abströmen der Luft erschwert bis unterbunden wird. Dies verschlechtert die Saugleistung. Bleibt der nach innen gefaltete Wandabschnitt eingefaltet, wird ebenfalls die Saugleistung beeinträchtigt, da das Filtermaterial im Bereich der Falte nicht oder nur unwesentlich durchströmt wird.
  • Die EP 2 198 765 offenbart einen Staubsaugerbeutel in Form eines Klotzbodenbeutels, bei dem in einem Innenraum ein Abstandshalter vorgesehen ist, der den Abstand von zwei Seitenwänden zueinander begrenzt, um ein unkontrolliertes Aufblähen des Staubsaugerbeutels zu vermeiden.
  • Es ist daher Aufgabe der vorliegenden Erfindung, einen Staubsaugerbeutel zu schaffen, bei dem die wirksame Filteroberfläche besser genutzt wird und der eine lange Standzeit besitzt.
  • Diese Aufgabe wird durch einen Staubsaugerbeutel mit den Merkmalen des Anspruches 1 gelöst.
  • Bei dem erfindungsgemäßen Staubsaugerbeutel ist der nach innen gefaltete Wandabschnitt über mindestens ein Halternittel in der nach innen gefalteten Position gehalten. Dadurch wird vermieden, dass der nach innen gefaltete Wandabschnitt sich nach außen aufbläht und sich gegen die Innenwand einer Kammer eines Staubsaugerbeutels anlegt, so dass der an der Wand anliegende Bereich nicht mit Luft durchströmt wird. Vielmehr wird der nach innen gefaltete Wandabschnitt im Wesentlichen in einer durchströmbaren Position gehalten, wobei zumindest ein Aufblähen nach außen verhindert wird. Eine gewisse Elastizität des Haltemittels beeinträchtigt diese Funktion nicht. Zudem wird gewährleistet, dass der nach innen gefaltete Wandabschnitt als Filteroberfläche zur Verfügung steht und somit die Filterfläche im Verhältnis zum Innenvolumen des Staubsaugerbeutels signifikant höher ist als ohne nach innen gefalteten Wandabschnitt.
  • Das Haltemittel weist mindestens eine Aussparung auf oder ist aus einem Netz oder Gitter gebildet. Dadurch ist gewährleistet, dass das Halternittel durchströmbar ist und die Saugleistung nicht nachteilig beeinflusst. Die Aussparung in dem Haltemittel ist vorzugsweise seitlich versetzt zu einer Einströmöffnung in dem Oberteil oder dem Unterteil angeordnet, so dass das Haltemittel auch als Pralischutz wirkt und einen eintretenden Luftstrom ablenkt. Die Größe der Aussparung ist vorzugsweise größer als 2 cm2, insbesondere größer als die Einströmöffnung. Die Geometrie der Aussparung ist frei wählbar und zudem können auch mehrere Aussparungen in das Haltemittel eingebracht sein.
  • Vorzugsweise ist das Haltemittel zumindest in einem mittleren Bereich des Wandabschnittes fixiert. Der nach innen gefaltete Wandabschnitt kann über die gesamte Länge durch das Haltemittel fixiert sein, aber für die Funktion des Haltens des nach innen gefalteten Abschnittes zur Vermeidung eines Aufblähens reicht es jedoch aus, wenn der nach innen gefaltete Wandabschnitt an ein oder mehreren Punkten an dem Hattemittel fixiert ist. Insbesondere im mittleren Bereich ist jedoch eine Fixierung am Haltemittel sinnvoll, da der nach innen gefaltete Wandabschnitt randseitig vorzugsweise ebenfalls an einer Naht des Staubsaugerbeutels fixiert ist.
  • Gemäß einer bevorzugten Ausgestaltung weist der Staubsaugerbeutel an mindestens zwei Seiten einen nach innen gefalteten Wandabschnitt auf. Die zwei nach innen gefalteten Wandabschnitte können dabei über das Haltemittel miteinander verbunden sein, so dass im Betrieb das Haltemittel auf Zug durch die Wandabschnitte belastet wird. Die nach innen gefalteten Wandabschnitte können dabei symmetrisch ausgebildet sein, um ein Verschieben des Haltemittels zu einer Richtung durch einseitig wirkende Zugkräfte zu vermeiden.
  • Das Haltemittel ist vorzugsweise über eine Naht mit dem nach innen gefalteten Wandabschnitt verbunden. Die Naht ist dabei vorzugsweise nach außen gerichtet, so dass die Naht das wirksame Filtervolumen des Staubsaugerbeutels nicht einschränkt.
  • Der Staubsaugerbeutel umfasst vorzugsweise ein Oberteil und ein Unterteil als Flächengebilde. Auch das Haltemittel kann als luftdurchlässiges Flächengebilde gebildet sein. Als Materialien werden vorzugsweise ein- oder mehrlagige Vliesmaterialien, Papier, Verbundwerkstoffe, Folien oder andere Materialien eingesetzt. Für das Haltemittel können zudem Stoffe wie Netzstoffe, Gitterstoffe, Garn, Papier, Pappe oder Folie eingesetzt werden. Zur Ausbildung einer Naht können diese Materialien vorzugsweise verschweißt oder verklebt werden.
  • Gemäß einer Ausgestaltung der Erfindung ist mindestens eine Naht vorgesehen, die das Oberteil, das Unterteil und das Haltemittel miteinander verbindet. Dadurch können mittels eines Verfahrensschrittes, wie Verkleben oder Verschweißen, die Einzelteile miteinander verbunden werden, was eine effektive Herstellung ermöglicht.
  • Gemäß einer weiteren Ausgestaltung der Erfindung ist das Haltemittel integral mit dem Oberteil und/oder dem Unterteil ausgebildet. Es ist möglich, Oberteil, Unterteil und Haltemittel separat herzustellen, aber auch eine integrale Ausbildung des Haltemittels ist möglich. Das Haltemittel kann dabei einlagig oder zweilagig ausgebildet sein, wobei es bei einer zweilagigen Ausbildung möglich ist, eine obere Lage mit dem Oberteil zu verbinden und eine untere Lage mit dem Unterteil, so dass das Haltmittel mit den beiden Lagen randseitig den nach innen gefalteten Wandabschnitt ausbildet.
  • Nach einer weiteren Ausgestaltung ist das Haltemittel über mindestens einen Halter am Oberteil und/oder Unterteil gehalten. Dadurch kann ein vorbestimmter Abstand des Haltemittels zum Oberteil und/oder Unterteil vorgegeben werden, insbesondere kann verhindert werden, dass das Haltemittel am Oberteil oder Unterteil anliegt und somit die zur Verfügung stehende Filterfläche reduziert wird. Vorzugsweise ist der mindestens eine Halter integral mit dem Haltemittel ausgebildet, beispielsweise als Materialstreifen, der dann am Oberteil oder Unterteil fixiert ist. Der Materialstreifen kann durch Ausstanzen der Durchgangsöffnung bereitgestellt werden, wenn beim Ausstanzen der Materialstreifen zumindest teilweise mit dem Haltemittel verbunden bleibt.
  • Bei dem erfindungsgemäßen Verfahren zum Herstellen eines Staubsaugerbeutels wird zunächst ein Oberteil und ein Unterteil aus einem Flächengebilde aus luftdurchlässigem Material bereitgestellt, wobei Oberteil und Unterteil vorzugsweise getrennt ausgebildet sind, aber auch integral aus einem Stück gefertigt sein können. Anschließend wird ein Haltemittel an einer randseitigen ersten Kante des Oberteils und einer ersten Kante oder Falte des Unterteils angeordnet. Dann wird die erste Kante des Oberteils mit dem Haltemittel und einer ersten Kante oder Falte des Unterteils verbunden. In einem weiteren Schritt wird dann eine zweite Kante oder Falte des Oberteils mit dem Haltemittel und einer zweiten Kante oder Falte des Unterteils verbunden, die das Haltemittel mit dem Unterteil verbindet. Dadurch wird mit nur wenigen Schritten ein gefalteter Wandabschnitt bereitgestellt, der über ein Haltemittel in einer nach innen gefalteten Position fixiert werden kann.
  • Vorzugsweise werden Oberteil und Unterteil aus Bahnmaterial im Wesentlichen schlauchförmig gefördert und zur Ausbildung eines Staubsaugerbeutels werden dann Oberteil und Unterteil senkrecht zur Förderrichtung geschnitten und miteinander verbunden, vorzugsweise verschweißt. Dadurch kann die Herstellung der Staubsaugerbeutel in einem kontinuierlichen Durchlaufverfahren mit hoher Effizienz erfolgen.
  • Vorzugsweise bestehen Oberteil, Unterteil und Haltemittel aus schweißfähigen Materialien, beispielsweise einem ein- oder mehrlagigen Vliesstoff, die dann miteinander verschweißt werden.
  • Zur Ausbildung von Oberteil, Unterteil und Haltemittel und zur Herstellung eines Staubsaugerbeutels können optional ein, zwei oder drei Bahnen eines Filtermaterials zu einer Verarbeitungsstation zugeführt werden. Vorzugsweise werden zwei oder drei Bahnen parallel zueinander zu der Verarbeitungsstation zugeführt, um den erfindungsgemäßen Staubsaugerbeutel herzustellen.
  • Die Erfindung wird nachfolgend anhand mehrerer Ausführungsbeispiele mit Bezug auf die beigefügten Zeichnungen näher erläutert. Es zeigen:
  • Figur 1
    eine perspektivische Ansicht eines erfindungsgemäßen Staubsaugerbeutels;
    Figur 2
    eine Draufsicht auf die Einzelteile des Staubsaugerbeutels der Figur 1 ;
    Figur 3
    eine Seitenansicht des Staubsaugerbeutels der Figur 1 bei der Herstellung;
    Figur 4
    eine Draufsicht auf den Staubsaugerbeutel der Figur 1;
    Figur 5
    eine Draufsicht auf Einzelteile eines modifizierten Staubsaugerbeutels;
    Figur 6
    eine perspektivische Ansicht eines weiteren Ausführungsbeispiels eines Staubsaugerbeutels;
    Figur 7
    eine perspektivische Ansicht eines weiteren Ausführungsbeispiels eines Staubsaugerbeutels;
    Figur 8
    eine perspektivische Ansicht eines weiteren Ausführungsbeispiels eines Staubsaugerbeutels;
    Figur 9
    eine Seitenansicht eines weiteren Ausführungsbeispiels eines Staubsaugerbeutels mit modifiziertem Haltemittel; und
    Figur 10
    eine Seitenansicht eines zu Figur 9 abgewandelten Ausführungsbeispiels eines Staubsaugerbeutels.
  • Ein Staubsaugerbeutel 1 umfasst ein Oberteil und ein Unterteil 3 aus einem luftdurchlässigen Material, insbesondere einem Flächengebilde aus einem Vliesstoff, Papier, Folie oder einem Verbundwerkstoff. Der Staubsaugerbeutel 1 weist an zwei gegenüberliegenden Seiten einen nach innen gefalteten Wandabschnitt 4 auf. Jeder nach innen gefaltete Wandabschnitt 4 umfasst einen oberen Faltenschenkel 5, der integral mit dem Oberteil 2 ausgebildet ist, sowie einen unteren Faltenschenkel 6, der integral mit dem Unterteil 3 ausgebildet ist.
  • An einer Faltkante 7 des nach innen gefalteten Wandabschnittes 4 ist ein Haltemittel 8 in Form eines Flächengebildes angeordnet, der zumindest bereichsweise mit dem nach innen gefalteten Wandabschnitt 4 verbunden ist. Das Haltemittel 8 ist aus einem Flächengebilde aus luftdurchlässigem Material, insbesondere einem Vliesstoff, Papier, Folie, einem Gitterstoff, Netz oder einen anderen Material gebildet. Auch eine Ausbildung als Streifen, Garn oder anderes Verbindungsmittel zwischen den gegenüberliegenden Wandabschnitten 4 ist möglich. Das Haltemittel 8 ist auf Zug belastbar und kann auch eine gewisse Elastizität besitzen. Das Haltemittel 8 verhindert dabei, dass die beiden nach innen gefalteten Wandabschnitte 4 sich im Betrieb des Staubsaugerbeutels nach außen aufblähen. Das Haltemittel 8 kann dabei nur in einem mittleren Bereich an dem nach innen gefalteten Wandabschnitt 4 fixiert sein. Es ist auch möglich, dass das Haltemittel 8 über die gesamte Länge der Faltkante 7 fixiert wird. Das Haltemittel 8 soll zumindest ein Aufblähen des nach innen gefalteten Wandabschnittes 4 nach außen verhindern.
  • Um das Haltemittel 8 mit dem nach innen gefalteten Wandabschnitt 4 zu verbinden, ist eine Naht 9 vorgesehen, die durch Schweißen oder Kleben gebildet ist, und an der der Faltenschenkel 5 des Oberteils 2, der Faltenschenkel 6 des Unterteils 3 sowie ein Randabschnitt des Haltemittels 8 aneinander fixiert sind, vorzugsweise durch Schweißen oder Kleben. Auf der gegenüberliegenden Seite ist eine Naht 10 vorgesehen, die ebenfalls den Faltenschenkel 5 und den Faltenschenkel 6 sowie das Haltemittel 8 verbindet. Die Nähte 9 und 10 sind jeweils nach außen gerichtet und befinden sich somit außerhalb des Innenvolumens des Staubsaugerbeutels.
  • In Figur 2 sind die Einzelteile des Staubsaugerbeutels 1 vor der Konfektionierung gezeigt. An dem Oberteil 2 ist eine Einströmöffnung 12 ausgespart, die von einer Halteplatte 11 umgeben ist. An dem Haltemittel 8 ist eine Aussparung 13 vorgesehen, die größer ausgebildet ist als die Einströmöffnung 12 und nach der Herstellung des Staubsaugerbeutels 1 der Einströmöffnung 12 gegenüberliegt. Es ist auch möglich, die Aussparung 13 versetzt zur Einströmöffnung 12 anzuordnen, so dass ein eintretender Luftstrom durch das Haltemittel 8 zumindest teilweise umgelenkt wird, so dass das Haltemittel 8 als Prallschutz wirkt.
  • In Figur 2 ist das Oberteil 2, das Unterteil 3 und das Haltemittel 8 jeweils als rechteckförmiges Flächengebilde dargestellt, wobei es für die Herstellung zweckmäßig ist, wenn Oberteil 2, Unterteil 3 und Haltemittel 8 als Bahnmaterial einer Verarbeitungsstation zugeführt werden.
  • In Figur 3 ist eine Zwischenstufe der Herstellung des Staubsaugerbeutels 1 dargestellt. Das Oberteil 2 und das Unterteil 3 sind im Wesentlichen schlauchförmig ausgeformt und sind auf der einander zugewandten Seite durch das Haltemittel 8 voneinander getrennt. Im Bereich der freien Kanten des Oberteils 2 und des Unterteils 3 sowie der Kanten des Haltemittels 8 sind diese an Nähten 9 und 10 miteinander verbunden worden. Insofern besitzt die Zwischenstufe des Staubsaugerbeutels 1 einen oberen Schlauch und einen unteren Schlauch, die über das Haltemittel 8 voneinander getrennt sind. In dem Haltemittel 8 sind lediglich Aussparungen 13 eingebracht, die ein Durchströmen ermöglichen.
  • Ausgehend von Figur 3 wird nun das Oberteil 2 und das Unterteil 3 flach aufeinander gelegt, wobei durch das Haltemittel 8 verhindert wird, dass die endseitigen Kanten des Oberteils 2 und des Unterteils 3 nach außen bewegt werden können, so dass nach innen gefaltete Wandabschnitte 4 gebildet werden, wie dies in Figur 1 gezeigt ist.
  • Der nun flach aufeinander liegende Bahnabschnitt ist an gegenüberliegenden Randseiten vierlagig ausgebildet, während im mittleren Bereich nur das Oberteil 2, das Haltemittel 8 und das Unterteil 3 vorhanden sind. Diese Bahn wird nun zu einer Schneid- und Schweißstation geführt, bei der senkrecht zur Förderrichtung der Staubsaugerbeutel 1 geschnitten und verschweißt wird.
  • Der fertige Staubsaugerbeutel ist in der Draufsicht in Figur 4 gezeigt. Parallel zur Förderrichtung sind die nach innen gefalteten Wandabschnitte 4 mit einer Faltkante 7 angeordnet. Die Wandabschnitte 4 weisen eine Breite auf, die zwischen 10% und 40% der Breite des Staubsaugerbeutels liegt, vorzugsweise in einem Bereich zwischen 1cm und 8cm, insbesondere 2cm bis 5cm. Auf den Seiten senkrecht zur Förderrichtung sind Schneidkanten 14 vorgesehen, die benachbart zu einer Naht 15 angeordnet sind, beispielsweise durch Schweißen oder Kleben. Wie in der Draufsicht gut zu erkennen ist, befindet sich die Aussparung 13 seitlich versetzt zu der Einströmöffnung 12. Es ist natürlich auch möglich, die Aussparung 13 fluchtend mit der Einströmöffnung 12 anzuordnen. Ferner können mehrere Aussparungen 13 vorgesehen sein, beispielsweise kann zu beiden Seiten der Einströmöffnung 12 mindestens eine Aussparung 13 vorgesehen sein. Zudem kann das Haltemittel 8 auch aus einem Netz oder Gitterstoff bestehen, so dass das Einbringen von Aussparungen 13 nicht notwendig ist.
  • In Figur 5 ist eine modifizierte Ausgestaltung für einen Staubsaugerbeutel 1 gezeigt, der in der Form im Wesentlichen dem vorangegangenen Ausführungsbeispiel entspricht. Lediglich das Haltemittel 8' ist integral mit dem Unterteil 3 ausgebildet, so dass statt der drei Einzelteile (Figur 2) nur noch zwei Einzelteile vorhanden sind. Das Oberteil 2 entspricht dem vorangegangenen Ausführungsbeispiel. Bei der Herstellung des Staubsaugerbeutels wird nun auf einer Seite eine Naht 9 hergestellt, bei der eine Kante des Oberteils 2 mit einer Kante des Haltemittels 8' sowie einer Kante des Unterteils 3 miteinander verbunden werden. Auf der gegenüberliegenden Seite befindet sich eine modifizierte Naht 10', bei der eine Kante des Oberteils 2 mit einer Falte, einem Streifen oder einem Übergangsbereich 10' zwischen dem Haltemittel 8' und dem Unterteil 3 verbunden wird. Insofern werden nur eine Kante und eine Falte bzw. ein Streifen miteinander verbunden.
  • Es ist auch möglich, den Staubsaugerbeutel 1 aus einer einzigen Bahn herzustellen, so dass Oberteil 2, Haltemittel 8' sowie Unterteil 3 integral ausgebildet sind. Dann werden an den Nähten 9 und 10 jeweils nur eine Kante des Oberteils 2 bzw. des Unterteils 3 mit einem Übergangsabschnitt 10' zwischen Haltemittel und Unterteil 3 bzw. Haltemittel und Oberteil 2 aneinander fixiert.
  • Bei dem in Figur 4 gezeigten Staubsaugerbeutel 1 erstrecken sich die Nähte 9 und 10 über die gesamte Länge des Staubsaugerbeutels 1. Es ist natürlich möglich, die Fixierung des Haltemittels 8 nur in einem mittleren Bereich vorzusehen, also kürzer auszubilden. Beispielsweise könnten die nach innen gefalteten Wandabschnitte 4 auch nur in einem mittleren Bereich aneinander gehalten sein, während im randseitigen Bereich die Nähte 15 ein Aufblähen nach außen verhindern. Zudem muss das Haltemittel 8 sich nicht über die gesamte Länge des Staubsaugerbeutels 1 erstrecken. Es ist möglich, das Haltemittel 8 nur als Querstreifen auszubilden, der im Bereich der Einströmöffnung 12 angeordnet ist und an gegenüberliegenden Stirnseiten mit den nach innen gefalteten Wandabschnitten 4 verbunden ist.
  • Figur 6 zeigt eine perspektivische Ansicht eines weiteren Ausführungsbeispiels eines Staubsaugerbeutels, bei dem gegenüber dem in Figur 1 gezeigten Ausführungsbeispiel noch ein Halter 20 vorgesehen ist und ansonsten gleich Bauteile mit dem selben Bezugszeichen bezeichnet sind. Der Halter 20 ist durch einen Materialstreifen gebildet, der beim Ausstanzen der Durchgangsöffnung 13 entsteht, wenn zumindest ein Teil des Materialstreifens mit dem Haltemittel 8 verbunden bleibt, wie dies an einer Kante 22 gezeigt ist. Der Halter 20 ist an dem freien Ende an dem Oberteil 2 benachbart zu der Einströmöffnung 12 festgelegt, so dass ein eintretender Luftstrom zunächst auf den Halter 20 trifft, der als Ablenkeinrichtung und Prallschutz wirkt. Der Halter 20 sorgt zudem dafür, dass das Haltemittel 8 nicht auf dem Unterteil 3 aufliegt sondern beabstandet von dem Unterteil 3 gehalten ist.
  • In Figur 7 ist eine gegenüber Figur 6 abgewandelte Ausführungsform dargestellt, bei der ein Halter 30 integral mit einem Haltmittel 8 ausgebildet ist. Der Halter 30 ist an einem Übergang mit dem Haltemittel 8 verbunden und an der gegenüberliegenden Seite 32 am Unterteil 3 in einem mittleren Bereich gegenüber der Einströmöffnung 12 fixiert. Der Halter 30 kann ebenfalls einen Prallschutz ausbilden und gewährleistet zudem, dass der eintretende Luftstrom das Unterteil 3 weg von dem Oberteil 2 zieht und dabei das Haltemittel 8 durch den Halter 30 ebenfalls weg von dem Oberteil 2 gezogen wird. Dadurch ist gewährleistet, dass das Haltemittel 8 beabstandet vom Oberteil 2 und vom Unterteil 3 gehalten ist und die entsprechenden Filterflächen durchströmt werden können.
  • Bei dem in Figur 8 gezeigten Ausführungsbeispiel ist ein Halter 40 vorgesehen, der schlaufenförmig angeordnet ist und im Unterschied zu dem Halter 20 in Figur 6 am freien Ende 41 auf der gegenüberliegenden Seite der Einströmöffnung 12 fixiert ist. Dadurch kann ein durch die Einströmöffnung 12 eintretender Luftstrom durch die Durchgangsöffnung 13 auf das Unterteil 3 strömen, dass dann weg von dem Haltemittel 8 und dem Oberteil 2 gezogen wird, so dass ein sicheres Auffalten des Staubsaugerbeutels nach dem Einlegen in einen Staubsauger gewährleistet wird.
  • Die in den Figuren 6 bis 8 gezeigten Halter 20, 30 und 40 können miteinander kombiniert werden, beispielsweise können mehrere Halter an dem Haltemittel 8 festgelegt sein, um eine vorgegebene Beabstandung zwischen Oberteil 2, Haltemittel 8 und Unterteil 3 zu gewährleisten.
  • Zudem ist es möglich, weitere Elemente in dem Staubsaugerbeutel vorzusehen. In Figur 9 ist ein Staubsaugerbeutel gezeigt, bei dem eine Trennwand 50 in einer oberen Kammer zwischen Oberteil 2 und einem Haltemittel 8" angeordnet ist. Die Trennwand 50 ist dabei an einer Kante 52 benachbart zu der Einströmöffnung 12 am Oberteil 2 festgelegt und an der gegenüberliegenden Seite an einer Naht 51 zwischen dem Oberteil 2 und einem Faltenschenkel 5. Die Trennwand kann als rechteckförmiges Materialstück, vorzugsweise aus einem Vlies, gebildet sein und an den nicht gezeigten Kanten an der Nähten 15 des Staubsaugerbeutels (Figur 4) festgelegt sein.
  • Bei dem in Figur 9 gezeigten Ausführungsbeispiel ist das Haltemittel 8" zweilagig ausgebildet, wobei eine obere Lage den oberen Faltenschenkel 5 und eine untere Lage den unteren Faltenschenkel 6 ausbildet. Die Faltenschenkel 5 und 6 sind an mindestens einer Verbindungsstelle 18, vorzugsweise eine Schweißnaht, miteinander verbunden. Die Verbindungsstelle 18 umfasst einen rahmenförmigen Abschnitt, der eine Durchgangsöffnung 13 umgibt.
  • Bei dem in Figur 10 gezeigten Ausführungsbeispiel ist gegenüber dem in Figur 9 gezeigten Ausführungsbeispiel die Trennwand 50 weggelassen und an gegenüberliegenden Seiten einen zusätzlichen Abstandshalter 60 zwischen dem oberen Faltenschenkel 5 und dem unteren Faltenschenkel 6 angeordnet. Der Abstandshalter 60 ist aus einem Formkörper gebildet, beispielsweise aus Schaumstoff und weist obere Rippen 61 zur Anlage an dem oberen Faltenschenkel 5 und untere Rippen 62 zur Anlage an dem unteren Faltenschenkel 6 auf.
  • Die in Figur 9 gezeigte Trennwand 50 sowie der Abstandshalter 60 kann auch bei den Ausführungsbeispielen der Figuren 1 bis 8 vorgesehen werden.

Claims (12)

  1. Staubsaugerbeutel (1), mit mindestens einem nach innen gefalteten Wandabschnitt (4), der über mindestens ein Haltemittel (8, 8') In der nach innen gefalteten Position gehalten ist, dadurch gekennzeichnet, dass das Haltemittel (8, 8') durch ein luftdurchlässiges Flächengebilde gebildet ist und das Flächengebilde mindestens eine Aussparung (13) aufweist oder aus einem Netz oder Gitter gebildet ist.
  2. Staubsaugerbeutel nach Anspruch 1, dadurch gekennzeichnet, dass das Haltemittel (8, 8') zumindest in einem mittleren Bereich des nach innen gefalteten Wandabschnittes (4) fixiert ist.
  3. Staubsaugerbeutel nach Anspruch 1 oder 2, dadurch gekennzeichnet, dass an mindestens zwei Seiten ein nach innen gefalteter Wandabschnitt (4) vorgesehen ist.
  4. Staubsaugerbeutel nach einem der vorhergehenden Ansprüche, dadurch gekennzeichnet, dass zwei nach innen gefaltete Wandabschnitte (4) über das Haltemittel (8, 8') miteinander verbunden sind.
  5. Staubsaugerbeutel nach einem der vorhergehenden Ansprüche, dadurch gekennzeichnet, dass die Haltemittel (8, 8') über eine Naht (9, 10) mit dem nach innen gefalteten Wandabschnitt (4) verbunden sind.
  6. Staubsaugerbeutel nach Anspruch 5, dadurch gekenntzeichnet, dass die Naht (9, 10) nach außen gerichtet ist.
  7. Staubsaugerbeutel nach einem der vorhergehenden Ansprüche, dadurch gekennzeichnet, dass der Staubsaugerbeutel (1) ein Oberteil (2) und ein Unterteil (3) als Flächengebilde umfasst.
  8. Staubsaugerbeutel nach Anspruch 7, dadurch gekennzeichnet, dass mindestens eine Naht (9, 10) vorgesehen ist, die das Oberteil (2), das Unterteil (3) und das Haltemittel (8, 8') miteinander verbindet.
  9. Staubsaugerbeutel nach einem der Ansprüche 1 bis 8, dadurch gekennzeichnet, dass die Aussparung (13) seitlich versetzt zu einer Einströmöffnung (12) in dem Oberteil (2) oder dem Unterteil (3) angeordnet ist.
  10. Staubsaugerbeutel nach einem der vorhergehenden Ansprüche, dadurch gekennzeichnet, dass das Haltemittel (8') integral mit dem Oberteil (2) und/oder dem Unterteil (3) ausgebildet ist.
  11. Staubsaugerbeutel nach einem der vorhergehenden Ansprüche, dadurch gekennzeichnet, dass der Staubsaugerbeutel (1) als Flachbeutel ausgebildet ist und an gegenüberliegenden Seiten einen vierlagigen Randabschnitt mit einem nach innen gefalteten Wandabschnitt (4) aufweist.
  12. Staubsaugerbeutel nach einem der vorhergehenden Ansprüche, dadurch gekennzeichnet, dass das Haltemittel (8, 8') über mindestens einen Halter (20, 30, 40) am Oberteil (2) und/oder Unterteil (3) gehalten ist.
EP20100195704 2010-12-17 2010-12-17 Staubsaugerbeutel und Verfahren zum Herstellen eines Staubsaugerbeutels Not-in-force EP2465397B1 (de)

Priority Applications (1)

Application Number Priority Date Filing Date Title
EP20100195704 EP2465397B1 (de) 2010-12-17 2010-12-17 Staubsaugerbeutel und Verfahren zum Herstellen eines Staubsaugerbeutels

Applications Claiming Priority (1)

Application Number Priority Date Filing Date Title
EP20100195704 EP2465397B1 (de) 2010-12-17 2010-12-17 Staubsaugerbeutel und Verfahren zum Herstellen eines Staubsaugerbeutels

Publications (2)

Publication Number Publication Date
EP2465397A1 EP2465397A1 (de) 2012-06-20
EP2465397B1 true EP2465397B1 (de) 2014-06-11

Family

ID=44025252

Family Applications (1)

Application Number Title Priority Date Filing Date
EP20100195704 Not-in-force EP2465397B1 (de) 2010-12-17 2010-12-17 Staubsaugerbeutel und Verfahren zum Herstellen eines Staubsaugerbeutels

Country Status (1)

Country Link
EP (1) EP2465397B1 (de)

Families Citing this family (3)

* Cited by examiner, † Cited by third party
Publication number Priority date Publication date Assignee Title
DE102012219341A1 (de) * 2012-10-23 2014-04-24 BSH Bosch und Siemens Hausgeräte GmbH Staubfilterbeutel für einen Staubsauger
DE102015114330A1 (de) * 2015-08-28 2017-03-02 Branofilter Gmbh Staubfilterbeutel
EP3178360B2 (de) 2015-12-12 2025-12-03 Eurofilters N.V. Verfahren zum stoffschlüssigen verbinden einer halteplatte mit der wandung eines staubsaugerfilterbeutels sowie staubsaugerfilterbeutel

Family Cites Families (10)

* Cited by examiner, † Cited by third party
Publication number Priority date Publication date Assignee Title
DE129156C (de) *
US2014118A (en) * 1933-11-27 1935-09-10 Hoover Co Suction cleaner
US2268352A (en) * 1940-09-07 1941-12-30 Hoover Co Suction cleaner dirt bag
GB694415A (en) * 1951-03-02 1953-07-22 British Thomson Houston Co Ltd Improvements in and relating to vacuum cleaner dust bags
US2620045A (en) * 1951-09-06 1952-12-02 Hoover Co Suction cleaner bag
BE528940A (de) * 1953-05-18
CA1007578A (en) * 1973-09-17 1977-03-29 Edward G. Lutz Filter bag structure for a suction cleaner
DE8815619U1 (de) * 1988-12-16 1989-01-26 Branofilter Gmbh, 8501 Dietenhofen Vorrichtung für Industrie-Staubabsauggeräte zur Aufnahme des abgesaugten Staubes
DE102008061250C5 (de) * 2008-12-10 2018-12-20 Wolf Pvg Gmbh & Co. Kg Staubsaugerbeutel und Verfahren zur Herstellung eines Staubsaugerbeutels
DE202008016300U1 (de) 2008-12-10 2009-02-26 Wolf Pvg Gmbh & Co. Kg Staubsaugerbeutel

Also Published As

Publication number Publication date
EP2465397A1 (de) 2012-06-20

Similar Documents

Publication Publication Date Title
DE69225981T2 (de) Filtersystem zum filtrieren von fluiden
DE10348375B4 (de) Filterbeutel und Verfahren zu dessen Herstellung
DE202008016300U1 (de) Staubsaugerbeutel
WO2007134734A1 (de) Staubfilterbeutel
EP2489292B1 (de) Staubsaugerbeutel
EP2929823B1 (de) Staubsaugerfilterbeutel für einen Upright-Staubsauger
EP2359730B1 (de) Staubsaugerfilterbeutel mit Seitenfalte
EP2465397B1 (de) Staubsaugerbeutel und Verfahren zum Herstellen eines Staubsaugerbeutels
DE102008045683A1 (de) Staubfilterbeuteleinrichtung für einen Staubsauger
EP2445382B1 (de) Blockboden-Filterbeutel für Staubsauger
EP2198765B1 (de) Staubsaugerbeutel und Verfahren zur Herstellung eines Staubsaugerbeutels
EP2067427A2 (de) Staubfilterbeutel für Staubsauger
DE202009004433U1 (de) Blockbodenbeutel mit zusätzlicher Schweißnaht und Sollfaltlinien
EP2452603B1 (de) Gefalteter Staubsaugerfilterbeutel
EP2502535A1 (de) Vorrichtung zum Staubsaugen mit Staubsaugergerät und Filterbeutel
EP1928288A1 (de) Filterbeutel für einen staubsauger und verfahren zu dessen herstellung
DE102011120688B4 (de) Staubfilterbeutel mit einer Staubfängereinlage
DE202010013156U1 (de) Staubsaugerbeutel
DE102008031989A1 (de) Staubfilterbeutel mit geschlitztem Material zum Einsatz in einem Staubsauger
DE202011108953U1 (de) Staubfilterbeutel mit einer Staubfängereinlage
EP2465398A1 (de) Staubsaugerbeutel und Verfahren zum Herstellen eines Staubsaugerbeutels
DE202009012839U1 (de) Staubfilterbeutel
DE202010013158U1 (de) Staubsaugerbeutel
DE102011109571A1 (de) Verfahren zur Herstellung eines dreidimensionalen Gassacks und dreidimensionaler Gassack für eine Fahrzeuginsassen-Rückhaltevorrichtung

Legal Events

Date Code Title Description
PUAI Public reference made under article 153(3) epc to a published international application that has entered the european phase

Free format text: ORIGINAL CODE: 0009012

AK Designated contracting states

Kind code of ref document: A1

Designated state(s): AL AT BE BG CH CY CZ DE DK EE ES FI FR GB GR HR HU IE IS IT LI LT LU LV MC MK MT NL NO PL PT RO RS SE SI SK SM TR

AX Request for extension of the european patent

Extension state: BA ME

17P Request for examination filed

Effective date: 20121217

GRAP Despatch of communication of intention to grant a patent

Free format text: ORIGINAL CODE: EPIDOSNIGR1

RIC1 Information provided on ipc code assigned before grant

Ipc: A47L 9/14 20060101AFI20131209BHEP

INTG Intention to grant announced

Effective date: 20140103

GRAS Grant fee paid

Free format text: ORIGINAL CODE: EPIDOSNIGR3

GRAA (expected) grant

Free format text: ORIGINAL CODE: 0009210

AK Designated contracting states

Kind code of ref document: B1

Designated state(s): AL AT BE BG CH CY CZ DE DK EE ES FI FR GB GR HR HU IE IS IT LI LT LU LV MC MK MT NL NO PL PT RO RS SE SI SK SM TR

REG Reference to a national code

Ref country code: GB

Ref legal event code: FG4D

Free format text: NOT ENGLISH

REG Reference to a national code

Ref country code: CH

Ref legal event code: EP

REG Reference to a national code

Ref country code: IE

Ref legal event code: FG4D

Free format text: LANGUAGE OF EP DOCUMENT: GERMAN

REG Reference to a national code

Ref country code: AT

Ref legal event code: REF

Ref document number: 671793

Country of ref document: AT

Kind code of ref document: T

Effective date: 20140715

REG Reference to a national code

Ref country code: DE

Ref legal event code: R096

Ref document number: 502010007176

Country of ref document: DE

Effective date: 20140724

PG25 Lapsed in a contracting state [announced via postgrant information from national office to epo]

Ref country code: FI

Free format text: LAPSE BECAUSE OF FAILURE TO SUBMIT A TRANSLATION OF THE DESCRIPTION OR TO PAY THE FEE WITHIN THE PRESCRIBED TIME-LIMIT

Effective date: 20140611

Ref country code: LT

Free format text: LAPSE BECAUSE OF FAILURE TO SUBMIT A TRANSLATION OF THE DESCRIPTION OR TO PAY THE FEE WITHIN THE PRESCRIBED TIME-LIMIT

Effective date: 20140611

Ref country code: GR

Free format text: LAPSE BECAUSE OF FAILURE TO SUBMIT A TRANSLATION OF THE DESCRIPTION OR TO PAY THE FEE WITHIN THE PRESCRIBED TIME-LIMIT

Effective date: 20140912

Ref country code: NO

Free format text: LAPSE BECAUSE OF FAILURE TO SUBMIT A TRANSLATION OF THE DESCRIPTION OR TO PAY THE FEE WITHIN THE PRESCRIBED TIME-LIMIT

Effective date: 20140911

REG Reference to a national code

Ref country code: NL

Ref legal event code: VDEP

Effective date: 20140611

REG Reference to a national code

Ref country code: LT

Ref legal event code: MG4D

PG25 Lapsed in a contracting state [announced via postgrant information from national office to epo]

Ref country code: HR

Free format text: LAPSE BECAUSE OF FAILURE TO SUBMIT A TRANSLATION OF THE DESCRIPTION OR TO PAY THE FEE WITHIN THE PRESCRIBED TIME-LIMIT

Effective date: 20140611

Ref country code: RS

Free format text: LAPSE BECAUSE OF FAILURE TO SUBMIT A TRANSLATION OF THE DESCRIPTION OR TO PAY THE FEE WITHIN THE PRESCRIBED TIME-LIMIT

Effective date: 20140611

Ref country code: LV

Free format text: LAPSE BECAUSE OF FAILURE TO SUBMIT A TRANSLATION OF THE DESCRIPTION OR TO PAY THE FEE WITHIN THE PRESCRIBED TIME-LIMIT

Effective date: 20140611

Ref country code: SE

Free format text: LAPSE BECAUSE OF FAILURE TO SUBMIT A TRANSLATION OF THE DESCRIPTION OR TO PAY THE FEE WITHIN THE PRESCRIBED TIME-LIMIT

Effective date: 20140611

PG25 Lapsed in a contracting state [announced via postgrant information from national office to epo]

Ref country code: SK

Free format text: LAPSE BECAUSE OF FAILURE TO SUBMIT A TRANSLATION OF THE DESCRIPTION OR TO PAY THE FEE WITHIN THE PRESCRIBED TIME-LIMIT

Effective date: 20140611

Ref country code: CZ

Free format text: LAPSE BECAUSE OF FAILURE TO SUBMIT A TRANSLATION OF THE DESCRIPTION OR TO PAY THE FEE WITHIN THE PRESCRIBED TIME-LIMIT

Effective date: 20140611

Ref country code: RO

Free format text: LAPSE BECAUSE OF FAILURE TO SUBMIT A TRANSLATION OF THE DESCRIPTION OR TO PAY THE FEE WITHIN THE PRESCRIBED TIME-LIMIT

Effective date: 20140611

Ref country code: PT

Free format text: LAPSE BECAUSE OF FAILURE TO SUBMIT A TRANSLATION OF THE DESCRIPTION OR TO PAY THE FEE WITHIN THE PRESCRIBED TIME-LIMIT

Effective date: 20141013

Ref country code: EE

Free format text: LAPSE BECAUSE OF FAILURE TO SUBMIT A TRANSLATION OF THE DESCRIPTION OR TO PAY THE FEE WITHIN THE PRESCRIBED TIME-LIMIT

Effective date: 20140611

Ref country code: ES

Free format text: LAPSE BECAUSE OF FAILURE TO SUBMIT A TRANSLATION OF THE DESCRIPTION OR TO PAY THE FEE WITHIN THE PRESCRIBED TIME-LIMIT

Effective date: 20140611

PG25 Lapsed in a contracting state [announced via postgrant information from national office to epo]

Ref country code: PL

Free format text: LAPSE BECAUSE OF FAILURE TO SUBMIT A TRANSLATION OF THE DESCRIPTION OR TO PAY THE FEE WITHIN THE PRESCRIBED TIME-LIMIT

Effective date: 20140611

Ref country code: IS

Free format text: LAPSE BECAUSE OF FAILURE TO SUBMIT A TRANSLATION OF THE DESCRIPTION OR TO PAY THE FEE WITHIN THE PRESCRIBED TIME-LIMIT

Effective date: 20141011

Ref country code: NL

Free format text: LAPSE BECAUSE OF FAILURE TO SUBMIT A TRANSLATION OF THE DESCRIPTION OR TO PAY THE FEE WITHIN THE PRESCRIBED TIME-LIMIT

Effective date: 20140611

REG Reference to a national code

Ref country code: DE

Ref legal event code: R097

Ref document number: 502010007176

Country of ref document: DE

PLBE No opposition filed within time limit

Free format text: ORIGINAL CODE: 0009261

STAA Information on the status of an ep patent application or granted ep patent

Free format text: STATUS: NO OPPOSITION FILED WITHIN TIME LIMIT

PG25 Lapsed in a contracting state [announced via postgrant information from national office to epo]

Ref country code: IT

Free format text: LAPSE BECAUSE OF FAILURE TO SUBMIT A TRANSLATION OF THE DESCRIPTION OR TO PAY THE FEE WITHIN THE PRESCRIBED TIME-LIMIT

Effective date: 20140611

Ref country code: DK

Free format text: LAPSE BECAUSE OF FAILURE TO SUBMIT A TRANSLATION OF THE DESCRIPTION OR TO PAY THE FEE WITHIN THE PRESCRIBED TIME-LIMIT

Effective date: 20140611

26N No opposition filed

Effective date: 20150312

REG Reference to a national code

Ref country code: DE

Ref legal event code: R097

Ref document number: 502010007176

Country of ref document: DE

Effective date: 20150312

PG25 Lapsed in a contracting state [announced via postgrant information from national office to epo]

Ref country code: BE

Free format text: LAPSE BECAUSE OF NON-PAYMENT OF DUE FEES

Effective date: 20141231

PG25 Lapsed in a contracting state [announced via postgrant information from national office to epo]

Ref country code: SI

Free format text: LAPSE BECAUSE OF FAILURE TO SUBMIT A TRANSLATION OF THE DESCRIPTION OR TO PAY THE FEE WITHIN THE PRESCRIBED TIME-LIMIT

Effective date: 20140611

Ref country code: LU

Free format text: LAPSE BECAUSE OF FAILURE TO SUBMIT A TRANSLATION OF THE DESCRIPTION OR TO PAY THE FEE WITHIN THE PRESCRIBED TIME-LIMIT

Effective date: 20141217

REG Reference to a national code

Ref country code: CH

Ref legal event code: PL

GBPC Gb: european patent ceased through non-payment of renewal fee

Effective date: 20141217

REG Reference to a national code

Ref country code: IE

Ref legal event code: MM4A

PG25 Lapsed in a contracting state [announced via postgrant information from national office to epo]

Ref country code: IE

Free format text: LAPSE BECAUSE OF NON-PAYMENT OF DUE FEES

Effective date: 20141217

Ref country code: CH

Free format text: LAPSE BECAUSE OF NON-PAYMENT OF DUE FEES

Effective date: 20141231

Ref country code: GB

Free format text: LAPSE BECAUSE OF NON-PAYMENT OF DUE FEES

Effective date: 20141217

Ref country code: LI

Free format text: LAPSE BECAUSE OF NON-PAYMENT OF DUE FEES

Effective date: 20141231

REG Reference to a national code

Ref country code: FR

Ref legal event code: PLFP

Year of fee payment: 6

PG25 Lapsed in a contracting state [announced via postgrant information from national office to epo]

Ref country code: SM

Free format text: LAPSE BECAUSE OF FAILURE TO SUBMIT A TRANSLATION OF THE DESCRIPTION OR TO PAY THE FEE WITHIN THE PRESCRIBED TIME-LIMIT

Effective date: 20140611

PG25 Lapsed in a contracting state [announced via postgrant information from national office to epo]

Ref country code: MC

Free format text: LAPSE BECAUSE OF FAILURE TO SUBMIT A TRANSLATION OF THE DESCRIPTION OR TO PAY THE FEE WITHIN THE PRESCRIBED TIME-LIMIT

Effective date: 20140611

PG25 Lapsed in a contracting state [announced via postgrant information from national office to epo]

Ref country code: BG

Free format text: LAPSE BECAUSE OF FAILURE TO SUBMIT A TRANSLATION OF THE DESCRIPTION OR TO PAY THE FEE WITHIN THE PRESCRIBED TIME-LIMIT

Effective date: 20140611

Ref country code: CY

Free format text: LAPSE BECAUSE OF FAILURE TO SUBMIT A TRANSLATION OF THE DESCRIPTION OR TO PAY THE FEE WITHIN THE PRESCRIBED TIME-LIMIT

Effective date: 20140611

PG25 Lapsed in a contracting state [announced via postgrant information from national office to epo]

Ref country code: HU

Free format text: LAPSE BECAUSE OF FAILURE TO SUBMIT A TRANSLATION OF THE DESCRIPTION OR TO PAY THE FEE WITHIN THE PRESCRIBED TIME-LIMIT; INVALID AB INITIO

Effective date: 20101217

Ref country code: TR

Free format text: LAPSE BECAUSE OF FAILURE TO SUBMIT A TRANSLATION OF THE DESCRIPTION OR TO PAY THE FEE WITHIN THE PRESCRIBED TIME-LIMIT

Effective date: 20140611

Ref country code: MT

Free format text: LAPSE BECAUSE OF FAILURE TO SUBMIT A TRANSLATION OF THE DESCRIPTION OR TO PAY THE FEE WITHIN THE PRESCRIBED TIME-LIMIT

Effective date: 20140611

REG Reference to a national code

Ref country code: FR

Ref legal event code: PLFP

Year of fee payment: 7

REG Reference to a national code

Ref country code: AT

Ref legal event code: MM01

Ref document number: 671793

Country of ref document: AT

Kind code of ref document: T

Effective date: 20151217

PG25 Lapsed in a contracting state [announced via postgrant information from national office to epo]

Ref country code: AT

Free format text: LAPSE BECAUSE OF NON-PAYMENT OF DUE FEES

Effective date: 20151217

REG Reference to a national code

Ref country code: FR

Ref legal event code: PLFP

Year of fee payment: 8

PG25 Lapsed in a contracting state [announced via postgrant information from national office to epo]

Ref country code: MK

Free format text: LAPSE BECAUSE OF FAILURE TO SUBMIT A TRANSLATION OF THE DESCRIPTION OR TO PAY THE FEE WITHIN THE PRESCRIBED TIME-LIMIT

Effective date: 20140611

PG25 Lapsed in a contracting state [announced via postgrant information from national office to epo]

Ref country code: AL

Free format text: LAPSE BECAUSE OF FAILURE TO SUBMIT A TRANSLATION OF THE DESCRIPTION OR TO PAY THE FEE WITHIN THE PRESCRIBED TIME-LIMIT

Effective date: 20140611

PGFP Annual fee paid to national office [announced via postgrant information from national office to epo]

Ref country code: FR

Payment date: 20211224

Year of fee payment: 12

Ref country code: DE

Payment date: 20211231

Year of fee payment: 12

REG Reference to a national code

Ref country code: DE

Ref legal event code: R119

Ref document number: 502010007176

Country of ref document: DE

PG25 Lapsed in a contracting state [announced via postgrant information from national office to epo]

Ref country code: DE

Free format text: LAPSE BECAUSE OF NON-PAYMENT OF DUE FEES

Effective date: 20230701

PG25 Lapsed in a contracting state [announced via postgrant information from national office to epo]

Ref country code: FR

Free format text: LAPSE BECAUSE OF NON-PAYMENT OF DUE FEES

Effective date: 20221231