EP2258248B1 - Apparatus for floor cleaning and treatment - Google Patents
Apparatus for floor cleaning and treatment Download PDFInfo
- Publication number
- EP2258248B1 EP2258248B1 EP10178165.6A EP10178165A EP2258248B1 EP 2258248 B1 EP2258248 B1 EP 2258248B1 EP 10178165 A EP10178165 A EP 10178165A EP 2258248 B1 EP2258248 B1 EP 2258248B1
- Authority
- EP
- European Patent Office
- Prior art keywords
- present
- operator
- floor
- cleaning
- chassis
- Prior art date
- Legal status (The legal status is an assumption and is not a legal conclusion. Google has not performed a legal analysis and makes no representation as to the accuracy of the status listed.)
- Expired - Lifetime
Links
- 238000011282 treatment Methods 0.000 title claims description 53
- 238000004140 cleaning Methods 0.000 title description 90
- 239000012530 fluid Substances 0.000 claims description 62
- 230000007246 mechanism Effects 0.000 claims description 27
- 238000005201 scrubbing Methods 0.000 claims description 4
- 230000000994 depressogenic effect Effects 0.000 claims description 2
- 239000000126 substance Substances 0.000 description 16
- XLYOFNOQVPJJNP-UHFFFAOYSA-N water Substances O XLYOFNOQVPJJNP-UHFFFAOYSA-N 0.000 description 15
- 238000009408 flooring Methods 0.000 description 14
- 239000002699 waste material Substances 0.000 description 14
- 239000002351 wastewater Substances 0.000 description 11
- 230000033001 locomotion Effects 0.000 description 10
- 238000003860 storage Methods 0.000 description 9
- 239000000463 material Substances 0.000 description 8
- 238000000034 method Methods 0.000 description 6
- 230000007935 neutral effect Effects 0.000 description 6
- 239000004033 plastic Substances 0.000 description 5
- 229920003023 plastic Polymers 0.000 description 5
- 230000004913 activation Effects 0.000 description 4
- 238000012423 maintenance Methods 0.000 description 4
- 238000002156 mixing Methods 0.000 description 4
- 230000008569 process Effects 0.000 description 4
- 241000282537 Mandrillus sphinx Species 0.000 description 3
- 238000013459 approach Methods 0.000 description 3
- 238000007664 blowing Methods 0.000 description 3
- 238000004891 communication Methods 0.000 description 3
- 239000004567 concrete Substances 0.000 description 3
- 230000006870 function Effects 0.000 description 3
- 238000012544 monitoring process Methods 0.000 description 3
- 230000008439 repair process Effects 0.000 description 3
- 238000010408 sweeping Methods 0.000 description 3
- 239000002023 wood Substances 0.000 description 3
- 238000013019 agitation Methods 0.000 description 2
- 230000004075 alteration Effects 0.000 description 2
- 230000008901 benefit Effects 0.000 description 2
- -1 burnish Substances 0.000 description 2
- 230000003749 cleanliness Effects 0.000 description 2
- 238000011109 contamination Methods 0.000 description 2
- 230000006378 damage Effects 0.000 description 2
- 230000009849 deactivation Effects 0.000 description 2
- 230000007423 decrease Effects 0.000 description 2
- 229920001971 elastomer Polymers 0.000 description 2
- 238000000605 extraction Methods 0.000 description 2
- 239000012528 membrane Substances 0.000 description 2
- 239000002184 metal Substances 0.000 description 2
- 229910052751 metal Inorganic materials 0.000 description 2
- 238000012986 modification Methods 0.000 description 2
- 230000004048 modification Effects 0.000 description 2
- 239000010813 municipal solid waste Substances 0.000 description 2
- 230000037452 priming Effects 0.000 description 2
- 238000011084 recovery Methods 0.000 description 2
- 239000007921 spray Substances 0.000 description 2
- 239000004575 stone Substances 0.000 description 2
- 230000007704 transition Effects 0.000 description 2
- 239000002966 varnish Substances 0.000 description 2
- 238000004018 waxing Methods 0.000 description 2
- 241000894006 Bacteria Species 0.000 description 1
- 244000025254 Cannabis sativa Species 0.000 description 1
- 206010063599 Exposure to chemical pollution Diseases 0.000 description 1
- 241000282412 Homo Species 0.000 description 1
- 239000004809 Teflon Substances 0.000 description 1
- 229920006362 TeflonĀ® Polymers 0.000 description 1
- 208000027418 Wounds and injury Diseases 0.000 description 1
- 230000002411 adverse Effects 0.000 description 1
- 229910052782 aluminium Inorganic materials 0.000 description 1
- XAGFODPZIPBFFR-UHFFFAOYSA-N aluminium Chemical compound [Al] XAGFODPZIPBFFR-UHFFFAOYSA-N 0.000 description 1
- 244000052616 bacterial pathogen Species 0.000 description 1
- 230000009286 beneficial effect Effects 0.000 description 1
- 230000033228 biological regulation Effects 0.000 description 1
- 239000011449 brick Substances 0.000 description 1
- 230000008859 change Effects 0.000 description 1
- 239000003795 chemical substances by application Substances 0.000 description 1
- 238000002485 combustion reaction Methods 0.000 description 1
- 238000001816 cooling Methods 0.000 description 1
- 230000003247 decreasing effect Effects 0.000 description 1
- 230000001419 dependent effect Effects 0.000 description 1
- 239000000428 dust Substances 0.000 description 1
- 230000000694 effects Effects 0.000 description 1
- 230000005611 electricity Effects 0.000 description 1
- 238000005516 engineering process Methods 0.000 description 1
- 238000002637 fluid replacement therapy Methods 0.000 description 1
- 239000007789 gas Substances 0.000 description 1
- 239000011521 glass Substances 0.000 description 1
- 230000005484 gravity Effects 0.000 description 1
- 239000011121 hardwood Substances 0.000 description 1
- 230000006872 improvement Effects 0.000 description 1
- 208000014674 injury Diseases 0.000 description 1
- 238000009434 installation Methods 0.000 description 1
- 238000004519 manufacturing process Methods 0.000 description 1
- 230000013011 mating Effects 0.000 description 1
- 239000000203 mixture Substances 0.000 description 1
- 239000003973 paint Substances 0.000 description 1
- 238000010422 painting Methods 0.000 description 1
- 239000013618 particulate matter Substances 0.000 description 1
- 238000005498 polishing Methods 0.000 description 1
- 229920001296 polysiloxane Polymers 0.000 description 1
- 238000005086 pumping Methods 0.000 description 1
- 239000004576 sand Substances 0.000 description 1
- 238000007789 sealing Methods 0.000 description 1
- 230000000153 supplemental effect Effects 0.000 description 1
- 239000008400 supply water Substances 0.000 description 1
- 239000000725 suspension Substances 0.000 description 1
- 210000003813 thumb Anatomy 0.000 description 1
- 238000003466 welding Methods 0.000 description 1
- 230000003245 working effect Effects 0.000 description 1
Images
Classifications
-
- A—HUMAN NECESSITIES
- A47—FURNITURE; DOMESTIC ARTICLES OR APPLIANCES; COFFEE MILLS; SPICE MILLS; SUCTION CLEANERS IN GENERAL
- A47L—DOMESTIC WASHING OR CLEANING; SUCTION CLEANERS IN GENERAL
- A47L11/00—Machines for cleaning floors, carpets, furniture, walls, or wall coverings
- A47L11/40—Parts or details of machines not provided for in groups A47L11/02Ā -Ā A47L11/38, or not restricted to one of these groups, e.g. handles, arrangements of switches, skirts, buffers, levers
- A47L11/4036—Parts or details of the surface treating tools
- A47L11/4038—Disk shaped surface treating tools
-
- A—HUMAN NECESSITIES
- A47—FURNITURE; DOMESTIC ARTICLES OR APPLIANCES; COFFEE MILLS; SPICE MILLS; SUCTION CLEANERS IN GENERAL
- A47L—DOMESTIC WASHING OR CLEANING; SUCTION CLEANERS IN GENERAL
- A47L11/00—Machines for cleaning floors, carpets, furniture, walls, or wall coverings
- A47L11/02—Floor surfacing or polishing machines
- A47L11/10—Floor surfacing or polishing machines motor-driven
- A47L11/14—Floor surfacing or polishing machines motor-driven with rotating tools
-
- A—HUMAN NECESSITIES
- A47—FURNITURE; DOMESTIC ARTICLES OR APPLIANCES; COFFEE MILLS; SPICE MILLS; SUCTION CLEANERS IN GENERAL
- A47L—DOMESTIC WASHING OR CLEANING; SUCTION CLEANERS IN GENERAL
- A47L11/00—Machines for cleaning floors, carpets, furniture, walls, or wall coverings
- A47L11/28—Floor-scrubbing machines, motor-driven
- A47L11/282—Floor-scrubbing machines, motor-driven having rotary tools
-
- A—HUMAN NECESSITIES
- A47—FURNITURE; DOMESTIC ARTICLES OR APPLIANCES; COFFEE MILLS; SPICE MILLS; SUCTION CLEANERS IN GENERAL
- A47L—DOMESTIC WASHING OR CLEANING; SUCTION CLEANERS IN GENERAL
- A47L11/00—Machines for cleaning floors, carpets, furniture, walls, or wall coverings
- A47L11/40—Parts or details of machines not provided for in groups A47L11/02Ā -Ā A47L11/38, or not restricted to one of these groups, e.g. handles, arrangements of switches, skirts, buffers, levers
- A47L11/4036—Parts or details of the surface treating tools
- A47L11/4044—Vacuuming or pick-up tools; Squeegees
-
- A—HUMAN NECESSITIES
- A47—FURNITURE; DOMESTIC ARTICLES OR APPLIANCES; COFFEE MILLS; SPICE MILLS; SUCTION CLEANERS IN GENERAL
- A47L—DOMESTIC WASHING OR CLEANING; SUCTION CLEANERS IN GENERAL
- A47L11/00—Machines for cleaning floors, carpets, furniture, walls, or wall coverings
- A47L11/40—Parts or details of machines not provided for in groups A47L11/02Ā -Ā A47L11/38, or not restricted to one of these groups, e.g. handles, arrangements of switches, skirts, buffers, levers
- A47L11/4061—Steering means; Means for avoiding obstacles; Details related to the place where the driver is accommodated
Definitions
- the present invention relates to an apparatus for the treatment, such as cleaning, of a floor More specifically, one embodiment of the present invention is an apparatus for floor cleaning that provides a standing or sitting location for the operator and is capable of operating in tight spaces.
- the present invention relates to a highly maneuverable floor cleaning or treatment apparatus (hereinafter ātreatment apparatusā) that supports an operator during use. More specifically, some embodiments of the present invention are adapted to clean, sweep, vacuum, burnish, wax, etc. (hereinafter ātreatā) a floored surface, wherein the operator is supported by the cleaning device, thus increasing efficiency and productivity of the cleaning operation.
- treatment apparatus highly maneuverable floor cleaning or treatment apparatus
- some embodiments of the present invention are adapted to clean, sweep, vacuum, burnish, wax, etc. (hereinafter ātreatā) a floored surface, wherein the operator is supported by the cleaning device, thus increasing efficiency and productivity of the cleaning operation.
- floored surface or more generally āsurfaceā encompasses areas covered by concrete, tile, carpet, wood, plastic, stone, turf or any other substance known in the art.
- the prior devices address many issues that arise with cleaning such floored surfaces.
- the bucket may include a detachable mop ringer and may be positioned on caster wheels to facilitate easy movement.
- a worker may be able to make a good start in treating a floor using the mop and bucket approach.
- the mop and fluid in the bucket becomes soiled or otherwise contaminated by germs and/or bacteria. From that point on, each time the worker plunges the mop into the bucket and rings the mop, both the mop and cleaning fluid become more and more dirty/contaminated.
- Small walk behind floor cleaning apparatus typically include a scrub deck in the middle of the machine and squeegees at the machine's rear. In this configuration the squeegee has little or no ability to swing or follow the path of the scrub deck as the machine changes direction.
- Small rider scrubbers typically have relatively narrow squeegees, and rely on "side squeegees" (unvacuumized squeegee blades) adjacent to the scrub deck to direct the water into the path of the main (vacuumized) squeegee.
- Self-propelled cleaning devices for instance shown in US 3 833 961 A , which discloses the preamble of claim 1, are generally also well known in the field and are employed to treat large floored surfaces, such as tiled, concrete or carpeted floors found in hospitals, department stores, schools, gyms, etc. These devices generally provide the operator with seating from which he/she can control operation of the device. These devices are ideal for cleaning large, open areas because they are capable of containing large amounts of waste fluids and/or debris without having to repeatedly perform time consuming fluid replacement or debris removal. Moreover, because these devices provide the user with seating, the user does not become prematurely fatigued, increasing overall worker productivity. Unfortunately, these large ride-on machines are not particularly well-suited for cleaning smaller, more confined floor surfaces, which are often found in hallways, small rooms, or even large rooms which have many obstacles therein.
- the following disclosure describes an improved floor cleaning and treatment device that is adapted for use in small areas that includes a platform adapted to support the operator to ensure optimum floor cleaning or treatment.
- the object of the present invention is a floor treating apparatus as defined in claim 1.
- Advantageous embodiments are formulated in the dependent claims.
- one embodiment of the present invention is constructed of a chassis section that includes an enclosure that houses at least a portion of the internal components of the treatment device and a location for installation of devices that are used during cleaning operations.
- one embodiment of the present invention provides a standing, leaning or sitting location for the operator.
- Another embodiment of the present invention is equipped with a powered steering device that allows for greater maneuverability in areas with tight corners, thereby ensuring that more of the flooring surface is treated without having to perform pre or post treatment operations.
- one embodiment of the present invention is equipped with a self-propelled wheel and an easy to use steering device to provide increased maneuverability around obstacles.
- One embodiment of the present invention employs at least one wheel that provides thrust and/or steering capability. Yet another embodiment of the present invention employs wheels that are substantially centered under the chassis such that the entire apparatus is generally capable of 360° rotation without substantially traversing in any other direction, thus allowing it to treat tight corners of a surface. It is another aspect of the present invention to provide a cleaning apparatus that is cost effective to manufacture.
- One embodiment of the present invention employs a chassis section that is designed to protect and house the internal workings of the apparatus and provide a location for interconnection of auxiliary treatment devices used therewith.
- a chassis that is constructed of rigid plastic, metal, or other common materials used in the art.
- the chassis of this embodiment also is equipped with a platform for the operator.
- Alternative embodiments of the present invention employ a foldable, removable or stationary operator seat.
- other safety features such as pads or belts may be employed to secure the operator into the cleaning device and thus his/her working environment.
- one embodiment of the present invention is small enough to fit into and through tight spaces.
- facilities that employ the apparatus of the present invention include narrow door ways, aisles and elevators.
- elevators are of minimal volume and lifting capability.
- the chasis is designed to have the smallest practical envelope, a distinct advantage over the prior art.
- the apparatus of one embodiment of the present invention includes components that are easily removable or adjustable to reduce the profile of the apparatus.
- the embodiments of the present invention may be used in various structures.
- Another aspect of the present invention is to provide a cleaning apparatus that is easy to operate and maneuver. More specifically, one embodiment of the present invention is equipped with a steering mechanism that allows for inputs from the operator to be efficiently communicated to the steering wheels of the cleaning apparatus. Alternatively, other steering means may be used to facilitate maneuverability of the treatment apparatus, such as joy sticks, touch screens, buttons, remote control elements, etc.
- one embodiment of the present invention is adapted to generally perform 360° turns without appreciable lateral motion.
- This embodiment of the present invention is equipped with a turning mechanism generally under the center of the chassis with two powered exterior wheels adjacent thereto that provide power to the chassis to pivot around the centered wheel.
- the powered exterior wheels may be independently controlled by joy sticks, wherein movement thereof send directional inputs to each wheel.
- One embodiment of the invention is equipped with at least one joy stick wherein forward deflection will impart forward motion, rearward deflection will impart rearward motion, and a side-to-side deflection will cause the apparatus to turn.
- two joy sticks may be used in a similar manner, wherein rearward deflection of the left joy stick and forward deflection of the right joy stick will result in a left turn, and depending on the placement of the powered wheels, perhaps a 360° left hand turn.
- Another embodiment of the present invention utilizes a steering wheel, handle bars, a yoke, or similar apparatus for steering.
- Embodiments may also include a power-assisted steering mechanism.
- the electric motor may be powered by batteries, solar energy or an electrical cord attached to a permanent power source.
- the present invention may be powered by an internal combustion engine.
- Other propulsion means may also be employed by the present invention without departing from its scope, as will be appreciated by one skilled in the art.
- One embodiment of the present invention employs a chassis that houses a fluid pump assembly and a vacuum assembly.
- the apparatus further includes at least two tanks, one for retaining a base cleaning fluid, such as water, and a second for retaining spent cleaning solution, dry debris, etc.
- the apparatus may also include one or more concentrated cleaning chemical receptacles designed to hold concentrated cleaning chemicals.
- the receptacles are preferably stored within a lockable structure, adding safety to the overall apparatus. These agents can be added to a base cleaning fluid just prior to application to a surface and as desired to facilitate cleaning of various surfaces.
- At least one tank is provided that provides a solution that is directed towards the flooring surface to be cleaned to facilitate treatment.
- the tank may be constructed with multiple compartments wherein waste water from the surface is contained prior to disposal.
- one embodiment of the present invention employs a tank that includes a movable membrane. In this configuration, the clean water and/or cleaning solution is deposited on a surface and agitated. Dirty water is next suctioned up and deposited back into a portion of the tank, thereby moving a membrane accordingly to accept the dirty water.
- a tank that includes a movable membrane.
- a similar selectively expandable fluid storage area can be created by utilizing a collapsible structure, which is placed inside of the primary fluid tank. This type of arrangement is disclosed in U.S. Patent No. 4,196,492 , which is also incorporated herein in its entirety by this reference.
- Clean water can obviously come from an outside source such as a hose, rather than be stored on board the device.
- the chassis will house or hold at least one fluid tank and perhaps a plurality thereof.
- fluid from the chemical receptacles flows through a tube to a chemical selector, which may include a metering valve.
- the selector preferably has a positive shut-off position, wherein fluid is prevented from flowing through the selector regardless of the fluid pressure in a fluid line.
- the selector is responsive to input from an operator selection of one of the several cleaning chemicals. Once a chemical is selected, it is free to flow through the chemical selector and appropriate amounts thereof may be provided to one of any number of inlets to a mixing tee. The amount of chemical allowed to flow may be adjusted by a metering valve built into the selector or separate from the selector, in a known fashion.
- a base cleaning fluid such as water
- a base cleaning fluid may flow from a fluid tank and through a separate tube to a second leg of a mixing tee.
- the cleaning fluid and concentrated cleaning chemical then mix within the mixing tee to create a cleaning solution.
- That solution may then be passed through the selector outlet to a pressure pump, wherein the cleaning solution may be pressurized and communicated via appropriate tubing to a dispensing device.
- the pump which draws fluid to and through the selector, also preferably includes a bypass system to facilitate regulation of pump pressure. Use of the pump to draw fluid is preferred as it does not create unwanted pressures in the fluid lines and the system, in general, is not subject to gravity feeding of fluid.
- a solution may be applied to a surface using any type of dispensing device.
- the dispensing device or associated solution lines or tubes include an adjustable valve, which may be used to adjust the pressure and flow of solution allowed to exit the dispensing device. Because of the adjustability, the apparatus may be utilized as a pre-cleaner for various carpet treatments, including spotting or other treatments.
- two or more receptacles of floor treatment chemicals may be fluidly connected to a mixing tee.
- a user is capable of creating any number of cleaning solutions without the need for adding receptacles or switching chemical feed lines from one receptacle to another or without changing metering tips that are easily misplaced, incorrectly interconnected, or damaged.
- the treatment process is safer because there is less chemical handling.
- use of a metering valve will allow the operator to create a very precise floor treatment solution.
- check valves may be included in: delivery lines that supply cleaning chemicals to the metering tee; lines that supply water to the metering tee; lines that supply cleaning solution to the pump; lines that supply cleaning solution to the spray gun; or in the metering tee, itself.
- the check valves prevent reversal of fluid and prevent contamination of one fluid with another.
- the treatment apparatus also may include a modular blower assembly.
- the blower assembly may be hand-held and operate completely apart from the overall cleaning machine.
- the blower assembly may be used to dry areas physically separate from where the apparatus is stored. Because the blower assembly possibly is separate from the apparatus, it may also be used for other blowing functions, such as blowing leaves, grass, dirt or other debris.
- the blower assembly may be used with a detachable hand nozzle, a flexible nozzle, an extension wand, etc., thereby increasing the overall flexibility of the blower assembly.
- the blower assembly may utilize an integrated on/off switch and be powered by electricity supplied by any typical extension cord, including the power source of the apparatus.
- the blower may be configured to be stored on the apparatus in one of any number of convenient ways. It will be appreciated by one skilled in the art that having a modular blower assembly of this type is very beneficial to the overall functionality of a multifunctional floor treatment apparatus.
- the chassis includes bins, trays, bays and other storage devices preferably within easy reach of the operator.
- the storage devices provide the operator with substantial flexibility when cleaning a large building or area that has many types of surfaces that may need treatment.
- the apparatus provides for modular trash/supply bins that may be added to or removed from the apparatus quickly and easily so that the machine can be configured for one of any number of floor treatment activities.
- one embodiment of the present invention includes a secondary, or priming pump, which is activated prior to the activation of the main fluid pump.
- a secondary, or priming pump which is activated prior to the activation of the main fluid pump.
- This priming process may be conducted manually, but that is time consuming, wherein the user manually adds fluid to the pump or bleeds the air therefrom.
- one embodiment of the present invention is equipped with a secondary pump that is activated for a brief moment when the fluid discharge apparatus is initially activated, thus ensuring that the main fluid pump will be substantially free of trapped air upon activation.
- the squeegee effectively swings, or follows the path of the floor and does not rely on unvacuumized side squeegees to channel water to the main vacuumized squeegee.
- it offers as good or better fluid pick-up when the apparatus is turning than is capable with a walk behind scrubber, and far superior than typical small riders since it does not rely on smearing side squeegees.
- One embodiment of the present invention employs a squeegee that pivots about the steering axis with a linkage that is supported by a roller and track mechanism.
- some embodiments of the present invention include an adjustable squeegee, a skirt or a shroud that minimally contacts the floor, thus reducing drag and sparing battery charge.
- some embodiments of the present invention include stops that contact the floor, without marring the same.
- a sanitation maintenance worker may clean a particular room or facility more efficiently than previously possible.
- the present invention may be used in various cleaning operations such as burnishing, vacuuming, scrubbing, sanding, waxing, sweeping, sealing, painting, polishing, etc.
- the present invention may be equipped with various combinations of floor treatment devices. More specifically, one embodiment of the present invention is equipped with a plurality of brushes and squeegees to agitate and collect debris from a flooring surface.
- suction mechanisms may be employed such that fluids and/or dry particulate matter are transferred into a container.
- one embodiment of the present invention include at least one solution applicator positioned adjacent to the scrub brushes, wherein solution is injected onto the surface after, or prior to, agitation by the brushes. The debris-entrained solution is then collected by the squeegee and subsequently vacuumed into the holding tank or expelled out of the chassis to an outside reservoir.
- the brushes and/or solution used in this embodiment may be adapted to clean, sweep, paint, burnish, sand, strip, varnish or wax a floor. It will be appreciated by one skilled in the art that any type of solution adapted to treat any flooring surface may be employed without departing from the scope of the present invention.
- It is yet another aspect of the present invention provide a floor treatment apparatus that can be used in various floor maintenance operations. More specifically, one embodiment of the present invention is adapted for interconnection to a plurality of devices to perform a variety of floor treatment operations. It is envisioned that one embodiment of the present invention be capable of quick removal of certain treatment devices such that different devices may be then added to quickly change the scope of the apparatus, thereby providing a device adapted to scrub, clean carpets, wax floors, burnish floors, remove wax or varnish from floors, vacuum, etc. Thus, it is contemplated, that this system may be used for a plurality of cleaning or floor treatment operations.
- the device could include a car washer wand connected to appropriate pumps and could be utilized to pre-clean heavily soiled areas prior to final cleaning with use of the device.
- one embodiment of the present invention is adapted to be remote controlled.
- This embodiment of the present invention is equipped with remote control mechanisms and software currently known in the art, such as taught by U.S. Patent No. 6,625,843 to Kim et al.
- this embodiment of the present invention may be equipped with the plurality of cameras such that offsite monitoring and control may be performed.
- software is installed in the cleaning apparatus such that human contact or monitoring is not required.
- one embodiment of the present invention is adapted to learn its environment as it operates in an area such that remote controlling is not required.
- one embodiment of the present invention includes an operator platform. This platform allows the operator to stand on the device during the treatment operation, thus increasing productivity and lowering the chances of injury or fatigue to the operator. It another embodiment of the present invention, a seat is provided wherein the operator may comfortably sit while completing his or her task. Other safety and comfort features such as rails, pads, and belts, may be provided depending on the needs of the operator.
- a floor treatment apparatus which comprises:
- FIG. 1-20 an apparatus 2 for cleaning or otherwise treating a floor surface is shown. More specifically, one embodiment of the present invention includes a chassis 8 with a platform 4 that is adapted to support the weight of an operator 6, thus increasing the efficiency of the entire floor treatment operation.
- various cleaning or floor treatment components may be interconnected to the bottom surface 10 of the chassis, such as brushes 12, scrubbers 14, squeegees 16, vacuum shoes, etc.
- the chassis 8 also includes a plurality of wheels 18 operably interconnected to the bottom surface 10 to enable steering and provide stability. It is contemplated that the operator 6 will stand on the platform 4 and steer the apparatus 2 with either a steering wheel 20 or other type of steering mechanism, such as a joy stick 22. Such an embodiment of the present invention enables the floor surface to be cleaned or otherwise treated more efficiently, since the operator 6 does not have to push or pull an often heavy apparatus 2. In addition, since the human component of powering or otherwise moving the apparatus 2 is omitted, more consistent flooring treatment is achieved, thereby saving materials and reducing costs of the entire operation.
- a chassis 8 which includes the platform 4 adapted to support an operator 6 during the floor treatment operation is shown.
- the operator 6 preferably stands on the platform 4 that is generally parallel to the flooring surface.
- the platform 4 is tilted, rear edge higher than the front edge, between about 3 to 8 degrees to increase ergonomics.
- other support devices such as seats, which may be operably folded into the chassis 8, may be provided to increase the comfort level of the operator 6.
- the embodiment of the present invention shown in Fig. 1 is equipped with a steering mechanism, such as a wheel 18, that allows the operator 6 to easily maneuver the apparatus 2 around the flooring surface.
- the chassis 8 is constructed of any material, but preferably hard plastic will be used to reduce the weight of the apparatus 2.
- a plurality of wheels 18 are operably interconnected to the rear of the apparatus 2 to provide stability and perhaps power for locomotion.
- a squeegee 16 is included that is adapted to extract or funnel water or debris to a location where it is extracted via vacuum into a container generally, but not always, located at least partially inside the chassis 8.
- this embodiment of the present invention includes a brush 12 that is used to agitate the flooring surface to loosen dirt, wherein spray nozzles may be employed situated behind the brush 12 to treat the flooring and capture the dirt so that it can be gathered by the squeegee 16 and suction system of the apparatus 2.
- FIG. 2 an alternate embodiment of the present invention that is used mainly for fluid extraction is shown.
- This embodiment of the present invention is similar to the apparatus described above, however alternate components are interconnected to the bottom surface 10 of the chassis 8 such that the apparatus is adapted to efficiently capture fluids or debris deposited on a floored surface. More specifically, this embodiment of the present invention is equipped with at least one brush 12 adapted to agitate water and/or debris and a squeegee 16 that is positioned adjacent to the rear surface of the chassis 8 that contains fluid and debris as the apparatus 2 moves forward.
- a suction device such as a vacuum shoe, is positioned near the squeegee 16 such that dirty water is vacuumed from the surface and transferred back into a tank situated inside or adjacent to the chassis 8.
- a suction device such as a vacuum shoe
- a squeegee 16 with a plurality of suction holes that are the terminus of conduits that transport waste water to the storage tank.
- the operator 6 is able to control the apparatus 2 with a plurality of joy sticks 22.
- hand grips 24 are provided on the sides of the operator 6 to increase safety.
- this embodiment of the present invention employs powered wheels 26 that allow the entire system to rotate on a single vertical axis without substantially transitioning in other directions. More specifically, this embodiment of the present invention is capable of performing a 360° turn, which aids cleaning of tight spaces.
- FIG. 3 An alternate embodiment of the present invention that is used for burnishing is shown in Fig. 3 .
- This embodiment of the present invention includes a burnishing pad 28 operably interconnected to the bottom surface of the chassis 10. As before, the operator 6 stands on a platform 4 built into the chassis 8.
- this embodiment of the present invention may also include a device for suctioning debris left over from the burnishing process, such as dust or wax particulates, for example.
- FIG. 4 an alternate embodiment of the present invention that employs swinging brushes 30 is shown.
- This embodiment of the present invention is very similar to those described above, however the brushes 30 used to agitate, scrub, or burnish are rotatably interconnected to the bottom surface 10 of the chassis 8. More specifically, the brushes 30 of this embodiment are capable of independently folding inwardly, thereby efficiently cleaning the interior portion of a floor when the apparatus is operating near a vertical surface such as a wall.
- the brushes 30 are independently movable and preferably spring loaded outward such that contact with a vertical surface causes the brush 30 to fold under the chassis 8.
- the orientation of the brushes may be controlled by the operator.
- a wand 32 interconnected to a hose 34 may also be employed with this embodiment of the present invention to allow for selective application of cleaning solution or suction.
- FIG. 5 another embodiment of the present invention that utilizes centered powered wheels 26 is shown. More specifically, this embodiment of the invention is similar to those described above, however it is equipped with a plurality of wheels 26 that allow a 360° turning capability. This embodiment of the present invention is also similarly adapted for cleaning the surface of a floor with a brush 12 or a plurality thereof that is used to agitate the dirt wherein a squeegee contains and suctions debris into a container.
- FIG. 6-8 an alternate embodiment of the present invention is shown that is equipped with a wheel 18 with brushes 12 therearound for cleaning in all directions.
- This embodiment of the present invention is equipped with brushes 12 that allow for cleaning or agitation of the flooring surface in any direction the apparatus 2 is moving, thus efficiently cleaning flooring without having to make multiple passes over the surface.
- a presweeping brush 12 agitates the carpet or hardwood floor to loosen debris.
- rotating scrubbing brushes further agitate the surface and perhaps add fluid and cleaning solution thereto to help loosen and contain any loose debris.
- a squeegee 16 and preferably a suction system is provided that captures the dirty water and as the apparatus is moved forward.
- the drive unit is the center wheel 26, which is also adapted to selectively rotate upon steering commands from the operator 6.
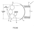
- Fig. 9B shows a configuration of cleaning components interconnected to the bottom surface 10 of the chassis 8 similar to what was shown in Fig. 9A .
- the brushes can rotate at speeds desired by the operator or at preselected speeds and in directions selected by the operator or in pre-selected directions.
- FIG. 10 an alternate configuration of the cleaning components interconnected to the bottom surface 10 of the chassis 8 is shown. More specifically, this configuration is substantially similar to that shown above in Fig. 9 , however, the drive mechanism of the apparatus is a transaxled power plant that provides power to the rear wheels 26, wherein the steering is performed by a front wheel.
- the drive mechanism of the apparatus is a transaxled power plant that provides power to the rear wheels 26, wherein the steering is performed by a front wheel.
- FIG. 11 yet another embodiment of the present invention performs a floor treatment operation without the need of physical human contact is shown. More specifically, this embodiment of the present invention is remote controlled or otherwise intelligent such that it cleans a floored surface without the direct contact of an operator.
- This embodiment of the present invention may be configured for any task, such as scrubbing, sweeping, vacuuming, burnishing, carpet cleaning, waxing, surfacing, cleaning, etc. It is envisioned that the operator be in a separate location, perhaps offsite from the actual cleaning operation, and aided by remote viewing devices.
- one embodiment of the present invention is programmed with the ability to automatically treat a floor surface, wherein the dimensions of the surface are either programmed into or learned as the apparatus is in use, thereby alleviating any need for human contact with the apparatus.
- This embodiment of the present invention may be deployed from a storage location automatically wherein quick disconnects to fluid sources or waste receptacles are remotely joined to it such that filling and emptying tanks or waste containers inside the chassis 8 is done without the need of a human operator as well.
- This embodiment of the present invention may be used in areas where it is dangerous for humans to operate, such as nuclear power plants, areas where asbestos exposure is likely, etc.
- a squeegee 16 for use in one embodiments of the present invention is shown. More specifically, some embodiments of the present invention include a pivot mechanism that allows the squeegee 16 to remain in place when the floor treating apparatus 2 is turning. Thus, the amount of fluid extracted when the apparatus 2 is making a tight turn is increased.
- the squeegee 16 is connected to a swing arm 36 that pivots about a point adjacent to the front wheel 18 of the apparatus.
- the swing arm 36 is supported via rollers or bearings 38 on a track 40 that maintain the squeegee's 16 vertical position relative to the floor.
- Fig 12a shows the squeegee 16 in its upmost left position
- Fig. 12c shows the squeegee in its upmost right position
- Fig. 12b shows the squeegee in a neutral position
- Fig. 12d shows the squeegee in a neutral position but from a side view.
- the squeegee 16 of one embodiment of the present invention is provided with a plurality of wheels that interface with the floor to maintain the vertical clearance of the squeegee assembly.
- side rollers may be provided that prevent the squeegee 16 from contacting a vertical surface, such as a wall.
- These wheels and various portions of the squeegee assembly may be selectively adjustable such that the width of the squeegee 16 and the placement of the wheels (squeegee height) may be altered at will.
- the swing arm 36 connects to a pivot 42 that utilizes the momentum of the squeegee 16 to swing it from the apparatus 2.
- a motorized system may be employed that is in communication with the steering system of the vehicle such that rotation of the steering wheel will swing the squeegee 16 away from the apparatus 2 in a predetermined manner.
- actuation system that selectively raises the squeegee 16 from the floor may also be included as shown in Fig. 12E .
- a handle actuated leverage system 44 is used and is in mechanical communication with a cam 46.
- the cam allows the user to apply minimal force to the handle 44 adjacent to the control panel to raise and lower the squeegee 16.
- this function may be performed alternatively with a motor.
- Recovery tanks of some embodiments of the present invention are constructed out of resiliently deflectable material, such as a plastic bag.
- the bag is inserted into the clean fluid tank 51 of the apparatus. Once the clean fluid is transferred to the floor treatment tool of the apparatus, waste water may be suctioned into the waste fluid tank, thus expanding the bag and occupying the space once occupied by now dispensed clean fluid.
- waste water may be suctioned with the waste fluid and deposited into the waste fluid tank, which may produce rips or tears in the bag and ultimately lead to leakage and contamination of the cleaning fluid.
- One embodiment of the present invention thus includes a strain basket 48 connected to the cover 49 of the waste fluid tank.
- a generally rectangular straining device constructed of a rigid material with a plurality of apertures therethrough is provided. As the waste water is deposited into the tank through the cover, any large debris is captured by the strain basket 48.
- any sized aperture may be employed to dictate the size of debris that is captured.
- any shape of strain basket 48 may be used without departing from the scope of the invention.
- a fluid discharge system that is connected to the waste water tank 58 of one embodiment of the present invention is shown. More specifically, a fitting 54 with a flange 56 may be used that is connected to the main storage tank 51 of the apparatus. Preferably, the fitting 54 is spun at a high rate of speed and engaged with an aperture in the tank 51, thus creating friction induced heat between the two surfaces and welding them together. The opening of the waste water bag 58 is then fed through the fitting 54 and a mandrill 60 is added to sandwich the waste water bag 58 therebetween.
- the mandrill 60 is made out of a rigid material, such as aluminum to ensure an open flow path.
- a drain hose 62 is slid over the outer surface of the fitting 54 and is secured with a clamp 64.
- drain hose 64 is generally capped during use, wherein the user disconnects the cap to drain the waste water from the bag 58. To ensure that the bag 58 is entirely empty, a new solution may be added to the tank, thus squeezing the bag 58 to expel all the waste water contained therein.
- the rear of the apparatus 2 includes a removable cowling 66.
- the cowling 66 of the present invention is capable of selective rotation about an axis parallel to the rear axle of the apparatus 2.
- the rear cowling 66 may be completely removable.
- This aspect of the present invention provides the ability to access batteries 68 that may provide power to the apparatus 2.
- the batteries 68 may reside on a removable tray 70 that is slidingly engaged to the apparatus 2, thus providing easy access for maintenance.
- the tray 70 resides on tracks that interface with a plurality of wheels, bearings, etc.
- the tray also includes a locking feature that securedly maintains the batteries 68 inside the vehicle.
- the rear cowling 66 also includes other features, such as a cavity for securing various items and drink holders 72.
- a pad 74 may also be included that provides greater protection and comfort to the user.
- Embodiments of the present invention include a control panel 76 that includes minimal fasteners 72 for interconnection to the floor treatment apparatus 2. That is, thumb screws, or similar type of fasteners may be included such that quick and easy removal of the control panel 76 may be achieved to facilitate repair.
- Embodiments of the present invention also include hand grips 24 adjacent to the control panel 76 to provide support for the operator. More specifically, during tight turns the inertial forces acting upon an individual may cause an operator to fall. Hand grips 24, which may be integrated onto the chasis of the apparatus, will give the operator a place to hold onto the device for added comfort and provide an additional safety feature. In addition they provide support when operating control switches located adjacent to handle grip.
- the platform 4 of one embodiment of the present invention includes a platform 4 with an operator presence switch 80, a platform switch and a throttle 82.
- the platform 4 also may include a suspension system and be cushioned to increase operator comfort.
- the platform 4 may be foldable such that the envelop of the apparatus may be selectively reduced.
- the operator presence switch 80 of one embodiment of the present invention is designed to act as a safety feature that interrupts the throttle pedal when not depressed. This ensures that the operator has both feet positioned on the platform when the machine is in use. Upon deactivation of the switch, for example if the operator removes a foot from the switch, a neutral mode may be engaged such that no power or forward or rearward motion of the device is possible. In addition, the operator presence switch 80 may ensure that sufficient weight is maintained on the platform at all times as a safety feature.
- the platform switch is in operable connection with the platform, such that it is activated when the operator stands on the platform.
- the operator must then engage a reset device, preferably on the control panel, to initiate motion.
- the purpose of the platform switch and reset switch is to act as a safety feature such that the machine does not immediately move when the operator steps on to the peddle platform.
- a neutral mode may be engaged such that no power and forward or rearward motion is possible.
- the throttle 82 of some embodiments of the present invention is adapted to selectively increase or decrease the speed of the apparatus depending on the desires of the operator. More specifically, various speed ranges may be included: neutral, first, second, third, reverse, etc. (or slow, medium, fast, etc.). In some embodiments, cleaning operations are performed at slow speeds, while transportation from location to location is performed at higher speeds.
- the operator sets the speed range to first for example, the activation of the throttle 82 will propel the apparatus within that speed range, such that it can not transition from the first range to the second range without a manual shift of the range.
- embodiments of the present invention include a hand speed range selector, wherein the throttle 82 simply turns the desired speed range to an activated mode.
- the neutral mode may also be set by the operator, wherein no amount of throttle 82 engagement will increase the speed of the apparatus.
- the apparatus automatically disengages the throttle.
- a throttle 82 may be provided that provides selective speed increments, such as employed on an automobile, without departing from the scope of the invention.
- Embodiments of the present invention also include a braking mechanism.
- a braking mechanism may be employed such that any motion of the apparatus automatically or gradually ceases.
- the braking mechanism may be electro mechanical, mechanical or hydraulic.
- the foot brake may be provided adjacent to the throttle 82 or operator presence switch 80 that provides the same halting capability.
- hand or emergency brakes may be employed adjacent to the control panel of the apparatus.
- a seat 84 of one embodiment of the present invention is shown. More specifically, embodiments of the present invention include a selectively connectable seating device 84 for engagement with the chassis to increase the operator comfort. Seats 84 of some embodiments of the present invention are selectively adjustable 85, thus making them easy to accommodate any sized individual.
- a receiver hitch, or similar connection mechanism is connected to the rear portion of the platform 4 and a mating device for interconnection to the receiver hitch, or other device, is provided on the seat 84.
- the seat 84 may also include a plurality of hooks, shelves, cup holders, etc. for the securement of cords, bags, or any other type of cleaning or comfort related item.
- the receiver hitch may be used when the seat 84 is engaged or not engaged, for example, to transport other items such as a supplemental wheeled device that may accommodate extra power sources, cleaning supplies, tanks, etc.
- a tank 50 of one embodiment of the present invention is shown.
- Some embodiments of the present invention include a tank 50 that is equipped with a plurality of lights 80 and/or horns that facilitate cleaning and/or act as additional safety features.
- lights maybe integrated into bumpers positioned adjacent to the tank 50 or on the sides of the apparatus.
- a filter may be provided in fluid communication with the fluid pump.
- This filter is designed to capture any debris that may adversely affect the operation of the pump.
- the filter is placed in a hard to access location, such that repair or monitoring thereof is very difficult.
- one embodiment of the present invention includes a filter that is situated on the outer surface of the cowling, perhaps on the control panel. Thus, the operator has ample opportunity to monitor the integrity of the filter and make quick repairs when necessary.
- a vacuum fan 92 which is connected to the front cowling 88 of one embodiment of the present invention is shown. More specifically, a vacuum fan 92 provides suction to remove debris filled fluids from the floor.
- the fan 92 is preferably situated under the control panel 76 of the vehicle, such that the intake cooling air that is drawn in by the vacuum fan 92 is channeled adjacent to the control panel 76 to cool componentry associated therewith.
- the tank 50 may be made out of a formable material such that exhaust channels 94 may be machined or molded into the tank 50.
- the channels 94 direct the exhaust air from the vacuum 92 to an exit muffler of the apparatus.
- the channels 94 also act as a baffle to remove noise energy from the exhaust gases, thus making the entire system more quiet.
- a waste fluid return hose 96 is shown. More specifically, one embodiment of the present invention decreases its profile by inserting the waste water hose 96 into a hose channel 98 that is integrated into the outside surface of the apparatus 2.
- the hose 96 being situated on the outside also has the added advantage of making it very accessible, such that it can be removed and inspected for clogs or breaches.
- some embodiments of the present invention are provided with tip over stops 100 adjacent to the front corners of the apparatus.
- the stops 100 may be replaceable and ensure that the apparatus does not tip over during tight turns.
- the tip over stops 100 are generally constructed out of a material that is harmless to flooring, such as Teflon, silicone, rubber, plastic, etc.
- rollers may be employed that are situated a predetermined distance from the floor to perform the same function.
- the present invention is generally similar to the floor treatment devices used in the art. However, unlike many prior art devices, the present invention provides a location for which the operator can stand or sit, thus enabling him or her to more efficiently perform their tasks. In addition, instead of using brute strength to perform the task of steering the cleaning device, a steering mechanism and associated hardware are provided to aid in the smooth transition from one direction to another. Also, the present invention device has a compact profile and mechanism which allows for 360° cleaning of tight spaces.
- the remote control version of the system software that is known in the art may be installed in the chassis 8 to allow for the system to be either remotely controlled or learn the cleaning surface as it operates.
- a series of cameras may be interconnected to the chassis 8 to provide remote viewing to an operator offsite.
Landscapes
- Cleaning In General (AREA)
- Cleaning Implements For Floors, Carpets, Furniture, Walls, And The Like (AREA)
- Cleaning By Liquid Or Steam (AREA)
Applications Claiming Priority (4)
| Application Number | Priority Date | Filing Date | Title |
|---|---|---|---|
| US54515304P | 2004-02-16 | 2004-02-16 | |
| US62760604P | 2004-11-12 | 2004-11-12 | |
| PCT/US2005/005094 WO2005079468A2 (en) | 2004-02-16 | 2005-02-16 | Apparatus for floor cleaning and treatment |
| EP05713744.0A EP1715783B1 (en) | 2004-02-16 | 2005-02-16 | Apparatus for floor cleaning and treatment |
Related Parent Applications (3)
| Application Number | Title | Priority Date | Filing Date |
|---|---|---|---|
| EP05713744.0 Division | 2005-02-16 | ||
| EP05713744.0A Division EP1715783B1 (en) | 2004-02-16 | 2005-02-16 | Apparatus for floor cleaning and treatment |
| EP05713744.0A Division-Into EP1715783B1 (en) | 2004-02-16 | 2005-02-16 | Apparatus for floor cleaning and treatment |
Publications (2)
| Publication Number | Publication Date |
|---|---|
| EP2258248A1 EP2258248A1 (en) | 2010-12-08 |
| EP2258248B1 true EP2258248B1 (en) | 2020-07-15 |
Family
ID=34890492
Family Applications (4)
| Application Number | Title | Priority Date | Filing Date |
|---|---|---|---|
| EP14003208.7A Expired - Lifetime EP2820993B1 (en) | 2004-02-16 | 2005-02-16 | Apparatus for floor cleaning and treatment |
| EP10178165.6A Expired - Lifetime EP2258248B1 (en) | 2004-02-16 | 2005-02-16 | Apparatus for floor cleaning and treatment |
| EP14003209.5A Expired - Lifetime EP2820994B1 (en) | 2004-02-16 | 2005-02-16 | Apparatus for floor cleaning and treatment |
| EP05713744.0A Expired - Lifetime EP1715783B1 (en) | 2004-02-16 | 2005-02-16 | Apparatus for floor cleaning and treatment |
Family Applications Before (1)
| Application Number | Title | Priority Date | Filing Date |
|---|---|---|---|
| EP14003208.7A Expired - Lifetime EP2820993B1 (en) | 2004-02-16 | 2005-02-16 | Apparatus for floor cleaning and treatment |
Family Applications After (2)
| Application Number | Title | Priority Date | Filing Date |
|---|---|---|---|
| EP14003209.5A Expired - Lifetime EP2820994B1 (en) | 2004-02-16 | 2005-02-16 | Apparatus for floor cleaning and treatment |
| EP05713744.0A Expired - Lifetime EP1715783B1 (en) | 2004-02-16 | 2005-02-16 | Apparatus for floor cleaning and treatment |
Country Status (9)
| Country | Link |
|---|---|
| EP (4) | EP2820993B1 (enExample) |
| JP (2) | JP4892359B2 (enExample) |
| CN (1) | CN1950012B (enExample) |
| AU (1) | AU2005214976B2 (enExample) |
| CA (1) | CA2559485C (enExample) |
| DE (1) | DE202005022120U1 (enExample) |
| DK (4) | DK2820994T3 (enExample) |
| MX (1) | MXPA06009328A (enExample) |
| WO (1) | WO2005079468A2 (enExample) |
Families Citing this family (40)
| Publication number | Priority date | Publication date | Assignee | Title |
|---|---|---|---|---|
| US20120096671A1 (en) | 2010-10-26 | 2012-04-26 | Karcher North America, Inc. | Floor cleaning apparatus employing a combined sweeper and vaccum assembly |
| US7533435B2 (en) | 2003-05-14 | 2009-05-19 | Karcher North America, Inc. | Floor treatment apparatus |
| US7549500B2 (en) | 2005-09-08 | 2009-06-23 | Vermeer Manufacturing Company | Apparatus for control of a mobile machine |
| KR101538905B1 (ko) * | 2006-02-10 | 2015-07-23 | ķ ėķø ģ»“ķė | ģ“ķ¬ėė, ģ źø°ķķģ ģ¼ė” ķģ±ķė ģ”첓ģ ģģ± ė°©ė² ė° ģ„ģ¹ |
| US8156608B2 (en) | 2006-02-10 | 2012-04-17 | Tennant Company | Cleaning apparatus having a functional generator for producing electrochemically activated cleaning liquid |
| US8007654B2 (en) | 2006-02-10 | 2011-08-30 | Tennant Company | Electrochemically activated anolyte and catholyte liquid |
| US8046867B2 (en) | 2006-02-10 | 2011-11-01 | Tennant Company | Mobile surface cleaner having a sparging device |
| US8025787B2 (en) | 2006-02-10 | 2011-09-27 | Tennant Company | Method and apparatus for generating, applying and neutralizing an electrochemically activated liquid |
| US8012340B2 (en) | 2006-02-10 | 2011-09-06 | Tennant Company | Method for generating electrochemically activated cleaning liquid |
| US8016996B2 (en) | 2006-02-10 | 2011-09-13 | Tennant Company | Method of producing a sparged cleaning liquid onboard a mobile surface cleaner |
| US8025786B2 (en) | 2006-02-10 | 2011-09-27 | Tennant Company | Method of generating sparged, electrochemically activated liquid |
| WO2009046279A2 (en) | 2007-10-04 | 2009-04-09 | Tennant Company | Method and apparatus for neutralizing electrochemically activated liquids |
| WO2009149327A2 (en) | 2008-06-05 | 2009-12-10 | Global Opportunities Investment Group, Llc | Fuel combustion method and system |
| JP5670889B2 (ja) | 2008-06-19 | 2015-02-18 | ććć³ć ć«ć³ććć¼ | ååæé»ę„µćå«ćē®”ē¶é»č§£ć»ć«ććć³åƾåæććę¹ę³ |
| EP2318317A1 (en) | 2008-06-19 | 2011-05-11 | Tennant Company | Electrolysis de-scaling method with constant output |
| IT1394430B1 (it) * | 2009-01-22 | 2012-06-15 | Nilfisk Advance Spa | Macchina lava-asciuga pavimenti perfezionata |
| JP5674432B2 (ja) * | 2010-11-17 | 2015-02-25 | ć¢ććę Ŗå¼ä¼ē¤¾ | åŗé¢å¦ēę© |
| CN202096159U (zh) * | 2011-03-29 | 2012-01-04 | 广äøē½äŗęø ę“ē§ęęéå ¬åø | éęŗč”čµ°éä»¶å车äæę¤ē»ęåå ¶ēµč·Æ |
| US8978190B2 (en) | 2011-06-28 | 2015-03-17 | Karcher North America, Inc. | Removable pad for interconnection to a high-speed driver system |
| CN104244796B (zh) * | 2012-05-03 | 2017-08-11 | Nss ä¼äøå ¬åø | å驱åØå°ęæę¦ę“åØ |
| ITFI20130152A1 (it) * | 2013-06-27 | 2014-12-28 | O Fiorentini S P A Ing | Macchina lavapavimenti |
| DK3043689T3 (da) * | 2013-09-13 | 2020-04-27 | Kaercher Alfred Se & Co Kg | GulvrengĆøringsmaskine |
| JP6227948B2 (ja) * | 2013-09-18 | 2017-11-08 | ęē°ę©ę¢°ę Ŗå¼ä¼ē¤¾ | čŖå¾čµ°č”å¼åŗę“ęµę©ćęø ęć¹ć±ćøć„ć¼ć«ć®ćć¼ćæę§é ćčØę¶åŖä½ćęø ęć¹ć±ćøć„ć¼ć«ć®ēęę¹ę³ćåć³ććć°ć©ć |
| EP2974642B1 (en) * | 2014-07-14 | 2017-04-26 | Samec S.p.A. | Multi-purpose self-propelled wrapping machine with floor cleaning device |
| TWI572310B (zh) * | 2014-08-01 | 2017-03-01 | Ya-Jing Yang | The chassis structure of the cleaning device |
| WO2016054529A1 (en) * | 2014-10-02 | 2016-04-07 | Diversey, Inc. | Ergonomic floor cleaning apparatus |
| US10060641B2 (en) | 2015-02-25 | 2018-08-28 | Dri-Eaz Products, Inc. | Systems and methods for drying roofs |
| DE102015104758A1 (de) * | 2015-03-27 | 2016-09-29 | Miele & Cie. Kg | Bodenreiniger |
| KR101758186B1 (ko) | 2016-06-10 | 2017-07-31 | 주ģķģ¬ ė³“ķ„ķ“ė ģØ | ģ ė°©ģ¶©ėģ 충격ģ ģķģķ¤ė ģģė°©ģģ¼ė” ź²°ķ©ė ķģ¹ģ ģ²ģģ°Ø ģ§ģķ |
| US10750923B2 (en) | 2016-07-29 | 2020-08-25 | Spontex S.A.S. | Rinsing device |
| JP6976544B2 (ja) * | 2016-11-30 | 2021-12-08 | ć·ć¼ćć¤ćØć¹ę Ŗå¼ä¼ē¤¾ | ęø ęč£ ē½®ććć³ćć®å¶å¾”ę¹ę³ |
| EP3618676B1 (de) | 2017-05-04 | 2023-09-20 | Alfred KƤrcher SE & Co. KG | BodenreinigungsgerƤt und verfahren zum reinigen einer bodenflƤche |
| TWI703951B (zh) * | 2018-08-15 | 2020-09-11 | čÆę½¤ē§ęč”份ęéå ¬åø | čŖčµ°å¼č£ē½®åčŖčµ°å¼č£ē½®ä¹éę§åØåå¾ę¹ę³ |
| USD907868S1 (en) | 2019-01-24 | 2021-01-12 | Karcher North America, Inc. | Floor cleaner |
| CN113382668B (zh) | 2019-01-24 | 2022-11-25 | å”å½»åē¾č”份ęéå ¬åø | å°ęæå¤ēč®¾å¤ |
| DE102019104497A1 (de) | 2019-02-21 | 2020-08-27 | Hako Gmbh | Tellerbesen, Kehrvorrichtung und Bodenreinigungsmaschine |
| DE102019110634A1 (de) * | 2019-04-24 | 2020-10-29 | Hako Gmbh | Bodenreinigungsmaschine |
| US11752527B2 (en) | 2019-09-18 | 2023-09-12 | Generac Power Systems, Inc. | Pressure washer with container holder |
| USD981665S1 (en) | 2020-08-04 | 2023-03-21 | Generac Power Systems, Inc. | Pressure washer |
| USD997475S1 (en) * | 2020-08-20 | 2023-08-29 | Aziobot Bv | Cleaning robot |
Family Cites Families (25)
| Publication number | Priority date | Publication date | Assignee | Title |
|---|---|---|---|---|
| US3604051A (en) * | 1969-06-27 | 1971-09-14 | Tennant Co | Powered sweeping machine |
| US3833961A (en) * | 1972-09-25 | 1974-09-10 | Tennant Co | Surface maintenance machine |
| US4196492A (en) | 1977-12-20 | 1980-04-08 | H. B. Fuller Company | Automatic carpet cleaning machine |
| US4339841A (en) * | 1980-11-12 | 1982-07-20 | Wetrok, Inc. | Squeegee support assembly for automatic floor cleaning machines |
| US4538695A (en) * | 1984-06-14 | 1985-09-03 | Bradt Grodon E | Battery driven golf cart |
| US4809397A (en) * | 1986-01-21 | 1989-03-07 | Edic | Rug and carpet cleaner |
| US4759094A (en) | 1987-10-19 | 1988-07-26 | Hako Minuteman, Inc. | Scrubbing machine |
| SE461250B (sv) * | 1989-03-13 | 1990-01-29 | Bo Vilhelm Lilja | Foer behandling av golvyta avsedd maskin |
| JPH0769742B2 (ja) * | 1991-02-20 | 1995-07-31 | ę„ę¬č»č¼č£½é ę Ŗå¼ä¼ē¤¾ | ē”äŗŗę¬éč» |
| US5127124A (en) * | 1991-03-11 | 1992-07-07 | Hako Minuteman, Inc. | Adjustable suspension for high speed pad driver |
| IT1265174B1 (it) * | 1993-11-12 | 1996-10-31 | Pulimat Spa | Macchina lavasciuga per la pulizia di pavimenti |
| US5809755A (en) * | 1994-12-16 | 1998-09-22 | Wright Manufacturing, Inc. | Power mower with riding platform for supporting standing operator |
| US5742975A (en) * | 1996-05-06 | 1998-04-28 | Windsor Industries, Inc. | Articulated floor scrubber |
| US6206980B1 (en) | 1997-11-13 | 2001-03-27 | Kaivac, Inc. | Multi-functional cleaning machine |
| JP3547636B2 (ja) * | 1999-01-29 | 2004-07-28 | ć¢ććę Ŗå¼ä¼ē¤¾ | åŗé¢č¶åŗę© |
| JP3583947B2 (ja) * | 1999-05-17 | 2004-11-04 | åÆå£«éå·„ę„ę Ŗå¼ä¼ē¤¾ | ä½ę„ēØč»äø”ć®å®å Øč£ ē½® |
| MXPA01012682A (es) * | 1999-06-08 | 2003-09-04 | Johnson S C Comm Markets Inc | Aparato de limpieza de pisos. |
| WO2001000079A2 (en) * | 1999-06-30 | 2001-01-04 | Nilfisk-Advance, Inc. | Riding floor scrubber |
| US6490849B1 (en) * | 1999-10-01 | 2002-12-10 | Great Dane Power Equipment, Inc. | Lawn mower with a platform for a standing operator |
| US6594844B2 (en) | 2000-01-24 | 2003-07-22 | Irobot Corporation | Robot obstacle detection system |
| CA2407992C (en) | 2000-05-01 | 2010-07-20 | Irobot Corporation | Method and system for remote control of mobile robot |
| US6629333B2 (en) * | 2000-07-20 | 2003-10-07 | Kurt E. Bolden | Device and method for liquid removal from carpet |
| KR100391179B1 (ko) | 2000-08-02 | 2003-07-12 | ķźµģ ė „ź³µģ¬ | ź³ ė°©ģ¬ģ±ėÆøģøė¶ģ§ķ기물 ģź²©ģ”°ģ¢ ģ“ėķģ²ģģ„ģ¹ |
| JP2003246237A (ja) * | 2002-02-25 | 2003-09-02 | Toshihiko Ota | ę§å éę¬č» |
| US6845829B2 (en) * | 2002-04-04 | 2005-01-25 | James T. Hafendorfer | Utility vehicle with foot-controlled mobility |
-
2005
- 2005-02-16 DK DK14003209.5T patent/DK2820994T3/en active
- 2005-02-16 AU AU2005214976A patent/AU2005214976B2/en not_active Ceased
- 2005-02-16 DE DE202005022120.1U patent/DE202005022120U1/de not_active Expired - Lifetime
- 2005-02-16 EP EP14003208.7A patent/EP2820993B1/en not_active Expired - Lifetime
- 2005-02-16 DK DK10178165.6T patent/DK2258248T3/da active
- 2005-02-16 CN CN2005800110195A patent/CN1950012B/zh not_active Expired - Fee Related
- 2005-02-16 JP JP2006553367A patent/JP4892359B2/ja not_active Expired - Fee Related
- 2005-02-16 EP EP10178165.6A patent/EP2258248B1/en not_active Expired - Lifetime
- 2005-02-16 DK DK05713744.0T patent/DK1715783T3/en active
- 2005-02-16 CA CA2559485A patent/CA2559485C/en not_active Expired - Lifetime
- 2005-02-16 MX MXPA06009328A patent/MXPA06009328A/es active IP Right Grant
- 2005-02-16 EP EP14003209.5A patent/EP2820994B1/en not_active Expired - Lifetime
- 2005-02-16 EP EP05713744.0A patent/EP1715783B1/en not_active Expired - Lifetime
- 2005-02-16 DK DK14003208.7T patent/DK2820993T3/en active
- 2005-02-16 WO PCT/US2005/005094 patent/WO2005079468A2/en not_active Ceased
-
2011
- 2011-07-28 JP JP2011165315A patent/JP5325269B2/ja not_active Expired - Fee Related
Non-Patent Citations (1)
| Title |
|---|
| None * |
Also Published As
| Publication number | Publication date |
|---|---|
| JP2011212467A (ja) | 2011-10-27 |
| JP5325269B2 (ja) | 2013-10-23 |
| HK1102416A1 (en) | 2007-11-23 |
| EP2820994B1 (en) | 2016-10-12 |
| CA2559485A1 (en) | 2005-09-01 |
| AU2005214976A1 (en) | 2005-09-01 |
| JP4892359B2 (ja) | 2012-03-07 |
| WO2005079468A2 (en) | 2005-09-01 |
| CN1950012B (zh) | 2011-07-06 |
| DK2820994T3 (en) | 2017-01-23 |
| EP1715783A2 (en) | 2006-11-02 |
| DK2820993T3 (en) | 2017-01-23 |
| EP2820993B1 (en) | 2016-10-12 |
| DK2258248T3 (da) | 2020-08-24 |
| DK1715783T3 (en) | 2015-04-27 |
| CN1950012A (zh) | 2007-04-18 |
| EP2258248A1 (en) | 2010-12-08 |
| CA2559485C (en) | 2012-08-28 |
| DE202005022120U1 (de) | 2014-03-24 |
| EP1715783B1 (en) | 2015-01-21 |
| EP2820994A1 (en) | 2015-01-07 |
| MXPA06009328A (es) | 2007-03-01 |
| AU2005214976B2 (en) | 2010-04-01 |
| EP1715783A4 (en) | 2008-09-03 |
| WO2005079468A3 (en) | 2006-09-14 |
| JP2007523698A (ja) | 2007-08-23 |
| EP2820993A1 (en) | 2015-01-07 |
Similar Documents
| Publication | Publication Date | Title |
|---|---|---|
| US10555657B2 (en) | Floor treatment apparatus | |
| EP2258248B1 (en) | Apparatus for floor cleaning and treatment | |
| US9510721B2 (en) | Floor cleaning apparatus | |
| US20060064844A1 (en) | Floating deck for use with a floor cleaning apparatus | |
| EP3914137B1 (en) | Floor treatment apparatus | |
| HK40055917A (en) | Floor treatment apparatus | |
| HK40055917B (en) | Floor treatment apparatus |
Legal Events
| Date | Code | Title | Description |
|---|---|---|---|
| PUAI | Public reference made under article 153(3) epc to a published international application that has entered the european phase |
Free format text: ORIGINAL CODE: 0009012 |
|
| AC | Divisional application: reference to earlier application |
Ref document number: 1715783 Country of ref document: EP Kind code of ref document: P |
|
| AK | Designated contracting states |
Kind code of ref document: A1 Designated state(s): AT BE BG CH CY CZ DE DK EE ES FI FR GB GR HU IE IS IT LI LT LU MC NL PL PT RO SE SI SK TR |
|
| RIN1 | Information on inventor provided before grant (corrected) |
Inventor name: VENARD, DANIEL, C. Inventor name: SHARK, ERIC, L. Inventor name: GORSKY, ROBERT, S. Inventor name: TRAN, LOI, X. Inventor name: PEARSON, DANIEL Inventor name: GREEN, NEVIN Inventor name: SIMMON, RUSTY Inventor name: DOLL, BRIAN J. Inventor name: PEDLAR, ROGER |
|
| 17P | Request for examination filed |
Effective date: 20110427 |
|
| RAP1 | Party data changed (applicant data changed or rights of an application transferred) |
Owner name: KAERCHER NORTH AMERICA, INC. |
|
| 17Q | First examination report despatched |
Effective date: 20140724 |
|
| RAP1 | Party data changed (applicant data changed or rights of an application transferred) |
Owner name: KAERCHER NORTH AMERICA, INC. |
|
| REG | Reference to a national code |
Ref country code: DE Ref legal event code: R079 Ref document number: 602005056915 Country of ref document: DE Free format text: PREVIOUS MAIN CLASS: A47L0011100000 Ipc: A47L0011140000 |
|
| GRAP | Despatch of communication of intention to grant a patent |
Free format text: ORIGINAL CODE: EPIDOSNIGR1 |
|
| STAA | Information on the status of an ep patent application or granted ep patent |
Free format text: STATUS: GRANT OF PATENT IS INTENDED |
|
| RIC1 | Information provided on ipc code assigned before grant |
Ipc: A47L 11/14 20060101AFI20191220BHEP Ipc: A47L 11/282 20060101ALI20191220BHEP Ipc: A47L 11/40 20060101ALI20191220BHEP |
|
| INTG | Intention to grant announced |
Effective date: 20200129 |
|
| GRAS | Grant fee paid |
Free format text: ORIGINAL CODE: EPIDOSNIGR3 |
|
| GRAA | (expected) grant |
Free format text: ORIGINAL CODE: 0009210 |
|
| STAA | Information on the status of an ep patent application or granted ep patent |
Free format text: STATUS: THE PATENT HAS BEEN GRANTED |
|
| AC | Divisional application: reference to earlier application |
Ref document number: 1715783 Country of ref document: EP Kind code of ref document: P |
|
| AK | Designated contracting states |
Kind code of ref document: B1 Designated state(s): AT BE BG CH CY CZ DE DK EE ES FI FR GB GR HU IE IS IT LI LT LU MC NL PL PT RO SE SI SK TR |
|
| REG | Reference to a national code |
Ref country code: GB Ref legal event code: FG4D Ref country code: CH Ref legal event code: EP |
|
| REG | Reference to a national code |
Ref country code: IE Ref legal event code: FG4D |
|
| REG | Reference to a national code |
Ref country code: DE Ref legal event code: R096 Ref document number: 602005056915 Country of ref document: DE |
|
| REG | Reference to a national code |
Ref country code: AT Ref legal event code: REF Ref document number: 1290028 Country of ref document: AT Kind code of ref document: T Effective date: 20200815 |
|
| REG | Reference to a national code |
Ref country code: DK Ref legal event code: T3 Effective date: 20200819 |
|
| REG | Reference to a national code |
Ref country code: LT Ref legal event code: MG4D |
|
| REG | Reference to a national code |
Ref country code: AT Ref legal event code: MK05 Ref document number: 1290028 Country of ref document: AT Kind code of ref document: T Effective date: 20200715 |
|
| REG | Reference to a national code |
Ref country code: NL Ref legal event code: MP Effective date: 20200715 |
|
| PG25 | Lapsed in a contracting state [announced via postgrant information from national office to epo] |
Ref country code: ES Free format text: LAPSE BECAUSE OF FAILURE TO SUBMIT A TRANSLATION OF THE DESCRIPTION OR TO PAY THE FEE WITHIN THE PRESCRIBED TIME-LIMIT Effective date: 20200715 Ref country code: BG Free format text: LAPSE BECAUSE OF FAILURE TO SUBMIT A TRANSLATION OF THE DESCRIPTION OR TO PAY THE FEE WITHIN THE PRESCRIBED TIME-LIMIT Effective date: 20201015 Ref country code: PT Free format text: LAPSE BECAUSE OF FAILURE TO SUBMIT A TRANSLATION OF THE DESCRIPTION OR TO PAY THE FEE WITHIN THE PRESCRIBED TIME-LIMIT Effective date: 20201116 Ref country code: SE Free format text: LAPSE BECAUSE OF FAILURE TO SUBMIT A TRANSLATION OF THE DESCRIPTION OR TO PAY THE FEE WITHIN THE PRESCRIBED TIME-LIMIT Effective date: 20200715 Ref country code: LT Free format text: LAPSE BECAUSE OF FAILURE TO SUBMIT A TRANSLATION OF THE DESCRIPTION OR TO PAY THE FEE WITHIN THE PRESCRIBED TIME-LIMIT Effective date: 20200715 Ref country code: AT Free format text: LAPSE BECAUSE OF FAILURE TO SUBMIT A TRANSLATION OF THE DESCRIPTION OR TO PAY THE FEE WITHIN THE PRESCRIBED TIME-LIMIT Effective date: 20200715 Ref country code: FI Free format text: LAPSE BECAUSE OF FAILURE TO SUBMIT A TRANSLATION OF THE DESCRIPTION OR TO PAY THE FEE WITHIN THE PRESCRIBED TIME-LIMIT Effective date: 20200715 Ref country code: GR Free format text: LAPSE BECAUSE OF FAILURE TO SUBMIT A TRANSLATION OF THE DESCRIPTION OR TO PAY THE FEE WITHIN THE PRESCRIBED TIME-LIMIT Effective date: 20201016 |
|
| PG25 | Lapsed in a contracting state [announced via postgrant information from national office to epo] |
Ref country code: IS Free format text: LAPSE BECAUSE OF FAILURE TO SUBMIT A TRANSLATION OF THE DESCRIPTION OR TO PAY THE FEE WITHIN THE PRESCRIBED TIME-LIMIT Effective date: 20201115 Ref country code: PL Free format text: LAPSE BECAUSE OF FAILURE TO SUBMIT A TRANSLATION OF THE DESCRIPTION OR TO PAY THE FEE WITHIN THE PRESCRIBED TIME-LIMIT Effective date: 20200715 |
|
| PG25 | Lapsed in a contracting state [announced via postgrant information from national office to epo] |
Ref country code: NL Free format text: LAPSE BECAUSE OF FAILURE TO SUBMIT A TRANSLATION OF THE DESCRIPTION OR TO PAY THE FEE WITHIN THE PRESCRIBED TIME-LIMIT Effective date: 20200715 |
|
| REG | Reference to a national code |
Ref country code: DE Ref legal event code: R097 Ref document number: 602005056915 Country of ref document: DE |
|
| PG25 | Lapsed in a contracting state [announced via postgrant information from national office to epo] |
Ref country code: EE Free format text: LAPSE BECAUSE OF FAILURE TO SUBMIT A TRANSLATION OF THE DESCRIPTION OR TO PAY THE FEE WITHIN THE PRESCRIBED TIME-LIMIT Effective date: 20200715 Ref country code: CZ Free format text: LAPSE BECAUSE OF FAILURE TO SUBMIT A TRANSLATION OF THE DESCRIPTION OR TO PAY THE FEE WITHIN THE PRESCRIBED TIME-LIMIT Effective date: 20200715 Ref country code: IT Free format text: LAPSE BECAUSE OF FAILURE TO SUBMIT A TRANSLATION OF THE DESCRIPTION OR TO PAY THE FEE WITHIN THE PRESCRIBED TIME-LIMIT Effective date: 20200715 Ref country code: RO Free format text: LAPSE BECAUSE OF FAILURE TO SUBMIT A TRANSLATION OF THE DESCRIPTION OR TO PAY THE FEE WITHIN THE PRESCRIBED TIME-LIMIT Effective date: 20200715 |
|
| PLBE | No opposition filed within time limit |
Free format text: ORIGINAL CODE: 0009261 |
|
| STAA | Information on the status of an ep patent application or granted ep patent |
Free format text: STATUS: NO OPPOSITION FILED WITHIN TIME LIMIT |
|
| 26N | No opposition filed |
Effective date: 20210416 |
|
| PG25 | Lapsed in a contracting state [announced via postgrant information from national office to epo] |
Ref country code: SK Free format text: LAPSE BECAUSE OF FAILURE TO SUBMIT A TRANSLATION OF THE DESCRIPTION OR TO PAY THE FEE WITHIN THE PRESCRIBED TIME-LIMIT Effective date: 20200715 |
|
| PG25 | Lapsed in a contracting state [announced via postgrant information from national office to epo] |
Ref country code: SI Free format text: LAPSE BECAUSE OF FAILURE TO SUBMIT A TRANSLATION OF THE DESCRIPTION OR TO PAY THE FEE WITHIN THE PRESCRIBED TIME-LIMIT Effective date: 20200715 |
|
| REG | Reference to a national code |
Ref country code: DE Ref legal event code: R081 Ref document number: 602005056915 Country of ref document: DE Owner name: KARCHER NORTH AMERICA, INC., AURORA, US Free format text: FORMER OWNER: KAERCHER NORTH AMERICA, INC., DENVER, COL., US |
|
| PG25 | Lapsed in a contracting state [announced via postgrant information from national office to epo] |
Ref country code: MC Free format text: LAPSE BECAUSE OF FAILURE TO SUBMIT A TRANSLATION OF THE DESCRIPTION OR TO PAY THE FEE WITHIN THE PRESCRIBED TIME-LIMIT Effective date: 20200715 |
|
| REG | Reference to a national code |
Ref country code: BE Ref legal event code: MM Effective date: 20210228 |
|
| PG25 | Lapsed in a contracting state [announced via postgrant information from national office to epo] |
Ref country code: LU Free format text: LAPSE BECAUSE OF NON-PAYMENT OF DUE FEES Effective date: 20210216 |
|
| PG25 | Lapsed in a contracting state [announced via postgrant information from national office to epo] |
Ref country code: IE Free format text: LAPSE BECAUSE OF NON-PAYMENT OF DUE FEES Effective date: 20210216 |
|
| PG25 | Lapsed in a contracting state [announced via postgrant information from national office to epo] |
Ref country code: BE Free format text: LAPSE BECAUSE OF NON-PAYMENT OF DUE FEES Effective date: 20210228 |
|
| PGFP | Annual fee paid to national office [announced via postgrant information from national office to epo] |
Ref country code: FR Payment date: 20230119 Year of fee payment: 19 Ref country code: DK Payment date: 20230119 Year of fee payment: 19 Ref country code: CH Payment date: 20230307 Year of fee payment: 19 |
|
| PG25 | Lapsed in a contracting state [announced via postgrant information from national office to epo] |
Ref country code: HU Free format text: LAPSE BECAUSE OF FAILURE TO SUBMIT A TRANSLATION OF THE DESCRIPTION OR TO PAY THE FEE WITHIN THE PRESCRIBED TIME-LIMIT; INVALID AB INITIO Effective date: 20050216 Ref country code: CY Free format text: LAPSE BECAUSE OF FAILURE TO SUBMIT A TRANSLATION OF THE DESCRIPTION OR TO PAY THE FEE WITHIN THE PRESCRIBED TIME-LIMIT Effective date: 20200715 |
|
| PGFP | Annual fee paid to national office [announced via postgrant information from national office to epo] |
Ref country code: GB Payment date: 20230121 Year of fee payment: 19 Ref country code: DE Payment date: 20230119 Year of fee payment: 19 |
|
| P01 | Opt-out of the competence of the unified patent court (upc) registered |
Effective date: 20230517 |
|
| REG | Reference to a national code |
Ref country code: CH Ref legal event code: PK Free format text: BERICHTIGUNGEN |
|
| PG25 | Lapsed in a contracting state [announced via postgrant information from national office to epo] |
Ref country code: TR Free format text: LAPSE BECAUSE OF FAILURE TO SUBMIT A TRANSLATION OF THE DESCRIPTION OR TO PAY THE FEE WITHIN THE PRESCRIBED TIME-LIMIT Effective date: 20200715 |
|
| REG | Reference to a national code |
Ref country code: DE Ref legal event code: R119 Ref document number: 602005056915 Country of ref document: DE |
|
| REG | Reference to a national code |
Ref country code: DK Ref legal event code: EBP Effective date: 20240229 |
|
| REG | Reference to a national code |
Ref country code: CH Ref legal event code: PL |
|
| PG25 | Lapsed in a contracting state [announced via postgrant information from national office to epo] |
Ref country code: CH Free format text: LAPSE BECAUSE OF NON-PAYMENT OF DUE FEES Effective date: 20240229 |
|
| GBPC | Gb: european patent ceased through non-payment of renewal fee |
Effective date: 20240216 |
|
| PG25 | Lapsed in a contracting state [announced via postgrant information from national office to epo] |
Ref country code: CH Free format text: LAPSE BECAUSE OF NON-PAYMENT OF DUE FEES Effective date: 20240229 |
|
| PG25 | Lapsed in a contracting state [announced via postgrant information from national office to epo] |
Ref country code: DE Free format text: LAPSE BECAUSE OF NON-PAYMENT OF DUE FEES Effective date: 20240903 |
|
| PG25 | Lapsed in a contracting state [announced via postgrant information from national office to epo] |
Ref country code: DK Free format text: LAPSE BECAUSE OF NON-PAYMENT OF DUE FEES Effective date: 20240229 |
|
| PG25 | Lapsed in a contracting state [announced via postgrant information from national office to epo] |
Ref country code: GB Free format text: LAPSE BECAUSE OF NON-PAYMENT OF DUE FEES Effective date: 20240216 |
|
| PG25 | Lapsed in a contracting state [announced via postgrant information from national office to epo] |
Ref country code: FR Free format text: LAPSE BECAUSE OF NON-PAYMENT OF DUE FEES Effective date: 20240229 |
|
| PG25 | Lapsed in a contracting state [announced via postgrant information from national office to epo] |
Ref country code: GB Free format text: LAPSE BECAUSE OF NON-PAYMENT OF DUE FEES Effective date: 20240216 Ref country code: FR Free format text: LAPSE BECAUSE OF NON-PAYMENT OF DUE FEES Effective date: 20240229 Ref country code: DK Free format text: LAPSE BECAUSE OF NON-PAYMENT OF DUE FEES Effective date: 20240229 Ref country code: DE Free format text: LAPSE BECAUSE OF NON-PAYMENT OF DUE FEES Effective date: 20240903 |