EP2172303B1 - Eyeglass lens processing refuse disposal apparatus - Google Patents

Eyeglass lens processing refuse disposal apparatus Download PDF

Info

Publication number
EP2172303B1
EP2172303B1 EP20090012421 EP09012421A EP2172303B1 EP 2172303 B1 EP2172303 B1 EP 2172303B1 EP 20090012421 EP20090012421 EP 20090012421 EP 09012421 A EP09012421 A EP 09012421A EP 2172303 B1 EP2172303 B1 EP 2172303B1
Authority
EP
European Patent Office
Prior art keywords
container
dewatering drum
processing refuse
processing
filter
Prior art date
Legal status (The legal status is an assumption and is not a legal conclusion. Google has not performed a legal analysis and makes no representation as to the accuracy of the status listed.)
Active
Application number
EP20090012421
Other languages
German (de)
English (en)
French (fr)
Other versions
EP2172303A1 (en
Inventor
Akihiro Nagura
Current Assignee (The listed assignees may be inaccurate. Google has not performed a legal analysis and makes no representation or warranty as to the accuracy of the list.)
Nidek Co Ltd
Original Assignee
Nidek Co Ltd
Priority date (The priority date is an assumption and is not a legal conclusion. Google has not performed a legal analysis and makes no representation as to the accuracy of the date listed.)
Filing date
Publication date
Application filed by Nidek Co Ltd filed Critical Nidek Co Ltd
Publication of EP2172303A1 publication Critical patent/EP2172303A1/en
Application granted granted Critical
Publication of EP2172303B1 publication Critical patent/EP2172303B1/en
Active legal-status Critical Current
Anticipated expiration legal-status Critical

Links

Images

Classifications

    • BPERFORMING OPERATIONS; TRANSPORTING
    • B24GRINDING; POLISHING
    • B24BMACHINES, DEVICES, OR PROCESSES FOR GRINDING OR POLISHING; DRESSING OR CONDITIONING OF ABRADING SURFACES; FEEDING OF GRINDING, POLISHING, OR LAPPING AGENTS
    • B24B9/00Machines or devices designed for grinding edges or bevels on work or for removing burrs; Accessories therefor
    • B24B9/02Machines or devices designed for grinding edges or bevels on work or for removing burrs; Accessories therefor characterised by a special design with respect to properties of materials specific to articles to be ground
    • B24B9/06Machines or devices designed for grinding edges or bevels on work or for removing burrs; Accessories therefor characterised by a special design with respect to properties of materials specific to articles to be ground of non-metallic inorganic material, e.g. stone, ceramics, porcelain
    • B24B9/08Machines or devices designed for grinding edges or bevels on work or for removing burrs; Accessories therefor characterised by a special design with respect to properties of materials specific to articles to be ground of non-metallic inorganic material, e.g. stone, ceramics, porcelain of glass
    • B24B9/14Machines or devices designed for grinding edges or bevels on work or for removing burrs; Accessories therefor characterised by a special design with respect to properties of materials specific to articles to be ground of non-metallic inorganic material, e.g. stone, ceramics, porcelain of glass of optical work, e.g. lenses, prisms
    • BPERFORMING OPERATIONS; TRANSPORTING
    • B04CENTRIFUGAL APPARATUS OR MACHINES FOR CARRYING-OUT PHYSICAL OR CHEMICAL PROCESSES
    • B04BCENTRIFUGES
    • B04B1/00Centrifuges with rotary bowls provided with solid jackets for separating predominantly liquid mixtures with or without solid particles
    • B04B1/02Centrifuges with rotary bowls provided with solid jackets for separating predominantly liquid mixtures with or without solid particles without inserted separating walls
    • BPERFORMING OPERATIONS; TRANSPORTING
    • B04CENTRIFUGAL APPARATUS OR MACHINES FOR CARRYING-OUT PHYSICAL OR CHEMICAL PROCESSES
    • B04BCENTRIFUGES
    • B04B3/00Centrifuges with rotary bowls in which solid particles or bodies become separated by centrifugal force and simultaneous sifting or filtering
    • BPERFORMING OPERATIONS; TRANSPORTING
    • B24GRINDING; POLISHING
    • B24BMACHINES, DEVICES, OR PROCESSES FOR GRINDING OR POLISHING; DRESSING OR CONDITIONING OF ABRADING SURFACES; FEEDING OF GRINDING, POLISHING, OR LAPPING AGENTS
    • B24B55/00Safety devices for grinding or polishing machines; Accessories fitted to grinding or polishing machines for keeping tools or parts of the machine in good working condition
    • B24B55/02Equipment for cooling the grinding surfaces, e.g. devices for feeding coolant
    • B24B55/03Equipment for cooling the grinding surfaces, e.g. devices for feeding coolant designed as a complete equipment for feeding or clarifying coolant

Definitions

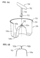
  • the container 700 has an external shape which resembles an interior shape of the dewatering drum 652. Namely, the container 700 has a side wall portion 700c, a bottom portion 700b and a protuberant portion 700a whose shapes match an inner side surface 652c, the bottom surface 652b and the protuberance 652a, respectively. However, an outside diameter of the side wall portion 700c is formed slightly smaller than an inside diameter of the inner side surface of the dewatering drum 652.
  • the gap ⁇ d By the gap ⁇ d being ensured, frictional resistance is reduced that would otherwise be produced between the inner side surface 652c of the dewatering drum 652 and the container 700, thereby making it possible to easily lift up the container 700 in which processing refuse are built up.
  • the placing operation is made easy.
  • the center of gravity of the container 700 is made to coincide substantially with a rotational axis of the dewatering drum 652.
  • the lid member 658 and the filter 654 are press fitted to each other by the projecting portion 703 (refer to Fig. 2B ). Namely, by the filter 654 being held between the projecting portion 703 and the lid member 658 to thereby be collapsed, the filter 654 also functions as a packing for preventing grinding water from flowing from a gap between the container 700 and the lid member 658. With this configuration, the flow of grinding water which is discharged through the filter 654 into the gap ⁇ d is suppressed as much as possible during centrifugal separation.
  • a removal jig 750 includes a holding portion 752 to be held by the hand of the operator and two hooks (hook members) 751 which are fixed to a distal end of a shaft 753 which extends from the holding portion 752.
  • an engagement portion 702 to be caught by (which is brought into engagement with) the hooks 751 of the removal jig 750 is formed at an upper end of the protuberant portion 700a which is situated at the center of the container 700.
  • the engagement portion 702 is made up of two holes 702a so as to match the hooks so provided.
  • the engagement portion 802 is constructed in such a manner as to be bent inwards of the container 800 by a hinge provided in a position which coincides with a side wall of the container 800.
  • the distal end portion 861 of the removal jig 860 is allowed to be inserted into the opening 803.
  • Restricting members 805 for restricting the rotation of the engagement portions 802 are provided on an inside of the container 800, whereby the sinking of the engagement portions 802 is prevented by the restricting members 805.

Landscapes

  • Engineering & Computer Science (AREA)
  • Mechanical Engineering (AREA)
  • Chemical & Material Sciences (AREA)
  • Ceramic Engineering (AREA)
  • Inorganic Chemistry (AREA)
  • Centrifugal Separators (AREA)
  • Grinding-Machine Dressing And Accessory Apparatuses (AREA)
  • Grinding And Polishing Of Tertiary Curved Surfaces And Surfaces With Complex Shapes (AREA)
EP20090012421 2008-10-01 2009-09-30 Eyeglass lens processing refuse disposal apparatus Active EP2172303B1 (en)

Applications Claiming Priority (1)

Application Number Priority Date Filing Date Title
JP2008256895A JP5317051B2 (ja) 2008-10-01 2008-10-01 眼鏡レンズ加工用の加工屑処理装置

Publications (2)

Publication Number Publication Date
EP2172303A1 EP2172303A1 (en) 2010-04-07
EP2172303B1 true EP2172303B1 (en) 2012-05-16

Family

ID=41506413

Family Applications (1)

Application Number Title Priority Date Filing Date
EP20090012421 Active EP2172303B1 (en) 2008-10-01 2009-09-30 Eyeglass lens processing refuse disposal apparatus

Country Status (2)

Country Link
EP (1) EP2172303B1 (enExample)
JP (1) JP5317051B2 (enExample)

Families Citing this family (5)

* Cited by examiner, † Cited by third party
Publication number Priority date Publication date Assignee Title
CN104548849B (zh) * 2015-01-04 2017-01-18 绍兴绿态环境科技有限公司 一种眼镜磨边废水废气一体化处理机
CN106076661A (zh) * 2016-08-13 2016-11-09 安徽东至广信农化有限公司 一种用于草甘膦的全自动离心装置
KR102231821B1 (ko) * 2020-08-31 2021-03-24 이영길 안경렌즈 연마수의 여과장치
JP7750026B2 (ja) * 2021-01-14 2025-10-07 株式会社ニデック 眼鏡レンズ加工用の研削水処理装置
EP4029834B1 (en) * 2021-01-14 2025-08-13 Nidek Co., Ltd. Grinding water treatment device for eyeglasses lens processing

Family Cites Families (7)

* Cited by examiner, † Cited by third party
Publication number Priority date Publication date Assignee Title
DE7221652U (de) * 1972-06-09 1972-10-05 H Lehmann Ag Spaltsieb-schleuderkorb
US4302332A (en) * 1979-07-06 1981-11-24 Nishihara Environmental Sanitation Research Corp., Ltd. Centrifugal thickener
JP2002283236A (ja) * 2001-03-26 2002-10-03 Megane Drug Co Ltd プラスチックレンズ研削液配給システム
JP2004243452A (ja) 2003-02-13 2004-09-02 Topcon Corp レンズ研削加工システム
JP4522162B2 (ja) * 2003-11-07 2010-08-11 株式会社トプコン レンズ研削加工装置の研削水処理装置
JP4290672B2 (ja) 2005-04-28 2009-07-08 株式会社ニデック 眼鏡レンズ周縁加工装置
JP5405727B2 (ja) 2006-08-31 2014-02-05 株式会社ニデック 眼鏡レンズ周縁加工用の研削水処理装置

Also Published As

Publication number Publication date
JP2010082779A (ja) 2010-04-15
JP5317051B2 (ja) 2013-10-16
EP2172303A1 (en) 2010-04-07

Similar Documents

Publication Publication Date Title
EP2172303B1 (en) Eyeglass lens processing refuse disposal apparatus
US7152277B2 (en) Filter assembly for cyclone type dust collecting apparatus of a vacuum cleaner
US5935435A (en) Paint can strainer
JP2024519287A (ja) 微粒子を濾過するためのフィルターユニットとフィルターユニットに使用するためのフィルターケージ
WO2020200453A1 (en) Filtering device and method for removing particles and fibers, in particular microfibers, from washing water in a washing drum
JP4522162B2 (ja) レンズ研削加工装置の研削水処理装置
JP2009039685A (ja) 遠心分離機
KR100478635B1 (ko) 진공청소기용 필터
NZ322831A (en) A filter cartridge and method
JP3728688B2 (ja) 浴室の排水口の塵取り構造
US20100300494A1 (en) Filter cartridge, and device and method for cleaning a filter cartridge
JP2008093783A (ja) フィルタ装置
CN219615807U (zh) 一种便于出料的离心机
KR100507061B1 (ko) 세탁기용 필터
JP3445829B2 (ja) 厨芥処理装置
KR200443207Y1 (ko) 싱크대설치식 음식물 탈수장치
KR100459131B1 (ko) 싸이클론 집진 장치
CN215543557U (zh) 污液回收桶
KR200189779Y1 (ko) 세탁기의 배수펌프 필터
CN214260945U (zh) 一种防回流机械浆处理装置
WO2024255154A1 (zh) 衣物处理设备
KR200180003Y1 (ko) 집수통의 침사조 설치 구조
JP2006122848A (ja) 水処理装置
KR100930234B1 (ko) 진공 청소기의 집진 장치
KR19990037485U (ko) 싱크대용 음식물 찌꺼기 처리장치

Legal Events

Date Code Title Description
PUAI Public reference made under article 153(3) epc to a published international application that has entered the european phase

Free format text: ORIGINAL CODE: 0009012

AK Designated contracting states

Kind code of ref document: A1

Designated state(s): AT BE BG CH CY CZ DE DK EE ES FI FR GB GR HR HU IE IS IT LI LT LU LV MC MK MT NL NO PL PT RO SE SI SK SM TR

AX Request for extension of the european patent

Extension state: AL BA RS

17P Request for examination filed

Effective date: 20101006

17Q First examination report despatched

Effective date: 20110615

GRAP Despatch of communication of intention to grant a patent

Free format text: ORIGINAL CODE: EPIDOSNIGR1

GRAS Grant fee paid

Free format text: ORIGINAL CODE: EPIDOSNIGR3

GRAA (expected) grant

Free format text: ORIGINAL CODE: 0009210

AK Designated contracting states

Kind code of ref document: B1

Designated state(s): AT BE BG CH CY CZ DE DK EE ES FI FR GB GR HR HU IE IS IT LI LT LU LV MC MK MT NL NO PL PT RO SE SI SK SM TR

REG Reference to a national code

Ref country code: GB

Ref legal event code: FG4D

REG Reference to a national code

Ref country code: CH

Ref legal event code: EP

REG Reference to a national code

Ref country code: AT

Ref legal event code: REF

Ref document number: 557821

Country of ref document: AT

Kind code of ref document: T

Effective date: 20120615

REG Reference to a national code

Ref country code: IE

Ref legal event code: FG4D

REG Reference to a national code

Ref country code: DE

Ref legal event code: R096

Ref document number: 602009006929

Country of ref document: DE

Effective date: 20120719

REG Reference to a national code

Ref country code: NL

Ref legal event code: VDEP

Effective date: 20120516

REG Reference to a national code

Ref country code: LT

Ref legal event code: MG4D

Effective date: 20120516

PG25 Lapsed in a contracting state [announced via postgrant information from national office to epo]

Ref country code: NO

Free format text: LAPSE BECAUSE OF FAILURE TO SUBMIT A TRANSLATION OF THE DESCRIPTION OR TO PAY THE FEE WITHIN THE PRESCRIBED TIME-LIMIT

Effective date: 20120816

Ref country code: FI

Free format text: LAPSE BECAUSE OF FAILURE TO SUBMIT A TRANSLATION OF THE DESCRIPTION OR TO PAY THE FEE WITHIN THE PRESCRIBED TIME-LIMIT

Effective date: 20120516

Ref country code: LT

Free format text: LAPSE BECAUSE OF FAILURE TO SUBMIT A TRANSLATION OF THE DESCRIPTION OR TO PAY THE FEE WITHIN THE PRESCRIBED TIME-LIMIT

Effective date: 20120516

Ref country code: PL

Free format text: LAPSE BECAUSE OF FAILURE TO SUBMIT A TRANSLATION OF THE DESCRIPTION OR TO PAY THE FEE WITHIN THE PRESCRIBED TIME-LIMIT

Effective date: 20120516

Ref country code: SE

Free format text: LAPSE BECAUSE OF FAILURE TO SUBMIT A TRANSLATION OF THE DESCRIPTION OR TO PAY THE FEE WITHIN THE PRESCRIBED TIME-LIMIT

Effective date: 20120516

Ref country code: CY

Free format text: LAPSE BECAUSE OF FAILURE TO SUBMIT A TRANSLATION OF THE DESCRIPTION OR TO PAY THE FEE WITHIN THE PRESCRIBED TIME-LIMIT

Effective date: 20120516

Ref country code: IS

Free format text: LAPSE BECAUSE OF FAILURE TO SUBMIT A TRANSLATION OF THE DESCRIPTION OR TO PAY THE FEE WITHIN THE PRESCRIBED TIME-LIMIT

Effective date: 20120916

REG Reference to a national code

Ref country code: AT

Ref legal event code: MK05

Ref document number: 557821

Country of ref document: AT

Kind code of ref document: T

Effective date: 20120516

PG25 Lapsed in a contracting state [announced via postgrant information from national office to epo]

Ref country code: PT

Free format text: LAPSE BECAUSE OF FAILURE TO SUBMIT A TRANSLATION OF THE DESCRIPTION OR TO PAY THE FEE WITHIN THE PRESCRIBED TIME-LIMIT

Effective date: 20120917

Ref country code: SI

Free format text: LAPSE BECAUSE OF FAILURE TO SUBMIT A TRANSLATION OF THE DESCRIPTION OR TO PAY THE FEE WITHIN THE PRESCRIBED TIME-LIMIT

Effective date: 20120516

Ref country code: GR

Free format text: LAPSE BECAUSE OF FAILURE TO SUBMIT A TRANSLATION OF THE DESCRIPTION OR TO PAY THE FEE WITHIN THE PRESCRIBED TIME-LIMIT

Effective date: 20120817

Ref country code: HR

Free format text: LAPSE BECAUSE OF FAILURE TO SUBMIT A TRANSLATION OF THE DESCRIPTION OR TO PAY THE FEE WITHIN THE PRESCRIBED TIME-LIMIT

Effective date: 20120516

Ref country code: LV

Free format text: LAPSE BECAUSE OF FAILURE TO SUBMIT A TRANSLATION OF THE DESCRIPTION OR TO PAY THE FEE WITHIN THE PRESCRIBED TIME-LIMIT

Effective date: 20120516

PG25 Lapsed in a contracting state [announced via postgrant information from national office to epo]

Ref country code: BE

Free format text: LAPSE BECAUSE OF FAILURE TO SUBMIT A TRANSLATION OF THE DESCRIPTION OR TO PAY THE FEE WITHIN THE PRESCRIBED TIME-LIMIT

Effective date: 20120516

PG25 Lapsed in a contracting state [announced via postgrant information from national office to epo]

Ref country code: SK

Free format text: LAPSE BECAUSE OF FAILURE TO SUBMIT A TRANSLATION OF THE DESCRIPTION OR TO PAY THE FEE WITHIN THE PRESCRIBED TIME-LIMIT

Effective date: 20120516

Ref country code: DK

Free format text: LAPSE BECAUSE OF FAILURE TO SUBMIT A TRANSLATION OF THE DESCRIPTION OR TO PAY THE FEE WITHIN THE PRESCRIBED TIME-LIMIT

Effective date: 20120516

Ref country code: EE

Free format text: LAPSE BECAUSE OF FAILURE TO SUBMIT A TRANSLATION OF THE DESCRIPTION OR TO PAY THE FEE WITHIN THE PRESCRIBED TIME-LIMIT

Effective date: 20120516

Ref country code: CZ

Free format text: LAPSE BECAUSE OF FAILURE TO SUBMIT A TRANSLATION OF THE DESCRIPTION OR TO PAY THE FEE WITHIN THE PRESCRIBED TIME-LIMIT

Effective date: 20120516

Ref country code: AT

Free format text: LAPSE BECAUSE OF FAILURE TO SUBMIT A TRANSLATION OF THE DESCRIPTION OR TO PAY THE FEE WITHIN THE PRESCRIBED TIME-LIMIT

Effective date: 20120516

Ref country code: RO

Free format text: LAPSE BECAUSE OF FAILURE TO SUBMIT A TRANSLATION OF THE DESCRIPTION OR TO PAY THE FEE WITHIN THE PRESCRIBED TIME-LIMIT

Effective date: 20120516

Ref country code: NL

Free format text: LAPSE BECAUSE OF FAILURE TO SUBMIT A TRANSLATION OF THE DESCRIPTION OR TO PAY THE FEE WITHIN THE PRESCRIBED TIME-LIMIT

Effective date: 20120516

PG25 Lapsed in a contracting state [announced via postgrant information from national office to epo]

Ref country code: IT

Free format text: LAPSE BECAUSE OF FAILURE TO SUBMIT A TRANSLATION OF THE DESCRIPTION OR TO PAY THE FEE WITHIN THE PRESCRIBED TIME-LIMIT

Effective date: 20120516

PLBE No opposition filed within time limit

Free format text: ORIGINAL CODE: 0009261

STAA Information on the status of an ep patent application or granted ep patent

Free format text: STATUS: NO OPPOSITION FILED WITHIN TIME LIMIT

26N No opposition filed

Effective date: 20130219

PG25 Lapsed in a contracting state [announced via postgrant information from national office to epo]

Ref country code: MC

Free format text: LAPSE BECAUSE OF NON-PAYMENT OF DUE FEES

Effective date: 20120930

Ref country code: ES

Free format text: LAPSE BECAUSE OF FAILURE TO SUBMIT A TRANSLATION OF THE DESCRIPTION OR TO PAY THE FEE WITHIN THE PRESCRIBED TIME-LIMIT

Effective date: 20120827

REG Reference to a national code

Ref country code: DE

Ref legal event code: R097

Ref document number: 602009006929

Country of ref document: DE

Effective date: 20130219

REG Reference to a national code

Ref country code: IE

Ref legal event code: MM4A

PG25 Lapsed in a contracting state [announced via postgrant information from national office to epo]

Ref country code: IE

Free format text: LAPSE BECAUSE OF NON-PAYMENT OF DUE FEES

Effective date: 20120930

Ref country code: BG

Free format text: LAPSE BECAUSE OF FAILURE TO SUBMIT A TRANSLATION OF THE DESCRIPTION OR TO PAY THE FEE WITHIN THE PRESCRIBED TIME-LIMIT

Effective date: 20120816

PG25 Lapsed in a contracting state [announced via postgrant information from national office to epo]

Ref country code: MT

Free format text: LAPSE BECAUSE OF FAILURE TO SUBMIT A TRANSLATION OF THE DESCRIPTION OR TO PAY THE FEE WITHIN THE PRESCRIBED TIME-LIMIT

Effective date: 20120516

PG25 Lapsed in a contracting state [announced via postgrant information from national office to epo]

Ref country code: TR

Free format text: LAPSE BECAUSE OF FAILURE TO SUBMIT A TRANSLATION OF THE DESCRIPTION OR TO PAY THE FEE WITHIN THE PRESCRIBED TIME-LIMIT

Effective date: 20120516

REG Reference to a national code

Ref country code: CH

Ref legal event code: PL

PG25 Lapsed in a contracting state [announced via postgrant information from national office to epo]

Ref country code: LU

Free format text: LAPSE BECAUSE OF NON-PAYMENT OF DUE FEES

Effective date: 20120930

Ref country code: SM

Free format text: LAPSE BECAUSE OF FAILURE TO SUBMIT A TRANSLATION OF THE DESCRIPTION OR TO PAY THE FEE WITHIN THE PRESCRIBED TIME-LIMIT

Effective date: 20120516

PG25 Lapsed in a contracting state [announced via postgrant information from national office to epo]

Ref country code: HU

Free format text: LAPSE BECAUSE OF FAILURE TO SUBMIT A TRANSLATION OF THE DESCRIPTION OR TO PAY THE FEE WITHIN THE PRESCRIBED TIME-LIMIT

Effective date: 20090930

Ref country code: CH

Free format text: LAPSE BECAUSE OF NON-PAYMENT OF DUE FEES

Effective date: 20130930

Ref country code: LI

Free format text: LAPSE BECAUSE OF NON-PAYMENT OF DUE FEES

Effective date: 20130930

PG25 Lapsed in a contracting state [announced via postgrant information from national office to epo]

Ref country code: MK

Free format text: LAPSE BECAUSE OF FAILURE TO SUBMIT A TRANSLATION OF THE DESCRIPTION OR TO PAY THE FEE WITHIN THE PRESCRIBED TIME-LIMIT

Effective date: 20120516

REG Reference to a national code

Ref country code: FR

Ref legal event code: PLFP

Year of fee payment: 8

REG Reference to a national code

Ref country code: FR

Ref legal event code: PLFP

Year of fee payment: 9

REG Reference to a national code

Ref country code: FR

Ref legal event code: PLFP

Year of fee payment: 10

PGFP Annual fee paid to national office [announced via postgrant information from national office to epo]

Ref country code: DE

Payment date: 20190917

Year of fee payment: 11

REG Reference to a national code

Ref country code: DE

Ref legal event code: R119

Ref document number: 602009006929

Country of ref document: DE

PG25 Lapsed in a contracting state [announced via postgrant information from national office to epo]

Ref country code: DE

Free format text: LAPSE BECAUSE OF NON-PAYMENT OF DUE FEES

Effective date: 20210401

PGFP Annual fee paid to national office [announced via postgrant information from national office to epo]

Ref country code: GB

Payment date: 20210825

Year of fee payment: 13

GBPC Gb: european patent ceased through non-payment of renewal fee

Effective date: 20220930

P01 Opt-out of the competence of the unified patent court (upc) registered

Effective date: 20230509

PG25 Lapsed in a contracting state [announced via postgrant information from national office to epo]

Ref country code: GB

Free format text: LAPSE BECAUSE OF NON-PAYMENT OF DUE FEES

Effective date: 20220930

PGFP Annual fee paid to national office [announced via postgrant information from national office to epo]

Ref country code: FR

Payment date: 20250808

Year of fee payment: 17