EP2091402B1 - Arrangement for mounting a dust bag to a vacuum cleaner - Google Patents
Arrangement for mounting a dust bag to a vacuum cleaner Download PDFInfo
- Publication number
- EP2091402B1 EP2091402B1 EP07848193A EP07848193A EP2091402B1 EP 2091402 B1 EP2091402 B1 EP 2091402B1 EP 07848193 A EP07848193 A EP 07848193A EP 07848193 A EP07848193 A EP 07848193A EP 2091402 B1 EP2091402 B1 EP 2091402B1
- Authority
- EP
- European Patent Office
- Prior art keywords
- ring flange
- mounting
- arrangement
- locking
- mounting collar
- Prior art date
- Legal status (The legal status is an assumption and is not a legal conclusion. Google has not performed a legal analysis and makes no representation as to the accuracy of the status listed.)
- Not-in-force
Links
- 239000000428 dust Substances 0.000 title claims abstract description 46
- 239000000853 adhesive Substances 0.000 description 6
- 230000001070 adhesive effect Effects 0.000 description 6
- 238000007789 sealing Methods 0.000 description 3
- 238000000034 method Methods 0.000 description 2
- 229920003023 plastic Polymers 0.000 description 2
- 230000004888 barrier function Effects 0.000 description 1
- 229920002457 flexible plastic Polymers 0.000 description 1
- 239000003292 glue Substances 0.000 description 1
- 239000000463 material Substances 0.000 description 1
- 239000002184 metal Substances 0.000 description 1
- 238000003825 pressing Methods 0.000 description 1
- 238000004513 sizing Methods 0.000 description 1
- 210000000707 wrist Anatomy 0.000 description 1
Images
Classifications
-
- A—HUMAN NECESSITIES
- A47—FURNITURE; DOMESTIC ARTICLES OR APPLIANCES; COFFEE MILLS; SPICE MILLS; SUCTION CLEANERS IN GENERAL
- A47L—DOMESTIC WASHING OR CLEANING; SUCTION CLEANERS IN GENERAL
- A47L9/00—Details or accessories of suction cleaners, e.g. mechanical means for controlling the suction or for effecting pulsating action; Storing devices specially adapted to suction cleaners or parts thereof; Carrying-vehicles specially adapted for suction cleaners
- A47L9/10—Filters; Dust separators; Dust removal; Automatic exchange of filters
- A47L9/14—Bags or the like; Rigid filtering receptacles; Attachment of, or closures for, bags or receptacles
- A47L9/1427—Means for mounting or attaching bags or filtering receptacles in suction cleaners; Adapters
-
- A—HUMAN NECESSITIES
- A47—FURNITURE; DOMESTIC ARTICLES OR APPLIANCES; COFFEE MILLS; SPICE MILLS; SUCTION CLEANERS IN GENERAL
- A47L—DOMESTIC WASHING OR CLEANING; SUCTION CLEANERS IN GENERAL
- A47L9/00—Details or accessories of suction cleaners, e.g. mechanical means for controlling the suction or for effecting pulsating action; Storing devices specially adapted to suction cleaners or parts thereof; Carrying-vehicles specially adapted for suction cleaners
- A47L9/10—Filters; Dust separators; Dust removal; Automatic exchange of filters
- A47L9/14—Bags or the like; Rigid filtering receptacles; Attachment of, or closures for, bags or receptacles
- A47L9/1427—Means for mounting or attaching bags or filtering receptacles in suction cleaners; Adapters
- A47L9/1436—Connecting plates, e.g. collars, end closures
Definitions
- the invention relates to an arrangement for mounting a dust bag to a vacuum cleaner.
- the dust bag of a vacuum cleaner is supported on the vacuum cleaner with a mounting plate, which is a plate glued onto the dust bag and normally made of cardboard. Mounting and inserting the plate into a slot of a corresponding size in the vacuum cleaner is easy and simple.
- the document US-A-2 945 558 describes an arrangement for mounting a dust bag to a vacuum cleaner according to the preamble of claim 1.
- the objective of the invention is to eliminate the drawbacks referred to above.
- One specific objective of the invention is to disclose a new type of mounting and releasing arrangement for the dust bag of a vacuum cleaner, enabling easy and simple handling of the dust bag and ensuring that the dust bag is properly mounted and placed in the vacuum cleaner at all times and remains leak-proof during suction as well as when the dust bag is filled to the limit.
- the arrangement for mounting a dust bag to a vacuum cleaner in accordance with the invention comprises a cylindrical mounting collar coupled to the dust bag and a cylindrical ring flange supported on the vacuum cleaner and corresponding to the mounting collar.
- the mounting collar and the ring flange comprise cylindrical mounting surfaces that can be placed against each other for locking the mounting collar and the ring flange together so that one is within the other.
- the cylindrical mounting surfaces of the mounting collar and the ring flange are divided for their entire circumference into an even number of equally long surface portions. Every other surface portion on the mounting collar and the ring flange forms a locking zone, and the surface portions between the locking zones form a free zone.
- the mounting collar and the ring flange can be pressed against each other into a locked position.
- the locking zone of one portion becomes aligned with the free zone of another portion, this applying to each zone of the surface portions, so that the portions are thus entirely free from being locked to each other and are detached from each other.
- the locking zones of the mounting collar and the ring flange comprise a locking shoulder and a counter shoulder which extend to each other in a locked position, i.e. they contact each other.
- a locking shoulder and a counter shoulder snappingly slide over each other due to flexibility of the material used therein, locking said portions against each other sufficiently tightly and thereby forming a dustproof unity.
- the locking shoulder and the counter shoulder are both ridges which extend substantially over the entire length of a locking zone and slip over each other when being locked. It is also possible that they are suitable shorter nodules or the like. As a locking shoulder is uniform and long, a counter shoulder may only be a projection comprising just one or more separate point-like plugs or nodules.
- the locking zones and the free zones are separated from each other by a rotary stop which a locking shoulder or a counter shoulder is arranged to hit when the mounting collar and the ring flange are rotated relative to each other in the position where they are mounted together.
- a suitable rotary stop separates the locking zones and the free zones from each other, i.e. forms barriers between them.
- the rotary stop is thus preferably formed by a round-shaped nodule, protrusion or ridge over which a locking shoulder or a counter shoulder can be rotated with sufficient force.
- the rotary stop consequently functions as a locking means preventing the mounting collar and the ring flange from rotating relative to each other spontaneously or accidentally.
- the cylindrical mounting surfaces of the mounting collar and the ring flange are equally long in the direction of the perimeter and that they are divided into an even number of surface portions. Preferably, they are divided into four, six or eight equally long surface portions, these numbers providing an angle of rotation for the release which is optimal for the movements of the hand and wrist. In other words, the angle of rotation is sufficiently large to be managed and sensed, but at the same time sufficiently small to be realized in a single rotary motion by the joints of the hand.
- the locking zones are formed on the inner surface of the mounting collar and the outer surface of the ring flange, in which case the mounting collar can be mounted around the ring flange. In another embodiment of the invention, the locking zones are formed on the outer surface of the mounting collar and the inner surface of the ring flange, in which case the mounting collar can be mounted inside the ring flange.
- the mounting collar and the ring flange are locking indicators which indicate the locked position between the mounting collar and the ring flange when placed in alignment with each other.
- the indicators may comprise projections, protrusions, recesses or openings of different shapes, these shapes corresponding to each other, such that the user immediately understands the meaning of placing them in alignment with each other.
- the ring flange is formed as an integral piece uniform with the mounting plate of a specific vacuum cleaner model.
- the dust bag can be joined to the vacuum cleaner such that the dust bag provided with the mounting collar is tightly mounted to the ring flange on the mounting plate by pressing the plastic parts together into a tight snap-joint. The dust bag can then be mounted to the vacuum cleaner in the manner known per se by means of the mounting plate.
- the mounting plate comprises exact indicators which show the position in which the dust bag provided with the mounting collar can be pressed directly against the mounting plate into the locked position, it preferably also comprises guide marks indicating the release direction of the dust bag.
- the release direction most suitably comprises both directions from the locked position, so that the release process is as easy and quick as possible, and it is not even necessary to see the guide marks.
- a separate seal ring can be used between the mounting collar and the ring flange for joining the dust bag tightly to the vacuum cleaner.
- the mounting collar or the ring flange comprises as an integral part a ring-shaped seal which ensures tightness of the joint.
- the ring flange is a substantial and integral part of the vacuum cleaner, i.e. the vacuum cleaner comprises a fixed ring flange made either form metal or plastic.
- the mounting collar provided with the dust bag is mounted directly to the vacuum cleaner.
- the arrangement for mounting a dust bag to a vacuum cleaner in accordance with the invention has considerable advantages compared to the prior art. Thanks to the invention, mounting and releasing the dust bag is simple and secure. The user is always informed of how the dust bag is mounted and how it is released. This prevents the dust bag from breaking during handling.
- Fig. 1 shows one arrangement for mounting a dust bag to a vacuum cleaner in accordance with the invention.
- the arrangement comprises a ring-shaped mounting collar 1 with a cylindrical mounting surface 3 on the inner surface.
- the mounting surface is divided into six arcs of 60 degrees, in which every other one forms a locking zone 5 and the ones between them are free zones 7.
- the free zones 7 are smooth and even arched surfaces, but the lower edges of the locking zones 5 comprise locking shoulders 9, i.e. ridges, which extend substantially over the entire length of the arc in that zone and inwards toward the center of the mounting collar.
- the other end of the mounting collar 1 comprises a planar support ring 18 to which the dust bag, not shown in the figure, can be mounted for example by glue or adhesive surface. Flexibility gaps 19 have been arranged onto the support ring 18 in alignment with each locking shoulder 9. These gaps ensure sufficient flexibility for the zones comprising the locking shoulders.
- a round and cylindrical ring flange 2 with a cylindrical mounting surface 4 on the outer surface is an integral part of a mounting plate 14 which is specific for each vacuum cleaner model and can be supported on and inserted into the mounting slot of a vacuum cleaner in a manner known per se.
- the outer surface, i.e. the mounting surface 4, of the ring flange 2 is correspondingly divided into six arcs of 60 degrees, in which every other one forms a locking zone 6 and the spaces between them form free zones 8.
- the free zones 8 are smooth and even arched surfaces, while the locking zones 6 comprise counter shoulders 10 extending over the entire length of the arc in that zone.
- the locking zones 6 and the free zones 8 are separated from each other by rotary stops 11, i.e. shoulders or ridges, that are transverse relative to the direction of the arc and extend from the arched surfaces substantially to a height that is equal to that of the counter shoulders 10.
- the mounting collar 1 when the mounting collar 1 is placed over the ring flange 2 such that their free zones 7 and 8 are in alignment and their locking zones 5 and 6 are correspondingly in alignment, the mounting collar 1 can simply be pressed against the ring flange 2 and around it.
- the locking shoulders 9 and the counter shoulders 10 of the locking zones thus slide over each other snappingly, such that the locking shoulders 9 become locked behind the counter shoulders 10 and between the rotary stops 11.
- the joint becomes appropriately leak-proof and tight.
- the dust bag coupled to the mounting collar 1 can be joined to the mounting plate 14 which can then be mounted to the vacuum cleaner in a manner known per se.
- the rotary stops 11 are so dimensioned in size that the locking shoulders 9 of the mounting collar 1 can be relatively easily rotated over the rotary stops so that they become aligned with the free zones 8 of the ring flange 2.
- the counter shoulders of the ring flange 2 are rotated so that they become aligned with the free zones 7 of the mounting collar 1, such that the smooth free zones no longer hold the mounting collar and the ring flange together; instead, they are completely detached from each other.
- a locking indicator 12 i.e. a round-shaped protrusion
- a corresponding shape in the corresponding position on the mounting plate 14 is realized by an open-shaped indicator 13.
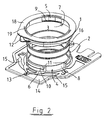
- Fig. 2 shows a second embodiment of the invention, which corresponds in structure and operation to the embodiment of Fig. 1 .
- the sole differences therein are another shape of the mounting plate 14, i.e. compatibility with another vacuum cleaner model, and another solution for sealing the joint.
- sealing between the mounting collar 1 and the ring flange 2 has been realized with a separate seal ring 16.
- the seal ring 16 made for example from rubber or flexible plastic is arranged to seal the joint when the parts are pressed against each other.
- Fig. 3 shows a third embodiment of the invention, wherein the parts corresponding to the other figures are indicated with the same reference numbers.
- the difference in this embodiment is a simpler mounting collar 1 having a lighter structure, in which a thin cylindrical jacket and a narrow support ring 18 for the dust bag form a sufficiently flexible ring which yields to provide the desired locking between the locking shoulders 9 and the counter shoulders 10.
- sealing between parts 1 and 2 that are to be joined together has been realized with a thin ring-shaped seal 17 which extends outwards from the cylindrical ring flange 2 against the inner edge of the support ring 18 on the mounting collar 1.
Landscapes
- Engineering & Computer Science (AREA)
- Mechanical Engineering (AREA)
- Filters For Electric Vacuum Cleaners (AREA)
Priority Applications (1)
| Application Number | Priority Date | Filing Date | Title |
|---|---|---|---|
| PL07848193T PL2091402T3 (pl) | 2006-12-07 | 2007-12-05 | Zespół do mocowania worka w odkurzaczu |
Applications Claiming Priority (2)
| Application Number | Priority Date | Filing Date | Title |
|---|---|---|---|
| FI20061083A FI119170B (fi) | 2006-12-07 | 2006-12-07 | Järjestely pölypussin kiinnittämiseksi pölynimuriin |
| PCT/FI2007/050661 WO2008068384A1 (en) | 2006-12-07 | 2007-12-05 | Arrangement for mounting a dust bag to a vacuum cleaner |
Publications (3)
| Publication Number | Publication Date |
|---|---|
| EP2091402A1 EP2091402A1 (en) | 2009-08-26 |
| EP2091402A4 EP2091402A4 (en) | 2011-06-08 |
| EP2091402B1 true EP2091402B1 (en) | 2012-01-11 |
Family
ID=37623717
Family Applications (1)
| Application Number | Title | Priority Date | Filing Date |
|---|---|---|---|
| EP07848193A Not-in-force EP2091402B1 (en) | 2006-12-07 | 2007-12-05 | Arrangement for mounting a dust bag to a vacuum cleaner |
Country Status (5)
| Country | Link |
|---|---|
| EP (1) | EP2091402B1 (pl) |
| AT (1) | ATE540603T1 (pl) |
| FI (1) | FI119170B (pl) |
| PL (1) | PL2091402T3 (pl) |
| WO (1) | WO2008068384A1 (pl) |
Family Cites Families (4)
| Publication number | Priority date | Publication date | Assignee | Title |
|---|---|---|---|---|
| US2945558A (en) * | 1958-01-21 | 1960-07-19 | Studley Paper Company Inc | Disposable filter bag |
| US5464460A (en) * | 1994-04-14 | 1995-11-07 | Home Care Industries, Inc. | Disposable dust bag for vacuum cleaner and the like |
| FR2770762B1 (fr) * | 1997-11-13 | 2000-01-28 | Seb Sa | Dispositif de connexion d'un sac a poussieres d'aspirateur |
| SE522489C2 (sv) * | 2000-08-24 | 2004-02-10 | Carl Kyrk | Förfarande för att modifiera en dammsugarpåse |
-
2006
- 2006-12-07 FI FI20061083A patent/FI119170B/fi not_active IP Right Cessation
-
2007
- 2007-12-05 WO PCT/FI2007/050661 patent/WO2008068384A1/en not_active Ceased
- 2007-12-05 AT AT07848193T patent/ATE540603T1/de active
- 2007-12-05 PL PL07848193T patent/PL2091402T3/pl unknown
- 2007-12-05 EP EP07848193A patent/EP2091402B1/en not_active Not-in-force
Also Published As
| Publication number | Publication date |
|---|---|
| PL2091402T3 (pl) | 2012-07-31 |
| EP2091402A1 (en) | 2009-08-26 |
| FI20061083L (fi) | 2008-06-08 |
| ATE540603T1 (de) | 2012-01-15 |
| FI20061083A0 (sv) | 2006-12-07 |
| FI119170B (fi) | 2008-08-29 |
| WO2008068384A1 (en) | 2008-06-12 |
| EP2091402A4 (en) | 2011-06-08 |
Similar Documents
| Publication | Publication Date | Title |
|---|---|---|
| JP5192806B2 (ja) | 注射器又はカートリッジ、クロージング・キャップ、及び混合器を含む分配アセンブリ | |
| JPS5915784Y2 (ja) | 密封装置 | |
| JP4634299B2 (ja) | リップ型シール | |
| CN101663211B (zh) | 容器 | |
| AU2016406757B2 (en) | Connector plate for a vacuum cleaner dust container and a dust container | |
| US8720955B2 (en) | Connecting device for connecting a flexible container to a flange or a connecting ring | |
| JP2009539711A (ja) | 方向付けおよび取り外し可能なクロージャシステム | |
| US20100254840A1 (en) | mechanical sealing device, and a pump | |
| CN115135412A (zh) | 具有增强的密封性能的容器 | |
| EP2091402B1 (en) | Arrangement for mounting a dust bag to a vacuum cleaner | |
| JP2592358B2 (ja) | 管継手 | |
| JP2013075673A (ja) | 二重容器 | |
| JP6232343B2 (ja) | 蓋付カップ容器 | |
| US20040245262A1 (en) | Closing lower part with a retaining rib | |
| JP2010155626A (ja) | 蓋付き容器 | |
| EP3544478B1 (en) | Holder for vacuum cleaner dust container | |
| JP2003335353A (ja) | 気密容器 | |
| JP5033663B2 (ja) | 容器 | |
| JP5055167B2 (ja) | 容器 | |
| JP2012013159A (ja) | バタフライ弁 | |
| JP5386427B2 (ja) | 乾燥機 | |
| JP2010036914A (ja) | 二重容器 | |
| JP4538389B2 (ja) | エアークリーナ | |
| JP2017114487A (ja) | 缶キャップ | |
| JP5649107B2 (ja) | 蓋体付き容器 |
Legal Events
| Date | Code | Title | Description |
|---|---|---|---|
| PUAI | Public reference made under article 153(3) epc to a published international application that has entered the european phase |
Free format text: ORIGINAL CODE: 0009012 |
|
| 17P | Request for examination filed |
Effective date: 20090623 |
|
| AK | Designated contracting states |
Kind code of ref document: A1 Designated state(s): AT BE BG CH CY CZ DE DK EE ES FI FR GB GR HU IE IS IT LI LT LU LV MC MT NL PL PT RO SE SI SK TR |
|
| DAX | Request for extension of the european patent (deleted) | ||
| A4 | Supplementary search report drawn up and despatched |
Effective date: 20110506 |
|
| GRAP | Despatch of communication of intention to grant a patent |
Free format text: ORIGINAL CODE: EPIDOSNIGR1 |
|
| RIC1 | Information provided on ipc code assigned before grant |
Ipc: A47L 9/14 20060101AFI20110705BHEP |
|
| GRAS | Grant fee paid |
Free format text: ORIGINAL CODE: EPIDOSNIGR3 |
|
| GRAA | (expected) grant |
Free format text: ORIGINAL CODE: 0009210 |
|
| AK | Designated contracting states |
Kind code of ref document: B1 Designated state(s): AT BE BG CH CY CZ DE DK EE ES FI FR GB GR HU IE IS IT LI LT LU LV MC MT NL PL PT RO SE SI SK TR |
|
| REG | Reference to a national code |
Ref country code: GB Ref legal event code: FG4D |
|
| REG | Reference to a national code |
Ref country code: CH Ref legal event code: EP |
|
| REG | Reference to a national code |
Ref country code: AT Ref legal event code: REF Ref document number: 540603 Country of ref document: AT Kind code of ref document: T Effective date: 20120115 |
|
| REG | Reference to a national code |
Ref country code: IE Ref legal event code: FG4D |
|
| REG | Reference to a national code |
Ref country code: DE Ref legal event code: R096 Ref document number: 602007020069 Country of ref document: DE Effective date: 20120308 |
|
| REG | Reference to a national code |
Ref country code: SE Ref legal event code: TRGR |
|
| REG | Reference to a national code |
Ref country code: NL Ref legal event code: VDEP Effective date: 20120111 |
|
| PG25 | Lapsed in a contracting state [announced via postgrant information from national office to epo] |
Ref country code: SI Free format text: LAPSE BECAUSE OF FAILURE TO SUBMIT A TRANSLATION OF THE DESCRIPTION OR TO PAY THE FEE WITHIN THE PRESCRIBED TIME-LIMIT Effective date: 20120111 |
|
| LTIE | Lt: invalidation of european patent or patent extension |
Effective date: 20120111 |
|
| PG25 | Lapsed in a contracting state [announced via postgrant information from national office to epo] |
Ref country code: IS Free format text: LAPSE BECAUSE OF FAILURE TO SUBMIT A TRANSLATION OF THE DESCRIPTION OR TO PAY THE FEE WITHIN THE PRESCRIBED TIME-LIMIT Effective date: 20120511 Ref country code: NL Free format text: LAPSE BECAUSE OF FAILURE TO SUBMIT A TRANSLATION OF THE DESCRIPTION OR TO PAY THE FEE WITHIN THE PRESCRIBED TIME-LIMIT Effective date: 20120111 Ref country code: BG Free format text: LAPSE BECAUSE OF FAILURE TO SUBMIT A TRANSLATION OF THE DESCRIPTION OR TO PAY THE FEE WITHIN THE PRESCRIBED TIME-LIMIT Effective date: 20120411 Ref country code: BE Free format text: LAPSE BECAUSE OF FAILURE TO SUBMIT A TRANSLATION OF THE DESCRIPTION OR TO PAY THE FEE WITHIN THE PRESCRIBED TIME-LIMIT Effective date: 20120111 Ref country code: LT Free format text: LAPSE BECAUSE OF FAILURE TO SUBMIT A TRANSLATION OF THE DESCRIPTION OR TO PAY THE FEE WITHIN THE PRESCRIBED TIME-LIMIT Effective date: 20120111 |
|
| REG | Reference to a national code |
Ref country code: PL Ref legal event code: T3 |
|
| PG25 | Lapsed in a contracting state [announced via postgrant information from national office to epo] |
Ref country code: PT Free format text: LAPSE BECAUSE OF FAILURE TO SUBMIT A TRANSLATION OF THE DESCRIPTION OR TO PAY THE FEE WITHIN THE PRESCRIBED TIME-LIMIT Effective date: 20120511 Ref country code: LV Free format text: LAPSE BECAUSE OF FAILURE TO SUBMIT A TRANSLATION OF THE DESCRIPTION OR TO PAY THE FEE WITHIN THE PRESCRIBED TIME-LIMIT Effective date: 20120111 Ref country code: FI Free format text: LAPSE BECAUSE OF FAILURE TO SUBMIT A TRANSLATION OF THE DESCRIPTION OR TO PAY THE FEE WITHIN THE PRESCRIBED TIME-LIMIT Effective date: 20120111 Ref country code: GR Free format text: LAPSE BECAUSE OF FAILURE TO SUBMIT A TRANSLATION OF THE DESCRIPTION OR TO PAY THE FEE WITHIN THE PRESCRIBED TIME-LIMIT Effective date: 20120412 |
|
| REG | Reference to a national code |
Ref country code: AT Ref legal event code: MK05 Ref document number: 540603 Country of ref document: AT Kind code of ref document: T Effective date: 20120111 |
|
| PG25 | Lapsed in a contracting state [announced via postgrant information from national office to epo] |
Ref country code: CY Free format text: LAPSE BECAUSE OF FAILURE TO SUBMIT A TRANSLATION OF THE DESCRIPTION OR TO PAY THE FEE WITHIN THE PRESCRIBED TIME-LIMIT Effective date: 20120111 |
|
| PG25 | Lapsed in a contracting state [announced via postgrant information from national office to epo] |
Ref country code: CZ Free format text: LAPSE BECAUSE OF FAILURE TO SUBMIT A TRANSLATION OF THE DESCRIPTION OR TO PAY THE FEE WITHIN THE PRESCRIBED TIME-LIMIT Effective date: 20120111 Ref country code: RO Free format text: LAPSE BECAUSE OF FAILURE TO SUBMIT A TRANSLATION OF THE DESCRIPTION OR TO PAY THE FEE WITHIN THE PRESCRIBED TIME-LIMIT Effective date: 20120111 Ref country code: DK Free format text: LAPSE BECAUSE OF FAILURE TO SUBMIT A TRANSLATION OF THE DESCRIPTION OR TO PAY THE FEE WITHIN THE PRESCRIBED TIME-LIMIT Effective date: 20120111 Ref country code: EE Free format text: LAPSE BECAUSE OF FAILURE TO SUBMIT A TRANSLATION OF THE DESCRIPTION OR TO PAY THE FEE WITHIN THE PRESCRIBED TIME-LIMIT Effective date: 20120111 |
|
| PLBE | No opposition filed within time limit |
Free format text: ORIGINAL CODE: 0009261 |
|
| STAA | Information on the status of an ep patent application or granted ep patent |
Free format text: STATUS: NO OPPOSITION FILED WITHIN TIME LIMIT |
|
| PG25 | Lapsed in a contracting state [announced via postgrant information from national office to epo] |
Ref country code: SK Free format text: LAPSE BECAUSE OF FAILURE TO SUBMIT A TRANSLATION OF THE DESCRIPTION OR TO PAY THE FEE WITHIN THE PRESCRIBED TIME-LIMIT Effective date: 20120111 Ref country code: IT Free format text: LAPSE BECAUSE OF FAILURE TO SUBMIT A TRANSLATION OF THE DESCRIPTION OR TO PAY THE FEE WITHIN THE PRESCRIBED TIME-LIMIT Effective date: 20120111 |
|
| 26N | No opposition filed |
Effective date: 20121012 |
|
| PG25 | Lapsed in a contracting state [announced via postgrant information from national office to epo] |
Ref country code: AT Free format text: LAPSE BECAUSE OF FAILURE TO SUBMIT A TRANSLATION OF THE DESCRIPTION OR TO PAY THE FEE WITHIN THE PRESCRIBED TIME-LIMIT Effective date: 20120111 |
|
| REG | Reference to a national code |
Ref country code: DE Ref legal event code: R097 Ref document number: 602007020069 Country of ref document: DE Effective date: 20121012 |
|
| PG25 | Lapsed in a contracting state [announced via postgrant information from national office to epo] |
Ref country code: ES Free format text: LAPSE BECAUSE OF FAILURE TO SUBMIT A TRANSLATION OF THE DESCRIPTION OR TO PAY THE FEE WITHIN THE PRESCRIBED TIME-LIMIT Effective date: 20120422 |
|
| PG25 | Lapsed in a contracting state [announced via postgrant information from national office to epo] |
Ref country code: MC Free format text: LAPSE BECAUSE OF NON-PAYMENT OF DUE FEES Effective date: 20121231 |
|
| REG | Reference to a national code |
Ref country code: CH Ref legal event code: PL |
|
| REG | Reference to a national code |
Ref country code: IE Ref legal event code: MM4A |
|
| PG25 | Lapsed in a contracting state [announced via postgrant information from national office to epo] |
Ref country code: IE Free format text: LAPSE BECAUSE OF NON-PAYMENT OF DUE FEES Effective date: 20121205 Ref country code: CH Free format text: LAPSE BECAUSE OF NON-PAYMENT OF DUE FEES Effective date: 20121231 Ref country code: LI Free format text: LAPSE BECAUSE OF NON-PAYMENT OF DUE FEES Effective date: 20121231 |
|
| PG25 | Lapsed in a contracting state [announced via postgrant information from national office to epo] |
Ref country code: MT Free format text: LAPSE BECAUSE OF FAILURE TO SUBMIT A TRANSLATION OF THE DESCRIPTION OR TO PAY THE FEE WITHIN THE PRESCRIBED TIME-LIMIT Effective date: 20120111 |
|
| PG25 | Lapsed in a contracting state [announced via postgrant information from national office to epo] |
Ref country code: TR Free format text: LAPSE BECAUSE OF FAILURE TO SUBMIT A TRANSLATION OF THE DESCRIPTION OR TO PAY THE FEE WITHIN THE PRESCRIBED TIME-LIMIT Effective date: 20120111 |
|
| PG25 | Lapsed in a contracting state [announced via postgrant information from national office to epo] |
Ref country code: LU Free format text: LAPSE BECAUSE OF NON-PAYMENT OF DUE FEES Effective date: 20121205 |
|
| PG25 | Lapsed in a contracting state [announced via postgrant information from national office to epo] |
Ref country code: HU Free format text: LAPSE BECAUSE OF FAILURE TO SUBMIT A TRANSLATION OF THE DESCRIPTION OR TO PAY THE FEE WITHIN THE PRESCRIBED TIME-LIMIT Effective date: 20071205 |
|
| REG | Reference to a national code |
Ref country code: FR Ref legal event code: PLFP Year of fee payment: 9 |
|
| REG | Reference to a national code |
Ref country code: FR Ref legal event code: PLFP Year of fee payment: 10 |
|
| PGFP | Annual fee paid to national office [announced via postgrant information from national office to epo] |
Ref country code: GB Payment date: 20161220 Year of fee payment: 10 |
|
| PGFP | Annual fee paid to national office [announced via postgrant information from national office to epo] |
Ref country code: PL Payment date: 20161201 Year of fee payment: 10 Ref country code: SE Payment date: 20161221 Year of fee payment: 10 Ref country code: FR Payment date: 20161213 Year of fee payment: 10 |
|
| PGFP | Annual fee paid to national office [announced via postgrant information from national office to epo] |
Ref country code: DE Payment date: 20161222 Year of fee payment: 10 |
|
| REG | Reference to a national code |
Ref country code: DE Ref legal event code: R119 Ref document number: 602007020069 Country of ref document: DE |
|
| GBPC | Gb: european patent ceased through non-payment of renewal fee |
Effective date: 20171205 |
|
| PG25 | Lapsed in a contracting state [announced via postgrant information from national office to epo] |
Ref country code: SE Free format text: LAPSE BECAUSE OF NON-PAYMENT OF DUE FEES Effective date: 20171206 |
|
| REG | Reference to a national code |
Ref country code: FR Ref legal event code: ST Effective date: 20180831 |
|
| PG25 | Lapsed in a contracting state [announced via postgrant information from national office to epo] |
Ref country code: FR Free format text: LAPSE BECAUSE OF NON-PAYMENT OF DUE FEES Effective date: 20180102 Ref country code: DE Free format text: LAPSE BECAUSE OF NON-PAYMENT OF DUE FEES Effective date: 20180703 |
|
| PG25 | Lapsed in a contracting state [announced via postgrant information from national office to epo] |
Ref country code: GB Free format text: LAPSE BECAUSE OF NON-PAYMENT OF DUE FEES Effective date: 20171205 |
|
| PG25 | Lapsed in a contracting state [announced via postgrant information from national office to epo] |
Ref country code: PL Free format text: LAPSE BECAUSE OF NON-PAYMENT OF DUE FEES Effective date: 20171205 |