EP2013115B9 - Druckdose mit innenhülse - Google Patents

Druckdose mit innenhülse Download PDF

Info

Publication number
EP2013115B9
EP2013115B9 EP07724566A EP07724566A EP2013115B9 EP 2013115 B9 EP2013115 B9 EP 2013115B9 EP 07724566 A EP07724566 A EP 07724566A EP 07724566 A EP07724566 A EP 07724566A EP 2013115 B9 EP2013115 B9 EP 2013115B9
Authority
EP
European Patent Office
Prior art keywords
inner sleeve
base
plunger
closure
dispenser
Prior art date
Legal status (The legal status is an assumption and is not a legal conclusion. Google has not performed a legal analysis and makes no representation as to the accuracy of the status listed.)
Active
Application number
EP07724566A
Other languages
English (en)
French (fr)
Other versions
EP2013115B1 (de
EP2013115A1 (de
Inventor
Mihály RIDEG
Current Assignee (The listed assignees may be inaccurate. Google has not performed a legal analysis and makes no representation or warranty as to the accuracy of the list.)
Werner Hans Juergen
Original Assignee
Werner Hans Juergen
Priority date (The priority date is an assumption and is not a legal conclusion. Google has not performed a legal analysis and makes no representation as to the accuracy of the date listed.)
Filing date
Publication date
Application filed by Werner Hans Juergen filed Critical Werner Hans Juergen
Priority to PL07724566T priority Critical patent/PL2013115T3/pl
Publication of EP2013115A1 publication Critical patent/EP2013115A1/de
Application granted granted Critical
Publication of EP2013115B1 publication Critical patent/EP2013115B1/de
Publication of EP2013115B9 publication Critical patent/EP2013115B9/de
Active legal-status Critical Current
Anticipated expiration legal-status Critical

Links

Images

Classifications

    • BPERFORMING OPERATIONS; TRANSPORTING
    • B65CONVEYING; PACKING; STORING; HANDLING THIN OR FILAMENTARY MATERIAL
    • B65DCONTAINERS FOR STORAGE OR TRANSPORT OF ARTICLES OR MATERIALS, e.g. BAGS, BARRELS, BOTTLES, BOXES, CANS, CARTONS, CRATES, DRUMS, JARS, TANKS, HOPPERS, FORWARDING CONTAINERS; ACCESSORIES, CLOSURES, OR FITTINGS THEREFOR; PACKAGING ELEMENTS; PACKAGES
    • B65D83/00Containers or packages with special means for dispensing contents
    • B65D83/14Containers for dispensing liquid or semi-liquid contents by internal gaseous pressure, i.e. aerosol containers comprising propellant
    • B65D83/68Dispensing two or more contents
    • B65D83/682Dispensing two or more contents initially separated and subsequently mixed
    • B65D83/687Dispensing two or more contents initially separated and subsequently mixed with contents and the propellant being fully mixed on, or prior to, first use, e.g. by breaking an ampoule containing one of those components

Definitions

  • the invention relates to a pressure cell with a frame, a valve disposed in a dome, a bottom and an inner sleeve disposed on the bottom, wherein the inner sleeve a cylindrical sleeve wall, a closure, a bottom element and a slidably disposed in the inner sleeve and with its end through the Floor element protruding plunger and the bottom element has a guide for the plunger and a holding part, which is guided through the bottom of the pressure cell and fixed thereto.
  • the plunger cooperates with a release element arranged outside the pressure box.
  • the invention relates in particular to pressurized cans for two-component aerosol systems, as used, for example, for two-component assembly foam systems.
  • Such pressure cans in addition to the main component, which is required for the manufacture and application of polyurethane foams or paints, in the inner sleeve to a second component, which reacts with the main component to the finished product, the actual foam or paint.
  • the invention can also be used for other two-component formulations, for example in surface technology and for adhesives.
  • the substances contained in the pressure vessels are usually liquid and consist of a prepolymer, customary additives and the liquid under pressure propellant gas, which is required for discharging the contents of the pressure vessel and as a foaming agent.
  • the other component is in one Inner sleeve is present in a relatively small amount and usually consists of a fast-reacting with the main component compound in polyurethane prepolymers with reactive isocyanate groups, for example, a crosslinker in the form of a hydroxy compound or an amine, optionally together with catalysts.
  • the component in the inner sleeve is used to influence the curing and quality of the product, usually to accelerate the curing.
  • the second component is introduced into the pressure cell shortly before the can contents are dispensed by opening the inner container and mixed therein by shaking. The finished mixture must then be applied within a defined time to prevent the curing of the prepolymer in the can.
  • a pressure cell is known with a formed by forming a metal molded part one-piece bottom, in which is provided in a recess of the externally threaded neck of an additional container and with the aid of a screwed on the outside nut under deformation of an O-ring seal between a shoulder of the Additional container and the inner edge of the bottom recess is braced.
  • the guided in turn by a piston-shaped seal in the interior of the additional container and sealed rod is designed as a shaft which rotates in the 1925 hereerhals and is supported inside on this. If the shaft is driven from the outside, this leads to the positive engagement of its inner end with the lid of the additional container, which is thereby pressed against the internal pressure in the outer space of the can.
  • the starting point of the invention is the WO 85/00157 A1 , which describes a pressure cell for dispensing two-component Schaumsentnem. Inside this pressure box, a second component receiving additional container is arranged.
  • the auxiliary container has a lid which can be blasted over a guided through the bottom of the pressure cell into the interior of the additional container rod.
  • the rod is movably mounted within the additional container and guided by a seal arranged in the bottom plate of the can bottom.
  • Both pressure sockets according to the prior art require a relatively complex construction or assembly.
  • the container suffers according to DE 82 27 229 U under the relatively complicated mechanics. Although the breaking off of the lid against the relatively large internal pressure of the container is forced by the rotational movement of the rod, this is relatively laborious and requires a great deal of effort for the sealing system.
  • both pressure sockets according to the prior art system-related sealing problems which is based on the - after filling with propellant gas - automatically building pressure difference between the outer space and the inner sleeve.
  • This also contributes to the fact that the inner sleeve can not be filled without air and sealed.
  • this pressure difference is essentially due to the fact that the outer prepolymer penetrates into the inner sleeve. While slow, this process is small in volume and does not interfere with the actual chemical reaction that leads to curing.
  • a problem is the reaction product, which deposits in the area of the seals and in particular in the area of the lid and leads to sticking and hardening.
  • the cover of the inner sleeve of a 2-component pressure cell is hydraulically blasted off.
  • the inner sleeve contents is pressurized with a stamp from the outside, whereby the pressure propagates through the inner sleeve space towards the cover and breaks it off.
  • the problem of the pressure difference between inner tube content and outer space content is solved by allowing the outer space content to enter the space of the inner sleeve below the stamp and to provide pressure equalization via the plunger.
  • hardening reactions occurring here on the lid and stamp also lead to a bond which, after a certain period of storage, makes it difficult or impossible to break off the lid.
  • the invention is therefore based on the object, the pressure cell according to WO 85/00157 A1 or according to DE 102 60 117 educate so that the parts of the inner sleeve can be easily assembled to a captive and absolutely tight unit.
  • the sealing problem occurring between the outer space of the pressure cell and the inner sleeve due to the pressure difference which is necessarily occurring should be defused and finally a reliable separation of the closure of the inner sleeve can be achieved.
  • the pressure cell according to the invention is made more or less conventional.
  • the pressure cell has a frame, a in a dome arranged valve and a bottom on which the externally releasable inner sleeve is arranged.
  • Such cans are made of tinplate or aluminum; in tinplate cans the can bottom is crimped to the frame and usually still has a central bottom plate which receives the inner sleeve, aluminum cans frame and bottom are made in one piece, wherein the inner sleeve is fixed in a central recess of the bottom.
  • closure side is understood to mean that side of a part which faces the inner container closure.
  • bottom side is that end which points away from the closure side. In general, therefore, “bottom side” refers to the end of a part that faces the bottom of the can, but only as long as this part or end is inside the pressure cell.
  • An essential element for the maintenance of the functionality of the inner sleeve is their equipment with a yielding membrane, which - after filling the inner sleeve with the second component under atmospheric pressure - ensures that the pressure difference between the interior of the inner sleeve and the inner space of the pressure cell, which substantially the filling with the propellant gas is determined is compensated.
  • the filling of the inner sleeve with the second component is never 100%; There is always a certain amount of compressible gas.
  • the elastic membrane or film is suitable to yield under the pressure of the propellant gas in the pressure can interior and to bring about pressure equalization.
  • this yielding zone is an elastically formed wall segment which is characterized, for example, by a significantly smaller wall thickness.
  • the wall may preferably have a window, which is sealed with an elastic film or membrane.
  • Suitable for this example are plastic films, including metallized plastic films. Such plastic films can be applied for example by ultrasonic welding.
  • yielding is referred to in this context a property that allows a significant yielding of the sealing film under the external pressure, without this ruptures or leaking.
  • the sealing film is dimensioned such that it has "fabric reserve" in the region of the window, for example a drape of folds or a bulge which allows the sealing film to be enveloped or bulged under pressure from the outside into the interior of the inner sleeve.
  • the yielding zone can be arranged on the end side of the inner sleeve.
  • the end face can be glued or sealed, for example, with a film, wherein the end-side sealing film is formed analogous to the film used for the sealing of the window. Again, it is preferably an ultrasonically welded metallized plastic film.
  • This end-side sealing film can be connected in any suitable manner with the end face of the sleeve wall, for example by gluing or Enduktionssch spaen.
  • the front-side closure of the sleeve may be a conventional closure, which is pressed out of the inner sleeve by the plunger.
  • the inner sleeve for pressure equalization on a sealed with sealing film window.
  • the inner sleeve may also have such a sealing foil on the front side as a closure.
  • the end-side sealing film is connected via a locking ring with the sleeve wall, for example by ultrasonic welding.
  • the sealing film may have previously been bonded to this closure ring by gluing, welding or otherwise.
  • a further preferred embodiment has, in addition to the closure ring, a retaining ring, which in turn is connected to the sealing film.
  • This retaining ring is in turn connected via a membrane or an annular web to the closure in such a way that this membrane or web completely ruptures under the action of a force exerted on the retaining ring.
  • This force can be exerted for example via a crown, which is attached by means of a recording on the plunger of the trigger mechanism and acts with its edge on the retaining ring.
  • the relatively tight connection of the sealing film in the retaining ring prevents the film over the opening of the open inner sleeve lays or in front of the valve. Likewise, the ejected rigid crown can not interfere with the exit of the sleeve contents into the siphon and the pressurized can contents into the valve.
  • the construction of the closure of locking ring, annular web, retaining ring and inner sealing foil which has the necessary elasticity or fabric reserve for pressure equalization, has manufacturing advantages in that a prefabrication of the closure and the subsequent welding of the finished closure with the inner sleeve is possible.
  • the crown is designed as a cutting crown, which is suitable for cutting the sealing film on the end face of the inner sleeve.
  • the sealing film is stretched over the end region of the inner sleeve or within the closure ring; Too much elasticity is more of a hindrance to cutting the film with the teeth of the cutting bit.
  • the cutting bit preferably has a toothed ring which, after the inner sleeve has been triggered, first perforates the foil and then, starting from the perforations, cuts open, separates and holds it within the toothed rim.
  • the cutting crown is designed so that it is pushed out after the release of the inner sleeve with the captured seal foil cutout from the inner sleeve and enters the outer space of the pressure cell.
  • the cutting crown is provided with the ring gear on the bottom side with a receptacle into which engages the closure end of the plunger. In this way, the composite of the two parts is secured, as long as they are in the closed inner sleeve.
  • the ram arranged in the inner sleeve is substantially rod-shaped, so that it offers as little resistance as possible to the inner sleeve contents during outflow. It may have lateral guide elements which produce a defined distance from the inner sleeve wall, for example in the form of rods or spokes or spokes connected to the ram rings. It is essential that the ram construction does not hinder the exit of the sleeve contents into the outside space.
  • the plunger is subdivided into a rod-shaped plunger element, which is located in the interior of the inner sleeve, and a bottom-side trigger member which extends through the sleeve bottom and bottom of the can through to the outside and there establishes the connection to the trigger element.
  • a rod-shaped plunger element which is located in the interior of the inner sleeve
  • a bottom-side trigger member which extends through the sleeve bottom and bottom of the can through to the outside and there establishes the connection to the trigger element.
  • the plunger element at its bottom end or the trigger part on the closure side have a receptacle in which engages the end of the other part.
  • a limiting element is necessary, which is arranged for example as an extension in the trigger part of the plunger and cooperates with a in the leadership of the inner container inside circumferential projection.
  • the plunger In the resting state of the pressure cell, the plunger is then with its limiting element on the projection. After triggering the can, the plunger moves towards the inner sleeve closure, but returns under the pressure prevailing in the pressure cell to its original position.
  • the sealing of the inner sleeve in the region of the bottom element is expediently brought about by the fact that the limiting element has an elastic seal. It can also be designed as a seal overall.
  • the limiting element on its periphery circumferentially on sealing lips, which act against the inner surface of the guide. It is understood that the guide in the region in which the extension is effective with the sealing element, has a larger cross section than in the region which passes through the bottom of the can and represents the actual guide.
  • the guide is thus extended on the closure side to the diameter of the limiting element.
  • the inner sleeve has on the bottom side on the bottom element next to the guide on a holding part.
  • Guide and holding part protrude through the bottom of the can through to the outside, wherein the guide has the function of receiving and guiding the plunger and in particular its trigger part and the holding part assumes the holding function for the inner sleeve.
  • the holding part surrounds the guide concentric at least over part of its length. In general, the holding part protrudes on the bottom side beyond the guide.
  • the cylindrical sleeve wall can have one or more areas that are less rigid and yield elastically under pressure. This is for internal pressure equalization in the system; the inner sleeves are filled and closed under normal conditions. Since an air-free filling and closing is not possible, with a rigid inner sleeve pressure equalization can only be done via penetrating from the outer space in the inner sleeve material. This tendency for subsequent filling can be compensated by the elastic configuration of one or more regions of the inner sleeve. Care must be taken to ensure that the pressure-giving areas do not conflict with the guides of the ram.
  • metallized films or induction films are used as the sealing film.
  • Induction films can be welded by induction on the object to be sealed and are usually composed of several layers of plastic and metal foils.
  • Induction films are particularly widespread in the food industry, but are also used for sealing containers with water-pulling or flammable liquids.
  • metallic films which can be welded by ultrasound.
  • the inner sleeve is preferably made of plastic. Particularly suitable are polypropylene, but also polyamide grades which better withstand the aromatic solvents frequently used in two-component paints.
  • the inner sleeve is fixed to the bottom of the pressure cell.
  • the plunger or the triggering part of the plunger protrude through the bottom element of the plunger and out of the bottom of the can.
  • the bottom end of the plunger engages frictionally in the recording of a triggering element, which is triggered by hand.
  • the trigger element is, for example, a release button, which causes the release of the inner sleeve and the release of the inner sleeve contents when actuated.
  • the holding part of the bottom element can on the bottom side - outside the pressure cell - have a thread on which a thumbscrew can be screwed as a triggering element.
  • the trigger element is provided with the receptacle into which the bottom end of the plunger or trigger part protrudes.
  • the inner sleeve In pressure cans made of tinplate, the inner sleeve is usually fixed to a base plate, which in turn is crimped into the bottom of the can.
  • a base plate which in turn is crimped into the bottom of the can.
  • the inner sleeve is thereby clamped in the bottom plate, wherein an outer circumferential region of the bottom element and the projection serve as an abutment.
  • sealing lips are provided in this content salaried area, which act against the inside of the bottom plate. But it is also readily possible to inject the holding part to the bottom plate.
  • the inner sleeve is clamped in a recess of the pressure box bottom.
  • the inner sleeve with its holding part through guided this recess and secured with a retaining element, such as a clamping ring, on the underside of the box on the holding part.
  • the holding part can have, for example, a circumferential groove for fixing the clamping ring. The tightness is preferably ensured by a sealing washer between bottom of the can and bottom element of the inner sleeve.
  • a fixing that serves to fix a pedestal, but also to guide the trigger element.
  • a fixing element is for example approximately bell-shaped or hemispherical and is anchored, for example via the above-mentioned clamping ring or the like in the region of the recess.
  • the pressure cell according to the invention may have a base, which serves in particular to surround the triggering element and enclose that an unwanted triggering is difficult and to increase the stability.
  • a base which serves in particular to surround the triggering element and enclose that an unwanted triggering is difficult and to increase the stability.
  • bottom of the base can be plugged onto the Krimpwülste or seams, in the case of a trailed soil in aluminum cans, the base is usually attached to the above-mentioned fixing.
  • FIG. 1 shows the closure end of an embodiment of an inner sleeve, as used in the invention.
  • the inner sleeve 5 has a cylindrical outer wall 6, which is closed at the end with a closure 7.
  • the closure 7 is connected via a closure ring 7a with the end face 6a of the wall 6 of the inner sleeve.
  • the connection is a welded connection, suitably produced by ultrasonic welding.
  • the closure 7 further consists of a retaining ring 7b, which is connected via a membrane or an annular web 7c with the locking ring 7a.
  • the diaphragm 7c is designed to rupture from the inside of the inner sleeve upon application of force to the retaining ring 7b; For this purpose, a thickness of 0.20 mm is generally sufficient for polypropylene as a material.
  • the sealing film 17 is, for example, a metallized plastic film, such as polypropylene, the made in one piece with the rings 7a and 7b and then metallized.
  • a plunger 9 is arranged, which ends in a receptacle 9 a.
  • this recording 9a projects a projection 14 of the crown 13, which can be moved over the plunger 9 in the direction of the closure 7.
  • the edge of the crown 13 acts against the underside of the retaining ring 7b of the cover 7 such that upon actuation of the plunger 9, the crown 13 is pressed against the retaining ring 7b, which leads to the rupture of the membrane 7c between the rings 7a and 7b and to the expulsion of the separated part of the lid 7 with the sealing film 17 and the crown 13 in the pressure can interior.
  • FIG. 1 shows the inner sleeve 5 in a pressureless state with corrugated sealing film.
  • FIG. 1a shows the inner sleeve with pressure-tight sealing film 17,
  • FIG. 1b the opened inner sleeve with ejected crown 13 and detached membrane 17 together with retaining ring 7b.
  • FIG. 2 shows a sectional view of the lower part of a pressure cell 1 according to the invention with inserted inner sleeve 5.
  • the pressure cell itself is shown with the lower part of its frame 2 and the vaulted bottom 3.
  • the vaulted bottom 3 is crimped to the lower end of the frame 2.
  • the bottom plate 4 In the center of the bottom 3 is the bottom plate 4, which is crimped in a conventional manner with the bottom 3.
  • the bottom plate 4 has a complex curved shape with an outward - ie to the outside of the pressure cell facing - inner edge 4a, a flat central part 4b and also outwardly facing outer edge on which merges into the Krimpnaht with the bottom 3.
  • the inner sleeve 5 which consists essentially of a frame 6, serving as a closure, here stretched sealing film 17 and a bottom element 8.
  • the bottom element 8 has a guide 10 in the center and a holding part 11 in the outward-pointing (bottom-side) region.
  • the bottom element 8 itself has on the bottom side an outer circumferential circular recess 8a, which is located on the flat central portion 4b of the Floor plate 4 is supported. Below the recess 8a, the holding part 11 connects, which has a circumferential projection 11b which extends substantially parallel to the recess 8a.
  • the outwardly facing inner edge 4a of the bottom plate 4 engages behind the projection 11b of the holding part 11 and fixed in this way the inner sleeve 5 in its position in the center of the bottom plate. 4
  • circumferential sealing lips 11c which act against the outwardly directed portion 4a of the bottom plate and seal the pressure cell to the outside.
  • the plunger 9 itself consists of a plunger element 9c and a trigger part 9d.
  • the trigger part 9d is located in the guide 10 of the bottom element 8 and is mounted with its closure-side end in a bottom-side receptacle 9e of the plunger element 9c.
  • guide rods 9b At the bottom and at the closure end of the plunger element 9c are guide rods 9b, which ensure the central position of the plunger 9 in the inner sleeve.
  • the plunger 9 engages in a receptacle 14 of the cutting bit 13.
  • the cutting crown 13 itself has approximately the shape of a spoked wheel and is provided on the rim with a sprocket.
  • the sprocket is suitable to puncture the sealing film 17 after triggering the plunger and cut in a circle.
  • the cut-out foil circle is then held within the seal crown and repelled into the outer space of the pressure cell. A sealing film floating freely in the outer space could cause the valve access to be blocked.
  • the sealing film 17 is glued or welded on the end face 6a of the sleeve frame 6. It consists of an induction film, ie a metallized plastic film, which can be welded to an opening via an induction process in a manner known per se. Such induction films are particularly suitable because of their metallization, hermetically sealed cavities, ie gas and solvent tight.
  • the inner sleeve 5 as shown in FIG. 2 has a window 16 that is closed with a sealing film 17.
  • the sealing film 17 is set elastically, ie, it can yield under the pressure prevailing in the outer space of the pressure cell and cause a pressure equalization. Since it is practically not possible to fill and close the inner sleeve without air or gas inclusions, such a compensation mechanism is useful and necessary, in particular to prevent pressure equalization via a diffusing material from the outside space. This is especially true for aerosol cans containing solvents with high creep or penetration for plastics.
  • the trigger part 9d of the plunger 9 is mounted in the guide 10 of the bottom element 8. It has approximately in the middle of a limiting element 9g that rests on an internally circumferential projection 15 of the guide 10 and prevents the trigger member is pushed out of the sleeve under the pressure prevailing in the pressure cell.
  • the limiting element 9g has a collar with sealing lips 12, which acts against the inner wall of the guide 10 in its closure-side region. It is understood that the guide 10 in this area 10a has an expanded cross section corresponding to the cross section of the limiting element 9e.
  • the guide 10 In the bottom part of the guide 10, d. H. bottom side to the projection 15, the guide 10 has a smaller cross section, which corresponds to the cross section of the bottom end 9f of the trigger part 9d.
  • the trigger part 9d emerges from the inner sleeve 5 and pressure cell 1 and protrudes into the cavity formed by the bottom of the can 3 in order to frictionally engage with its bottom end 9f in the receptacle 21 of the trigger element 20.
  • the holding part 11 of the bottom element 8 projects from the recess 8a through the bottom plate 4 in the space formed by the bottom of the can 3.
  • This travel limit can be done on the one hand on the lower end of the holding part 11 and the bottom of the release button 20, on the other hand on the upper (shutter side) end of the receptacle 21 and the bottom end of the guide 10, as in the case shown.
  • a base 24 which engages around the Crimean rim between the frame 2 and the bottom of the can 3 and is fixed thereto form fit.
  • the base 24 has a central recess in which the release button protrudes.
  • the foot 24 protects the one hand, the trigger button 20 against unwanted operation and increases the other the stability of the pressure cell.
  • the holding part 11 is provided in the region of its bottom end with a thread 11a, which is irrelevant in the embodiment shown, but allows a variant of the trigger mechanism, in which the trigger member 9d is driven by means of a wing screw in the inner sleeve.
  • This embodiment is in FIG. 3 shown.
  • the inner sleeve can be used for both variants.
  • the embodiment according to FIG. 3 differs from the according to FIG. 2 only in the trigger mechanism in the bottom area of the pressure box, which includes a turntable. Construction and function of the inner sleeve are otherwise as in FIG. 2 shown and described.
  • FIG. 3 protrudes the trigger part 9 d with its bottom end 9 f in the receptacle 21 of the turntable 20, which is equipped in this case with a sleeve 26 with internal thread, which cooperates with the external thread 11 a of the holding part 10.
  • the sleeve 26 In unausquentem state, the sleeve 26 is in a lower position relative to the holding part 10.
  • the wing 25 By operation of the wing 25, the sleeve 26 can be further screwed up on the holding part 10 and takes over the recording 21, the trigger part 9d.
  • the plunger 9 acts on the cutting crown 13, which cuts the film 17 circular and is ejected with the film in the outer space of the pressure cell 1.
  • the advantage of this embodiment is that the plunger is fixed in the retracted position and in this way a "falling back" of the cutting crown with the cut-out part of the sealing film 17 is reliably prevented in the upper opening of the inner sleeve 5.
  • the pressure box also here has a base 24 which surrounds the trigger mechanism and protects against external impact.
  • the base 24 is naturally tuned to the dimension of the trigger element 20. It is understood that instead of a single-wing screw 20, a two-leaf screw can be used.
  • FIG. 4 shows a variant of the invention, which is adapted to a pressure box with raised bottom 3.
  • the pressure cell 1 with its frame 2 merges seamlessly into the bottom 3, which has a central recess 3a into which the holding part 11 of the inner sleeve 5 is inserted.
  • a clamping ring 18 fixes the sleeve 5 below the bottom 3 in the region of the recess 3a.
  • the pressure cell in the bottom region on a bell-shaped fixing element 23 which is held with the clamping ring 18 in its position immediately adjacent to the bottom element 3 concentric with the recess 3a.
  • the fixing element 23 serves to fix the base 24, which can not be attached directly to the box for lack of crimping.
  • the fixing serves as an outer guide for the release button 20, which acts in the same way on the plunger 9, as in FIG. 2 shown. It is understood that this variant can be provided with a turntable release.
  • FIG. 5 shows a further variant of the closure end of an inner sleeve, as used in the invention.
  • the inner sleeve has a cylindrical outer wall 6, which has the closure 7 on the front side.
  • the closure 7 is connected via a closure ring 7a to the end face 6a of the wall 6 connected to the inner sleeve.
  • the connection is a welded connection, suitably produced by ultrasonic welding.
  • the closure 7 consists of a retaining ring 7b, which is connected via a membrane or annular web 7c with the locking ring 7a.
  • the diaphragm 7c is designed so that the force acting on the retaining ring 7b tears it out of the interior of the inner sleeve.
  • the crown 13 has on the bottom side an extension 14, which, as in FIG. 1 shown in a receptacle of the plunger 9 ends.
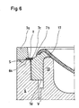
  • FIG. 6 shows a detail of the representation of FIG. 5 to clarify the interaction of closure 7 and crown 13.
  • the closure ring 7a and the retaining ring 7b are connected to each other via the membrane 7c, which has a dividing line T as a weakened zone in the illustrated case.
  • T is the dividing line along which the retaining ring tears off the locking ring when the crown 13 moves in the direction of the sealing foil 17.
  • a circumferential projection V on the crown 13 serves to assist the tearing and severing process by acting against the lower edge 7d of the retaining ring 7b when the deployment is initiated by the upward movement of the crown 13. *** "
  • FIG. 7 shows a pressure cell according to the invention with the bottom portion and the inserted inner sleeve after the triggering.
  • Crown 13 and sealing film 17 with retaining ring 7b are already outside of the inner sleeve 5, the locking ring 7a remains on the front side of the sleeve wall 6.
  • the crown 13 has a pointing to the bottom side extension 14 with lateral guide rods 14b, via a recording with the plunger 9 interacts.

Landscapes

  • Chemical & Material Sciences (AREA)
  • Dispersion Chemistry (AREA)
  • Engineering & Computer Science (AREA)
  • Mechanical Engineering (AREA)
  • Containers And Packaging Bodies Having A Special Means To Remove Contents (AREA)
  • Nozzles (AREA)

Description

  • Die Erfindung betrifft eine Druckdose mit einer Zarge, einem in einem Dom angeordneten Ventil, einem Boden und einer am Boden angeordneten Innenhülse, wobei die Innenhülse eine zylindrischen Hülsenwand, einen Verschluss, einem Bodenelement sowie einem in der Innenhülse verschiebbar angeordneten und mit seinem Ende durch das Bodenelement ragenden Stößel aufweist und das Bodenelement eine Führung für den Stößel sowie ein Halteteil, das durch den Boden der Druckdose geführt und daran festgelegt ist. Der Stößel wirkt mit einem außerhalb der Druckdose angeordneten Auslöseelement zusammen.
  • Die Erfindung betrifft insbesondere Druckdosen für Zweikomponenten-Aerosolsysteme, wie sie beispielsweise für Zweikomponenten-Montageschaumsysteme eingesetzt werden. Solche Druckdosen weisen neben der Hauptkomponente, die zum Herstellen und Ausbringen von Polyurethanschäumen oder Lacken erforderlich ist, in der Innenhülse eine zweite Komponente auf, die mit der Hauptkomponente zum fertigen Produkt, dem eigentlichen Schaum oder Lack, abreagiert. Gleichermaßen läßt sich aber die Erfindung auch für andere Zwei-Komponentenformulierungen einsetzen, etwa in der Oberflächentechnik und für Klebstoffe.
  • Die in den Druckbehältern enthaltenen Substanzen sind in der Regel flüssig und bestehen aus einem Prepolymer, üblichen Zusatzstoffen und dem unter Druck flüssigen Treibgas, das zum Ausbringen des Inhalts aus dem Druckbehälter sowie als Schäumungsmittel benötigt wird. Die weitere Komponente ist in einer Innenhülse in einer relativ geringen Menge vorhanden und besteht zumeist aus einer mit der Hauptkomponente schnell reagierenden Verbindung, bei Polyurethan-Prepolymeren mit reaktiven Isocyanatgruppen beispielsweise aus einem Vernetzer in Form einer Hydroxyverbindung oder eines Amins, ggf. zusammen mit Katalysatoren. Die Komponente in der Innenhülse dient dazu, das Aushärten und die Qualität des Produkts zu beeinflussen, in der Regel die Aushärtung zu beschleunigen. Die zweite Komponente wird kurz vor dem Ausbringen des Doseninhaltes durch Öffnen des Innenbehälters in die Druckdose eingebracht und durch Schütteln darin eingemischt. Die fertige Mischung muß dann innerhalb einer definierten Zeit ausgebracht werden, um das Aushärten des Prepolymers in der Dose zu verhindern.
  • Aus der DE 82 27 229 U ist eine Druckdose mit einem durch Umformen eines aus Metall bestehenden Formteils gewonnenen einteiligen Boden bekannt, bei dem in einer Aussparung der mit einem Außengewinde versehene Hals eines Zusatzbehälters eingesetzt ist und mit Hilfe einer von außen aufgeschraubten Mutter unter Verformung einer O-Ringdichtung zwischen einer Schulter des Zusatzbehälters und dem inneren Rand der Bodenaussparung verspannt ist. Die ihrerseits durch eine kolbenförmige Dichtung in das Innere des Zusatzbehälters geführte und abgedichtete Stange ist als Welle ausgebildet, die sich in dem Zusatzbehälterhals dreht und innen auf diesem abstützt. Wird die Welle von außen angetrieben, führt das zum formschlüssigen Eingriff ihres inneren Endes mit dem Deckel des Zusatzbehälters, der dadurch gegen den Innendruck in den Außenraum der Dose aufgedrückt wird.
  • Ausgangspunkt der Erfindung ist die WO 85/00157 A1 , die eine Druckdose zum Ausbringen von zweikomponentigen Schaumbildnem beschreibt. Im Inneren dieser Druckdose ist ein die zweite Komponente aufnehmender Zusatzbehälter angeordnet. Der Zusatzbehälter weist einen Deckel auf, der über eine durch den Boden der Druckdose in das Innere des Zusatzbehälters geführte Stange abgesprengt werden kann. Die Stange ist innerhalb des Zusatzbehälters beweglich gelagert und durch eine im Sickenteller des Dosenbodens angeordnete Dichtung geführt.
  • Beide Druckdosen nach dem Stand der Technik bedingen eine relativ aufwendige Konstruktion bzw. Montage. Dabei leidet der Behälter gemäß DE 82 27 229 U unter der relativ komplizierten Mechanik. Das Absprengen des Deckels gegen den relativ großen Innendruck des Behälters wird zwar durch die Drehbewegung der Stange erzwungen, jedoch ist dies relativ mühselig und bedingt einen hohen Aufwand für das Dichtsystem.
  • Die Druckdose gemäß WO 85/00157 A1 hat sich zwar insgesamt bewährt und stellt gegenüber dem genannten Gebrauchsmuster eine deutliche Verbesserung dar, jedoch ist die Einbringung der Stange durch das im Sickenteller verspannte Dichtgummi problematisch und verlangt eine nicht optimale Geometrie der Stange.
  • Neben der aufwendigen Herstellung und Montage haben beide Druckdosen nach dem Stand der Technik systembedingt Dichtprobleme, die auf dem - nach der Befüllung mit Treibgas - sich automatisch aufbauenden Druckunterschieds zwischen dem Außenraum und der Innenhülse beruht. Hierzu trägt auch bei, dass die Innenhülse nicht luftfrei befüllt und verschlossen werden kann. Während der Lagerzeit der Dose, die durchaus mehrere Monate betragen kann, baut sich dieser Druckunterschied im Wesentlichen dadurch ab, dass das äußere Prepolymer in die Innenhülse eindringt. Dieser Prozess ist zwar langsam und betrifft nur geringe Mengen, so dass die eigentliche chemische Reaktion, die zur Aushärtung führt, davon nicht beeinträchtigt wird. Ein Problem ist aber das Reaktionsprodukt, das sich im Bereich der Dichtungen und insbesondere im Bereich des Deckels ablagert und zu Verklebungen und Verhärtungen führt. Diese Verhärtungen können dazu führen, dass das Ventil verstopft oder sich die Druckdose nach dem ersten Sprühstoß nicht wieder richtig schließt und damit unbrauchbar wird. Zudem sind die sich dabei bildenden Partikel im Falle einer Zwei-Komponenten-Lacksprühdose für die Qualität der damit hergestellten Lackbeschichtung nachteilig.
  • Gemäß DE 10 2004 024 777 A1 wird der Deckel der Innenhülse einer 2K-Druckdose hydraulisch abgesprengt. Hierzu wird der Innenhülseninhalt mit einem Stempel von außen unter Druck gesetzt, wobei sich der Druck durch den Innenhülsenraum zum Deckel hin fortpflanzt und diesen absprengt. Das Problem des Druckunterschieds zwischen Innenhülseinhalt und Außenrauminhalt wird dadurch gelöst, dass der Außenrauminhalt in den Raum der Innenhülse unterhalb des Stempels eintreten und über den Stempel für einen Druckausgleich sorgen kann. Allerdings führen auch hier am Deckel und Stempel einsetzende Aushärtungsreaktionen zu einer Verklebung, die - nach einer gewissen Lagerzeit - das Absprengen des Deckels erschwert oder unmöglich macht.
  • Schließlich sind Mehrkomponentendruckdosen bekannt, in denen die Innenhülse aus Metall gefertigt und mit einer integralen Metallmembran verschlossen ist. Diese Innenhülsen sind fertigungstechnisch aufwendig.
  • Ein weiteres Problem, das sich bei den vorstehend beschriebenen Mehrkomponentendruckdosen sowie zahlreichen Varianten davon stellt, ist die zuverlässige Entfernung des Deckels oder Verschlusses der Innenhülse. In nahezu allen Varianten kann es passieren, dass der Verschluss sich nur unzureichend von der Hülsenwand löst und sich nach der Lösung wie eine an einem Scharnier befestigte Klappe wieder auf die Innenhülsenöffnung legt. In diesem Fall kommt es nur zu einer unvollständigen Vermischung des Inhaltes der Innenhülse mit der im Außenraum befindlichen Hauptkomponente, was für die Produktqualität bestenfalls nachteilig ist.
  • DE 102 60 117 offenbart eine gattungsgemäße Druckdose.
  • Der Erfindung liegt damit die Aufgabe zugrunde, die Druckdose gemäß WO 85/00157 A1 oder gemäß DE 102 60 117 so weiterzubilden, dass sich die Teile der Innenhülse leicht zu einer unverlierbaren und absolut dichten Einheit montieren lassen. Darüber hinaus soll das aufgrund der sich notwendig einstellenden Druckdifferenz auftretende Dichtigkeitsproblem zwischen Außenraum der Druckdose und Innenhülse entschärft werden und schließlich eine zuverlässige Abtrennung des Verschlusses der Innenhülse erreicht werden.
  • Diese Aufgabe wird mit der Druckdose des Anspruchs 1 gelöst. Abgesehen von der Innenhülse ist die erfindungsgemäße Druckdose mehr oder weniger konventionell gefertigt. Die Druckdose weist eine Zarge auf, ein in einem Dom angeordnetes Ventil sowie einen Boden, an dem die von außen auslösbare Innenhülse angeordnet ist. Derartige Dosen werden aus Weißblech oder Aluminium gefertigt; bei Weißblechdosen ist der Dosenboden an die Zarge angekrimpt und weist zumeist noch einen zentralen Bodenteller auf, der die Innenhülse aufnimmt, bei Aluminiumdosen sind Zarge und Boden einstückig gefertigt, wobei die Innenhülse in einer zentralen Aussparung des Bodens festgelegt ist.
  • Im Rahmen der Beschreibung wird unter dem Begriff "verschlussseitig" diejenige Seite eines Teils verstanden, die dem Innenbehälterverschluss zugewandt ist. Entsprechend ist "bodenseitig" dasjenige Ende, das von der Verschlussseite fort weist. In der Regel bezeichnet somit "bodenseitig" das Ende eines Teils, das dem Dosenboden zugewandt ist, jedoch nur solange sich dieses Teil oder Ende innerhalb der Druckdose befindet.
  • Wesentliches Element für die Erhaltung der Funktionstüchtigkeit der Innenhülse ist ihre Ausstattung mit einer nachgebenden Membran, die - nach dem Befüllen der Innenhülse mit der zweiten Komponente unter Normaldruck - dafür sorgt, dass die Druckdifferenz zwischen Innenraum der Innenhülse und Innenraum der Druckdose, die im wesentlichen durch die Befüllung mit dem Treibgas bestimmt wird, ausgeglichen wird. Wie vorstehend erwähnt, erfolgt die Befüllung der Innenhülse mit der zweiten Komponente nie zu 100%; es bleibt immer ein gewisses kompressibles Gasvolumen. Die elastische Membran oder Folie ist geeignet, unter dem Druck des Treibgases im Druckdoseninnenraum nachzugeben und den Druckausgleich herbeizuführen.
  • In der einfachsten Ausführungsform ist diese nachgebende Zone ein elastisch ausgebildetes Wandungssegment, das beispielsweise durch eine deutlich geringere Wandstärke gekennzeichnet ist. Vorzugsweise kann die Wand hierzu ein Fenster aufweisen, das mit einer elastischen Folie oder Membran zugesiegelt ist. Geeignet hierfür sind beispielsweise Kunststofffolien, auch metallisierte Kunststofffolien. Solche Kunststofffolien können beispielsweise durch Ultraschallverschweißung aufgebracht werden.
  • Mit "nachgebend" wird in diesem Zusammenhang eine Eigenschaft bezeichnet, die ein erhebliches Nachgeben der Siegelfolie unter dem Außendruck erlaubt, ohne das diese reißt oder undicht wird. Bevorzugt ist die Siegelfolie aber so dimensioniert, dass sie im Bereich des Fensters "Stoffreserve" aufweist, beispielsweise einen Faltenwurf oder eine Ausbeulung, die es der Siegelfolie erlaubt, sich unter Druckeinfluss von außen in den Innenraum der Innenhülse einzustülpen oder einzuwölben.
  • Gemäß einer weiteren Ausführungsform kann die nachgebende Zone stimseitig an der Innenhülse angeordnet sein. Dazu kann die Stirnseite beispielsweise mit einer Folie verklebt oder versiegelt sein, wobei die stirnseitige Siegelfolie analog zur für die Abdichtung des Fensters verwandten Folie ausgebildet ist. Auch hier handelt es sich vorzugsweise um eine ultraschallverschweißte metallisierte Kunststofffolie. Diese stirnseitige Siegelfolie kann auf jede geeignete Art mit der Stirnseite der Hülsenwand verbunden sein, beispielsweise auch durch Verkleben oder Enduktionsschweißen.
  • Der stirnseitige Verschluss der Hülse kann ein herkömmlicher Verschluss sein, der durch den Stößel aus der Innenhülse herausgepresst wird. In diesem Fall weist die Innenhülse zum Druckausgleich ein mit Siegelfolie verschlossenes Fenster auf. Alternativ oder zusätzlich kann die Innenhülse auch stirnseitig eine solche Siegelfolie als Verschluss aufweisen. Gemäß einer besonderen Variante ist die stirnseitige Siegelfolie über einen Verschlussring mit der Hülsenwandung verbunden, beispielsweise durch Ultraschallverschweißung. Die Siegelfolie kann mit diesem Verschlussring beispielsweise zuvor durch Verkleben, Verschweißen oder anderweitig verbunden worden sein.
  • Eine weitere bevorzugte Ausführungsform weist zusätzlich zu dem Verschlussring einen Haltering auf, der seinerseits mit der Siegelfolie verbunden ist. Dieser Haltering ist seinerseits über eine Membran oder einen ringförmigen Steg mit dem Verschluss dergestalt verbunden, dass diese Membran oder dieser Steg unter Einwirkung einer auf den Haltering ausgeübten Kraft vollständig aufreißen. Diese Kraft kann beispielsweise über eine Krone ausgeübt werden, die mittels einer Aufnahme auf den Stößel des Auslösemechanismus aufgesteckt ist und mit ihrem Rand auf den Haltering einwirkt. Bei Auslösen der Druckdose wird eine Kraft auf den Haltering ausgelöst, die zum Reißen der Membrane führt und weiterhin zum Ausstoßen der Krone und des Halterings mit der daran befestigten Siegelfolie in den Innenraum der Druckdose. Die relativ feste Anbindung der Siegelfolie in den Haltering verhindert, dass sich die Folie über die Öffnung der geöffneten Innenhülse legt oder vor das Ventil. Desgleichen kann die ausgestoßene starre Krone keinen Einfluss auf den Austritt des Hülseninhalts in die Druckdose und des Druckdoseninhalts in das Ventil behindern.
  • Der Aufbau des Verschlusses aus Verschlussring, ringförmigem Steg, Haltering und innenliegender Siegelfolie, die die notwendige Elastizität bzw. Stoffreserve für den Druckausgleich aufweist, hat fertigungstechnische Vorteile dadurch, dass eine Vorfertigung des Verschlusses und die anschließende Verschweißung des fertigen Verschlusses mit der Innenhülse möglich ist.
  • Gemäß einer anderen Variante ist die Krone als Schneidkrone ausgebildet, die geeignet ist, die Siegelfolie an der Stirnseite der Innenhülse aufzuschneiden. Hierzu ist es zweckmäßig, das die Siegelfolie über den Stirnbereich der Innenhülse oder innerhalb des Verschlussrings gespannt ist; eine zu große Elastizität ist für das Aufschneiden der Folie mit den Zähnen der Schneidkrone eher hinderlich.
  • Wesentlich für die Schneidkrone und ihre Funktionsweise ist, dass die stirnseitige auf der Innenhülse angeordnete Siegelfolie kreisförmig aufgeschnitten und vollständig abgetrennt wird. Vorzugsweise weist die Schneidkrone dazu einen Zahnkranz auf, der - nach der Auslösung der Innenhülse - zunächst die Folie perforiert und dann, ausgehend von den Perforationen, aufschneidet, abtrennt und innerhalb des Zahnkranzes festhält. Die Schneidkrone ist so ausgebildet, dass sie nach der Auslösung der Innenhülse mit dem festgehaltenen Siegelfolienausschnitt aus der Innenhülse herausgedrückt wird und in den Außenraum der Druckdose eintritt.
  • Zweckmäßigerweise ist auch die Schneidkrone mit dem Zahnkranz bodenseitig mit einer Aufnahme versehen, in die das verschlussseitige Ende des Stößels eingreift. Auf diese Art und Weise ist der Verbund der beiden Teile gesichert, solange sie sich in der geschlossenen Innenhülse befinden.
  • Der in der Innenhülse angeordnete Stößel ist im Wesentlichen stabförmig ausgebildet, so dass er dem Innenhülseninhalt beim Ausfließen möglichst wenig Widerstand entgegensetzt. Er kann seitliche Führungselemente aufweisen, die einen definierten Abstand zur Innenhülsenwandung herstellen, beispielsweise in Form von Stäben oder Speichen oder über Speichen mit dem Stößel verbundenen Ringen. Wesentlich ist, dass die Stößelkonstruktion den Austritt des Hülseninhaltes in den Außenraum nicht behindert.
  • Zweckmäßigerweise ist der Stößel unterteilt in ein stabförmiges Stößelelement, das sich im Inneren der Innenhülse befindet, und ein bodenseitiges Auslöseteil, das sich durch den Hülsenboden und Dosenboden hindurch nach außen erstreckt und dort die Verbindung zum Auslöseelement herstellt. Zur Verbindung des stabförmigen Stößelelements mit dem bodenseitigen Auslöseteil kann entweder das Stößelelement an seinem bodenseitigen Ende oder das Auslöseteil verschlussseitig eine Aufnahme aufweisen, in die das Ende des jeweils anderen Teils eingreift.
  • Um den Stößel innerhalb der Innenhülse zu sichern, ist ein Begrenzungselement notwendig, das beispielsweise als Erweiterung im Auslöseteil des Stößels angeordnet ist und mit einem in der Führung des Innenbehälters innenseitig umlaufenden Vorsprung zusammenwirkt. Im Ruhezustand der Druckdose liegt der Stößel dann mit seinem Begrenzungselement auf dem Vorsprung auf. Nach dem Auslösen der Dose bewegt sich der Stößel in Richtung auf den Innenhülsenverschluss, kehrt aber unter dem in der Druckdose herrschenden Druck in seine Ausgangsposition zurück.
  • Die Abdichtung der Innenhülse im Bereich des Bodenelements wird zweckmäßigerweise dadurch herbeigeführt, dass das Begrenzungselement eine elastische Dichtung aufweist. Es kann auch insgesamt als Dichtung ausgeführt sein. Bevorzugt weist das Begrenzungselement an seiner Peripherie umlaufend Dichtlippen auf, die gegen die innere Oberfläche der Führung wirken. Es versteht sich, dass die Führung in dem Bereich, in dem die Erweiterung mit dem Dichtelement wirksam wird, einen größeren Querschnitt hat als in dem Bereich, der durch den Dosenboden hindurchführt und die eigentliche Führung darstellt.
  • Die Führung ist somit verschlussseitig auf den Durchmesser des Begrenzungselements erweitert.
  • Die Innenhülse weist bodenseitig am Bodenelement neben der Führung ein Halteteil auf. Führung und Halteteil ragen durch den Dosenboden hindurch nach außen, wobei die Führung die Funktion hat, den Stößel und insbesondere dessen Auslöseteil aufzunehmen und zu führen und das Halteteil die Haltefunktion für die Innenhülse übernimmt. Das Halteteil umgibt dabei die Führung konzentrisch zumindest über einen Teil seiner Länge. In der Regel ragt das Halteteil bodenseitig über die Führung hinaus.
  • Wie schon angemerkt, kann die zylindrische Hülsenwand einen oder mehrere Bereiche aufweisen, die weniger starr ausgebildet sind und unter Druck elastisch nachgeben. Dies dient dem internen Druckausgleich im System; die Innenhülsen werden bei Normalbedingungen befüllt und verschlossen. Da ein luftfreies Befüllen und Verschließen nicht möglich ist, kann bei einer starren Innenhülse ein Druckausgleich nur über aus dem Außenraum in die Innenhülse eindringendes Material erfolgen. Diese Tendenz zur nachträglichen Auffüllung kann durch die elastische Ausgestaltung eines oder mehrerer Bereiche der Innenhülse ausgeglichen werden. Es ist darauf zu achten, dass die unter Druck nachgebenden Bereiche nicht mit den Führungen des Stößels in Konflikt geraten.
  • Alternativ zu den elastischen Bereichen können auch ein oder mehrere Fenster vorgesehen sein, die mit einer nachgebenden Siegelfolie verschlossen sind.
  • Erfindungsgemäß kommen beispielsweise metallisierte Folien oder auch Induktionsfolien als Siegelfolie zum Einsatz. Induktionsfolien können durch Induktion auf den zu verschließenden Gegenstand aufgeschweißt werden und sind in der Regel mehrlagig aus Kunststoff und Metallfolien zusammengesetzt. Induktionsfolien sind insbesondere in der Nahrungsmittelindustrie weit verbreitet, werden aber auch für die Versiegelung von Behältern mit Wasser ziehenden oder brennbaren Flüssigkeiten verwandt. Geeignet sind ferner metallische Folien, die durch Ultraschall verschweißt werden können.
  • Die Innenhülse besteht vorzugsweise aus Kunststoff. In Frage kommen insbesondere Polypropylen, aber auch Polyamidqualitäten, die den bei Zweikomponentenlacken häufig verwandten aromatischen Lösungsmitteln besser Stand halten.
  • Die Innenhülse ist am Boden der Druckdose festgelegt. Der Stößel bzw. das Auslöseteil des Stößels ragen durch das Bodenelement des Stößels hindurch und aus dem Dosenboden heraus. Zweckmäßigerweise greift das bodenseitige Ende des Stößels reibschlüssig in die Aufnahme eines Auslöseelements, das per Hand auslösbar ist. Das Auslöseelement ist beispielsweise ein Auslöseknopf, der die Auslösung der Innenhülse und die Freisetzung des Innenhülseninhaltes bei Betätigung bewirkt.
  • Das Halteteil des Bodenelements kann bodenseitig - außerhalb der Druckdose - ein Gewinde aufweisen, auf das eine Flügelschraube als Auslöseelement geschraubt werden kann. Auch in diesem Fall ist das Auslöseelement mit der Aufnahme versehen, in die das bodenseitige Ende des Stößels oder Auslöseteils ragt. Durch Eindrehen der Flügelschraube wird der Stößel mitgenommen und in die Innenhülse gepresst, so dass die Schneidkrone die Siegelfolie aufschneidet.
  • Bei Druckdosen aus Weißblech wird die Innenhülse in der Regel an einem Bodenteller festgelegt, der seinerseits in den Dosenboden eingekrimpt wird. Für diesen Fall ist es zweckmäßig, am Halteteil einen peripher umlaufenden Vorsprung vorzusehen, hinter den der auswärts gerichtete Innenrand des Bodentellers greift. Die Innenhülse wird dadurch in den Bodenteller eingespannt, wobei ein außen umlaufender Bereich des Bodenelements und der Vorsprung als Widerlager dienen. Zweckmäßigerweise sind in diesem gehalterten Bereich umlaufend Dichtlippen vorgesehen, die gegen die Innenseite des Bodentellers wirken. Es ist aber auch ohne weiteres möglich, das Halteteil an den Bodenteller anzuspritzen.
  • Insbesondere dann, wenn die Druckdose aus Aluminium gefertigt ist und einen gezogenen Boden aufweist, ist die Innenhülse in eine Ausnehmung des Druckdosenbodens eingespannt. Dazu ist die Innenhülse mit ihrem Halteteil durch diese Ausnehmung geführt und mit einem Halteelement, beispielsweise einem Spannring, auf der Unterseite der Dose am Halteteil gesichert. Das Halteteil kann hierzu beispielsweise eine umlaufende Nut zur Festlegung des Spannrings aufweisen. Die Dichtigkeit wird vorzugsweise durch eine Dichtungsscheibe zwischen Dosenboden und Bodenelement der Innenhülse gewährleistet.
  • Insbesondere bei gezogenen Dosen aus Aluminium ist es zweckmäßig, im Bereich des Dosenbodens ein Fixierelement vorzusehen, dass dazu dient, einen Standfuß zu fixieren, aber auch, um das Auslöseelement zu führen. Ein solches Fixierelement ist beispielsweise etwa glocken- oder halbkugelförmig und wird beispielsweise über den vorstehend erwähnten Spannring oder dergleichen im Bereich der Ausnehmung verankert.
  • In allen Ausführungsformen kann die erfindungsgemäße Druckdose einen Standfuß aufweisen, der insbesondere dazu dient, das Auslöseelement so zu umgeben und einzuschließen, dass eine ungewollte Auslösung erschwert wird und dazu, die Standfestigkeit zu erhöhen. Im Falle von Druckdose mit eingekrimptem Dosenboden kann der Standfuß auf die Krimpwülste bzw. -nähte aufgesteckt werden, im Falle eines gezogenen Bodens bei Aluminiumdosen wird in der Regel der Standfuß an dem vorstehend genannten Fixierelement befestigt.
  • Die Erfindung wird durch die beigefügten Abbildungen bevorzugter Ausführungsformen näher erläutert. Von diesen zeigt:
  • Figur 1
    das verschlussseitige Ende einer Innenhülse einer erfindungsgemäßen Druckdose mit einer ersten Ausführungsform für den Verschluss;
    Figur 1a, 1b
    die Innenhülse gemäß Figur 1 in druckbelastetem Zustand und nach der Auslösung;
    Figur 2
    den Bodenbereich einer erfindungsgemäßen Druckdose mit eingesetzter Innenhülse und Druckknopfauslösung;
    Figur 3
    eine weitere Ausführungsform der erfindungsgemäßen Druckdose mit einer Drehtellerauslösung; und
    Figur 4
    eine weitere Ausführungsform einer erfindungsgemäßen Druckdose mit gezogenem Boden und Druckknopfauslösung;
    Figur 5
    eine Variante des Innenhülsenverschlusses gemäß Figur 1a;
    Figur 6
    ein Detail der Darstellung von Figur 5; sowie
    Figur 7
    eine Ausführungsform der erfindungsgemäßen Druckdose mit einer Innenhülse gemäß Figur 5 nach der Auslösung.
  • Figur 1 zeigt das verschlussseitige Ende einer Ausführungsform einer Innenhülse, wie sie erfindungsgemäß zum Einsatz kommt. Die Innenhülse 5 weist eine zylindrische Außenwand 6 auf, die stirnseitig mit einem Verschluss 7 verschlossen ist. Der Verschluss 7 ist über einen Verschlussring 7a mit der Stirnseite 6a der Wandung 6 der Innenhülse verbunden. Die Verbindung ist eine Schweißverbindung, zweckmäßigerweise hergestellt durch Ultraschallverschweißen.
  • Der Verschluss 7 besteht weiterhin aus einem Haltering 7b, der über eine Membran oder einen ringförmigen Steg 7c mit dem Verschlussring 7a verbunden ist. Die Membran 7c ist so ausgelegt, dass sie bei Krafteinwirkung auf den Haltering 7b aus dem Inneren der Innenhülse heraus aufreißt; hierzu ist im Allgemeinen - bei Polypropylen als Material - eine Stärke von 0,20 mm ausreichend.
  • Über den Haltering 7b ist die eigentliche Siegelfolie 17 gelegt, die hier faltig dargestellt ist, also unter Druckeinwirkung von oben/außen in das Innere der Innenhülse 5 hinein nachgeben kann. Bei der Siegelfolie handelt es sich beispielsweise um eine metallisierte Kunststofffolie, etwa Polypropylen, das einstückig mit den Ringen 7a und 7b gefertigt und anschließend metallisiert wurde.
  • Im Inneren der Innenhülse ist ein Stößel 9 angeordnet, der in einer Aufnahme 9a endet. In diese Aufnahme 9a ragt ein Vorsprung 14 der Krone 13, die über den Stößel 9 in Richtung auf den Verschluss 7 bewegt werden kann. Der Rand der Krone 13 wirkt gegen die Unterseite des Halterings 7b des Deckels 7 dergestalt, dass bei Betätigung des Stößels 9 die Krone 13 gegen den Haltering 7b gepresst wird, was zum Reißen der Membran 7c zwischen den Ringen 7a und 7b führt und zum Ausstoßen des abgetrennten Teils des Deckels 7 mit der Siegelfolie 17 sowie der Krone 13 in den Druckdoseninnenraum.
  • Figur 1 zeigt die Innenhülse 5 in drucklosem Zustand mit gewellter Siegelfolie. Figur 1a zeigt die Innenhülse mit unter Druck gespannter Siegelfolie 17, Figur 1b die geöffnete Innenhülse mit ausgestoßener Krone 13 und abgelöster Membran 17 samt Haltering 7b.
  • Figur 2 zeigt eine Schnittdarstellung des unteren Teils einer erfindungsgemäßen Druckdose 1 mit eingesetzter Innenhülse 5. Die Druckdose selbst ist mit dem unteren Teil ihrer Zarge 2 sowie dem eingewölbten Boden 3 gezeigt. Der eingewölbte Boden 3 ist mit dem unteren Ende der Zarge 2 verkrimpt. Im Zentrum des Bodens 3 befindet sich der Bodenteller 4, der auf übliche Weise mit dem Boden 3 verkrimpt ist. Der Bodenteller 4 weist eine komplex gekrümmte Form mit einem auswärts - d. h. zur Außenseite der Druckdose hin weisenden - Innenrand 4a, einen ebenen mittleren Teil 4b und einen ebenfalls nach außen weisenden Außenrand, auf der in die Krimpnaht mit dem Boden 3 übergeht.
  • In die zentrale Aussparung des Bodentellers 4 eingepasst befindet sich die Innenhülse 5, die im Wesentlichen aus einer Zarge 6, einer als Verschluss dienenden, hier gespannten Siegelfolie 17 und einem Bodenelement 8 besteht. Das Bodenelement 8 weist im Zentrum eine Führung 10 auf und im nach außen weisenden (bodenseitigen) Bereich ein Halteteil 11.
  • Das Bodenelement 8 selbst hat bodenseitig einen außen umlaufenden kreisförmigen Rücksprung 8a, der sich auf dem ebenen mittleren Abschnitt 4b des Bodentellers 4 abstützt. Unterhalb des Rücksprungs 8a schließt sich das Halteteil 11 an, das einen umlaufenden Vorsprung 11b aufweist, der im Wesentlichen parallel zum Rücksprung 8a verläuft. Der nach außen weisende Innenrand 4a des Bodentellers 4 greift hinter den Vorsprung 11b des Halteteils 11 und fixiert auf diese Weise die Innenhülse 5 in ihrer Position im Zentrum des Bodentellers 4.
  • Im Bereich des Halteteils 11 zwischen dem Vorsprung 11b und dem Rücksprung 8a des Bodenelements 8 befinden sich umlaufende Dichtlippen 11c, die gegen den nach außen gerichteten Teil 4a des Bodentellers wirken und die Druckdose nach außen hin abdichten.
  • Im Inneren der Innenhülse 5 befindet sich der Stößel 9, über den die Siegelfolie 17 an der Stirnseite 6a der Hülsenzarge 6 geöffnet werden kann. Der Stößel 9 besteht selbst aus einem Stößelelement 9c und einem Auslöseteil 9d. Das Auslöseteil 9d befindet sich in der Führung 10 des Bodenelements 8 und ist mit seinem verschlussseitigen Ende in einer bodenseitigen Aufnahme 9e des Stößelelements 9c gelagert. Am bodenseitigen und am verschlussseitigen Ende des Stößelelements 9c befinden sich Führungsstäbe 9b, die die zentrale Position des Stößels 9 in der Innenhülse sicherstellen.
  • Mit seinem verschlussseitigen Ende 9a greift der Stößel 9 in eine Aufnahme 14 der Schneidkrone 13 ein. Die Schneidkrone 13 selbst hat in etwa die Form eines Speichenrades und ist am Radkranz mit einem Zahnkranz versehen. Der Zahnkranz ist geeignet, die Siegelfolie 17 nach Auslösung des Stößels zu punktieren und kreisförmig aufzuschneiden. Der herausgeschnittene Folienkreis wird dann innerhalb der Siegelkrone festgehalten und in den Außenraum der Druckdose abgestoßen. Eine frei im Außenraum schwimmende Siegelfolie könnte dazu führen, dass der Ventilzugang blockiert wird.
  • Die Siegelfolie 17 ist auf der Stirnseite 6a der Hülsenzarge 6 aufgeklebt bzw. aufgeschweißt. Sie besteht aus einer Induktionsfolie, d. h. einer metallisierten Kunststofffolie, die über ein Induktionsverfahren in an und für sich bekannter Weise auf eine Öffnung aufgeschweißt werden kann. Derartige Induktionsfolien sind insbesondere auch wegen ihrer Metallisierung geeignet, Hohlräume hermetisch, d. h. gas- und lösungsmitteldicht zu verschließen.
  • Die Innenhülse 5 gemäß Darstellung in Figur 2 weist ein Fenster 16 auf, dass mit einer Siegelfolie 17 verschlossen ist. Die Siegelfolie 17 ist elastisch eingestellt, d. h., sie kann unter dem im Außenraum der Druckdose herrschenden Druck nachgeben und eine Druckangleichung bewirken. Da es praktisch nicht möglich ist, die Innenhülse ohne Luft- oder Gaseinschlüsse zu befüllen und zu verschließen, ist ein derartiger Ausgleichsmechanismus sinnvoll und notwendig, insbesondere, um einen Druckausgleich über ein diffundierendes Material aus dem Außenraum zu verhindern. Dies gilt insbesondere für Aerosoldosen, die Lösungsmittel mit hohem Kriechvermögen oder Durchdringungsvermögen für Kunststoffe beinhalten.
  • Das Auslöseteil 9d des Stößels 9 ist in der Führung 10 des Bodenelements 8 gelagert. Es weist in etwa mittig ein Begrenzungselement 9g auf, dass auf einem innen umlaufenden Vorsprung 15 der Führung 10 ruht und verhindert, dass das Auslöseteil unter dem in der Druckdose herrschenden Druck aus der Hülse herausgedrückt wird. Um die Dichtigkeit nach außen zu gewährleisten, weist das Begrenzungselement 9g einen Kragen mit Dichtlippen 12 auf, die gegen die Innenwandung der Führung 10 in ihrem verschlussseitigen Bereich wirkt. Es versteht sich, dass die Führung 10 in diesem Bereich 10a über einen erweiterten Querschnitt verfügt, der dem Querschnitt des Begrenzungselements 9e entspricht.
  • Im bodenseitigen Teil der Führung 10, d. h. bodenseitig zum Vorsprung 15, weist die Führung 10 einen kleineren Querschnitt auf, der dem Querschnitt des bodenseitigen Endes 9f des Auslöseteils 9d entspricht. Hier tritt das Auslöseteil 9d aus der Innenhülse 5 und Druckdose 1 aus und ragt in den vom Dosenboden 3 gebildeten Hohlraum hinein, um dort mit seinem bodenseitigen Ende 9f reibschlüssig in die Aufnahme 21 des Auslöseelements 20 zu greifen.
  • Das Halteteil 11 des Bodenelements 8 ragt vom Rücksprung 8a durch den Bodenteller 4 in den vom Dosenboden 3 gebildeten Raum.
  • Um zu verhindern, dass der Stößel bei der Auslösung der Dose zu weit in die Druckdose hineingetrieben wird und dadurch Undichtigkeiten entstehen, ist eine Wegbegrenzung für die Auslösung sinnvoll. Diese Wegbegrenzung kann einerseits über das untere Ende des Halteteils 11 und den Boden des Auslöseknopfes 20 erfolgen, andererseits über das obere (verschlussseitige) Ende der Aufnahme 21 und das bodenseitige Ende der Führung 10, wie im gezeigten Fall.
  • Zum Schutz des Auslösemechanismus ist der Dosenboden mit einem Standfuß 24 ausgestattet, der um den Krimprand zwischen der Zarge 2 und dem Dosenboden 3 greift und daran formschlüssig festgelegt ist. Der Standfuß 24 weist eine zentrale Ausnehmung auf, in der der Auslöseknopf ragt. Der Fuß 24 schützt einerseits den Auslöseknopf 20 vor ungewollter Betätigung und erhöht zum anderen die Standfestigkeit der Druckdose.
  • Das Halteteil 11 ist im Bereich seines bodenseitigen Endes mit einem Gewinde 11a versehen, das in der gezeigten Ausführungsform ohne Bedeutung ist, jedoch eine Variante des Auslösemechanismus erlaubt, bei der das Auslöseteil 9d mit Hilfe einer Flügelschraube in die Innenhülse hineingetrieben wird. Diese Ausführungsform ist in Figur 3 dargestellt. Die Innenhülse ist für beide Varianten verwendbar.
  • Die Ausführungsform gemäß Figur 3 unterscheidet sich von der gemäß Figur 2 lediglich im Auslösemechanismus im Bodenbereich der Druckdose, der einen Drehteller beinhaltet. Konstruktion und Funktion der Innenhülse sind im Übrigen wie in Figur 2 dargestellt und dazu beschrieben.
  • Gemäß Figur 3 ragt das Auslöseteil 9d mit seinem bodenseitigen Ende 9f in die Aufnahme 21 des Drehtellers 20, das in diesem Fall mit einer Hülse 26 mit Innengewinde ausgestattet ist, das mit dem Außengewinde 11a des Halteteils 10 zusammenwirkt. In unausgelöstem Zustand befindet sich die Hülse 26 in einer unteren Position relativ zum Halteteil 10. Durch Betätigung des Flügels 25 kann die Hülse 26 weiter am Halteteil 10 hochgeschraubt werden und nimmt dabei über die Aufnahme 21 das Auslöseteil 9d mit. Der Stößel 9 wirkt auf die Schneidkrone 13, die die Folie 17 kreisförmig aufschneidet und mit der Folie in den Außenraum der Druckdose 1 ausgestoßen wird.
  • Der Vorteil dieser Ausführungsform ist, dass der Stößel in der eingeschobenen Position fixiert wird und auf diese Weise ein "Rückfallen" der Schneidkrone mit dem herausgeschnittenen Teil der Siegelfolie 17 in die obere Öffnung der Innenhülse 5 zuverlässig verhindert wird.
  • Im Übrigen weist die Druckdose auch hier einen Standfuß 24 auf, der den Auslösemechanismus umgibt und gegen Auswirkung von außen schützt. Der Standfuß 24 ist naturgemäß auf die Dimension des Auslöseelementes 20 abgestimmt. Es versteht sich, dass anstelle einer einflügeligen Schraube 20 auch eine zweiflügelige Schraube eingesetzt werden kann.
  • Figur 4 zeigt eine Variante der Erfindung, die an eine Druckdose mit gezogenem Boden 3 angepasst ist. Die Druckdose 1 mit ihrer Zarge 2 geht nahtlos in den Boden 3 über, der eine zentrale Ausnehmung 3a aufweist, in die das Halteteil 11 der Innenhülse 5 eingeführt ist. Eine Scheibendichtung 22, die sich an den Rücksprung 8a des Bodenelements 8 anschließt und auf der Innenseite des Bodens 3 unmittelbar angrenzend an die Ausnehmung 3a aufliegt, dient der Abdichtung der Druckdose nach außen. Ein Spannring 18 fixiert die Hülse 5 unterhalb des Bodens 3 im Bereich der Ausnehmung 3a.
  • In der gezeigten Variante weist die Druckdose im Bodenbereich ein glockenförmiges Fixierelement 23 auf, das mit dem Spannring 18 in seiner Position unmittelbar angrenzend an das Bodenelement 3 konzentrisch zur Ausnehmung 3a gehalten wird. Das Fixierelement 23 dient der Fixierung des Standfußes 24, der mangels Krimpnaht nicht direkt an der Dose befestigt werden kann. Gleichzeitig dient das Fixierelement als äußere Führung für den Auslöseknopf 20, der auf die gleiche Art und Weise auf den Stößel 9 wirkt, wie in Figur 2 gezeigt. Es versteht sich, dass auch diese Variante mit einer Drehtellerauslösung versehen sein kann.
  • Figur 5 zeigt eine weitere Variante des verschlussseitigen Endes einer Innenhülse, wie sie erfindungsgemäß zum Einsatz kommt. Die Innenhülse weist eine zylindrische Außenwand 6 auf, die stirnseitig den Verschluss 7 aufweist. Der Verschluss 7 ist über einen Verschlussring 7a mit der Stirnseite 6a der Wandung 6 der Innenhülse verbunden. Die Verbindung ist eine Schweißverbindung, zweckmäßigerweise hergestellt durch Ultraschallverschweißen.
  • Der Verschluss 7 besteht aus einem Haltering 7b, der über eine Membran oder ringförmigen Steg 7c mit dem Verschlussring 7a verbunden ist. Die Membran 7c ist so ausgelegt, dass die Krafteinwirkung auf den Haltering 7b sie aus dem Inneren der Innenhülse heraus aufreißt.
  • Die Krone 13 weist bodenseitig eine Verlängerung 14 auf, die, wie in Figur 1 gezeigt, in einer Aufnahme des Stößels 9 endet.
  • Figur 6 zeigt ein Detail der Darstellung von Figur 5 zur Verdeutlichung des Zusammenwirkens von Verschluss 7 und Krone 13. Der Verschlussring 7a und der Haltering 7b sind über die Membran 7c miteinander verbunden, die im dargestellten Fall eine Trennlinie T als Schwächungszone aufweist. T ist die Trennlinie, entlang der der Haltering vom Verschlussring abreißt, wenn sich die Krone 13 in Richtung auf die Siegelfolie 17 bewegt. Ein umlaufender Vorsprung V an der Krone 13 dient der Unterstützung des Aufreiß- und Trennprozesses dadurch, dass er gegen die untere Kante 7d des Halterings 7b wirkt, wenn die Auslösung über die Aufwärtsbewegung der Krone 13 eingeleitet wird.
  • Im Bereich der Stirnfläche 6a der Innenhülsenwandung 6 befindet sich die Schweißnaht S, entlang der der Verschlussring 7a mit der Wandung 6 verschweißt ist.
  • Figur 7 zeigt eine erfindungsgemäße Druckdose mit dem Bodenbereich und der eingesetzten Innenhülse nach der Auslösung. Krone 13 und Siegelfolie 17 mit Haltering 7b befinden sich bereits außerhalb der Innenhülse 5, der Verschlussring 7a verbleibt an der Stirnseite der Hülsenwand 6. Die Krone 13 weist eine zur Bodenseite weisende Verlängerung 14 mit seitlichen Führungsstäben 14b auf, die über eine Aufnahme mit dem Stößel 9 zusammenwirkt.

Claims (15)

  1. Druckdose (1) für Zweikomponenten-Aerosolsysteme, insbesondere für 2K-Montageschaumsysteme, mit einer Zarge (2), einem in einem Dom angeordneten Ventil, einem Boden (3) und einer am Boden (3) angeordneten Innenhülse (5), wobei die Innenhülse (5) mit einer zylindrischen Hülsenwand (6), einem Verschluss (7), einem Bodenelement (8) sowie einem in der Innenhülse (5) verschiebbar angeordneten und mit seinem Ende (9f) durch das Bodenelement (8) ragenden Stößel (9) ausgestattet ist und das Bodenelement (8) eine Führung (10) für den Stößel (9) und ein Halteteil (11) aufweist, das durch den Boden (3) der Druckdose (1) geführt und daran festgelegt ist, wobei der Stößel (9) mit einem außerhalb der Druckdose angeordneten Auslöseelement (20) zusammenwirkt,
    dadurch gekennzeichnet, dass die Innenhülse (5) wenigstens eine nachgebende Zone für den Druckausgleich zwischen Doseninnenraum und Hülsenraum in Form einer Siegelfolie (17) aufweist, die eine Stoffreserve in Form eines Faltenwurfs oder einer Ausbeulung aufweist, die es der Siegelfolie (17) erlaubt, sich unter Druckeinfluss von außen in den Innenraum der Innenhülse (5) einzuwölben.
  2. Druckdose nach Anspruch 1, dadurch gekennzeichnet, dass die nachgebende Zone von einer auf die Stirnseite (6a) der Hülsenwand (6) aufgebrachten Siegelfolie gebildet wird.
  3. Druckdose nach Anspruch 1 oder 2, dadurch gekennzeichnet, dass die Siegelfolie (17) eine metallisierte Kunststofffolie oder eine Kunststoff/Metall-Verbundfolie ist.
  4. Druckdose nach einem der Ansprüche 2 oder 3, dadurch gekennzeichnet, dass der Stößel (9) mit einer Krone (13) lösbar verbunden ist, die bodenseitig eine Aufnahme (14) für das verschlussseitige Stößelende (9a) aufweist.
  5. Druckdose nach Anspruch 4, dadurch gekennzeichnet, dass der Verschluss (7) einen Verschlussring (7a) aufweist, der auf die Stirnseite (6a) der Hülsenwand (6) aufgeschweißt ist und in dem die nachgebende Siegelfolie angeordnet ist.
  6. Druckdose nach Anspruch 5, dadurch gekennzeichnet, dass der Verschluss (7) innerhalb des Verschlussrings (7a) einen Haltering (7b) aufweist, der mit dem Verschlussring über eine ringförmige Stegverbindung (7c) verbunden ist, wobei die Krone (13) bei Auslösung auf den Haltering (7b) einwirkt, um diesen vom Verschlussring zu trennen.
  7. Druckdose nach Anspruch 5 oder 6, dadurch gekennzeichnet, dass die Hülsenwand (6) stirnseitig (6a) mit dem Verschlussring (7a) ultraschallverschweißt ist.
  8. Druckdose nach einem der vorstehenden Ansprüche, dadurch gekennzeichnet, dass der Stößel (9) unterteilt ist in ein stabförmiges Stößelelement (9c) und ein bodenseitiges Auslöseteil (9d).
  9. Druckdose nach Anspruch 8, dadurch gekennzeichnet, dass das bodenseitige Auslöseteil (9d) in einer bodenseitigen Aufnahme (9e) des stabförmigen Stößelelements (9c) eingreift.
  10. Druckdose nach einem der vorstehenden Ansprüche, dadurch gekennzeichnet, dass der Stößel (9) ein Begrenzungselement (9g) aufweist, das mit einem in der Führung (10) innenseitig umlaufenden Stufe (15) zusammenwirkt.
  11. Druckdose nach Anspruch 10, dadurch gekennzeichnet, dass die Führung (10) sich verschlussseitig auf den Durchmesser des Begrenzungselements (9e) erweitert.
  12. Druckdose nach Anspruch 11, dadurch gekennzeichnet, dass das Begrenzungselement (9e) eine elastische Dichtung (12) aufweist, die gegen die Innenwandung des erweiterten Teils der Führung (10) wirkt.
  13. Druckdose nach einem der vorstehenden Ansprüche, dadurch gekennzeichnet, dass das Halteteil (11) peripher einen konzentrisch umlaufenden Vorsprung (11b) aufweist, hinter den ein auswärts weisender innerer Rand eines Bodentellers (4) greift, welcher mit seinem äußeren Rand mit dem Dosenboden (3) verkrimpt ist.
  14. Druckdose nach Anspruch 13, gekennzeichnet durch verschlussseitig zum Vorsprung (11b) angeordnete und konzentrisch umlaufende Dichtlippen (11c), die mit dem auswärts weisenden inneren Rand des Bodentellers (4) des Dosenbodens (3) zusammenwirken.
  15. Druckdose nach einem der Ansprüche 1 bis 12, dadurch gekennzeichnet, dass die Innenhülse (5) mit dem Halteelement (11) in eine Ausnehmung (3a) des Dosenbodens (3) eingespannt ist.
EP07724566A 2006-04-25 2007-04-25 Druckdose mit innenhülse Active EP2013115B9 (de)

Priority Applications (1)

Application Number Priority Date Filing Date Title
PL07724566T PL2013115T3 (pl) 2006-04-25 2007-04-25 Pojemnik ciśnieniowy z nabojem

Applications Claiming Priority (3)

Application Number Priority Date Filing Date Title
DE102006018986 2006-04-25
DE102006056280A DE102006056280A1 (de) 2006-04-25 2006-11-29 Druckdose mit Innenhülse
PCT/EP2007/003636 WO2007122001A1 (de) 2006-04-25 2007-04-25 Druckdose mit innenhülse

Publications (3)

Publication Number Publication Date
EP2013115A1 EP2013115A1 (de) 2009-01-14
EP2013115B1 EP2013115B1 (de) 2011-11-16
EP2013115B9 true EP2013115B9 (de) 2012-04-04

Family

ID=38480482

Family Applications (1)

Application Number Title Priority Date Filing Date
EP07724566A Active EP2013115B9 (de) 2006-04-25 2007-04-25 Druckdose mit innenhülse

Country Status (5)

Country Link
EP (1) EP2013115B9 (de)
AT (1) ATE533704T1 (de)
DE (1) DE102006056280A1 (de)
PL (1) PL2013115T3 (de)
WO (1) WO2007122001A1 (de)

Cited By (1)

* Cited by examiner, † Cited by third party
Publication number Priority date Publication date Assignee Title
CN105966781A (zh) * 2016-07-06 2016-09-28 中国人民解放军第七五医院 一种半自动混合双组份喷罐

Families Citing this family (5)

* Cited by examiner, † Cited by third party
Publication number Priority date Publication date Assignee Title
CN102502061B (zh) * 2011-12-28 2014-12-03 德晋(香港)控股有限公司 泡沫泵
HRP20181697T1 (hr) * 2014-07-11 2018-12-28 FAZEKAS, Gábor Uređaj za pohranu, spremnik koji je s njim i postupak za proizvodnju uređaja za pohranjivanje
HUE038688T2 (hu) 2014-07-18 2018-11-28 Fazekas Gabor Tömítõ csatlakozás és eljárás annak elõállítására
MY185337A (en) 2014-12-10 2021-05-06 Orientus Ind Sdn Bhd A single hole single action aerosol can
DE102019113778A1 (de) 2019-05-23 2020-11-26 Gábor Fazekas Druckdose mit Innenhülse

Family Cites Families (9)

* Cited by examiner, † Cited by third party
Publication number Priority date Publication date Assignee Title
DE3322811C2 (de) 1983-06-24 1996-12-12 Miczka Silvia Behälter, insbesondere Druckdose zum Ausbringen von ein- oder mehrkomponentigen Substanzen
JPS60158073A (ja) * 1984-01-26 1985-08-19 株式会社柏化学工業 混合型エアゾ−ル用容器
DE3405065A1 (de) * 1984-02-13 1985-08-22 F.P.D. Future Patents Development Co. S.A., Luxemburg/Luxembourg Vorrichtung zum herstellen und verspruehen einer aus wenigstens zwei komponenten, z. b. fluessigkeiten, und einem treibgas bestehenden mischung
US4641765A (en) * 1984-10-05 1987-02-10 Diamond George B Expandable pressurized barrier container
US5167347A (en) * 1991-04-22 1992-12-01 Clairol Incorporated Multi-fluid mixing and automatic metering dispenser
JP4290297B2 (ja) * 1999-12-17 2009-07-01 エア・ウォーター・ゾル株式会社 混合型エアゾール用容器
DE20209319U1 (de) * 2002-06-15 2002-11-07 BÜKA-Chemie GmbH, 01936 Schwepnitz Reaktionsmittelbehälter für Schaumstoffkartuschen
DE10260117A1 (de) 2002-12-19 2004-07-01 Peter Kwasny Gmbh Druckdose zum Mischen und Ausbringen zweikomponentiger Werkstoffe
DE102004024777A1 (de) * 2004-05-17 2005-12-15 Fazekas, Gàbor Druckdose mit Innenhülse

Cited By (1)

* Cited by examiner, † Cited by third party
Publication number Priority date Publication date Assignee Title
CN105966781A (zh) * 2016-07-06 2016-09-28 中国人民解放军第七五医院 一种半自动混合双组份喷罐

Also Published As

Publication number Publication date
PL2013115T3 (pl) 2012-08-31
EP2013115B1 (de) 2011-11-16
DE102006056280A1 (de) 2007-10-31
ATE533704T1 (de) 2011-12-15
EP2013115A1 (de) 2009-01-14
WO2007122001A1 (de) 2007-11-01

Similar Documents

Publication Publication Date Title
DE60209650T2 (de) Abgabevorrichtung für ein Dichtungsmittel für Reifen
EP1373094B1 (de) Druckdose zum mischen und ausbringen zweikomponentiger werkstoffe
EP0402310B1 (de) Ein- oder mehrteiliger Verschluss für feste oder deformierbare Behälter
DE102007046625B4 (de) Vorrichtung zum getrennten Aufbewahren einer Substanz, vorzugsweise eines medizinischen oder pharmazeutischen Wirkstoffs, und einer Flüssigkeit und zum Mischen derselben vor dem Gebrauch
EP2013115B9 (de) Druckdose mit innenhülse
EP1578676B1 (de) Druckdose zum mischen und ausbringen zweikomponentiger werkstoffe
WO2012048922A1 (de) Kunststoffverschluss mit kapsel zur abgabe von wirkstoffen
EP2106372A1 (de) Verschlusskappe mit versiegelter abgabekammer für getränkezusatzmittel
DE102015118053A1 (de) Verschlusseinrichtung für einen Behälter
DE1575021A1 (de) Abgabebehaelter fuer unter Druck abzugebenden Inhalt
DE102008040748A1 (de) Schlauchbeutel
EP0625468B1 (de) Zweikomponenten-Druckdose
EP1010635B2 (de) Verschlusskappe für einen Medikamentenbehälter mit geschlossen ausgebildetem Behälterhals
WO2019096795A1 (de) Kunststoffverschlussteil mit abtrennbarer membran
WO2020224897A1 (de) Kartusche mit kopfstück
EP2114795B1 (de) Zweikomponentendruckdose mit abgedichtetem auslösemechanismus
EP0079548A2 (de) Verschluss eines Verpackungsbehälters
EP3741710B1 (de) Druckdose mit innenhülse
EP3717378B1 (de) Zweikomponenten-druckdose
CH714474A1 (de) Kapsel mit integrierter Abgabeeinrichtung.
DE10057186B4 (de) Zweikomponenten-Druckdose
DE2009403C3 (de) Mischbehälter fur die Aufnahme von miteinander reagierenden Substanzen zur Herstellung von Gemischen, insbesondere von Dentalpraparaten
DE102004018130A1 (de) Druckdose zum Ausbringen von Mehrkomponentenformulierungen
DE7247165U (de) Als Handschäumvorrichtung ausgestaltete Einhand-Einwegpackung
DE2365535A1 (de) Hohlzylindrischer strangpressbehaelter fuer plastische massen

Legal Events

Date Code Title Description
PUAI Public reference made under article 153(3) epc to a published international application that has entered the european phase

Free format text: ORIGINAL CODE: 0009012

17P Request for examination filed

Effective date: 20081121

AK Designated contracting states

Kind code of ref document: A1

Designated state(s): AT BE BG CH CY CZ DE DK EE ES FI FR GB GR HU IE IS IT LI LT LU LV MC MT NL PL PT RO SE SI SK TR

AX Request for extension of the european patent

Extension state: AL BA HR MK RS

17Q First examination report despatched

Effective date: 20100118

GRAP Despatch of communication of intention to grant a patent

Free format text: ORIGINAL CODE: EPIDOSNIGR1

GRAS Grant fee paid

Free format text: ORIGINAL CODE: EPIDOSNIGR3

GRAA (expected) grant

Free format text: ORIGINAL CODE: 0009210

AK Designated contracting states

Kind code of ref document: B1

Designated state(s): AT BE BG CH CY CZ DE DK EE ES FI FR GB GR HU IE IS IT LI LT LU LV MC MT NL PL PT RO SE SI SK TR

AX Request for extension of the european patent

Extension state: BA HR MK RS

RAX Requested extension states of the european patent have changed

Extension state: RS

Payment date: 20081121

Extension state: MK

Payment date: 20081121

Extension state: HR

Payment date: 20081121

Extension state: BA

Payment date: 20081121

REG Reference to a national code

Ref country code: GB

Ref legal event code: FG4D

Free format text: NOT ENGLISH

REG Reference to a national code

Ref country code: CH

Ref legal event code: EP

REG Reference to a national code

Ref country code: IE

Ref legal event code: FG4D

Free format text: LANGUAGE OF EP DOCUMENT: GERMAN

REG Reference to a national code

Ref country code: DE

Ref legal event code: R096

Ref document number: 502007008692

Country of ref document: DE

Effective date: 20120126

REG Reference to a national code

Ref country code: NL

Ref legal event code: VDEP

Effective date: 20111116

REG Reference to a national code

Ref country code: CH

Ref legal event code: NV

Representative=s name: KAMINSKI HARMANN PATENTANWAELTE EST.

LTIE Lt: invalidation of european patent or patent extension

Effective date: 20111116

PG25 Lapsed in a contracting state [announced via postgrant information from national office to epo]

Ref country code: LT

Free format text: LAPSE BECAUSE OF FAILURE TO SUBMIT A TRANSLATION OF THE DESCRIPTION OR TO PAY THE FEE WITHIN THE PRESCRIBED TIME-LIMIT

Effective date: 20111116

Ref country code: IS

Free format text: LAPSE BECAUSE OF FAILURE TO SUBMIT A TRANSLATION OF THE DESCRIPTION OR TO PAY THE FEE WITHIN THE PRESCRIBED TIME-LIMIT

Effective date: 20120316

REG Reference to a national code

Ref country code: DE

Ref legal event code: R082

Ref document number: 502007008692

Country of ref document: DE

Representative=s name: SCHNEIDERS & BEHRENDT RECHTS- UND PATENTANWAEL, DE

Ref country code: DE

Ref legal event code: R082

Ref document number: 502007008692

Country of ref document: DE

Representative=s name: SCHNEIDERS & BEHRENDT PARTMBB, RECHTS- UND PAT, DE

PG25 Lapsed in a contracting state [announced via postgrant information from national office to epo]

Ref country code: NL

Free format text: LAPSE BECAUSE OF FAILURE TO SUBMIT A TRANSLATION OF THE DESCRIPTION OR TO PAY THE FEE WITHIN THE PRESCRIBED TIME-LIMIT

Effective date: 20111116

Ref country code: PT

Free format text: LAPSE BECAUSE OF FAILURE TO SUBMIT A TRANSLATION OF THE DESCRIPTION OR TO PAY THE FEE WITHIN THE PRESCRIBED TIME-LIMIT

Effective date: 20120316

Ref country code: SE

Free format text: LAPSE BECAUSE OF FAILURE TO SUBMIT A TRANSLATION OF THE DESCRIPTION OR TO PAY THE FEE WITHIN THE PRESCRIBED TIME-LIMIT

Effective date: 20111116

Ref country code: GR

Free format text: LAPSE BECAUSE OF FAILURE TO SUBMIT A TRANSLATION OF THE DESCRIPTION OR TO PAY THE FEE WITHIN THE PRESCRIBED TIME-LIMIT

Effective date: 20120217

Ref country code: LV

Free format text: LAPSE BECAUSE OF FAILURE TO SUBMIT A TRANSLATION OF THE DESCRIPTION OR TO PAY THE FEE WITHIN THE PRESCRIBED TIME-LIMIT

Effective date: 20111116

REG Reference to a national code

Ref country code: EE

Ref legal event code: FG4A

Ref document number: E006486

Country of ref document: EE

Effective date: 20120215

REG Reference to a national code

Ref country code: IE

Ref legal event code: FD4D

PG25 Lapsed in a contracting state [announced via postgrant information from national office to epo]

Ref country code: CY

Free format text: LAPSE BECAUSE OF FAILURE TO SUBMIT A TRANSLATION OF THE DESCRIPTION OR TO PAY THE FEE WITHIN THE PRESCRIBED TIME-LIMIT

Effective date: 20111116

PG25 Lapsed in a contracting state [announced via postgrant information from national office to epo]

Ref country code: BG

Free format text: LAPSE BECAUSE OF FAILURE TO SUBMIT A TRANSLATION OF THE DESCRIPTION OR TO PAY THE FEE WITHIN THE PRESCRIBED TIME-LIMIT

Effective date: 20120216

Ref country code: CZ

Free format text: LAPSE BECAUSE OF FAILURE TO SUBMIT A TRANSLATION OF THE DESCRIPTION OR TO PAY THE FEE WITHIN THE PRESCRIBED TIME-LIMIT

Effective date: 20111116

Ref country code: SK

Free format text: LAPSE BECAUSE OF FAILURE TO SUBMIT A TRANSLATION OF THE DESCRIPTION OR TO PAY THE FEE WITHIN THE PRESCRIBED TIME-LIMIT

Effective date: 20111116

Ref country code: DK

Free format text: LAPSE BECAUSE OF FAILURE TO SUBMIT A TRANSLATION OF THE DESCRIPTION OR TO PAY THE FEE WITHIN THE PRESCRIBED TIME-LIMIT

Effective date: 20111116

Ref country code: IE

Free format text: LAPSE BECAUSE OF FAILURE TO SUBMIT A TRANSLATION OF THE DESCRIPTION OR TO PAY THE FEE WITHIN THE PRESCRIBED TIME-LIMIT

Effective date: 20111116

PG25 Lapsed in a contracting state [announced via postgrant information from national office to epo]

Ref country code: RO

Free format text: LAPSE BECAUSE OF FAILURE TO SUBMIT A TRANSLATION OF THE DESCRIPTION OR TO PAY THE FEE WITHIN THE PRESCRIBED TIME-LIMIT

Effective date: 20111116

REG Reference to a national code

Ref country code: PL

Ref legal event code: T3

PLBE No opposition filed within time limit

Free format text: ORIGINAL CODE: 0009261

STAA Information on the status of an ep patent application or granted ep patent

Free format text: STATUS: NO OPPOSITION FILED WITHIN TIME LIMIT

26N No opposition filed

Effective date: 20120817

PG25 Lapsed in a contracting state [announced via postgrant information from national office to epo]

Ref country code: MC

Free format text: LAPSE BECAUSE OF NON-PAYMENT OF DUE FEES

Effective date: 20120430

REG Reference to a national code

Ref country code: DE

Ref legal event code: R097

Ref document number: 502007008692

Country of ref document: DE

Effective date: 20120817

REG Reference to a national code

Ref country code: EE

Ref legal event code: MM4A

Ref document number: E006486

Country of ref document: EE

Effective date: 20120430

PG25 Lapsed in a contracting state [announced via postgrant information from national office to epo]

Ref country code: EE

Free format text: LAPSE BECAUSE OF NON-PAYMENT OF DUE FEES

Effective date: 20120430

PG25 Lapsed in a contracting state [announced via postgrant information from national office to epo]

Ref country code: SI

Free format text: LAPSE BECAUSE OF FAILURE TO SUBMIT A TRANSLATION OF THE DESCRIPTION OR TO PAY THE FEE WITHIN THE PRESCRIBED TIME-LIMIT

Effective date: 20111116

PG25 Lapsed in a contracting state [announced via postgrant information from national office to epo]

Ref country code: ES

Free format text: LAPSE BECAUSE OF FAILURE TO SUBMIT A TRANSLATION OF THE DESCRIPTION OR TO PAY THE FEE WITHIN THE PRESCRIBED TIME-LIMIT

Effective date: 20120227

REG Reference to a national code

Ref country code: AT

Ref legal event code: MM01

Ref document number: 533704

Country of ref document: AT

Kind code of ref document: T

Effective date: 20120425

PG25 Lapsed in a contracting state [announced via postgrant information from national office to epo]

Ref country code: FI

Free format text: LAPSE BECAUSE OF FAILURE TO SUBMIT A TRANSLATION OF THE DESCRIPTION OR TO PAY THE FEE WITHIN THE PRESCRIBED TIME-LIMIT

Effective date: 20111116

PG25 Lapsed in a contracting state [announced via postgrant information from national office to epo]

Ref country code: MT

Free format text: LAPSE BECAUSE OF FAILURE TO SUBMIT A TRANSLATION OF THE DESCRIPTION OR TO PAY THE FEE WITHIN THE PRESCRIBED TIME-LIMIT

Effective date: 20111116

Ref country code: AT

Free format text: LAPSE BECAUSE OF NON-PAYMENT OF DUE FEES

Effective date: 20120425

PG25 Lapsed in a contracting state [announced via postgrant information from national office to epo]

Ref country code: LU

Free format text: LAPSE BECAUSE OF NON-PAYMENT OF DUE FEES

Effective date: 20120425

PG25 Lapsed in a contracting state [announced via postgrant information from national office to epo]

Ref country code: HU

Free format text: LAPSE BECAUSE OF FAILURE TO SUBMIT A TRANSLATION OF THE DESCRIPTION OR TO PAY THE FEE WITHIN THE PRESCRIBED TIME-LIMIT

Effective date: 20070425

REG Reference to a national code

Ref country code: FR

Ref legal event code: PLFP

Year of fee payment: 10

REG Reference to a national code

Ref country code: FR

Ref legal event code: PLFP

Year of fee payment: 11

REG Reference to a national code

Ref country code: FR

Ref legal event code: PLFP

Year of fee payment: 12

PGFP Annual fee paid to national office [announced via postgrant information from national office to epo]

Ref country code: GB

Payment date: 20180418

Year of fee payment: 12

GBPC Gb: european patent ceased through non-payment of renewal fee

Effective date: 20190425

PG25 Lapsed in a contracting state [announced via postgrant information from national office to epo]

Ref country code: GB

Free format text: LAPSE BECAUSE OF NON-PAYMENT OF DUE FEES

Effective date: 20190425

PG25 Lapsed in a contracting state [announced via postgrant information from national office to epo]

Ref country code: IT

Free format text: LAPSE BECAUSE OF NON-PAYMENT OF DUE FEES

Effective date: 20190425

PG25 Lapsed in a contracting state [announced via postgrant information from national office to epo]

Ref country code: TR

Free format text: LAPSE BECAUSE OF NON-PAYMENT OF DUE FEES

Effective date: 20200425

P01 Opt-out of the competence of the unified patent court (upc) registered

Effective date: 20230523

PGFP Annual fee paid to national office [announced via postgrant information from national office to epo]

Ref country code: PL

Payment date: 20250321

Year of fee payment: 19

PGFP Annual fee paid to national office [announced via postgrant information from national office to epo]

Ref country code: DE

Payment date: 20250422

Year of fee payment: 19

PGFP Annual fee paid to national office [announced via postgrant information from national office to epo]

Ref country code: BE

Payment date: 20250418

Year of fee payment: 19

PGFP Annual fee paid to national office [announced via postgrant information from national office to epo]

Ref country code: FR

Payment date: 20250424

Year of fee payment: 19

PGFP Annual fee paid to national office [announced via postgrant information from national office to epo]

Ref country code: CH

Payment date: 20250501

Year of fee payment: 19