EP2006241A1 - Hubvorrichtung zum Heben und Senken von Wechselaufbauten von Lastfahrzeugen - Google Patents

Hubvorrichtung zum Heben und Senken von Wechselaufbauten von Lastfahrzeugen Download PDF

Info

Publication number
EP2006241A1
EP2006241A1 EP08010969A EP08010969A EP2006241A1 EP 2006241 A1 EP2006241 A1 EP 2006241A1 EP 08010969 A EP08010969 A EP 08010969A EP 08010969 A EP08010969 A EP 08010969A EP 2006241 A1 EP2006241 A1 EP 2006241A1
Authority
EP
European Patent Office
Prior art keywords
profile
lifting device
telescopic
connecting part
guide groove
Prior art date
Legal status (The legal status is an assumption and is not a legal conclusion. Google has not performed a legal analysis and makes no representation as to the accuracy of the status listed.)
Withdrawn
Application number
EP08010969A
Other languages
English (en)
French (fr)
Inventor
Michael Hofstetter
Current Assignee (The listed assignees may be inaccurate. Google has not performed a legal analysis and makes no representation or warranty as to the accuracy of the list.)
Maha Maschinenbau Haldenwang GmbH and Co KG
Maha GmbH and Co KG
Original Assignee
Maha Maschinenbau Haldenwang GmbH and Co KG
Maha GmbH and Co KG
Priority date (The priority date is an assumption and is not a legal conclusion. Google has not performed a legal analysis and makes no representation as to the accuracy of the date listed.)
Filing date
Publication date
Application filed by Maha Maschinenbau Haldenwang GmbH and Co KG, Maha GmbH and Co KG filed Critical Maha Maschinenbau Haldenwang GmbH and Co KG
Publication of EP2006241A1 publication Critical patent/EP2006241A1/de
Withdrawn legal-status Critical Current

Links

Images

Classifications

    • BPERFORMING OPERATIONS; TRANSPORTING
    • B66HOISTING; LIFTING; HAULING
    • B66FHOISTING, LIFTING, HAULING OR PUSHING, NOT OTHERWISE PROVIDED FOR, e.g. DEVICES WHICH APPLY A LIFTING OR PUSHING FORCE DIRECTLY TO THE SURFACE OF A LOAD
    • B66F3/00Devices, e.g. jacks, adapted for uninterrupted lifting of loads
    • B66F3/46Combinations of several jacks with means for interrelating lifting or lowering movements
    • BPERFORMING OPERATIONS; TRANSPORTING
    • B66HOISTING; LIFTING; HAULING
    • B66FHOISTING, LIFTING, HAULING OR PUSHING, NOT OTHERWISE PROVIDED FOR, e.g. DEVICES WHICH APPLY A LIFTING OR PUSHING FORCE DIRECTLY TO THE SURFACE OF A LOAD
    • B66F3/00Devices, e.g. jacks, adapted for uninterrupted lifting of loads
    • B66F3/24Devices, e.g. jacks, adapted for uninterrupted lifting of loads fluid-pressure operated
    • B66F3/25Constructional features
    • B66F3/26Adaptations or arrangements of pistons
    • B66F3/28Adaptations or arrangements of pistons telescopic

Definitions

  • the invention relates to a lifting device for lifting and lowering of swap bodies such. Cargo containers of trucks.
  • a corner fitting is a hollow body formed of strong, flat steel sheet surfaces, wherein individual ones of these surfaces have an opening with the cross-sectional area of a flat oval.
  • the usual latch for a corner fitting is often referred to as a "twist lock”.
  • the bolt is inserted through this part of the bolt with a frontal, hammerhead-like widening through an opening on a surface of the corner fitting and rotated about its longitudinal axis by 90 °.
  • the principle is including a meaningful development in addition to the AT 392 047 B shown.
  • lifting devices are used, one of which is docked to the corner fittings of the container.
  • the lifting devices first lift the container so far that the load vehicle passing underneath can drive away; then the container is lowered by the synchronized moving lifting devices to the ground.
  • the lifting devices have to telescopically movable into one another hollow sections, which are normally driven by an internally disposed hydraulic cylinder relative to each other movable.
  • the object underlying the invention is to design the lifting device so that the attachment of the telescopic part can be accomplished at the already attached to the swap body connection part of an individual without special Kra ⁇ aufwand.
  • the upper outer telescopic tube of the telescopic part is not rigidly attached to the connector as in the prior art construction, but linearly guided in its profile direction in such a way that it is movable upwards to one in the region of its lower end mounted projection abuts a downwardly facing surface of the connector part and on further upward movement of the connector part and with this raises the container.
  • the guide track on the connecting part is formed as a groove, can be pivoted by the open cross-sectional side of the telescopic part by a normal to its profile direction pivoting movement in the groove or swung out of it.
  • the open cross-sectional side of the groove forming a guideway is bridged by securing parts, whereby the telescopic part can be secured against movement normal to the longitudinal direction of the Linear Adjustsnut out of the groove.
  • the telescopic part according to the invention thus does not need to be lifted at all for docking to the container.
  • the connecting part 2 alone is on the swap body 4 by means of the aforementioned twist-lock connection as well as support struts, which act on the diagonal brace 3 so fixed that it is firmly fixed against it against linear and relative rotational movement.
  • the connecting part 2 has an elongated, in the operating position vertically oriented guide groove with approximately U-shaped cross-sectional area.
  • the lateral groove flanks 2.1 are approximately normal to the adjacent plane of the swap body.
  • the open cross-sectional side of the groove is located on the side facing away from the swap body.
  • the lateral surface of the upper profile 1.1 of the telescopic part 1 is now included in a loose fit in the guide groove on the connection part 2.
  • the telescope part can be extended.
  • the upper, outer profile 1.1 is moved vertically upwards. It slides so long in the guide groove on the connecting part linearly until it abuts with a projecting at its lower end abutment surface 1.1.1 acting on the opposite stop surface 2.1.1 lower end of the guide groove bounding edges 2.1 of the connection part.
  • the required in this regard control of the lifting devices can be carried out as in the devices according to the prior art and will therefore not be further described here.
  • the load vehicle underneath can be driven away. Thereafter, the telescopic parts can be retracted so that the container can be lowered to the ground or up to low support parts.
  • the lifting devices are released again from the container by first the securing tabs 2.2 are opened, then the telescopic parts 1 are moved away by a movement normal to the longitudinal direction of the guide of the connecting parts 2 and finally the diagonal struts 3 and the connecting parts 2 are dismantled.
  • the securing tabs 2.2 are designed as lockable, pivotally mounted on a groove flank flaps. However, they can also be designed, for example, as staples which can be pushed onto the groove flanks in the longitudinal direction.
  • Fig. 2 is on the side surfaces of the connection part 2 a telescope part 1 towards open slot 2.4 recognizable.
  • the slot In the projection of the slot in the direction parallel to the longitudinal direction of the container, its opening is closed when the telescope part is arranged as intended.
  • the remaining, uncovered cross-sectional area of this slot is dimensioned so that the necessary for the operation of the lifting units lines, usually hydraulic hoses can be passed through it. This prevents these cables lying undefined on the ground and can be run over by the maneuvering truck.
  • a pair of wheels 11.4 is arranged on one side of the lower end of the lower, inner profile 11.2, a pair of wheels 11.4 is arranged.
  • the common axis of the two wheels 11.4 runs slightly outside that side of the lateral surface of the profile 11.2, which, when the telescopic part is fixed to the connecting part, faces away from the base of the groove on the connecting part.

Landscapes

  • Life Sciences & Earth Sciences (AREA)
  • Engineering & Computer Science (AREA)
  • Geology (AREA)
  • Mechanical Engineering (AREA)
  • Structural Engineering (AREA)
  • Handcart (AREA)
  • Loading Or Unloading Of Vehicles (AREA)

Abstract

Die Erfindung betrifft eine Hubvorrichtung zum Heben und Senken von Wechselaufbauten von Lastfahrzeugen, welche aus einem maschinell antreibbaren, auf dem Untergrund abgestützten Teleskopteil sowie einem Anschlussteil zur Verbindung des Teleskopteils mit der Last aufgebaut ist. Das obere, äußere Profil (1.1) des Teleskopteils ist in einer Führungsnut des Anschlussteils (2) relativ zum Anschlussteil linear geführt nach oben beweglich, bis es mit einer nach oben weisenden Anschlagfläche (1.1.1) an einer nach unten weisenden Anschlagfläche (2.1.1) des Anschlussteils zum Anliegen kommt und bei weiterer Aufwärtsbewegung den Anschlussteil mit hebt.

Description

  • Die Erfindung betrifft eine Hubvorrichtung zum Heben und Senken von Wechselaufbauten wie z.B. Frachtcontainervon Lastfahrzeugen.
  • Im Bereich der unteren Ecken sind Wechselaufbauten für Lastfahrzeuge normgemäß mit sogenannten Eckbeschlägen versehen, die zum verriegelbaren Andocken von Hebezeugen, sowie zum Befestigen des Containers am Lastfahrzeug und zum definierten Verbinden von übereinander gestapelten Containern dienen. Im Wesentlichen ist ein Eckbeschlag ein aus starken, ebenen Stahlblechflächen gebildeter Hohlkörper, wobei einzelne dieser Flächen einen Durchbruch mit der Querschnittsfläche eines Flachovals aufweisen. Der übliche Riegel für einen Eckbeschlag wird oft als "Twistlock" bezeichnet. Um einen Teil mit dem Container zu verbinden, wird von diesem Teil aus der Riegel mit einer stirnseitigen, hammerkopfartigen Verbreiterung durch einen Durchbruch an einer Fläche des Eckbeschlag durchgesteckt und um seine Längsachse um 90° verdreht. Das Prinzip ist einschließlich einer sinnvollen Weiterentwicklung dazu in der AT 392 047 B gezeigt.
  • Wenn kein Kran zur Verfügung steht und ein Wechselaufbau von einem Lastfahrzeug gehoben und ganz auf den Untergrund abgestellt werden soll, verwendet man vier Hubvorrichtungen, von denen jeweils eine an den Eckbeschlägen des Containers angedockt wird. Die Hubvorrichtungen heben erst den Container so weit an, dass das darunter reichende Lastfahrzeug weg fahren kann; dann wird der Container durch die sich synchronisiert bewegenden Hubvorrichtungen bis zum Boden abgesenkt. Die Hubvorrichtungen weisen dazu teleskopartig ineinander verschiebbare Hohlprofile auf, welche im Normalfall durch einen innen angeordneten Hydraulikzylinder relativ zueinander angetrieben bewegbar sind.
  • In einer bezüglich Wirtschaftlichkeit und Etusatzbereitschaft vorteilhaften Anwendurgsweise dieses Grundprinzips werden vier Hubvorrichtungen in einer Halterung am Lastfahrzeug transportiert. Bei Bedarf werden sie aus der Halterung am Lastfahrzeug entnommen, zu den Ecken des Containers gebracht, dort an den Eckbeschlägen verankert, in die Vertikale gedreht und in Betrieb genommen. In der Patentliteratur sind Ausführungsformen derartiger Hubvorrichtungen bzw. Details davon in der AT 373 849 und der AT 392 047 B gezeigt. Vor allem aus Gründen der Handhabbarkeit ist eine einzelne derartige Hubvorrichtung als Set von drei Teilen aufgebaut, welche voneinander gelöst am Lastfahrzeug transportiert und erst an der Containerecke zusammengebaut werden:
    • Ein maschinell antreibbarer Teleskopteil bringt die Hubarbeit ein.
    • Ein Anschlussteil ist an einer seitlichen Anschlussfläche direkt mit dem jeweiligen Eckbeschlag des Containers verbunden. Der Anschlussteil erstreckt sich seitlich des Containers vom Eckbeschlag weg, und auch ein Stück an der seitlichen Containerwand empor nach oben. Er hält den Teleskopteil in der richtigen Position am Container.
    • Eine Diagonalstrebe ist bei all jenen Containern erforderlich, bei denen sich die Eckbeschläge nicht direkt unterhalb der stirnseitigen Containerwände befinden, sondern etwas davon zur Längsmitte des Containers hin eingerückt angeordnet sind. Die mit dem Anschlussteil in Verbindung stehende Diagonalstrebe überbrückt dann diagonal den Winkel zwischen dem seitlichen, horizontalen unteren Rahmenprofil und dem vertikalen Rahmenprofil der jeweiligen Ecke des Containers bzw. Lastwagenaufbaus. Sie stützt den Anschlussteil und mit diesem den Teleskopteil gegen Schwenkbewegung des Ober den Eckbeschlag nach oben ragenden Bereiches zur Containerwand hin ab.
  • Beim Verankern der Hubeinrichtung an einem Eckbeschlag des Containers wird erst der Anschlussteil montiert, dann wird daran die Diagonalstrebe montiert, schließlich wird der Teleskopteil am Anschlussteil befestigt. Zum Befestigen des Teleskopteils muß ein quer zur Teleskoprichtung vorstehender Verbindungsteil an einem komplementären Verbindungsteil des Anschlussteiles angesteckt und in die richtige Position gedreht werden. Dieses Verankern des Teleskopteils am Anschlussteil ist mit schwierigen, kraftaufwendigen Bewegungen und großer körperlicher Anstrengung für die durchführende Person verbunden.
  • Die der Erfindung zu Grunde liegende Aufgabe besteht darin, die Hubeinrichtung so zu gestalten, dass das Befestigen des Teleskopteils an dem schon am Wechselaufbau befestigten Anschlussteil von einer Einzelperson ohne besonderen Krañaufwand bewerkstelligt werden kann.
  • Zum Lösen der Aufgabe wird das obere, äußere Teleskoprohr des Teleskopteils am Anschlussteil nicht wie bei der vorbekannten Bauweise starr befestigt, sondern in seiner Profilrichtung darin linear geführt und zwar so, dass es nach oben hin beweglich ist bis es mit einem im Bereich seines unteren Endes angebrachten Vorsprung, an einer nach unten weisenden Fläche des Anschlussteiles anschlägt und bei weiterer Aufwärtsbewegung den Anschlussteil und mit diesem den Container anhebt. Damit der Teleskopteil nicht längs in die Führungsbahn am Anschlussteil eingefädelt werden braucht, ist die Führungsbahn am Anschlussteil als Nut ausgebildet, durch deren offene Querschnittsseite der Teleskopteil durch eine zu seiner Profilrichtung normale Schwenkbewegung in die Nut eingeschwenkt bzw. daraus herausgeschwenkt werden kann. Die offene Querschnittsseite der eine Nut bildenden Führungsbahn ist durch Sicherungsteile überbrückbar, wodurch der Teleskopteil gegen Bewegung normal zur Längsrichtung der Linearführungsnut aus der Nut heraus gesichert werden kann.
  • Der erfindungsgemäße Teleskopteil braucht damit zum Andocken an den Container überhaupt nicht angehoben werden.
  • Die Erfindung wird an Hand von Zeichnungen veranschaulicht:
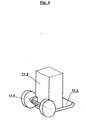
  • Fig. 1:
    zeigt einen Wechselaufbau in Seitenansicht während der Montage einer erfindungsgemäßen Hubvorrichtung.
    Fig. 2:
    zeigt die Anordnung von Fig. 1 mit horizontaler, zur Längsrichtung des Wechselaufbaues paralleler Blickrichtung. Die Diagonalstrebe ist dabei nur mit strichlierten Linien angedeutet.
    Fig. 3:
    zeigt einen Wechselaufbau mit erfindungsgemäßer Hubvorrichtung von oben. Auf die Darstellung der Diagonalstrebe wurde verzichtet.
    Fig. 4:
    zeigt eine vorteilhafte Ausführungsform des unteren Bereiches eines Teleskopteils in perspektivischer Ansicht.
  • Der Anschlussteil 2 allein wird am Wechselaufbau 4 mit Hilfe der eingangs erwähnten Twistlock-Verbindung sowie auch über Stützstreben, die auf die Diagonalstrebe 3 wirken so befestigt, dass er daran gegen lineare und gegen rotatorische Relativbewegung fest fixiert ist.
  • Der Anschlussteil 2 weist eine längliche, in Betriebsstellung vertikal ausgerichtete Führungsnut mit etwa U-förmiger Querschnittsfläche auf. Die seitlichen Nutflanken 2.1 liegen etwa normal zur anliegenden Ebene des Wechselaufbaues. Die offene Querschnittsseite der Nut liegt an der dem Wechselaufbau abgewandten Seite.
  • Um den Teleskopteil 1 an den am Wechselaufbau befestigten Anschlussteil 2 anzudocken, werden erst die an einer Nutflanke schwenkbar befestigten Sicherungslaschen 2.2, welche die beiden Nutflanken 2.1 Ober die offene Querschnittsseite hinweg verbinden können, in die geöffnete Stellung geschwenkt. Dann wird der Teleskopteil am Boden vor dem Anschlussteil so angeordnet, dass seine Grundfläche in der Profilrichtung der Führungsnut des Anschlussteiles liegt. Dann wird das obere, äußere Teleskoprohr 1.1 durch eine leichte Schwenkbewegung einer zu den Flanken 2.1 parallelen Ebene mit seiner Mantelfläche in die Führungsnut am Anschlussteil 2 eingeschwenkt. Nun werden die Sicherungslaschen 2.2 so geschwenkt, dass sie die beiden Nutflanken 2.1 miteinander verbinden. In dieser Stellung werden die Sicherungslaschen durch jeweils eine Griffschraube 2.3 gesichert. Der Teleskopteil 1 ist nun gegen Bewegung quer zu seiner Profilrichtung aus der Führungsnut am Anschlussteil heraus gesichert.
  • Die Mantelfläche des oberen Profils 1.1 des Teleskopteils 1 ist nun in einer losen Passung in der Führungsnut am Anschlussteil 2 umfasst. Nun kann der Teleskopteil ausgefahren werden. Dabei wird das obere, äußere Profil 1.1 vertikal nach oben bewegt. Es gleitet so lange in der Führungsnut am Anschlussteil linear nach oben, bis es mit einer an ihrem unteren Ende vorspringenden Anschlagfläche 1.1.1 an der als gegenteilige Anschlagfläche 2.1.1 wirkenden unteren Stirnseite der die Führungsnut begrenzenden Flanken 2.1 des Anschlussteiles anschlägt. Ab nun wird bei weiterer Bewegung des Profils 1.1 nach oben der Anschlussteil 2 und mit diesem der Container 4 mitbewegt. Selbstverständlich erfolgt diese Bewegung an vier Ecken des Containers gleichzeitig durch sich synchron bewegende Hubvorrichtungen. Die diesbezüglich erforderliche Ansteuerung der Hubvorrichtungen kann wie bei den Vorrichtungen entsprechend dem Stand der Technik ausgeführt werden und wird deshalb hier nicht weiter beschrieben.
  • Nachdem der Container ausreichend hoch gehoben wurde, kann das darunter befindlichen Lastfahrzeug weggefahren werden. Danach können die Teleskopteile eingefahren werden, sodass der Container bis zum Untergrund bzw. bis zu niedrigen Auflageteilen abgesenkt werden kann.
  • Schließlich werden die Hubvorrichtungen wieder vom Container gelöst, indem erst die Sicherungslaschen 2.2 geöffnet werden, dann die Teleskopteile 1 durch eine Bewegung normal zur Längsrichtung der Führungsnut von den Anschlussteilen 2 wegbewegt werden und schließlich die Diagonalstreben 3 und die Anschlussteile 2 demontiert werden.
  • Zum Anheben eines Containers vom Untergrund auf ein Lastfahrzeug wird genau in der umgekehrten Reihenfolge vorgegangen.
  • Im vorliegenden Beispiel sind die Sicherungslaschen 2.2 als verriegelbare, an einer Nutflanke schwenkbar gelagerte Klappen ausgeführt. Sie können aber beispielsweise auch als in Längsrichtung auf die Nutflanken aufschiebbare Klammern ausgeführt sein.
  • In Fig. 2 ist an den Seitenflächen des Anschlussteiles 2 ein zum Teleskopteil 1 hin offener Schlitz 2.4 erkennbar. In der Projektion des Schlitzes in der zur Längsrichtung des Containers parallelen Richtung ist seine Öffnung bei bestimmungsgemäß angeordnetem Teleskopteil verschlossen. Die dabei verbleibende, nicht abgedeckte Querschnittsfläche dieses Schlitzes ist so bemessen, dass die für den Betrieb der Hubeinheiten erforderlichen Leitungen, üblicherweise Hydraulikschläuche dadurch hindurch geführt werden können. Damit wird verhindert, dass diese Leitungen undefiniert am Untergrund liegen und vom manövrierenden Lastfahrzeug überfahren werden können.
  • In Fig. 4 ist eine vorteilhafte Ausführungsform des Fußbereiches eines Teleskopteils 11 skizziert. An einer Seite des unteren Endes des unteren, inneren Profils 11.2 ist ein Paar von Laufrädern 11.4 angeordnet. Bevorzugt verläuft dabei die gemeinsame Achse der beiden Laufräder 11.4 etwas außerhalb jener Seite der Mantelfläche des Profils 11.2, welche dann, wenn der Teleskopteil am Anschlussteil fixiert ist, von der Grundfläche der Nut am Anschlussteil abgewandt liegt. Weiters ist es vorteilhaft, den untersten Teil der Mantelfläche der Laufräder zumindest annähernd mit der unteren Fläche der Grundplatte 11.3 fluchtend auszurichten. Durch diese Bauweise wird die trotz erfindungsgemäßer Ausführung der Führungsnut bei Montage und Demontage erforderliche Bewegung des doch recht schweren Teleskopteils wesentlich erleichtert.

Claims (5)

  1. Zum Heben und Senken von Wechselaufbauten von Lastfahrzeugen dienende Hubvorrichtung, welche aus einem mit der Last starr und lösbar verbindbaren Anschlussteil (2) und einem mit dem Anschlussteil lösbar verbindbaren, maschinell antreibbaren Teleskopteil (1, 11) aufgebaut ist, dadurch gekennzeichnet, dass der Anschlussteil in an der Last fixiertem Zustand eine im wesentlichen vertikal ausgerichtete Führungsnut aufweist, wobei bei mit dem Anschlussteil (2) verbundenen Teleskopteil (1) die Mantelfläche des oberen, äußeren Profils (1.1) des Teleskopteils durch Begrenzungswände der Führungsnut an mehreren Seiten umfasst ist, wobei der Anschlussteil (2) eine Anschlagfläche (2.1.1) aufweist, deren vom Material nach außen gerichtete Flächennormale eine nach unten gerichtete Vertikalkomponente aufweist, wobei das obere Profil (1.1) des Teleskopteils eine Anschlagfläche (1.1.1) aufweist, deren vom Material nach außen gerichtete Flächennormale eine nach oben gerichtete Vertikalkomponente aufweist, wobei sich diese beiden Anschlagflächen bei Projektion in Profilrichtung überdecken und wobei die Anschlagfläche (1.1.1) des Profils (1.1) tiefer liegt als die Anschlagfläche (2.1.1) des Anschlussteils (2).
  2. Hubvorrichtung nach Anspruch 1, dadurch gekennzeichnet, dass die freien Enden der beiden Flanken (2.1) der Führungsnut lösbar mit Verschlussteilen (2.2) überbrückt sind, deren Abstand zum Nutgrund größer ist als die Stärke des Profils (1.1) in dieser Richtung.
  3. Hubvorrichtung nach Anspruch 1 oder 2, dadurch gekennzeichnet, dass die Seitenflächen des Anschlussteiles (2) einen zum Teleskopteil (1) hin offenen Schlitz (2.4) aufweisen, dessen Querschnittsfläche ein vielfaches der Querschnittsfläche einer Versorgungsleitung für eine Teleskopeinheit (1) beträgt.
  4. Hubvorrichtung nach einem der Ansprüche 1 bis 3, dadurch gekennzeichnet, dass an einer Seite des unteren Endes des unteren Profils (11.2) des Teleskopteils Laufräder (11.4) angeordnet sind.
  5. Hubvorrichtung nach Anspruch 4, dadurch gekennzeichnet dadurch, dass die Achse der Laufräder (11.4) an jener Seite der Mantelfläche des Profils (11.2) verläuft, welche dann, wenn der Teleskopteil am Anschlussteil fixiert ist, von der Grundfläche der Führungsnut am Anschlussteil (2) abgewandt liegt und dass der unterste Teil der Mantelfläche der Laufräder zumindest annähernd mit der unteren Fläche der Grundplatte (11.3) fluchtet,
EP08010969A 2007-06-21 2008-06-17 Hubvorrichtung zum Heben und Senken von Wechselaufbauten von Lastfahrzeugen Withdrawn EP2006241A1 (de)

Applications Claiming Priority (1)

Application Number Priority Date Filing Date Title
AT9662007 2007-06-21

Publications (1)

Publication Number Publication Date
EP2006241A1 true EP2006241A1 (de) 2008-12-24

Family

ID=39796875

Family Applications (1)

Application Number Title Priority Date Filing Date
EP08010969A Withdrawn EP2006241A1 (de) 2007-06-21 2008-06-17 Hubvorrichtung zum Heben und Senken von Wechselaufbauten von Lastfahrzeugen

Country Status (2)

Country Link
EP (1) EP2006241A1 (de)
AT (1) AT11139U1 (de)

Citations (5)

* Cited by examiner, † Cited by third party
Publication number Priority date Publication date Assignee Title
US3275298A (en) * 1964-06-22 1966-09-27 Steadman Ind Ltd Demountable containers provided with jack legs for raising and lowering the same
AT373849B (de) 1982-02-12 1984-02-27 Kletzmayr Hubert Hubvorrichtung und damit anhebbarer container
WO1988004276A1 (en) * 1986-12-01 1988-06-16 Crister Stark Lifting devices for containers
AT392047B (de) 1985-08-01 1991-01-10 Hofstetter Michael Vorrichtung zum befestigen von stuetzfuessen u.dgl.
WO1993021100A1 (de) * 1992-04-08 1993-10-28 Marquardt Joerg Vorrichtung zum heben und senken von lasten

Patent Citations (5)

* Cited by examiner, † Cited by third party
Publication number Priority date Publication date Assignee Title
US3275298A (en) * 1964-06-22 1966-09-27 Steadman Ind Ltd Demountable containers provided with jack legs for raising and lowering the same
AT373849B (de) 1982-02-12 1984-02-27 Kletzmayr Hubert Hubvorrichtung und damit anhebbarer container
AT392047B (de) 1985-08-01 1991-01-10 Hofstetter Michael Vorrichtung zum befestigen von stuetzfuessen u.dgl.
WO1988004276A1 (en) * 1986-12-01 1988-06-16 Crister Stark Lifting devices for containers
WO1993021100A1 (de) * 1992-04-08 1993-10-28 Marquardt Joerg Vorrichtung zum heben und senken von lasten

Also Published As

Publication number Publication date
AT11139U1 (de) 2010-05-15

Similar Documents

Publication Publication Date Title
DE102009040200B4 (de) Transportvorrichtung für ein längliches Objekt
DE2145550C3 (de) Zusammenlegbarer Behälter
EP2574500B1 (de) Mobile Campingeinheit
EP3653435A1 (de) Fahrzeug zum transportieren eines langen transportguts
DE2835213A1 (de) Sicherheits-gatter
DE202008011526U1 (de) Vorrichtung zum Festlegen des CC eines Containers
DE102012104147B4 (de) Wechselbehälter-Tragrahmen
DE202009012068U1 (de) Transportvorrichtung für ein längliches Objekt
WO2015197578A1 (de) Fahrmischerpumpe mit längenverstellbarem aufbaurahmen
DE202008017378U1 (de) Ladekorb für ein Flugzeug
EP2457798B1 (de) Modularer Arbeitswagen zur Erstellung und/oder zur Sanierung einer Bahnstrecke
DE2632492A1 (de) Behaeltertransportsystem
EP2006241A1 (de) Hubvorrichtung zum Heben und Senken von Wechselaufbauten von Lastfahrzeugen
EP3157720A2 (de) Fahrmischerpumpe
EP3157721B1 (de) Fahrmischerpumpe mit abstützeinrichtung
DE9108115U1 (de) Zusammenschiebbares Verdeck für Fahrzeuge oder Fahrzeugaufbauten
DE102014111540A1 (de) System zum Aufbau von Regalen in Fahrzeugen
EP0253263A2 (de) Fahrzeug mit einem kastenförmigen Aufbau und einer Hubmechanik
DE1189247B (de) Schwenkkran
EP0235313B1 (de) Hub- bzw. Absetzvorrichtung für transportable Grossbehälter, z. B. Kabinen, Container oder dergleichen
EP1616752A1 (de) Lastkraftwagen, Sattelanhänger oder Lastkraftwagenanhänger mit einem Aufbau mit seitlich ausklappbarer Bodenfläche und Dachfläche
DE2218828A1 (de) Rueckwand und plane mit voneinander abhaengiger bewegung bei lastwagen
AT11140U1 (de) An einem wechselaufbau eines lastfahrzeuges befestigbare hubvorrichtung
AT11141U1 (de) Hubeinheiten zum heben und senken von wechselaufbauten von lastfahrzeugen sowie aufbewahrungsbox für derartige einheiten
DE10353885A1 (de) Nutzfahrzeug-Aufbau mit zusammenklappbarer Rückwandtür

Legal Events

Date Code Title Description
PUAI Public reference made under article 153(3) epc to a published international application that has entered the european phase

Free format text: ORIGINAL CODE: 0009012

AK Designated contracting states

Kind code of ref document: A1

Designated state(s): AT BE BG CH CY CZ DE DK EE ES FI FR GB GR HR HU IE IS IT LI LT LU LV MC MT NL NO PL PT RO SE SI SK TR

AX Request for extension of the european patent

Extension state: AL BA MK RS

17P Request for examination filed

Effective date: 20090511

17Q First examination report despatched

Effective date: 20090713

AKX Designation fees paid

Designated state(s): AT BE BG CH CY CZ DE DK EE ES FI FR GB GR HR HU IE IS IT LI LT LU LV MC MT NL NO PL PT RO SE SI SK TR

STAA Information on the status of an ep patent application or granted ep patent

Free format text: STATUS: THE APPLICATION IS DEEMED TO BE WITHDRAWN

18D Application deemed to be withdrawn

Effective date: 20091124