EP1906019A2 - Rückschlagventil für Dosierpumpen - Google Patents

Rückschlagventil für Dosierpumpen Download PDF

Info

Publication number
EP1906019A2
EP1906019A2 EP07018249A EP07018249A EP1906019A2 EP 1906019 A2 EP1906019 A2 EP 1906019A2 EP 07018249 A EP07018249 A EP 07018249A EP 07018249 A EP07018249 A EP 07018249A EP 1906019 A2 EP1906019 A2 EP 1906019A2
Authority
EP
European Patent Office
Prior art keywords
valve body
valve
passage opening
check valve
pressure
Prior art date
Legal status (The legal status is an assumption and is not a legal conclusion. Google has not performed a legal analysis and makes no representation as to the accuracy of the status listed.)
Withdrawn
Application number
EP07018249A
Other languages
English (en)
French (fr)
Other versions
EP1906019A3 (de
Inventor
Wolf-Dieter Wichmann
Frank Gessler
Current Assignee (The listed assignees may be inaccurate. Google has not performed a legal analysis and makes no representation or warranty as to the accuracy of the list.)
Lechler GmbH
Original Assignee
Lechler GmbH
Priority date (The priority date is an assumption and is not a legal conclusion. Google has not performed a legal analysis and makes no representation as to the accuracy of the date listed.)
Filing date
Publication date
Application filed by Lechler GmbH filed Critical Lechler GmbH
Publication of EP1906019A2 publication Critical patent/EP1906019A2/de
Publication of EP1906019A3 publication Critical patent/EP1906019A3/de
Withdrawn legal-status Critical Current

Links

Images

Classifications

    • FMECHANICAL ENGINEERING; LIGHTING; HEATING; WEAPONS; BLASTING
    • F04POSITIVE - DISPLACEMENT MACHINES FOR LIQUIDS; PUMPS FOR LIQUIDS OR ELASTIC FLUIDS
    • F04BPOSITIVE-DISPLACEMENT MACHINES FOR LIQUIDS; PUMPS
    • F04B53/00Component parts, details or accessories not provided for in, or of interest apart from, groups F04B1/00 - F04B23/00 or F04B39/00 - F04B47/00
    • F04B53/10Valves; Arrangement of valves
    • BPERFORMING OPERATIONS; TRANSPORTING
    • B05SPRAYING OR ATOMISING IN GENERAL; APPLYING FLUENT MATERIALS TO SURFACES, IN GENERAL
    • B05BSPRAYING APPARATUS; ATOMISING APPARATUS; NOZZLES
    • B05B12/00Arrangements for controlling delivery; Arrangements for controlling the spray area
    • B05B12/14Arrangements for controlling delivery; Arrangements for controlling the spray area for supplying a selected one of a plurality of liquids or other fluent materials or several in selected proportions to a spray apparatus, e.g. to a single spray outlet
    • B05B12/1418Arrangements for controlling delivery; Arrangements for controlling the spray area for supplying a selected one of a plurality of liquids or other fluent materials or several in selected proportions to a spray apparatus, e.g. to a single spray outlet for supplying several liquids or other fluent materials in selected proportions to a single spray outlet
    • BPERFORMING OPERATIONS; TRANSPORTING
    • B05SPRAYING OR ATOMISING IN GENERAL; APPLYING FLUENT MATERIALS TO SURFACES, IN GENERAL
    • B05BSPRAYING APPARATUS; ATOMISING APPARATUS; NOZZLES
    • B05B7/00Spraying apparatus for discharge of liquids or other fluent materials from two or more sources, e.g. of liquid and air, of powder and gas
    • B05B7/24Spraying apparatus for discharge of liquids or other fluent materials from two or more sources, e.g. of liquid and air, of powder and gas with means, e.g. a container, for supplying liquid or other fluent material to a discharge device
    • B05B7/2486Spraying apparatus for discharge of liquids or other fluent materials from two or more sources, e.g. of liquid and air, of powder and gas with means, e.g. a container, for supplying liquid or other fluent material to a discharge device with means for supplying liquid or other fluent material to several discharge devices
    • BPERFORMING OPERATIONS; TRANSPORTING
    • B05SPRAYING OR ATOMISING IN GENERAL; APPLYING FLUENT MATERIALS TO SURFACES, IN GENERAL
    • B05BSPRAYING APPARATUS; ATOMISING APPARATUS; NOZZLES
    • B05B7/00Spraying apparatus for discharge of liquids or other fluent materials from two or more sources, e.g. of liquid and air, of powder and gas
    • B05B7/24Spraying apparatus for discharge of liquids or other fluent materials from two or more sources, e.g. of liquid and air, of powder and gas with means, e.g. a container, for supplying liquid or other fluent material to a discharge device
    • B05B7/26Apparatus in which liquids or other fluent materials from different sources are brought together before entering the discharge device
    • B05B7/28Apparatus in which liquids or other fluent materials from different sources are brought together before entering the discharge device in which one liquid or other fluent material is fed or drawn through an orifice into a stream of a carrying fluid
    • B05B7/32Apparatus in which liquids or other fluent materials from different sources are brought together before entering the discharge device in which one liquid or other fluent material is fed or drawn through an orifice into a stream of a carrying fluid the fed liquid or other fluent material being under pressure
    • FMECHANICAL ENGINEERING; LIGHTING; HEATING; WEAPONS; BLASTING
    • F04POSITIVE - DISPLACEMENT MACHINES FOR LIQUIDS; PUMPS FOR LIQUIDS OR ELASTIC FLUIDS
    • F04BPOSITIVE-DISPLACEMENT MACHINES FOR LIQUIDS; PUMPS
    • F04B53/00Component parts, details or accessories not provided for in, or of interest apart from, groups F04B1/00 - F04B23/00 or F04B39/00 - F04B47/00
    • F04B53/10Valves; Arrangement of valves
    • F04B53/102Disc valves
    • FMECHANICAL ENGINEERING; LIGHTING; HEATING; WEAPONS; BLASTING
    • F04POSITIVE - DISPLACEMENT MACHINES FOR LIQUIDS; PUMPS FOR LIQUIDS OR ELASTIC FLUIDS
    • F04BPOSITIVE-DISPLACEMENT MACHINES FOR LIQUIDS; PUMPS
    • F04B53/00Component parts, details or accessories not provided for in, or of interest apart from, groups F04B1/00 - F04B23/00 or F04B39/00 - F04B47/00
    • F04B53/10Valves; Arrangement of valves
    • F04B53/102Disc valves
    • F04B53/1022Disc valves having means for guiding the closure member axially

Definitions

  • the invention relates to a check valve for the metering pumps, in particular for use in spray devices of plant protection technology, with a valve housing, with a passage opening and a valve body which can assume at least one passage opening closing position and the passage opening releasing position, and means for applying a closing force on the valve body, wherein the closing force biases the valve body into its, the passage opening occluding position, wherein the valve body in its, the valve seat closing state separates a delivery pressure range from a counter-pressure region.
  • a check valve for a metering pump, a metering pump and a spray device for the plant protection technology are provided, with which a very precise Wirkstoffstoffeindostechnik regardless of back pressure of a carrier liquid into which is to be metered, can be realized.
  • a check valve for metering pumps in particular for use in spray devices of crop protection technology, with a valve housing having a passage opening and a valve body which can occupy at least one passage opening closing position and the passage opening releasing position, and means for applying a closing force on the valve body wherein the closing force biases the valve body into its position closing the passage opening, and wherein the valve body in its valve seat closing state separates a delivery pressure area from a counterpressure area, wherein the valve body is designed and arranged in the valve housing such that the passage opening closing position aligned parallel to the free cross section of the passage opening aligned effective engagement surface of the valve body for a back pressure in the counter-pressure region is substantially zero.
  • valve body is always lifted counterpressure independent of the valve seat when the force exerted by the delivery pressure in the delivery pressure range on the valve body force is greater than the sum of the closing force on the valve body and a possible frictional force. It should be noted that at the moment in which the valve body has lifted from the valve seat, this equilibrium of forces no longer applies and the resulting during flow around the valve body dynamic forces can quite ensure that the valve body is lifted further from the valve seat.
  • the non-return valve according to the invention can be arranged downstream of a metering pump in addition to intake and exhaust valves of a metering pump or can also be used as a pressure or outlet valve of the piston metering pump in order to eliminate the back pressure as influencing factor.
  • valve body in its, the passage opening closing state traverses an outgoing from the passage opening conveyor channel and is guided displaceably in an outgoing from the conveyor channel bearing bore in the valve housing.
  • a bearing bore aligned with its cross section parallel to the free cross section of the passage opening thus opposes the sealing surface of the valve body in the position of the valve body which closes the passage opening and is designed such that the counterpressure does not have access to the rear side of the valve body. Since the bearing bore exactly the same area as the sealing surface of the valve seat has, the effective engagement surface of the back pressure on the valve body in the passage opening closing position equal to zero.
  • the delivery channel in the counter-pressure region and a slidably disposed in the bearing bore portion of the valve body is sealed at least in the region of its, the conveying channel facing away from the back pressure area.
  • the back, or a space of the bearing bore, which limits the back of the valve body, can then be vented, for example against the environment.
  • the back of the valve body must not be accessible for back pressure. If, for example, a valve spring is located in the space of the bearing bore on the rear side of the valve body, this space must be vented to the environment.
  • a free area of the passage opening corresponds to a cross-sectional area of the section of the valve body which is displaceably guided in the bearing bore.
  • the attack surface for the back pressure is thus zero and the check valve according to the invention can work completely counterpressure independent.
  • the free surface of the passage opening corresponds to the engagement surface for the opening pressure, which is also defined by the lying within the annular sealing surface of the valve seat area.
  • the means for applying a closing force to the valve body cooperate with a rear side of the valve body facing away from the conveyor channel.
  • the means for applying a closing force on the valve body on a spring, pneumatic means and / or hydraulic means.
  • a space of the bearing bore which limits the back of the valve body, be vented against the environment and in addition to the ambient pressure, a spring may then be provided which presses the valve body in the direction of the valve seat surrounding the passage opening.
  • the space bounded by the rear of the valve body may be selectively applied with a controlled air pressure or hydraulic pressure to produce a closing force.
  • a pneumatic pressure it is for example also very easy to completely lock the check valve, so that no longer opens the check valve regardless of the pressure in the delivery chamber.
  • the check valve forcibly opened and thus unlocked, for example, when the delivery chamber is to be flowed through freely, for example, in a rinsing operation.
  • valve housing is cylindrical and formed in a Dosierpumpengephaseouse inserted. Conveniently, the valve housing is then sealed by means of circumferential sealing rings against the Dosierpumpengephaseuse.
  • an unlocking device for unlocking the check valve is provided.
  • Unlocking the check valve so opening the port regardless of the applied delivery pressure, may be appropriate to be able to rinse, for example, the check valve or to pump through active substances in a prefeed or recirculation mode through the check valve and the associated metering pump.
  • An unlocking can, as already stated, be realized pneumatically by the valve body is lifted by means of negative pressure of the valve seat, or can be realized mechanically by means of a plunger.
  • the valve body or the plunger for example, can also be moved electromagnetically.
  • a metering pump with a check valve according to the invention and by a spray device for plant protection technology, in particular a field sprayer, with at least one metering pump according to the invention, wherein the metering promotes active substance in a carrier liquid line, which is in flow communication with at least one spray nozzle ,
  • FIG. 1 shows a check valve 10 with a valve housing 12, which has a defined by a valve seat 14 passage opening.
  • the valve housing 12 is arranged in a metering pump housing 16 shown only in sections.
  • the valve housing 12 is constructed in two parts and consists of a first, sleeve-shaped portion in which a valve body 18 is slidably mounted, and a second, annular portion having the passage opening and the valve seat 14.
  • struts 20 of a cage-like portion of the valve housing 12 are provided.
  • the annular valve housing component sits with the valve seat 14 and between the struts 20, the medium flowing through the passage opening can flow out and reach the further course of a delivery channel 22.
  • the valve body 18 traverses the delivery channel 22 in its position closing the passage opening and is displaceably arranged in the bearing bore 21 of the valve housing 12 on the side of the delivery channel 22 opposite the valve seat 14.
  • a coil spring 24 is arranged in the illustrated embodiment, which generates a closing force F x on the valve body 18 in the direction of the valve seat 14.
  • the space of the bearing bore 21, in which the coil spring 24 is arranged, is ventilated in this embodiment by means of a ventilation opening 26 to the environment.
  • a hydraulic or pneumatic conduit may be connected to this vent opening 26 to pressurize the back of the valve body 18 with a hydraulic or pneumatic pressure to thereby produce or affect the closing force urging the valve body 18 toward the valve seat 14.
  • a negative pressure may be applied to the back of the valve body 18 and thereby lift the valve body 18 from the valve seat 14, for example, when the check valve 10 is to be unlocked for a rinsing operation.
  • the valve body 18 is sealed in the bearing bore 21 by means of a circumferential sealing ring 28.
  • the valve housing 12 is sealed by means of a plurality of sealing rings 30, 32 against the Dosierpumpengephase 16.
  • the passage opening defined by the valve seat 14 separates a delivery pressure region 34 of the dosing pump from a counterpressure region 36.
  • a delivery pressure P ö whose force effect on the valve body 18 is symbolized by means of an arrow 38.
  • P G a backpressure P G , which on all sides acts according to the arrow 40 on the regions of the valve body 18 located in the delivery channel 22.
  • the valve body 18 is lifted off the valve seat 14 and liquid can pass from the delivery pressure region 34 into the counter-pressure region 36.
  • the independence of the back pressure is achieved in the illustrated embodiment, characterized in that the free cross-sectional area of the defined by the valve seat 14 passage opening when seated valve body 18 is exactly the same size as the cross-sectional area of the bearing bore 21 and in that the side facing away from the valve seat of the valve body 18 is shielded from the back pressure or sealed against it.
  • the effective attack surface for the back pressure P G is then always zero.
  • valve spring 14 exceeds the force resulting from the delivery pressure P ö and its engagement surface on the valve body 18 of the valve, the valve body 18 is again pressed onto the valve seat 14 and the passage opening is therefore closed.
  • FIG. 2 shows a spray device according to the invention for the crop protection technology with a metering pump 50, which is provided with a check valve 10 according to the invention as an outlet or pressure valve.
  • the check valve 10 of the metering pump 50 thus operate independently of the back pressure, as was explained with reference to the check valve 10 of FIG.
  • the metering pump 50 has as a suction valve 65 a pilot-operated check valve.
  • carrier liquid container 52 with carrier liquid, especially water, from which, starting from a carrier liquid line 54 via a mixer 56 to a spray bar 58 is guided with a plurality of spray nozzles.
  • the water is conveyed by a broth pump 51 to the spray nozzles.
  • This broth pump 51 generates in a known manner the pressure required to atomize the spray mixture of water and dosed to the active ingredient at the nozzle.
  • On a representation of the usual for the regulation of the injection pressure components has been omitted for clarity.
  • an active ingredient feed line 60 which in turn is fed by the metering pump 50 with active ingredient.
  • the metering pump 50 itself is supplied with active ingredient from an active substance storage tank 62.
  • the metering pump 50 is designed as a piston pump. Upon movement of the piston in the representation of FIG. 2 to the left, a negative pressure is created in the delivery chamber 64 of the metering pump 50, so that active substance is sucked from the active substance storage container 62 through the intake valve 65 into the delivery chamber 64. If subsequently the piston 69 is moved to the right in the representation of FIG. 2, an overpressure is created in the delivery chamber 64 and since the check valve 65 blocks the flow connection to the active substance reservoir 62, active substance is forced out of the delivery chamber 64 through the check valve 10 into the active agent supply line 60. In the mixer 56 there is an intimate mixing of active substance and carrier liquid, so that a homogeneous mixture of carrier liquid and active substance can be sprayed on the spray bar 58.
  • the metering pump 50 pumps the active ingredient into liquid pulses in the carrier liquid line 54, the back pressure-independent check valve 10 always opens independently of the back pressure in the carrier liquid line 54 and the active ingredient supply line 60 at exactly the same delivery pressure in the delivery chamber 64.
  • the volume of active substance which is emitted to the right into the active substance supply line 60 with each movement of the piston 69 of the metering pump 50 in FIG. 2 is thus always exactly the same regardless of the backpressure. This is important, for example, because the carrier liquid flow leaving the nozzles at the spray bar 58 is dependent on the injection pressure.
  • This injection pressure in the carrier liquid line 54 is usually regulated depending on the driving speed of the spray device, the carrier liquid flow and adjusted to per sprayed area always be able to apply the same amount of spray agent.
  • each of the non-return valves 10, 65 is provided with an unlocking device in the form of a plunger 66a, 66b, which can be moved against the valve body by a piston 67a, 67b, for example, pneumatically actuated.
  • a plunger 66a, 66b and the piston 67a, 67b By means of the plunger 66a, 66b and the piston 67a, 67b, the valve body of the check valves 10, 65 are mechanically lifted from the respective associated valve seat, so that a respective passage opening is then always open regardless of the pressure conditions.
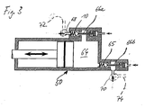
  • Such an unlocking position of the check valves 10, 65 is shown in the schematic representation of FIG. 3 and can be used to pump liquid through the delivery chamber 64 of the metering pump 50, and regardless of the direction.
  • compressed air can be fed in through a valve 68 via a compressed-air connection 72 shown in dashed lines in FIG. 3 in order to push active substance from the delivery chamber 64 counter to the actual conveying direction into the active substance storage container 62.
  • rinsing liquid can then be introduced via a valve 70 and a rinsing liquid connection 74 shown in dashed lines in FIG. 3 in order to rinse the delivery chamber 64 and the check valves 10, 65 and completely clean them of any remaining active substance.

Landscapes

  • Engineering & Computer Science (AREA)
  • Mechanical Engineering (AREA)
  • General Engineering & Computer Science (AREA)
  • Check Valves (AREA)
  • Details Of Reciprocating Pumps (AREA)

Abstract

Rückschlagventil für Dosierpumpen, insbesondere zur Anwendung bei Spritzvorrichtungen der Pflanzenschutztechnik, mit einem Ventilgehäuse (12) mit einer Durchlassöffnung und einem Ventilkörper (18), der wenigstens eine die Durchlassöffnung verschließende Position und eine Durchlassöffnung freigebende Position einnehmen kann, und Mitteln (24) zum Aufbringen einer Schließkraft auf den Ventilkörper, wobei die Schließkraft den Ventilkörper in seine, die Durchlassöffnung verschließende Position vorspannt und wobei der Ventilkörper in seinem, den Ventilsitz verschließenden Zustand einen Förderdruckbereich (34) von einem Gegendruckbereich (36) trennt. Der Ventilkörper ist so gestaltet und im Ventilkörper angeordnet, dass in seiner die Durchlassöffnung verschließenden Position eine parallel zum freien Querschnitt der Durchlassöffnung ausgerichtete effektive Angriffsfläche des Ventilkörpers für einen Gegendruck im Gegendruckbereich im Wesentlichen null ist.

Description

  • Die Erfindung betrifft ein Rückschlagventil für die Dosierpumpen, insbesondere zur Anwendung bei Spritzvorrichtungen der Pflanzenschutztechnik, mit einem Ventilgehäuse, mit einer Durchlassöffnung und einem Ventilkörper, der wenigstens eine die Durchlassöffnung verschließende Position und eine die Durchlassöffnung freigebende Position einnehmen kann, und Mitteln zum Aufbringen einer Schließkraft auf den Ventilkörper, wobei die Schließkraft den Ventilkörper in seine, die Durchlassöffnung verschließende Position vorspannt, wobei der Ventilkörper in seinem, den Ventilsitz verschließenden Zustand einen Förderdruckbereich von einem Gegendruckbereich trennt.
  • Bei Dosierpumpen für Spritzvorrichtungen in der Pflanzenschutztechnik müssen geringe Mengen Wirkstoff in eine Trägerflüssigkeit eindosiert werden. Bei der sogenannten Direktdosierung geschieht dies während des Spritzbetriebs, so dass also ein gegebenenfalls extrem kleiner Wirkstoffstrom in einen eventuell großen Trägerflüssigkeitsstrom eingebracht werden muss. Bei sehr geringen Wirkstoffmengen ist es von entscheidender Bedeutung, dass die Eindosierung sehr exakt erfolgt. Finden Rückschlagventile als Auslassventile bei einer Dosierpumpe Verwendung, so summiert sich der Gegendruck der Trägerflüssigkeit, in die eindosiert werden soll, zu dem durch beispielsweise eine Feder des Rückschlagventils voreingestellten Öffnungsdruck. Dies hat zur Folge, dass das Rückschlagventil bei diesem Einsatzfall abhängig vom Gegendruck öffnet. In der Folge führt dies auch zu einem vom Gegendruck abhängigen Förderdruck im Förderraum der Dosierpumpe. Bei einer Kolbendosierpumpe lässt sich feststellen, dass beispielsweise die Kompression elastischer Dichtelemente mit steigendem Gegendruck zu einer nicht unerheblichen Minderung des Fördervolumens pro Kolbenhub führt. Da bei einer Pflanzenschutzspritze in Abhängigkeit von der Fahrgeschwindigkeit und auch anderen Faktoren der Spritzdruck nicht unerheblich variieren kann, muss der Einfluss des Spritzdruckes als Gegendruck auf das Fördervolumen der Dosierpumpe ausgeschaltet werden, um eine ausreichend präzise Dosierung, insbesondere mit einer Kolbenpumpe, möglich zu machen.
  • Mit der Erfindung soll ein Rückschlagventil für eine Dosierpumpe, eine Dosierpumpe und eine Spritzvorrichtung für die Pflanzenschutztechnik bereitgestellt werden, mit denen eine sehr exakte Wirkstoffeindosierung unabhängig von Gegendruck einer Trägerflüssigkeit, in die eindosiert werden soll, realisiert werden kann.
  • Erfindungsgemäß ist hierzu ein Rückschlagventil für Dosierpumpen, insbesondere zur Anwendung bei Spritzvorrichtungen der Pflanzenschutztechnik, mit einem Ventilgehäuse mit einer Durchlassöffnung und einem Ventilkörper, der wenigstens eine die Durchlassöffnung verschließende Position und eine die Durchlassöffnung freigebende Position einnehmen kann, und Mitteln zum Aufbringen einer Schließkraft auf den Ventilkörper vorgesehen, wobei die Schließkraft den Ventilkörper in seine, die Durchlassöffnung verschließende Position vorspannt und wobei der Ventilkörper in seinem, den Ventilsitz verschließenden Zustand einen Förderdruckbereich von einem Gegendruckbereich trennt, bei dem der Ventilkörper so gestaltet und im Ventilgehäuse angeordnet ist, dass in seiner die Durchlassöffnung verschließenden Position eine parallel zum freien Querschnitt der Durchlassöffnung ausgerichtete effektive Angriffsfläche des Ventilkörpers für einen Gegendruck im Gegendruckbereich im Wesentlichen null ist.
  • Dadurch, dass keine effektive Angriffsfläche für den Gegendruck im Gegendruckbereich zur Verfügung steht, ist es unerheblich, welcher Druck im Gegendruckbereich herrscht. Vielmehr wird der Ventilkörper gegendruckunabhängig immer dann vom Ventilsitz abgehoben, wenn die vom Förderdruck im Förderdruckbereich auf den Ventilkörper ausgeübte Kraft größer ist als die Summe aus der Schließkraft auf den Ventilkörper und eine eventuelle Reibungskraft. Es ist dabei festzuhalten, dass in dem Moment, in dem der Ventilkörper vom Ventilsitz abgehoben hat, dieses Kräftegleichgewicht nicht mehr gilt und die beim Umströmen des Ventilkörpers entstehenden dynamischen Kräfte durchaus dafür sorgen können, dass der Ventilkörper weiter vom Ventilsitz abgehoben wird. Im Extremfall kann dies theoretisch sogar dazu führen, dass das erfindungsgemäße Rückschlagventil nicht mehr schließt, da beispielsweise die Schließkraft zu klein ist, um den Ventilkörper gegen den Strömungsdruck wieder auf den Ventilsitz zu drücken. Bei Dosierpumpen ist dieser Effekt jedoch nur theoretisch vorhanden, da in der Praxis so geringe Wirkstoffmengen eindosiert werden, dass der Druck im Förderraum der Dosierpumpe schnell wieder unter den Öffnungsdruck des Rückschlagventils abfällt und dieses dadurch auch wieder schließt.
  • Wichtig ist bei dem erfindungsgemäßen Rückschlagventil somit, dass der Öffnungsdruck des Rückschlagventils so gewählt bzw. eingestellt ist, dass er geringfügig höher ist als der höchste zu erwartende Gegendruck. Das erfindungsgemäße Rückschlagventil kann sowohl zusätzlich zu Ansaug- und Auslassventilen einer Dosierpumpe stromabwärts einer Dosierpumpe angeordnet sein oder auch als Druck- bzw. Auslassventil der Kolbendosierpumpe Verwendung finden, um den Gegendruck als Einflussfaktor zu eliminieren.
  • Ganz wesentlich ist aber die Gegendruckunabhängigkeit des erfindungsgemäßen Rückschlagventils, die es möglich macht, auch sehr kleine Wirkstoffmengen unabhängig vom Gegendruck mittels einer Dosierpumpe in eine Trägerflüssigkeit einzudosieren. Zweckmäßigerweise arbeitet eine solche Dosierpumpe mit Flüssigkeitsimpulsen mit jeweils exakt gleicher Flüssigkeitsmenge. Mittels des erfindungsgemäßen Rückschlagventils ist es somit möglich, unabhängig vom Gegendruck immer die gleiche Flüssigkeitsmenge pro Impuls in die Trägerflüssigkeit einzudosieren.
  • In Weiterbildung der Erfindung durchquert der Ventilkörper in seinem, die Durchlassöffnung verschließenden Zustand einen von der Durchlassöffnung ausgehenden Förderkanal und ist in einer vom Förderkanal ausgehenden Lagerbohrung im Ventilgehäuse verschiebbar geführt.
  • Auf diese Weise ist eine vergleichsweise einfache Herstellbarkeit bei geringem Raumbedarf ermöglicht.
  • Erfindungsgemäß liegt somit in der die Durchlassöffnung verschließenden Position des Ventilkörpers eine mit ihrem Querschnitt parallel zum freien Querschnitt der Durchlassöffnung ausgerichtete Lagerbohrung der Dichtfläche des Ventilkörpers gegenüber und ist so ausgebildet, dass der Gegendruck keinen Zugang zur Rückseite des Ventilkörpers hat. Da die Lagerbohrung exakt die gleiche Fläche wie die Dichtfläche des Ventilsitzes hat, ist die effektive Angriffsfläche des Gegendruckes am Ventilkörper in der die Durchlassöffnung verschließenden Position gleich null.
  • Auch bei statischer Betrachtung kann dann, wenn der Gegendruck den Öffnungsdruck des Ventils erreicht, es im geöffneten Zustand des Ventils dazu kommen, dass das erfindungsgemäße Rückschlagventil nicht mehr schließt, weil die Schließkraft von der Wirkung des Gegendruckes auf die Fläche der Lagerbohrung aufgehoben wird. Bei Dosierpumpen für den hier beschriebenen Einsatzfall kann dieser Effekt nur auftreten, wenn der Öffnungsdruck des Ventils zu gering gewählt wurde und der auftretende Gegendruck höher ist als der Öffnungsdruck des Ventils. Wird das Ventil zusätzlich zu einem Auslassventil einer Kolbendosierpumpe angeordnet, kann das Ventil offen stehen bleiben, wenn der Gegendruck sein Maximum erreicht hat. Dies bleibt aber dann ohne Auswirkungen, weil das Ventil in diesem Moment bereits seine Funktion, nämlich das gegendruckunabhängige Öffnen, erfüllt hat.
  • In Weiterbildung der Erfindung liegt der Förderkanal im Gegendruckbereich und ein in der Lagerbohrung verschiebbar angeordneter Abschnitt des Ventilkörpers ist wenigstens im Bereich seiner, dem Förderkanal abgewandten Rückseite gegen den Gegendruckbereich abgedichtet. Die Rückseite, bzw. ein Raum der Lagerbohrung, den die Rückseite des Ventilkörpers begrenzt, kann dann beispielsweise gegen die Umgebung entlüftet werden. Die Rückseite des Ventilkörpers darf nicht für den Gegendruck zugänglich sein. Befindet sich im Raum der Lagerbohrung auf der Rückseite des Ventilkörpers zum Beispiel eine Ventilfeder, so muss dieser Raum zur Umgebung entlüftet werden.
  • In Weiterbildung der Erfindung entspricht eine freie Fläche der Durchlassöffnung einer Querschnittsfläche des in der Lagerbohrung verschiebbar geführten Abschnitt des Ventilkörpers.
  • Bei einer solchen Anordnung ist automatisch gewährleistet, dass die parallel zum freien Querschnitt der Durchlassöffnung ausgerichtete effektive Angriffsfläche des Ventilkörpers für einen Gegendruck im Gegendruckbereich im Wesentlichen null ist. Dies kann in einfacher Weise anhand eines bolzenförmigen Ventilkörpers verdeutlicht werden, der nicht auf einem Ventilsitz aufsitzt, sondern in eine Radialdichtung eintaucht. Bei einer solchen Ausgestaltung ist unmittelbar klar, dass dem Gegendruck keine Angriffsfläche zur Verfügung steht, um den Ventilkörper weiter in den Förderdruckbereich hineinzudrücken. Sitzt der Ventilkörper nun aber auf einem Ventilsitz auf und hat der in der Lagerbohrung verschiebbar angeordnete Abschnitt des Ventilkörpers die gleiche Querschnittsfläche wie die Durchlassöffnung, so steht jedem, den Querschnitt des Ventilkörpers ausgehend von dem Ventilsitz oder der Durchlassöffnung vergrößernden Bereich ein gleich großer, den Querschnitt wieder verkleinernder Bereich gegenüber. In der Summe wird die Angriffsfläche für den Gegendruck damit zu null und das erfindungsgemäße Rückschlagventil kann vollständig gegendruckunabhängig arbeiten. Die freie Fläche der Durchlassöffnung entspricht der Angriffsfläche für den Öffnungsdruck, die auch durch den innerhalb der ringförmigen Dichtfläche des Ventilsitzes liegenden Bereich definiert ist. Durch diese Anordnung wird im geschlossenen Zustand des Ventils erreicht, dass effektiv keine oder nur eine unerhebliche Angriffsfläche für einen Gegendruck vorhanden ist. Diese Bedingungen ändern sich, wenn das Ventil öffnet. In diesem Fall ergibt sich ein kompliziertes System aus wirksam werdenden Strömungswiderständen, reduzierter Schließkraft z.B. einer Ventilfeder und beschränkten Einflüssen des Gegendruckes. Versuche haben aber gezeigt, dass das Ziel dieser Erfindung dennoch erreicht wird, nämlich den Einfluss des Gegendruckes auf den Förderdruck und damit die Förderleistung einer Dosierpumpe, insbesondere eine Kolbendosierpumpe, annähernd auszuschalten und die Abweichungen vom Sollwert der Fördermenge der Dosierpumpe in einem akzeptablen Bereich zu halten.
  • In Weiterbildung der Erfindung wirken die Mittel zum Aufbringen einer Schließkraft auf den Ventilkörper mit einer dem Förderkanal abgewandten Rückseite des Ventilkörpers zusammen. Beispielsweise weisen die Mittel zum Aufbringen einer Schließkraft auf den Ventilkörper eine Feder, Pneumatikmittel und/oder Hydraulikmittel auf.
  • Beispielsweise kann ein Raum der Lagerbohrung, den die Rückseite des Ventilkörpers begrenzt, gegen die Umgebung entlüftet werden und zusätzlich zum Umgebungsdruck kann dann eine Feder vorgesehen sein, die den Ventilkörper in Richtung auf den die Durchlassöffnung umgebenden Ventilsitz drückt. Alternativ oder zusätzlich kann der durch die Rückseite des Ventilkörpers begrenzte Raum wahlweise mit einem gesteuerten Luftdruck oder Hydraulikdruck beaufschlagt werden, um eine Schließkraft zu erzeugen. Bei Beaufschlagung der Rückseite mit einem Pneumatikdruck ist es beispielsweise auch sehr einfach möglich, das Rückschlagventil vollständig zu sperren, so dass unabhängig vom Druck im Förderraum das Rückschlagventil nicht mehr öffnet. Umgekehrt kann durch Anlegen eines Unterdrucks das Rückschlagventil zwangsweise geöffnet und damit entsperrt werden, beispielsweise dann, wenn der Förderraum frei durchströmt werden soll, beispielsweise in einem Spülbetrieb.
  • In Weiterbildung der Erfindung ist das Ventilgehäuse zylindrisch und in ein Dosierpumpengehäuse einschiebbar ausgebildet. Zweckmäßigerweise ist das Ventilgehäuse dann mittels umlaufender Dichtringe gegen das Dosierpumpengehäuse abgedichtet.
  • Auf diese Weise lässt sich ein vergleichsweise einfacher Aufbau erreichen, da der Ventilsitz und die Lagerbohrung, die sehr exakt auf den Ventilkörper abgestimmt sein müssen, in dem auswechselbaren Ventilgehäuse realisiert sind. Bei der mechanischen Bearbeitung ergeben sich dadurch Vorteile aufgrund einer verbesserten Zugänglichkeit. Auch muss bei der Montage des erfindungsgemäßen Rückschlagventils an einer Dosierpumpe keine Beschädigung der Passung zwischen Ventilsitz, Lagerbohrung und Ventilkörper befürchtet werden, da das vollständige Rückschlagventil als Modul in ein Dosierpumpengehäuse eingeschoben wird.
  • In Weiterbildung der Erfindung ist eine Entsperrvorrichtung zum Entsperren des Rückschlagventils vorgesehen.
  • Ein Entsperren des Rückschlagventils, also ein Öffnen der Durchlassöffnung unabhängig vom angelegten Förderdruck, kann zweckmäßig sein, um beispielsweise das Rückschlagventil spülen zu können oder um Wirkstoffe in einem Vorförderbetrieb oder Rückförderbetrieb durch das Rückschlagventil und die zugeordnete Dosierpumpe durchpumpen zu können. Eine Entsperrvorrichtung kann, wie bereits ausgeführt wurde, pneumatisch realisiert sein, indem der Ventilkörper mittels Unterdruck von Ventilsitz abgehoben wird, oder auch mechanisch mittels eines Stößels realisiert werden. Der Ventilkörper oder der Stößel können beispielsweise auch elektromagnetisch bewegt werden.
  • Das der Erfindung zugrundeliegende Problem wird auch durch eine Dosierpumpe mit einem erfindungsgemäßen Rückschlagventil sowie durch eine Spritzvorrichtung für die Pflanzenschutztechnik, insbesondere eine Feldspritze, mit wenigstens einer erfindungsgemäßen Dosierpumpe gelöst, wobei die Dosierpumpe Wirkstoff in eine Trägerflüssigkeitsleitung fördert, die mit wenigstens einer Sprühdüse in Strömungsverbindung steht.
  • Weitere Merkmale und Vorteile der Erfindung ergeben sich aus den Ansprüchen und der Beschreibung in Verbindung mit den beigefügten Zeichnungen. Einzelmerkmale der beschriebenen Ausführungsformen lassen sich dabei in beliebiger Weise miteinander kombinieren, ohne den Rahmen der Erfindung zu überschreiten. In den Zeichnungen zeigen:
  • Fig. 1
    eine Schnittansicht eines erfindungsgemäßen Rückschlagventils gemäß einer ersten Ausführungsform der Erfindung,
    Fig. 2
    eine schematische Darstellung einer erfindungsgemäßen Spritzvorrichtung mit einer erfindungsgemäßen Dosierpumpe und
    Fig. 3
    die Dosierpumpe der Fig. 2 in entsperrten Zustand.
  • Die Schnittansicht der Fig. 1 zeigt ein Rückschlagventil 10 mit einem Ventilgehäuse 12, das eine durch einen Ventilsitz 14 definierte Durchlassöffnung aufweist. Das Ventilgehäuse 12 ist in einem lediglich abschnittsweise dargestellten Dosierpumpengehäuse 16 angeordnet. Das Ventilgehäuse 12 ist zweiteilig aufgebaut und besteht aus einem ersten, hülsenförmigen Abschnitt, in dem ein Ventilkörper 18 verschiebbar gelagert ist, und einem zweiten, ringförmigen Abschnitt, der die Durchlassöffnung und den Ventilsitz 14 aufweist. Zwischen der Lagerbohrung für den Ventilkörper 18 und dem Ventilsitz 14 sind Streben 20 eines käfigartigen Bereichs des Ventilgehäuses 12 vorgesehen. Auf der Stirnseite dieses käfigartigen Bereichs sitzt das ringförmige Ventilgehäusebauteil mit dem Ventilsitz 14 auf und zwischen den Streben 20 kann das durch die Durchlassöffnung hindurchströmende Medium ausströmen und in den weiteren Verlauf eines Förderkanals 22 gelangen.
  • Wie in der Darstellung der Fig. 1 zu erkennen ist, durchquert der Ventilkörper 18 in seiner, die Durchgangsöffnung verschließenden Position den Förderkanal 22 und ist auf der dem Ventilsitz 14 gegenüberliegenden Seite des Förderkanals 22 in der Lagerbohrung 21 des Ventilgehäuses 12 verschiebbar angeordnet. Zwischen einer Rückseite des Ven-. tilkörpers 18 und einem gegenüberliegenden Ende der Lagerbohrung 21 ist in der dargestellten Ausführungsform eine Schraubenfeder 24 angeordnet, die eine Schließkraft Fx auf den Ventilkörper 18 in Richtung auf den Ventilsitz 14 erzeugt. Der Raum der Lagerbohrung 21, in dem die Schraubenfeder 24 angeordnet ist, ist bei dieser Ausführungsform mittels einer Belüftungsöffnung 26 zur Umgebung hin belüftet. An diese Belüftungsöffnung 26 kann alternativ eine Hydraulik- oder Pneumatikleitung angeschlossen werden, um die Rückseite des Ventilkörpers 18 mit einem hydraulischen oder pneumatischen Druck zu beaufschlagen und dadurch die Schließkraft zu erzeugen oder zu beeinflussen, die den Ventilkörper 18 in Richtung auf den Ventilsitz 14 drückt. Es ist aber selbstverständlich auch möglich, an die Rückseite des Ventilkörpers 18 einen Unterdruck anzulegen und den Ventilkörper 18 dadurch vom Ventilsitz 14 abzuheben, beispielsweise dann, wenn das Rückschlagventil 10 für einen Spülbetrieb entsperrt werden soll.
  • Der Ventilkörper 18 ist in der Lagerbohrung 21 mittels eines umlaufenden Dichtrings 28 abgedichtet. Das Ventilgehäuse 12 ist mittels mehrerer Dichtringe 30, 32 gegen das Dosierpumpengehäuse 16 abgedichtet.
  • Die durch den Ventilsitz 14 definierte Durchlassöffnung trennt einen Förderdruckbereich 34 der Dosierpumpe von einem Gegendruckbereich 36. Im Förderdruckbereich 34 liegt ein Förderdruck Pö vor, dessen Kraftwirkung auf den Ventilkörper 18 mittels eines Pfeiles 38 symbolisiert ist. Im Gegendruckbereich 36 liegt ein Gegendruck PG vor, der entsprechend dem Pfeil 40 allseitig auf die im Förderkanal 22 liegenden Bereiche des Ventilkörpers 18 wirkt.
  • Der im Förderkanal 22 liegende Abschnitt des Ventilkörpers 18 ist nun so gestaltet, dass der Gegendruck PG keine resultierende Kraft auf den Ventilkörper 18 ausüben kann. In radialer Richtung zu dem rotationssymmetrischen Ventilkörper 18 ist dies ohne weiteres ersichtlich, da jeder radialen Kraft eine gegenüberliegende Gegenkraft entgegensteht und sich die radialen Kräfte somit aufheben. Auch in Längsrichtung des Ventilkörpers 18, also parallel zur Kraft Fx ist dies der Fall. Zwar wird durch den Gegendruck, der an einer Ringfläche 42 des Ventilkörpers 18 angreift, eine Kraft in Richtung auf den Ventilsitz, also in Richtung der Kraft Fx, erzeugt. Genau gleich groß wie die Ringfläche 42 ist aber die Summe der Projektionen der Bereiche 44 und 46 des Ventilkörpers 18 senkrecht zur Mittellängsachse des Ventilkörpers 18. An diesen beiden kegelstumpfförmigen Bereichen 44, 46 greift daher eine durch den Gegendruck PG verursachte Kraft entgegen der Richtung der Kraft Fx an. Da die Summe der senkrecht zur Mittellängsachse projizierten Flächenanteile der Flächen 44, 46 gleich groß ist wie die Ringfläche 42, heben sich die durch den Gegendruck PG verursachten Kräfte auch parallel zur Längsrichtung des Ventilkörpers 18 auf.
  • In Längsrichtung des Ventilkörpers 18 wirken also parallel zwei Kräfte: Die Federkraft Fx und die aus dem Förderdruck Pö und seiner Angriffsfläche auf den Ventilkörper 18 des Ventils resultierende Kraft. Diese beiden Kräfte wirken entgegengesetzt zueinander. Da an dem Ventilkörper 18 im geschlossenen Zustand des Ventils 10 keine effektive Angriffsfläche für den Gegendruck PG vorhanden ist, wird der Öffnungsdruck des Ventils 10 ausschließlich von der Kraft Fx der Ventilfeder 24 bestimmt. Der Ventilkörper 18 wird somit lediglich durch die Kraft der Schraubenfeder 24 in Richtung auf den Ventilsitz 14 gedrückt.
  • Sobald die durch den Förderdruck Pö erzeugte Kraft auf den Ventilkörper 14 somit die Kraft Fx der Schraubenfeder 24 und eventuelle Reibungskräfte überschreitet, wird der Ventilkörper 18 vom Ventilsitz 14 abgehoben und Flüssigkeit kann aus dem Förderdruckbereich 34 in den Gegendruckbereich 36 gelangen. Die Unabhängigkeit vom Gegendruck wird bei der dargestellten Ausführungsform dadurch erreicht, dass die freie Querschnittsfläche der durch den Ventilsitz 14 definierten Durchlassöffnung bei aufsitzendem Ventilkörper 18 exakt gleich groß ist wie der Querschnittsfläche der Lagerbohrung 21 und dadurch, dass die dem Ventilsitz abgewandte Seite des Ventilkörpers 18 vom Gegendruck abgeschirmt bzw. gegen diesen abgedichtet ist. Unabhängig von der Gestaltung des Ventilkörpers 18 zwischen Ventilsitz 14 und der Abdichtung 28 zwischen Lagerbohrung 21 und Ventilkörper 18 ist die effektive Angriffsfläche für den Gegendruck PG dann immer Null.
  • Übersteigt die Kraft der Ventilfeder 14 die aus dem Förderdruck Pö und seiner Angriffsfläche auf dem Ventilkörper 18 des Ventils resultierende Kraft, wird der Ventilkörper 18 wieder auf den Ventilsitz 14 gedrückt und die Durchlassöffnung somit verschlossen.
  • Die schematische Darstellung der Fig. 2 zeigt eine erfindungsgemäße Spritzvorrichtung für die Pflanzenschutztechnik mit einer Dosierpumpe 50, die mit einem erfindungsgemäßen Rückschlagventil 10 als Auslass- bzw. Druckventil versehen ist. Das Rückschlagventil 10 der Dosierpumpe 50 arbeiten somit unabhängig vom Gegendruck, wie dies anhand des Rückschlagventils 10 der Fig. 1 erläutert wurde. Die Dosierpumpe 50 weist als Ansaugventil 65 ein entsperrbares Rückschlagventil auf.
  • Die Spritzvorrichtung der Fig. 2 weist einen Trägerflüssigkeitsbehälter 52 mit Trägerflüssigkeit, speziell Wasser, auf, von dem ausgehend eine Trägerflüssigkeitsleitung 54 über einen Mischer 56 zu einem Sprühbalken 58 mit mehreren Sprühdüsen geführt ist.
  • Das Wasser wird von einer Brühepumpe 51 bis zu den Sprühdüsen gefördert. Diese Brühepumpe 51 erzeugt in bekannter Weise den erforderlichen Druck, um die Spritzbrühe aus Wasser und dazu dosiertem Wirkstoff an den Düsen zu zerstäuben. Auf eine Darstellung der für die Regelung des Spritzdrucks üblichen Komponenten wurde der Übersichtlichkeit halber verzichtet.
  • In die Trägerflüssigkeitsleitung 54 mündet stromaufwärts des Mischers 56 eine Wirkstoffzuleitung 60 ein, die wiederum von der Dosierpumpe 50 mit Wirkstoff gespeist wird. Der Dosierpumpe 50 selbst wird Wirkstoff aus einem Wirkstoffvorratstank 62 zugeführt.
  • Wie der Darstellung der Fig. 2 zu entnehmen ist, ist die Dosierpumpe 50 als Kolbenpumpe ausgeführt. Bei einer Bewegung des Kolbens in der Darstellung der Fig. 2 nach links entsteht im Förderraum 64 der Dosierpumpe 50 ein Unterdruck, so dass Wirkstoff aus dem Wirkstoffvorratsbehälter 62 durch das Ansaugventil 65 in den Förderraum 64 gesaugt wird. Wird nachfolgend der Kolben 69 in der Darstellung der Fig. 2 nach rechts bewegt, entsteht im Förderraum 64 ein Überdruck und da das Rückschlagventil 65 die Strömungsverbindung zum Wirkstoffvorratsbehälter 62 sperrt, wird Wirkstoff aus dem Förderraum 64 durch das Rückschlagventil 10 in die Wirkstoffzuführungsleitung 60 gedrückt. Im Mischer 56 erfolgt eine innige Vermischung aus Wirkstoff und Trägerflüssigkeit, so dass am Sprühbalken 58 eine homogene Mischung aus Trägerflüssigkeit und Wirkstoff versprüht werden kann.
  • Die Dosierpumpe 50 pumpt den Wirkstoff in Flüssigkeitsimpulsen in die Trägerflüssigkeitsleitung 54, wobei das gegendruckunabhängige Rückschlagventil 10 unabhängig vom Gegendruck in der Trägerflüssigkeitsleitung 54 und der Wirkstoffzuführungsleitung 60 immer beim exakt gleichen Förderdruck im Förderraum 64 öffnet. Das Wirkstoffvolumen, das bei jeder Bewegung des Kolbens 69 der Dosierpumpe 50 in der Fig. 2 nach rechts in die Wirkstoffzuleitung 60 ausgegeben wird, ist damit unabhängig vom Gegendruck immer exakt gleich. Dies ist beispielsweise deshalb von Bedeutung, weil der Trägerflüssigkeitsstrom, der die Düsen am Sprühbalken 58 verlässt, vom Spritzdruck abhängig ist. Über diesen Spritzdruck in der Trägerflüssigkeitsleitung 54 wird üblicherweise in Abhängigkeit von der Fahrgeschwindigkeit der Spritzvorrichtung der Trägerflüssigkeitsstrom geregelt und eingestellt, um pro besprühter Fläche immer die gleiche Spritzmittelmenge ausbringen zu können. Dies führt dazu, dass sich der Gegendruck in der Trägerflüssigkeitsleitung 54 und der Wirkstoff zu Leitung 60 sich während des Spritzens ständig ändert. Diese Änderungen des Gegendrucks haben aber durch die erfindungsgemäße Ausführung des Rückschlagventils 10 nur noch einen zu vernachlässigenden Einfluss auf das pro Kolbenhub ausgestoßene Wirkstoffvolumen. Um eine entsprechend höhere Wirkstoffmenge einzudosieren, wird nun die Anzahl der Kolbenhübe der Dosierpumpe 50 erhöht. Um eine niedrigere Wirkstoffmenge einzudosieren, wird die Anzahl der Kolbenhübe der Dosierpumpe 50 verringert.
  • Anhand der Darstellung der Fig. 2 ist weiter zu erkennen, dass jedes der Rückschlagventile 10, 65 mit einer Entsperrvorrichtung in Form eines Stößels 66a, 66b versehen ist, der durch einen beispielsweise pneumatisch beaufschlagten Kolben 67a, 67b gegen den Ventilkörper bewegt werden kann. Mittels der Stößel 66a, 66b und der Kolben 67a, 67b kann der Ventilkörper der Rückschlagventile 10, 65 mechanisch vom jeweils zugeordneten Ventilsitz abgehoben werden, so dass eine jeweilige Durchlassöffnung dann unabhängig von den Druckverhältnissen stets geöffnet ist. Eine solche Entsperrstellung der Rückschlagventile 10, 65 ist in der schematischen Darstellung der Fig. 3 gezeigt und kann dazu genutzt werden, Flüssigkeit durch den Förderraum 64 der Dosierpumpe 50 hindurchzupumpen, und zwar richtungsunabhängig. Beispielsweise kann durch ein Ventil 68 über einen in Fig. 3 gestrichelt dargestellten Druckluftanschluss 72 Druckluft eingespeist werden, um Wirkstoff aus dem Förderraum 64 entgegen der eigentlichen Förderrichtung in den Wirkstoffvorratsbehälter 62 zurückzudrücken. In einem Spülbetrieb kann dann über ein Ventil 70 und einen in Fig. 3 gestrichelt dargestellten Spülflüssigkeitsanschluss 74 Spülflüssigkeit eingebracht werden, um den Förderraum 64 und die Rückschlagventile 10, 65 zu spülen und von eventuell noch vorhandenen Wirkstoffresten vollständig zu reinigen.

Claims (11)

  1. Rückschlagventil für Dosierpumpen, insbesondere zur Anwendung bei Spritzvorrichtungen der Pflanzenschutztechnik, mit einem Ventilgehäuse (12) mit einer Durchlassöffnung und einem Ventilkörper (18), der wenigstens eine die Durchlassöffnung verschließende Position und eine die Durchlassöffnung freigebende Position einnehmen kann, und Mitteln (24) zum Aufbringen einer Schließkraft auf den Ventilkörper (18), wobei die Schließkraft den Ventilkörper (18) in seine, die Durchlassöffnung verschließende Position vorspannt und wobei der Ventilkörper (18) in seinem, die Durchlassöffnung verschließenden Zustand einen Förderdruckbereich (34) von einem Gegendruckbereich (36) trennt, dadurch gekennzeichnet, dass der Ventilkörper (18) so gestaltet und im Ventilgehäuse (12) angeordnet ist, dass in seiner die Durchlassöffnung verschließenden Position eine parallel zum freien Querschnitt der Durchlassöffnung ausgerichtete effektive Angriffsfläche des Ventilkörpers (18) für einen Gegendruck im Gegendruckbereich (36) im Wesentlichen null ist.
  2. Rückschlagventil nach Anspruch 1, dadurch gekennzeichnet, dass der Ventilkörper (18) in einer Lagerbohrung verschiebbar angeordnet ist und die Lagerbohrung mittels des Ventilkörpers (18) gegen den Gegendruckbereich (36) abgedichtet ist.
  3. Rückschlagventil nach Anspruch 1 oder 2, dadurch gekennzeichnet, dass der Ventilkörper (18) in seinem, die Durchlassöffnung verschließenden Zustand einen von der Durchlassöffnung ausgehenden Förderkanal (22) durchquert und in einer vom Förderkanal (22) ausgehenden Lagerbohrung im Ventilgehäuse (12) verschiebbar geführt ist.
  4. Rückschlagventil nach Anspruch 3, dadurch gekennzeichnet, dass der Förderkanal (22) im Gegendruckbereich (36) liegt und ein in der Lagerbohrung verschiebbar angeordneter Abschnitt des Ventilkörpers (18) wenigstens im Bereich seiner, dem Förderkanal (22) abgewandten Rückseite gegen den Gegendruckbereich (36) abgedichtet ist.
  5. Rückschlagventil nach Anspruch 4, dadurch gekennzeichnet, dass eine freie Fläche der Durchlassöffnung einer Querschnittsfläche des in der Lagerbohrung verschiebbar geführten Abschnitts des Ventilkörpers (18) entspricht.
  6. Rückschlagventil nach wenigstens einem der vorstehenden Ansprüche, dadurch gekennzeichnet, dass die Mittel zum Aufbringen einer Schließkraft auf den Ventilkörper eine Feder, Pneumatik- und/oder Hydraulikmittel aufweisen.
  7. Rückschlagventil nach wenigstens einem der vorstehenden Ansprüche, dadurch gekennzeichnet, dass eine Entsperrvorrichtung (66a, 66b) zum Entsperren des Rückschlagventils (10a, 10b) vorgesehen ist.
  8. Dosierpumpe für Spritzvorrichtungen der Pflanzenschutztechnik mit wenigstens einem Rückschlagventil (10a, 10b) nach wenigstens einem der vorstehenden Ansprüche.
  9. Spritzvorrichtung für die Pflanzenschutztechnik, insbesondere Feldspritze, mit wenigstens einer Dosierpumpe (50) nach Anspruch 10, wobei die Dosierpumpe (50) Wirkstoff in eine Trägerflüssigkeitsleitung (54) fördert, die mit wenigstens einer Sprühdüse in Strömungsverbindung steht.
  10. Spritzvorrichtung nach Anspruch 9, dadurch gekennzeichnet, dass Mittel (68) zum Rückfördern von Wirkstoff wenigstens aus dem Bereich der Dosierpumpe (50) in einen Wirkstoffvorratsbehälter (62) vorgesehen sind.
  11. Spritzvorrichtung nach Anspruch 9 oder 10, dadurch gekennzeichnet, dass Mittel (70) zum Spülen wenigstens der Dosierpumpe mit Spülflüssigkeit vorgesehen sind.
EP07018249A 2006-09-19 2007-09-18 Rückschlagventil für Dosierpumpen Withdrawn EP1906019A3 (de)

Applications Claiming Priority (1)

Application Number Priority Date Filing Date Title
DE102006045448A DE102006045448A1 (de) 2006-09-19 2006-09-19 Rückschlagventil für Dosierpumpen, Dosierpumpe und Spritzvorrichtung für die Pflanzenschutztechnik

Publications (2)

Publication Number Publication Date
EP1906019A2 true EP1906019A2 (de) 2008-04-02
EP1906019A3 EP1906019A3 (de) 2009-10-28

Family

ID=38736024

Family Applications (1)

Application Number Title Priority Date Filing Date
EP07018249A Withdrawn EP1906019A3 (de) 2006-09-19 2007-09-18 Rückschlagventil für Dosierpumpen

Country Status (2)

Country Link
EP (1) EP1906019A3 (de)
DE (1) DE102006045448A1 (de)

Cited By (5)

* Cited by examiner, † Cited by third party
Publication number Priority date Publication date Assignee Title
WO2009153085A1 (de) * 2008-06-17 2009-12-23 Robert Bosch Gmbh Dosiersystem für ein flüssiges medium, insbesondere harnstoff-wasser-lösung
CN103452831A (zh) * 2013-08-20 2013-12-18 米顿罗工业设备(上海)有限公司 一种应用于计量泵中下沉式泵头的自动排气阀
WO2014133712A1 (en) * 2013-02-28 2014-09-04 Ingersoll-Rand Company Positive displacement pump with pressure compensating calibration
EP2611289B1 (de) 2010-08-31 2016-01-06 Exel Industries Sprühanordnung und zerstäuber mit mindestens einer derartigen anordnung
CN114060574A (zh) * 2021-11-25 2022-02-18 蓝箭航天空间科技股份有限公司 一种单向阀、火箭发动机增压系统及火箭发动机

Family Cites Families (9)

* Cited by examiner, † Cited by third party
Publication number Priority date Publication date Assignee Title
DE1943693C3 (de) * 1969-08-28 1981-07-16 Robert Bosch Gmbh, 7000 Stuttgart Federbelastetes Rückschlagventil
US3980230A (en) * 1973-08-14 1976-09-14 Pringle Orvi C Sprayer-mixer
DE2831697A1 (de) * 1978-07-19 1980-01-31 Friedrich Freimuth Bruchgesichertes hydraulisch entsperrbares rueckschlagventil
DE4401074B4 (de) * 1994-01-15 2007-01-18 Robert Bosch Gmbh Pumpenanordnung, insbesondere zur Förderung von Kraftstoff aus einem Vorratsbehälter zu einer Brennkraftmaschine
DE19902292A1 (de) * 1999-01-21 2000-07-27 Mannesmann Rexroth Ag Fördereinheit
DE10014191B4 (de) * 2000-03-24 2010-05-12 Stein, Günter Steuerventil
DE102004020275B4 (de) * 2004-03-15 2006-04-27 Brueninghaus Hydromatik Gmbh Ventil
DE102004047585A1 (de) * 2004-09-23 2006-03-30 Lechler Gmbh Wirkstoffversorgungssystem und Spritzeinrichtung zum Versprühen von Flüssigkeiten
DE202006000277U1 (de) * 2006-01-09 2006-03-02 Wiwa Wilhelm Wagner Gmbh & Co. Kg Dosiereinrichtung zur Förderung eines fließfähigen Materials

Cited By (8)

* Cited by examiner, † Cited by third party
Publication number Priority date Publication date Assignee Title
WO2009153085A1 (de) * 2008-06-17 2009-12-23 Robert Bosch Gmbh Dosiersystem für ein flüssiges medium, insbesondere harnstoff-wasser-lösung
EP2611289B1 (de) 2010-08-31 2016-01-06 Exel Industries Sprühanordnung und zerstäuber mit mindestens einer derartigen anordnung
US11779006B2 (en) 2010-08-31 2023-10-10 Exel Industries Spraying assembly, and sprayer equipped with at least one such assembly
WO2014133712A1 (en) * 2013-02-28 2014-09-04 Ingersoll-Rand Company Positive displacement pump with pressure compensating calibration
US10036378B2 (en) 2013-02-28 2018-07-31 Ingersoll-Rand Company Positive displacement pump with pressure compensating calibration
CN103452831A (zh) * 2013-08-20 2013-12-18 米顿罗工业设备(上海)有限公司 一种应用于计量泵中下沉式泵头的自动排气阀
CN103452831B (zh) * 2013-08-20 2016-02-24 米顿罗工业设备(上海)有限公司 一种应用于计量泵中下沉式泵头的自动排气阀
CN114060574A (zh) * 2021-11-25 2022-02-18 蓝箭航天空间科技股份有限公司 一种单向阀、火箭发动机增压系统及火箭发动机

Also Published As

Publication number Publication date
DE102006045448A1 (de) 2008-03-27
EP1906019A3 (de) 2009-10-28

Similar Documents

Publication Publication Date Title
DE3908963C2 (de) Gerät zum Applizieren von Pflanzenbehandlungsmitteln unter geschwindigkeitsabhängiger Direkteinspeisung
EP1906013A2 (de) Dosierpumpe, Spritzvorrichtung zum Versprühen von Spritzmitteln sowie Verfahren zum Betreiben einer solchen Spritzvorrichtung
EP3645885B1 (de) Hochdruckreinigungsgerät
DE3248622C2 (de) Hochdruckreinigungsgerät
DE102017220028A1 (de) Spritzeinrichtung und Verfahren
DE102012218903B4 (de) Hydraulische Ventilanordnung und hydraulische Maschinenanordnung mit einer derartigen Ventilanordnung
EP1906019A2 (de) Rückschlagventil für Dosierpumpen
EP1691601A2 (de) Spritzeinrichtung zum versprühen von flüssigkeiten und düsenhalter
DE2746037C3 (de) Hochdruckreinigungsgerät
DE10235140B4 (de) Kolbenpumpe
DE2736597A1 (de) Elektromagnetische pumpe
DE20114393U1 (de) Vorrichtung zur Aufbringung von versprühbaren Flüssigkeiten
EP1320415B1 (de) Vorrichtung zur aufbringung von versprühbaren flüssigkeiten
DE3922956C2 (de)
DE10161438A1 (de) Hubkolbenmaschine
EP3861416B1 (de) Flüssigkeitsausstossvorrichtung für eine fahrzeugwaschanlage und verfahren zu ihrem betrieb
DE2045997B2 (de) Fluessigkeitskolbenpumpe zur uebertragung hydraulischer druckimpulse oder eines pulsierenden fluessigkeitsstrahles auf ein handgeraet zur koerperpflege
EP3508280B1 (de) Austragvorrichtung zum austragen von flüssigen medien
CH616235A5 (en) Device for testing fuel injection valves.
DE10312738B4 (de) Einspritzventil mit hydraulisch betätigter Nadel und Hohlnadel und Verfahren zum Steuern einer Einspritzung
EP0627268A2 (de) Flüssigkeits-Sprühvorrichtung, insbesondere für Druckmaschinen
DE4118600A1 (de) Dosierpumpeneinrichtung mit einem entlueftungsventil
EP0078516A1 (de) Pumpvorrichtung zum gleichzeitigen Zuführen von zumindest zwei Zerstäubungsflüssigkeiten im wählbaren Mengenverhältnis zu einer Spritzvorrichtung
DE19927070B4 (de) Hydraulische Presse
DE3316919A1 (de) Vorrichtung zum dosierten einspeisen von konzentrat in eine verduennungsfluessigkeit

Legal Events

Date Code Title Description
PUAI Public reference made under article 153(3) epc to a published international application that has entered the european phase

Free format text: ORIGINAL CODE: 0009012

AK Designated contracting states

Kind code of ref document: A2

Designated state(s): AT BE BG CH CY CZ DE DK EE ES FI FR GB GR HU IE IS IT LI LT LU LV MC MT NL PL PT RO SE SI SK TR

AX Request for extension of the european patent

Extension state: AL BA HR MK YU

PUAL Search report despatched

Free format text: ORIGINAL CODE: 0009013

AK Designated contracting states

Kind code of ref document: A3

Designated state(s): AT BE BG CH CY CZ DE DK EE ES FI FR GB GR HU IE IS IT LI LT LU LV MC MT NL PL PT RO SE SI SK TR

AX Request for extension of the european patent

Extension state: AL BA HR MK RS

RIC1 Information provided on ipc code assigned before grant

Ipc: B05B 7/32 20060101ALI20090922BHEP

Ipc: F04B 53/10 20060101ALI20090922BHEP

Ipc: F16K 15/02 20060101AFI20090922BHEP

AKX Designation fees paid
STAA Information on the status of an ep patent application or granted ep patent

Free format text: STATUS: THE APPLICATION IS DEEMED TO BE WITHDRAWN

18D Application deemed to be withdrawn

Effective date: 20100429

REG Reference to a national code

Ref country code: DE

Ref legal event code: 8566