EP1842991A2 - Nottasterterminal mit kombinierter Anzeige - Google Patents
Nottasterterminal mit kombinierter Anzeige Download PDFInfo
- Publication number
- EP1842991A2 EP1842991A2 EP07007070A EP07007070A EP1842991A2 EP 1842991 A2 EP1842991 A2 EP 1842991A2 EP 07007070 A EP07007070 A EP 07007070A EP 07007070 A EP07007070 A EP 07007070A EP 1842991 A2 EP1842991 A2 EP 1842991A2
- Authority
- EP
- European Patent Office
- Prior art keywords
- display
- terminal according
- light
- emergency terminal
- individual
- Prior art date
- Legal status (The legal status is an assumption and is not a legal conclusion. Google has not performed a legal analysis and makes no representation as to the accuracy of the status listed.)
- Granted
Links
- 230000002596 correlated effect Effects 0.000 claims abstract 2
- 230000036961 partial effect Effects 0.000 claims description 18
- 239000003086 colorant Substances 0.000 claims description 10
- 230000003278 mimic effect Effects 0.000 abstract 1
- 230000004913 activation Effects 0.000 description 6
- 230000008859 change Effects 0.000 description 4
- 238000012423 maintenance Methods 0.000 description 4
- 230000036962 time dependent Effects 0.000 description 4
- 230000002779 inactivation Effects 0.000 description 3
- 238000000034 method Methods 0.000 description 3
- 230000008569 process Effects 0.000 description 3
- 208000006992 Color Vision Defects Diseases 0.000 description 2
- 230000008901 benefit Effects 0.000 description 2
- 238000011161 development Methods 0.000 description 2
- 230000018109 developmental process Effects 0.000 description 2
- 238000009434 installation Methods 0.000 description 2
- QNRATNLHPGXHMA-XZHTYLCXSA-N (r)-(6-ethoxyquinolin-4-yl)-[(2s,4s,5r)-5-ethyl-1-azabicyclo[2.2.2]octan-2-yl]methanol;hydrochloride Chemical compound Cl.C([C@H]([C@H](C1)CC)C2)CN1[C@@H]2[C@H](O)C1=CC=NC2=CC=C(OCC)C=C21 QNRATNLHPGXHMA-XZHTYLCXSA-N 0.000 description 1
- PZASAAIJIFDWSB-CKPDSHCKSA-N 8-[(1S)-1-[8-(trifluoromethyl)-7-[4-(trifluoromethyl)cyclohexyl]oxynaphthalen-2-yl]ethyl]-8-azabicyclo[3.2.1]octane-3-carboxylic acid Chemical compound FC(F)(F)C=1C2=CC([C@@H](N3C4CCC3CC(C4)C(O)=O)C)=CC=C2C=CC=1OC1CCC(C(F)(F)F)CC1 PZASAAIJIFDWSB-CKPDSHCKSA-N 0.000 description 1
- 201000004569 Blindness Diseases 0.000 description 1
- 208000036693 Color-vision disease Diseases 0.000 description 1
- 230000005540 biological transmission Effects 0.000 description 1
- 201000007254 color blindness Diseases 0.000 description 1
- 230000008094 contradictory effect Effects 0.000 description 1
- 230000009849 deactivation Effects 0.000 description 1
- 230000001934 delay Effects 0.000 description 1
- 230000001419 dependent effect Effects 0.000 description 1
- 239000010432 diamond Substances 0.000 description 1
- 239000003365 glass fiber Substances 0.000 description 1
- 230000007774 longterm Effects 0.000 description 1
- 238000004020 luminiscence type Methods 0.000 description 1
- 238000004519 manufacturing process Methods 0.000 description 1
- 230000003287 optical effect Effects 0.000 description 1
- 230000009467 reduction Effects 0.000 description 1
- 230000011664 signaling Effects 0.000 description 1
- 238000011144 upstream manufacturing Methods 0.000 description 1
- 230000000007 visual effect Effects 0.000 description 1
Images
Classifications
-
- E—FIXED CONSTRUCTIONS
- E05—LOCKS; KEYS; WINDOW OR DOOR FITTINGS; SAFES
- E05B—LOCKS; ACCESSORIES THEREFOR; HANDCUFFS
- E05B17/00—Accessories in connection with locks
- E05B17/22—Means for operating or controlling lock or fastening device accessories, i.e. other than the fastening members, e.g. switches, indicators
-
- E—FIXED CONSTRUCTIONS
- E05—LOCKS; KEYS; WINDOW OR DOOR FITTINGS; SAFES
- E05B—LOCKS; ACCESSORIES THEREFOR; HANDCUFFS
- E05B17/00—Accessories in connection with locks
- E05B17/10—Illuminating devices on or for locks or keys; Transparent or translucent lock parts; Indicator lights
-
- E—FIXED CONSTRUCTIONS
- E05—LOCKS; KEYS; WINDOW OR DOOR FITTINGS; SAFES
- E05B—LOCKS; ACCESSORIES THEREFOR; HANDCUFFS
- E05B65/00—Locks or fastenings for special use
- E05B65/10—Locks or fastenings for special use for panic or emergency doors
- E05B65/108—Electronically controlled emergency exits
-
- G—PHYSICS
- G08—SIGNALLING
- G08B—SIGNALLING OR CALLING SYSTEMS; ORDER TELEGRAPHS; ALARM SYSTEMS
- G08B25/00—Alarm systems in which the location of the alarm condition is signalled to a central station, e.g. fire or police telegraphic systems
- G08B25/12—Manually actuated calamity alarm transmitting arrangements emergency non-personal manually actuated alarm, activators, e.g. details of alarm push buttons mounted on an infrastructure
-
- H—ELECTRICITY
- H01—ELECTRIC ELEMENTS
- H01H—ELECTRIC SWITCHES; RELAYS; SELECTORS; EMERGENCY PROTECTIVE DEVICES
- H01H13/00—Switches having rectilinearly-movable operating part or parts adapted for pushing or pulling in one direction only, e.g. push-button switch
- H01H13/02—Details
- H01H13/023—Light-emitting indicators
-
- H—ELECTRICITY
- H01—ELECTRIC ELEMENTS
- H01H—ELECTRIC SWITCHES; RELAYS; SELECTORS; EMERGENCY PROTECTIVE DEVICES
- H01H3/00—Mechanisms for operating contacts
- H01H3/02—Operating parts, i.e. for operating driving mechanism by a mechanical force external to the switch
- H01H3/022—Emergency operating parts, e.g. for stop-switch in dangerous conditions
Definitions
- the invention relates to an emergency terminal with a light-emitting display.
- the object of the invention is thus to provide a Nottasterterminal, which facilitates the escape in case of danger.
- the object is achieved by the emergency terminal called in the independent claim.
- Preferred developments are specified in the dependent claims.
- the display in the activated state indicates a trend-setting display figure.
- the display figure is an outer shape of a body or, preferably, an area indicated by the light-emitting display in the activated state.
- a trend-setting display figure is furthermore to be understood as meaning any type of display figure whose outer shape indicates an orientation or by means of its shape represents or indicates a direction or has a directional shape.
- a trend-setting display figure thus has a preferred direction.
- directional display figures are used, which are formed mirror-symmetrically along their direction. These can be, for example, isosceles triangles, bar-shaped or strip-shaped figures, diamonds, etc.
- the emergency master terminal also has a control unit which controls the activation and inactivation or the operation of all the light-emitting elements belonging to the display.
- the display can thus be switched on, for example, so that the light-emitting display emits light at least to display a trend-setting display figure, and be switched off, wherein in the switched-off state the light-emitting display emits no light for displaying a trend-setting figure.
- the display comprises at least two individual display elements, wherein at least one of the at least two individual display elements indicates a trend-setting display figure.
- a subdivision of the display into a plurality of independent subunits or individual display elements increases the display possibilities of the emergency master terminal according to the invention.
- the at least one trend-setting display figure is extended by at least one further light-emitting individual display element which, in the activated state, does not indicate any figure associated with the first individual display element. This can be, for example, in addition to the trend-setting display figure operating and status displays or other individual displays.
- the control of the individual display elements is carried out by the control unit.
- the at least two individual display elements are preferably mutually activated by the control unit.
- the mutual activation prevents the simultaneous display of contradictory display figures.
- the at least one individual display element which indicates a trend-setting display figure, is expediently activated by the control unit in an emergency situation.
- the trend-setting display figure of the at least one individual display element is attached, for example, in the manner of Nottasterterminal that the orientation of the trend-pointing display figure coincides with the direction of escape. Escape direction is preferably the direction in which the escape route from Nottasterterminal runs.
- the trend-setting display figure thus indicates the course of escape routes or escape routes.
- the control unit activates an at least second individual display element, which preferably displays a display figure that signals the normal state.
- This can be, for example, the reference to a locked escape door.
- the emergency master terminal preferably has display figures with a disabling function. These are, for example, circles, rings, crossed bars, etc.
- the at least one individual display element of the display is composed of more than one light-emitting means, wherein the light-emitting means of the at least one individual display element are particularly preferably driven in groups at least in groups by the control unit.
- the display variety of the respective individual display element and ultimately the entire display can be increased.
- bulbs are to be understood as meaning in particular the light-emitting objects of the emergency button. These are, for example, light bulbs, preferably luminescent diodes (LEDs).
- bulbs include, in particular, also light-conducting structures such as, for example, light-conducting plastic components, glass fibers or light tubes, which pass on light of an upstream active light-generating device such as an LED or a light bulb and emit it at least in some areas.
- an activation of the latter lamps by the control unit thus takes place indirectly via an activation of the relevant light-generating device by the control unit.
- the control unit preferably activates the individual light sources of an individual display element jointly or in groups.
- the display figures displayed by the individual display elements are thus formed by the totality of the lighting means of a respective individual display element, which are activated jointly by the control unit.
- the more than one light source of a single display element are arranged linearly relative to one another.
- a linear arrangement of the lighting means in particular, a displayed direction is easier to recognize.
- the longitudinal extension of the linear arrangement preferably runs parallel to the designated direction or especially to the direction of escape. It is thus advantageous that, in the presence of at least two individual display elements, at least one of the at least two individual display elements indicates a bar-shaped display figure.
- a bar-shaped figure indicates a direction particularly well.
- a bar-shaped display figure is to be understood as a bar-shaped or strip-shaped figure, preferably in the form of a rectangle.
- the display indicates a trend-setting pattern.
- trend-setting patterns By displaying trend-setting patterns, a direction indication can be displayed more clearly and comprehensibly.
- a pattern in this context is the entirety of the shape or shape displayed by a combined activation of at least two display figures. Most preferably, the entire pattern is in one direction. Patterns with directional properties are characterized, for example, in that they have a longitudinal orientation in their entirety or that they change continuously in one direction uniformly or periodically. Directional patterns are thus, for example, rows of light multiple rows, preferably light band double rows, patterns of rhombic and triangular individual figures, etc.
- the pattern of similar display figures is considerably superior to more complex patterns composed of various display figures.
- the structure of the pattern of similar display figures in particular also in terms of manufacturing costs of advantage.
- the pattern is preferably constructed from individual elements which in themselves already have trend-setting properties.
- the display alternately displays two patterns, the patterns differing in shape or color.
- different operating states of the emergency master terminal can be displayed better.
- very particularly preferred is the combination of two different patterns, each with different colors, so that the pattern not only have a shape different shape, but in addition emit different colored light among themselves.
- This particular embodiment makes possible the combined display of different operating states of the emergency terminal, such as, on the one hand, a "hazard-free" normal state and a "dangerous" emergency situation with an unmistakable and clear escape route indication.
- This particular embodiment of the invention is particularly useful for a person who has operated the emergency terminal according to the invention, since the person concerned immediately receives a further indication regarding the escape options. This applies in particular to persons with color vision deficiency, since they are also informed of an escape route, irrespective of the respectively displayed color, due to the display figure or pattern with directional properties displayed by the emergency button terminal.
- the color of the emitted light of the patterns thus preferably correlates with the purpose of the patterns and the operating state of the emergency master terminal. Detecting the operating state displayed by the display by a person is even easier here.
- This particular embodiment combines with the position indication of the emergency master terminal and the direction indication by the directional characteristics of the pattern additionally a color coding for the operating state of the emergency master terminal.
- a color coding for the operating state of the emergency master terminal.
- the invention is not limited to such a color combination, but can be varied here as desired.
- the functionality of the emergency call terminal can be additionally increased by the display having a running light function.
- a running light function is an individual display element of at least two adjacent bulbs to understand, the at least two bulbs are activated or run through successively.
- the display preferably has at least three bulbs arranged linearly relative to one another, the at least three bulbs being activated one after the other.
- one of the at least three lighting means is activated and inactivated again in the moment in which the next and preferably adjacent lighting means is activated.
- the at least three adjacent bulbs are preferably passed through in series and successively. It has been found to be particularly advantageous if the running direction of the running light of the individual display element aligns with the spatial direction of escape.
- Nottasterterminal which has a plurality of individual display elements with running light function, since the running light function is then clearly visible. It is particularly preferred if the running light function of an individual display element is controlled synchronously with the running light display of at least one further individual display element.
- the individual luminous means of the at least one individual display element with running light function are designed to be similar.
- the display with running light functions is designed in two parts, wherein each part has at least one individual display element with a group of lighting means, which are each passed through successively.
- at least one lamp of a single display element is thus activated in each case.
- the functionality of a display with a running light function can be further increased in addition, if the at least two individual display elements in the form of a light band double row are arranged on the housing, wherein each light band is constructed from at least two light sources.
- each band of light is passed through by a respective running light, wherein the two chases in the running direction are preferably rectified and parallel to each other.
- control unit is further designed such that the individual light sources of the emergency master terminal can be dimmed, wherein dimming in this context means both a continuous increase and a stepless reduction in the light intensity.
- dimming in this context means both a continuous increase and a stepless reduction in the light intensity.
- the dimming can each extend to the entire individual display element, but also individual light sources of a single display element.
- the chase function can be combined with the dimming function.
- Another preferred embodiment of the emergency master terminal according to the invention has a display with a countdown function.
- time-dependent processes such as an opening interval or the opening time of an escape door or even long-term and short-term releases of the escape door, can be displayed.
- a display with countdown function allows the visual and time-dependent signaling of the release time or the remaining opening time of the door, etc.
- individual display elements are used, which are constructed of at least two, but preferably five to ten similar and linearly arranged lighting means used.
- all lamps of at least one individual display element are activated and inactivated one after the other in a time-dependent manner.
- inactivation is started with a luminous means of the at least one individual display element which has only one further luminous means in its vicinity or which is located at the edge of the individual display element, so that the linearly arranged luminous means of the at least one luminous means are inactivated one after the other.
- Such a countdown function is also particularly suitable for displaying unlocking delays.
- the display of Nottasterterminals has further partial displays that display individually or in combination patterns that are assigned to individual operating and maintenance conditions of Nottasterterminals.
- Such partial displays are controlled by the control unit independently of the already mentioned individual display elements.
- the further partial displays can serve, for example, for displaying patterns which indicate programming steps, error messages, etc., or alternatively point out the user to maintenance work.
- the partial displays are preferably made smaller than the individual display elements and emit a different light color than one of the light colors emitted by the individual display elements present.
- the emergency master terminal to display operating states combined with at least part of the existing partial displays and with at least a part of the existing individual display elements.
- the display has a color display.
- a particularly large variety of display figures and display colors can be obtained.
- color displays have the advantage that the displayed figures or colors can be changed by programming steps. In this way, the display figures and colors can be varied without the need for reconfiguration of the emergency terminal.
- the display has at least partially self-luminous elements.
- self-luminous elements among other things, the power consumption of Nottasterterminals can be reduced. This is particularly advantageous in emergency situations in which the continuous power supply of the emergency terminal is no longer guaranteed.
- the display time of Nottasterterminals can be extended.
- the self-luminous elements are very particularly preferably electro-luminescent films. Electro-luminescent films are characterized by their extremely small thickness, so that the display in this case requires very little space at the emergency terminal. In this way, thus very flat and space-saving Nottasterterminals can be obtained.
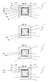
- the emergency terminal 1 has a housing 2, on the upper side of which an emergency button 3 is arranged.
- the emergency button 3 is surrounded by a display 4, which is composed of four bar-shaped individual display elements 5a, 5b, 6a and 6b and four partial displays 7.
- the housing 2 also has a control unit and means for supplying energy inside (not shown).
- the bar-shaped Einzelan Seaeelementprese 5a / 5b and 6a / 6b are each arranged parallel to each other and orthogonal to each other individual display element pair 5a / 5b and 6a / 6b, so that the individual display elements 5a / 5b / 6a / 6b lie in their entirety on the lines of a square ,
- the four individual display elements 5a / 5b / 6a / 6b are similar in their geometric dimensions.
- the four circular partial displays 7 are arranged on the corner points of the square or in the intersections of the respective longitudinal axes of the individual display elements 5a / 5a / 6a / 6b.
- All light-emitting objects 5a / 5b / 6a / 6b / 7 are activated or deactivated by the control unit.
- the control unit regulates the respective operating state of all the light-emitting objects 5a / 5b / 6a / 6b / 7 in such a way that patterns are displayed in each case.
- the displayed patterns are designed so that the displayed pattern already indicates the operating status of the emergency button terminal.
- FIGS. 1a to 1d each show a pattern.
- the emergency terminal 3 is suitably mounted at eye level with the (non-visible) side of the housing on a wall opposite to the side of the housing 3, on which the emergency button 3 is located.
- the single display element pair 5a / 5b extends parallel to two outer edges of the housing or horizontally to the viewer and the single display element pair 6a / 6b parallel to the other two outer edges of the housing or vertically to the viewer.
- the individual black-colored individual display elements in FIGS. 1a to 1d represent the corresponding individual display element in the activated state or in the state in which the individual display element emits light. In Fig. 1a this applies to the individual display elements 5a and 5b. Accordingly, the non-black colored individual display elements are present in the inactivated state. This applies in FIG. 1a to the individual display elements 6a and 6b as well as to the partial displays 7. Moreover, in the illustrated first embodiment 1, the individual display elements 5a / 5b / 6a / 6b / 7 emit light of different wavelengths and colors, with the single-element pairs 5a / 5b and 6a / 6b and the sub-displays 7 emitting similar light to each other, respectively. The single element pair 5a / 5b emits red light, the single element pair 6a / 6b emits green light, and the partial displays emit yellow light.
- Fig. 1a shows the emergency master terminal 1 in a state in which an escape door (not shown), which is functionally connected to the emergency master terminal 1, is not continuous or locked. That is, a passage of the door is not possible without the triggering of an alarm condition.
- the two arranged above and below the emergency button 3 bar-shaped individual display elements 5a and 5b are activated and emit red light. Both the shape and the color of the individual display elements 5a and 5b is thus derived causally from the operating state of the escape door.
- the color red indicates, in analogy to a street lamp, that the escape door should not be committed.
- the pattern indicated by the activated individual display elements 5a and 5b of parallel stripe-shaped display figures, which are horizontal for the viewer indicates a blockage of the door.
- Nottasterterminal 1 existing individual display elements 6a and 6b and the partial displays 7 are in the non-activated state and thus emit no light.
- Nottasterterminal 1 for persons with a red-green-blindness of the operating state of the emergency master terminal 1 can be seen, since already the shape and shape of the displayed by the two individual display elements 5a and 5b pattern indicates the locked state of the door.
- Fig. 1b another combination of individual display elements is activated by the control unit.
- the two vertically extending individual display elements 6a and 6b are activated, the other individual display elements 5a and 5b and the partial displays 7 are not activated and thus emit no light.
- the longitudinal extent of the two activated, for the viewer vertically extending bar-shaped individual display elements 6a and 6b are applied in accordance with the course of a direction, preferably in accordance with the direction of escape.
- the orientation and shape of the individual display elements 6a and 6b is thus derived from the escape route direction.
- the emergency call terminal 1 in addition to the figure form beyond used an additional color coding.
- the two individual display elements 6a and 6b which extend vertically for the viewer, emit green light, derived from traffic lights, to indicate the opened state of the escape door.
- Nottasterterminals 1 allows the special combination of the shape of the display and the color of the display character suffering from color blindness users of the invention
- Nottasterterminals 1 can close from the information displayed on the operating state of Nottasterterminals and immediately go, for example, in an alarm state on the correct escape route
- the emergency master terminal can also be controlled, for example, by an access control unit, in which case a permanent or short-term release controlled by the access control unit is displayed via the emergency call terminal 1.
- the colorblind user can recognize the release state of the door regardless of the color coding.
- Fig. 1c only the four partial displays 7 are activated.
- the partial displays are used to display the status of the emergency call terminal with regard to installation and maintenance work.
- different combinations of activated and non-activated partial displays 7 can also be assigned to specific programming states, to specific types of errors or even to different diagnostic modes.
- the displayed pattern signals in this case, for example, a fault of the emergency master terminal.
- the state of the emergency master terminal 1 shown in FIG. 1d serves to maintain the emergency master terminal 1.
- all individual display elements 5a, 5b, 6a and 6b as well as the existing partial displays 7 are activated and emit light.
- Such a function controlled by the control unit is of particular relevance insofar as that a system check can be carried out here in which all the light-emitting components of the display element 4 can be checked simultaneously for their functionality.
- Figures 2a to 2d show an emergency terminal 1 'with countdown function and a chase function (not shown in detail).
- the individual display elements 8, 9, 10 and 11 of the emergency master terminal 1 ' are each composed of six identical light sources 8a-f, 9a-f (only referred to as the entire individual display element 9), 10a-f and 11 af (only as total single display element 11).
- Each of the luminous means 8a-f, 9a-f, 10a-f and 11a-f in each case has a luminescence diode.
- the respective six lighting means 10a-f and 11a-f of the two vertically extending individual display elements 10 and 11 are activated by the control unit, so that a pattern of two mutually parallel bars or light band double rows through the display element 4 of Nottasterterminals 1 'is displayed becomes.
- the individual and in this case activated lamps 10a-f and 11a-f emit green light. Both the shape and the color of the pattern shown in Fig. 2a correlate with an open state of an escape door (not shown).
- FIG. 2 b In contrast to FIG. 2 a, in FIG. 2 b there are no longer any bulbs of the two vertically extending display elements 10 and 11 in the activated state. In each case, the lower two lamps 10e and 10f, and 11e and 11f are inactivated. In this case, the inactivation of the respectively lower two light sources shown in FIG. 2b occurred stepwise and successively, starting with the respective outer light sources 10f and 11f.
- the switching off of the individual lamps of each individual display element takes place at constant time intervals and is controlled by the control unit in a time-dependent manner. If the full time period of an unlocked, openable escape door is still present in FIG. 2a, FIG. 2b represents the time in which only two thirds of the available time are available.
- Fig. 2c continues the development process shown in Figs. 2a and 2b. Here are only the two outer and in Fig. 2c at the upper end of the respective individual display element 10 or 11 localized bulbs 10a and 10b and 11 a and 11 b activated. Accordingly, Fig. 2c shows the state of Nottasterterminals 1 ', in which only one third of the opening time of the opening interval of an emergency door to the terminal 1' coupled escape door is available.
- the control unit After the opening interval has elapsed, the control unit fully activates the two horizontally extending individual display elements 8 and 9 so that a pattern of two parallel vertical bars is displayed.
- the emergency terminal 1 'thus again indicates the locked state both on the shape of the pattern and on the color of the light emitted by the pattern.
- the control unit of the emergency master terminal 1 controls the stepwise activation and deactivation of adjacent light sources of at least one of the individual display elements 8 to 11 in such a way that the individual linearly arranged light sources of at least one individual display element 8 to 11 are activated and deactivated in sequence.
- the sequence of the running light function with reference to the individual indicating element 10 will be explained below.
- the light sources 10 a to f are switched, for example, starting from the light source 10 f individually and in sequence by the control unit.
- the control unit activates the light source 10f located in the edge region of the single display element 10.
- the illuminant 10e adjacent to the activated illuminant 10f is activated by the control unit and the illuminant 10f is deactivated.
- the light source following in the direction of movement of the running light in this case light emitting means 10d, is activated and the light source 10e is deactivated by the control unit.
- control unit controls the running light function at the emergency terminal 1 'in such a way that both the individual display element 10 and the individual display elements 11 have a running light, the two running lights in the running light direction through the respective individual display elements 10 and 11 parallel to each other.
- FIG. 3 shows a further embodiment of the emergency call terminal 1 ", wherein in each case two identical and bar-shaped lighting means (12a and 12b, 13a and 13b, 14a and 14b, 15a and 15b) are arranged side by side in pairs, the two light sources of a pair of light sources (
- the pairs of lamps 12a / 12b and 13a / 13b emit in the activated state the same color and preferably red light
- the pairs of lamps 14a / 14b and 15a / 15b however, emit in the activated state, although preferably the same color green light
- the pairs of lamps 12a / 12b and 13a / 13b preferably emit differently colored light than the two pairs of lamps 14a / 14b and 15a / 15b.
- each circular partial display 16 on Nottasterterminal 1 "attached which in their functions with the partial display 7 from de FIGS. 1a to 2d and, in the activated state (as shown in FIG. 3), preferably emits differently colored light as one of the light-emitting means pairs 12a / b to 15a / b and preferably yellow light.
Landscapes
- Business, Economics & Management (AREA)
- Emergency Management (AREA)
- Physics & Mathematics (AREA)
- General Physics & Mathematics (AREA)
- Audible And Visible Signals (AREA)
- Alarm Systems (AREA)
- Circuit Arrangement For Electric Light Sources In General (AREA)
- Telephone Function (AREA)
- Illuminated Signs And Luminous Advertising (AREA)
Abstract
Description
- Die Erfindung betrifft ein Nottasterterminal mit einer lichtemittierenden Anzeige.
- Nottasterterminals mit lichtemittierenden Anzeigen sind bekannt. So geht beispielsweise aus der
DE 198 34 013 A1 ein Türterminal mit Not-Auf-Taster und Anzeigemodul hervor welches kreisförmig angeordnete Farbwechsel-LED's aufweist, wobei unterschiedliche Betriebszustände durch unterschiedliche Farben angezeigt werden. Darüber hinaus können weitere Blitzleuchten am Anzeigemodul des Türterminals angeordnet sein, die im aktivierten Zustand des Nottasterterminals, beispielsweise bei einem Brand, pulsartig ein grelles Licht emittieren. Die Vorrichtung derDE 198 34 013 A1 sieht somit die optische Übermittlung eines Alarmzustandes mittels Blitzleuchten und mittels eines Farbwechsels der kreisförmig angeordneten Leuchtkörper vor. Nachteilig an dem beschriebenen Nottasterterminal ist, dass das am Nottasterterminal vorhandene Anzeigemodul bei einem Alarm nur durch einen Farbwechsel bzw. Blitzlampen den Alarmzustand an sich vermittelt. - Aufgabe der Erfindung ist es somit, ein Nottasterterminal anzugeben, welches im Gefahrenfall die Flucht erleichtert.
- Erfindungsgemäß wird die Aufgabe durch das im unabhängigen Anspruch genannte Nottasterterminal gelöst. Bevorzugte Weiterbildungen sind in den abhängigen Ansprüchen angegeben.
- Die Lösung der Aufgabe gelingt mit einem Nottasterterminal mit einer lichtemittierenden Anzeige, wobei die Anzeige im aktivierten Zustand eine richtungsweisende Anzeigefigur anzeigt. Durch die Anzeige einer richtungsweisenden Figur wird der Fliehende bereits durch das Nottasterterminal in Fluchtrichtung geleitet. Unter Anzeigefigur ist im Folgenden eine äußere Gestalt eines Körpers oder vorzugsweise einer Fläche zu verstehen, die durch die lichtemittierende Anzeige im aktivierten Zustand angezeigt wird. Vorzugsweise wird dabei die Anzeigefigur von einer zusammenhängenden Fläche gebildet. Unter einer richtungsweisenden Anzeigefigur ist ferner jede Art von Anzeigefigur zu verstehen, deren äußere Gestalt eine Orientierung angibt bzw. durch ihre Form eine Richtung wiedergibt oder angibt bzw. eine gerichtete Form aufweist. Eine richtungsweisende Anzeigefigur weist somit eine Vorzugsrichtung auf. Vorzugsweise werden dazu richtungsweisende Anzeigefiguren verwendet, die entlang ihrer Richtungsweisung spiegelsymmetrisch ausgebildet sind. Dies können beispielsweise gleichschenklige Dreiecke, balken- bzw. streifenförmige Figuren, Rauten etc. sein.
- Das erfindungsgemäße Nottasterterminal weist ferner eine Steuereinheit auf, die die Aktivierung und Inaktivierung bzw. den Betrieb aller zur Anzeige gehörenden lichtemittierenden Elemente steuert. Die Anzeige kann somit beispielsweise eingeschaltet werden, so dass die lichtemittierende Anzeige zumindest zur Darstellung einer richtungsweisenden Anzeigefigur Licht emittiert, und abgeschaltet werden, wobei im abgeschalteten Zustand die lichtemittierende Anzeige kein Licht zur Darstellung einer richtungsweisenden Figur emittiert.
- Vorzugsweise weist die Anzeige mindestens zwei Einzelanzeigeelemente auf, wobei zumindest eine der mindestens zwei Einzelanzeigenelemente eine richtungsweisende Anzeigefigur anzeigt. Eine Unterteilung der Anzeige in mehrere eigenständige Untereinheiten bzw. Einzelanzeigeelemente erhöht die Anzeigemöglichkeiten des erfindungsgemäßen Nottasterterminals. In dieser bevorzugten Ausführungsform ist die mindestens eine richtungsweisende Anzeigefigur um mindestens ein weiteres lichtemittierendes Einzelanzeigeelement erweitert, welches im aktivierten Zustand keine mit dem ersten Einzelanzeigeelemente zusammenhängende Figur anzeigt. Dies können beispielsweise neben der richtungsweisenden Anzeigefigur Betriebs- und Statusanzeigen oder aber auch sonstige Einzelanzeigen sein. Die Steuerung der Einzelanzeigeelemente erfolgt dabei durch die Steuereinheit.
- Die mindestens zwei Einzelanzeigeelemente werden bevorzugt wechselseitig von der Steuereinheit aktiviert. Die wechselseitige Aktivierung beugt der gleichzeitigen Anzeige widersprüchlicher Anzeigefiguren vor. Zweckmäßigerweise wird das mindestens eine Einzelanzeigeelement, welches eine richtungsweisende Anzeigefigur anzeigt, von der Steuereinheit in einer Notsituation aktiviert. Die richtungsweisende Anzeigefigur des mindestens einen Einzelanzeigenelements ist dabei beispielsweise in der Art und Weise am Nottasterterminal angebracht, dass die Orientierung der richtungsweisenden Anzeigefigur mit der Fluchtrichtung übereinstimmt. Fluchtrichtung ist dabei vorzugsweise die Richtung, in die der Fluchtweg vom Nottasterterminal aus verläuft. Die richtungsweisende Anzeigefigur weist somit auf den Verlauf von Fluchtwegen bzw. Fluchtdurchgängen hin. Im Normalbetrieb des Nottasterterminals, in dem die mindestens eine Einzelanzeige, welche eine richtungsweisende Anzeigefigur anzeigt, im inaktivierten Zustand vorliegt, aktiviert die Steuereinheit ein mindestens zweites Einzelanzeigeelement, welches vorzugsweise eine Anzeigefigur anzeigt, die den Normalzustand signalisiert. Dies kann beispielsweise der Hinweis auf eine verschlossene Fluchttür sein. Entsprechend weist das Nottasterterminal zur Anzeige eines derartigen Zustands vorzugsweise Anzeigefiguren mit einer Sperrfunktion auf. Dies sind beispielsweise Kreise, Ringe, gekreuzte Balken etc.
- In einer bevorzugten Ausführungsform ist das mindestens eine Einzelanzeigeelement der Anzeige aus mehr als einem Leuchtmittel zusammengesetzt, wobei die Leuchtmittel des mindestens einen Einzelanzeigeelements besonders bevorzugt zumindest teilweise gruppenweise von der Steuereinheit angesteuert werden. Durch die weitere Unterteilung der Einzelanzeigelemente in mindestens zwei Leuchtmittel kann die Anzeigevielfalt des jeweiligen Einzelanzeigeelementes und letztendlich der gesamten Anzeige erhöht werden. Unter Leuchtmittel sind im Folgenden speziell die lichtemittierenden Objekte des Nottasters zu verstehen. Dies sind beispielsweise Glühbirnen, vorzugsweise Lumineszens-Dioden (LED's). In diesem Zusammenhang umfassen Leuchtmittel aber insbesondere auch lichtleitende Strukturen wie beispielsweise lichtleitende Kunststoffbauteile, Glasfasern oder Lichtrohre, die Licht einer vorgeschalteten aktiv lichterzeugenden Einrichtung wie zum Beispiel einer LED oder einer Glühbirne weiterleiten und zumindest bereichsweise emittieren. Eine Aktivierung der letzteren Leuchtmittel durch die Steuereinheit erfolgt somit indirekt über eine Ansteuerung der jeweils betreffenden lichterzeugenden Einrichtung durch die Steuereinheit. Im Einzelnen aktiviert die Steuereinheit die einzelnen Leuchtmittel eines Einzelanzeigeelements vorzugsweise gemeinsam bzw. gruppenweise. In dieser bevorzugten Ausführungsform werden somit die von den Einzelanzeigeelementen angezeigten Anzeigefiguren von der Gesamtheit der Leuchtmittel jeweils eines Einzelanzeigeelements gebildet, die gemeinsam von der Steuereinheit aktiviert werden.
- Besonders bevorzugt sind die mehr als ein Leuchtmittel eines Einzelanzeigelements linear zueinander angeordnet. Durch eine lineare Anordnung der Leuchtmittel ist insbesondere eine angezeigte Richtung leichter zu Erkennen. Dabei verläuft die Längserstreckung der linearen Anordnung vorzugsweise parallel zur ausgewiesenen Richtung bzw. speziell zur Fluchtrichtung. Vorteilhaft ist es somit, dass bei einem Vorhandensein von mindestens zwei Einzelanzeigeelementen mindestens eines der mindestens zwei Einzelanzeigeelemente eine balkenförmige Anzeigefigur anzeigt. Eine balkenförmige Figur gibt eine Richtung besonders gut an. Unter einer balkenförmigen Anzeigefigur ist im Folgenden eine stab- bzw. streifenförmige Figur vorzugsweise in Form eines Rechtecks zu verstehen.
- In einer besonders bevorzugten Ausführungsform zeigt die Anzeige ein richtungsweisendes Muster an. Durch die Anzeige richtungsweisender Muster lässt sich eine Richtungsangabe deutlicher und verständlicher anzeigen. Ein Muster ist in diesem Zusammenhang die Gesamtheit der durch eine kombinierte Aktivierung von mindestens zwei Anzeigefiguren angezeigte Form bzw. Gestalt. Besonders bevorzugt weist das gesamte Muster in eine Richtung. Muster mit richtungsweisenden Eigenschaften zeichnen sich beispielsweise dadurch aus, dass sie in ihrer Gesamtheit eine Längsorientierung haben, oder dass sie sich kontinuierlich in eine Richtung gleichförmig oder periodisch verändern. Richtungsweisende Muster sind somit beispielsweise Lichtbandmehrfachreihen, vorzugsweise Lichtbanddoppelreihen, Muster aus rauten- und dreiecksförmigen Einzelfiguren etc.
- Hier hat es sich als besonders vorteilhaft herausgestellt, das Muster aus gleichartigen Anzeigefiguren aufzubauen. Eine derartige Anordnung ist hinsichtlich der Einfachheit und Eindeutigkeit der Aussage eines derartigen Musters komplexeren Mustern, die aus verschiedenartigen Anzeigefiguren zusammengesetzt sind, erheblich überlegen. Ferner ist der Aufbau der Muster aus gleichartigen Anzeigefiguren insbesondere auch hinsichtlich der Herstellungskosten von Vorteil. Vorzugsweise wird das Muster dabei aus Einzelelementen aufgebaut, die an sich bereits richtungsweisende Eigenschaften haben.
- In einer weiteren bevorzugten Ausführungsform zeigt die Anzeige wechselweise zwei Muster an, wobei sich die Muster in ihrer Form oder in ihrer Farbe unterscheiden. Durch die Anzeige unterschiedlicher Muster können unterschiedliche Betriebszustände des Nottasterterminals besser angezeigt werden. Ganz besonders bevorzugt ist jedoch die Verknüpfung zweier unterschiedlicher Muster mit jeweils unterschiedlichen Farben, so dass die Muster nicht nur eine formmäßig unterschiedliche Gestalt haben, sondern zusätzlich untereinander verschiedenfarbiges Licht emittieren. Diese besondere Ausführungsform ermöglicht die kombinierte Anzeige unterschiedlicher Betriebszustände des Nottasterterminal wie beispielsweise einerseits eines "gefahrenfreien" Normalzustandes und einer "gefährlichen" Notsituation mit einem unmissverständlichen und eindeutigen Fluchtweghinweis. Diese besondere Ausführung der Erfindung ist für eine Person, die das erfindungsgemäße Nottasterterminal betätigt hat, besonders hilfreich, da die betreffende Person umgehend einen weiteren Hinweis hinsichtlich der Fluchtmöglichkeiten erhält. Dies trifft insbesondere auf Personen mit einer Farbfehlsichtigkeit zu, da diese unabhängig von der jeweils angezeigten Farbe auf Grund der durch das Nottasterterminal angezeigten Anzeigefigur bzw. -muster mit richtungsweisenden Eigenschaften ebenfalls auf einen Rettungsweg hingewiesen werden.
- Die Farbe des emittierten Lichts der Muster korreliert somit vorzugsweise mit der Zweckbestimmung der Muster und dem Betriebszustand des Nottasterterminals. Eine Erkennung des durch die Anzeige angezeigten Betriebszustandes durch eine Person ist hier noch einfacher. Diese besondere Ausführungsform vereint mit der Positionsangabe des Nottasterterminals und der Richtungsangabe durch die richtungsweisenden Eigenschaften des Musters zusätzlich eine Farbcodierung für den Betriebszustand des Nottasterterminals. Zur Farbwahl hat es sich allgemein eingebürgert, in Analogie zu Straßenampeln, die Farbe grün für freie Durchgänge und die Farbe rot für gesperrte Durchgänge zu verwenden. Die Erfindung ist jedoch nicht auf eine solche Farbkombination beschränkt, sondern lässt sich hier beliebig variieren. Neben der erweiterten Möglichkeit, auch ein einzelnes Muster aus unterschiedlichen Farben des Lichts zusammenzusetzen, beispielsweise mit Farbgradienten etc., hat es sich jedoch als vorteilhaft erwiesen, jeweils ein Muster in einer einheitlichen Farbe zu gestalten.
- Die Funktionalität des Nottasterterminals kann darüber hinaus zusätzlich erhöht werden, indem die Anzeige eine Lauflichtfunktion aufweist. Unter einer Lauflichtfunktion ist dabei ein Einzelanzeigeelement aus mindestens zwei benachbarten Leuchtmitteln zu verstehen, wobei die mindestens zwei Leuchtmittel nacheinander aktiviert bzw. durchlaufen werden. Bevorzugt weist die Anzeige dazu mindestens drei linear zueinander angeordnete Leuchtmittel auf, wobei die mindestens drei Leuchtmittel nacheinander aktiviert werden. Besonders bevorzugt wird jeweils eines der mindestens drei Leuchtmittel aktiviert und in dem Moment wieder inaktiviert, in dem das nächste und vorzugsweise benachbarte Leuchtmittel aktiviert wird. Dabei werden die mindestens drei benachbarten Leuchtmittel vorzugsweise in Reihe und nacheinander durchlaufen. Es hat sich als besonders günstig herausgestellt, wenn die Laufrichtung des Lauflichts des Einzelanzeigelementes sich an der räumlichen Fluchtrichtung ausrichtet. Besonders bevorzugt ist ein Nottasterterminal, welches mehrere Einzelanzeigeelemente mit Lauflichtfunktion aufweist, da die Lauflichtfunktion dann deutlicher zu erkennen ist. Dabei ist es besonders bevorzugt, wenn die Lauflichtfunktion eines Einzelanzeigelementes synchron mit der Lauflichtanzeige mindestens eines weiteren Einzelanzeigeelementes gesteuert wird.
- In einer besonders bevorzugten Ausführungsform sind die einzelnen Leuchtmittel des mindestens einen Einzelanzeigeelementes mit Lauflicht-Funktion gleichartig gestaltet. Besonders bevorzugt ist die Anzeige mit Lauflicht-Funktionen zweiteilig ausgelegt, wobei jeder Teil mindestens ein Einzelanzeigeelement mit einer Gruppe von Leuchtmitteln aufweist, die jeweils nacheinander durchlaufen werden. Vorzugsweise ist somit jeweils mindestens ein Leuchtmittel eines Einzelanzeigeelementes aktiviert. Die Funktionalität einer Anzeige mit einer Lauflicht-Funktion lässt sich darüber hinaus zusätzlich erhöhen, wenn die mindestens zwei Einzelanzeigelemente in Form einer Lichtband-Doppelreihe am Gehäuse angeordnet sind, wobei jedes Lichtband aus mindestens zwei Leuchtmitteln aufgebaut ist. In einer besonders bevorzugten Ausführungsform wird jedes Lichtband von jeweils einem Lauflicht durchlaufen, wobei die beiden Lauflichter in Laufrichtung vorzugsweise gleichgerichtet und parallel zueinander verlaufen.
- Vorteilhafterweise ist die Steuereinheit ferner derartig ausgelegt, dass die einzelnen Leuchtmittel des Nottasterterminals gedimmt werden können, wobei dimmen in diesem Zusammenhang sowohl eine stufenlose Steigerung als auch eine stufenlose Senkung der Lichtintensität bedeutet. Die Dimmung kann sich jeweils auf das gesamte Einzelanzeigeelement erstrecken, aber auch einzelne Leuchtmittel eines Einzelanzeigeelementes. So kann beispielsweise die Lauflichtfunktion mit der Dimmfunktion kombiniert werden.
- Eine weitere bevorzugte Ausführungsform des erfindungsgemäßen Nottasterterminals weist eine Anzeige mit einer Countdown-Funktion auf. Durch eine Countdown-Funktion können zeitlich abhängige Prozesse, wie beispielsweise ein Öffnungsintervall oder die Öffnungszeit einer Fluchttür oder aber auch Langzeit- und Kurzzeitfreigaben der Fluchttür, angezeigt werden. Eine Anzeige mit Countdown-Funktion erlaubt durch die besondere Ausführung der Anzeige die optische und zeitlich abhängige Signalisierung der Freigabezeit bzw. der Restöffnungszeit der Tür etc. Dabei werden entweder einzelne oder mehrere Einzelanzeigelemente bzw. einzelne oder mehrere Leuchtmittel eines oder mehrerer Einzelanzeigeelemente der Anzeige in zeitlicher Abhängigkeit zueinander durch die Steuereinheit geschaltet.
- In einer besonders bevorzugten Ausführungsform werden dazu Einzelanzeigeelemente verwendet, die aus mindestens zwei, vorzugsweise jedoch fünf bis zehn gleichartigen und linear zueinander angeordneten Leuchtmitteln aufgebaut sind, verwendet. Dabei werden bevorzugt zu Beginn des Countdowns sämtliche Leuchtmittel zumindest eines Einzelanzeigeelements aktiviert und nacheinander zeitabhängig inaktiviert. Besonders bevorzugt wird mit der Inaktivierung mit einem Leuchtmittel des zumindest einen Einzelanzeigeelementes begonnen, welches nur ein weiteres Leuchtmittel in seiner Nachbarschaft aufweist bzw. welches am Rand des Einzelanzeigelementes lokalisiert ist, so dass die linear angeordneten Leuchtmittel des zumindest einen Leuchtmittels der Reihe nach inaktiviert werden. Alternativ ist es auch möglich, von inaktivierten Leuchtmitteln des zumindest einen Einzelanzeigeelementes auszugehen und diese der Reihe nach zu aktivieren. Eine derartige Countdown-Funktion ist ganz besonders auch zur Anzeige von Entriegelungsverzögerungen geeignet.
- Für den Betrieb und die Wartung des erfindungsgemäßen Nottasterterminals ist es darüber hinaus günstig, wenn die Anzeige des Nottasterterminals weitere Teilanzeigen aufweist, die einzeln oder in Kombination Muster anzeigen, die einzelnen Betriebs- und Wartungszuständen des Nottasterterminals zugeordnet sind. Derartige Teilanzeigen werden von der Steuereinheit unabhängig von den bereits erwähnten Einzelanzeigeelementen gesteuert. Die weiteren Teilanzeigen können beispielsweise zur Anzeige von Mustern dienen, die Programmierungsschritte, Fehlermeldungen etc. anzeigen, oder alternativ den Benutzer auf Wartungsarbeiten hinweisen. Am Gehäuse des Nottasterterminals sind die Teilanzeigen vorzugsweise kleiner ausgeführt als die Einzelanzeigeelemente und emittieren eine andere Lichtfarbe als eine der von den vorhandenen Einzelanzeigeelementen emittierte Lichtfarben. Ferner ist es möglich, dass das Nottasterterminal Betriebszustände kombiniert mit zumindest einem Teil der vorhandenen Teilanzeigen und mit zumindest einem Teil der vorhandenen Einzelanzeigeelementen anzeigt.
- Bevorzugt weist die Anzeige ein Farbdisplay auf. Dadurch kann eine besonders große Vielfalt an Anzeigefiguren und Anzeigefarben erhalten werden. Darüber hinaus haben Farbdisplays den Vorteil, dass die angezeigten Figuren oder Farben durch Programmierungsschritte geändert werden können. Auf diese Art und Weise können die Anzeigefiguren und -farben variiert werden, ohne dass Umbaumaßnahmen am Nottasterterminal erforderlich sind.
- In einer weiteren vorteilhaften Ausführungsform weist die Anzeige zumindest bereichsweise selbstleuchtende Elemente auf. Durch die Verwendung selbstleuchtender Elemente kann unter anderem der Stromverbrauch des Nottasterterminals gesenkt werden. Dies ist insbesondere in Notsituationen von Vorteil, bei denen die kontinuierliche Stromversorgung des Nottasterterminals nicht mehr gewährleistet ist. Durch die Senkung der zur Beleuchtung benötigten elektrischen Energie beispielsweise mittels eines Akkumulators oder anderen Speichermedien für elektrische Energie, kann so die Anzeigezeit des Nottasterterminals verlängert werden.
- Die selbstleuchtenden Elemente sind dabei ganz besonders bevorzugt Elektro-Lumineszenz-Folien. Elektro-Lumineszenz-Folien zeichnen sich durch ihre äußerst geringe Dicke aus, so dass die Anzeige in diesem Fall nur sehr wenig Raum am Nottasterterminal benötigt. Auf diese Art und Weise können somit sehr flache und platzsparende Nottasterterminals erhalten werden.
- Nachfolgend wird die Erfindung anhand von zwei in den Figuren dargestellten Ausführungsbeispielen weiter erläutert. Es zeigen schematisch:
- Fig. 1a bis 1d
- eine Draufsicht auf eine erste Ausführungsform eines Nottasterterminals;
- Fig. 2a bis 2d
- eine Draufsicht auf eine zweite Ausführungsform eines Nottasterterminals; und
- Fig. 3
- eine Draufsicht auf eine dritte Ausführungsform eines Nottasterterminals.
- Bei den im Folgenden dargestellten Ausführungsformen sind gleiche Bestandteile mit gleichen Bezugszeichen versehen.
- Gemäß Fig. 1a bis 1d weist das Nottasterterminal 1 ein Gehäuse 2, an dessen Oberseite ein Nottaster 3 angeordnet ist. Der Nottaster 3 ist von einer Anzeige 4 umgeben, die sich aus vier balkenförmigen Einzelanzeigeelementen 5a, 5b, 6a und 6b und vier Teilanzeigen 7 zusammensetzt. Das Gehäuse 2 weist ferner im Inneren (nicht dargestellt) eine Steuereinheit und Mittel zur Energieversorgung auf.
- Die balkenförmigen Einzelanzeigeelementpaare 5a/5b und 6a/6b sind jeweils parallel zueinander und orthogonal zum jeweils anderen Einzelanzeigeelementpaar 5a/5b bzw. 6a/6b angeordnet, so dass die Einzelanzeigeelemente 5a/5b/6a/6b in ihrer Gesamtheit auf den Linien eines Quadrates liegen. Dabei sind die vier Einzelanzeigeelemente 5a/5b/6a/6b in ihren geometrischen Abmessungen gleichartig. Die vier kreisförmigen Teilanzeigen 7 sind auf den Eckpunkten des Quadrates bzw. in den Schnittpunkten der jeweiligen Längsachsen der Einzelanzeigeelemente 5a/5a/6a/6b angeordnet.
- Alle lichtemittierenden Objekte 5a/5b/6a/6b/7 werden von der Steuereinheit aktiviert bzw. inaktiviert. Dabei regelt die Steuereinheit den jeweiligen Betriebszustand aller lichtemittierenden Objekte 5a/5b/6a/6b/7 in der Art und Weise, dass jeweils Muster angezeigt werden. Dabei sind die angezeigten Muster so konzipiert, dass das angezeigte Muster für sich bereits den Betriebszustand des Nottasterterminals angibt. Die Figuren 1a bis 1d zeigen jeweils ein Muster.
- Das Nottasterterminal 3 wird zweckmäßig in Augenhöhe mit der (nicht sichtbaren) Seite des Gehäuses an einer Wand angebracht, die der Seite des Gehäuses 3, auf der sich der Nottaster 3 befindet, gegenüberliegt. Bei einer derartigen Installation des Nottasterterminals 1 verläuft das Einzelanzeigeelementpaar 5a/5b parallel zu zwei Außenkanten des Gehäuses bzw. horizontal für den Betrachter und das Einzelanzeigeelementpaar 6a/6b parallel zu den beiden anderen Außenkanten des Gehäuses bzw. vertikal für den Betrachter.
- Die in den Figuren 1a bis 1d jeweils schwarz eingefärbten Einzelanzeigeelemente repräsentieren das entsprechende Einzelanzeigeelement im aktivierten Zustand bzw. in dem Zustand, in dem das Einzelanzeigeelement Licht emittiert. In Fig. 1a trifft dies auf die Einzelanzeigeelemente 5a und 5b zu. Entsprechend liegen die nicht schwarz eingefärbten Einzelanzeigeelemente im inaktivierten Zustand vor. Dies trifft in Fig. 1a auf die Einzelanzeigeelemente 6a und 6b sowie auf die Teilanzeigen 7 zu. In der dargestellten ersten Ausführungsform 1 emittieren die Einzelanzeigeelemente 5a/5b/6a/6b/7 darüber hinaus Licht unterschiedlicher Wellenlänge bzw. Farbe, wobei die Einzelelement-Paare 5a/5b bzw. 6a/6b und die Teilanzeigen 7 untereinander jeweils gleichartiges Licht emittieren. Das Einzelelement-Paar 5a/5b emittiert rotes Licht, das Einzelelement-Paar 6a/6b grünes Licht und die Teilanzeigen gelbes Licht.
- Fig. 1a zeigt das Nottasterterminal 1 in einem Zustand, in dem eine Fluchttür (nicht dargestellt), die funktionell mit dem Nottasterterminal 1 verbunden ist, nicht durchgängig bzw. gesperrt ist. Das heißt, ein Durchtreten der Tür ist ohne das Auslösen eines Alarmzustands nicht möglich. Entsprechend sind die beiden oberhalb und unterhalb des Nottasters 3 angeordneten balkenförmigen Einzelanzeigeelemente 5a und 5b aktiviert und emittieren rotes Licht. Sowohl die Form als auch die Farbe der Einzelanzeigeelemente 5a und 5b ist somit ursächlich aus dem Betriebszustand der Fluchttür abgeleitet. Die Farbe Rot gibt in Analogie zu einer Straßenampel an, dass die Fluchttür nicht begangen werden sollte. Darüber hinaus weist das durch die aktivierten Einzelanzeigeelemente 5a und 5b angezeigte Muster aus parallel zueinander verlaufenden streifenförmigen Anzeigefiguren, die für den Betrachter horizontal verlaufen, auf eine Sperrung der Tür hin. Die übrigen am Nottasterterminal 1 vorhandenen Einzelanzeigeelemente 6a und 6b sowie die Teilanzeigen 7 sind im nicht aktivierten Zustand und emittieren somit kein Licht. Insbesondere für Personen mit einer Rot-Grün-Blindheit ist der Betriebszustand des Nottasterterminals 1 zu erkennen, da bereits die Form und Gestalt des durch die beiden Einzelanzeigeelemente 5a und 5b angezeigten Musters den gesperrten Zustand der Tür signalisiert.
- In Fig. 1b ist eine andere Kombination von Einzelanzeigelementen durch die Steuereinheit aktiviert. Hier sind die beiden vertikal verlaufenden Einzelanzeigeelemente 6a und 6b aktiviert, die übrigen Einzelanzeigelemente 5a und 5b sowie die Teilanzeigen 7 sind nicht aktiviert und emittieren somit kein Licht. Die Längserstreckung der beiden aktivierten für den Betrachter vertikal verlaufenden balkenförmigen Einzelanzeigeelementen 6a und 6b sind in Abstimmung mit dem Verlauf einer Richtung, vorzugsweise in Übereinstimmung mit der Fluchtrichtung, angelegt. Die Orientierung und Form der Einzelanzeigeelemente 6a und 6b ist somit von der Fluchtwegsrichtung abgeleitet.. In der dargestellten Ausführungsform des Nottasterterminals 1 wird neben der Figurenform darüber hinaus eine zusätzliche Farbcodierung verwendet. Dazu emittieren die beiden für den Betrachter vertikal verlaufenden Einzelanzeigeelemente 6a und 6b grünes Licht um, abgeleiten von Verkehrsampeln, auf den geöffneten Zustand der Fluchttür hinzuweisen. Auch hier ermöglicht die spezielle Kombination aus der Form der Anzeigefigur und der Farbe der Anzeigefigur einem unter Farbblindheit leidenden Benutzer des erfindungsgemäßen Nottasterterminals 1, aus den angezeigten Informationen auf den Betriebszustand des Nottasterterminals zu schließen und sich unmittelbar beispielsweise bei einem Alarmzustand auf den richtigen Fluchtweg zu begeben. Alternativ kann das Nottasterterminal beispielsweise auch von einer Zutrittskontrolleinheit gesteuert werden, wobei dann eine von der Zutrittskontrolleinheit gesteuerte Dauer- oder Kurzzeitfreigabe über das Nottasterterminal 1 angezeigt wird. Auch in diesem Fall kann der farbenblinde Benutzer den Freigabezustand der Tür unabhängig von der Farbcodierung erkennen.
- In Fig. 1c sind lediglich die vier Teilanzeigen 7 aktiviert. Die Teilanzeigen dienen der Zustandsanzeige des Nottasterterminals in Bezug auf Installations- und Wartungsarbeiten. Dabei können auch unterschiedliche Kombinationen aktivierter und nicht aktivierter Teilanzeigen 7 jeweils spezifischen Programmierungszuständen, bestimmten Fehlerarten oder auch unterschiedlichen Diagnosemodi zugeordnet sein. Das angezeigte Muster signalisiert in diesem Fall beispielsweise eine Störung des Nottasterterminals 1.
- Der in Fig. 1d gezeigte Zustand des Nottasterterminals 1 dient der Wartung des Nottasterterminals 1. Hier sind sämtliche Einzelanzeigeelemente 5a, 5b, 6a und 6b sowie die vorhandenen Teilanzeigen 7 aktiviert und emittieren Licht. Eine derartige von der Steuereinheit gesteuerte Funktion ist insofern von besonderer Relevanz, als dass hier ein Systemcheck durchgeführt werden kann, bei dem sämtliche lichtemittierenden Bestandteile des Anzeigeelements 4 gleichzeitig auf ihre Funktionsfähigkeit hin überprüft werden können.
- Die Fig. 2a bis 2d zeigen ein Nottasterterminal 1' mit Countdown-Funktion und einer Lauflicht-Funktion (nicht im Einzelnen dargestellt). Im Unterschied zu dem Nottasterterminal 1 sind die Einzelanzeigeelemente 8, 9, 10 und 11 des Nottasterterminals 1' aus jeweils sechs gleichartigen Leuchtmitteln 8a-f, 9a-f (nur als gesamtes Einzelanzeigeelement 9 bezeichnet), 10a-f und 11 a-f (nur als gesamtes Einzelanzeigelement 11 bezeichnet) zusammengesetzt. Jedes der Leuchtmittel 8a-f, 9a-f, 10a-f und 11a-f weist dabei jeweils eine Lumineszens-Diode auf. In Fig. 2a sind die jeweils sechs Leuchtmittel 10a-f und 11a-f der beiden vertikal verlaufenden Einzelanzeigeelemente 10 und 11 durch die Steuereinheit aktiviert, so dass ein Muster aus zwei parallel zueinander verlaufenden Balken bzw. Lichtband-Doppelreihen durch das Anzeigeelement 4 des Nottasterterminals 1' angezeigt wird. Dabei emittieren die einzelnen und in diesem Fall aktivierten Leuchtmittel 10a-f und 11a-f grünes Licht. Sowohl die Gestalt als auch die Färbung des in Fig. 2a gezeigte Musters korreliert mit einem geöffneten Zustand einer Fluchttür (nicht gezeigt).
- Im Unterschied zu Fig. 2a liegen in Fig. 2b nicht mehr sämtliche Leuchtmittel der beiden vertikal verlaufenden Anzeigeelemente 10 und 11 im aktivierten Zustand vor. Jeweils die unteren beiden Leuchtmittel 10e und 10f, sowie 11e und 11f sind inaktiviert. Dabei erfolgte die in Fig. 2b dargestellte Inaktivierung der jeweils unteren beiden Leuchtmittel schrittweise und nacheinander, beginnend mit dem jeweils äußeren Leuchtmittel 10f bzw. 11f. Die Abschaltung der einzelnen Leuchtmittel eines jeden Einzelanzeigeelements erfolgt in konstanten Zeitabständen und wird zeitabhängig von der Steuereinheit gesteuert. Liegt somit in Fig. 2a noch die volle Zeitperiode einer entriegelten, öffnungsfähigen Fluchttür vor, so stellt Fig. 2b den Zeitpunkt dar, in dem nur noch zwei Drittel der verfügbaren Zeit zur Verfügung stehen.
- Fig. 2c setzt den in den Fig. 2a und 2b gezeigten Entwicklungsprozess weiter fort. Hier sind nur noch die jeweils beiden äußeren und in Fig. 2c am oberen Ende des jeweiligen Einzelanzeigeelements 10 oder 11 lokalisierten Leuchtmittel 10a und 10b bzw. 11 a und 11 b aktiviert. Demzufolge zeigt Fig. 2c den Zustand des Nottasterterminals 1', in dem nur noch ein Drittel der Öffnungszeit des Öffnungsintervalls einer an das Nottasterterminal 1' gekoppelten Fluchttür verfügbar ist.
- Nach Ablauf des Öffnungsintervalls aktiviert die Steuereinheit die beiden horizontal verlaufenden Einzelanzeigeelemente 8 und 9 vollständig, so dass ein Muster aus zwei parallel verlaufenden vertikalen Balken angezeigt wird. Das Nottasterterminal 1' zeigt somit wieder den gesperrten Zustand sowohl über die formmäßige Erscheinung des Musters als auch über die Farbe des vom Muster emittierten Lichtes an.
- Mit der in den Figuren 2a bis 2d gezeigten Ausführungsform der Einzelanzeigelemente 8 bis 11 ist auch die Anzeige einer Lauflicht-Funktion möglich. Dazu steuert die Steuereinheit des Nottasterterminals 1' die schrittweise Aktivierung und Inaktivierung von benachbarten Leuchtmitteln mindestens eines der Einzelanzeigeelemente 8 bis 11 in der Art und Weise, dass die einzelnen linear angeordneten Leuchtmittel zumindest eines Einzelanzeigeelementes 8 bis 11 der Reihe nach aktiviert und inaktiviert werden.
- Mit Bezug auf Figur 2a wird im Folgenden der Ablauf der Lauflichtfunktion anhand des Einzelanzeigelementes 10 erläutert. Dabei werden die Leuchtmittel 10 a bis f beispielsweise von dem Leuchtmittel 10f beginnend einzeln und der Reihe nach von der Steuereinheit geschaltet. Zu Beginn aktiviert die Steuereinheit demnach das im Randbereich des Einzelanzeigelementes 10 befindliche Leuchtmittel 10f. In einem nächsten Schritt wird das dem aktivierten Leuchtmittel 10f benachbarte Leuchtmittel 10e von der Steuereinheit aktiviert und das Leuchtmittel 10f deaktiviert. Anschließend wird das in der Bewegungsrichtung des Lauflichtes folgende Leuchtmittel, in diesem Fall Leuchtmittel 10d, aktiviert und das Leuchtmittel 10e von der Steuereinheit deaktiviert. Dieser Prozess setzt sich über das gesamte Einzelanzeigeelement 10 fort. Dabei steuert die Steuereinheit die Lauflichtfunktion beim Nottasterterminal 1' in der Art und Weise, dass sowohl das Einzelanzeigelement 10 als auch das Einzelanzeigelemente 11 ein Lauflicht aufweisen, wobei die beiden Lauflichter in Lauflichtrichtung die jeweiligen Einzelanzeigelemente 10 und 11 parallel zueinander durchlaufen.
- In Figur 3 ist eine weitere Ausführungsform des Nottasterterminals 1" dargestellt. Dabei sind jeweils zwei gleichartige und balkenförmige Leuchtmittel (12 a und 12b, 13a und 13b, 14a und 14b, 15a und 15b) paarweise nebeneinander angeordnet, wobei die beiden Leuchtmittel eines Leuchtmittelpaares (zum Beispiels 12a und 1b) auf einer Geraden angeordnet sind. Die Leuchtmittelpaare 12a/12b und 13a/13b emittieren im aktivierten Zustand gleichfarbiges und vorzugsweise rotes Licht, die Leuchtmittelpaare 14a/14b und 15a/15b hingegen emittieren im aktivierten Zustand zwar auch gleichfarbiges vorzugsweise jedoch grünes Licht, d.h. die Leuchtmittelpaare 12a/12b und 13a/13b emittieren bevorzugt andersfarbiges Licht als die beiden Leuchtmittelpaare 14a/14b und 15a/15b. Zwischen den beiden Leuchtmitteln (zum Beispiel 12a und 12b) eines Leuchtmittelpaares (12a/b) ist jeweils eine kreisförmige Teilanzeige 16 am Nottasterterminal 1" angebracht, welche in ihren Funktionen mit der Teilanzeige 7 aus den Figuren 1a bis 2d vergleichbar ist und im aktivierten Zustand (wie in Fig. 3 dargestellt) vorzugsweise andersfarbiges Licht als eines der Leuchtmittelpaare 12a/b bis 15a/b und bevorzugt gelbes Licht emittiert.
Claims (17)
- Nottasterterminal, der eine lichtemittierende Anzeige aufweist,
dadurch gekennzeichnet,
dass die Anzeige (4) im aktivierten Zustand eine richtungsweisende Anzeigefigur anzeigt. - Nottasterterminal nach dem vorhergehenden Anspruch,
dadurch gekennzeichnet,
dass die Anzeige (4) mindestens zwei Einzelanzeigeelemente (5a,6a bzw. 5b,6b) aufweist, wobei zumindest eines der mindestens zwei Einzelanzeigeelemente (5a,6a bzw. 5b,6b) eine richtungsweisende Figur anzeigt. - Nottasterterminal nach Anspruch 2,
dadurch gekennzeichnet,
dass die mindestens zwei Einzelanzeigeelemente (5a,6a bzw. 5b,6b) wechselseitig geschaltet werden. - Nottasterterminal nach Anspruch 2 oder 3,
dadurch gekennzeichnet,
dass mindestens eine Einzelanzeigeelement (8,10) mehr als ein Leuchtmittel (8a-f, 10a-f) aufweist, wobei die Leuchtmittel (8a-f, 10a-f) eines Einzelanzeigeelements (8,10) gruppenweise von einer Steuereinheit angesteuert werden. - Nottasterterminal nach Anspruch 4,
dadurch gekennzeichnet,
dass die Leuchtmittel (8a-f, 10a-f) eines Einzelanzeigeelements (8,10) linear angeordnet sind. - Nottasterterminal nach Anspruch 2 bis 5,
dadurch gekennzeichnet,
dass mindestens eines der zwei Einzelanzeigeelemente (5a,5b,6a,6b) eine balkenförmige Anzeigefigur anzeigt. - Nottasterterminal nach einem der Ansprüche 2 bis 6,
dadurch gekennzeichnet,
dass die Anzeige (4) ein richtungsweisendes Muster anzeigt. - Nottasterterminal nach Anspruch 7,
dadurch gekennzeichnet,
dass das Muster aus gleichartigen Anzeigefiguren aufgebaut ist. - Nottasterterminal nach Anspruch 7 oder 8,
dadurch gekennzeichnet,
dass die Anzeige (4) wechselweise mindestens zwei unterschiedliche Muster anzeigt, wobei die Muster im Vergleich zueinander verschiedenfarbiges Licht emittieren. - Nottasterterminal nach Anspruch 9,
dadurch gekennzeichnet,
dass die Farbe des emittierten Lichtes der Muster jeweils mit der Zweckbestimmung der Muster und dem Betriebszustand des Nottasterterminals (1) korreliert. - Nottasterterminal nach einem der vorhergehenden Ansprüche,
dadurch gekennzeichnet,
dass die Anzeige (4) eine Lauflicht-Funktion aufweist. - Nottasterterminal nach einem der vorhergehenden Ansprüche,
dadurch gekennzeichnet,
dass die Anzeige (4) eine Countdown-Funktion aufweist. - Nottasterterminal nach einem der vorhergehenden Ansprüche,
dadurch gekennzeichnet,
dass die Anzeige (4) des Nottasterterminal (1) weitere Teilanzeigen (7) aufweist, die einzeln oder in Kombination Betriebszustände des Nottasterterminals (1) anzeigen. - Nottasterterminal nach einem der Ansprüche 7 bis 13,
dadurch gekennzeichnet,
dass sich die von den weiteren Teilanzeigen (7) emittierte Farbe des Lichtes von den von den Mustern emittierten Farben unterscheidet. - Nottasterterminal nach einem der vorhergehenden Ansprüche,
dadurch gekennzeichnet,
dass die Anzeige (4) ein Farbdisplay aufweist. - Nottasterterminal nach einem der vorhergehenden Ansprüche,
dadurch gekennzeichnet,
dass die Anzeige (4) zumindest bereichsweise selbstleuchtende Elemente aufweist. - Nottasterterminal nach Anspruch 16,
dadurch gekennzeichnet,
dass die selbstleuchtenden Elemente Elektro-Luminiszenz-Folien sind.
Applications Claiming Priority (1)
| Application Number | Priority Date | Filing Date | Title |
|---|---|---|---|
| DE200610016645 DE102006016645A1 (de) | 2006-04-08 | 2006-04-08 | Nottasterterminal mit kombinierter Anzeige |
Publications (3)
| Publication Number | Publication Date |
|---|---|
| EP1842991A2 true EP1842991A2 (de) | 2007-10-10 |
| EP1842991A3 EP1842991A3 (de) | 2009-07-01 |
| EP1842991B1 EP1842991B1 (de) | 2016-09-28 |
Family
ID=38291095
Family Applications (1)
| Application Number | Title | Priority Date | Filing Date |
|---|---|---|---|
| EP07007070.1A Active EP1842991B1 (de) | 2006-04-08 | 2007-04-04 | Nottasterterminal mit kombinierter Anzeige |
Country Status (2)
| Country | Link |
|---|---|
| EP (1) | EP1842991B1 (de) |
| DE (1) | DE102006016645A1 (de) |
Cited By (4)
| Publication number | Priority date | Publication date | Assignee | Title |
|---|---|---|---|---|
| EP3267455A1 (de) * | 2016-07-04 | 2018-01-10 | dormakaba Deutschland GmbH | Sicherheitssystem |
| EP3267454A1 (de) * | 2016-07-04 | 2018-01-10 | dormakaba Deutschland GmbH | Sicherheitssystem |
| EP3267456A1 (de) * | 2016-07-04 | 2018-01-10 | dormakaba Deutschland GmbH | Auslöseelement |
| WO2019007482A1 (de) * | 2017-07-04 | 2019-01-10 | Siemens Aktiengesellschaft | Nothalt-vorrichtung für eine automatisierungsanlage |
Families Citing this family (2)
| Publication number | Priority date | Publication date | Assignee | Title |
|---|---|---|---|---|
| DE102008029698C5 (de) * | 2008-06-24 | 2014-12-18 | Geze Gmbh | Türzentrale |
| DE102010002870B4 (de) | 2010-03-15 | 2013-08-29 | Geze Gmbh | Schiebetüranlage sowie Verfahren zum Betrieb einer Schiebetüranlage |
Family Cites Families (8)
| Publication number | Priority date | Publication date | Assignee | Title |
|---|---|---|---|---|
| JPH0614338Y2 (ja) * | 1988-10-18 | 1994-04-13 | 日本開閉器工業株式会社 | 押釦スイッチの表示釦 |
| US6608253B1 (en) * | 1996-05-02 | 2003-08-19 | William J. Rintz | Light switch assembly |
| DE19834013C2 (de) * | 1998-07-28 | 2000-11-09 | Dorma Gmbh & Co Kg | Türterminal mit Not-Auf-Taster und Anzeigemodul |
| DE19943041A1 (de) * | 1999-09-09 | 2001-03-15 | Geze Gmbh | Gebäudeausgangsvorrichtung |
| DE19943040A1 (de) * | 1999-09-09 | 2001-03-15 | Geze Gmbh | Gebäudeausgangsvorrichtung |
| DE10234300B4 (de) * | 2002-07-26 | 2004-08-26 | Dorma Gmbh + Co. Kg | Sicherungs- und Überwachungsvorrichtung für Türen, Fenster oder dergleichen |
| DE10350762B4 (de) * | 2003-10-30 | 2007-04-12 | Novar Gmbh | Von Hand auslösbarer Gefahrenmelder |
| US20060267788A1 (en) * | 2005-01-21 | 2006-11-30 | Delany George B | Method and apparatus for illuminating a wall plate |
-
2006
- 2006-04-08 DE DE200610016645 patent/DE102006016645A1/de not_active Ceased
-
2007
- 2007-04-04 EP EP07007070.1A patent/EP1842991B1/de active Active
Non-Patent Citations (1)
| Title |
|---|
| None |
Cited By (7)
| Publication number | Priority date | Publication date | Assignee | Title |
|---|---|---|---|---|
| EP3267455A1 (de) * | 2016-07-04 | 2018-01-10 | dormakaba Deutschland GmbH | Sicherheitssystem |
| EP3267454A1 (de) * | 2016-07-04 | 2018-01-10 | dormakaba Deutschland GmbH | Sicherheitssystem |
| EP3267456A1 (de) * | 2016-07-04 | 2018-01-10 | dormakaba Deutschland GmbH | Auslöseelement |
| EP3267456B1 (de) | 2016-07-04 | 2022-03-23 | dormakaba Deutschland GmbH | Nottaster |
| EP4016572A1 (de) * | 2016-07-04 | 2022-06-22 | dormakaba Deutschland GmbH | Auslöseelement |
| EP4016572B1 (de) | 2016-07-04 | 2024-04-17 | dormakaba Deutschland GmbH | Auslöseelement |
| WO2019007482A1 (de) * | 2017-07-04 | 2019-01-10 | Siemens Aktiengesellschaft | Nothalt-vorrichtung für eine automatisierungsanlage |
Also Published As
| Publication number | Publication date |
|---|---|
| EP1842991B1 (de) | 2016-09-28 |
| EP1842991A3 (de) | 2009-07-01 |
| DE102006016645A1 (de) | 2007-10-11 |
Similar Documents
| Publication | Publication Date | Title |
|---|---|---|
| EP1842991B1 (de) | Nottasterterminal mit kombinierter Anzeige | |
| EP2056268B1 (de) | Warnleuchte zur visuellen Anzeige von wenigstens einem Betriebszustand | |
| EP0971186A2 (de) | Innenbeleuchtung für Kühlgerät | |
| EP2425418A1 (de) | Leuchtschild zur anzeige eines gebots und/oder hinweises für den rollenden flugzeugverkehr auf einem flughafen | |
| WO2016020203A1 (de) | Kraftfahrzeugleuchte und verfahren zum betreiben einer kraftfahrzeugleuchte | |
| DE2831174A1 (de) | Leuchtanzeige-vorrichtung | |
| EP2172914A2 (de) | Signaleinrichtung zur Signalisierung eines Fluchtweges sowie Fluchtwegsignalisierungssystem | |
| DE29808755U1 (de) | Rettungszeichenleuchte | |
| DE202004014555U1 (de) | Glasplattenleuchte | |
| DE102007012560B4 (de) | Schaltschrank | |
| EP2889848B1 (de) | Leuchte | |
| EP1471776A1 (de) | Steuerungsvorrichtung für eine Leuchtvorrichtung | |
| DE102018004981A1 (de) | Leuchte für ein elektrisches Haushaltsgerät | |
| WO2014161664A1 (de) | Led-modul, leuchte mit einem solchen und verfahren zur beeinflussung eines lichtspektrums | |
| DE3415229A1 (de) | Anzeigevorrichtung | |
| DE60209677T2 (de) | Lichtinformationseinrichtung zum Anzeigen des Betriebszustandes eines Systems, insbesondere für die Avionics | |
| EP4172089B1 (de) | Beleuchtungseinrichtung für eine aufzugsanlage und verfahren zum beleuchten eines aufzugsschachts | |
| WO2014161665A1 (de) | Led-modul, leuchte mit einem solchen und verfahren zur beeinflussung eines lichtspektrums | |
| DE10323779A1 (de) | Bergwerkleuchte | |
| EP2566300B1 (de) | LED-Modul-System | |
| EP1020682A1 (de) | Decken-, Wand- oder Standleuchte für die Innenraumbeleuchtung | |
| DE102011079741A1 (de) | Leuchte mit einer vielzahl von leds | |
| DE2505022C3 (de) | Anordnung bei einer optischen Anzeigevorrichtung | |
| EP2217040B1 (de) | Anzeigevorrichtung, Betriebsverfahren und Beleuchtungsvorrichtung | |
| DE9404472U1 (de) | Betriebsbereitschaftsanzeige |
Legal Events
| Date | Code | Title | Description |
|---|---|---|---|
| PUAI | Public reference made under article 153(3) epc to a published international application that has entered the european phase |
Free format text: ORIGINAL CODE: 0009012 |
|
| AK | Designated contracting states |
Kind code of ref document: A2 Designated state(s): AT BE BG CH CY CZ DE DK EE ES FI FR GB GR HU IE IS IT LI LT LU LV MC MT NL PL PT RO SE SI SK TR |
|
| AX | Request for extension of the european patent |
Extension state: AL BA HR MK YU |
|
| PUAL | Search report despatched |
Free format text: ORIGINAL CODE: 0009013 |
|
| AK | Designated contracting states |
Kind code of ref document: A3 Designated state(s): AT BE BG CH CY CZ DE DK EE ES FI FR GB GR HU IE IS IT LI LT LU LV MC MT NL PL PT RO SE SI SK TR |
|
| AX | Request for extension of the european patent |
Extension state: AL BA HR MK RS |
|
| RIC1 | Information provided on ipc code assigned before grant |
Ipc: H01H 9/18 20060101ALI20090528BHEP Ipc: E05B 17/10 20060101ALI20090528BHEP Ipc: E05B 65/10 20060101AFI20070802BHEP |
|
| 17P | Request for examination filed |
Effective date: 20090729 |
|
| 17Q | First examination report despatched |
Effective date: 20090924 |
|
| AKX | Designation fees paid |
Designated state(s): AT CH DE FR LI |
|
| GRAP | Despatch of communication of intention to grant a patent |
Free format text: ORIGINAL CODE: EPIDOSNIGR1 |
|
| INTG | Intention to grant announced |
Effective date: 20160520 |
|
| GRAS | Grant fee paid |
Free format text: ORIGINAL CODE: EPIDOSNIGR3 |
|
| GRAA | (expected) grant |
Free format text: ORIGINAL CODE: 0009210 |
|
| AK | Designated contracting states |
Kind code of ref document: B1 Designated state(s): AT CH DE FR LI |
|
| REG | Reference to a national code |
Ref country code: CH Ref legal event code: EP |
|
| REG | Reference to a national code |
Ref country code: AT Ref legal event code: REF Ref document number: 832915 Country of ref document: AT Kind code of ref document: T Effective date: 20161015 |
|
| REG | Reference to a national code |
Ref country code: DE Ref legal event code: R096 Ref document number: 502007015137 Country of ref document: DE |
|
| REG | Reference to a national code |
Ref country code: CH Ref legal event code: NV Representative=s name: HEPP WENGER RYFFEL AG, CH |
|
| REG | Reference to a national code |
Ref country code: FR Ref legal event code: PLFP Year of fee payment: 11 |
|
| REG | Reference to a national code |
Ref country code: DE Ref legal event code: R097 Ref document number: 502007015137 Country of ref document: DE |
|
| PLBE | No opposition filed within time limit |
Free format text: ORIGINAL CODE: 0009261 |
|
| STAA | Information on the status of an ep patent application or granted ep patent |
Free format text: STATUS: NO OPPOSITION FILED WITHIN TIME LIMIT |
|
| 26N | No opposition filed |
Effective date: 20170629 |
|
| REG | Reference to a national code |
Ref country code: FR Ref legal event code: PLFP Year of fee payment: 12 |
|
| PGFP | Annual fee paid to national office [announced via postgrant information from national office to epo] |
Ref country code: FR Payment date: 20190326 Year of fee payment: 13 |
|
| PGFP | Annual fee paid to national office [announced via postgrant information from national office to epo] |
Ref country code: AT Payment date: 20190325 Year of fee payment: 13 |
|
| REG | Reference to a national code |
Ref country code: AT Ref legal event code: MM01 Ref document number: 832915 Country of ref document: AT Kind code of ref document: T Effective date: 20200404 |
|
| PG25 | Lapsed in a contracting state [announced via postgrant information from national office to epo] |
Ref country code: FR Free format text: LAPSE BECAUSE OF NON-PAYMENT OF DUE FEES Effective date: 20200430 Ref country code: AT Free format text: LAPSE BECAUSE OF NON-PAYMENT OF DUE FEES Effective date: 20200404 |
|
| PGFP | Annual fee paid to national office [announced via postgrant information from national office to epo] |
Ref country code: DE Payment date: 20230307 Year of fee payment: 17 Ref country code: CH Payment date: 20230502 Year of fee payment: 17 |
|
| REG | Reference to a national code |
Ref country code: DE Ref legal event code: R082 Ref document number: 502007015137 Country of ref document: DE Representative=s name: LOUIS POEHLAU LOHRENTZ PATENTANWAELTE PARTNERS, DE |
|
| REG | Reference to a national code |
Ref country code: DE Ref legal event code: R119 Ref document number: 502007015137 Country of ref document: DE |
|
| REG | Reference to a national code |
Ref country code: CH Ref legal event code: PL |
|
| PG25 | Lapsed in a contracting state [announced via postgrant information from national office to epo] |
Ref country code: DE Free format text: LAPSE BECAUSE OF NON-PAYMENT OF DUE FEES Effective date: 20241105 |
|
| PG25 | Lapsed in a contracting state [announced via postgrant information from national office to epo] |
Ref country code: DE Free format text: LAPSE BECAUSE OF NON-PAYMENT OF DUE FEES Effective date: 20241105 Ref country code: CH Free format text: LAPSE BECAUSE OF NON-PAYMENT OF DUE FEES Effective date: 20240430 |