EP1806466A2 - Zylinderschloss mit Schieber sowie Flachschlüssel mit Steuerrippe - Google Patents

Zylinderschloss mit Schieber sowie Flachschlüssel mit Steuerrippe Download PDF

Info

Publication number
EP1806466A2
EP1806466A2 EP07000151A EP07000151A EP1806466A2 EP 1806466 A2 EP1806466 A2 EP 1806466A2 EP 07000151 A EP07000151 A EP 07000151A EP 07000151 A EP07000151 A EP 07000151A EP 1806466 A2 EP1806466 A2 EP 1806466A2
Authority
EP
European Patent Office
Prior art keywords
key
control
slide
keyway
cylinder
Prior art date
Legal status (The legal status is an assumption and is not a legal conclusion. Google has not performed a legal analysis and makes no representation as to the accuracy of the status listed.)
Withdrawn
Application number
EP07000151A
Other languages
English (en)
French (fr)
Other versions
EP1806466A3 (de
Inventor
Walter Baumhauer
Current Assignee (The listed assignees may be inaccurate. Google has not performed a legal analysis and makes no representation or warranty as to the accuracy of the list.)
EVVA Sicherheitstechnologie GmbH
Original Assignee
EVVA Werk Spezialerzeugung von Zylinder und Sicherheitsschloessern GmbH and Co KG
Priority date (The priority date is an assumption and is not a legal conclusion. Google has not performed a legal analysis and makes no representation as to the accuracy of the date listed.)
Filing date
Publication date
Priority claimed from AT162006A external-priority patent/AT503121B1/de
Application filed by EVVA Werk Spezialerzeugung von Zylinder und Sicherheitsschloessern GmbH and Co KG filed Critical EVVA Werk Spezialerzeugung von Zylinder und Sicherheitsschloessern GmbH and Co KG
Publication of EP1806466A2 publication Critical patent/EP1806466A2/de
Publication of EP1806466A3 publication Critical patent/EP1806466A3/de
Withdrawn legal-status Critical Current

Links

Images

Classifications

    • EFIXED CONSTRUCTIONS
    • E05LOCKS; KEYS; WINDOW OR DOOR FITTINGS; SAFES
    • E05BLOCKS; ACCESSORIES THEREFOR; HANDCUFFS
    • E05B19/00Keys; Accessories therefor
    • E05B19/0017Key profiles
    • EFIXED CONSTRUCTIONS
    • E05LOCKS; KEYS; WINDOW OR DOOR FITTINGS; SAFES
    • E05BLOCKS; ACCESSORIES THEREFOR; HANDCUFFS
    • E05B27/00Cylinder locks or other locks with tumbler pins or balls that are set by pushing the key in
    • E05B27/0042Cylinder locks or other locks with tumbler pins or balls that are set by pushing the key in with additional key identifying function, e.g. with use of additional key operated rotor-blocking elements, not of split pin tumbler type
    • EFIXED CONSTRUCTIONS
    • E05LOCKS; KEYS; WINDOW OR DOOR FITTINGS; SAFES
    • E05BLOCKS; ACCESSORIES THEREFOR; HANDCUFFS
    • E05B19/00Keys; Accessories therefor
    • E05B19/0017Key profiles
    • E05B19/0041Key profiles characterized by the cross-section of the key blade in a plane perpendicular to the longitudinal axis of the key
    • E05B19/0052Rectangular flat keys
    • EFIXED CONSTRUCTIONS
    • E05LOCKS; KEYS; WINDOW OR DOOR FITTINGS; SAFES
    • E05BLOCKS; ACCESSORIES THEREFOR; HANDCUFFS
    • E05B31/00Cylinder locks with both tumbler pins or balls and plate tumblers

Definitions

  • the invention relates to a cylinder lock with rotatable cylinder core, which has a key channel for a flat key and sensing elements for cutting grooves and / or control surfaces of the key and locking elements that block the cylinder core against rotation or release.
  • the invention relates to a flat key with cut grooves and / or control surfaces on the key narrow sides and / or key flat sides.
  • Cylinder locks are known which scan by means of different tumblers cutting cuts or control surfaces on a corresponding flat key.
  • the main advantage of such locks and keys is the cheap production possibility and the relatively high locking security.
  • To improve the locking security of such locks it is desirable to increase the possibilities of variation on the key and the lock. This usually leads to the construction of the locks is becoming more complex, which can adversely affect the reliability of the locks, and leads to higher production costs.
  • a slider which engages over the keyway, wherein the slider has on its side facing the key channel at least one control recess which is engageable with corresponding control ribs on the key back, and wherein the slide in its rest position with corresponding recesses in the cylinder housing is engaged, and in the release position with the right key across the keyway is slidable to release the cylinder core against rotation.
  • a feature of the cylinder lock according to the invention is that the slide is arranged in a recess of the cylinder core and biased by a spring in the direction of the cylinder housing.
  • the existing on the slider control recess is variable in length and width, wherein the length of the control recess is smaller than the length of the slider and the width of the control recess should be less than or equal to the width of the keyway, and further wherein the recess in the release position of the slider along the Central longitudinal plane of the keyway or arranged parallel to it.
  • the essential advantage of such a slider is that it can be arranged cross-over the key channel with relatively little effort, and that an increase in the number of variations of the lock is achieved by the variation of the length, the width and the position of the recess.
  • control recess has a leading edge, which serves to guide the corresponding control ribs on the key back, wherein the leading edge is formed obliquely or rounded and protrudes in the rest position on the longitudinal center plane of the keyway.
  • control rib extends along the central longitudinal plane or parallel thereto along the key back in the direction of the key tip, wherein it is preferably arranged centrally, left or right of the central longitudinal plane.
  • the control rib may be variable in width, the width being greater than 0 and less than the width of the key back.
  • the control rib may be varied in length, width and position to fit within the respective corresponding control recesses of the slider in the cylinder lock.
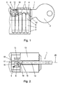
  • FIG. 1 shows a cylinder lock with a cylinder core 13, a housing 3, and a flat key inserted therein 1.
  • the key 1 has a key handle 2 and a key shank 4 on which here exemplified incision grooves 7 and on Key back 14 at the key tip 22 a control rib 10 is located.
  • housing bores 5 which are aligned in the zero position of the castle with cylinder core 6 holes.
  • spring-loaded split tumbler pins (not shown) which scan the notches 7 of the key 1.
  • a cross-slide this 8 which is biased by a spring 9 in the direction of the housing 3.
  • This slider 8 keys with its control recess 18 from the control rib 10, wherein above all the front control edge 12, the width of the control rib 10 and the position of the control rib 10 are queried on the key back 14.
  • FIGS. 2 and 3 each show a plan view of a cylinder core into which a flat key 1 according to the invention is inserted.
  • the flat key 1 is not yet fully inserted into the keyway 17.
  • the slider 8 is biased by the spring 9 in the direction of the housing.
  • control rib 10 is arranged on the key back 14 on the key tip 22 to the left of the central longitudinal plane 25 and parallel thereto.
  • FIG. 6 shows a slide 8 of a cylinder lock according to the invention in a side view with the control recess 18 and the guide edge 19.
  • FIGS. 7 to 9 each show a plan view of a slide 8 with differently designed control recesses 18. Further, the spring support edge 20 is shown, via which the force of the spring 9 is transmitted to the slide.
  • the width of the control recess 18 and the Ausappelungsmother 24 may be configured differently depending on the design, which significantly increases the possibilities of variation of the castle.
  • the recess length 24 should be greater than 0 but less than the slide length 23, so that the front control edge 12 of the control rib 10 of the key 1 can be queried.
  • the position along the central longitudinal plane 25 may also be different, as shown in FIGS. 8 and 9. In FIG. 8, the recess 18 is located on the left parallel to the central longitudinal plane 25 and in FIG. 9 on the right parallel to the central longitudinal plane 25.
  • Fig. 10 shows a flat key 1 according to the invention with a key handle 2 and a key shank 4.
  • the shaft 4 are here, for example, incision grooves 7, which are scanned by divided tumblers in the cylinder lock.
  • At the key back 14 at the key tip 22 is further a control rib 10 with a front control edge 12, and on both sides of each web edges 15th
  • FIG. 11 shows a plan view of the flat key 1 from FIG. 10, wherein in this embodiment the control rib 10 is arranged on the left parallel to the central longitudinal plane 25. To increase the number of variations, the control rib 10 may also be arranged centrally or right parallel to the central longitudinal plane 25.

Landscapes

  • Lock And Its Accessories (AREA)

Abstract

Die Erfindung betrifft ein Zylinderschloss mit darin verdrehbarem Zylinderkern (13), der einen Schlüsselkanal (17) für einen Flachschlüssel (1) und Abtastelemente für Einschnittfräsungen (7) und/oder Steuerflächen des Schlüssels sowie Sperrelemente aufweist, die den Zylinderkern (13) gegen Verdrehen blockieren oder freigeben, wobei oberhalb des Schlüsselkanals (17) ein Schieber (8) als zusätzliches Sperrelement vorgesehen ist, welcher den Schlüsselkanal (17) im Bereich der Schlüsselspitze (22) übergreift, und wobei der Schieber (8) an seiner dem Schlüsselkanal (17) zugewandten Seite zumindest eine Ausnehmung (18) aufweist, die mit entsprechenden Steuerrippen (10) am Schlüsselrücken (14) in Eingriff bringbar ist, und wobei der Schieber (8) in seiner Ruhestellung mit entsprechenden Rastausnehmungen (21) im Zylindergehäuse (3) in Eingriff steht, und in die Freigabestellung bei richtigem Schlüssel (1) quer zum Schlüsselkanal (17) verschiebbar ist um den Zylinderkern (13) gegen Verdrehen freizugeben. Des weiteren betrifft die Erfindung einen Flachschlüssel (1) für das genannte Zylinderschloss.

Description

  • Die Erfindung betrifft ein Zylinderschloss mit darin verdrehbarem Zylinderkern, der einen Schlüsselkanal für einen Flachschlüssel und Abtastelemente für Einschnittfräsungen und/oder Steuerflächen des Schlüssels sowie Sperrelemente aufweist, die den Zylinderkern gegen Verdrehen blockieren oder freigeben.
  • Weiters betrifft die Erfindung einen Flachschlüssel mit Einschnittfräsungen und/oder Steuerflächen an den Schlüsselschmalseiten und/oder Schlüsselflachseiten.
  • Bekannt sind Zylinderschlösser, die mittels unterschiedlicher Zuhaltungen Einschnittfräsungen oder Steuerflächen an einem entsprechenden Flachschlüssel abtasten. Wesentlicher Vorteil derartiger Schlösser und Schlüssel ist die billige Herstellungsmöglichkeit sowie die relativ hohe Sperrsicherheit. Zur Verbesserung der Sperrsicherheit derartiger Schlösser ist es wünschenswert die Variationsmöglichkeiten am Schlüssel sowie des Schlosses zu erhöhen. Dies führt meist dazu, dass die Konstruktion der Schlösser immer aufwendiger wird, was sich nachteilig für die Funktionssicherheit der Schlösser auswirken kann, und zu höheren Produktionskosten führt.
  • Aufgabe der vorliegenden Erfindung ist es somit ein Zylinderschloss zu schaffen, welches die oben genannten Nachteile beseitigt und eine Erhöhung der Variationsmöglichkeiten erlaubt, wobei gleichzeitig die Schlosskonstruktion möglichst einfach bleiben soll und die Herstellungskosten gering gehalten werden. Weiters ist es Aufgabe der Erfindung einen entsprechenden Flachschlüssel für ein derartiges Zylinderschloss zu schaffen.
  • Gelöst wird diese Aufgabe dadurch, dass oberhalb des Schlüsselkanals ein Schieber vorgesehen ist, welcher den Schlüsselkanal übergreift, wobei der Schieber an seiner dem Schlüsselkanal zugewandten Seite zumindest eine Steuerausnehmung aufweist, die mit entsprechenden Steuerrippen am Schlüsselrücken in Eingriff bringbar ist, und wobei der Schieber in seiner Ruhestellung mit entsprechenden Rastausnehmungen im Zylindergehäuse im Eingriff steht, und in die Freigabestellung bei richtigem Schlüssel quer zum Schlüsselkanal verschiebbar ist um den Zylinderkern gegen Verdrehen freizugeben.
  • Weiters wird ein entsprechender Flachschlüssel geschaffen, der am Schlüsselrücken eine sich in Längsrichtung in Richtung Schlüsselspitze erstreckende Steuerrippe aufweist, die eine vordere Steuerkante, sowie linke und rechte zur Schlüssellängsrichtung parallele Stegkanten aufweist.
  • Ein Merkmal des erfindungsgemäßen Zylinderschlosses ist, dass der Schieber in einer Ausnehmung des Zylinderkerns angeordnet und mittels einer Feder in Richtung Zylindergehäuse vorgespannt ist. Die am Schieber vorhandene Steuerausnehmung ist in ihrer Länge und Breite variierbar, wobei die Länge der Steuerausnehmung kleiner als die Länge des Schiebers und die Breite der Steuerausnehmung kleiner oder gleich der Breite des Schlüsselkanals sein soll, und wobei weiters die Ausnehmung in Freigabestellung des Schiebers entlang der Mittellängsebene des Schlüsselkanals oder parallel dazu angeordnet ist. Wesentlicher Vorteil eines derartigen Schiebers ist es, dass er mit relativ geringem Aufwand den Schlüsselkanal übergreifend angeordnet werden kann, und dass durch die Variation der Länge, der Breite sowie der Position der Ausnehmung eine Erhöhung der Variationszahl des Schlosses erreicht wird.
  • Ein weiteres Merkmal eines erfindungsgemäßen Zylinderschlosses ist es, dass die Steuerausnehmung eine Führungskante aufweist, die der Führung der entsprechenden Steuerrippen am Schlüsselrücken dient, wobei die Führungskante schräg oder abgerundet ausgebildet ist und in Ruhestellung über die Längsmittelebene des Schlüsselkanals ragt. Beim Einschieben eines Schlüssels mit entsprechender Steuerrippe am Schlüsselrücken wird also die Steuerrippe über die Führungskante geführt, wobei der Schieber entgegen der Kraft der Feder quer zum Schlüsselkanal verschoben wird und das Schloss, bei richtigem Schlüssel somit in Freigabestellung gebracht wird.
  • Weitere erfindungsgemäße Merkmale des Flachschlüssels sind, dass sich die Steuerrippe entlang der Mittellängsebene oder parallel dazu entlang des Schlüsselrückens in Richtung Schlüsselspitze erstreckt, wobei sie bevorzugt mittig, links oder rechts der Mittellängsebene angeordnet ist.
  • Die Steuerrippe kann in ihrer Breitevariierbar ausgeführt sein, wobei die Breite größer als 0 und geringer als die Breite des Schlüsselrückens ist. Die Steuerrippe kann in ihrer Länge, Breite sowie ihrer Position variiert werden, damit sie in die jeweiligen entsprechenden Steuerausnehmungen des Schiebers im Zylinderschloss passt.
  • Weitere Merkmale der Erfindung sind den Figuren, den Ansprüchen sowie der Beschreibung zu entnehmen.
  • Fig. 1 zeigt einen schematischen Längsschnitt durch ein erfindungsgemäßes Zylinderschloss mit eingeschobenen Flachschlüssel. Fig. 2 zeigt eine Aufsicht auf ein Zylinderkern mit nicht vollständig eingeschobenen Flachschlüssel. Fig. 3 zeigt eine Aufsicht auf einen Zylinderkern mit vollständig eingeschobenen Flachschlüssel. Fig. 4 zeigt einen schematischen Querschnitt durch ein Zylinderschloss mit dem Schieber in Sperrstellung. Fig. 5 zeigt einen schematischen Querschnitt durch ein Zylinderschloss mit dem Schieber in Freigabestellung. Die Fig. 6 bis 9 zeigen verschiedene Ausführungsformen des Schiebers eines erfindungsgemäßen Zylinderschlosses. Fig. 10 zeigt eine Seitenansicht eines erfindungsgemäßen Flachschlüssels. Fig. 11 zeigt eine Aufsicht eines erfindungsgemäßen Flachschlüssels.
  • Der in Fig. 1 gezeigte schematische Längsschnitt zeigt ein Zylinderschloss mit einem Zylinderkern 13, einem Gehäuse 3, sowie einen darin eingeschobenen Flachschlüssel 1. Der Schlüssel 1 weist einen Schlüsselgriff 2 sowie einen Schlüsselschaft 4 auf, auf dem sich hier beispielhaft dargestellt Einschnittfräsungen 7 sowie am Schlüsselrücken 14 an der Schlüsselspitze 22 eine Steuerrippe 10 befindet.
  • Im Gehäuse 3 befinden sich Gehäusebohrungen 5 welche in Nullstellung des Schlosses mit Zylinderkernbohrungen 6 fluchten. Innerhalb dieser Bohrungen 5, 6 befinden sich federbelastete geteilte Zuhaltestifte (nicht gezeigt), welche die Einschnittfräsungen 7 des Schlüssels 1 abtasten. Als weitere Zuhaltung befindet sich oberhalb des Schlüsselkanals 17 ein diesen übergreifender Schieber 8, welcher mittels einer Feder 9 in Richtung des Gehäuses 3 vorgespannt ist. Dieser Schieber 8 tastet mit seiner Steuerausnehmung 18 die Steuerrippe 10 ab, wobei vor allem die vordere Steuerkante 12, die Breite der Steuerrippe 10 sowie die Position der Steuerrippe 10 am Schlüsselrücken 14 abgefragt werden.
  • Die Fig. 2 und 3 zeigen jeweils eine Aufsicht auf einen Zylinderkern in den ein erfindungsgemäßer Flachschlüssel 1 eingeschoben wird. Bei der in Fig. 2 gezeigten Darstellung ist der Flachschlüssel 1 noch nicht vollständig in den Schlüsselkanal 17 eingeschoben. Der Schieber 8 wird durch die Feder 9 in Richtung des Gehäuses vorgespannt.
  • Bei dem dargestellten Schlüssel 1 ist die Steuerrippe 10 am Schlüsselrücken 14 an der Schlüsselspitze 22 links der Mittellängsebene 25 und parallel zu dieser angeordnet.
  • Wird nun der Schlüssel 1 weiter in den Schlüsselkanal 17 hineingeschoben, trifft die vordere Steuerkante 12 der Steuerrippe 10 auf die Führungskante 19, wodurch der Schieber 8 quer zum Schlüsselkanal 17 bewegt wird. Über die Steuerausnehmung 18 wird die Breite der Steuerrippe 10, die Tiefe, sowie die richtige Position entlang der Mittellängsebene 25 abgefragt. Bei voll eingeschobenem richtigen Schlüssel 1, wie dies in Fig. 3 gezeigt ist befindet sich der Schieber 8 in seiner Freigabestellung.
  • Die Fig. 4 und 5 zeigen jeweils einen schematischen Querschnitt durch ein Zylinderschloss mit einem Gehäuse 3 einem Zylinderkern 13 und einem Schlüsselkanal 17. In Sperrstellung befindet sich der Schieber 8 in einer im Gehäuse befindlichen Rastausnehmung 21 in der er durch die Feder 9 gehalten wird und das Schloss gegen Verdrehen blockiert.
  • Bei eingeschobenem richtigen Schlüssel 1 wird über die Steuerrippe 10, welche mit der Steuerausnehmung 18 in Eingriff steht, der Schieber 8 aus seiner Sperrposition heraus bewegt und quer zum Schlüsselkanal 17 verschoben, wodurch das Schloss freigegeben wird.
  • Fig. 6 zeigt einen Schieber 8 eines erfindungsgemäßen Zylinderschlosses in einer Seitenansicht mit der Steuerausnehmung 18 sowie der Führungskante 19.
  • Die Fig. 7 bis 9 zeigen jeweils eine Aufsicht auf einen Schieber 8 mit unterschiedlich ausgestalteten Steuerausnehmungen 18. Ferner ist die Federauflagekante 20 gezeigt, über welche die Kraft der Feder 9 auf den Schieber übertragen wird. Die Breite der Steuerausnehmung 18 sowie die Ausnehmungslänge 24 kann je nach Ausführung unterschiedlich ausgestaltet sein, was die Variationsmöglichkeiten des Schlosses wesentlich erhöht. Die Ausnehmungslänge 24 soll dabei größer als 0 jedoch geringer als die Schieberlänge 23 sein, damit die vordere Steuerkante 12 der Steuerrippe 10 des Schlüssels 1 abfragbar ist. Um die Variationszahl weiter zu erhöhen kann auch die Position entlang der Mittellängsebene 25 unterschiedlich sein, wie dies in den Fig. 8 und 9 gezeigt ist. In Fig. 8 befindet sich die Ausnehmung 18 links parallel zur Mittellängsebene 25 und in Fig. 9 rechts parallel der Mittellängsebene 25.
  • Fig. 10 zeigt einen erfindungsgemäßen Flachschlüssel 1 mit einem Schlüsselgriff 2 und einem Schlüsselschaft 4. Am Schaft 4 befinden sich hier beispielhafterweise Einschnittfräsungen 7, die von geteilten Zuhaltungen im Zylinderschloss abgetastet werden. Am Schlüsselrücken 14 an der Schlüsselspitze 22 befindet sich weiters eine Steuerrippe 10 mit einer vorderen Steuerkante 12, sowie zu beiden Seiten jeweils Stegkanten 15.
  • Die Fig. 11 zeigt eine Aufsicht auf den Flachschlüssel 1 aus Fig. 10, wobei bei dieser Ausführungsform die Steuerrippe 10 links parallel zur Mittellängsebene 25 angeordnet ist. Zur Erhöhung der Variationszahl kann die Steuerrippe 10 auch mittig oder rechts parallel zur Mittellängsebene 25 angeordnet sein.

Claims (7)

  1. Zylinderschloss mit darin verdrehbarem Zylinderkern, der einen Schlüsselkanal für einen Flachschlüssel und Abtastelemente für Einschnittfräsungen und/oder Steuerflächen des Schlüssels sowie Sperrelemente aufweist, die den Zylinderkern gegen Verdrehen blockieren oder freigeben, dadurch gekennzeichnet, dass oberhalb des Schlüsselkanals (17) ein Schieber (8) vorgesehen ist, welcher den Schlüsselkanal (17) übergreift, wobei der Schieber (8) an seiner dem Schlüsselkanal (17) zugewandten Seite zumindest eine Steuerausnehmung (18) aufweist, die mit entsprechenden Steuerrippen (10) am Schlüsselrücken (14) in Eingriff bringbar ist, und wobei der Schieber (8) in seiner Ruhestellung mit entsprechenden Rastausnehmungen (21) im Zylindergehäuse (3) in Eingriff steht, und in die Freigabestellung bei richtigem Schlüssel (1) quer zum Schlüsselkanal (17) verschiebbar ist um den Zylinderkern (13) gegen Verdrehen freizugeben.
  2. Zylinderschloss nach Anspruch 1, dadurch gekennzeichnet, dass der Schieber (8) in einer Ausnehmung des Zylinderkerns angeordnet und mittels einer Feder (9) in Richtung Zylindergehäuse (3) vorgespannt ist.
  3. Zylinderschlosse nach Anspruch 1 oder 2, dadurch gekennzeichnet, dass die Steuerausnehmung (18) am Schieber (8) in Ihrer Länge und Breite variierbar ist, wobei die Länge (24) der Steuerausnehmung (18) kleiner als die Länge (23) des Schiebers (8) und die Breite der Steuerausnehmung (18) kleiner oder gleich der Breite des Schlüsselkanals (17) ist, und dass die Steuerausnehmung (18) in Freigabestellung des Schiebers (8) entlang der Mittellängsebene (25) des Schlüsselkanals (17) oder parallel dazu angeordnet ist.
  4. Zylinderschloss nach einem der Ansprüche 1 bis 3, dadurch gekennzeichnet, dass die Steuerausnehmung (18) eine Führungskante (19) aufweist, die der Führung der entsprechenden Steuerrippen (10) am Schlüsselrücken (14) dient, wobei die Führungskante (19) schräg oder abgerundet ausgebildet ist und in Ruhestellung über die Längsmittelebene (25) des Schlüsselkanals ragt.
  5. Flachschlüssel für ein Zylinderschloss nach einem der Ansprüche 1 bis 4 mit Einschnittfräsungen und/oder Steuerflächen an den Schlüsselschmalseiten und/oder Schlüsselflachseiten, dadurch gekennzeichnet, dass am Schlüsselrücken (14) eine sich in Längsrichtung in Richtung Schlüsselspitze (22) erstreckende Steuerrippe (10) vorgesehen ist, die eine vordere Steuerkante (12), sowie linke und rechte zur Schlüssellängsrichtung parallele Stegkanten (15) aufweist.
  6. Flachschlüssel nach Anspruch 5, dadurch gekennzeichnet, dass sich die Steuerrippe (10) entlang der Mittellängsebene (25) oder parallel dazu entlang des Schlüsselrückens (14) in Richtung Schlüsselspitze (22) erstreckt, wobei sie bevorzugt mittig, links oder rechts der Mittellängsebene (25) angeordnet ist.
  7. Flachschlüssel nach einem der Ansprüche 5 oder 6, dadurch gekennzeichnet, dass die Steuerrippe (10) in ihrer Breite variierbar ausgeführt ist, wobei die Breite größer als Null und geringer als die Breite des Schlüsselrückens (14) ist.
EP07000151A 2006-01-05 2007-01-05 Zylinderschloss mit Schieber sowie Flachschlüssel mit Steuerrippe Withdrawn EP1806466A3 (de)

Applications Claiming Priority (2)

Application Number Priority Date Filing Date Title
AT162006A AT503121B1 (de) 2006-01-05 2006-01-05 Zylinderschloss sowie flachschlüssel
AT0003706U AT9156U1 (de) 2006-01-05 2006-01-19 Zylinderschloss mit schieber sowie flachschlüssel mit steuerrippe

Publications (2)

Publication Number Publication Date
EP1806466A2 true EP1806466A2 (de) 2007-07-11
EP1806466A3 EP1806466A3 (de) 2009-12-02

Family

ID=36424834

Family Applications (1)

Application Number Title Priority Date Filing Date
EP07000151A Withdrawn EP1806466A3 (de) 2006-01-05 2007-01-05 Zylinderschloss mit Schieber sowie Flachschlüssel mit Steuerrippe

Country Status (9)

Country Link
EP (1) EP1806466A3 (de)
AT (1) AT9156U1 (de)
AU (1) AU2007200042A1 (de)
DE (1) DE202006003870U1 (de)
FR (1) FR2895763B3 (de)
GB (1) GB2433960A (de)
IE (1) IES20060234A2 (de)
NL (1) NL2000047C1 (de)
RU (1) RU2006147214A (de)

Cited By (2)

* Cited by examiner, † Cited by third party
Publication number Priority date Publication date Assignee Title
CN112673143A (zh) * 2018-09-13 2021-04-16 塔莱雷斯·埃斯科瑞扎公司 具有钥匙和锁芯的锁系统
EP4047161A1 (de) * 2021-02-22 2022-08-24 ASSA ABLOY (Schweiz) AG Schlüssel, schlüssel und schliesszylinder

Families Citing this family (4)

* Cited by examiner, † Cited by third party
Publication number Priority date Publication date Assignee Title
DE102010001909A1 (de) * 2010-02-12 2011-08-18 DORMA GmbH + Co. KG, 58256 Schließzylinder
FR2962752B1 (fr) * 2010-07-13 2012-08-17 Assa Abloy Aube Anjou Cylindre de serrure pour cle plate
GB2578865B (en) * 2018-10-01 2022-06-15 Inkster David Improvements in or relating to security
DE102020117226A1 (de) 2020-06-30 2021-12-30 ABUS August Bremicker Söhne Kommanditgesellschaft Schließzylinder, Schließvorrichtung, Schließsystem, Schlüssel und Schlüsselrohling

Family Cites Families (7)

* Cited by examiner, † Cited by third party
Publication number Priority date Publication date Assignee Title
US758027A (en) * 1903-07-22 1904-04-19 Yale & Towne Mfg Co Pin-lock.
US1958603A (en) * 1932-11-29 1934-05-15 William T Bacon Lock
US3590615A (en) * 1970-02-16 1971-07-06 Eaton Yale & Towne Antipick lock
DE3004993A1 (de) * 1980-02-11 1981-08-20 C. Ed. Schulte GmbH, 5628 Velbert Drehzylinderschloss
DE10031972A1 (de) * 2000-06-30 2002-01-10 Winkhaus Fa August Schlüssel für einen Profilschliesszylinder und Profilschliesszylinder
DE10050460A1 (de) * 2000-10-12 2002-04-25 Winkhaus Fa August Schlüssel für einen Profilschließzylinder und Profilschließzylinder
WO2006066019A2 (en) * 2004-12-14 2006-06-22 Stanley Security Solutions, Inc. Key core

Cited By (2)

* Cited by examiner, † Cited by third party
Publication number Priority date Publication date Assignee Title
CN112673143A (zh) * 2018-09-13 2021-04-16 塔莱雷斯·埃斯科瑞扎公司 具有钥匙和锁芯的锁系统
EP4047161A1 (de) * 2021-02-22 2022-08-24 ASSA ABLOY (Schweiz) AG Schlüssel, schlüssel und schliesszylinder

Also Published As

Publication number Publication date
FR2895763B3 (fr) 2007-11-09
NL2000047C1 (nl) 2006-07-05
EP1806466A3 (de) 2009-12-02
RU2006147214A (ru) 2008-07-10
IES20060234A2 (en) 2006-10-18
GB0606318D0 (en) 2006-05-10
GB2433960A (en) 2007-07-11
DE202006003870U1 (de) 2006-07-06
AU2007200042A1 (en) 2007-07-19
AT9156U1 (de) 2007-05-15
FR2895763A3 (fr) 2007-07-06

Similar Documents

Publication Publication Date Title
EP0335069B1 (de) Flachschlüssel für Zylinderschlösser sowie zugehöriges Zylinderschloss
EP2314807B1 (de) Schliesssystem
EP2310598B1 (de) Zylinderschloss mit zylindergehäuse und flachschlüssel für ein zylinderschloss
EP3155191B1 (de) Zylinderschloss
EP2454429B1 (de) Schliessvorrichtung
EP1816288B1 (de) Zylinderschloss sowie Flachschlüssel
DE102012106326A1 (de) Schließzylinder mit zugehörigem Schlüssel
EP1712714B1 (de) Kombination eines Flachschlüssels und eines Zylinderschlosses
EP2792822B1 (de) Kodierung über Sperrbalken
EP1806466A2 (de) Zylinderschloss mit Schieber sowie Flachschlüssel mit Steuerrippe
EP2360334A2 (de) Schließzylinder
DE2135106B2 (de) Zylinderkern für ein zylinderschloss
WO2013030077A1 (de) Drehschliesszylinder und sicherheitsschlüssel
EP4253699A1 (de) Schlüssel für einen schliesszylinder und schliesszylinder für einen solchen schlüssel
DE20105519U1 (de) Zylinderschloß mit Zylindergehäuse und Flachschlüssel für ein Zylinderschloß
AT503121B1 (de) Zylinderschloss sowie flachschlüssel
DE202006003869U1 (de) Zylinderschloss und Flachschlüssel
EP2765260B1 (de) Schliesszylinder
DE102011000443B4 (de) Schließzylinder insbesondere zur Betätigung eines Schaltschlosses
AT503166B1 (de) Zylinderschloss sowie flachschlüssel
AT503051B1 (de) Zylinderschloss und flachschlüssel
DE202012100371U1 (de) Wechselzylindersystem und Möbelschloss
DE2930425A1 (de) Zylinderschloss
EP2952656B1 (de) Profilzylinder mit einem zylindergehäuse
AT9229U1 (de) Zylinderschloss und flachschlüssel

Legal Events

Date Code Title Description
PUAI Public reference made under article 153(3) epc to a published international application that has entered the european phase

Free format text: ORIGINAL CODE: 0009012

AK Designated contracting states

Kind code of ref document: A2

Designated state(s): AT BE BG CH CY CZ DE DK EE ES FI FR GB GR HU IE IS IT LI LT LU LV MC NL PL PT RO SE SI SK TR

AX Request for extension of the european patent

Extension state: AL BA HR MK YU

PUAL Search report despatched

Free format text: ORIGINAL CODE: 0009013

AK Designated contracting states

Kind code of ref document: A3

Designated state(s): AT BE BG CH CY CZ DE DK EE ES FI FR GB GR HU IE IS IT LI LT LU LV MC NL PL PT RO SE SI SK TR

AX Request for extension of the european patent

Extension state: AL BA HR MK RS

AKY No designation fees paid
REG Reference to a national code

Ref country code: DE

Ref legal event code: 8566

STAA Information on the status of an ep patent application or granted ep patent

Free format text: STATUS: THE APPLICATION IS DEEMED TO BE WITHDRAWN

18D Application deemed to be withdrawn

Effective date: 20100603