EP1663797B1 - Variables einteilungssystem für toplader-transportkisten - Google Patents
Variables einteilungssystem für toplader-transportkisten Download PDFInfo
- Publication number
- EP1663797B1 EP1663797B1 EP04764637A EP04764637A EP1663797B1 EP 1663797 B1 EP1663797 B1 EP 1663797B1 EP 04764637 A EP04764637 A EP 04764637A EP 04764637 A EP04764637 A EP 04764637A EP 1663797 B1 EP1663797 B1 EP 1663797B1
- Authority
- EP
- European Patent Office
- Prior art keywords
- compartment
- side walls
- walls
- division according
- compartment division
- Prior art date
- Legal status (The legal status is an assumption and is not a legal conclusion. Google has not performed a legal analysis and makes no representation as to the accuracy of the status listed.)
- Expired - Lifetime
Links
- 238000004080 punching Methods 0.000 claims abstract description 3
- 230000000295 complement effect Effects 0.000 claims description 7
- 239000002023 wood Substances 0.000 claims description 6
- 238000011161 development Methods 0.000 description 6
- 230000018109 developmental process Effects 0.000 description 6
- 238000005192 partition Methods 0.000 description 3
- 239000000463 material Substances 0.000 description 2
- 230000004308 accommodation Effects 0.000 description 1
- 230000006978 adaptation Effects 0.000 description 1
- 239000000443 aerosol Substances 0.000 description 1
- 230000001419 dependent effect Effects 0.000 description 1
- 238000006073 displacement reaction Methods 0.000 description 1
- 230000000694 effects Effects 0.000 description 1
- 238000003780 insertion Methods 0.000 description 1
- 230000037431 insertion Effects 0.000 description 1
- 230000003993 interaction Effects 0.000 description 1
- 230000013011 mating Effects 0.000 description 1
- 238000003801 milling Methods 0.000 description 1
Images
Classifications
-
- B—PERFORMING OPERATIONS; TRANSPORTING
- B65—CONVEYING; PACKING; STORING; HANDLING THIN OR FILAMENTARY MATERIAL
- B65D—CONTAINERS FOR STORAGE OR TRANSPORT OF ARTICLES OR MATERIALS, e.g. BAGS, BARRELS, BOTTLES, BOXES, CANS, CARTONS, CRATES, DRUMS, JARS, TANKS, HOPPERS, FORWARDING CONTAINERS; ACCESSORIES, CLOSURES, OR FITTINGS THEREFOR; PACKAGING ELEMENTS; PACKAGES
- B65D25/00—Details of other kinds or types of rigid or semi-rigid containers
- B65D25/02—Internal fittings
- B65D25/04—Partitions
- B65D25/06—Partitions adapted to be fitted in two or more alternative positions
Definitions
- the invention relates to a compartment division for transport crates or other housing crates, which preferably have access from above.
- Such transport boxes are often called Toplader.
- the transport crates are used for transporting different contents, such as tools and small parts, or other items that are carried by fitters or craftsmen to perform certain activities on the spot. Since the most varied applications also entail different compartmentalizations, it is hardly possible to provide a transport box provided with the correct classification for all applications.
- the invention is based on the object to provide a way to be able to customize transport boxes with little effort to a variety of applications.
- the invention proposes a separate from the transport box in this deployable compartment division with the feature mentioned in claim 1. Further developments of the invention are the subject of dependent claims.
- the compartmentalization thus includes a frame having two parallel longitudinal side walls and two parallel transverse side walls, the You can also call them end faces.
- the frame corresponds in its outer dimension about the inner dimension of the transport box, so that it can be used in the transport box preferably from above.
- the interior of the frame can then be subdivided by the at least one compartment wall, also called transverse partition element.
- All parts of the compartment are designed to be made of wood by milling, sawing or punching. All parts are made as preferably flat plate elements and require little space for storage and transportation because of the absence of the surface of projecting protrusions.
- the parts of the compartment division are connected by plugging.
- This compartment division from the frame and the at least one transverse division can be adapted by the supplier of the transport box for the respective application and delivered with the transport box. It is also possible that the purchaser of the transport box is supplied with a kit, from which he can assemble his compartmentation for the particular application. All parts are designed in a certain pitch, so that they can be assembled without difficulty in any combination.
- longitudinal side walls and transverse side walls is not intended to mean that the longitudinal side walls must be longer than the transverse side walls. It is intended here only for the definition and the distinction of the different walls.
- the compartment wall extends transversely to those at the walls between which it is arranged.
- a further identically constructed longitudinal wall is arranged between the longitudinal side walls is, which is then conceptually no longitudinal side wall, but a longitudinal wall, which is identical to the longitudinal side walls.
- transverse side wall a further arranged identical to these transverse side walls transverse wall is arranged, which is then also conceptually no transverse side wall.
- compartment wall which is then to form a subdivision of the frame can be arranged in a further development of the invention between two longitudinal walls or between two transverse walls, in which case the term longitudinal wall should also include a longitudinal side wall and the term transverse wall and a transverse side wall.
- the compartment division can have compartment walls, that is to say transverse partition elements, of different lengths.
- the different length then corresponds to the aforementioned pitch.
- the side walls have upwardly open incisions, which serve to plug the compartment divisions, so the cross member elements.
- These upwardly open incisions are preferably present both in the longitudinal walls and in the transverse walls.
- the compartment walls have downwardly open cuts. This allows a particularly firm and secure connection of the transverse and longitudinal elements of the compartment division done.
- the dimensions of the Sections can be chosen so that after insertion, the entire compartment division is set stable with a certain adhesion in itself.
- the compartment division also has its own floor, which is preferably also connected by plugging with the frame and / or with the other walls.
- the bottom may have notches, cuts or the like for projections on the underside of the compartment walls and / or transverse walls and / or longitudinal walls.
- both bottom parts can be identical.
- the floor may have an extension part which is formed at its two side edges facing the respective other floor parts complementary thereto.
- the invention proposes to provide the compartment division with at least one horizontal insert, which can be inserted between two side walls and / or transverse walls.
- the horizontal insert may be formed so that they are formed complementary at their opposite longitudinal edges.
- the transverse dimension that is to say the distance between its longitudinal edges, again corresponds to the grid dimension, while its longitudinal dimension corresponds, for example, to the internal dimension of the frame. But even here an adaptation to a grid can be made. Due to the complementary design several horizontal inserter can be arranged one behind the other to thereby form a continuous horizontal feeder.
- the horizontal inserts may be formed such that they have in the region of their longitudinal edges at least one projection which projects by the dimension of the thickness of the side wall relative to the remaining part of the longitudinal edge. With this projection, the horizontal inserter then rests on the corresponding wall. Although a less protruding projection is also suitable for restoring the horizontal insert, protrusion is particularly well suited to this measure.
- the upper edge of the side walls has a region which is reduced by the thickness of the horizontal insert relative to the remaining upper edge. In this way it can be ensured that the horizontal feeder runs with its surface flush with the upper edges of all walls.
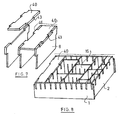
- FIG. 1 shows a serving for forming the frame longitudinal side wall 1.
- the longitudinal side wall is made as a plate-shaped element of a piece of wood by sawing. It contains a lower edge 2, which has a notch 3 in two places. The depth of the notches 3 corresponds to the height of the projections of the bottom, which will be explained below.
- the longitudinal side wall 1 further includes an upper edge 4, which has a step 6 in the region of the two end edges 5.
- the longitudinal side wall 1 is provided with a multiplicity of incisions 7 whose length corresponds approximately to half the height of the longitudinal side wall 1.
- the width of the incisions 7 corresponds to the thickness of the wood material from which the individual parts of the compartment division are made.
- the incisions 7 are preferably arranged in a grid. To form a frame, two such longitudinal side walls 1 are required.
- FIG. 2 now shows in plan view a transverse side wall 8, which must be duplicated to form a frame and perpendicular to the longitudinal side walls 1 of FIG. 1 is arranged.
- the transverse side wall 8 has a lower edge 9 which contains two projections 10.
- the projections 10 lie in the same plane as the plate-shaped transverse side wall 8.
- the lower edge 9 opposite an upper edge 11 is formed, which is deeper in a central region 11a than in the outer region.
- a step 13 is formed in each case, so that the longitudinal dimension of the transverse side walls 8 below the step 13 is less than above the step 13.
- the distance of the steps 13 from the lower edge 9 corresponds to the distance of the end 14 of cuts 15, which emanate from the upper edge 11 in its lowered portion 11a.
- the width of the cuts 15 corresponds to the thickness of the wood material from which the individual elements are made.
- the cuts 15 of the transverse side walls 8 are in a grid arranged, wherein the grid dimension of the transverse side walls 8 with the grid dimension of the longitudinal side walls 1 need not coincide.
- FIG. 3 shows a compartment wall 16, which can also be referred to as a cross member.
- the compartment wall 16, which may be present in other lengths, includes a lower edge 17 with individual projections 18 and an upper edge 19 which extends in a straight line.
- the compartment wall 16 which may be present in other lengths, includes a lower edge 17 with individual projections 18 and an upper edge 19 which extends in a straight line.
- several incisions 20 are present, which extend approximately over half the height of the compartment wall 16.
- half incisions 20 are present in each case on the two end walls 21.
- There are on the outsides slightly protrusions 22 are provided, which should cause a setting of the compartment wall 16.
- the outgoing from the lower edge 17 incisions 20 correspond in their grid the grid dimension of the longitudinal side walls 1, since the transverse walls 16 are arranged parallel to the longitudinal side walls 1 in the illustrated embodiment.
- the height of the compartment walls 16 corresponds to the height of the longitudinal side walls 1 and the transverse side walls eighth
- FIG. 4 schematically shows a floor, which is not shown on the same scale as the other elements of the compartment division.
- the bottom contains two identically formed bottom parts 24, which have an end edge 25 and two longitudinal edges 26.
- projections 27 are formed, which lie in the surface of the plate member 24.
- the projections 27 are intended to engage in the notches 3 of the longitudinal side walls 1.
- a step is formed, wherein in one half 28 of the edge in the illustrated embodiment, a circular notch 29 is formed.
- the circumference of this notch 29 extends over a circular arc of more than 180 degrees, so that an undercut is formed.
- a corresponding projection 31 is formed, which is formed complementary to the notch 29. Since both bottom parts 24 are identical, the bottom can be composed by inserting the projection 31 into the notch 29 of the other bottom part 24.
- FIG. 4 between the two bottom parts 24 is still an extension sections 32 shown, both of which the respective bottom part 24 facing edges complementary to the corresponding edges 28, 30 are formed.
- the floor can be adapted to different lengths of shelves. Due to the transverse division of the floor, a compartment division can be disassembled in a small space.
- FIG. 5 now shows a plan view of the already mentioned horizontal inserter, wherein the FIG. 5 schematically horizontal feeder with three different transverse dimensions shows.
- the horizontal insert 40 include, for example, openings 41, which are adapted in diameter to the outer diameter of aerosol cans.
- the horizontal insert 40 which are also made of wood and plate-shaped, contain two parallel longitudinal edges.
- On the opposite longitudinal edge 45 of the horizontal insert 40 includes two projections 46, which also project by the thickness of the transverse side walls 8 opposite the longitudinal edge 45.
- the inner spacing 47 between two projections 46 corresponds to the length of the projection 43 arranged on the opposite side.
- the projections 46 are arranged such that they are still at a distance from the front edges 48 of the horizontal inserts. This distance 49 corresponds to the length of the end region of the upper edge 11 of the transverse side wall 8 outside the reduced region 11a.
- the horizontal insert 40 are for example intended to be placed with their projections in the reduced area 11a of the upper edge 11 of the transverse side walls 8. This will be shown below.
- FIG. 6 shows a transverse wall 8a, which can serve both as a transverse side wall and as a transverse inner wall. Opposite the transverse wall 8 of FIG. 2 it differs only in that it has below the end 14 of the cuts 15 still parallel to the lower edge 9 extending on both sides limited slot 49.
- the width of the slot corresponds to the thickness of the horizontal insert.
- the length of the slot 49 corresponds to the outer spacing of the projections 46 or otherwise expressed by the length of the reduced portion 11a of the upper edge 11.
- FIG. 7 schematically shows how between two transverse walls 8, a horizontal feeder 40 is arranged or how it is arranged.
- the middle projection 43 leaves space on both sides, so that a horizontal insert to be arranged on the right can still engage there with its projections 46.
- the not yet inserted horizontal insert 40 can be arranged in the same way on the left, with its projection 43 then engage between the two projections 46 of the already inserted horizontal feeder 40.
- FIG. 8 shows in a schematic perspective view, as a composed of longitudinal side walls 1, transverse side walls 2, compartment walls 16 and horizontal inserts 40 compartments division can look. This compartment division can then be used in total in a transport box from above.
- the arrangement of the outgoing from the top incisions 7 and 15 and the bottom outgoing incisions 20 is chosen so that first the frame of the longitudinal side walls 1 and the transverse side walls 8 can be assembled. Subsequently, the technical divisions are inserted from above. The reverse arrangement of cuts would also be possible. In this case would have to then the compartments are used from below, which could then happen only outside the transport box.
Landscapes
- Engineering & Computer Science (AREA)
- Mechanical Engineering (AREA)
- Rigid Containers With Two Or More Constituent Elements (AREA)
- Control And Other Processes For Unpacking Of Materials (AREA)
- Forklifts And Lifting Vehicles (AREA)
- Container, Conveyance, Adherence, Positioning, Of Wafer (AREA)
- Details Of Rigid Or Semi-Rigid Containers (AREA)
- Housing For Livestock And Birds (AREA)
Description
- Die Erfindung betrifft eine Facheinteilung für Transportkisten oder sonstige Unterbringungskisten, die vorzugsweise eine Zugangsmöglichkeit von oben haben. Solche Transportkisten werden häufig auch Toplader genannt.
- Die Transportkisten werden zum Transport unterschiedlicher Inhalte verwendet, beispielsweise von Werkzeugen und Kleinteilen, oder auch sonstiger Gegenstände, die von Monteuren oder Handwerkern mitgeführt werden, um an Ort und Stelle bestimmte Tätigkeiten durchzuführen. Da die unterschiedlichsten Anwendungsfälle auch unterschiedliche Facheinteilungen nach sich ziehen, ist es kaum möglich, für alle Anwendungsfälle eine mit der richtigen Einteilung versehene Transportkiste zur Verfügung zu stellen.
- Es ist bereits ein Gitterfacheinsatz-Stecksystem bekannt (
), das eine Facheinteilung mit in einem Rastermaß durch Stecken verbindbaren Längs- und Querunterteilungen aufweist.WO-A-02/12074 - Der Erfindung liegt die Aufgabe zu Grunde, eine Möglichkeit zu schaffen, Transportkisten mit geringem Aufwand an die unterschiedlichsten Anwendungsfälle anpassen zu können.
- Zur Lösung dieser Aufgabe schlägt die Erfindung eine von der Transportkiste getrennte in diese einsetzbare Facheinteilung mit den im Anspruch 1 genannten Merkmales vor. Weiterbildungen der Erfindung sind Gegenstand von Unteransprüchen.
- Die Facheinteilung enthält also einen Rahmen, der zwei parallele Längsseitenwände und zwei parallele Querseitenwände aufweist, die man auch als Stirnseiten bezeichnen kann. Der Rahmen entspricht in seiner Außenabmessung etwa der Innenabmessung der Transportkiste, so dass er in die Transportkiste vorzugsweise von oben eingesetzt werden kann. Das Innere des Rahmens kann dann durch die mindestens eine Fachwand, auch Querteilelement genannt, unterteilt werden. Alle Teile der Facheinteilung sind so ausgebildet, dass sie sich aus Holz durch Fräsen, Sägen oder Stanzen herstellen lassen. Alle Teile sind als vorzugsweise ebene Plattenelemente hergestellt und benötigen wegen des Fehlens aus der Fläche vorstehender Vorsprünge wenig Platz bei der Lagerung und beim Transport. Die Teile der Facheinteilung werden durch Stecken miteinander verbunden. Diese Facheinteilung aus dem Rahmen und der mindestens einen Querteilung kann vom Lieferanten der Transportkiste für den jeweiligen Anwendungsfall angepasst und mit der Transportkiste ausgeliefert werden. Es ist ebenfalls möglich, dass dem Abnehmer der Transportkiste ein Bausatz mitgeliefert wird, aus dem er sich für den jeweiligen Anwendungsfall seine Facheinteilung selbst zusammensetzen kann. Alle Teile sind in einem bestimmten Rastermaß ausgebildet, so dass sie sich ohne Schwierigkeiten in beliebiger Kombination zusammensetzen lassen.
- Der Begriff Längsseitenwände und Querseitenwände soll jedoch nicht bedeuten, dass die Längsseitenwände länger sein müssen als die Querseitenwände. Er ist hier nur zur Definition und zur Unterscheidung der verschiedenen Wände bestimmt.
- Während die Längsseitenwände parallel zueinander verlaufen, und ebenfalls die Querseitenwände parallel zueinander, erstreckt sich die Fachwand quer zu den bei den Wänden, zwischen denen sie angeordnet ist.
- Es ist in Weiterbildung der Erfindung auch möglich, dass zwischen den Längsseitenwänden eine weitere identisch aufgebaute Längswand angeordnet ist, die dann begrifflich keine Längsseitenwand ist, sondern eine Längswand, die aber identisch zu den Längsseitenwänden ausgebildet ist.
- Ebenfalls möglich ist es, dass zwischen den parallelen Querseitenwänden eine weitere identisch zu diesen Querseitenwänden aufgebaute Querwand angeordnet ist, die dann ebenfalls begrifflich keine Querseitenwand ist.
- Die Fachwand, die dann eine Unterteilung des Rahmens bilden soll, kann in Weiterbildung der Erfindung zwischen zwei Längswänden oder zwischen zwei Querwänden angeordnet sein, wobei in diesem Fall der Begriff Längswand auch eine Längsseitenwand umfassen soll und der Begriff Querwand auch eine Querseitenwand.
- Erfindungsgemäß kann vorgesehen sein, dass die Facheinteilung Fachwände, also Querteilelemente, unterschiedlicher Länge aufweisen kann. Die unterschiedliche Länge entspricht dann dem eingangs erwähnten Rastermaß.
- Um ein besonders einfaches Zusammenstecken der einzelnen Elemente der Facheinteilung zu ermöglichen, kann erfindungsgemäß in Weiterbildung vorgesehen sein, dass die Seitenwände nach oben offene Einschnitte aufweisen, die zum Stecken der Facheinteilungen dienen, also der Querteilelemente. Diese nach oben offenen Einschnitte sind vorzugsweise sowohl bei den Längswänden als auch bei den Querwänden vorhanden.
- In nochmaliger Weiterbildung der Erfindung kann vorgesehen sein, dass die Fachwände nach unten offene Einschnitte aufweisen. Dadurch kann eine besonders feste und sichere Verbindung der quer und längs verlaufenden Elemente der Facheinteilung erfolgen. Die Abmessungen der Einschnitte können so gewählt werden, dass nach dem Einstecken die gesamte Facheinteilung mit einem gewissen Kraftschluss in sich stabil festgelegt ist.
- Zur weiteren Vergrößerung der Stabilität und zur Anpassung an Transportkisten, die aus bestimmten Gründen einen nicht ebenen Boden aufweisen, weist erfindungsgemäß die Facheinteilung auch einen eigenen Boden auf, der mit dem Rahmen und/oder mit den sonstigen Wänden vorzugsweise ebenfalls durch Stecken verbindbar ist.
- Beispielsweise kann der Boden Kerben, Einschnitte oder dergleichen für Vorsprünge an der Unterseite der Fachwände und/oder Querwände und/oder Längswände aufweisen.
- Da die Facheinteilung in zerlegtem Zustand, gegebenenfalls auch als Bausatz, möglichst wenig Platz wegnehmen soll und der Boden die größte Abmessung aufweist, kann erfindungsgemäß vorgesehen sein, den Boden aus zwei Teilen herzustellen, wobei die einander zugewandten Kanten der beiden Bodenteile einen in der Ebene liegenden flächigen Hinterschnitt aufweisen bzw. bilden. Die beiden Teile lassen sich dann miteinander verbinden, wobei der Hinterschnitt dafür sorgt, dass der Boden nicht auseinander fällt. Vorzugsweise können beide Bodenteile identisch ausgebildet sein.
- Um die Facheinteilung nicht nur an unterschiedliche Anwendungsfälle, sondern auch an unterschiedliche Größen der Transportkisten selbst anpassen zu können, kann erfindungsgemäß der Boden ein Verlängerungsteil aufweisen, das an seinen beiden den jeweiligen anderen Bodenteilen zugewandten Seitenkanten komplementär zu diesen ausgebildet ist.
- Es gibt Anwendungsfälle, in denen bestimmte in den Transportkisten unterzubringende Teile beispielsweise eine zusätzliche Führung benötigen, die durch Fachwände allein nicht erreicht werden kann. Wenn beispielsweise lange und schmale stiftartige Gegenstände senkrecht untergebracht werden müssen, so kann man für diese schmalen Gegenstände nicht jeweils ein eigenes Fach zur Verfügung stellen. Auch runde Dosen müssen unter Umständen anders untergebracht werden als in quadratischen Fächern. Um auch in solchen Fällen eine einfache und sichere Unterbringungsmöglichkeit zu schaffen, schlägt die Erfindung vor, die Facheinteilung mit mindestens einem Horizontaleinleger zu versehen, der zwischen je zwei Seitenwände und/oder Querwände eingelegt werden kann.
- Vorzugsweise können die Horizontaleinleger so ausgebildet sein, dass sie an ihren einander gegenüberliegenden Längskanten komplementär ausgebildet sind. Die Querabmessung, das heißt der Abstand zwischen ihren Längskanten, entspricht dabei wieder dem Rastermaß, während ihre Längsabmessung beispielsweise der Innenabmessung des Rahmens entspricht. Aber auch hier kann eine Anpassung an ein Rastermaß vorgenommen werden. Durch die komplementäre Ausbildung können mehrere Horizontaleinleger hintereinander angeordnet werden um dadurch einen durchgehenden Horizontaleinleger zu bilden.
- Insbesondere können die Horizontaleinleger derart ausgebildet sein, dass sie im Bereich ihrer Längskanten mindestens einen Vorsprung aufweisen, der um die Abmessung der Dicke der Seitenwand gegenüber dem restlichen Teil der Längskante vorspringt. Mit diesem Vorsprung ruht der Horizontaleinleger dann auf der entsprechenden Wand auf. Ein weniger weit vorspringender Vorsprung ist zwar auch geeignet, den Horizontaleinleger aufruhen zu lassen, jedoch ist das Vorspringen um dieses Maß besonders gut geeignet.
- In Weiterbildung der Erfindung kann vorgesehen sein, dass die Oberkante der Seitenwände einen um die Dicke des Horizontaleinlegers gegenüber der restlichen Oberkante herabgesetzten Bereich aufweist. Auf diese Weise kann dafür gesorgt werden, dass der Horizontaleinleger mit seiner Oberfläche bündig mit den Oberkanten aller Wände verläuft.
- Weitere Merkmale, Einzelheiten und Vorzüge der Erfindung ergeben sich aus den Ansprüchen und der Zusammenfassung, deren beider Wortlaut durch Bezugnahme zum Inhalt der Beschreibung gemacht wird, der folgenden Beschreibung einer bevorzugten Ausführungsform der Erfindung sowie anhand der Zeichnung. Hierbei zeigen:
- Figur 1
- eine Längsseitenwand;
- Figur 2
- eine Querseitenwand;
- Figur 3
- ein Beispiel für ein Querteilelement bzw. eine Fachwand;
- Figur 4
- eine Draufsicht auf einen Boden;
- Figur 5
- mehrere Horizontaleinleger hintereinander angeordnet;
- Figur 6
- eine der
Figur 2 entsprechende Darstellung einer Querseitenwand einer abgeänderten Ausführungsform; - Figur 7
- schematisch das Zusammenwirken von Querwänden und Horizontaleinlegern;
- Figur 8
- in perspektivischer Darstellung eine Facheinteilung mit einer Vielzahl von einzelnen Fächern.
-
Figur 1 zeigt eine zur Bildung des Rahmens dienende Längsseitenwand 1. Die Längsseitenwand ist als plattenförmiges Element aus einem Stück Holz durch Sägen hergestellt. Sie enthält eine Unterkante 2, die an zwei Stellen jeweils eine Kerbe 3 aufweist. Die Tiefe der Kerben 3 entspricht der Höhe der Vorsprünge des Bodens, was im Folgenden noch erklärt werden wird. Die Längsseitenwand 1 enthält weiterhin eine Oberkante 4, die im Bereich der beiden Stirnkanten 5 eine Stufe 6 aufweist. - Von der Oberkante 4 ausgehend ist die Längsseitenwand 1 mit einer Vielzahl von Einschnitten 7 versehen, deren Länge etwa der halben Höhe der Längsseitenwand 1 entspricht. Die Breite der Einschnitte 7 entspricht der Dicke des Holzmaterials, aus dem die einzelnen Teile der Facheinteilung hergestellt sind. Die Einschnitte 7 sind vorzugsweise in einem Rastermaß angeordnet. Zur Bildung eines Rahmens sind zwei solcher Längsseitenwände 1 erforderlich.
-
Figur 2 zeigt nun im Draufsicht eine Querseitenwand 8, die zur Bildung eines Rahmens doppelt vorhanden sein muss und senkrecht zu den Längsseitenwänden 1 derFigur 1 angeordnet wird. Die Querseitenwand 8 weist eine Unterkante 9 auf, die zwei Vorsprünge 10 enthält. Die Vorsprünge 10 liegen in der gleichen Ebene wie die plattenförmige Querseitenwand 8. Der Unterkante 9 gegenüberliegend ist eine Oberkante 11 ausgebildet, die in einem mittleren Bereich 11a tiefer liegt als im äußeren Bereich. An den beiden Stirnkanten 12 ist jeweils eine Stufe 13 gebildet, so dass die Längsabmessung der Querseitenwände 8 unterhalb der Stufe 13 geringer ist als oberhalb der Stufe 13. Der Abstand der Stufen 13 von der Unterkante 9 entspricht dem Abstand des Endes 14 von Einschnitten 15, die von der Oberkante 11 in deren abgesenktem Bereich 11a ausgehen. Die Breite der Einschnitte 15 entspricht der Dicke des Holzmaterials, aus dem die einzelnen Elemente hergestellt sind. Auch die Einschnitte 15 der Querseitenwände 8 sind in einem Rastermaß angeordnet, wobei das Rastermaß der Querseitenwände 8 mit dem Rastermaß der Längsseitenwände 1 nicht zusammenzufallen braucht. -
Figur 3 zeigt eine Fachwand 16, die man auch als Querteilelement bezeichnen kann. Die Fachwand 16, die auch in anderen Längen vorhanden sein kann, enthält eine Unterkante 17 mit einzelnen Vorsprüngen 18 und eine Oberkante 19, die geradlinig verläuft. Von der Unterkante 17 ausgehend sind mehrere Einschnitte 20 vorhanden, die sich etwa über die halbe Höhe der Fachwand 16 erstrecken. An den beiden Stirnwänden 21 sind vereinfacht ausgedrückt jeweils halbe Einschnitte 20 vorhanden. Dort sind an den Außenseiten geringfügig ausgebildete Vorsprünge 22 vorhanden, die ein Festlegen der Fachwand 16 bewirken sollen. Die von der Unterkante 17 ausgehenden Einschnitte 20 entsprechen in ihrem Rastermaß dem Rastermaß der Längsseitenwände 1, da die Querwände 16 parallel zu den Längsseitenwänden 1 im dargestellten Ausführungsbeispiel angeordnet werden. - Die Höhe der Fachwände 16 entspricht der Höhe der Längsseitenwände 1 und der Querseitenwände 8.
-
Figur 4 zeigt schematisch einen Boden, der allerdings nicht im gleichen Maßstab dargestellt ist wie die übrigen Elemente der Facheinteilung. Der Boden enthält zwei identisch ausgebildete Bodenteile 24, die eine Stirnkante 25 und zwei Längskanten 26 aufweisen. An den Längskanten 26 sind Vorsprünge 27 ausgebildet, die in der Fläche des Plattenelements 24 liegen. Die Vorsprünge 27 sind zum Eingreifen in die Kerben 3 der Längsseitenwände 1 bestimmt. An der der Stirnkante 25 gegenüberliegenden, dem jeweils anderen Bodenteil 24 zugewandten Kante ist eine Stufe gebildet, wobei in der einen Hälfte 28 der Kante eine im dargestellten Ausführungsbeispiel kreisförmige Einkerbung 29 ausgebildet ist. Der Umfang dieser Einkerbung 29 erstreckt sich über einen Kreisbogen von mehr als 180 Grad, so dass ein Hinterschnitt gebildet ist. In der anderen Hälfte 30 der Kante ist ein entsprechender Vorsprung 31 ausgebildet, der komplementär zu der Einkerbung 29 ausgebildet ist. Da beide Bodenteile 24 identisch ausgebildet sind, lässt sich der Boden dadurch zusammensetzen, dass der Vorsprung 31 in die Einkerbung 29 des jeweils anderen Bodenteils 24 eingesetzt wird. - In
Figur 4 ist zwischen den beiden Bodenteilen 24 noch ein Verlängerungsabschnitte 32 dargestellt, dessen beide dem jeweiligen Bodenteil 24 zugewandte Kanten komplementär zu den entsprechenden Kanten 28, 30 ausgebildet sind. Durch Verwendung eines oder mehrerer Verlängerungsabschnitte 32 lässt sich der Boden an unterschiedliche Längen von Facheinteilungen anpassen. Durch die Querteilung des Bodens lässt sich eine Facheinteilung auf kleinem Raum zerlegen. - Wie man der Darstellung des in
Figur 4 oberen Bodenteils 24 entnehmen kann, enthält der Boden längere und kürzerer Einschnitte oder Kerben 34, 35, die für die Vorsprünge 10 an der Unterkante der Querseitenwände 8 bzw. die Vorsprünge 18 an der Unterkante 17 der Facheinteilungen 19 bestimmt sind. -
Figur 5 zeigt jetzt eine Draufsicht auf die schon erwähnten Horizontaleinleger, wobei dieFigur 5 schematisch Horizontaleinleger mit drei verschiedenen Querabmessungen zeigt. Die inFigur 5 von links nach rechts gemessene Querabmessung der Horizontaleinleger 40 entspricht dem Rastermaß der Längsseitenwände 1. Die Horizontaleinleger 40 enthalten beispielsweise Öffnungen 41, die in ihrem Durchmesser dem Außendurchmesser von Aerosoldosen angepasst sind. - Die Horizontaleinleger 40, die ebenfalls aus Holz hergestellt und plattenförmig ausgebildet sind, enthalten zwei parallele Längskanten. Eine der beiden Längskanten, in
Figur 5 die rechte Längskante 42, weist in ihrer Mitte einen Vorsprung 43 auf, dessen Außenkante 44 gegenüber der restlichen Längskante 42 um einen Betrag vorspringt, der der Dicke der Querseitenwand 8 entspricht. Auf der gegenüberliegenden Längskante 45 enthält der Horizontaleinleger 40 zwei Vorsprünge 46, die ebenfalls um die Dicke der Querseitenwände 8 gegenüber der Längskante 45 vorspringen. Der innere Abstand 47 zwischen zwei Vorsprüngen 46 entspricht der Länge des auf der gegenüberliegenden Seite angeordneten Vorsprungs 43. Die Vorsprünge 46 sind so angeordnet, dass sie von den Stirnkanten 48 der Horizontaleinleger noch einen Abstand aufweisen. Dieser Abstand 49 entspricht der Länge des Endbereichs der Oberkante 11 der Querseitenwand 8 außerhalb des herabgesetzten Bereichs 11a. - Durch diese Art der Anordnung von Vorsprüngen 43 und 46 auf den gegenüberliegenden parallelen Längskanten 42, 45 der Horizontaleinleger 40 sind diese beiden Längskanten komplementär zueinander ausgebildet. Es ist dadurch möglich, mehrere Horizontaleinleger 40 gleicher oder unterschiedlicher Größe hintereinander anzuordnen, so dass dadurch eine durchgehende Fläche ohne Spalte entsteht. Dies kann man der Figur 5 entnehmen.
- Die Horizontaleinleger 40 sind beispielsweise dazu bestimmt, mit ihren Vorsprüngen in den herabgesetzten Bereich 11a der Oberkante 11 der Querseitenwände 8 aufgelegt zu werden. Dies wird im Folgenden noch gezeigt werden.
-
Figur 6 zeigt eine Querwand 8a, die sowohl als Querseitenwand als auch als Querinnenwand dienen kann. Gegenüber der Querwand 8 derFigur 2 unterscheidet sie sich nur dadurch, dass sie unterhalb des Endes 14 der Einschnitte 15 noch einen parallel zur Unterkante 9 verlaufenden beidseits begrenzten Schlitz 49 aufweist. Die Breite des Schlitzes entspricht der Plattenstärke der Horizontaleinleger. Die Länge des Schlitzes 49 entspricht dem Außenabstand der Vorsprünge 46 oder anders ausgedrückt der Länge des herabgesetzten Bereichs 11a der Oberkante 11. Mit Hilfe dieser Querwände 6 lässt sich ein Horizontaleinleger auch an einer tieferen Stelle der Facheinteilung anordnen als nur an der Oberseite. - Nun zu
Figur 7. Figur 7 zeigt schematisch, wie zwischen zwei Querwänden 8 ein Horizontaleinleger 40 angeordnet ist bzw. wie er angeordnet wird. Man kann der rechten Hälfte derFigur 7 entnehmen, wie die an der linken Längskante angeordneten Vorsprünge 46 die Verschiebung des Horizontaleinlegers 40 in dessen Längsrichtung verhindern, da ihre äuβeren Begrenzungsenden an den entsprechenden Teilen der Querwände 8 anliegen. Auf der rechten Seite sieht man, dass der mittlere Vorsprung 43 beidseits Platz lässt, damit ein rechts anzuordnender Horizontaleinleger dort noch mit seinen Vorsprüngen 46 eingreifen kann. Der noch nicht eingelegte Horizontaleinleger 40 lässt sich auf die gleiche Weise links anordnen, wobei sein Vorsprung 43 dann zwischen die beiden Vorsprünge 46 des schon eingelegten Horizontaleinlegers 40 eingreifen. -
Figur 8 zeigt in einer schematischen perspektivischen Ansicht, wie ein aus Längsseitenwänden 1, Querseitenwänden 2, Fachwänden 16 und Horizontaleinlegern 40 zusammengesetzte Facheinteilung aussehen kann. Diese Facheinteilung kann dann insgesamt in eine Transportkiste von oben eingesetzt werden. - Die Anordnung der von oben ausgehenden Einschnitte 7 beziehungsweise 15 und der von unten ausgehenden Einschnitte 20 ist so gewählt, damit zunächst der Rahmen aus den Längsseitenwänden 1 und den Querseitenwänden 8 zusammengesetzt werden kann. Anschließend werden die Facheinteilungen von oben eingeschoben. Die umgekehrte Anordnung von Einschnitten wäre auch möglich. In diesem Fall müssten dann die Facheinteilungen von unten eingesetzt werden, was dann nur außerhalb der Transportkiste geschehen könnte.
Claims (15)
- Facheinteilung für Transportkisten, mit1.1 einem Rahmen, der1.2 zwei parallele Längsseitenwände (1) und1.3 zwei parallele Querseitenwände (8) aufweist, sowie mit1.4 mindestens einer Fachwand (16), die1.4.1 zwischen den Seitenwänden (1, 8) angeordnet ist und1.4.2 den Innenraum des Rahmens unterteilt, wobei1.5 alle Teile der Facheinteilung miteinander verbindbar, sind, dadurch gekennzeichnet, dass1.6 die Teile der Facheinteilung durch Stanzen und/oder Sägen aus Holz herstellbar sind, und1.7 die Facheinteilung einen Boden aufweist, wobei1.8 der Boden Kerben bzw. Einschnitte (34, 35) für Vorsprünge (10, 18) an der Unterseite der Seitenwände (8) und/oder Fachwände (16) aufweist.
- Facheinteilung nach Anspruch 1, bei der zwischen den Längsseitenwänden (1) mindestens eine weitere identisch aufgebaute Längswand (1) angeordnet ist.
- Facheinteilung nach Anspruch 1 oder 2, bei der zwischen den Querseitenwänden (8) mindestens eine weitere identisch aufgebauter Querwand (8) angeordnet ist.
- Facheinteilung nach einem der vorhergehenden Ansprüche, bei der die mindestens eine Fachwand (16) zwischen zwei Längswänden (1) oder zwischen zwei Querwänden (8) angeordnet ist.
- Facheinteilung nach einem der vorhergehenden Ansprüche, mit Fachwänden (16) unterschiedlicher Länge.
- Facheinteilung nach einem der vorhergehenden Ansprüche, bei der die Seitenwände (1, 8) nach oben offene Einschnitte (7, 15) aufweisenden.
- Facheinteilung nach einem der vorhergehenden Ansprüche, bei der die Fachwände (16) nach unten offene Einschnitte (20) aufweisen.
- Facheinteilung nach einem der vorhergehenden Ansprüche, bei der der Boden quergeteilt ist und die einander zugewandten Kanten beider Bodenteile (24) einen in der Ebene liegenden flächigen Hinterschnitt aufweisen.
- Facheinteilung nach Anspruch 8, bei der beide Bodenteile (24) identisch ausgebildet sind.
- Facheinteilung nach Anspruch 8 oder 9, mit einem Bodenverlängerungsteil (32).
- Facheinteilung nach einem der vorhergehenden Ansprüche, mit mindestens einem Horizontaleinleger (40), der zwischen zwei Seitenwände (8) eingelegt werden kann.
- Facheinteilung nach Anspruch 11, bei der der mindestens ein Horizontaleinleger (40) im Bereich seiner Längskanten (42, 45) Vorsprünge (43, 46) aufweist, die vorzugsweise um die Dicke der Seitenwände (8) vorspringen.
- Facheinteilung nach Anspruch 11 oder 12, bei der die Oberkante (11) der Seitenwände (8) einen um die Dicke des Horizontaleinlegers (40) gegenüber der restlichen Oberkante herabgesetzten Bereich (11a) aufweist.
- Facheinteilung nach einem der Ansprüche 11 bis 13, bei der die beiden Längskanten (42, 45) der Horizontaleinleger (40) komplementär zueinander ausgebildet sind.
- Facheinteilung nach einem der vorhergehenden Ansprüche, als Bausatz ausgebildet.
Applications Claiming Priority (2)
| Application Number | Priority Date | Filing Date | Title |
|---|---|---|---|
| DE20313674U DE20313674U1 (de) | 2003-09-02 | 2003-09-02 | Variables Einteilungssystem für Toplader-Transportkisten |
| PCT/EP2004/009671 WO2005023663A1 (de) | 2003-09-02 | 2004-08-31 | Variables einteilungssystem für toplader-transportkisten |
Publications (2)
| Publication Number | Publication Date |
|---|---|
| EP1663797A1 EP1663797A1 (de) | 2006-06-07 |
| EP1663797B1 true EP1663797B1 (de) | 2008-10-01 |
Family
ID=29724189
Family Applications (1)
| Application Number | Title | Priority Date | Filing Date |
|---|---|---|---|
| EP04764637A Expired - Lifetime EP1663797B1 (de) | 2003-09-02 | 2004-08-31 | Variables einteilungssystem für toplader-transportkisten |
Country Status (5)
| Country | Link |
|---|---|
| EP (1) | EP1663797B1 (de) |
| AT (1) | ATE409655T1 (de) |
| DE (2) | DE20313674U1 (de) |
| ES (1) | ES2315688T3 (de) |
| WO (1) | WO2005023663A1 (de) |
Family Cites Families (6)
| Publication number | Priority date | Publication date | Assignee | Title |
|---|---|---|---|---|
| US2974817A (en) * | 1958-08-01 | 1961-03-14 | Acf Ind Inc | Packing dividers |
| FR1385805A (fr) * | 1964-02-04 | 1965-01-15 | Boîte de rangement à compartiments | |
| DE19548144A1 (de) * | 1995-12-22 | 1997-06-26 | Festo Tooltechnic Kg | Fachunterteiler |
| DE20013749U1 (de) * | 2000-08-10 | 2000-12-21 | Schenker International Deutschland GmbH, 26725 Emden | Gitterfacheinsatz-Stecksystem |
| ES1050425Y (es) * | 2001-11-06 | 2002-07-16 | Storopack Molded Parts Espana | Bandeja para aplicaciones logisticas. |
| DE20203792U1 (de) * | 2002-03-08 | 2002-07-18 | Brangs + Heinrich GmbH, 70771 Leinfelden-Echterdingen | Rechteckige Vorrichtung zur Aufnahme von Gegenständen, insbesondere Werkstücke |
-
2003
- 2003-09-02 DE DE20313674U patent/DE20313674U1/de not_active Expired - Lifetime
-
2004
- 2004-08-31 AT AT04764637T patent/ATE409655T1/de active
- 2004-08-31 WO PCT/EP2004/009671 patent/WO2005023663A1/de not_active Ceased
- 2004-08-31 EP EP04764637A patent/EP1663797B1/de not_active Expired - Lifetime
- 2004-08-31 ES ES04764637T patent/ES2315688T3/es not_active Expired - Lifetime
- 2004-08-31 DE DE502004008166T patent/DE502004008166D1/de not_active Expired - Lifetime
Also Published As
| Publication number | Publication date |
|---|---|
| DE502004008166D1 (de) | 2008-11-13 |
| ES2315688T3 (es) | 2009-04-01 |
| DE20313674U1 (de) | 2003-12-04 |
| WO2005023663A1 (de) | 2005-03-17 |
| ATE409655T1 (de) | 2008-10-15 |
| EP1663797A1 (de) | 2006-06-07 |
Similar Documents
| Publication | Publication Date | Title |
|---|---|---|
| EP1922954B1 (de) | Ablage- und Sortiervorrichtung | |
| DE2426723C3 (de) | Mit Folienscharnier klappbar ausgebildeter Eckverbinder für brettförmige Bauteile | |
| DE2122117A1 (de) | Behalter mit Abteilen | |
| EP0706705A1 (de) | Vorrichtung zur aufbewahrung von kassetten | |
| EP3530584B1 (de) | Verfahren zum aufbauen einer transportverpackung aus kartonmaterial sowie entsprechende transportverpackung | |
| DE20312086U1 (de) | Unterteilungsvorrichtung, insbesondere für eine Schublade | |
| EP4325071A1 (de) | Eckverbinder | |
| WO2010028636A2 (de) | Aus mehreren seitenelementen und einer bodenplatte zusammensetzbarer behälter sowie eine in diesen behälter einsetzbare trennwand | |
| DE2638969C2 (de) | Spielzeugbausatz | |
| EP0063805A2 (de) | Regal zur Lagerung und Bereitstellung von Gegenständen | |
| DE69224781T2 (de) | Schrankrahmen, insbesondere für elektrische Aggregate, entsprechender Schrank | |
| EP1663797B1 (de) | Variables einteilungssystem für toplader-transportkisten | |
| DE8810510U1 (de) | Zuschnitt für ein eckiges, vorzugsweise für ein viereckiges, an zwei einander gegenüberliegenden Seiten offenes Behältnis | |
| AT410496B (de) | Schienenträger mit einer oder mehreren aufnahmen zum aufnehmen von schienen verschiedener rechteckiger querschnitte | |
| EP0357817B1 (de) | Holzregal mit auf unterschiedlichen Höhen anbringbaren Einlegeböden | |
| DE20107825U1 (de) | Ständer mit geteilter Fußplatte für die Ablage von flachen Gegenständen | |
| DE2911009A1 (de) | Steckregalsystem | |
| DE20203792U1 (de) | Rechteckige Vorrichtung zur Aufnahme von Gegenständen, insbesondere Werkstücke | |
| DE2847726A1 (de) | Behaelter in form eines polygonalen kastens | |
| DE2361886A1 (de) | Regal mit durch loesbare trennwaende unterteilten faechern | |
| DE3149054A1 (de) | Lueftungsgitter | |
| DE69304580T2 (de) | Trennwand für Waren | |
| CH705452A2 (de) | Einsatz für einen Transport- und Lagerbehälter. | |
| EP0786413A1 (de) | Behälter | |
| AT522769B1 (de) | Faltkiste |
Legal Events
| Date | Code | Title | Description |
|---|---|---|---|
| PUAI | Public reference made under article 153(3) epc to a published international application that has entered the european phase |
Free format text: ORIGINAL CODE: 0009012 |
|
| 17P | Request for examination filed |
Effective date: 20060323 |
|
| AK | Designated contracting states |
Kind code of ref document: A1 Designated state(s): AT BE BG CH CY CZ DE DK EE ES FI FR GB GR HU IE IT LI LU MC NL PL PT RO SE SI SK TR |
|
| DAX | Request for extension of the european patent (deleted) | ||
| 17Q | First examination report despatched |
Effective date: 20070907 |
|
| GRAP | Despatch of communication of intention to grant a patent |
Free format text: ORIGINAL CODE: EPIDOSNIGR1 |
|
| GRAS | Grant fee paid |
Free format text: ORIGINAL CODE: EPIDOSNIGR3 |
|
| GRAA | (expected) grant |
Free format text: ORIGINAL CODE: 0009210 |
|
| AK | Designated contracting states |
Kind code of ref document: B1 Designated state(s): AT BE BG CH CY CZ DE DK EE ES FI FR GB GR HU IE IT LI LU MC NL PL PT RO SE SI SK TR |
|
| REG | Reference to a national code |
Ref country code: GB Ref legal event code: FG4D Free format text: NOT ENGLISH |
|
| REG | Reference to a national code |
Ref country code: CH Ref legal event code: EP |
|
| REG | Reference to a national code |
Ref country code: IE Ref legal event code: FG4D Free format text: LANGUAGE OF EP DOCUMENT: GERMAN |
|
| REF | Corresponds to: |
Ref document number: 502004008166 Country of ref document: DE Date of ref document: 20081113 Kind code of ref document: P |
|
| REG | Reference to a national code |
Ref country code: CH Ref legal event code: NV Representative=s name: ZIMMERLI, WAGNER & PARTNER AG |
|
| REG | Reference to a national code |
Ref country code: SE Ref legal event code: TRGR |
|
| RAP2 | Party data changed (patent owner data changed or rights of a patent transferred) |
Owner name: ADOLF WUERTH GMBH & CO. KG |
|
| PG25 | Lapsed in a contracting state [announced via postgrant information from national office to epo] |
Ref country code: SI Free format text: LAPSE BECAUSE OF FAILURE TO SUBMIT A TRANSLATION OF THE DESCRIPTION OR TO PAY THE FEE WITHIN THE PRESCRIBED TIME-LIMIT Effective date: 20081001 |
|
| NLT2 | Nl: modifications (of names), taken from the european patent patent bulletin |
Owner name: ADOLF WUERTH GMBH & CO. KG Effective date: 20090121 |
|
| REG | Reference to a national code |
Ref country code: ES Ref legal event code: FG2A Ref document number: 2315688 Country of ref document: ES Kind code of ref document: T3 |
|
| REG | Reference to a national code |
Ref country code: IE Ref legal event code: FD4D |
|
| PG25 | Lapsed in a contracting state [announced via postgrant information from national office to epo] |
Ref country code: BG Free format text: LAPSE BECAUSE OF FAILURE TO SUBMIT A TRANSLATION OF THE DESCRIPTION OR TO PAY THE FEE WITHIN THE PRESCRIBED TIME-LIMIT Effective date: 20090101 |
|
| PG25 | Lapsed in a contracting state [announced via postgrant information from national office to epo] |
Ref country code: FI Free format text: LAPSE BECAUSE OF FAILURE TO SUBMIT A TRANSLATION OF THE DESCRIPTION OR TO PAY THE FEE WITHIN THE PRESCRIBED TIME-LIMIT Effective date: 20081001 Ref country code: PL Free format text: LAPSE BECAUSE OF FAILURE TO SUBMIT A TRANSLATION OF THE DESCRIPTION OR TO PAY THE FEE WITHIN THE PRESCRIBED TIME-LIMIT Effective date: 20081001 Ref country code: PT Free format text: LAPSE BECAUSE OF FAILURE TO SUBMIT A TRANSLATION OF THE DESCRIPTION OR TO PAY THE FEE WITHIN THE PRESCRIBED TIME-LIMIT Effective date: 20090302 |
|
| PG25 | Lapsed in a contracting state [announced via postgrant information from national office to epo] |
Ref country code: EE Free format text: LAPSE BECAUSE OF FAILURE TO SUBMIT A TRANSLATION OF THE DESCRIPTION OR TO PAY THE FEE WITHIN THE PRESCRIBED TIME-LIMIT Effective date: 20081001 Ref country code: RO Free format text: LAPSE BECAUSE OF FAILURE TO SUBMIT A TRANSLATION OF THE DESCRIPTION OR TO PAY THE FEE WITHIN THE PRESCRIBED TIME-LIMIT Effective date: 20081001 Ref country code: DK Free format text: LAPSE BECAUSE OF FAILURE TO SUBMIT A TRANSLATION OF THE DESCRIPTION OR TO PAY THE FEE WITHIN THE PRESCRIBED TIME-LIMIT Effective date: 20081001 Ref country code: IE Free format text: LAPSE BECAUSE OF FAILURE TO SUBMIT A TRANSLATION OF THE DESCRIPTION OR TO PAY THE FEE WITHIN THE PRESCRIBED TIME-LIMIT Effective date: 20081001 |
|
| PLBE | No opposition filed within time limit |
Free format text: ORIGINAL CODE: 0009261 |
|
| STAA | Information on the status of an ep patent application or granted ep patent |
Free format text: STATUS: NO OPPOSITION FILED WITHIN TIME LIMIT |
|
| PG25 | Lapsed in a contracting state [announced via postgrant information from national office to epo] |
Ref country code: CZ Free format text: LAPSE BECAUSE OF FAILURE TO SUBMIT A TRANSLATION OF THE DESCRIPTION OR TO PAY THE FEE WITHIN THE PRESCRIBED TIME-LIMIT Effective date: 20081001 |
|
| 26N | No opposition filed |
Effective date: 20090702 |
|
| PG25 | Lapsed in a contracting state [announced via postgrant information from national office to epo] |
Ref country code: SK Free format text: LAPSE BECAUSE OF FAILURE TO SUBMIT A TRANSLATION OF THE DESCRIPTION OR TO PAY THE FEE WITHIN THE PRESCRIBED TIME-LIMIT Effective date: 20081001 |
|
| REG | Reference to a national code |
Ref country code: CH Ref legal event code: PFA Owner name: ADOLF WUERTH GMBH & CO. KG Free format text: ADOLF WUERTH GMBH & CO. KG#REINHOLD-WUERTH-STRASSE 12-16#74653 KUENZELSAU (DE) -TRANSFER TO- ADOLF WUERTH GMBH & CO. KG#REINHOLD-WUERTH-STRASSE 12-16#74653 KUENZELSAU (DE) |
|
| BERE | Be: lapsed |
Owner name: ADOLF WURTH G.M.B.H. & CO. KG Effective date: 20090831 |
|
| PG25 | Lapsed in a contracting state [announced via postgrant information from national office to epo] |
Ref country code: MC Free format text: LAPSE BECAUSE OF NON-PAYMENT OF DUE FEES Effective date: 20090831 |
|
| GBPC | Gb: european patent ceased through non-payment of renewal fee |
Effective date: 20090831 |
|
| PG25 | Lapsed in a contracting state [announced via postgrant information from national office to epo] |
Ref country code: BE Free format text: LAPSE BECAUSE OF NON-PAYMENT OF DUE FEES Effective date: 20090831 |
|
| PG25 | Lapsed in a contracting state [announced via postgrant information from national office to epo] |
Ref country code: GR Free format text: LAPSE BECAUSE OF FAILURE TO SUBMIT A TRANSLATION OF THE DESCRIPTION OR TO PAY THE FEE WITHIN THE PRESCRIBED TIME-LIMIT Effective date: 20090102 |
|
| PG25 | Lapsed in a contracting state [announced via postgrant information from national office to epo] |
Ref country code: GB Free format text: LAPSE BECAUSE OF NON-PAYMENT OF DUE FEES Effective date: 20090831 |
|
| PG25 | Lapsed in a contracting state [announced via postgrant information from national office to epo] |
Ref country code: LU Free format text: LAPSE BECAUSE OF NON-PAYMENT OF DUE FEES Effective date: 20090831 |
|
| PG25 | Lapsed in a contracting state [announced via postgrant information from national office to epo] |
Ref country code: HU Free format text: LAPSE BECAUSE OF FAILURE TO SUBMIT A TRANSLATION OF THE DESCRIPTION OR TO PAY THE FEE WITHIN THE PRESCRIBED TIME-LIMIT Effective date: 20090402 |
|
| PG25 | Lapsed in a contracting state [announced via postgrant information from national office to epo] |
Ref country code: TR Free format text: LAPSE BECAUSE OF FAILURE TO SUBMIT A TRANSLATION OF THE DESCRIPTION OR TO PAY THE FEE WITHIN THE PRESCRIBED TIME-LIMIT Effective date: 20081001 |
|
| PG25 | Lapsed in a contracting state [announced via postgrant information from national office to epo] |
Ref country code: CY Free format text: LAPSE BECAUSE OF FAILURE TO SUBMIT A TRANSLATION OF THE DESCRIPTION OR TO PAY THE FEE WITHIN THE PRESCRIBED TIME-LIMIT Effective date: 20081001 |
|
| PGFP | Annual fee paid to national office [announced via postgrant information from national office to epo] |
Ref country code: AT Payment date: 20110812 Year of fee payment: 8 Ref country code: SE Payment date: 20110824 Year of fee payment: 8 |
|
| PGFP | Annual fee paid to national office [announced via postgrant information from national office to epo] |
Ref country code: NL Payment date: 20110825 Year of fee payment: 8 |
|
| REG | Reference to a national code |
Ref country code: CH Ref legal event code: PUE Owner name: WUERTH INTERNATIONAL AG Free format text: ADOLF WUERTH GMBH & CO. KG#REINHOLD-WUERTH-STRASSE 12-16#74653 KUENZELSAU (DE) -TRANSFER TO- WUERTH INTERNATIONAL AG#ASPERMONTSTRASSE 1#7000 CHUR (CH) |
|
| REG | Reference to a national code |
Ref country code: NL Ref legal event code: SD Effective date: 20120529 |
|
| REG | Reference to a national code |
Ref country code: FR Ref legal event code: TP Owner name: WURTH INTERNATIONAL AG, CH Effective date: 20120625 |
|
| REG | Reference to a national code |
Ref country code: ES Ref legal event code: PC2A Owner name: WUERTH INTERNATIONAL AG Effective date: 20120906 |
|
| REG | Reference to a national code |
Ref country code: NL Ref legal event code: V1 Effective date: 20130301 |
|
| REG | Reference to a national code |
Ref country code: AT Ref legal event code: MM01 Ref document number: 409655 Country of ref document: AT Kind code of ref document: T Effective date: 20120831 |
|
| PG25 | Lapsed in a contracting state [announced via postgrant information from national office to epo] |
Ref country code: NL Free format text: LAPSE BECAUSE OF NON-PAYMENT OF DUE FEES Effective date: 20130301 Ref country code: SE Free format text: LAPSE BECAUSE OF NON-PAYMENT OF DUE FEES Effective date: 20120901 |
|
| REG | Reference to a national code |
Ref country code: SE Ref legal event code: EUG |
|
| PG25 | Lapsed in a contracting state [announced via postgrant information from national office to epo] |
Ref country code: AT Free format text: LAPSE BECAUSE OF NON-PAYMENT OF DUE FEES Effective date: 20120831 |
|
| REG | Reference to a national code |
Ref country code: FR Ref legal event code: PLFP Year of fee payment: 13 |
|
| REG | Reference to a national code |
Ref country code: FR Ref legal event code: PLFP Year of fee payment: 14 |
|
| PGFP | Annual fee paid to national office [announced via postgrant information from national office to epo] |
Ref country code: IT Payment date: 20170828 Year of fee payment: 14 Ref country code: CH Payment date: 20170821 Year of fee payment: 14 Ref country code: ES Payment date: 20170928 Year of fee payment: 14 Ref country code: DE Payment date: 20170822 Year of fee payment: 14 Ref country code: FR Payment date: 20170822 Year of fee payment: 14 |
|
| REG | Reference to a national code |
Ref country code: DE Ref legal event code: R119 Ref document number: 502004008166 Country of ref document: DE |
|
| REG | Reference to a national code |
Ref country code: CH Ref legal event code: PL |
|
| PG25 | Lapsed in a contracting state [announced via postgrant information from national office to epo] |
Ref country code: CH Free format text: LAPSE BECAUSE OF NON-PAYMENT OF DUE FEES Effective date: 20180831 Ref country code: LI Free format text: LAPSE BECAUSE OF NON-PAYMENT OF DUE FEES Effective date: 20180831 |
|
| PG25 | Lapsed in a contracting state [announced via postgrant information from national office to epo] |
Ref country code: DE Free format text: LAPSE BECAUSE OF NON-PAYMENT OF DUE FEES Effective date: 20190301 Ref country code: IT Free format text: LAPSE BECAUSE OF NON-PAYMENT OF DUE FEES Effective date: 20180831 |
|
| PG25 | Lapsed in a contracting state [announced via postgrant information from national office to epo] |
Ref country code: FR Free format text: LAPSE BECAUSE OF NON-PAYMENT OF DUE FEES Effective date: 20180831 |
|
| REG | Reference to a national code |
Ref country code: ES Ref legal event code: FD2A Effective date: 20190918 |
|
| PG25 | Lapsed in a contracting state [announced via postgrant information from national office to epo] |
Ref country code: ES Free format text: LAPSE BECAUSE OF NON-PAYMENT OF DUE FEES Effective date: 20180901 |