EP1570965A2 - Frästisch - Google Patents

Frästisch Download PDF

Info

Publication number
EP1570965A2
EP1570965A2 EP05101604A EP05101604A EP1570965A2 EP 1570965 A2 EP1570965 A2 EP 1570965A2 EP 05101604 A EP05101604 A EP 05101604A EP 05101604 A EP05101604 A EP 05101604A EP 1570965 A2 EP1570965 A2 EP 1570965A2
Authority
EP
European Patent Office
Prior art keywords
particular according
spring element
work plate
milling table
spring
Prior art date
Legal status (The legal status is an assumption and is not a legal conclusion. Google has not performed a legal analysis and makes no representation as to the accuracy of the status listed.)
Granted
Application number
EP05101604A
Other languages
English (en)
French (fr)
Other versions
EP1570965B1 (de
EP1570965A3 (de
Inventor
Uwe Radermacher
Current Assignee (The listed assignees may be inaccurate. Google has not performed a legal analysis and makes no representation or warranty as to the accuracy of the list.)
Wolfcraft GmbH
Original Assignee
Wolfcraft GmbH
Priority date (The priority date is an assumption and is not a legal conclusion. Google has not performed a legal analysis and makes no representation as to the accuracy of the date listed.)
Filing date
Publication date
Family has litigation
First worldwide family litigation filed litigation Critical https://patents.darts-ip.com/?family=34751406&utm_source=google_patent&utm_medium=platform_link&utm_campaign=public_patent_search&patent=EP1570965(A2) "Global patent litigation dataset” by Darts-ip is licensed under a Creative Commons Attribution 4.0 International License.
Application filed by Wolfcraft GmbH filed Critical Wolfcraft GmbH
Publication of EP1570965A2 publication Critical patent/EP1570965A2/de
Publication of EP1570965A3 publication Critical patent/EP1570965A3/de
Application granted granted Critical
Publication of EP1570965B1 publication Critical patent/EP1570965B1/de
Anticipated expiration legal-status Critical
Expired - Lifetime legal-status Critical Current

Links

Images

Classifications

    • BPERFORMING OPERATIONS; TRANSPORTING
    • B27WORKING OR PRESERVING WOOD OR SIMILAR MATERIAL; NAILING OR STAPLING MACHINES IN GENERAL
    • B27CPLANING, DRILLING, MILLING, TURNING OR UNIVERSAL MACHINES FOR WOOD OR SIMILAR MATERIAL
    • B27C5/00Machines designed for producing special profiles or shaped work, e.g. by rotary cutters; Equipment therefor
    • B27C5/02Machines with table
    • BPERFORMING OPERATIONS; TRANSPORTING
    • B27WORKING OR PRESERVING WOOD OR SIMILAR MATERIAL; NAILING OR STAPLING MACHINES IN GENERAL
    • B27CPLANING, DRILLING, MILLING, TURNING OR UNIVERSAL MACHINES FOR WOOD OR SIMILAR MATERIAL
    • B27C5/00Machines designed for producing special profiles or shaped work, e.g. by rotary cutters; Equipment therefor
    • B27C5/02Machines with table
    • B27C5/06Arrangements for clamping or feeding work
    • BPERFORMING OPERATIONS; TRANSPORTING
    • B27WORKING OR PRESERVING WOOD OR SIMILAR MATERIAL; NAILING OR STAPLING MACHINES IN GENERAL
    • B27CPLANING, DRILLING, MILLING, TURNING OR UNIVERSAL MACHINES FOR WOOD OR SIMILAR MATERIAL
    • B27C5/00Machines designed for producing special profiles or shaped work, e.g. by rotary cutters; Equipment therefor
    • B27C5/10Portable hand-operated wood-milling machines; Routers

Definitions

  • the invention initially relates to a milling table with a work plate, the one Opening for the passage of the milling cutter has, from one at the bottom the work plate fastened drive machine especially in the form of a Router is drivable, with a mounting flange of the drive machine by means arranged on the underside of the work plate centering laterally position fixable and clamped by means of claws against the bottom, which Claws are each secured by a clamping pin on the worksheet.
  • a milling table has a work plate.
  • the work plate is a Opening.
  • On the underside of the worksheet is a drive machine.
  • the Drive machine has a drive shaft. On the drive shaft sits Feed.
  • a cutter such as a milling cutter is held. This protrudes through the opening of the work plate.
  • the bottom can the work plate provided with a support frame, for example with support legs be.
  • On the top of the work plate is a stop on which the workpiece is feasible. This, in a horizontal direction on the Work plate guided sliding and in the displacement positions fixable stop is also called a rip fence.
  • the Work plate can still be a transverse, so parallel to the stop running Have leadership in which there may be another stop.
  • Parallel stop spring elements can be attached, as for example from US 2002 / 0,162,439 A1 are known. These spring elements serve the Hold down the workpiece against the work plate.
  • a T-slot may be provided, in which a sliding block rests, with its Help the spring element can be attached to the rip fence.
  • the But spring element can also in the other, possibly also as a T-slot trained guide groove of the worksheet be arranged to go through its spring force a pressure effect of the workpiece against the Generate rip fence.
  • the prime mover which is attached to the underside of the worksheet, can be a router.
  • This router has a mounting flange, which has a essentially circular or circle-like outline contour having.
  • the end face of this mounting flange is against the Bottom of the work plate or against the bottom of a lower side Recess of the work plate pressed. For this serve Spannpratzen.
  • the lateral Position is fixed by means of centering organs. These attack at three or four Circumferential locations on the mounting flange. In the mounting position is the Mounting flange in contact with this centering device.
  • the invention is based on the object, a generic milling table or accessories for this purpose benefit further training.
  • Claim 1 initially and essentially provides that the Centering is a centering disc with eccentric opening. By the Opening of a claw carrying a claw protrudes.
  • the bottom of the Centering disc can be slightly spaced from the underside of the worktop be.
  • a direct installation of the centering disc on the underside of the work plate is preferably only in the immediate vicinity of the eccentric Opening given.
  • the centering disc can have a circular outline contour exhibit.
  • Within the centering a nut can be arranged so that the centering disc with the clamping pin, which has an external thread may have, can be screwed. With a mother can under Forming a counter-nut effect, the centering on the spigot be attached.
  • the clamping pin rotates in an opening of the work plate rests, so that by rotation of the Clamping the clamping effect can be achieved. Then it serves Centering disc not only the lateral position fixation of the drive machine, but also the rotational fixation of the clamping pin.
  • the clamping claw can a Be plastic part.
  • On this pressure piece can be a knurled or toggle nut acting on is screwed on the chuck.
  • circular cylindrical support shoulder supports the claw on the bottom of the Recess or on the underside of the work plate.
  • the other arm of the Pratze presses on the mounting flange of the prime mover.
  • the clamping pin in plug connection stands with the retaining plate. He has for this purpose a cone-shaped end portion, which rests in a corresponding reduction in the retaining plate.
  • the reduction can be generated by bending and has a lateral recess, in which protrudes from the conical surface of the end portion of the clamping pin Nose for rotation can occur.
  • the attachment of the clamping pin to the work plate has its own Importance.
  • the top of the worksheet may be pot-like depressions have, in which plate-shaped holding discs eino.
  • the back of the Retaining washers has a threaded flange.
  • the threaded flange protrudes into one Through hole. In the threaded flange is the chuck screwed.
  • the invention further relates to a milling table with a work plate and a arranged on the work plate longitudinal stop, which in a first horizontal direction on the worksheet guided displaceable Stop jaw carrier has, which stop jaw carrier two mutually displaceable and lockable in the transfer points Stop jaws having, in a second horizontal direction aligned T-shaped guide groove for receiving a sliding block, on which a perpendicular to the worksplate extension plane Spring element is fastened.
  • the stop jaws are releasably attached to the stop jaw carrier.
  • fastening means in particular in the form of a clamping screw and a Clamping nut screwed onto the clamping screw.
  • Clamping screw / nut can be the stop jaw along a support surface of the stop jaw carrier are displaced in the horizontal direction.
  • the two Clamping jaws can thus be shifted towards each other.
  • the distance of Both jaws can, according to this displacement on the Diameter of the respective milling cutter can be adjusted.
  • the router is located in the space between the two stop jaws.
  • the invention provides that the walls of the guide groove that the recording serve the sliding block, on the one hand from the stop bracket and on the other hand be formed by the stop jaw.
  • the Support surface of the jaw carrier on which the stop jaw in Horizontal direction displaceable and fixable against displaceability L-shaped be configured.
  • the L-leg forms the one, also L-shaped Wall of the T-slot.
  • the opposite of this wall Wall is formed by a narrow longitudinal edge of the stop jaw.
  • This T-slot is the sliding block, which carries the spring element.
  • the invention further relates to a spring element for a milling table or the like, as is known in particular from US 2002 / 0,162,439 A1.
  • the previously known spring element is expensive. It has several, comb-like arranged spring bars.
  • the spring element has a circumferentially closed Leaf spring.
  • This leaf spring may have a substantially elliptical shape , wherein the large semiaxis of the ellipse is preferably more than twice as long as the small half-axis of the ellipse. That's the leaf spring having spring element may consist of plastic.
  • the spring element also has a support body. This has a longitudinal slot. By the Longitudinal slot can protrude the shaft of a clamping screw or a clamping pin, which interacts with the sliding block.
  • the leaf spring integrally attached to the support body.
  • the thus configured spring element can as Injection molded part are manufactured.
  • the support body is preferably in the field of formed semi-minor axis of the ellipse of the leaf spring.
  • the longitudinal slot can then lie in aligned extension to the small half-axis.
  • Adjustment aid is used in the area of the narrow ends of the elliptical spring attached stage.
  • the vertical position of the spring element to the work plate or also the distance position of the spring element for rip fence can help be set to this level. It is based on the thickness or width of the Workpiece set. Since the slightly curved belly of the leaf spring over protrudes this abutment surface, the leaf spring under shortening the small semi-axis when moving the workpiece clamped.
  • the stage can be formed by a kink of the spring. But it is also possible, the stage to train from a hump.
  • a reinforcing plate Metal lies on the bottom of the recess. Since the material thickness of the work plate in the area of the recess is reduced, this reinforcing plate ensures an increase in stability. Due to the reduced material thickness, the reinforcing plate is at the edge the depression attached. This essentially forms the shape of a four-leaf clover forming reinforcing plate fastening tabs out. They are preferably two diametrically opposite ones Fixing tabs provided, forming a right angle protrude from the edge of the reinforcing plate. With their overhanging edge Sections is the reinforcing plate with a section of the edge of the Screwed recess.
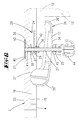
  • the invention relates to a milling table 1.
  • This has a horizontal Work plate 2. From the bottom 4 of the work plate 2 project obliquely L-shaped Leg 9 from whose free ends, each with a foot cap 10 made of rubber are provided.
  • the bottom 4 has at its two longitudinal edge sides respectively an angle rail 14, which serves for stabilization.
  • At the front Angle rail 14 is also a housing 11 for a switch.
  • a recess 16 which has a parallel to the bottom 4 extending bottom 15 forms. Following this depression 16 the material thickness of the work plate 2 is reduced in the central area.
  • a circular opening 22 Approximately in the middle of a rounded wall having recess 16 there is a circular opening 22. In the embodiments inserted in the opening 22, a reducer 18, the edge of a stage 19th such that the surface of the reducer 18 with the top 23rd the work plate 2 is aligned. In the center, this has a circular floor plan having reducer 18 an opening 20 through which a router over the top 23 can protrude.
  • the cutter not shown in the figures belongs to a ground 15 of the Deepening 16 attachable router 12.
  • the router 12 which is shown in phantom in the figures, has one at the end of the milling cutter, and only in the drawings dash-dotted attachment flange 13.
  • This mounting flange 13 may have a substantially circular floor plan.
  • centering discs 28 are provided on the floor 15
  • the recess 16 is a total of four centering 28th
  • the centering discs 28 have a cup-shaped shape. They are circular and have an eccentric opening 29.
  • each recess 39 brought in.
  • the retaining plate 40 has a backward one Threaded flange 41.
  • this threaded flange 41 is a threaded pin 27th screwed. This forms a clamping pin.
  • the clamping pin 27 can screwed into the threaded flange 41 section also there be glued.
  • the holding plate 40 is covered by a plastic cap 21, whose Top to the top 23 of the work plate 2 is flush.
  • the clamping pin 27 extends through the eccentric opening 29 of the centering 28, which rests directly on the nut 31. Under interposition of a another washer 42 acts a clamping nut 30 against the Centering disk 28. When the clamping nut 30 is loosened, the centering disk 28 to be pivoted about the clamping pin 27. By tightening the Clamping nut 30, the pivotal position of the centering disc 28 with respect to the clamping pin 27 are fixed.
  • a toggle 44th screwed On the free end of the clamping pin 27 is a toggle 44th screwed. An intermediate portion of the clamping pin 27 passes through a Longitudinal slot 27 of a clamping claw 26. The pointing to the toggle nut 44 Back of the clamping claw 26 forms a corrugated pressure edge 34. On this corrugated pressure edge 24 is supported by the chuck 27th penetrated pressure piece 45 from, against which interposition of a another washer 25, the toggle 44 acts.
  • the clamping pin 27 is thus simultaneously bearing pin of the centering pulley 28th and the clamping claw 26.
  • An end portion 26 'of the clamping claw 26 presses on the mounting flange thirteenth the router 12.
  • the other end portion 26 'of the clamping claw 26 forms a rounded support shoulder 37, located on the bottom 15 of the recess 16th supported.
  • the accessed by the clamping pin 27 longitudinal slot 17 of Clamp 26 is slightly offset eccentrically to the end 26 'between the both ends 26 ', 26 "of the clamping claw 26.
  • the clamping claw 26 is as well as the toggle nut 44 made of plastic.
  • the holding plate 40 has pointed projections 62 which dig into the bottom of the recess 39 can to rotationally fix the retaining disk 40.
  • the retaining plate 40 has in Center a depression 33 formed by an expression 33.
  • a conical end portion 32 of the clamping pin 27 In the subsidence 33 superimposed a conical end portion 32 of the clamping pin 27. From the conical End portion 32 of the clamping pin 27 protrudes laterally a nose 35. This nose 35th engages in a recess 36 of the countersink 33, so that the clamping pin 27th is rotationally secured. Otherwise, the clamping pin, as well as in the in FIG. 6 illustrated embodiment of a nut 31 against the work plate. 2 held.
  • This guide slot 5 On the upper side 23 of the work plate 2 is a longitudinal direction (Y direction) extending guide slot 5.
  • This guide slot 5 has a T-shaped Profile.
  • a sliding block can glide, which an angle stop 3 is assigned.
  • the angle stop 3 can by means of a Clamping nut 6 are fixed in its angular position. He can be within the Guide slot 5 are moved in the Y direction.
  • a clamping nut 58 holds a further described below Spring element 54 also in the guide slot 5.
  • the clamping nut 58th fixes the spring element 54 in both the X and Y directions.
  • guide grooves 7 are spaced apart. Also store in these guide grooves 7 Sliding blocks that interact with clamping nuts 61. By tightening the clamping nuts 61, a stop bracket 48 are fixed in position. When loosening clamping nuts 61, the stop jaw carrier 48 in the X direction be moved. Its distance to the router can thereby be set.
  • the stop jaw carrier 48 forms a substantially perpendicular to Top 23 extending support surface 55 from. On this support surface 55 store two stop jaws 51.
  • the stop jaws 51 can in the direction of Y. be shifted towards each other.
  • a pull piece 56 which is designed as a carriage bolt, a longitudinal slot 49. This allows the Distance between the two facing each other narrow edges 51 "of Stop jaws 51 on the diameter of the milling cutter, not shown be set.
  • the cutter is located below a finger guard 8 between the two stop jaws 51st
  • a Clamping nut 59 On the back 57 of the jaw carrier 58 is a Clamping nut 59 which is screwed onto the pulling piece 56.
  • Clamping nut 59 By means of Clamping nut 59, the position of the stop jaw 51 can be fixed.
  • the Longitudinal gussets 51 'of the stop jaw 51 have an L-shaped configuration. Inside is an L-shaped portion 48 'of the stop jaw carrier opposite.
  • the L-shaped portion 48 'and the narrow edge 51' together form a T-shaped Guiding 52 for a sliding block 53 from.
  • a spring element 54 At this Sliding block 53 is a spring element 54 fixed. This is done by means of a Clamping nut 60.
  • the above-mentioned spring elements 54 on the one hand form a hold-down, which presses the workpiece against the top 23 of the work plate 2, and on the other side a horizontal pressure piece, the workpiece against the Stop jaws 48 presses.
  • the spring elements 54 have the following described shape:
  • the spring element 54 consists of a plastic part. It has an elongated support body 46 which has a longitudinal slot 56. With the help of the slot 56, the spring element 54 on the work plate 2 or attached to the stop jaw carrier 48. For this purpose, a clamping screw passes through or the like, the slot 56th
  • At one end of the support body 64 is an elliptical leaf spring 63 formed.
  • the belly 69 has a large radius.
  • the two Narrowing of the leaf spring 66 have a small radius.
  • the step 67 may by a kink 68 of the end portion of the leaf spring 63rd be formed. But it is also envisaged that in this area Leaf spring 63 forms a step 67, which on the top of the workpiece can be hung up.
  • the belly 69 of the leaf spring 63 can escape in the direction of the support body 64.
  • the Elasticity of the leaf spring 63 then provides the necessary contact pressure on the one hand against the top 23 of the work plate 2 and on the other hand against the Stop jaw 51.
  • Fig. 12 shows a reinforcing plate 71, which in the recess 16 of Bottom 4 of the work plate 2 can be used.
  • the reinforcing plate 71 has a substantially cloverleaf contour outline, made of steel and has in the middle of an opening 72, the opening of the work plate 2, the Reducer accommodates 18, is congruent. Furthermore are located in the Reinforcement plate 71 mounting holes 73, which also for the passage of the Chuck 27 are suitable.
  • the outline contour of the reinforcing plate 71 corresponds to the outline contour of they receive recess 16 so that the reinforcing plate 71 on the Floor 15 of the recess 16 can be placed. This will be the opposite the rest of the work plate 2 material-reduced bottom 15 reinforced.
  • the Attachment of the reinforcing plate 71 is preferably carried out with the Deepening 16 surrounding edge of the bottom 4. For this purpose are at the Reinforcing plate 71 substantially at right angles projecting Mounting straps 74 provided. In the embodiment has the Reinforcing plate 71 in each case in the region of two opposing Constrictions a fastening tab 74.
  • the directly from the edge of the Reinforcing plate 71 protruding leg 74 'of the fastening tab 74 has a length corresponding to the depth of the recess 16.
  • the one from this thigh 74 'right-angled mounting leg 74' has a Mounting hole through which screwed a mounting screw can be, with the fastening tab 74 with the edge region of Well 16 can be attached.
  • the clamping pins 27 project through Openings 73 of the reinforcing plate 71, so that in Fig. 6 recognizable washer 38 directly on the reinforcing plate can support.
  • the designated by the reference numeral 19 in Fig. 9 stage can be formed from the edge of the opening 72, so that the reducer 18 itself can be supported on the edge of the opening 72.

Landscapes

  • Life Sciences & Earth Sciences (AREA)
  • Engineering & Computer Science (AREA)
  • Mechanical Engineering (AREA)
  • Wood Science & Technology (AREA)
  • Forests & Forestry (AREA)
  • Jigs For Machine Tools (AREA)
  • Milling, Drilling, And Turning Of Wood (AREA)
  • Milling Processes (AREA)
  • Springs (AREA)

Abstract

Die Erfindung betrifft einen Frästisch (1) mit einer Werkplatte (2), die eine Öffnung (22) zum Durchtritt des Fräsers aufweist, der von einer an der Unterseite (4) der Werkplatte (2) befestigbaren Antriebsmaschine insbesondere in Form einer Oberfräse (12) antreibbar ist, wobei ein Befestigungsflansch (13) der Antriebsmaschine mittels auf der Unterseite (4) der Werkplatte (2) angeordneten Zentrierorgan (28) lateral lagefixierbar und mittels Pratzen (26) gegen die Unterseite (4,15) klemmbar ist, welche Pratzen (26) jeweils mittels eines Spannzapfens (27) an der Werkplatte (2) befestigt sind. Wesentlich ist, dass die Zentrierorgane Zentrierscheiben (28) mit exzentrischen Öffnungen (29) sind, durch welche jeweils ein Spannzapfen (27) ragt. Wesentlich ist ferner ein Federelement in Form einer umfangsgeschlossenen Blattfeder.

Description

Die Erfindung betrifft zunächst einen Frästisch mit einer Werkplatte, die eine Öffnung zum Durchtritt des Fräsers aufweist, der von einer an der Unterseite der Werkplatte befestigbaren Antriebsmaschine insbesondere in Form einer Oberfräse antreibbar ist, wobei ein Befestigungsflansch der Antriebsmaschine mittels auf der Unterseite der Werkplatte angeordneten Zentrierorganen lateral lagefixierbar und mittels Pratzen gegen die Unterseite klemmbar ist, welche Pratzen jeweils mittels eines Spannzapfens an der Werkplatte befestigt sind.
Derartige Frästische sind bekannt aus der US 6,360,798.
Ein Frästisch besitzt eine Werkplatte. In der Werkplatte befindet sich eine Öffnung. Unterseitig der Werkplatte befindet sich eine Antriebsmaschine. Die Antriebsmaschine besitzt eine Antriebswelle. Auf der Antriebswelle sitzt ein Futter. In dem Futter wird ein Fräser, beispielsweise ein Fingerfräser gehalten. Dieser durchragt die Öffnung der Werkplatte. Zusätzlich kann die Unterseite der Werkplatte mit einem Traggestell, beispielsweise mit Tragbeinen versehen sein. Auf der Oberseite der Werkplatte befindet sich ein Anschlag, an welchem das Werkstück führbar ist. Diesen, in einer Horizontalrichtung auf der Werkplatte geführt verschiebbaren und in den Verschiebestellungen festlegbaren Anschlag bezeichnet man auch als Parallelanschlag. Die Werkplatte kann noch eine quer dazu, also parallel zum Anschlag verlaufende Führung aufweisen, in welcher sich ein weiterer Anschlag befinden kann. Am Parallelanschlag können Federelemente befestigt werden, wie sie beispielsweise aus der US 2002/0,162,439 A1 bekannt sind. Diese Federelemente dienen dem Niederhalten des Werkstückes gegen die Werkplatte. Am Parallelanschlag kann eine T-Nut vorgesehen sein, in welcher ein Kulissenstein einliegt, mit dessen Hilfe das Federelement am Parallelanschlag befestigt werden kann. Das Federelement kann aber auch in der weiteren, gegebenenfalls ebenfalls als T-Nut ausgebildeten Führungsnut der Werkplatte angeordnet sein, um durch seine Federkraft eine Andruckwirkung des Werkstückes gegen den Parallelanschlag zu erzeugen.
Die Antriebsmaschine, die auf der Unterseite der Werkplatte befestigt ist, kann eine Oberfräse sein. Diese Oberfräse besitzt einen Befestigungsflansch, der eine im Wesentlichen kreisrunde oder der Kreisform ähnliche Grundrisskontur aufweist. Die Stirnfläche dieses Befestigungsflansches wird gegen die Unterseite der Werkplatte bzw. gegen den Boden einer unterseitigen Aussparung der Werkplatte gepresst. Hierzu dienen Spannpratzen. Die laterale Position wird mittels Zentrierorganen fixiert. Diese greifen an drei oder vier Umfangsstellen am Befestigungsflansch an. In der Montagestellung liegt der Befestigungsflansch in berührender Anlage an diesem Zentrierorgan.
Der Erfindung liegt die Aufgabe zugrunde, einen gattungsgemäßen Frästisch bzw. Zubehör hierzu gebrauchsvorteilhaft weiterzubilden.
Gelöst wird die Aufgabe durch die in den Ansprüchen angegebene Erfindung.
Der Anspruch 1 sieht zunächst und im Wesentlichen vor, dass das Zentrierorgan eine Zentrierscheibe mit exzentrischer Öffnung ist. Durch die Öffnung ragt der eine Pratze tragende Spannzapfen. Die Unterseite der Zentrierscheibe kann von der Werkplattenunterseite geringfügig beabstandet sein. Eine direkte Anlage der Zentrierscheibe an der Unterseite der Werkplatte ist vorzugsweise nur im unmittelbaren Umgebungsbereich der exzentrischen Öffnung gegeben. Die Zentrierscheibe kann eine kreisförmige Grundrisskontur aufweisen. Innerhalb der Zentrierscheibe kann eine Mutter angeordnet sein, so dass die Zentrierscheibe mit dem Spannzapfen, der ein Außengewinde aufweisen kann, verschraubt werden kann. Mit einer Mutter kann unter Ausbildung eines Kontermuttereffektes die Zentrierscheibe am Spannzapfen befestigt werden. Es ist aber auch möglich, dass der Spannzapfen drehbar in einer Öffnung der Werkplatte einliegt, so dass durch Drehung des Spannzapfens die Klemmwirkung erzielt werden kann. Dann dient die Zentrierscheibe nicht nur der lateralen Lagefixierung der Antriebsmaschine, sondern auch der Drehfixierung des Spannzapfens. Die Spannpratze kann ein Kunststoffteil sein. Auf eine gewellte Druckflanke, die einen Längsschlitz aufweist, durch welchen der Spannzapfen ragt, kann ein Druckstück wirken. Auf dieses Druckstück kann eine Rändel- oder Knebelmutter wirken, die auf den Spannzapfen aufgeschraubt wird. Mit einer insbesondere kreiszylinderförmigen Stützschulter stützt sich die Pratze auf dem Boden der Vertiefung oder auf der Unterseite der Werkplatte ab. Der andere Arm der Pratze drückt auf den Befestigungsflansch der Antriebsmaschine. In einer alternativen Variante ist vorgesehen, dass der Spannzapfen in Steckverbindung mit der Halteplatte steht. Er besitzt hierzu einen konusförmigen Endabschnitt, der in einer entsprechenden Senkung der Halteplatte einliegt. Die Senkung kann durch Biegung erzeugt sein und weist eine seitliche Aussparung auf, in welche eine aus der Konusfläche des Endabschnittes des Spannzapfens ragende Nase zwecks Drehsicherung eintreten kann.
Die Befestigung des Spannzapfens an der Werkplatte hat eine eigenständige Bedeutung. Die Oberseite der Werkplatte kann topfartige Vertiefungen aufweisen, in welchen tellerförmige Haltescheiben einliegen. Die Rückseite der Haltescheiben besitzt einen Gewindeflansch. Der Gewindeflansch ragt in eine Durchgangsbohrung. In dem Gewindeflansch ist der Spannzapfen eingeschraubt.
Die Erfindung betrifft des Weiteren einen Frästisch mit einer Werkplatte und einem auf der Werkplatte angeordneten Längsanschlag, welcher einen in einer ersten Horizontalrichtung auf der Werkplatte geführten verlagerbaren Anschlagbackenträger aufweist, welcher Anschlagbackenträger zwei aufeinander zu verlagerbare und in den Verlagerungsstellen festklemmbare Anschlagbacken aufweist, mit in einer zweiten Horizontalrichtung ausgerichteten T-förmigen Führungsnut zur Aufnahme eines Kulissensteines, an welchem ein senkrecht zur Werkplattenerstreckungsebene wirkendes Federelement befestigbar ist.
Die Anschlagbacken sind lösbar am Anschlagbackenträger befestigt. Hierzu dienen Befestigungsmittel insbesondere in Form einer Spannschraube und einer auf die Spannschraube aufgeschraubten Spannmutter. Bei gelöster Spannschraube/ -mutter kann die Anschlagbacke entlang einer Abstützfläche des Anschlagbackenträgers in Horizontalrichtung verlagert werden. Die beiden Spannbacken können somit aufeinander zu verlagert werden. Der Abstand der beiden Spannbacken kann zufolge dieser Verschiebemöglichkeit auf den Durchmesser des jeweiligen Fräsers eingestellt werden. Der Fräser befindet sich im Zwischenraum zwischen den beiden Anschlagbacken.
Die Erfindung sieht vor, dass die Wände der Führungsnut, die der Aufnahme des Kulissensteines dienen, einerseits vom Anschlagbackenträger und andererseits von der Anschlagbacke ausgebildet werden. Hierzu kann die Abstützfläche des Anschlagbackenträgers, auf welcher die Anschlagbacke in Horizontalrichtung verlagerbar und gegen Verlagerbarkeit festlegbar aufliegt, L-förmig ausgestaltet sein. Der L-Schenkel bildet dabei die eine, ebenfalls L-förmige Wandung der T-Nut aus. Die dieser Wandung gegenüberliegende Wandung wird von einer Schmallängskante der Anschlagbacke ausgebildet. In dieser T-Nut liegt der Kulissenstein, der das Federelement trägt.
Die Erfindung betrifft weiterhin ein Federelement für einen Frästisch oder dergleichen, wie es insbesondere aus der US 2002/0,162,439 A1 vorbekannt ist. Das dort vorbekannte Federelement ist aufwendig. Es besitzt mehrere, kammartig angeordnete Federstege.
Der Erfindung zufolge besitzt das Federelement eine umfangsgeschlossene Blattfeder. Diese Blattfeder kann eine im Wesentlichen elliptische Gestalt aufweisen, wobei die große Halbachse der Ellipse vorzugsweise mehr als doppelt so lang ist wie die kleine Halbachse der Ellipse. Das die Blattfeder aufweisende Federelement kann aus Kunststoff bestehen. Das Federelement besitzt ferner einen Tragkörper. Dieser besitzt einen Längsschlitz. Durch den Längsschlitz kann der Schaft einer Spannschraube oder ein Spannzapfen ragen, der mit dem Kulissenstein zusammenwirkt. Vorzugsweise ist die Blattfeder einstückig am Tragkörper befestigt. Das so ausgestaltete Federelement kann als Spritzgussteil gefertigt werden. Der Tragkörper ist vorzugsweise im Bereich der kleinen Halbachse der Ellipse der Blattfeder angeformt. Der Längsschlitz kann dann in fluchtender Verlängerung zur kleinen Halbachse liegen. Als Einstellhilfe dient eine im Bereich der Schmalenden der elliptischen Feder angebrachte Stufe. Die Vertikallage des Federelementes zur Werkplatte oder auch die Abstandslage des Federelementes zum Parallelanschlag kann mit Hilfe dieser Stufe eingestellt werden. Sie wird auf die Dicke bzw. Breite des Werkstückes eingestellt. Da der schwach gekrümmte Bauch der Blattfeder über diese Anschlagfläche hinausragt, wird die Blattfeder unter Verkürzung der kleinen Halbachse beim Verschieben des Werkstückes gespannt. Die Stufe kann von einem Knick der Feder ausgebildet sein. Es ist aber auch möglich, die Stufe von einem Höcker auszubilden.
In einer Weiterbildung der Erfindung, die eigenständige Bedeutung besitzt, ist vorgesehen, dass auf dem Boden der Vertiefung eine Verstärkungsplatte aus Metall liegt. Da die Materialstärke der Werkplatte im Bereich der Vertiefung vermindert ist, sorgt diese Verstärkungsplatte für eine Erhöhung der Stabilität. Wegen der verminderten Materialstärke ist die Verstärkungsplatte am Rand der Vertiefung befestigt. Hierzu bildet die im Wesentlichen die Form eines vierblättrigen Kleeblattes ausbildende Verstärkungsplatte Befestigungslaschen aus. Es sind vorzugsweise zwei sich diametral gegenüberliegende Befestigungslaschen vorgesehen, die unter Ausbildung eines rechten Winkels vom Rand der Verstärkungsplatte abragen. Mit ihren über den Rand ragenden Abschnitten ist die Verstärkungsplatte mit einem Abschnitt des Randes der Vertiefung verschraubt.
Ausführungsbeispiele der Erfindung werden anhand beigefügter Zeichnungen erläutert. Es zeigen:
Fig. 1
einen Frästisch in der Vorderansicht,
Fig. 2
eine Draufsicht auf den Frästisch gemäß Fig.1,
Fig. 3
eine Unteransicht in Perspektive,
Fig. 4
eine Unteransicht des Frästisches gemäß Fig.1,
Fig. 5
einen Schnitt entlang der Linie V-V in Fig.1, vergrößert dargestellt,
Fig. 6
einen Schnitt entlang der Linie VI-VI in Fig. 4, vergrößert dargestellt,
Fig. 7
ein Federelement in der Vorderansicht,
Fig. 8
ein weiteres Ausführungsbeispiel eines Federelementes,
Fig. 9
in einer Darstellung gemäß Fig. 4 ein weiteres Ausführungsbeispiel der Erfindung,
Fig. 10
in einer Darstellung gemäß Fig. 6 das Ausführungsbeispiel gemäß Fig. 9,
Fig.11
eine perspektivische, explosionsartige Darstellung des Spannorganes des Ausführungsbeispiels Fig. 9 und 10,
Fig. 12
in der Ansicht eine in die Vertiefung einbringbare Verstärkungsplatte,
Fig. 13
die Verstärkungsplatte gemäß Fig. 12 in der Seitenansicht,
Fig. 14
ein vergrößerter Abschnitt gemäß XIV in Fig. 13,
Fig. 15
eine perspektivische Darstellung der Verstärkungsplatte und
Fig. 16
die Unteransicht eines Frästisches etwa gemäß Fig. 3 mit einer in die Vertiefung eingelegter Verstärkungsplatte.
Die Erfindung betrifft einen Frästisch 1. Dieser besitzt eine horizontale Werkplatte 2. Von der Unterseite 4 der Werkplatte 2 ragen schräg L-förmige Beine 9 ab, deren freie Enden mit jeweils einer Fußkappe 10 aus Gummi versehen sind. Die Unterseite 4 besitzt an ihren beiden Längsrandseiten jeweils eine Winkelschiene 14, die zur Stabilisierung dient. An der frontseitigen Winkelschiene 14 befindet sich zudem ein Gehäuse 11 für einen Schalter.
Im Zentrum der Unterseite 4 befindet sich eine Vertiefung 16, die einen parallel zur Unterseite 4 verlaufenden Boden 15 ausbildet. Zufolge dieser Vertiefung 16 ist die Materialstärke der Werkplatte 2 im Zentralbereich vermindert.
Etwa in der Mitte der eine gerundete Wandung aufweisenden Vertiefung 16 befindet sich eine kreisförmige Öffnung 22. In den Ausführungsbeispielen steckt in der Öffnung 22 ein Reduzierstück 18, dessen Rand auf einer Stufe 19 derart aufliegt, dass die Oberfläche des Reduzierstücks 18 mit der Oberseite 23 der Werkplatte 2 fluchtet. Im Zentrum besitzt das einen kreisrunden Grundriss aufweisende Reduzierstück 18 eine Öffnung 20, durch welche ein Fräser über die Oberseite 23 ragen kann.
Der in den Figuren nicht dargestellte Fräser gehört zu einer am Boden 15 der Vertiefung 16 befestigbaren Oberfräse 12.
Die Oberfräse 12, die in den Figuren nur strichpunktiert dargestellt ist, besitzt an ihrem fräserseitigen Stirnende einen, in den Zeichnungen ebenfalls nur strichpunktiert dargestellten Befestigungsflansch 13. Dieser Befestigungsflansch 13 kann einen im Wesentlichen kreisförmigen Grundriss aufweisen.
Um den Befestigungsflansch 13 so lateral lagezufixieren, dass der Fräser durch die Öffnung 20 ragt, sind Zentrierscheiben 28 vorgesehen. Auf dem Boden 15 der Vertiefung 16 befinden sich insgesamt vier Zentrierscheiben 28.
Die Zentrierscheiben 28 haben eine topfförmige Gestalt. Sie sind kreisrund und weisen eine exzentrische Öffnung 29 auf.
In der Oberseite 23 der Werkplatte 2 sind insgesamt vier flache Vertiefungen 39 eingebracht. Auf dem Boden jeweils einer Vertiefung 39 liegt ein insbesondere aus Metall bestehender Halteteller 40 ein. Bei dem in der Figur 6 dargestellten Ausführungsbeispiel besitzt der Halteteller 40 rückwärtig einen Gewindeflansch 41. In diesem Gewindeflansch 41 ist ein Gewindezapfen 27 eingeschraubt. Dieser bildet einen Spannzapfen aus. Zur drehsicheren Verbindung des Spannzapfens 27 mit dem nun zugeordneten Halteteller 40 kann der in den Gewindeflansch 41 eingeschraubte Abschnitt auch dort verklebt sein.
Der Halteteller 40 wird von einer Kunststoffkappe 21 überfangen, deren Oberseite zur Oberseite 23 der Werkplatte 2 bündig ist.
Mittels einer von einer Unterlegscheibe 38 unterlegten Mutter 31 wird der Halteteller 40 gegen den Boden der Vertiefung 39 verspannt, so dass er drehfest zur Werkplatte 2 ist.
Der Spannzapfen 27 durchragt die exzentrische Öffnung 29 der Zentrierscheibe 28, welche unmittelbar auf der Mutter 31 aufliegt. Unter Zwischenlage einer weiteren Unterlegscheibe 42 wirkt eine Klemmmutter 30 gegen die Zentrierscheibe 28. Bei gelöster Klemmmutter 30 kann die Zentrierscheibe 28 um den Spannzapfen 27 geschwenkt werden. Durch Festziehen der Klemmmutter 30 kann die Schwenkstellung der Zentrierscheibe 28 in Bezug auf den Spannzapfen 27 fixiert werden.
Auf dem freien Ende des Spannzapfens 27 ist eine Knebelmutter 44 aufgeschraubt. Ein Zwischenabschnitt des Spannzapfens 27 durchgreift einen Längsschlitz 27 einer Spannpratze 26. Der zur Knebelmutter 44 weisende Rücken der Spannpratze 26 bildet eine gewellte Druckflanke 34 aus. Auf dieser gewellten Druckflanke 24 stützt sich ein von dem Spannzapfen 27 durchgriffenes Druckstück 45 ab, gegen welches unter Zwischenlage einer weiteren Unterlegscheibe 25 die Knebelmutter 44 wirkt.
Der Spannzapfen 27 ist somit gleichzeitig Lagerzapfen der Zentrierscheibe 28 und der Spannpratze 26.
Ein Endabschnitt 26' der Spannpratze 26 drückt auf den Befestigungsflansch 13 der Oberfräse 12. Der andere Endabschnitt 26' der Spannpratze 26 bildet eine gerundete Stützschulter 37 aus, die sich auf dem Boden 15 der Vertiefung 16 abstützt. Der von den Spannzapfen 27 durchgriffene Längsschlitz 17 der Spannpratze 26 liegt etwas versetzt außermittig zum Ende 26' zwischen den beiden Enden 26', 26" der Spannpratze 26. Die Spannpratze 26 ist ebenso wie die Knebelmutter 44 aus Kunststoff gefertigt.
Die Funktionsweise der unterseitigen Befestigung mit Zentriereinrichtung für die Oberfräse 12 ist die folgende:
  • Bei gelöster Knebelmutter 44 und Klemmmutter 30 wird die Oberfräse derartig lateral auf dem Boden 15 der Vertiefung 16 angeordnet, dass ihre Achse im Zentrum der Öffnung 20 liegt. Dies erfolgt vorzugsweise bei auf dem Kopf stehendem Frästisch 1. Sodann werden die Zentrierscheiben 28 soweit verschwenkt, bis ihre jeweilige Randkante 24 in Anlage tritt gegen die entsprechende Randkante des Befestigungsflansches 13. Indem die Zentrierscheibe 28 von dem Boden 15 geringfügig beabstandet ist, wirken sich eventuell auf dem Boden 15 liegenden Späne nicht negativ beeinflussend aus.
  • Die Fixierung der Drehstellung der Zentrierscheiben 28 erfolgt dann durch Festziehen der Klemmmuttern 30. Anschließend erfolgt die Befestigung des Befestigungsflansches 13 gegen die Unterseite 15 der Vertiefung 16 mittels der Spannpratzen 26 in bekannter Weise, wobei sich die jeweiligen Endabschnitte 26' auf dem Befestigungsflansch 13 abstützen.
    Bei dem in der Figur 6 dargestellten Ausführungsbeispiel verläuft die gerundete Stützschulter 37 auf einer Kreisbogenlinie. Bei dem in Figur 10 dargestellten Ausführungsbeispiel ist die Stützschulter 37 im Endbereich massiv ausgestaltet.
    Bei dem in Figur 10 dargestellten Ausführungsbeispiel besitzt die Halteplatte 40 spitze Vorsprünge 62, die sich in den Boden der Vertiefung 39 eingraben können, um die Haltescheibe 40 drehzufixieren. Die Haltescheibe 40 besitzt im Zentrum eine von einer Ausprägung gebildete Senkung 33. In der Senkung 33 lagert ein konischer Endabschnitt 32 des Spannzapfens 27. Aus dem konischen Endabschnitt 32 des Spannzapfens 27 ragt seitlich eine Nase 35. Diese Nase 35 greift in eine Aussparung 36 der Senkung 33 ein, so dass der Spannzapfen 27 drehgesichert ist. Ansonsten wird der Spannzapfen, wie auch in dem in Figur 6 dargestellten Ausführungsbeispiel von einer Mutter 31 gegen die Werkplatte 2 gehalten.
    Auf der Oberseite 23 der Werkplatte 2 befindet sich ein in Längsrichtung (Y-Richtung) erstreckender Führungsschlitz 5. Dieser Führungsschlitz 5 hat ein T-förmiges Profil. In ihm kann ein Kulissenstein gleiten, welcher einem Winkelanschlag 3 zugeordnet ist. Der Winkelanschlag 3 kann mittels einer Klemmmutter 6 in seine Winkelstellung fixiert werden. Er kann innerhalb des Führungsschlitzes 5 in Y-Richtung verschoben werden.
    Eine Klemmmutter 58 haltert ein weiter unten noch beschriebenes Federelement 54 ebenfalls in dem Führungsschlitz 5. Die Klemmmutter 58 fixiert das Federelement 54 sowohl in X- als auch in Y-Richtung.
    In der Oberseite 23 der Werkplatte 2 befinden sich desweiteren zwei sich in X-Richtung erstreckende Führungsnuten 7. Die Führungsnuten 7 sind voneinander beabstandet. Auch in diesen Führungsnuten 7 lagern Kulissensteine, die mit Klemmmuttern 61 zusammenwirken. Durch Festziehen der Klemmmuttern 61 kann ein Anschlagbackenträger 48 lagefixiert werden. Bei gelösten Klemmmuttern 61 kann der Anschlagbackenträger 48 in X-Richtung verschoben werden. Sein Abstand zum Fräser kann dadurch eingestellt werden.
    Der Anschlagbackenträger 48 bildet eine im Wesentlichen senkrecht zur Oberseite 23 verlaufende Abstützfläche 55 aus. Auf dieser Abstützfläche 55 lagern zwei Anschlagbacken 51. Die Anschlagbacken 51 können in Richtung Y aufeinander zu verlagert werden. Hierzu durchgreift ein Zugstück 56, welches als Schlossschraube ausgebildet ist, einen Längsschlitz 49. Hierdurch kann der Abstand zwischen den beiden aufeinander zu weisenden Schmalkanten 51" der Anschlagbacken 51 auf dem Durchmesser des nicht dargestellten Fräsers eingestellt werden. Der Fräser befindet sich unterhalb eines Fingerschutzes 8 zwischen den beiden Anschlagbacken 51.
    Auf der Rückseite 57 des Anschlagbackenträgers 58 befindet sich eine Klemmmutter 59, die auf das Zugstück 56 aufgeschraubt ist. Mittels der Klemmmutter 59 kann die Lage der Anschlagbacke 51 fixiert werden. Die Längsschmalkanten 51' der Anschlagbacke 51 haben eine L-förmige Gestalt. Innen liegt ein L-förmiger Abschnitt 48' des Anschlagbackenträgers gegenüber. Der L-förmige Abschnitt 48' und die Schmalkante 51' bilden zusammen eine T-förmige Führungsnut 52 für einen Kulissenstein 53 aus. An diesem Kulissenstein 53 ist ein Federelement 54 fixiert. Auch dies erfolgt mittels einer Klemmmutter 60.
    Die oben erwähnten Federelemente 54 bilden einerseits einen Niederhalter aus, der das Werkstück gegen die Oberseite 23 der Werkplatte 2 drückt, und anderseitig ein horizontales Druckstück, der das Werkstück gegen die Anschlagbacken 48 drückt. Die Federelemente 54 haben die nachfolgend beschriebene Gestalt: Das Federelement 54 besteht aus einem Kunststoffteil. Es besitzt einen langgestreckten Tragkörper 46, der einen Längsschlitz 56 aufweist. Mit Hilfe des Schlitzes 56 wird das Federelement 54 an der Werkplatte 2 oder am Anschlagbackenträger 48 befestigt. Hierzu durchgreift eine Klemmschraube oder dergleichen den Schlitz 56.
    An einem Ende des Tragkörpers 64 ist eine ellipsenförmige Blattfeder 63 angeformt. Der Bauch 69, der dem Schmalende des Tragkörpers 64 gegenüberliegt, bildet die Druckfläche aus, der das Federelement 64 gegen das Werkstück drückt. Der Bauch 69 besitzt einen großen Radius. Die beiden Schmalenden der Blattfeder 66 besitzen einen geringen Radius.
    Zur Lagefixierung des Federelementes 54 sind im Bereich der Schmalenden 66 Stufen 67 vorgesehen, die auf die Oberseite des Randes des Werkstückes aufgelegt werden können. Hierdurch wird dann der Federausweichweg der Druckfläche 69 definiert.
    Die Stufe 67 kann von einem Knick 68 des Endabschnittes der Blattfeder 63 gebildet werden. Es ist aber auch vorgesehen, dass in diesem Bereich die Blattfeder 63 eine Stufe 67 ausbildet, welche auf die Oberseite des Werkstücks aufgelegt werden kann.
    Wird das Werkstück dann an dem Bauch 69 der Blattfeder 63 vorbeigeschoben, so kann der Bauch 69 in Richtung auf den Tragkörper 64 ausweichen. Die Elastizität der Blattfeder 63 sorgt dann für den erforderlichen Anpressdruck einerseits gegen die Oberseite 23 der Werkplatte 2 und andererseits gegen die Anschlagbacke 51.
    Die Fig. 12 zeigt eine Verstärkungsplatte 71, die in die Vertiefung 16 der Unterseite 4 der Werkplatte 2 einsetzbar ist. Die Verstärkungsplatte 71 besitzt eine im Wesentlichen kleeblattförmige Umrisskontur, besteht aus Stahl und hat in ihrer Mitte eine Öffnung 72, die zur Öffnung der Werkplatte 2, die das Reduzierstück 18 aufnimmt, kongruent ist. Des Weiteren befinden sich in der Verstärkungsplatte 71 Befestigungsöffnungen 73, die auch zum Durchtritt der Spannzapfen 27 geeignet sind.
    Die Umrisskontur der Verstärkungsplatte 71 entspricht der Umrisskontur der sie aufnehmenden Vertiefung 16, so dass die Verstärkungsplatte 71 auf den Boden 15 der Vertiefung 16 gelegt werden kann. Dadurch wird der gegenüber der übrigen Werkplatte 2 materialverminderte Boden 15 verstärkt. Die Befestigung der Verstärkungsplatte 71 erfolgt vorzugsweise mit dem die Vertiefung 16 umgebenden Rand der Unterseite 4. Hierzu sind an der Verstärkungsplatte 71 im Wesentlichen rechtwinklig abragende Befestigungslaschen 74 vorgesehen. Im Ausführungsbeispiel besitzt die Verstärkungsplatte 71 jeweils im Bereich zweier sich gegenüberliegende Einschnürungen eine Befestigungslasche 74. Der unmittelbar vom Rand der Verstärkungsplatte 71 abragende Schenkel 74' der Befestigungslasche 74 besitzt eine Länge, die der Tiefe der Vertiefung 16 entspricht. Der von diesem Schenkel 74' rechtwinklig abragende Befestigungsschenkel 74" besitzt eine Befestigungsöffnung, durch welche eine Befestigungsschraube geschraubt werden kann, mit der die Befestigungslasche 74 mit dem Randbereich der Vertiefung 16 befestigt werden kann.
    Wie aus der Fig. 16 zu entnehmen ist, durchragen die Spannzapfen 27 Öffnungen 73 der Verstärkungsplatte 71, so dass sich die in der Fig. 6 erkennbare Unterlegscheibe 38 unmittelbar auf der Verstärkungsplatte abstützen kann. Die in der Fig. 9 mit der Bezugsziffer 19 bezeichnete Stufe kann vom Rand der Öffnung 72 ausgebildet sein, so dass das Reduzierstück 18 sich auf dem Rand der Öffnung 72 abstützen kann.
    Alle offenbarten Merkmale sind (für sich) erfindungswesentlich. In die Offenbarung der Anmeldung wird hiermit auch der Offenbarungsinhalt der zugehörigen/beigefügten Prioritätsunterlagen (Abschrift der Voranmeldung) vollinhaltlich mit einbezogen, auch zu dem Zweck, Merkmale dieser Unterlagen in Ansprüche vorliegender Anmeldung mit aufzunehmen.

    Claims (25)

    1. Frästisch (1) mit einer Werkplatte (2), die eine Öffnung (22) zum Durchtritt des Fräsers aufweist, der von einer an der Unterseite (4) der Werkplatte (2) befestigbaren Antriebsmaschine insbesondere in Form einer Oberfräse (12) antreibbar ist, wobei ein Befestigungsflansch (13) der Antriebsmaschine mittels auf der Unterseite (4) der Werkplatte (2) angeordneten Zentrierorganen (28) lateral lagefixierbar und mittels Pratzen (26) gegen die Unterseite (4,15) klemmbar ist, welche Pratzen (26) jeweils mittels eines Spannzapfens (27) an der Werkplatte (2) befestigt sind, dadurch gekennzeichnet, dass die Zentrierorgane Zentrierscheiben (28) mit exzentrischen Öffnungen (29) sind, durch welche jeweils ein Spannzapfen (27) ragt.
    2. Frästisch nach Anspruch 1 oder insbesondere danach, dadurch gekennzeichnet, dass die Zentierscheibe (28) von der Unterseite (4, 15) geringfügig beabstandet ist.
    3. Frästisch nach einem oder mehreren der vorhergehenden Ansprüche oder insbesondere danach, dadurch gekennzeichnet, dass die Zentrierscheibe (28) einen kreisförmigen Grundriss aufweist.
    4. Frästisch nach einem oder mehreren der vorhergehenden Ansprüche oder insbesondere danach, dadurch gekennzeichnet, dass die Zentrierscheibe (28) mit einem insbesondere von einer Mutter (30) ausgebildeten Klemmorgan, das dem Spannzapfen (27) zugeordnet ist, lagefixierbar ist.
    5. Frästisch nach einem oder mehreren der vorhergehenden Ansprüche oder insbesondere danach, dadurch gekennzeichnet, dass der ein Außengewinde aufweisende Spannzapfen (27) durch die Öffnung (29) der Zentrierscheibe (28) ragt und die Zentrierscheibe zwischen zwei Muttern (30, 31) liegt, so dass die Lagefixierung durch einen Kontermuttereffekt erfolgt.
    6. Frästisch nach einem oder mehreren der vorhergehenden Ansprüche oder insbesondere danach, dadurch gekennzeichnet, dass die Spannpratze (26) ein Kunststoffteil ist mit einer gewellten Druckflanke (34) und einer gerundeten Stützschulter (37), mit welcher sich die Spannpratze (26) auf dem Boden (15) einer Vertiefung (16) der Werkplatte (2) abstützt.
    7. Frästisch nach einem oder mehreren der vorhergehenden Ansprüche oder insbesondere danach, gekennzeichnet durch in Vertiefungen (39) der Oberseite (23) der Werkplatte (2) einliegende Halteteller (40), welche rückwärtig einen Gewindeflansch (41) aufweisen, welcher Gewindeflansch (41) in eine Durchgangsbohrung (43) ragt, wobei der Spannzapfen (27) in den Gewindeflansch (41) eingeschraubt/ geklebt ist.
    8. Frästisch nach einem oder mehreren der vorhergehenden Ansprüche oder insbesondere danach, gekennzeichnet durch eine drehfeste Lagerung eines konischen Endabschnittes (32) des Spannzapfens (27) in einer Senkung (33) des Haltetellers (40).
    9. Frästisch nach einem oder mehreren der vorhergehenden Ansprüche oder insbesondere danach, gekennzeichnet durch ein insbesondere in Form einer Rändel- oder Knebelmutter (44) ausgebildetes Klemmorgan, das unter Zwischenlage eines Druckstücks (45) auf die Druckflanke der Pratze (26) wirkt.
    10. Frästisch mit einer Werkplatte (2) und einem auf der Werkplatte (2) angeordneten Längsanschlag (47), welcher einen in einer ersten Horizontalrichtung (x) auf der Werkplatte (2) geführt verlagerbaren Anschlagbackenträger (48) aufweist, welcher Anschlagbackenträger (48) zwei aufeinander zu verlagerbare und in den Verlagerungsstellungen festklemmbare Anschlagbacken (51) aufweist, mit in einer zweiten Horizontalrichtung (y) ausgerichteten T-förmigen Führungsnut (52) zur Aufnahme eines Kulissensteins (53), an welchem ein senkrecht zur Werkplattenerstreckungsebene (x, y) wirkendes Federelement (54) befestigt ist, dadurch gekennzeichnet, dass die Wände (48', 51') der Führungsnut (52) einerseits von dem Anschlagbackenträger (48) und andererseits von der Anschlagbacke (51) ausgebildet werden.
    11. Frästisch nach Anspruch 9 oder insbesondere danach, dadurch gekennzeichnet, dass der Boden der T-Nut (52) die fluchtende Verlängerung einer Abstützfläche (55) des Anschlagbackenträgers (48) ist, auf welcher die Anschlagbacken (51) aufliegen.
    12. Frästisch nach einem oder mehreren der Ansprüche 9 und 10 oder insbesondere danach, dadurch gekennzeichnet, dass die Anschlagbacken (51) mittels eines von der rückwärtigen Seite (57) des Anschlagbackenträgers (48) betätigbaren Zugstücks (56) gegen die Abstützfläche (55) beaufschlagt werden.
    13. Frästisch nach einem oder mehreren der vorhergehenden Ansprüche oder insbesondere danach, gekennzeichnet durch eine auf dem Boden (15) der Vertiefung (16) angeordnete Verstärkungsplatte (71).
    14. Frästisch nach einem oder mehreren der vorhergehenden Ansprüche oder insbesondere danach, dadurch gekennzeichnet, dass die aus Stahl gefertigte Verstärkungsplatte (71) eine der Vertiefung (16) angepasste Grundrisskontur aufweist.
    15. Frästisch nach einem oder mehreren der vorhergehenden Ansprüche oder insbesondere danach, dadurch gekennzeichnet, dass die Verstärkungsplatte (71) mit Befestigungslaschen (74) am Rand der Öffnung (16) auf der Unterseite (4) der Werkplatte (2) befestigt ist.
    16. Federelement (54) für einen Frästisch oder dergleichen insbesondere nach einem oder mehreren der vorhergehenden Ansprüche, dadurch gekennzeichnet, dass das Federelement (54) eine umfangsgeschlossene Blattfeder (63) ist.
    17. Federelement nach Anspruch 16 oder insbesondere danach, dadurch gekennzeichnet, dass die Blattfeder (63) eine im Wesentlichen elliptische Gestalt aufweist.
    18. Federelement nach einem oder mehreren der Ansprüche 16 und 17 oder insbesondere danach, gekennzeichnet durch einen an der Blattfeder (63) befestigten Tragkörper (64), der einen Längsschlitz (65) aufweist, welcher sich parallel zur kleinen Halbachse (a) der Ellipse erstreckt.
    19. Federelement nach einem oder mehreren der Ansprüche 16 bis 18 oder insbesondere danach, dadurch gekennzeichnet, dass der Tragkörper (64) im Wesentlichen in der Mitte der elliptischen Feder (63) angeordnet ist.
    20. Federelement nach einem oder mehreren der Ansprüche 16 bis 19 oder insbesondere danach, dadurch gekennzeichnet, dass der Tragkörper (64) und die Feder (63) einstückig von einem Kunststoffteil gebildet sind.
    21. Federelement nach einem oder mehreren der Ansprüche 16 bis 20 oder insbesondere danach, gekennzeichnet durch eine im Bereich der Schmalenden (66) der elliptischen Feder (63) angebrachte Stufe (67) mit einer parallel zur großen Halbachse (b) verlaufenden Druckfläche (69).
    22. Federelement nach einem oder mehreren der Ansprüche 16 bis 21 oder insbesondere danach, dadurch gekennzeichnet, dass die Stufe (67) von einem Knick (68) der Feder (63) gebildet ist.
    23. Federelement nach einem oder mehreren der Ansprüche 16 bis 22 oder insbesondere danach, dadurch gekennzeichnet, dass die Stufe (67) von einem Höcker (70) ausgebildet ist.
    24. Federelement nach einem oder mehreren der Ansprüche 16 bis 23 oder insbesondere danach, dadurch gekennzeichnet, dass das Federelement eine T-Form hat, wobei der T-Steg vom Tragkörper (64) und die T-Schenkel von der Blattfeder (63) gebildet sind.
    25. Federelement nach einem oder mehreren der Ansprüche 16 bis 24 oder insbesondere danach, dadurch gekennzeichnet, dass die große Halbachse (b) der Ellipse mindestens doppelt so lang ist wie die kleine Halbachse (a).
    EP05101604A 2004-03-05 2005-03-02 Federelement für einen Frästisch Expired - Lifetime EP1570965B1 (de)

    Applications Claiming Priority (4)

    Application Number Priority Date Filing Date Title
    DE102004010735 2004-03-05
    DE102004010735 2004-03-05
    DE102005009227.6A DE102005009227B4 (de) 2004-03-05 2005-02-25 Frästisch und Zubehör
    DE102005009227 2005-02-25

    Publications (3)

    Publication Number Publication Date
    EP1570965A2 true EP1570965A2 (de) 2005-09-07
    EP1570965A3 EP1570965A3 (de) 2005-12-14
    EP1570965B1 EP1570965B1 (de) 2007-09-26

    Family

    ID=34751406

    Family Applications (1)

    Application Number Title Priority Date Filing Date
    EP05101604A Expired - Lifetime EP1570965B1 (de) 2004-03-05 2005-03-02 Federelement für einen Frästisch

    Country Status (4)

    Country Link
    US (1) US20050230003A1 (de)
    EP (1) EP1570965B1 (de)
    CA (1) CA2499716A1 (de)
    DE (2) DE102005009227B4 (de)

    Cited By (1)

    * Cited by examiner, † Cited by third party
    Publication number Priority date Publication date Assignee Title
    CN110802513A (zh) * 2019-10-18 2020-02-18 安徽涌诚机械有限公司 高性能涡轮增压器的压气机壳用夹具

    Families Citing this family (11)

    * Cited by examiner, † Cited by third party
    Publication number Priority date Publication date Assignee Title
    US7409973B2 (en) * 2004-08-25 2008-08-12 Lee Valley Tools Ltd. Router table plate assembly
    DE102007011784A1 (de) * 2006-06-30 2008-01-03 Wolfcraft Gmbh Arbeitstisch, insbesondere Frästisch mit in einer Einsatzöffnung einer Arbeitsplatte einsetzbarer Einsatzplatte
    CN102501274B (zh) * 2011-12-08 2014-11-12 东莞市长丰木工机械设备有限公司 一种木材曲面加工用数控铣床
    USD781677S1 (en) 2015-06-16 2017-03-21 Lee Valley Tools Ltd. Tool holder
    CN108481463B (zh) * 2018-04-08 2020-04-17 高唐县新华木业有限公司 一种板材快速切割装置的工作方法
    CN109227486A (zh) * 2018-11-22 2019-01-18 张旭 一种木材锯切固定设备
    CN112935862B (zh) * 2020-02-12 2022-07-08 菲舍卡勒机床(佛山)有限公司 一种机床
    CN114516098B (zh) * 2020-11-18 2025-09-16 南京泉峰科技有限公司 一种动力设备
    CN112589489B (zh) * 2020-12-11 2021-11-09 衢州学院 一种可调节方向的多功能机械加工夹具及其使用方法
    CN112599047A (zh) * 2020-12-29 2021-04-02 淄博职业学院 一种工商管理教学用智能宣传板
    CN113021277B (zh) * 2021-03-02 2022-03-22 黄山耀瑞精密模塑科技有限公司 一种精密模具生产加工用夹紧装置

    Family Cites Families (68)

    * Cited by examiner, † Cited by third party
    Publication number Priority date Publication date Assignee Title
    US404233A (en) * 1889-05-28 Saw-table gage
    US727337A (en) * 1902-10-02 1903-05-05 Jacob A Conrey Guide for woodworking-machines.
    US1183566A (en) * 1914-09-04 1916-05-16 Louis Branch Safety-guard for shapers.
    US1664969A (en) * 1927-01-08 1928-04-03 John C Conover Guide for molder tables
    US1715722A (en) * 1927-11-23 1929-06-04 Thomas S Smith Door-supporting vise
    DE878096C (de) * 1951-05-03 1953-06-01 Karl Schaeff Tischfraese mit zwei Fraesspindeln
    US3101104A (en) * 1961-03-29 1963-08-20 Weyerhaeuser Co Safety device for saws
    US3723927A (en) * 1969-05-05 1973-03-27 Gen Dynamics Corp Magnetic holding means in a surface plate dimensional measuring apparatus
    US3944203A (en) * 1973-11-30 1976-03-16 Brekelbaum Erwin C Oxidation cutting work support means
    US3905273A (en) * 1974-07-22 1975-09-16 Shyodu Precision Instr Company Machine tool assembly
    US4114665A (en) * 1976-05-06 1978-09-19 Decker Henry P Woodworking bench for portable motor driven hand tools
    USD248304S (en) * 1976-09-03 1978-06-27 Vermont American Corporation Table for portable cutting tools
    US4088164A (en) * 1977-06-02 1978-05-09 Vermont American Corporation Portable router attachment
    US4132256A (en) * 1977-06-22 1979-01-02 Jones John C Guide for cutting apparatus
    US4186784A (en) * 1977-07-21 1980-02-05 Atlantic Container Corporation Tool table construction
    USD273195S (en) * 1981-08-14 1984-03-27 Hirsh Company Power tool table
    US4445553A (en) * 1981-12-10 1984-05-01 Hanyzewski Eugene F Apparatus for shaping a wooden workpiece
    US4738571A (en) * 1982-09-29 1988-04-19 Olson Eugene T Routing apparatus with dust extraction system
    US4484608A (en) * 1982-10-21 1984-11-27 Hirsh Company Router table
    US4603612A (en) * 1984-12-17 1986-08-05 Atkins Richard R Safety attachment for a table saw
    US4615247A (en) * 1985-09-13 1986-10-07 Shopsmith, Inc. Anti-kickback system
    US4719951A (en) * 1986-02-10 1988-01-19 Woltanski Joseph W Combination drill press, router and shaper table, and methods of constructing and utilizing same
    US4750536A (en) * 1986-04-30 1988-06-14 Grisley Kenneth M Router vacuum attachment
    US4688510A (en) * 1986-08-14 1987-08-25 Mcneely Fay C Place marker
    US4763706A (en) * 1987-04-13 1988-08-16 Verle L. Rice Router mounting table
    US5046645A (en) * 1988-02-19 1991-09-10 Mckesson Corporation Syphon package with mechanically attached valve
    US4884604A (en) * 1988-05-06 1989-12-05 Verle L. Rice Guide fence and mitre guide assembly for router mounting table
    US5016358A (en) * 1988-05-06 1991-05-21 Rice Verle L Guide fence and mitre guide assembly for router mounting table
    US4977938A (en) * 1989-05-16 1990-12-18 Greeson Ewell E Cutting guide for portable router
    US5026033A (en) * 1989-11-22 1991-06-25 The Budd Company Universal system for the support and positioning of a workpiece
    US5367933A (en) * 1990-03-14 1994-11-29 Jaksha; Jerome F. Power tool shield and guiding apparatus
    DE9003963U1 (de) * 1990-04-05 1990-06-07 B & M Blumenbecker GmbH, 4720 Beckum Vorrichtung zum Andrücken eines Werkstückes auf einen Tisch einer Fräsmaschine
    US5024257A (en) * 1990-04-18 1991-06-18 Lloyd James E Woodworking machine
    US5000237A (en) * 1990-06-25 1991-03-19 Shopsmith, Inc. Jointer cutter guard with featherboard
    US5025841A (en) * 1990-07-12 1991-06-25 Porta-Nails, Inc. Multi-purpose support table for a router
    US5107599A (en) * 1990-08-28 1992-04-28 General Motors Corporation Universal fixture for coordinate measuring machines
    US5042542A (en) * 1990-09-06 1991-08-27 Purviance John R Router table gauge
    US5117880A (en) * 1990-10-16 1992-06-02 Delta International Machinery Corporation Shield for cutting blade
    USD334388S (en) * 1990-10-16 1993-03-30 Delta International Machinery Corp. Combination bench router and shaper
    US5139065A (en) * 1991-12-03 1992-08-18 Stark I Bruce Auxiliary drop-in table top power tool base
    US5148846A (en) * 1992-02-03 1992-09-22 Harry Van Gelder Workpiece guide
    USD343846S (en) * 1992-03-18 1994-02-01 Woodstock International, Inc. Router table
    US5289861A (en) * 1992-03-23 1994-03-01 Hedrick David G Multi-purpose quick-change work surface platform for use with power tools
    US5333657A (en) * 1992-10-13 1994-08-02 Larry Hart Workpiece turing and milling apparatus
    US5398740A (en) * 1993-11-12 1995-03-21 Miller; Manford B. Power tool table with adjustable tool mounting plate insert and related method
    CA2150066A1 (en) * 1994-07-08 1996-01-09 Andrew L. Itzov Adjustable workpiece support apparatus for a compound miter saw
    US5452751A (en) * 1994-07-18 1995-09-26 Engler, Iii; Nicholas A. Multi-purpose router baseplate
    DE4429570C1 (de) * 1994-08-19 1996-02-29 Scheppach Maschf J Holzbearbeitungsmaschine
    US5809631A (en) * 1994-12-19 1998-09-22 Poulin; Jean-Paul Multiple-axis machining apparatus
    US5755148A (en) * 1995-07-07 1998-05-26 Black & Decker Inc. Adjustable fence for a compound miter saw
    US5611378A (en) * 1996-01-19 1997-03-18 Ryobi North America Tilting router table
    US5779407A (en) * 1996-02-01 1998-07-14 Lee Valley Tools Ltd. Router table fence system
    US5725038A (en) * 1996-08-29 1998-03-10 Lee Valley Tools Ltd. Router baseplate and table
    US5755319A (en) * 1996-09-03 1998-05-26 Credo Tool Company Safety power switch
    US5699844A (en) * 1996-10-22 1997-12-23 Witt; Bradley R. Router plate with removable inserts
    US5855234A (en) * 1997-07-14 1999-01-05 Ryobi North America Inc. Router table assembly with microset throat plate
    US5868188A (en) * 1997-10-31 1999-02-09 Fukuda, Inc. Method, system and apparatus for safely cutting a workpiece on an inverted router table
    FR2774581B1 (fr) * 1998-02-10 2000-08-11 Dimso Sa Stabilisateur interepineux a fixer a des apophyses epineuses de deux vertebres
    US6170372B1 (en) * 1998-12-21 2001-01-09 Richard A. Weaver Dual spring hold down for wood working tools
    US6234056B1 (en) * 1999-06-25 2001-05-22 Harvey Raymond Oslick Reciprocating resaw
    CA2278869A1 (en) * 1999-07-27 2001-01-27 Darrin Eugene Smith Level-adjusting apparatus for a power tool
    US20020162439A1 (en) 2000-02-02 2002-11-07 Bench Dog, Inc. Workpiece motion guide and method
    US6237658B1 (en) * 2000-04-20 2001-05-29 Glen E. Hylton Workpiece guide apparatus for wood routers, shapers and the like
    US6360798B1 (en) 2000-08-11 2002-03-26 Wolfcraft Gmbh Router tables
    US6382276B1 (en) * 2001-05-22 2002-05-07 Wolfcraft, Inc. Router table adapter base plate
    US6792984B2 (en) * 2001-06-19 2004-09-21 Bench Dog, Inc. Router lift
    US6779954B2 (en) * 2002-07-03 2004-08-24 Black & Decker, Inc. Router depth of cut adjustment
    DE20219977U1 (de) * 2002-12-24 2003-03-13 Lin, Deng-Ke, Feng-Yuan, Taichung Optimierung der Konstruktion einer Drehhobelbank

    Cited By (2)

    * Cited by examiner, † Cited by third party
    Publication number Priority date Publication date Assignee Title
    CN110802513A (zh) * 2019-10-18 2020-02-18 安徽涌诚机械有限公司 高性能涡轮增压器的压气机壳用夹具
    CN110802513B (zh) * 2019-10-18 2021-12-24 安徽涌诚机械有限公司 高性能涡轮增压器的压气机壳用夹具

    Also Published As

    Publication number Publication date
    DE502005001550D1 (de) 2007-11-08
    DE102005009227A1 (de) 2005-09-29
    EP1570965B1 (de) 2007-09-26
    EP1570965A3 (de) 2005-12-14
    DE102005009227B4 (de) 2023-06-15
    US20050230003A1 (en) 2005-10-20
    CA2499716A1 (en) 2005-09-05

    Similar Documents

    Publication Publication Date Title
    DE69319849T2 (de) Sägeblatt-Spannfutter
    EP0332096B1 (de) Tisch mit einer Verbindungseinrichtung
    DE1627012C3 (de) Bohrkopf o.dgl. Werkzeughalter
    DE4236049A1 (de) C-förmige Zwinge
    EP1570965A2 (de) Frästisch
    DE1627021B2 (de) Bohrstange
    EP3138674B1 (de) Vorrichtung zur durchführung von gehrungsschnitten
    DE4037649A1 (de) Entgratwerkzeug
    WO1993005937A1 (de) Schutz- und führungsvorrichtung für holzfräsmaschinen
    EP1857223B1 (de) Oszillationsantrieb mit einem Tiefenanschlag und Tiefenanschlag für einen Oszillationsantrieb
    EP1995024A1 (de) Handgeführtes Arbeitsgerät
    WO1994003311A1 (de) Messerkopf, insbesondere profilmesserkopf
    EP1726403A2 (de) Klemmhebel mit höhenverstellbarem Gegenlager
    EP0684099A1 (de) Kombinationswerkzeug
    DE2722256B2 (de)
    EP0459121A2 (de) Führungsschlitten für eine handgeführte Werkzeugmaschine
    CH690357A5 (de) Rohranfasgerät.
    DE102006012079A1 (de) Befestigungsvorrichtung für eine Handfräse an einem Frästisch
    DE4025440A1 (de) Tischsaege
    DE1477355A1 (de) Werkzeughalter fuer Schneidwerkzeuge
    DE202004012350U1 (de) Verbindungsbeschlag für Platten, insbesondere für Tablare
    DE933860C (de) Wasserpumpenzange
    DE3304206A1 (de) Schneidwerkzeug und halter
    EP1308379B1 (de) Schwenkbare und längsverlagerbare Lagerung eines Karosserieschwenkteils, insbesondere des Gepäckraumdeckels eines Kraftfahrzeugs
    DE102008005280B3 (de) Klemmvorrichtung zum Einspannen von Werkstücken

    Legal Events

    Date Code Title Description
    PUAI Public reference made under article 153(3) epc to a published international application that has entered the european phase

    Free format text: ORIGINAL CODE: 0009012

    AK Designated contracting states

    Kind code of ref document: A2

    Designated state(s): AT BE BG CH CY CZ DE DK EE ES FI FR GB GR HU IE IS IT LI LT LU MC NL PL PT RO SE SI SK TR

    AX Request for extension of the european patent

    Extension state: AL BA HR LV MK YU

    PUAL Search report despatched

    Free format text: ORIGINAL CODE: 0009013

    RIC1 Information provided on ipc code assigned before grant

    Ipc: 7B 27C 5/02 A

    Ipc: 7B 23C 1/00 B

    Ipc: 7B 27C 5/06 B

    Ipc: 7B 23Q 3/00 B

    Ipc: 7B 27B 27/00 B

    AK Designated contracting states

    Kind code of ref document: A3

    Designated state(s): AT BE BG CH CY CZ DE DK EE ES FI FR GB GR HU IE IS IT LI LT LU MC NL PL PT RO SE SI SK TR

    AX Request for extension of the european patent

    Extension state: AL BA HR LV MK YU

    17P Request for examination filed

    Effective date: 20060502

    17Q First examination report despatched

    Effective date: 20060704

    AKX Designation fees paid

    Designated state(s): DE FR GB

    17Q First examination report despatched

    Effective date: 20060704

    GRAP Despatch of communication of intention to grant a patent

    Free format text: ORIGINAL CODE: EPIDOSNIGR1

    RTI1 Title (correction)

    Free format text: SPRING ELEMENT FOR A MILLING TABLE

    RIN1 Information on inventor provided before grant (corrected)

    Inventor name: RADERMACHER, UWE

    GRAS Grant fee paid

    Free format text: ORIGINAL CODE: EPIDOSNIGR3

    GRAA (expected) grant

    Free format text: ORIGINAL CODE: 0009210

    AK Designated contracting states

    Kind code of ref document: B1

    Designated state(s): DE FR GB

    REG Reference to a national code

    Ref country code: GB

    Ref legal event code: FG4D

    Free format text: NOT ENGLISH

    REF Corresponds to:

    Ref document number: 502005001550

    Country of ref document: DE

    Date of ref document: 20071108

    Kind code of ref document: P

    ET Fr: translation filed
    GBT Gb: translation of ep patent filed (gb section 77(6)(a)/1977)

    Effective date: 20071219

    PGFP Annual fee paid to national office [announced via postgrant information from national office to epo]

    Ref country code: FR

    Payment date: 20080305

    Year of fee payment: 4

    PLBE No opposition filed within time limit

    Free format text: ORIGINAL CODE: 0009261

    STAA Information on the status of an ep patent application or granted ep patent

    Free format text: STATUS: NO OPPOSITION FILED WITHIN TIME LIMIT

    26N No opposition filed

    Effective date: 20080627

    PGFP Annual fee paid to national office [announced via postgrant information from national office to epo]

    Ref country code: GB

    Payment date: 20090316

    Year of fee payment: 5

    REG Reference to a national code

    Ref country code: FR

    Ref legal event code: ST

    Effective date: 20091130

    PG25 Lapsed in a contracting state [announced via postgrant information from national office to epo]

    Ref country code: FR

    Free format text: LAPSE BECAUSE OF NON-PAYMENT OF DUE FEES

    Effective date: 20091123

    GBPC Gb: european patent ceased through non-payment of renewal fee

    Effective date: 20100302

    PG25 Lapsed in a contracting state [announced via postgrant information from national office to epo]

    Ref country code: GB

    Free format text: LAPSE BECAUSE OF NON-PAYMENT OF DUE FEES

    Effective date: 20100302

    PGFP Annual fee paid to national office [announced via postgrant information from national office to epo]

    Ref country code: DE

    Payment date: 20230323

    Year of fee payment: 19

    P01 Opt-out of the competence of the unified patent court (upc) registered

    Effective date: 20230513

    REG Reference to a national code

    Ref country code: DE

    Ref legal event code: R119

    Ref document number: 502005001550

    Country of ref document: DE

    PG25 Lapsed in a contracting state [announced via postgrant information from national office to epo]

    Ref country code: DE

    Free format text: LAPSE BECAUSE OF NON-PAYMENT OF DUE FEES

    Effective date: 20241001

    PG25 Lapsed in a contracting state [announced via postgrant information from national office to epo]

    Ref country code: DE

    Free format text: LAPSE BECAUSE OF NON-PAYMENT OF DUE FEES

    Effective date: 20241001