EP1566474A2 - Lufttexturiermaschine - Google Patents
Lufttexturiermaschine Download PDFInfo
- Publication number
- EP1566474A2 EP1566474A2 EP05002386A EP05002386A EP1566474A2 EP 1566474 A2 EP1566474 A2 EP 1566474A2 EP 05002386 A EP05002386 A EP 05002386A EP 05002386 A EP05002386 A EP 05002386A EP 1566474 A2 EP1566474 A2 EP 1566474A2
- Authority
- EP
- European Patent Office
- Prior art keywords
- processing
- assembly
- assemblies
- frame wall
- machine according
- Prior art date
- Legal status (The legal status is an assumption and is not a legal conclusion. Google has not performed a legal analysis and makes no representation as to the accuracy of the status listed.)
- Withdrawn
Links
Images
Classifications
-
- D—TEXTILES; PAPER
- D02—YARNS; MECHANICAL FINISHING OF YARNS OR ROPES; WARPING OR BEAMING
- D02G—CRIMPING OR CURLING FIBRES, FILAMENTS, THREADS, OR YARNS; YARNS OR THREADS
- D02G1/00—Producing crimped or curled fibres, filaments, yarns, or threads, giving them latent characteristics
- D02G1/16—Producing crimped or curled fibres, filaments, yarns, or threads, giving them latent characteristics using jets or streams of turbulent gases, e.g. air, steam
- D02G1/161—Producing crimped or curled fibres, filaments, yarns, or threads, giving them latent characteristics using jets or streams of turbulent gases, e.g. air, steam yarn crimping air jets
-
- D—TEXTILES; PAPER
- D02—YARNS; MECHANICAL FINISHING OF YARNS OR ROPES; WARPING OR BEAMING
- D02G—CRIMPING OR CURLING FIBRES, FILAMENTS, THREADS, OR YARNS; YARNS OR THREADS
- D02G1/00—Producing crimped or curled fibres, filaments, yarns, or threads, giving them latent characteristics
- D02G1/02—Producing crimped or curled fibres, filaments, yarns, or threads, giving them latent characteristics by twisting, fixing the twist and backtwisting, i.e. by imparting false twist
- D02G1/0206—Producing crimped or curled fibres, filaments, yarns, or threads, giving them latent characteristics by twisting, fixing the twist and backtwisting, i.e. by imparting false twist by false-twisting
- D02G1/0266—Producing crimped or curled fibres, filaments, yarns, or threads, giving them latent characteristics by twisting, fixing the twist and backtwisting, i.e. by imparting false twist by false-twisting false-twisting machines
Definitions
- the air texturing machine known from EP 0 284 945 A2 provides a variant in which all process units at a common Rack wall are arranged. Here are the execution of the manufacturing process provided process units with each other and the frame wall held. A modification or a change of the arrangement of the processing units in the processing points is not provided here.
- the winding devices of in The lower machine levels arranged assemblies each have a coil tray and a sleeve magazine are assigned, in particular for automation the air texturing machine suitable.
- an operability of the winding device preferably provided from the back of the frame wall, so that a Doffgang provided for the removal of the full bobbins parallel to Machine long side is possible.
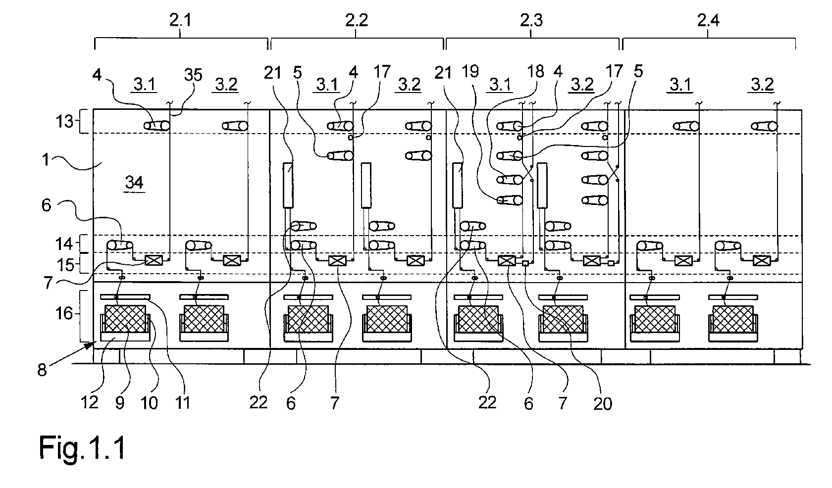
- a total of four processing sections 2.1, 2.2, 2.3 and 2.4 are adjacent shown.
- Each of the machining sections 2.1 to 2.4 are included respectively two processing points 3.1 and 3.2.
- the processing points 3.1 and 3.2 within a processing section 2.1 to 2.4 is suitable to a predetermined Manufacturing process to texturize one or more threads and to to wind up a crimped yarn.
- the processing points 3.1 and 3.2 of Machining sections 2.1 to 2.4 each have a same structure and same arrangement of the process units on. For this, the processing units are in Form of delivery mechanisms, texturing units and other treatment facilities held on a frame wall 1.
- the machining section 2.1 and the machining section 2.4 are constructed identically in this embodiment and each contain a basic arrangement of components of the process units for Execution of a basic manufacturing process for a textured thread.
- the Basic arrangement of the modules in the processing stations is based on the first Processing point 3.1 of the first processing section 2.1 explained below.
- the inlet supply 4 is preferably formed by a driven godet with freely rotatable overflow roller.
- the inlet delivery unit 4 represents the assembly inlet delivery 13.
- a deduction delivery 6 arranged, which also by a driven godet is formed with overflow roller.
- the deduction delivery 6 forms another assembly 14.
- Below the deduction delivery unit 6 is a texturing unit 7 at the Frame wall 1 held.
- the texturing unit 7 represents a further assembly 15
- Below the texturing unit 7 is a winding device in the processing station 8 held.
- the winding device 8 forms a further assembly 16.
- the Reeling 8 automated trained As shown in Fig. 1.2 is, the coils 9 are guided on a pivotable bobbin holder 10. Of the Spool 9 is upstream of a yarn path 11 in the yarn path. During the Winding the coils 9 are applied to a driven drive roller 12 and are driven at a constant peripheral speed. In case that the coil 9 is finished wound, there is an automatic bobbin change. For this the bobbin holder 10 is pivoted and the full bobbin 9 is placed on a bobbin tray 27 filed. The coil tray 27 has a tendency to the rear of the Frame wall 1 on.
- the deposited coils kept for removal.
- a sleeve magazine 26 provided in order to perform an empty tube to the coil holder 10 can.
- the Sleeve magazine 26 is also operable from the back of the frame wall 1 ago.
- the air texturing machine thus has a Doffgang 28, located on the Rear side of the frame wall extends along the machine front. Between the frame wall 1 and the frame wall 1 opposite gate frame 23 an operating passage 29 is formed, from which the process units can be operated are. Thus, at the beginning of the process, the thread is passed through an operator to the individual Process aggregate created.
- additional process units have the machining points 3.1 and 3.2 in the machining section 2.2 each have a follow-up delivery plant 22 and a heater 21. All other assemblies of the processing section 2.2 are identical to the previously described assemblies of the processing section 2.1 and 2.2.
- the smooth multifilament is peeled off Thread first between the inlet delivery 4 and the stretch delivery 5th stretched.
- the thread is guided over the draw pin 17.
- the godet of the Streckarritechnikes 5 is further preferably carried out heated to a to obtain a defined training of the draw point.
- the stretched thread becomes then textured and passes through the deduction feeder 6 to a heater 21.
- the thread is through the tailing plant 22 from the heater 21 withdrawn, wherein between the deduction delivery 6 and the caster supply 22 is set such a speed difference that the Thread within the heater 21 undergoes a shrink treatment.
- To the so-called set treatment is the thread from the caster supply 22nd guided to the winding device 8 and wound into a coil 9.
- processing section 2.3 shown in Fig. 1.1 are further modules integrated in the gaps 34 of the frame wall 1. Opposite the processing points 3.1 and 3.2 of the machining section 2.2 have the processing points 3.1 and 3.2 of the processing section 2.3 a second inlet delivery 18 and a second stretch delivery 19. Furthermore, the texturing unit 7 is a Water nozzle 20 upstream. All other process units correspond to this Construction of the machining points of the machining section 2.2. Also here are the additional modules in the form of the second inlet supplies 18 and the held second delivery systems 19 in a horizontal machine plane.
- Manufacturing process is different from the basic manufacturing process in that a total of two submitted by supply spools threads deducted become.
- Each of the threads is stretched and guided to the texturing unit 7.
- One of the threads is wetted before texturing by means of a water nozzle 20, so that a predetermined combination of the two threads by means of Texturing unit 7 is reached.
- a Shrinkage treatment in the heater 21 After air texturing, a Shrinkage treatment in the heater 21. Subsequently, the thus-textured and formed thread is wound into a spool 9. This can be preferably Produce effect yarns.
- the air-texturing machine according to the invention is thus characterized in particular the selected arrangement of the modules of the process units in the individual Processing points that allow a quick and easy conversion of the manufacturing process allows.
- the arrangement of the modules in one horizontal machine level has the advantage that several process units to one common assembly can be summarized, for example jointly driven and jointly controlled.
- FIG. 2 is an embodiment of an assembly for drawing the threads shown in several processing points.
- the assembly could, for example, in the processing section 2.3 shown in Fig. 1.1 may be arranged.
- FIG. 2.1 shows the front side of a frame wall 1 with the assembly 30 and FIG. 2.2 the back of the frame wall 1. It is in this embodiment as Assembly drafting indicated by the reference numeral 30.
- the assembly 30 contains the infeed delivery 4 and the Streckarritechnike 5 of total three adjacent processing points.
- Each of the infeed delivery 4 and the Streckarritechnike 5 are each by a driven godet with an associated rotatably mounted overflow roller formed.
- the godets and overflow rollers the delivery mechanisms 4 and 5 are projectingly held on the frame wall 1. This situation is shown in Fig. 2.1.
- the drive motor 25 is connected via a connector 33 with a here not shown central control unit connected.
- a here not shown central control unit connected to the frame wall 1 executable.
- the horizontal arrangement of the delivery works forms and the concentration of delivery mechanisms in the upper setting range of the air texturing machine best options to multiple assemblies of delivery plants to drive together.
Landscapes
- Engineering & Computer Science (AREA)
- Mechanical Engineering (AREA)
- Textile Engineering (AREA)
- Physics & Mathematics (AREA)
- Fluid Mechanics (AREA)
- Yarns And Mechanical Finishing Of Yarns Or Ropes (AREA)
- Treatment Of Fiber Materials (AREA)
Abstract
Description
- Fig. 1
- schematisch mehrere Ansichten eines Ausführungsbeispiels der erfindungsgemäßen Lufttexturiermaschine
- Fig. 2
- schematisch mehrere Ansichten einer Baugruppe von Lieferwerken des Ausführungsbeispiels aus Fig. 1
- 1
- Gestellwand
- 2.1, 2.2, 2.3, 2.4
- Bearbeitungssektion
- 3.1, 3.2
- Bearbeitungsstelle
- 4
- Einlauflieferwerk
- 5
- Strecklieferwerk
- 6
- Abzugslieferwerk
- 7
- Texturieraggregat
- 8
- Aufwickeleinrichtung
- 9
- Spule
- 10
- Spulenhalter
- 11
- Changiereinrichtung
- 12
- Treibwalze
- 13
- Baugruppe Einlauflieferwerk
- 14
- Baugruppe Abzugslieferwerk
- 15
- Baugruppe Texturieraggregat
- 16
- Baugruppe Aufwickeleinrichtung
- 17
- Streckstift
- 18
- zweites Einlauflieferwerk
- 19
- zweites Strecklieferwerk
- 20
- Wasserdüse
- 21
- Heizeinrichtung
- 22
- Nachlauflieferwerk
- 23
- Gattergestell
- 24
- Vorlagespule
- 25
- Antriebsmotor
- 26
- Hülsenmagazin
- 27
- Spulenablage
- 28
- Doffgang
- 29
- Bediengang
- 30
- Baugruppe Verstreckung
- 31
- Antriebsrad
- 32.1,32.2
- Riementrieb
- 33
- Steckverbindung
- 34
- Lücken
- 35
- Faden
Claims (9)
- Lufttexturiermaschine mit mehreren Bearbeitungsstellen (3.1, 3.2), die mehrere Prozessaggregate (4, 6, 7, 8) zur Herstellung eines texturierten Fadens (35) pro Bearbeitungsstelle enthalten, wobei jede der Bearbeitungsstellen mehrere Baugruppen (13, 15, 16) von Prozessaggregaten an einer Gestellwand (1) aufweist, wobei eine der Baugruppen (13) zumindest ein Lieferwerk, eine andere Baugruppe (15) zumindest ein Texturieraggregate und eine weitere Baugruppe (16) zumindest eine Aufwickeleinrichtung beinhaltet, und wobei die Baugruppen (13, 15, 16) in den Bearbeitungsstellen zur Ausführung bestimmter Herstellungsverfahren untereinander angeordnet sind ,
dadurch gekennzeichnet, dass
eine Basisanordnung der Baugruppen (13, 14, 15, 16) in den Bearbeitungsstellen (3.1, 3.2) zur Ausführung eines Grundherstellungsverfahren derart ausgebildet ist, dass die Baugruppen (13, 14, 15, 16) mit gleichen Funktionen und gleichem Aufbau der Prozessaggregate (4, 6, 7, 8) in jeweils einer horizontalen Maschinenebene angeordnet sind und dass zusätzliche Baugruppen zur Ausführung anderer Herstellungsverfahren wahlweise in Lücken (34) an der Gestellwand (1) integrierbar sind. - Luntexturiermaschine nach Anspruch 1,
dadurch gekennzeichnet, dass
in der Basisanordnung die Baugruppe (16) mit den Aufwickeleinrichtungen (8) in einer unteren Maschinenebene, die Baugruppe (15) mit den Texturieraggregaten (7) in einer mittleren Maschinenebene und die Baugruppe (13) mit den Lieferwerken (4) in einer oberen Maschinenebene angeordnet sind. - Lufttexturiermaschine nach Anspruch 1 oder 2,
dadurch gekennzeichnet, dass
die Bearbeitungsstellen (3.1, 3.2) in mehrere Bearbeitungssektionen (2.1, 2.2) aufgeteilt sind und dass die Bearbeitungsstellen (3.1, 3.2) einer Bearbeitungssektion (2.1) jeweils eine identischen Aufbau der Baugruppen (13, 14, 15, 16) aufweisen. - Lufttexturiermaschine nach Anspruch 3,
dadurch gekennzeichnet, dass
die Prozessaggregate (4, 5) mit gleicher Funktion und gleichem Aufbau aller Bearbeitungsstellen (3.1, 3.2) einer der Bearbeitungssektionen (2.3) jeweils eine Baugruppe (30) bilden. - Lufttexturiermaschine nach einem der Ansprüche 1 bis 4,
dadurch gekennzeichnet, dass
die Lieferwerke (4, 5) einer Baugruppe (30) gemeinsam durch einen Antriebsmotor (25) antreibbar sind, wobei der Antriebsmotor (25) der Baugruppe (30) zugeordnete ist und über eine Steckverbindung (33) mit einer zentralen Steuereinrichtung verbunden ist. - Lufttexturiermaschine nach einem der vorgenannten Ansprüche,
dadurch gekennzeichnet, dass
den Aufwickeleinrichtungen (8) der in der unteren Maschinenebene angeordneten Baugruppe (16) jeweils eine Spulenablage (27) und ein Hülsenmagazin (26) zugeordnet sind, welche von der Rückseite der Gestellwand (1) bedienbar sind. - Lufttexturiermaschine nach Anspruch 6,
dadurch gekennzeichnet, dass
die Baugruppen (13, 30) mit Lieferwerken (4, 5) jeweils in einem oberen Bereich der Gestellwand (1) angeordnet sind. - Lufttexturiermaschine nach einem der Ansprüche 1 bis 7,
dadurch gekennzeichnet, dass
die Baugruppen einer der Bearbeitungssektionen zur Herstellung texturierter Fäden unabhängig von den Baugruppen der benachbarten Bearbeitungssektionen steuerbar ausgebildet sind. - Lufttexturiermaschine nach einem der Ansprüche 1 bis 8,
dadurch gekennzeichnet, dass
ein Gatter (23) gegenüberliegend zu der Gestellwand (1) angeordnet ist, und dass zwischen dem Gatter (23) und der Gestellwand (1) ein Bediengang (29) gebildet ist.
Applications Claiming Priority (2)
| Application Number | Priority Date | Filing Date | Title |
|---|---|---|---|
| DE102004008266 | 2004-02-20 | ||
| DE102004008266 | 2004-02-20 |
Publications (2)
| Publication Number | Publication Date |
|---|---|
| EP1566474A2 true EP1566474A2 (de) | 2005-08-24 |
| EP1566474A3 EP1566474A3 (de) | 2006-04-19 |
Family
ID=34706862
Family Applications (1)
| Application Number | Title | Priority Date | Filing Date |
|---|---|---|---|
| EP05002386A Withdrawn EP1566474A3 (de) | 2004-02-20 | 2005-02-04 | Lufttexturiermaschine |
Country Status (3)
| Country | Link |
|---|---|
| EP (1) | EP1566474A3 (de) |
| JP (1) | JP2005232671A (de) |
| CN (1) | CN1657673A (de) |
Cited By (2)
| Publication number | Priority date | Publication date | Assignee | Title |
|---|---|---|---|---|
| US20160251194A1 (en) * | 2013-10-14 | 2016-09-01 | Oerlikon Textile Gmbh & Co. Kg | Device for extruding, stretching, and winding a group of film strips |
| CN115045019A (zh) * | 2022-07-19 | 2022-09-13 | 无锡裕盛纱线有限公司 | 一种高效短流程化纤绒毛纱的制备方法 |
Family Cites Families (4)
| Publication number | Priority date | Publication date | Assignee | Title |
|---|---|---|---|---|
| DE3623370A1 (de) * | 1985-07-13 | 1987-01-29 | Barmag Barmer Maschf | Texturiermaschine |
| EP0284945B1 (de) * | 1987-04-02 | 1994-05-18 | Barmag Ag | Lufttexturiermaschine |
| DE3909516A1 (de) * | 1989-03-22 | 1990-01-04 | Hirschburger Maschinen Gmbh | Lufttexturiermaschine |
| DE10232547A1 (de) * | 2002-07-18 | 2004-02-05 | Barmag Ag | Falschdralltexturiermaschine |
-
2005
- 2005-02-04 EP EP05002386A patent/EP1566474A3/de not_active Withdrawn
- 2005-02-17 CN CN 200510008349 patent/CN1657673A/zh active Pending
- 2005-02-21 JP JP2005044816A patent/JP2005232671A/ja active Pending
Cited By (3)
| Publication number | Priority date | Publication date | Assignee | Title |
|---|---|---|---|---|
| US20160251194A1 (en) * | 2013-10-14 | 2016-09-01 | Oerlikon Textile Gmbh & Co. Kg | Device for extruding, stretching, and winding a group of film strips |
| US10730716B2 (en) * | 2013-10-14 | 2020-08-04 | Oerlikon Textile Gmbh & Co. Kg | Device for extruding, stretching, and winding a group of film strips |
| CN115045019A (zh) * | 2022-07-19 | 2022-09-13 | 无锡裕盛纱线有限公司 | 一种高效短流程化纤绒毛纱的制备方法 |
Also Published As
| Publication number | Publication date |
|---|---|
| CN1657673A (zh) | 2005-08-24 |
| JP2005232671A (ja) | 2005-09-02 |
| EP1566474A3 (de) | 2006-04-19 |
Similar Documents
| Publication | Publication Date | Title |
|---|---|---|
| EP2016212B1 (de) | Spinn-treck-texturiermaschine | |
| EP1594785B1 (de) | Vorrichtung zum herstellen und aufwickeln synthetischer fäden | |
| EP2966201B1 (de) | Semiautomatische offenend-rotorspinnmaschine | |
| DE10235936A1 (de) | Vorrichtung zum Spinnen und Aufwickeln | |
| EP1979513B1 (de) | Vorrichtung zum schmelzspinnen und aufwickeln von synthetischen fäden | |
| WO1996009425A1 (de) | Spinnspulmaschinen | |
| DE3943600C2 (de) | Verfahren und Vorrichtung zur Herstellung eines Mehrfachfadens sowie Mehrfachfaden | |
| DE10026942A1 (de) | Verfahren zur Steuerung einer Texturiermaschine sowie eine Texturiermaschine | |
| DE102013109530A1 (de) | Textilmaschine | |
| DE3926227C2 (de) | ||
| WO2018153739A1 (de) | Schmelzspinnvorrichtung | |
| DE102017010143A1 (de) | Vorrichtung zum Abziehen und Aufwickeln mehrerer Fäden | |
| DE69400005T2 (de) | Verfahren und Textilmaschine zum Aufwickeln von Faden. | |
| DE3623370A1 (de) | Texturiermaschine | |
| EP1523592B1 (de) | Falschdralltexturiermaschine | |
| EP1926674B1 (de) | Textilmaschine | |
| CH626926A5 (de) | ||
| EP1409777B1 (de) | Falschdralltexturiermaschine | |
| EP1566474A2 (de) | Lufttexturiermaschine | |
| WO2003033789A1 (de) | Texturiermaschine | |
| WO2005049464A1 (de) | Falschdralltexturiermaschine | |
| DE1435356A1 (de) | Spulenspinnmaschine fuer endlose nach dem Schmelz- oder Trockenspinnverfahren hergestellte kuenstliche Faeden | |
| WO2018100142A1 (de) | Verfahren und vorrichtung zum anlegen mehrerer synthetischer fäden an eine aufwickelmaschine | |
| EP1584717A1 (de) | Garnbearbeitungsmaschine | |
| EP1758807A1 (de) | Verfahren und vorrichtung zum wickeln einer fadenspule |
Legal Events
| Date | Code | Title | Description |
|---|---|---|---|
| PUAI | Public reference made under article 153(3) epc to a published international application that has entered the european phase |
Free format text: ORIGINAL CODE: 0009012 |
|
| AK | Designated contracting states |
Kind code of ref document: A2 Designated state(s): AT BE BG CH CY CZ DE DK EE ES FI FR GB GR HU IE IS IT LI LT LU MC NL PL PT RO SE SI SK TR |
|
| AX | Request for extension of the european patent |
Extension state: AL BA HR LV MK YU |
|
| PUAL | Search report despatched |
Free format text: ORIGINAL CODE: 0009013 |
|
| AK | Designated contracting states |
Kind code of ref document: A3 Designated state(s): AT BE BG CH CY CZ DE DK EE ES FI FR GB GR HU IE IS IT LI LT LU MC NL PL PT RO SE SI SK TR |
|
| AX | Request for extension of the european patent |
Extension state: AL BA HR LV MK YU |
|
| AKX | Designation fees paid | ||
| STAA | Information on the status of an ep patent application or granted ep patent |
Free format text: STATUS: THE APPLICATION IS DEEMED TO BE WITHDRAWN |
|
| 18D | Application deemed to be withdrawn |
Effective date: 20061020 |
|
| REG | Reference to a national code |
Ref country code: DE Ref legal event code: 8566 |
