EP1528330B1 - Baueinheit für eine Kompaktheizungsanlage - Google Patents

Baueinheit für eine Kompaktheizungsanlage Download PDF

Info

Publication number
EP1528330B1
EP1528330B1 EP03025084A EP03025084A EP1528330B1 EP 1528330 B1 EP1528330 B1 EP 1528330B1 EP 03025084 A EP03025084 A EP 03025084A EP 03025084 A EP03025084 A EP 03025084A EP 1528330 B1 EP1528330 B1 EP 1528330B1
Authority
EP
European Patent Office
Prior art keywords
construction unit
insert
channel
unit according
valve
Prior art date
Legal status (The legal status is an assumption and is not a legal conclusion. Google has not performed a legal analysis and makes no representation as to the accuracy of the status listed.)
Expired - Lifetime
Application number
EP03025084A
Other languages
English (en)
French (fr)
Other versions
EP1528330A1 (de
Inventor
Mathiesen Hoj Finn
Current Assignee (The listed assignees may be inaccurate. Google has not performed a legal analysis and makes no representation or warranty as to the accuracy of the list.)
Grundfos AS
Original Assignee
Grundfos AS
Priority date (The priority date is an assumption and is not a legal conclusion. Google has not performed a legal analysis and makes no representation as to the accuracy of the date listed.)
Filing date
Publication date
Application filed by Grundfos AS filed Critical Grundfos AS
Priority to DE50309957T priority Critical patent/DE50309957D1/de
Priority to EP03025084A priority patent/EP1528330B1/de
Priority to AT03025084T priority patent/ATE397737T1/de
Priority to PL371000A priority patent/PL211735B1/pl
Priority to CNB2004100883561A priority patent/CN100526749C/zh
Publication of EP1528330A1 publication Critical patent/EP1528330A1/de
Application granted granted Critical
Publication of EP1528330B1 publication Critical patent/EP1528330B1/de
Anticipated expiration legal-status Critical
Expired - Lifetime legal-status Critical Current

Links

Images

Classifications

    • FMECHANICAL ENGINEERING; LIGHTING; HEATING; WEAPONS; BLASTING
    • F24HEATING; RANGES; VENTILATING
    • F24HFLUID HEATERS, e.g. WATER OR AIR HEATERS, HAVING HEAT-GENERATING MEANS, e.g. HEAT PUMPS, IN GENERAL
    • F24H9/00Details
    • F24H9/14Arrangements for connecting different sections, e.g. in water heaters 
    • FMECHANICAL ENGINEERING; LIGHTING; HEATING; WEAPONS; BLASTING
    • F24HEATING; RANGES; VENTILATING
    • F24DDOMESTIC- OR SPACE-HEATING SYSTEMS, e.g. CENTRAL HEATING SYSTEMS; DOMESTIC HOT-WATER SUPPLY SYSTEMS; ELEMENTS OR COMPONENTS THEREFOR
    • F24D3/00Hot-water central heating systems
    • F24D3/08Hot-water central heating systems in combination with systems for domestic hot-water supply
    • FMECHANICAL ENGINEERING; LIGHTING; HEATING; WEAPONS; BLASTING
    • F24HEATING; RANGES; VENTILATING
    • F24HFLUID HEATERS, e.g. WATER OR AIR HEATERS, HAVING HEAT-GENERATING MEANS, e.g. HEAT PUMPS, IN GENERAL
    • F24H1/00Water heaters, e.g. boilers, continuous-flow heaters or water-storage heaters
    • F24H1/48Water heaters for central heating incorporating heaters for domestic water
    • F24H1/52Water heaters for central heating incorporating heaters for domestic water incorporating heat exchangers for domestic water
    • FMECHANICAL ENGINEERING; LIGHTING; HEATING; WEAPONS; BLASTING
    • F24HEATING; RANGES; VENTILATING
    • F24HFLUID HEATERS, e.g. WATER OR AIR HEATERS, HAVING HEAT-GENERATING MEANS, e.g. HEAT PUMPS, IN GENERAL
    • F24H9/00Details
    • F24H9/14Arrangements for connecting different sections, e.g. in water heaters 
    • F24H9/142Connecting hydraulic components

Definitions

  • the invention relates to a structural unit for a compact heating system.
  • Such units are state of the art and are used if possible to take all the fittings of such a heating system in a tight space and provide the necessary channel connections and line connections. This is not only a compact design to be achieved, but beyond both the manufacturing and assembly costs and the subsequent maintenance costs are reduced.
  • a unit for a compact heating system which has two heating circuits, one for heating the heating water for the central heating and another for heating the service water.
  • the structural unit described therein is comparatively compact and essentially composed of three injection-molded parts, of which the first centrally arranged forms the pump housing, which is designed to be open at the front for receiving the motor assembly, and form the two other fitting housings adjoining on both sides.
  • the present invention has the object to further improve such a unit, in particular to increase the functionality and thus simplify installation and maintenance on.
  • the invention provides a unit for a compact heating system, which has rear connections for a plate heat exchanger, a central pump housing or pump housing component, connect to the valve body on both sides, wherein the pump housing for receiving the impeller and for connecting the electric motor is designed to be open at the front.
  • a front accessible plug-in space is provided, which serves to accommodate at least one valve.
  • these insertion spaces each form a connection base for a connecting piece of the heating system, a channel leading to the plate heat exchanger and at least one further channel or connection.
  • the basic idea of the present invention is to form a connection base for the lines to be connected or connected by the two laterally adjoining the pump housing fitting housing with their insertion spaces and at the same time to receive the necessary fittings, by means of the front accessible plug-in spaces, so that a change of fittings even when installed easily possible.
  • the plate heat exchanger connects the side fitting housing, so that the pump housing can be incorporated form-fitting between this fitting housing.
  • Such a structural unit can, as will be described in detail below, preferably be formed from three injection-molded parts which can be produced exclusively by means of drawing cores, that is to say without melting cores, which is advantageous in terms of production technology.
  • Armature according to the present invention are not only valves or other switching elements, this may also be components such as air or dirt separators or parts thereof or, for example, a closure cap for a control opening.
  • the insertion spaces are arranged relative to the paired connection pieces for the plate heat exchanger so that they overlap one connection in the insertion direction, so that no separate transverse channel is required for the connection between the insertion space and connection piece of the plate heat exchanger.
  • the insertion spaces are each connected to the bottom side with a channel leading to the plate heat exchanger channel through an opening in the ground, wherein this channel extends in the direction of insertion and to the connecting piece of the heat exchanger.
  • insertion space and channel can each be formed by coming from the front or from the rear of the drawing cores in the tool, wherein the pulling core for the channel is also used for the connection piece.
  • both fitting housing have a downwardly directed channel to a connecting piece for the heating flow or the heating return, which adjoins the insertion space.
  • the insertion spaces each have a circular cross-section and are arranged with their longitudinal axes substantially parallel to the axis of rotation of the centrifugal wheel. Then the fittings / inserts to be incorporated into the drawer spaces can also be used from the front when mounted. Due to the round cross-section, a simple seal, for example with O-rings, is possible. In addition, bayonet or screw can be realized, which make it necessary to rotate a valve in the insertion space.
  • One of the insertion spaces is advantageously provided for receiving a switching valve, in particular a 3/2-way valve, which is preferably inserted as a plug-in module from the front into the insertion space.
  • the insertion unit expediently not only the valve body, but also the sealing seats, so that in the case of a defect or during maintenance, all the essential parts of the switching valve forward together with the plug-in unit can be pulled out and overhauled or replaced.
  • the insertion space in the region of the switching valve has corresponding channel connections for the three channels to be alternately connected in pairs.
  • the switching valve controls the heating water flow coming from the primary heat exchanger either in the heating network or in a secondary heat exchanger, typically a plate heat exchanger.
  • the control takes place in dependence of the hot water flow, for which appropriate sensors and control electronics are provided.
  • the valve is actuated by appropriate actuating means, preferably by electric motor.
  • valve body transverse to the insertion direction for the changeover valve a further, preferably accessible from above insertion space provided for the integration of the control means, in particular the electric motor is provided.
  • the valve-near arrangement of the motor at the top is particularly favorable in terms of mechanical power transmission and has the advantage that the motor can be pulled up out of the insertion space in order to maintain or replace it, for example. Since there is typically a certain amount of free space above the unit, this positioning is therefore particularly favorable and easily accessible, ie. H. Both valve and motor can be replaced without having to remove the assembly.
  • This channel which is then controlled by the changeover valve, leads down to a connecting piece for the heating flow.
  • This connection piece for connection to the stationary lines on the underside of the unit is particularly favorable, since the lines are routinely routinely installed in the floor or baseboard area, especially when retrofitting the heating system, as is common in old buildings and therefore come from below. The connection of these lines is therefore simplified, in particular because of the good accessibility of the line connections in this area of the compact heating system.
  • bypass channel connects, which preferably extends parallel to the insertion direction under the valve-side insertion space to the rear and there opens into a leading to the suction side of the pump transverse channel.
  • bypass channel does not short-circuit the pump hydraulically, it is regularly necessary to use a control valve.
  • This is advantageously used from the back of the channel and set by the expert in the installation of the system.
  • this arrangement is favorable because the valve can be incorporated into the drawing core opening required anyway for the channel.
  • this arrangement also offers considerable advantages, in particular during operation of the system. It not only increases the compactness of the unit, but also ensures that in the installed state, the control valve is not accessible, so not accidentally manipulated by an operator can be, but only targeted by the professional installation or removal of the unit.
  • a channel with line connection for leading to the primary heat exchanger line connects, preferably transversely to the insertion direction and on the side facing away from the pump side of the Armaturengehöuses. This coming from the primary heat exchanger line is connected by the switching valve either with the input line to the secondary heat exchanger (plate heat exchanger) or the heating flow.
  • the primary heat exchanger is typically located in the upper area of the compact heating system, ie above the unit and its lines lead laterally down to the unit, it is also particularly advantageous montagetechnisch to provide this connection seen from the front on the left side of the valve-side fitting housing, since then namely a connection of the conduit usually formed from a substantially rigid tube is easy to accomplish.
  • each of the fitting housing a frontally accessible insertion space is provided, it is expedient to complete the insertion spaces by bayonet connections by means of a lid or the insertable fitting therein, so that an exchange of valves or the Access to the drawer spaces is quick and easy.
  • identical bayonets are preferably used for both insertion spaces, so that identical seals and the same cover or fitting connections can be used.
  • the other insertion space is provided and designed to receive a dirt separator. Then, after opening the lid of the insertion space of the dirt and so that the dirt collected therein are removed or is at least accessible to remove any deposits therein. It also needs no separate installation space for a dirt separator can be provided.
  • the insertion space is dimensioned correspondingly large in order to ensure a sufficient effective flow cross-section despite the Abscheider füren flow cross-section reduction.
  • the dirt separator is therefore advantageously incorporated as a sieve-like insert in the insertion space, which is removable from the front after removing a lid. In the lid of the insertion space further fittings or sensors can be incorporated.
  • a safety valve is incorporated in the cover, which releases a connection to the outside atmosphere when a predetermined pressure is exceeded, or a channel connection into a drain or a collecting vessel.
  • the arrangement of the valve in the lid this can be quickly replaced, checked and cleaned, it also takes up the least possible installation space within the unit.
  • the lid is advantageously integrally formed with a component of the integrated in the lid fitting, in particular the safety valve and as a plastic injection molded part.
  • the lid can thus simultaneously form cover function and, for example, housing function for the safety valve.
  • the dirt separator side slide housing forms according to the invention, a connection base as explained above.
  • it has two lateral connections for a heat storage for storing heated heating water, which are channel-separated by a einliederbore partition.
  • the arrangement is chosen so that the integration of the partition the lateral connections the Heat storage in series with the coming out of the plate heat exchanger power to the primary heat exchanger. If, on the other hand, the assembly is to be used without heat storage, then only the lateral connections are to be closed. By then not incorporated dividing wall, the plug-in housing is freely continuous in the axial direction. This design variant thus allows the same tool to produce a unit both for compact heating systems with as well as for those without heat storage.
  • the poor Schmutzabscheider simplyen fitting housing vertically downwardly directed channel to the Anchlussstutzen for the heating return.
  • a connection for integrating a sensor is provided on the insertion space provided for the dirt separator, preferably on the upper side.
  • This sensor connection advantageously also has a bayonet connection, so that the sensor can be exchanged quickly and without tools.
  • a lateral connection is provided on the channel arranged between plug-in housing and connecting piece for the heating return, which can be locked by means of a valve.
  • the compact heating system can then be emptied in the installed state via this lateral connection or filled by connecting a corresponding pressure line.
  • the invention also has the Schmutzabscheider made.
  • Insertion space on a bottom-side opening which a fluid-conducting connection to a running in the direction of insertion channel forms a connection piece for the plate heat exchanger.
  • a direct channel connection to the connecting piece for the plate heat exchanger is formed, which can be formed by a simple pulling core in the tool.
  • the axes of the insertion space and the channel are arranged parallel to one another and the cross-sections of the insertion space and the channel overlap (as viewed in the insertion direction).
  • the dirt separator on the insertion space preferably in the bottom region of a leading to the suction side of the pump channel.
  • Einschubraums as a connection base further increased also can be formed on a comparatively short way the required connection channel to the suction nozzle of the pump, which is located immediately adjacent to the dirt separator side valve body. Since both the valve body and the pump housing or this receiving injection molding component are manufactured as separate injection molded parts, which are joined only during assembly, these transverse channels can also be advantageously realized by drawing cores in the injection mold, without costly melting cores are required.
  • the unit is designed so that not only for the heating flow and the heating return downwardly directed connection piece are provided on the underside of the unit, but also the two other connections for the hot water supply and coming from the compact heating system heated hot water are provided on the bottom.
  • it is expediently provided all four connecting pieces for the heating circuit and the service water supply to the underside of the unit, so that it can be connected to the stationary stationary lines with little maintenance.
  • connections are advantageously arranged so that they are all in a horizontal plane. Then, namely, the unit, when the downward outgoing terminals are designed as plug-in connections, are connected by lowering down to the stationary lines, which can serve for sealing simple O-rings, as in connection connections of such units in the rest of the prior art counts.
  • these known in building units connectors are each positively secured by an approximately U-shaped bracket, which is postponed after joining the lines by joining transversely to the terminal.
  • this positive locking advantageously by a central closure plate, d. H. in that, after lowering downwards, the assembly unit is completely connected by inserting the central closure plate without the need for further assembly work.
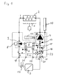
  • Fig. 1 shown compact heating system is a gas boiler, as it is typically intended for wall mounting as a compact device for heat supply working with radiators space heating and for hot water / hot water production.
  • a burner 1 acts on a primary heat exchanger 2, the heated water of a heat exchanger 3, typically in the form of one or more radiators for space heating, is supplied.
  • the cooled water flows from the heat exchanger 3 back to the primary heat exchanger 2 and is circulated by means of a arranged on the cold side of the heat exchanger 2, 3 circulation pump 4.
  • a plate heat exchanger 5 is provided, in which the coming from the water network cold hot water is heated. Since the heating of the service water has to take place only in Ent Cyprusfall, appropriate sensors, in particular a flow meter 6 as well as a pressure and temperature sensor 7 is provided, depending on the output signal of a servomotor 8 is driven, which drives a 3/2-way valve 9, in order to control the heating of domestic hot water coming from the primary heat exchanger 2 heat-conducting liquid flow instead of the heat exchanger 3 to the plate heat exchanger 5.
  • a surge tank 10 is provided and a heat storage 11, which is connected in series between plate heat exchanger 5 and the primary heat exchanger 2, here on the cold side.
  • Fig. 1 with 3 symbolized heat exchanger is, as usual today in hot water heating systems, provided with a thermostatic valve 12, which controls the circuit in terms of flow resistance and then, if no heat demand is given locks.
  • a bypass line 13 is provided within the compact heating system with a valve 14, via which the hydraulically effective line cross section of the bypass line 13 is adjustable. Through this bypass line 13, a closed circulation circuit is ensured, even if the thermostatic valve 12 is fully closed.
  • a safety valve 15 in the form of a pressure relief valve suction side of the pump 4 are provided and two shut-off valves 16 and 17, which are connected via a line 18 to each other.
  • the heating system has a total of four line connections in the form of plug connections, namely a connection 19 for the heating flow as a port 20 for the heating return. Furthermore, a connection 21 is provided for the service water inlet and a connection 22 for the coming from the plant hot water.
  • FIG. 1 framed by broken lines part of the compact heating system is formed by a structural unit 23, the structure of the basis of FIGS. 2 to 9 is shown in detail.
  • the assembly 23 is essentially composed of three injection-molded parts, namely a central, the pump housing-containing pump housing component 24, to the left in installation position seen from the front left a dashboard housing 25 and the right side a fitting housing 26.
  • the components 24, 25 and 26 are manufactured as plastic injection molded components and designed to be without use of fused cores, ie with comparatively inexpensive tools that work with drawing cores can be produced.
  • These components 24 to 26 are incorporated into each other in the transverse direction 27 to the impeller axis 28 of the pump and are positively secured by the rear-connected plate heat exchanger 5 in this position.
  • the pump housing component 24 has the actual pump housing and a forwardly open insertion space 29, which is provided for receiving the pump impeller and for flanging the forward adjoining motor 30.
  • the pump housing has an obliquely right above outgoing discharge nozzle 31, the free end is formed as a threaded connection and is provided for connection of the primary heat exchanger 2 leading line.
  • an air separator 32 On the suction side connected to the pump housing or integrated into the pump housing component 24 is an air separator 32, in which a conventional Lucasabscheideventil is incorporated.
  • the rearwardly directed suction mouth 33 of the pump is conductively connected to the valve housing 26 via a suction channel 34 extending in the transverse direction 27 into which it opens.
  • the suction channel 34 continues in the fitting housing 26 continues to the right and opens into a rearwardly extending from the rear channel 35, which merges into a substantially cylindrically shaped, with its cylinder axis parallel to the impeller axis 28 and forward open insertion space 36, which serves as a central Anschussbasis for other connections or lines as well as for receiving fittings.
  • the insertion space 36 opens from below a line 40, at the end of the connection 20 is arranged for the heating return.
  • the bottom of the insertion space 36 is broken not only to the channel 35, but also in the upper left area (see Fig. 7 ), where a rear channel opens, which runs in alignment with a lower connecting piece 41, which is provided for connection of the plate heat exchanger 5.
  • the connecting piece 41 is formed as a pair of connecting pieces together with the overlying connecting piece 42.
  • the connecting piece 41 connects the Schuzierniklauf the heat exchanger 5 with the suction side of the pump 4.
  • the upper connection piece 42 connects the hot water leading service water connection of the heat exchanger 5 with a vertically downwardly leading channel 43, which opens into the connection 22 for hot service water.
  • connection 66 is provided for the expansion tank 10 upwards.
  • the insertion space 36 opens an obliquely coming from above and front receiving opening 44 which is provided at the end with a part of a bayonet fitting and in which a combined pressure and temperature sensor 45 is incorporated as a plug-in part, which is equipped with the other part of the bayonet closure ,
  • the insertion space 36 itself serves to receive a Schmutzabscheiders 46, which is inserted in the manner of a sieve in this and arranged so that the coming of the terminal 20, ie from the heating return water must penetrate this before it reaches the suction channel 34 of the pump.
  • the dirt separator 46 is held in a form-fitting manner and can be pulled out to the front for cleaning purposes.
  • the insertion space 36 is provided towards the front with a bayonet closure, so that a corresponding lid can be placed without tools for the conclusion of the insertion space 36 and optionally removed again. It is understood that appropriate O-rings are provided as seals at the required locations.
  • a safety valve 15 is incorporated in the lid 47 in the form of a pressure relief valve.
  • the lid 47 forms part of the safety valve 15.
  • each transverse channels are connected, which are closed by means of the shut-off valves 16 and 17. These channels are connected to each other via a line 18 which is formed as a separate component.
  • the shut-off valve 16 can serve both to fill the system via the line 18 and the open valve 17 as well as for emptying the system after removal of the line 18 due to the horizontal nozzle.
  • the conduit 18 is mounted so that it can be detached manually without tools, so that it can be removed or inserted as needed.
  • This insertion space 48 serves to receive the 3/2-way valve 9, which is designed in the form of a slide-in fitting, which can be inserted from the front into the insertion space 48 and sealingly locked by means of a bayonet connection.
  • the insertion space 48 final bayonet connection is identical to that for the insertion space 29 so that same end cover can be used.
  • the insertion fitting 49 has, as best in Fig. 6 can be seen, two sealing seats, which are each closed by a sealing body.
  • the sealing bodies are seated on a rod 50 arranged parallel to the rotor axis 28 and are aligned and arranged such that they always close in the direction of flow, whereby when moving the rod 50 in one direction the sealing body moves toward its sealing seat and the other is lifted off the latter or in the opposite direction in the reverse manner.
  • the rod 50 is actuated by a lever 51, which is arranged pivotably in a mounting fitting 52, which is incorporated in an upwardly open insertion space 53, which has an opening to the insertion space 48.
  • the lever 51 can engage with one end on the rod carrying the sealing body 50 and with its other end to a spindle 54 which is extended by a motor 8 depending on the rotational position more or less.
  • the installation fitting 52 comprises the lever 51, the spindle 54 and the motor 8 and is inserted from above into the insertion space 53 with incorporation of an elastic and sealing cuff 56. This cuff seals the passage of the lever 51 without hindering its mobility.
  • the installation fitting 52 may additionally be sealed by O-rings relative to the insertion space 53.
  • lateral connections 58 on the left side or the connection formed by the pressure port 31 on the right side are arranged particularly advantageously, since the in installation insert from above lines to or from the primary heat exchanger 2 are easy to connect, since they spring in the transverse direction 27 over its entire length and therefore well manipulable, d. H. away from the connection or to the connection are movable.
  • the insertion space 48 has on the bottom side an opening to a substantially coaxially extending back channel, which opens into a connecting piece 59 for the plate heat exchanger 5.
  • This lower connecting piece 59 belongs to a pair whose upper connecting piece 60 is connected via a transverse channel 61 with a vertically downwardly extending channel 62, which opens into the port 21 for the service water inlet.
  • the line connection 58 is conductively connected either to the lower connection piece 59 for the plate heat exchanger 5 or to the connection 19 for the heating flow.
  • the insertion space 48 forms a connection base for almost all on this side of the pump leading channels.
  • the bypass line 13 forms.
  • the transverse channel 64 opens in the lower rear region of the pump housing, ie in the suction chamber thereof, as in FIG Fig. 5 is clearly visible.
  • a spring-loaded valve 14 is inserted from behind, through which the effective cross section of the bypass line 13 is pressure-dependent.
  • On the vertical, leading to the port 21 channel 62 is a receptacle for a further pressure-temperature sensor 45 is provided to the front. Recording and sensor are formed in the same manner as that of the right fitting housing 26.
  • This pressure / temperature sensor 45 which is inserted from the front, projects into the vertical and rear-side channel 62, which leads to the connection 21 for the service water inlet.
  • the pressure sensor in conjunction with an obstruction formed in the channel 62 forms part of the flow meter 6 described in the introduction, in conjunction with a corresponding evaluation electronics, which is arranged in the terminal box 65.
  • the terminal box 65 is provided, which is arranged on the housing of the motor 30 and thus associated with the pump housing component 24.
  • the mechanical connection of the components 24, 25 and 26 takes place on the one hand via the channel connections (see Fig. 3 ) (34, 64) and on the other via corresponding, not described in detail here connecting webs, which are secured by means of threaded bolts.
  • the channel connections are plug-in connections under inclusion of an O-ring, which performs the sealing function of the compound as well as a transversely inserted to the insertion direction U-shaped bracket, which takes over the mechanical lock.
  • connections or connecting pieces are partly plug-in connections, threaded connections or flange-like Neck formed.
  • the respective designs are only to be understood as examples and can be adapted, exchanged or modified according to the requirements.
  • the unit described above is extremely compact and is from the lateral dimensions approximately in alignment with the plate heat exchanger arranged rearwardly so that the entire unit between vertical struts of the chassis of the compact heating system is einliederbar, whereby the overall depth of the entire system can be reduced , Furthermore, all major units and fittings are accessible from the front or from the above the unit formed space so that they can be replaced and serviced without disassembly of the unit.
  • the design of the pump housing component 24, in particular in the rear part results in detail from the Figures 10 and 11 as well as in the installed state from the Figures 3 and 5 , As these representations illustrate, the actual pump housing is stepped back and extends below the plate heat exchanger 5, where from the right (seen from the front) of the suction channel 34 and from the left of the transverse channel 64 connects to the bypass line 13.
  • This the heat exchanger 5 on its underside superior part 75 of the pump housing is upstream of the actual suction chamber and forms part of a Beerabscheide observed, the actual separator 32 adjoins the top and consists of a Heilabscheidehunt 70 and this up to the final vent valve 71.
  • the suction chamber of the pump which is separated from the pressure chamber by a plate 72, opens into the suction mouth 33, which in its upper region is surrounded by an upper guide body 73 extending from the plate 72 backwards to the housing wall, approximately over 190 °. Downwardly at a distance, the suction mouth is surrounded by a lower guide body 74 which engages over the lower ends of the upper guide body 73 laterally and at a distance and also protrudes up to the rear housing wall of the pump housing component 24, specifically Fig. 10
  • the arrangement of the guide body 73 and 74 is such that the flow entering from the suction channel 34 to the in. Under the plate heat exchanger 5 lying below the plate heat exchanger 5 Fig.
  • bypass channel 64 also opens in the bottom of the suction chamber, under the lower guide body 74th

Landscapes

  • Engineering & Computer Science (AREA)
  • Mechanical Engineering (AREA)
  • Physics & Mathematics (AREA)
  • Thermal Sciences (AREA)
  • Chemical & Material Sciences (AREA)
  • Combustion & Propulsion (AREA)
  • General Engineering & Computer Science (AREA)
  • Water Supply & Treatment (AREA)
  • Steam Or Hot-Water Central Heating Systems (AREA)
  • Heat-Exchange Devices With Radiators And Conduit Assemblies (AREA)
  • Resistance Heating (AREA)
  • Basic Packing Technique (AREA)
  • Yarns And Mechanical Finishing Of Yarns Or Ropes (AREA)

Description

  • Die Erfindung betrifft eine Baueinheit für eine Kompaktheizungsanlage.
  • Derartige Baueinheiten zählen zum Stand der Technik und dienen dazu nach Möglichkeit sämtliche Armaturen einer solchen Heizungsanlage auf engen Raum aufzunehmen und die hierfür erforderlichen Kanalverbindungen und Leitungsanschlüsse bereitzustellen. Hierdurch soll nicht nur eine kompakte Bauweise erzielt werden, sondern darüber hinaus sowohl der Herstellungs- und Montageaufwand als auch der spätere Wartungsaufwand verringert werden.
  • Aus DE 100 07 873 C1 ist eine Baueinheit für eine Kompaktheizungsanlage bekannt, die zwei Heizkreise aufweist, einen zur Erwärmung des Heizungswassers für die Zentralheizung und einen anderen zur Erwärmung des Brauchwassers. Die dort beschriebene Baueinheit ist vergleichsweise kompakt und im Wesentlichen aus drei Spritzgussteilen aufgebaut, von denen das erste zentral angeordnete das Pumpengehäuse bildet, das nach vorne offen zur Aufnahme des Motoraggregats ausgebildet ist, und die beiden anderen zu beiden Seiten daran anschließende Armaturengehäuse bilden.
  • Ausgehend von diesem Stand der Technik liegt der vorliegenden Erfindung die Aufgabe zugrunde, eine solche Baueinheit weiter zu verbessern, insbesondere die Funktionalität zu erhöhen und somit Einbau und Wartung weiter zu vereinfachen.
  • Diese Aufgabe wird gemäß der Erfindung durch die in Anspruch 1 angegebenen Merkmale gelöst.
  • Demgemäß sieht die Erfindung eine Baueinheit für eine Kompaktheizungsanlage vor, welche rückwärtige Anschlüsse für einen Plattenwärmetauscher aufweist, ein zentrales Pumpengehäuse bzw. Pumpengehäusebauteil, an das beidseitig Armaturengehäuse anschließen, wobei das Pumpengehäuse zur Aufnahme des Kreiselrades und zum Anschluss des Elektromotors nach vorne offen ausgebildet ist. In jedem Armaturengehäuse ist ein von vorne zugänglicher Einschubraum vorgesehen, der zur Aufnahme mindestens einer Armatur dient. Des Weiteren bilden diese Einschubräume jeweils eine Anschlussbasis für einen Anschlussstutzen der Heizungsanlage, einen zum Plattenwärmetauscher führenden Kanal sowie mindestens einen weiteren Kanal oder Anschluss.
  • Grundgedanke der vorliegenden Erfindung ist es, durch die beiden seitlich an das Pumpengehäuse anschließenden Armaturengehäuse mit ihren Einschubräumen jeweils eine Anschlussbasis für die anzuschließenden bzw. zu verbindenden Leitungen zu bilden und gleichzeitig die erforderlichen Armaturen aufzunehmen, und zwar mittels der von vorne zugänglichen Einschubräume, so dass ein Wechsel der Armaturen auch im eingebauten Zustand problemlos möglich ist. Der Plattenwärmetauscher verbindet dabei die seitlichen Armaturengehäuse, so dass zwischen diesem Armaturengehäuse das Pumpengehäuse formschlüssig eingegliedert werden kann. Eine solche Baueinheit kann, wie im nachfolgenden noch im Einzelnen beschrieben sein wird, vorzugsweise aus drei Spritzgussteilen gebildet werden, die ausschließlich mittels Ziehkernen, also ohne Schmelzkerne hergestellt werden können, was herstellungstechnisch von Vorteil ist.
  • Armatur im Sinne der vorliegenden Erfindung sind nicht nur Ventile oder andere Schaltorgane, dies können auch Bauteile wie Luft- oder Schmutzabscheider oder Teile davon sein oder beispielsweise ein Verschlussdeckel für eine Kontrollöffnung.
  • Dabei sind die Einschubräume bezogen auf die paarweise ausgebildeten Anschlussstutzen für den Plattenwärmetauscher so angeordnet, dass sie in Einschubrichtung gesehen jeweils einen Anschluss überschneiden, so dass kein gesonderter Querkanal zur Verbindung zwischen Einschubraum und Anschlussstutzen des Plattenwärmetauschers erforderlich ist. Hierzu sind die Einschubräume jeweils bodenseitig mit einem zum Plattenwärmetauscher führenden Kanal durch eine Durchbrechung im Boden, verbunden wobei dieser Kanal in Einschubrichtung und zum Anschlussstutzen des Wärmetauschers hin verläuft. Auf diese Weise können Einschubraum und Kanal jeweils durch von vorne bzw. von hinten kommende Ziehkerne im Werkzeug gebildet werden, wobei der Ziehkern für den Kanal gleichzeitig auch für den Anschlussstutzen Verwendung findet. Dabei weisen beide Armaturengehäuse einen nach unten gerichteten Kanal zu einem Anschlussstutzen für den Heizungsvorlauf bzw, den Heizungsrücklauf an, der am Einschubraum anschließt.
  • Vorteilhaft ist es, wenn die Einschubräume jeweils einen kreisrunden Querschnitt aufweisen und mit ihren Längsachsen im Wesentlichen parallel zur Drehachse des Kreiselrades angeordnet sind. Dann können die in die Einschubräume einzugliedernden Armaturen/Einsätze auch im montierten Zustand von vorne eingesetzt werden. Aufgrund des runden Querschnitts ist eine einfache Abdichtung, beispielsweise durch O-Ringe möglich. Darüber hinaus können auch Bajonett- oder Schraubverbindungen realisiert werden, welche ein Drehen einer Armatur in dem Einschubraum erforderlich machen.
  • Einer der Einschubräume ist vorteilhaft für die Aufnahme eines Umschaltventils vorgesehen, insbesondere eines 3/2-Wegeventils, welches vorzugsweise als Einschubbaueinheit von vorne in den Einschubraum eingliederbar ist. Dabei weist die Einschubbaueinheit zweckmäßigerweise nicht nur den Ventilkörper, sondern auch die Dichtsitze auf, so dass im Falle eines Defektes oder bei der Wartung alle funktionswesentlichen Teile des Umschaltventils nach vorne zusammen mit der Einschubeinheit herausgezogen und überholt bzw. ausgetauscht werden können. Es versteht sich, dass der Einschubraum im Bereich des Umschaltventils entsprechende Kanalanschlüsse für die drei abwechselnd paarweise miteinander zu verbindenden Kanäle aufweist.
  • Das Umschaltventil steuert den vom Primärenwärmetauscher kommende Heizwasserstrom entweder in das Heizungsnetz oder in einen Sekundärwärmetauscher, typischerweise einen Plattenwärmetauscher. Die Steuerung erfolgt in Abhängigkeit des Brauchwasserdurchflusses, wofür entsprechende Sensorik und Steuerelektronik vorgesehen sind. Betätigt wird das Ventil durch entsprechende Betätigungsmittel, vorzugsweise elektromotorisch.
  • Um die Betätigungsmittel, welche das Ventil steuern, möglichst nahe, jedoch gegenüber dem Fluidraum abgedichtet unterzubringen, ist gemäß einer Weiterbildung der Erfindung im Armaturengehäuse quer zur Einschubrichtung für das Umschaltventil ein weiterer, bevorzugt von oben zugänglicher Einschubraum vorgesehen, der zur Eingliederung der Steuermittel, insbesondere des Elektromotors vorgesehen ist. Die ventilnahe Anordnung des Motors an der Oberseite ist hinsichtlich der mechanischen Kraftübertragung besonders günstig und hat zu dem den Vorteil, dass der Motor nach oben aus dem Einschubraum herausgezogen werden kann, um diesen beispielsweise zu warten oder auszutauschen. Da über der Baueinheit typischerweise ein gewisser Freiraum vorhanden ist, ist diese Positionierung also besonders günstig und gut zugänglich, d. h. sowohl Ventil als auch Motor können ausgetauscht werden, ohne die Baueinheit ausbauen zu müssen.
  • Konstruktiv besonders günstig ist es, am ventilseitigen Armaturengehäuse einen senkrecht nach unten gerichteten Kanal zu einem Anschlussstutzen für den Heizungsvorlauf vorzusehen, der an dem für das Umschaltventil vorgesehenen Einschubraum anschließt.
  • Dieser Kanal, der dann durch das Umschaltventil angesteuert wird, führt nach unten zu einem Anschlussstutzen für den Heizungsvorlauf. Diese Anschlussstutzen zum Anschluss an die ortsfesten Leitungen an der Unterseite der Baueinheit anzuordnen ist besonders günstig, da die Leitungen insbesondere bei nachträglich Einbau der Heizungsanlage, wie dies in Altbauten üblich ist, regelmäßig im Boden bzw. Fußleistenbereich verlegt sind und daher von unten kommen. Der Anschluss dieser Leitungen wird daher vereinfacht, insbesondere wegen der guten Zugänglichkeit der Leitungsanschlüsse in diesem Bereicht der Kompaktheizungsanlage.
  • Günstig ist es, wenn an dem zum Heizungsvorlauf führenden Kanal ein Bypasskanal anschließt, der sich vorzugsweise parallel zur Einschubrichtung unter dem ventilseitigen Einschubraum nach hinten erstreckt und dort in einen zur Saugseite der Pumpe führenden Querkanal mündet. Ein solcher Bypasskanal ist bei Kompaktheizungsanlagen erforderlich, um auch dann, wenn sämtliche Thermostatventile an den Heizkörpern geschlossen sind und somit kein Durchfluss durch das Heizungssystem möglich ist, eine Zirkulation zumindest innerhalb der Kompaktheizungsanlage zu gewährleisten.
  • Damit der Bypasskanal nicht die Pumpe hydraulisch kurzschließt ist es regelmäßig erforderlich, ein Regelventil einzusetzen. Dieses wird vorteilhaft von hinten in den Kanal eingesetzt und vom Fachmann bei der Installation der Anlage eingestellt. Fertigungstechnisch ist diese Anordnung günstig, da das Ventil in die ohnehin für den Kanal erforderliche Ziehkernöffnung eingegliedert werden kann. Diese Anordnung bietet jedoch auch insbesondere beim Betrieb der Anlage erhebliche Vorteile. Sie erhöht nicht nur die Kompaktheit der Baueinheit, sondern sorgt zugleich dafür, dass in eingebauten Zustand das Regelventil nicht zugänglich ist, also nicht versehentlich durch eine Bedienperson manipuliert werden kann, sondern nur gezielt durch den Fachmann beim Einbau bzw. nach Ausbau der Baueinheit.
  • Günstig ist es, wenn an den ventilseitigen Einbauraum, also dort wo das Umschaltventil eingegliedert ist, seitlich ein Kanal mit Leitungsanschluss für eine zu dem Primärwärmetauscher führende Leitung anschließt, und zwar vorzugsweise quer zur Einschubrichtung und an der von der Pumpe abgewandten Seite des Armaturengehöuses. Diese vom Primärwärmetauscher kommende Leitung wird durch das Umschaltventil wahlweise mit der Eingangsleitung zum Sekundärwärmetauscher (Plattenwärmetauscher) oder dem Heizungsvorlauf verbunden. Da der Primärwärmetauscher typischerweise im oberen Bereich der Kompaktheizungsanlage, also über der Baueinheit angeordnet ist und seine Leitungen seitlich nach unten zur Baueinheit führen, ist es auch montagetechnisch besonders günstig, diesen Anschluss von vorne gesehen an der linken Seite des ventilseitigen Armaturengehäuses vorzusehen, da dann nämlich ein Anschluss der üblicherweise aus einem im Wesentlichen starren Rohr gebildeten Leitung einfach zu bewerkstelligen ist.
  • Wenn, wie gemäß der Erfindung vorgesehen, in jedem der Armaturengehäuse ein von vorne zugöngliche Einschubraum vorgesehen ist, so ist es zweckmäßig, zum einen die Einschubräume durch Bajonettverbindungen mittels eines Deckels bzw. der darin eingliederbaren Einschubarmatur abzuschließen, damit ein Austausch von Armaturen bzw. der Zugang zu den Einschubräumen schnell und einfach möglich ist. Bevorzugt werden dabei für beide Einschubräume identische Bajonette verwendet, so dass gleiche Dichtungen und gleiche Deckel bzw. Armaturenanschlüsse Verwendung finden können.
  • Vorteilhaft wird der andere Einschubraum zur Aufnahme eines Schmutzabscheiders vorgesehen und ausgebildet. Dann kann nach Öffnen des Deckels des Einschubraums der Schmutzabscheider und damit auch der darin gesammelte Schmutz entfernt werden oder ist zumindest zugänglich, um darin befindliche Ablagerungen entfernen zu können. Es braucht zudem kein gesonderter Einbauraum für einen Schmutzabscheider vorgesehen werden. Der Einschubraum ist entsprechend groß dimensioniert um auch trotz der abscheiderbedingten Strömungsquerschnittsverringerung einen ausreichenden wirksamen Strömungsquerschnitt zu gewährleisten. Der Schmutzabscheider wird daher vorteilhaft als siebähnlicher Einsatz in den Einschubraum eingegliedert, der von vorne nach Abnehmen eines Deckels entfernbar ist. In den Deckel des Einschubraums können weitere Armaturen oder Sensoren eingegliedert sein.
  • Vorteilhaft ist gemäß einer Weiterbildung der Erfindung in den Deckel ein Sicherheitsventil eingegliedert, das bei Überschreiten eines vorgegebenen Druckes eine Verbindung zu Außenatmosphäre freigibt oder eine Kanalverbindung in einen Abfluss oder ein Auffanggefäß. Durch die Anordnung des Ventils im Deckel kann dieses schnell ausgetauscht, überprüft und gereinigt werden, es beansprucht zudem geringst möglichen Einbauraum innerhalb der Baueinheit.
  • Dabei ist der Deckel vorteilhaft einstückig mit einem Bauteil der in den Deckel integrierten Armatur, insbesondere des Sicherheitsventils und als Kunststoffspritzgussteil ausgebildet. Der Deckel kann somit gleichzeitig Deckelfunktion und beispielsweise Gehäusefunktion für das Sicherheitsventil bilden.
  • Auch das schmutzabscheiderseitige Einschubgehäuse bildet gemäß der Erfindung eine Anschlussbasis wie eingangs erläutert. Vorteilhaft weist es zwei seitliche Anschlüsse für einen Wärmespeicher zum Speichern von erwärmtem Heizwasser auf, welche durch eine eingliederbore Trennwand kanalgetrennt sind. Dabei ist die Anordnung so gewählt, dass das bei Eingliederung der Trennwand die seitlichen Anschlüsse den Wärmespeicher in Reihe zu dem aus dem Plattenwärmetauscher kommenden Strom zum Primarwärmetauscher liegen. Soll hingegen die Baueinheit ohne Wärmespeicher eingesetzt werden, dann sind lediglich die seitlichen Anschlüsse zu verschließen. Durch die dann nicht eingegliederte Trennwand ist das Einschubgehäuse in Achsrichtung frei durchgängig. Diese Konstruktionsvariante erlaubt somit mit gleichem Werkzeug eine Baueinheit sowohl für Kompaktheizungsanlagen mit als auch für solche ohne Wärmespeicher herzustellen.
  • Vorteilhaft führt der arm schmutzabscheiderseitigen Armaturengehäuse senkrecht nach unten gerichtete Kanal zu dem Anchlussstutzen für den Heizungsrücklauf.
  • Da in der Baueinheit Sensorik einzugliedern ist, ist es zweckmäßig, diese so anzuordnen, dass sie auch in Einbaulage gut zugänglich und gegebenenfalls überprüf- bzw. austauschbar ist. Aus diesem Grund ist gemäß einer Weiterbildung der Erfindung an dem für den Schmutzabscheider vorgesehenen Einschubraum vorzugsweise an der Oberseite ein Anschluss zum Eingliedern eines Sensors vorgesehen. Dieser Sensoranschluss weist vorteilhaft ebenfalls eine Bajonettverbindung auf, damit der Sensor schnell und ohne Werkzeug austauschbar ist.
  • Weiterhin ist es günstig, wenn an dem zwischen Einschubgehäuse und Anschlussstutzen für den Heizungsrücklauf angeordnetem Kanal ein seitlicher Anschluss vorgesehen ist, der mittels eines Ventils abschließbar ist. Über diesen seitlichen Anschluss kann dann die Kompaktheizungsanlage in eingebauten Zustand entleert bzw. durch Anschluss einer entsprechenden Druckleitung befüllt werden.
  • Gemäß der Erfindung weist auch der schmutzabscheiderseitige. Einschubraum eine bodenseitige Durchbrechung auf, welche eine fluidleitende Verbindung zu einem in Einschubrichtung verlaufenden Kanal zu einem Anschlussstutzen für den Plattenwärmetauscher bildet. In gleicher Weise wie beim ventilseitigen Einschubraum ist somit eine direkte Kanalverbindung zum Anschlussstutzen für den Plattenwärmetauscher gebildet, welche durch einen einfachen Ziehkern im Werkzeug gebildet werden kann. Hierzu ist es zweckmäßig, wenn einerseits die Achsen von Einschubraum und Kanal parallel zueinander angeordnet sind und sich die Querschnitte von Einschubraum und Kanal (in Einschubrichtung gesehen) überschneiden.
  • Weiterhin schließt gemäß einer Weiterbildung der Erfindung an den schmutzabscheiderseitigen Einschubraum vorzugsweise im Bodenbereich ein zur Saugseite der Pumpe führender Kanal an. Hierdurch wird einerseits die Funktionalität des schmutzabscheiderseitigen. Einschubraums als Anschlussbasis weiter erhöht, zudem kann hier auf vergleichsweise kurzem Weg der erforderliche Verbindungskanal zum Saugstutzen der Pumpe eingeformt werden, die unmittelbar neben dem schmutzabscheiderseitigen Armaturengehäuse angeordnet ist. Da sowohl die Armaturengehäuse als auch das Pumpengehäuse bzw. das dieses aufnehmende Spritzgussbauteil als gesonderte Spritzgussteile hergestellt sind, die erst bei der Montage gefügt werden, können diese Querkanäle ebenfalls in vorteilhafter Weise durch Ziehkerne im Spritzgusswerkzeug realisiert werden, ohne dass kostenintensive Schmelzkerne erforderlich sind.
  • Vorteilhaft ist die Baueinheit so ausgebildet, dass nicht nur für den Heizungsvorlauf und dem Heizungsrücklauf nach unten gerichtete Anschlussstutzen an der Unterseite der Baueinheit vorgesehen sind, sondern das auch die beiden weiteren Anschlüsse für die Brauchwasserzufuhr und das aus der Kompaktheizungsanlage kommende aufgeheizte Brauchwasser an der Unterseite vorgesehen sind. Es sind also zweckmäßigerweise alle vier Anschlussstutzen für den Heizungskreis und die Brauchwasserversorgung an der Unterseite der Baueinheit vorgesehen, so dass diese mit geringem Wartungsaufwand an die örtlich vorhandenen stationären Leitungen anschließbar ist.
  • Dabei sind die Anschlüsse vorteilhaft so angeordnet, dass sie sämtlichst in einer horizontalen Ebene liegen. Dann kann nämlich die Baueinheit, wenn die nach unten abgehenden Anschlüsse als Steckanschlüsse ausgebildet sind, durch Absenken nach unten mit den stationären Leitungen leitungsverbunden werden, wobei zur Abdichtung einfache O-Ringe dienen können, wie dies bei Anschlussverbindungen solcher Baueinheiten im Übrigen zum Stand der Technik zählt.
  • Üblicherweise werden diese bei Baueinheiten bekannten Steckverbindungen jeweils durch einen etwa u-förmigen Bügel formschlüssig gesichert, der nach dem Verbinden der Leitungen durch Fügen quer zum Anschluss aufgeschoben wird. Bei der Anordnung der Steckanschlüsse in derselben horizontalen Ebene kann bei entsprechender, in Sicht von vorne nebeneinander liegenden Anordnung der Anschlüsse, diese formschlüssige Verriegelung in vorteilhafter Weise durch eine zentrale Verschlussplatte erfolgen, d. h. , dass die Baueinheit nach dem Absenken nach unten durch Einschieben der zentralen Verschlussplatte komplett angeschlossen ist, ohne dass weitere Montagearbeiten erforderlich sind.
  • Ein Ausführungsbeispiel der Erfindung ist nachfolgend anhand der Zeichnung dargestellt. Es zeigen:
  • Fig. 1
    ein vereinfachtes Schaltbild einer Kompaktheizungsanlage mit einer erfindungsgemäßen Baueinheit,
    Fig. 2
    die komplett bestückte Baueinheit in perspektivischer Ansicht von rechts oben und vorne,
    Fig. 3
    die Baueinheit nach Fig. 2 in perspektivischer Ansicht von rechts unten und hinten,
    Fig. 4
    die Baueinheit in Darstellung nach Fig. 2 ohne Pumpenkopf und mit nach vorne offenen, unbestückten Einbauräumen,
    Fig. 5
    die Baueinheit nach Fig. 2 in perspektivischer Ansicht mit abgenommenen Plattenwärmetauscher von oben links und hinten,
    Fig. 6
    einen Schnitt durch das ventilseitige Armaturengehäuse in einer in Einschubrichtung liegenden Ebene,
    Fig. 7
    eine Ansicht der Baueinheit von vorne mit abgenommenen Pumpenkopf und nach vorne offenen und unbestückten Einbauräumen,
    Fig. 8
    in perspektivischer Darstellung von rechts oben und hinten das schmutzabscheiderseitige Armaturengehäuse
    Fig. 9
    das schmutzabscheiderseitige Armaturengehäuse gemäß Fig. 8 in teilweiser Schnittdarstellung,
    Fig. 10
    den hinter dem Saugmund liegenden Teil des Pumpengehäuses in perspektivischer Teilschnittdarstellung und
    Fig. 11
    einen Schnitt durch das Pumpengehäuse quer zur Laufradachse und in Strömungsrichtung unmittelbar vor dem Saugmund in Ansicht von hinten.
  • Die anhand von Fig. 1 dargestellte Kompaktheizungsanlage ist eine Gastherme, wie sie typischerweise zur Wandmontage als kompaktes Gerät zur Wärmeversorgung einer mit Heizkörpern arbeitenden Raumheizung sowie zur Brauchwasser-/Warmwassererzeugung vorgesehen ist. Ein Brenner 1 beaufschlagt einen Primärwärmetauscher 2, dessen aufgeheiztes Wasser einen Wärmetauscher 3, typischerweise in Form ein oder mehrerer Heizkörper für die Raumheizung, zugeführt wird. Das abgekühlte Wasser fließt aus dem Wärmetauscher 3 wieder zum Primärwärmetauscher 2 und wird mittels einer auf der kalten Seite der Wärmetauscher 2, 3 angeordneten Umwälzpumpe 4 umgewälzt.
  • Für die Brauchwassererwärmung ist ein Plattenwärmetauscher 5 vorgesehen, in dem das aus dem Wasserleitungsnetz kommende kalte Brauchwasser erwärmt wird. Da die Erwärmung des Brauchwassers nur im Entnahmefall zu erfolgen hat, ist entsprechende Sensorik, insbesondere ein Durchflussmesser 6 so wie ein Druck- und Temperatursensor 7 vorgesehen, in Abhängigkeit deren Ausgangssignal ein Stellmotor 8 angesteuert wird, der ein 3/2-Wegeventil 9 ansteuert, um für die Brauchwassererwärmung den vom Primärwärmetauscher 2 kommenden wärmeführenden Flüssigkeitsstrom statt zum Wärmetauscher 3 zum Plattenwärmetauscher 5 umzusteuern.
  • Das Schaubild nach Fig. 1 erhebt keinen Anspruch auf Vollständigkeit. Innerhalb der Kompaktheizungsanlage ist ein Ausgleichsbehälter 10 vorgesehen sowie ein Wärmespeicher 11, der zwischen Plattenwärmetauscher 5 und dem Primärwärmetauscher 2, hier auf der kalten Seite, in Reihe geschaltet ist.
  • Der in Fig. 1 mit 3 symbolisierte Wärmetauscher (Heizkörper) ist, wie heute bei Warmwasserheizungsanlagen üblich, mit einem Thermostatventil 12 versehen, das den Kreislauf hinsichtlich des Durchflusswiderstandes steuert und dann, wenn kein Wärmebedarf gegeben ist, sperrt. Für letzteren Fall ist innerhalb der Kompaktheizungsanlage eine Bypassleitung 13 vorgesehen mit einem Ventil 14, über das der hydraulisch wirksame Leitungsquerschnitt der Bypassleitung 13 einstellbar ist. Durch diese Bypassleitung 13 ist ein geschlossener Umwälzkreislauf sichergestellt, selbst wenn das Thermostatventil 12 vollständig geschlossen ist.
  • Weiterhin sind ein Sicherheitsventil 15 in Form eines Überdruckventils saugseitig der Pumpe 4 vorgesehen sowie zwei Absperrventile 16 und 17, die über eine Leitung 18 miteinander verbunden sind.
  • Neben den elektrischen und Gasleitungsanschlüssen für die Kompaktheizungsanlage, die in den Figuren nicht dargestellt sind, weist die Heizungsanlage insgesamt vier Leitungsanschlüsse in Form von Steckanschlüssen auf, nämlich einen Anschluss 19 für den Heizungsvorlauf so wie einen Anschluss 20 für den Heizungsrücklauf. Weiterhin ist ein Anschluss 21 für den Brauchwasserzulauf und ein Anschluss 22 für das aus der Anlage kommende warme Brauchwasser vorgesehen.
  • Der in Fig. 1 durch unterbrochene Linien eingerahmte Teil der Kompaktheizungsanlage ist durch eine Baueinheit 23 gebildet, deren Aufbau anhand der Figuren 2 bis 9 im Einzelnen dargestellt ist.
  • Die Baueinheit 23 ist im Wesentlich aus drei Spritzgussteilen aufgebaut, nämlich einen zentralen, das Pumpengehäuse beinhaltenden Pumpengehäusebauteil 24, an das in Einbaulage von vorne gesehen linksseitig ein Armaturengehäuse 25 und rechtsseitig ein Armaturengehäuse 26 anschließen. Die Bauteile 24, 25 und 26 sind als Spritzgussbauteile aus Kunststoff hergestellt und so ausgelegt, dass sie ohne die Verwendung von Schmelzkernen, d. h. mit vergleichsweise kostengünstig aufgebauten Werkzeugen, die mit Ziehkernen arbeiten, hergestellt werden können. Diese Bauteile 24 bis 26 sind in Querrichtung 27 zur Laufradachse 28 der Pumpe ineinander eingegliedert und werden durch den rückwärtig angeschlossenen Plattenwärmetauscher 5 formschlüssig in dieser Position gesichert.
  • Das Pumpengehäusebauteil 24 weist das eigentliche Pumpengehäuse auf sowie einen nach vorne offenen Einschubraum 29, der zur Aufnahme des Pumpenlaufrads sowie zum Anflanschen des sich daran nach vorne anschließenden Motors 30 vorgesehen ist. Das Pumpengehäuse weist einen nach schräg rechts oben abgehenden Druckstutzen 31 auf, dessen freies Ende als Gewindeanschluss ausgebildet und zum Anschluss der zum Primärwärmetauscher 2 führenden Leitung vorgesehen ist. Saugseitig an das Pumpengehäuse angeschlossen bzw. in das Pumpengehäusebauteil 24 integriert ist ein Luftabscheider 32, in dem ein übliches Luftabscheideventil eingegliedert ist.
  • Der nach hinten gerichtete Saugmund 33 der Pumpe ist über einen in Querrichtung 27 verlaufenden Saugkanal 34 mit dem Armaturengehäuse 26 leitungsverbunden, in das dieser mündet. Der Saugkanal 34 setzt sich im Armaturengehäuse 26 weiter nach rechts fort und mündet in einen von hinten schräg nach vorne und oben verlaufenden Kanal 35, welcher in einen im Wesentlichen zylindrisch ausgebildeten, mit seiner Zylinderachse parallel zur Laufradachse 28 und nach vorne offenen Einschubraum 36 übergeht, der eine zentrale Anschussbasis für weitere Anschlüsse bzw. Leitungen so wie zur Aufnahme von Armaturen dient.
  • In den Einschubraum 36 des rechten Armaturengehäuses 21 münden die Kanäle zweier nach rechts herausgeführte Leitungsanschlüsse 37 und 38, die zum Anschluss des Wärmespeichers 11 dienen. Um die eingangs beschriebene Reihenschaltung zu erzielen, ist in den Einschubraum 36 von vorne eine Trennwand 39 eingepresst. Diese Trennwand 39 ist durch ein einfaches Blech oder ein Kunststoffteil gebildet, da es hier auf eine vollständige Abdichtung zum Einschubraum 36 hin nicht ankommt. Für Ausführungen, bei denen kein Wärmespeicher 11 eingesetzt wird, wird die Trennwand 39 nicht eingesetzt, die Anschlüsse 37 und 38 werden durch Blindkappen verschlossen, so das sie außer Funktion sind.
  • In den Einschubraum 36 mündet von unten eine Leitung 40, an deren Ende der Anschluss 20 für den Heizungsrücklauf angeordnet ist.
  • Der Boden des Einschubraums 36 ist nicht nur zum Kanal 35 hin durchbrochen, sondern auch im linken oberen Bereich (siehe Fig. 7), wo ein rückwärtiger Kanal mündet, welcher fluchtend zu einem unteren Anschlussstutzen 41 verläuft, der zum Anschluss des Plattenwärmetauscher 5 vorgesehen ist. Der Anschlussstutzen 41 ist als Anschlussstutzenpaar zusammen mit dem darüber liegenden Anschlussstutzen 42 ausgebildet. Der Anschlussstutzen 41 verbindet den Heizwasserkreislauf des Wärmetauschers 5 mit der Saugseite der Pumpe 4. Der obere Anschlussstutzen 42 hingegen verbindet den Warmwasser führenden Brauchwasseranschluss des Wärmetauschers 5 mit einem senkrecht nach unten führenden Kanal 43, welcher in dem Anschluss 22 für warmes Brauchwasser mündet.
  • Nahe dem rückseitigen Ende des Einschubraums 36 ist nach oben ein Anschluss 66 für den Ausgleichsbehälter 10 vorgesehen.
  • Weiterhin mündet in dem Einschubraum 36 eine schräg von oben und vorne kommende Aufnahmeöffnung 44, welche am Ende mit einem Teil eines Bajonettverschlusses versehen ist und in die ein kombinierter Druck- und Temperatursensor 45 als Einsteckteil eingegliedert ist, der mit dem anderen Teil des Bajonettverschlusses ausgestattet ist.
  • Der Einschubraum 36 selbst dient zur Aufnahme eines Schmutzabscheiders 46, der nach Art eines Siebes in diesen eingesetzt und so angeordnet ist, dass das vom Anschluss 20, also aus dem Heizungsrücklauf kommende Wasser diesen durchdringen muss, bevor es zum Saugkanal 34 der Pumpe gelangt. Der Schmutzabscheider 46 ist formschlüssig gehalten und nach vorne zur Reinigungszwecken herausziehbar.
  • Der Einschubraum 36 ist nach vorne hin mit einem Bajonettverschluss versehen, so dass ein entsprechender Deckel zum Abschluss des Einschubraumes 36 ohne Werkzeug aufgesetzt und gegebenenfalls wieder entfernt werden kann. Es versteht sich, dass entsprechende O-Ringe als Dichtungen an den erforderlichen Stellen vorgesehen sind.
  • In der dargestellten Ausführungsform ist in den Deckel 47 ein Sicherheitsventil 15 in Form eines Überdruckventils eingliedert. Dabei bildet der Deckel 47 Teil des Sicherheitsventils 15.
  • Sowohl an dem nach unten verlaufenden Kanal 40 zum Anschluss der Heizungsrücklaufs als auch an dem Anschlussstutzen 42 sind jeweils Querkanäle angeschlossen, welche mittels der Absperrventile 16 und 17 verschließbar sind. Diese Kanäle sind über eine Leitung 18 miteinander verbunden, die als gesondertes Bauteil ausgebildet ist. Das Absperrventil 16 kann aufgrund des waagerechten Stutzens sowohl zum Befüllen der Anlage über die Leitung 18 und das geöffnete Ventil 17 als auch zum Entleeren der Anlage nach Entfernen der Leitung 18 dienen. Die Leitung 18 ist so angebracht, dass sie ohne Werkzeug von Hand lösbar ist, so dass sie je nach Bedarf entfernt oder eingefügt werden kann.
  • Das sich von vorne gesehen linksseitig an das Pumpengehäusebauteil 24 anschließende Armaturengehäuse 25 weist ebenfalls einen im Wesentlichen zylindrischen bzw. abgestuft zylindrisch ausgebildeten Einschubraum 48 auf, dessen Längsachse parallel zur Laufradachse 28 angeordnet ist. Dieser Einschubraum 48 dient zur Aufnahme des 3/2-Wegeventils 9, das in Form einer Einschubarmatur ausgebildet ist, welche von vorne in den Einschubraum 48 einsetzbar und mittels einer Bajonettverbindung dichtend verriegelbar ist. Die den Einschubraum 48 abschließende Bajonettverbindung ist identisch mit der für den Einschubraum 29, so dass gleiche Abschlussdeckel verwendet werde können.
  • Die Einschubarmatur 49 weist, wie am besten in Fig. 6 zu erkennen ist, zwei Dichtsitze auf, welche jeweils von einem Dichtkörper verschließbar sind. Die Dichtkörper sitzen auf einer parallel zur Laufradachse 28 angeordneten Stab 50 und sind so ausgerichtet und angeordnet, dass sie stets gegen Strömungsrichtung schließen, wobei beim Bewegen des Stabs 50 in eine Richtung der eine Dichtkörper auf seinen Dichtsitz zu bewegt und der andere von diesem abgehoben wird bzw. in Gegenrichtung in umgekehrter Weise.
  • Betätigt wird der Stab 50 durch einen Hebel 51, der schwenkbeweglich in einer Einbauarmatur 52 angeordnet ist, die in einem nach oben offenen Einschubraum 53 eingliedert ist, der eine Durchbrechung zum Einschubraum 48 aufweist. Auf diese Weise kann der Hebel 51 mit einem Ende an dem die Dichtkörper tragenden Stab 50 und mit seinem anderen Ende an eine Spindel 54 angreifen, die von einem Motor 8 je nach Drehstellung mehr oder weniger weit ausgefahren wird. Die Einbauarmatur 52 umfasst den Hebel 51, die Spindel 54 sowie den Motor 8 und ist von oben in den Einschubraum 53 unter Eingliederung einer elastischen und dichtenden Manschette 56 eingesetzt. Diese Manschette dichtet die Durchführung des Hebels 51 ab ohne dessen Beweglichkeit zu behindern. Darüber hinaus kann die Einbauarmatur 52 zusätzlich noch durch O-Ringe gegenüber dem Einschubraum 53 abgedichtet sein.
  • Zu einer Seite des Ventils 9, nämlich im vorderen Bereich des Einschubraums 48 schließt nach unten ein in den Anschluss 19 mündender Kanal 57 für den Heizungsvorlauf an. Seitlich quer an den Einschubraum 48 schließt linksseitig, und zwar im Bereich zwischen den Dichtsitzen der Einschubarmatur 49 ein Kanal an, der in den dazu fluchtend liegenden Anschlussstutzen 58 mündet, welcher zum Anschluss der vom Primärwärmetauscher 2 kommenden Leitung vorgesehen ist. Diese seitlichen Anschlüsse 58 linksseitig bzw. der durch den Druckstutzen 31 gebildete Anschluss rechtsseitig sind besonders vorteilhaft angeordnet, da die in Einbaueinlage von oben kommenden Leitungen zum bzw. vom Primärwärmetauscher 2 leicht anschließbar sind, da sie in Querrichtung 27 über ihre gesamte Länge federn und daher gut manipulierbar, d. h. vom Anschluss weg bzw. zum Anschluss hin bewegbar sind.
  • Auch der Einschubraum 48 weist bodenseitig eine Durchbrechung zu einem im Wesentlichen achsgleich verlaufenden rückseitigen Kanal auf, der in einen Anschlussstutzen 59 für den Plattenwärmetauscher 5 mündet. Dieser untere Anschlussstutzen 59 gehört zu einem Paar, dessen oberer Anschlussstutzen 60 über einen Querkanal 61 mit einen senkrecht nach unten verlaufenden Kanal 62 verbunden ist, der in den Anschluss 21 für den Brauchwasserzulauf mündet. Durch diese Kanalanordnung wird je nach Schaltstellung des Ventils 9 der Leitungsanschluss 58 entweder mit dem unteren Anschlussstutzen 59 für den Plattenwärmetauscher 5 oder aber mit dem Anschluss 19 für den Heizungsvorlauf leitungsverbunden. Auch hier bildet der Einschubraum 48 eine Anschlussbasis für nahezu alle auf dieser Seite der Pumpe zu führenden Kanäle.
  • An dem zum Anschluss 19 senkrecht nach unten verlaufenden Kanal schließt ein parallel zur Laufradachse 28 sich nach hinten erstreckender Kanal 63 an, der zusammen mit den mit dem quer dazu verlaufenden, in den Kanalbereich 63 mündenden und sich in Richtung 27 erstreckenden Kanal 64 die Bypassleitung 13 bildet. Der Querkanal 64 mündet im unteren hinteren Bereich des Pumpengehäuses, also im Saugraum desselben, wie in Fig. 5 deutlich zu erkennen ist.
  • In den Kanal 63 ist von hinten ein federbelastetes Ventil 14 eingesetzt, durch das der wirksame Querschnitt der Bypassleitung 13 druckabhängig ist. An dem senkrechten, zum Anschluss 21 führenden Kanal 62 ist nach vorne hin eine Aufnahme für einen weiteren Druck- Temperatursensor 45 vorgesehen. Aufnahme und Sensor sind in gleicher Weise ausgebildet wie die des rechten Armaturengehäuses 26. Dieser Druck-/Temperatursensor 45, der von vorne eingesetzt ist, ragt in den senkrecht und rückseitig angeordneten Kanal 62, der zum Anschluss 21 für den Brauchwasserzulauf führt. Dabei bildet der Drucksensor in Verbindung mit einer im Kanal 62 ausgebildeten Obstruktion Teil des eingangs beschriebenen Durchflussmessers 6, in Verbindung mit einer entsprechenden Auswertelektronik, die im Klemmenkasten 65 angeordnet ist.
  • Zum elektrischen Anschluss der Baueinheit ist der Klemmenkasten 65 vorgesehen, der auf dem Gehäuse des Motors 30 angeordnet und somit dem Pumpengehäusebauteil 24 zugeordnet ist.
  • Die mechanische Verbindung der Bauteile 24, 25 und 26 erfolgt zum einen über die Kanalverbindungen (siehe Fig. 3) (34, 64) sowie zum anderen über entsprechende, hier nicht im Einzelnen beschriebenen Verbindungsstege, die mittels Gewindebolzen gesichert werden. Bei den Kanalverbindungen handelt es sich um Steckverbindungen unter Eingliederung eines O-Rings, welcher die Dichtfunktion der Verbindung übernimmt sowie eines quer zur Einsteckrichtung eingeschobenen u-förmigen Bügels, welcher die mechanische Verriegelung übernimmt.
  • Die vorstehend beschriebenen Anschlüsse bzw. Anschlussstutzen sind teilweise als Steckanschlüsse, Gewindeanschlüsse oder flanschartige Stutzen ausgebildet. Die jeweiligen Bauformen sind nur beispielhaft zu verstehen und können den Anforderungen entsprechend angepasst, ausgetauscht oder modifiziert werden.
  • Wie insbesondere die Fig. 2 verdeutlicht, ist die vorstehend beschriebene Baueinheit extrem kompakt und liegt von den seitlichen Abmessungen her etwa in Flucht mit den rückwärtig dazu angeordneten Plattenwärmetauscher, so dass die gesamte Einheit zwischen vertikale Streben des Chassis der Kompaktheizungsanlage eingliederbar ist, wodurch die Bautiefe der gesamten Anlage verringert werden kann. Weiterhin sind alle wesentlichen Aggregate und Armaturen von vorne bzw. von dem oberhalb der Baueinheit gebildeten Freiraum zugänglich, so dass sie ohne Demontage der Baueinheit ausgetauscht und gewartet werden können. Doch selbst der Austausch der Baueinheit ist aufgrund der in einer horizontalen Ebene liegenden Anschlüssen 19 bis 22, welche die Verbindung zu den stationären wasserführenden Leitungen bilden, insbesondere bei Verwendung eines zentralen Verschlussbleches wenig arbeitsaufwendig, es sind lediglich die seitlichen Anschlussleitungen vorher zu lösen, wonach die gesamte Baueinheit nach Öffnen des Verschlussbleches nach oben abgehoben und dann nach vorn herausgezogen werden kann. Der Einbau erfolgt in umgekehrter Reihenfolge.
  • Die Ausbildung des Pumpengehäusebauteils 24, insbesondere im rückwärtigen Teil ergibt sich im Einzelnen aus den Figuren 10 und 11 sowie in eingebauten Zustand aus den Figuren 3 und 5. Wie diese Darstellungen verdeutlichen, ist das eigentliche Pumpengehäuse rückwärtig abgestuft ausgebildet und erstreckt sich bis unter dem Plattenwärmetauscher 5, wo von rechts (von vorne gesehen) der Saugkanal 34 sowie von links der Querkanal 64 für die Bypassleitung 13 anschließt. Dieser den Wärmetauscher 5 an seiner Unterseite überragende Teil 75 des Pumpengehäuses ist dem eigentlichen Saugraum vorgelagert und bildet Teil einer Luftabscheideeinrichtung, deren eigentlicher Abscheider 32 nahe der Oberseite anschließt und aus einer Luftabscheidekammer 70 sowie einem diese nach oben abschließenden Entlüftungsventil 71 besteht.
  • Der durch eine Platte 72 vom Druckraum getrennte Saugraum der Pumpe mündet in den Saugmund 33, der in seinem oberen Bereich etwa über 190° von einem sich von der Platte 72 nach hinten bis zur Gehäusewand erstreckenden oberen Leitkörper 73 umgeben ist. Nach unten mit Abstand ist der Saugmund von einem unteren Leitkörper 74 umgeben, der seitlich und mit Abstand die unteren Enden des oberen Leitkörpers 73 übergreift und, ebenfalls bis zur rückseitigen Gehäusewand des Pumpengehäusebauteils 24 ragt, und zwar, wie insbesondere Fig. 10 verdeutlicht, bis in den unter dem Plattenwärmertauscher 5 liegenden abgestuften Gehäuseabschnitt 75. Die Anordnung der Leitkörper 73 und 74 ist derart, dass die vom Saugkanal 34 eintretende Strömung den in Fig. 11 dargestellten und mit Pfeilen gekennzeichneten Weg nehmen muss, nämlich den unteren Leitkörper 74 seitlich unter einem Richtungswechsel von etwa 180° umströmen um dann unter weiteren Richtungswechsel von mehr als 90° in den Saugmund 33 einzutreten. Im Bereich dieses abgestuften Gehäuseabschnitts 75 erfolgt zum einen durch Querschnittsvergrößerung eine Strömungsverlangsamung, was einen Luftabscheidevorgang begünstigt, zum anderen eine Umlenkung um etwa 180° mit Freiraum nach oben, was wiederum den Austritt der Luft nach oben aus der Strömung begünstigt. Durch diese Maßnahmen wird erreicht, dass eine nahezu luftblasenfreie Strömung in den Saugmund eintritt und die mitgeführte Luft im Saugraum nach oben aufsteigt, wo sie in der Luftabscheidekammer 70 gesammelt und über das Entlüftungsventil 71 in an sich bekannter Weise in die Umgebung ausgeschieden wird.
  • Wie in Fig. 10 erkennbar ist, mündet der Bypasskanal 64 ebenfalls in der Unterseite des Saugraumes, und zwar unter dem unteren Leitkörper 74.
  • Bezugszeichenliste
  • 1 -
    Brenner
    2 -
    Primärwärmetauscher
    3 -
    Wärmetauscher, Heizkörper
    4 -
    Pumpe
    5 -
    Plattenwärmetauscher
    6 -
    Durchflussmesser
    7 -
    Druck- und Temperatursensor
    8 -
    Stellmotor
    9 -
    3/2-Wegeventil
    10 -
    Ausgleichsbehälter
    11 -
    Wärmespeicher
    12 -
    Thermostatventil
    13 -
    Bypassleitung
    14 -
    Ventil
    15 -
    Sicherheitsventil
    16 -
    Absperrventil
    17 -
    Absperrventil
    18 -
    Leitung
    19 -
    Anschluss für Heizungsvorlauf
    20 -
    Anschluss für Heizungsrücklauf
    21-
    Anschluss für Brauchwasserzulauf
    22 -
    Anschluss für warmes Brauchwasser
    23 -
    Baueinheit
    24 -
    Pumpengehäusebauteil
    25 -
    Armaturengehäuse links
    26 -
    Armaturengehäuse rechts
    27 -
    Querrichtung
    28 -
    Laufradachse
    29 -
    Einschubraum des Pumpengehäuses
    30 -
    Motor
    31 -
    Druckstutzen
    32 -
    Luftabscheider
    33 -
    Saugmund
    34 -
    Saugkanal
    35 -
    Kanal
    36 -
    Einschubraum
    37 -
    Anschluss für Wärmespeicher
    38 -
    Anschluss für Wärmespeicher
    39 -
    Trennwand
    40 -
    Leitung (Heizungsrücklauf)
    41 -
    Anschlussstutzen
    42 -
    Anschlussstutzen
    43 -
    Kanal
    44 -
    Aufnahme
    45 -
    Druck-/Temperatursensor
    46 -
    Schmutzabscheider
    47 -
    Deckel
    48 -
    Einschubraum
    49 -
    Einschubarmatur
    50 -
    Stab
    51 -
    Hebel
    52 -
    Einbauarmatur
    53 -
    Einschubraum
    54 -
    Spindel
    56 -
    Manschette
    57 -
    Kanal
    58 -
    Anschlussstutzen
    59 -
    Anschlussstutzen für Wärmetauscher (unten)
    60 -
    Anschlussstutzen für Wärmetauscher (oben)
    61 -
    Querkanal
    62 -
    Kanal
    63 -
    Kanal für Bypassleitung
    64 -
    Querkanal für Bypassleitung
    65 -
    Klemmenkasten
    66 -
    Anschluss für Ausgleichsgefäß
    70 -
    Luftabscheidekammer
    71 -
    Entlüftungsventil
    72 -
    Platte
    73 -
    oberer Leitkörper
    74 -
    unterer Leitkörper
    75 -
    abgestufter Gehäuseabschnitt

Claims (21)

  1. Baueinheit für eine Kompaktheizungsanlage mit rückwärtigen Anschlüssen für einen Plattenwärmetauscher (6), mit einem zentralen Pumpengehäuse (24), an das beidseitig Armaturengehäuse (25, 26) anschließen und das zur Aufnahme des Kreiselrades und zum Anschluss des Elektromotors (30) nach vorne offen ausgebildet ist, wobei in jedem Armaturengehäuse (25, 26) ein von vorne zugänglicher Einschubraum (36, 48) zur Aufnahme mindestens einer Armatur vorgesehen ist und die Einschubräume (36, 48) jeweils eine Anschlussbasis für einen Anschlussstutzen (19, 20) für den Heizungsrücklauf bzw. den Heizungsvorlauf der Heizungsanlage, einen zum Plattenwärmetauscher (5) führenden Kanal sowie mindestens einen weiteren Kanal (35) oder Anschluss (37, 38, 44, 58, 66) bilden und wobei die Einschubräume (36, 48) jeweils über einen in Einbaulage nach unten führenden Kanal mit dem Anschlussstutzen für die Heizungsanlage und jeweils über eine bodenseitige Durchbrechung mit einem in Einschubrichtung verlaufenden und zu einem Anschlussstutzen für den Plattenwärmetauscher führenden Kanal verbunden sind.
  2. Baueinheit nach Anspruch 1, dadurch gekennzeichnet, dass die Einschubräume (36, 48) jeweils einen kreisrunden Querschnitt aufweisen, wobei die Längsachsen der Einschubräume parallel zur Drehachse (28) des Kreiselrades angeordnet sind.
  3. Baueinheit nach Anspruch 1 oder 2, dadurch gekennzeichnet, dass ein Einschubraum (48) zur Eingliederung eines Umschaltventils (9), insbesondere eines 3/2-Wegeventils, vorgesehen und ausgebildet ist.
  4. Baueinheit nach einem der vorhergehenden Ansprüche, dadurch gekennzeichnet, dass in einen Einschubraum (48) ein Umschaltventil (9) als Einschubeinheit (49) eingegliedert ist, wobei die Einschubeinheit (49) die Dichtsitze und den oder die Dichtkörper umfasst.
  5. Baueinheit nach Anspruch 3 oder 4, dadurch gekennzeichnet, dass im Armaturengehäuse (25) quer zur Einschubrichtung für das Umschaltventil (9) ein weiterer, vorzugsweise von oben zugänglicher Einschubraum (53) zur Eingliederung der das Ventil (9) steuernden Betätigungsmittel (8) vorgesehen ist, der an den Einschubraum (48) für das Umschaltventil (9) anschließt.
  6. Baueinheit nach einem der Ansprüche 3 bis 5, dadurch gekennzeichnet, dass am ventilseitigen Armaturengehäuse (25) der senkrecht nach unten gerichtete Kanal (57) zu dem Anschlussstutzen (19) für den Heizungsvorlauf an dem für das Umschaltventil (9) vorgesehenen Einschubraum (48) anschließt.
  7. Baueinheit nach einem der vorhergehenden Ansprüche, dadurch gekennzeichnet, dass an den Kanal zum Heizungsvorlauf ein Bypasskanal (63) anschließt, der sich vorzugsweise parallel zur Einschubrichtung unter dem Einschubraum (48) und nach hinten erstreckt.
  8. Baueinheit nach Anspruch 7, dadurch gekennzeichnet, dass der Bypasskanal (63) nach hinten offen zur Aufnahme eines Stellventils (14) zur Einstellung des wirksamen Kanalquerschnitts ausgeformt ist.
  9. Baueinheit nach einem der Ansprüche 3 bis 8, dadurch gekennzeichnet, dass an den Einschubraum (48) für das Umschaltventil (9) seitlich ein Kanal mit Leitungsanschluss (58) für eine zu einem Primärwärmetauscher (2) führende Leitung anschließt, vorzugsweise zur Einschubrichtung und an der von der Pumpe abgewandten Seite des Armaturengehäuses (25).
  10. Baueinheit nach einem der vorhergehenden Ansprüche, dadurch gekennzeichnet, dass die von vorne zugänglichen Einschubräume (36, 48) durch eine mittels Bajonett verbindbare Einschubarmatur oder Deckel abschließbar sind, wobei die Einschubräume (36, 48) vorzugsweise identische Bajonettverbindungen aufweisen.
  11. Baueinheit nach einem der vorhergehenden Ansprüche, dadurch gekennzeichnet, dass ein Einschubraum (36) zur Aufnahme eines Schmutzabscheiders (46) vorgesehen und ausgebildet ist.
  12. Baueinheit nach Anspruch 11, dadurch gekennzeichnet, dass der Einschubraum (36) für den Schmutzabscheider (46) mittels eines Deckels (47) abschließbar ist, in dem ein Sicherheitsventil (15) eingegliedert ist.
  13. Baueinheit nach Anspruch 12, dadurch gekennzeichnet, dass der Deckel (47) einstückig mit einem Bauteil der in den Deckel integrierten Armatur (15), insbesondere des Sicherheitsventils (15) und als Kunststoffspritzgussteil ausgebildet ist.
  14. Baueinheit nach einem der Ansprüche 11 bis 13, dadurch gekennzeichnet, dass das den Schmutzabscheider (46) aufnehmende Einschubgehäuse (36) zwei seitliche Anschlüsse (37, 38) für einen Wärmespeicher (11) zum Speichern von erwärmtem Heizwasser aufweist, welche durch eine eingliederbare Trennwand (39) kanalgetrennt sind.
  15. Baueinheit nach einem der Ansprüche 11 bis 14, dadurch gekennzeichnet, dass der am schmutzabscheiderseitigen Armaturengehäuse (26) vorgesehene senkrecht nach unten gerichtete Kanal (40) zu dem Anschlussstutzen (20) für den Heizungsrücklauf führt.
  16. Baueinheit nach einem der Ansprüche 11 bis 15, dadurch gekennzeichnet, dass an dem für den Schmutzabscheider (46), vorgesehenem Einschubraum (36) vorzugsweise an der Oberseite ein Anschluss (44) zum Eingliedern eines Sensors (45) vorgesehen ist.
  17. Baueinheit nach einem der vorhergehenden Ansprüche, dadurch gekennzeichnet, dass an dem zwischen Einschubgehäuse (36) und Anschlussstutzen (20) für den Heizungsrücklauf angeordnetem Kanal (40) ein seitlicher Anschluss vorgesehen ist, der mittels eines Ventils (16) abschließbar ist.
  18. Baueinheit nach einem der Ansprüche 11 bis 17, dadurch gekennzeichnet, dass an den Einschubraum (36) für den Schmützabscheider (46) vorzugsweise im Bodenbereich ein zur Saugseite der Pumpe führender Kanal (35) anschließt,
  19. Baueinheit nach einem der vorhergehenden Ansprüche, dadurch gekennzeichnet, dass die Baueinheit (23) vier nach unten abgehende Anschlüsse (19 -22) aufweist, zum Anschluss der Kompaktheizungsanlage an die örtlichen Heizungs- sowie Brauchwasseranschlüsse aufweist.
  20. Baueinheit nach Anspruch 19, dadurch gekennzeichnet, dass die nach unten abgehenden Anschlüsse (19 - 22) in einer horizontalen Ebene liegen.
  21. Baueinheit nach Anspruch 19 oder 20, dadurch gekennzeichnet, dass die nach unten abgehenden Anschlüsse(19-22) als Steckanschlüsse ausgebildet sind, durch Absenken der Baueinheit (23) nach unten mit den stationären Leitungen leitungsverbindbar und durch vorzugsweise eine zentrale Verschlussplatte verriegelbar sind.
EP03025084A 2003-11-03 2003-11-03 Baueinheit für eine Kompaktheizungsanlage Expired - Lifetime EP1528330B1 (de)

Priority Applications (5)

Application Number Priority Date Filing Date Title
DE50309957T DE50309957D1 (de) 2003-11-03 2003-11-03 Baueinheit für eine Kompaktheizungsanlage
EP03025084A EP1528330B1 (de) 2003-11-03 2003-11-03 Baueinheit für eine Kompaktheizungsanlage
AT03025084T ATE397737T1 (de) 2003-11-03 2003-11-03 Baueinheit für eine kompaktheizungsanlage
PL371000A PL211735B1 (pl) 2003-11-03 2004-11-03 Jednostka konstrukcyjna zblokowanej instalacji grzewczej
CNB2004100883561A CN100526749C (zh) 2003-11-03 2004-11-03 用于紧凑型供暖设备的组件单元

Applications Claiming Priority (1)

Application Number Priority Date Filing Date Title
EP03025084A EP1528330B1 (de) 2003-11-03 2003-11-03 Baueinheit für eine Kompaktheizungsanlage

Publications (2)

Publication Number Publication Date
EP1528330A1 EP1528330A1 (de) 2005-05-04
EP1528330B1 true EP1528330B1 (de) 2008-06-04

Family

ID=34400512

Family Applications (1)

Application Number Title Priority Date Filing Date
EP03025084A Expired - Lifetime EP1528330B1 (de) 2003-11-03 2003-11-03 Baueinheit für eine Kompaktheizungsanlage

Country Status (5)

Country Link
EP (1) EP1528330B1 (de)
CN (1) CN100526749C (de)
AT (1) ATE397737T1 (de)
DE (1) DE50309957D1 (de)
PL (1) PL211735B1 (de)

Cited By (3)

* Cited by examiner, † Cited by third party
Publication number Priority date Publication date Assignee Title
EP2093517A1 (de) 2008-02-22 2009-08-26 Grundfos Management A/S Baueinheit für eine Kompaktheizungsanlage
DE102009048585A1 (de) 2009-10-07 2011-04-14 Stiebel Eltron Gmbh & Co. Kg Hydraulikmodul für ein Haustechnikgerät und Wärmepumpe mit einem Hydraulikmodul
DE102018006784A1 (de) * 2018-08-28 2020-03-05 EnTEC P & L GmbH Pumpengruppe für ein Heizungssystem

Families Citing this family (19)

* Cited by examiner, † Cited by third party
Publication number Priority date Publication date Assignee Title
ITMI20060751A1 (it) * 2006-04-14 2007-10-15 Fugas S P A Gruppo idraulico di ritorno per caldaie murali
ITMI20060773A1 (it) * 2006-04-19 2007-10-20 Fugas S P A Circuito idraulico per il riscaldamento e la produzione di acqua calda sanitaria ottenuti da una sorgente si acqua calda centralizzata
ATE405801T1 (de) * 2006-07-28 2008-09-15 Grundfos Management As Baueinheit
PL1884720T3 (pl) * 2006-07-28 2016-08-31 Grundfos Management As Jednostka konstrukcyjna dla kompaktowej instalacji grzewczej
EP1884717B1 (de) * 2006-07-28 2016-01-13 Grundfos Management A/S Heizungsanlage
ITMI20070370A1 (it) * 2007-02-27 2008-08-28 Fugas S P A Gruppo idraulico con doppio scambiatore secondario per inmpianti con caldaie a gas
ATE520934T1 (de) 2008-02-22 2011-09-15 Grundfos Management As Teilbaueinheit für eine kompaktheizungsanlage
DE502008003346D1 (de) 2008-02-22 2011-06-09 Grundfos Management As Baueinheit für eine Kompaktheizungsanlage
ITMI20090527A1 (it) * 2009-04-01 2010-10-02 Gruppo Imar S P A Modulo di collegamento idraulico alle utenze termiche di un impianto di climatizzazione bivalente ed impianto di climatizzazione includente tale modulo
EP2397777B1 (de) * 2010-06-19 2016-08-03 Grundfos Management A/S Gehäuseeinheit für eine Heizungsanlage
EP2413045B1 (de) 2010-07-30 2014-02-26 Grundfos Management A/S Wärmetauschereinheit
JP5777433B2 (ja) * 2010-08-04 2015-09-09 株式会社東芝 燃料電池発電システムおよびその製造方法
PL2629019T3 (pl) * 2012-02-17 2016-12-30 Jednostka obudowy dla przyrządu grzejnego
EP3012552B1 (de) * 2014-10-21 2018-01-31 Grundfos Holding A/S Baueinheit für eine Kompaktheizungsanlage
EP3012553B1 (de) * 2014-10-21 2018-01-17 Grundfos Holding A/S Baueinheit für eine Heizungsanlage
DE202015105452U1 (de) 2015-10-15 2016-01-29 Viessmann Werke Gmbh & Co Kg Heizgerät
EP3156660B1 (de) * 2015-10-15 2022-04-13 Grundfos Holding A/S Hauswasserwerk mit kreiselpumpe und membrandruckbehälter
ITUB20160469A1 (it) * 2016-01-22 2017-07-22 Ivar Spa Dispositivo di regolazione per impianti termici
TR202017937A2 (tr) * 2020-11-10 2021-09-21 Daikin Europe Nv Hi̇droblok si̇stemleri̇ i̇çi̇n bi̇r güvenli̇k yapilandirmasi

Family Cites Families (3)

* Cited by examiner, † Cited by third party
Publication number Priority date Publication date Assignee Title
IT1298069B1 (it) * 1997-10-20 1999-12-20 Valter Falavegna Gruppo valvolare a distribuzione idraulica integrale particolarmente per caldaie murali da riscaldamento e produzione di acqua calda
DE19751515C2 (de) * 1997-11-21 1999-12-02 Grundfos A S Bjerringbro Baueinheit für eine Kompaktheizungsanlage
DE10007873C1 (de) * 2000-02-21 2001-06-28 Grundfos As Baueinheit für eine Kompaktheizungsanlage

Cited By (4)

* Cited by examiner, † Cited by third party
Publication number Priority date Publication date Assignee Title
EP2093517A1 (de) 2008-02-22 2009-08-26 Grundfos Management A/S Baueinheit für eine Kompaktheizungsanlage
DE102009048585A1 (de) 2009-10-07 2011-04-14 Stiebel Eltron Gmbh & Co. Kg Hydraulikmodul für ein Haustechnikgerät und Wärmepumpe mit einem Hydraulikmodul
EP2312224A2 (de) 2009-10-07 2011-04-20 STIEBEL ELTRON GmbH & Co. KG Hydraulikmodul für ein Haustechnikgerät und Wärmepumpe mit einem Hydraulikmodul
DE102018006784A1 (de) * 2018-08-28 2020-03-05 EnTEC P & L GmbH Pumpengruppe für ein Heizungssystem

Also Published As

Publication number Publication date
PL211735B1 (pl) 2012-06-29
CN1619234A (zh) 2005-05-25
PL371000A1 (en) 2005-05-16
EP1528330A1 (de) 2005-05-04
ATE397737T1 (de) 2008-06-15
CN100526749C (zh) 2009-08-12
DE50309957D1 (de) 2008-07-17

Similar Documents

Publication Publication Date Title
EP1528330B1 (de) Baueinheit für eine Kompaktheizungsanlage
EP1528329B1 (de) Baueinheit für eine Kompaktheizungsanlage
EP2397777B1 (de) Gehäuseeinheit für eine Heizungsanlage
EP2312224B1 (de) Wärmepumpe mit einem Hydraulikmodul
DE19637817A1 (de) Einrichtung und Verfahren zum Kühlen und Vorwärmen
EP1418387B1 (de) Kompaktheizungsanlage mit zwei Heizkreisen
EP0874201B2 (de) Baueinheit für eine Kompaktheizungsanlage
EP3504433A1 (de) Motor-pumpenvorrichtung
EP1130342B2 (de) Baueinheit für eine Kompaktheizungsanlage
DE202015001818U1 (de) Warmwasserspeicher mit zwei Behältern
EP2093517B1 (de) Baueinheit für eine Kompaktheizungsanlage
EP1884720B1 (de) Baueinheit für eine Kompaktheizungsanlage
DE19751515C2 (de) Baueinheit für eine Kompaktheizungsanlage
EP3012553B1 (de) Baueinheit für eine Heizungsanlage
DE19912284A1 (de) Kompaktheizungsanlage
EP1884723B1 (de) Baueinheit
EP1884717B1 (de) Heizungsanlage
DE202008015206U1 (de) Nachrüstbausatz für einen Heizkessel zur Gebäudeheizung
EP2629019B1 (de) Gehäuseeinheit für ein Heizgerät
DE112005000862T5 (de) Wärmetauscher
EP1217310B1 (de) Kompaktaggregat
DE10050128A1 (de) Filtervorrichtung
EP1528328B1 (de) Baueinheit für eine Kompaktheizungsanlage
EP2093516B1 (de) Baueinheit für eine Kompaktheizungsanlage
EP1528371A1 (de) Baueinheit für eine Kompaktheizungsanlage

Legal Events

Date Code Title Description
PUAI Public reference made under article 153(3) epc to a published international application that has entered the european phase

Free format text: ORIGINAL CODE: 0009012

AK Designated contracting states

Kind code of ref document: A1

Designated state(s): AT BE BG CH CY CZ DE DK EE ES FI FR GB GR HU IE IT LI LU MC NL PT RO SE SI SK TR

AX Request for extension of the european patent

Extension state: AL LT LV MK

17P Request for examination filed

Effective date: 20050405

AKX Designation fees paid

Designated state(s): AT BE BG CH CY CZ DE DK EE ES FI FR GB GR HU IE IT LI LU MC NL PT RO SE SI SK TR

GRAP Despatch of communication of intention to grant a patent

Free format text: ORIGINAL CODE: EPIDOSNIGR1

GRAS Grant fee paid

Free format text: ORIGINAL CODE: EPIDOSNIGR3

GRAA (expected) grant

Free format text: ORIGINAL CODE: 0009210

AK Designated contracting states

Kind code of ref document: B1

Designated state(s): AT BE BG CH CY CZ DE DK EE ES FI FR GB GR HU IE IT LI LU MC NL PT RO SE SI SK TR

REG Reference to a national code

Ref country code: GB

Ref legal event code: FG4D

Free format text: NOT ENGLISH

REG Reference to a national code

Ref country code: CH

Ref legal event code: EP

REF Corresponds to:

Ref document number: 50309957

Country of ref document: DE

Date of ref document: 20080717

Kind code of ref document: P

REG Reference to a national code

Ref country code: IE

Ref legal event code: FG4D

Free format text: LANGUAGE OF EP DOCUMENT: GERMAN

PG25 Lapsed in a contracting state [announced via postgrant information from national office to epo]

Ref country code: FI

Free format text: LAPSE BECAUSE OF FAILURE TO SUBMIT A TRANSLATION OF THE DESCRIPTION OR TO PAY THE FEE WITHIN THE PRESCRIBED TIME-LIMIT

Effective date: 20080604

Ref country code: SI

Free format text: LAPSE BECAUSE OF FAILURE TO SUBMIT A TRANSLATION OF THE DESCRIPTION OR TO PAY THE FEE WITHIN THE PRESCRIBED TIME-LIMIT

Effective date: 20080604

Ref country code: ES

Free format text: LAPSE BECAUSE OF FAILURE TO SUBMIT A TRANSLATION OF THE DESCRIPTION OR TO PAY THE FEE WITHIN THE PRESCRIBED TIME-LIMIT

Effective date: 20080915

REG Reference to a national code

Ref country code: IE

Ref legal event code: FD4D

REG Reference to a national code

Ref country code: HU

Ref legal event code: AG4A

Ref document number: E004008

Country of ref document: HU

PG25 Lapsed in a contracting state [announced via postgrant information from national office to epo]

Ref country code: SE

Free format text: LAPSE BECAUSE OF FAILURE TO SUBMIT A TRANSLATION OF THE DESCRIPTION OR TO PAY THE FEE WITHIN THE PRESCRIBED TIME-LIMIT

Effective date: 20080904

Ref country code: PT

Free format text: LAPSE BECAUSE OF FAILURE TO SUBMIT A TRANSLATION OF THE DESCRIPTION OR TO PAY THE FEE WITHIN THE PRESCRIBED TIME-LIMIT

Effective date: 20081104

Ref country code: IE

Free format text: LAPSE BECAUSE OF FAILURE TO SUBMIT A TRANSLATION OF THE DESCRIPTION OR TO PAY THE FEE WITHIN THE PRESCRIBED TIME-LIMIT

Effective date: 20080604

PG25 Lapsed in a contracting state [announced via postgrant information from national office to epo]

Ref country code: SK

Free format text: LAPSE BECAUSE OF FAILURE TO SUBMIT A TRANSLATION OF THE DESCRIPTION OR TO PAY THE FEE WITHIN THE PRESCRIBED TIME-LIMIT

Effective date: 20080604

Ref country code: RO

Free format text: LAPSE BECAUSE OF FAILURE TO SUBMIT A TRANSLATION OF THE DESCRIPTION OR TO PAY THE FEE WITHIN THE PRESCRIBED TIME-LIMIT

Effective date: 20080604

PLBE No opposition filed within time limit

Free format text: ORIGINAL CODE: 0009261

STAA Information on the status of an ep patent application or granted ep patent

Free format text: STATUS: NO OPPOSITION FILED WITHIN TIME LIMIT

PG25 Lapsed in a contracting state [announced via postgrant information from national office to epo]

Ref country code: BG

Free format text: LAPSE BECAUSE OF FAILURE TO SUBMIT A TRANSLATION OF THE DESCRIPTION OR TO PAY THE FEE WITHIN THE PRESCRIBED TIME-LIMIT

Effective date: 20080904

Ref country code: EE

Free format text: LAPSE BECAUSE OF FAILURE TO SUBMIT A TRANSLATION OF THE DESCRIPTION OR TO PAY THE FEE WITHIN THE PRESCRIBED TIME-LIMIT

Effective date: 20080604

Ref country code: DK

Free format text: LAPSE BECAUSE OF FAILURE TO SUBMIT A TRANSLATION OF THE DESCRIPTION OR TO PAY THE FEE WITHIN THE PRESCRIBED TIME-LIMIT

Effective date: 20080604

26N No opposition filed

Effective date: 20090305

BERE Be: lapsed

Owner name: GRUNDFOS A/S

Effective date: 20081130

PG25 Lapsed in a contracting state [announced via postgrant information from national office to epo]

Ref country code: MC

Free format text: LAPSE BECAUSE OF NON-PAYMENT OF DUE FEES

Effective date: 20081130

REG Reference to a national code

Ref country code: CH

Ref legal event code: PL

PG25 Lapsed in a contracting state [announced via postgrant information from national office to epo]

Ref country code: BE

Free format text: LAPSE BECAUSE OF NON-PAYMENT OF DUE FEES

Effective date: 20081130

PG25 Lapsed in a contracting state [announced via postgrant information from national office to epo]

Ref country code: CH

Free format text: LAPSE BECAUSE OF NON-PAYMENT OF DUE FEES

Effective date: 20081130

Ref country code: LI

Free format text: LAPSE BECAUSE OF NON-PAYMENT OF DUE FEES

Effective date: 20081130

PG25 Lapsed in a contracting state [announced via postgrant information from national office to epo]

Ref country code: AT

Free format text: LAPSE BECAUSE OF NON-PAYMENT OF DUE FEES

Effective date: 20081103

PG25 Lapsed in a contracting state [announced via postgrant information from national office to epo]

Ref country code: LU

Free format text: LAPSE BECAUSE OF NON-PAYMENT OF DUE FEES

Effective date: 20081103

Ref country code: CY

Free format text: LAPSE BECAUSE OF FAILURE TO SUBMIT A TRANSLATION OF THE DESCRIPTION OR TO PAY THE FEE WITHIN THE PRESCRIBED TIME-LIMIT

Effective date: 20080604

PG25 Lapsed in a contracting state [announced via postgrant information from national office to epo]

Ref country code: TR

Free format text: LAPSE BECAUSE OF FAILURE TO SUBMIT A TRANSLATION OF THE DESCRIPTION OR TO PAY THE FEE WITHIN THE PRESCRIBED TIME-LIMIT

Effective date: 20080604

PG25 Lapsed in a contracting state [announced via postgrant information from national office to epo]

Ref country code: GR

Free format text: LAPSE BECAUSE OF FAILURE TO SUBMIT A TRANSLATION OF THE DESCRIPTION OR TO PAY THE FEE WITHIN THE PRESCRIBED TIME-LIMIT

Effective date: 20080905

REG Reference to a national code

Ref country code: FR

Ref legal event code: PLFP

Year of fee payment: 14

REG Reference to a national code

Ref country code: FR

Ref legal event code: PLFP

Year of fee payment: 15

PGFP Annual fee paid to national office [announced via postgrant information from national office to epo]

Ref country code: CZ

Payment date: 20211022

Year of fee payment: 19

Ref country code: DE

Payment date: 20211123

Year of fee payment: 19

Ref country code: NL

Payment date: 20211119

Year of fee payment: 19

Ref country code: GB

Payment date: 20211123

Year of fee payment: 19

Ref country code: FR

Payment date: 20211119

Year of fee payment: 19

PGFP Annual fee paid to national office [announced via postgrant information from national office to epo]

Ref country code: IT

Payment date: 20211130

Year of fee payment: 19

Ref country code: HU

Payment date: 20211030

Year of fee payment: 19

REG Reference to a national code

Ref country code: DE

Ref legal event code: R119

Ref document number: 50309957

Country of ref document: DE

REG Reference to a national code

Ref country code: NL

Ref legal event code: MM

Effective date: 20221201

GBPC Gb: european patent ceased through non-payment of renewal fee

Effective date: 20221103

PG25 Lapsed in a contracting state [announced via postgrant information from national office to epo]

Ref country code: HU

Free format text: LAPSE BECAUSE OF NON-PAYMENT OF DUE FEES

Effective date: 20221104

Ref country code: CZ

Free format text: LAPSE BECAUSE OF NON-PAYMENT OF DUE FEES

Effective date: 20221103

PG25 Lapsed in a contracting state [announced via postgrant information from national office to epo]

Ref country code: NL

Free format text: LAPSE BECAUSE OF NON-PAYMENT OF DUE FEES

Effective date: 20221201

PG25 Lapsed in a contracting state [announced via postgrant information from national office to epo]

Ref country code: IT

Free format text: LAPSE BECAUSE OF NON-PAYMENT OF DUE FEES

Effective date: 20221103

Ref country code: GB

Free format text: LAPSE BECAUSE OF NON-PAYMENT OF DUE FEES

Effective date: 20221103

Ref country code: DE

Free format text: LAPSE BECAUSE OF NON-PAYMENT OF DUE FEES

Effective date: 20230601

PG25 Lapsed in a contracting state [announced via postgrant information from national office to epo]

Ref country code: FR

Free format text: LAPSE BECAUSE OF NON-PAYMENT OF DUE FEES

Effective date: 20221130