EP1422472A2 - Projecteur elliptique pour véhicule automobile émettant des faisceaux d'éclairage différents - Google Patents

Projecteur elliptique pour véhicule automobile émettant des faisceaux d'éclairage différents Download PDF

Info

Publication number
EP1422472A2
EP1422472A2 EP03292836A EP03292836A EP1422472A2 EP 1422472 A2 EP1422472 A2 EP 1422472A2 EP 03292836 A EP03292836 A EP 03292836A EP 03292836 A EP03292836 A EP 03292836A EP 1422472 A2 EP1422472 A2 EP 1422472A2
Authority
EP
European Patent Office
Prior art keywords
cover
projector
spring
projector according
reflector
Prior art date
Legal status (The legal status is an assumption and is not a legal conclusion. Google has not performed a legal analysis and makes no representation as to the accuracy of the status listed.)
Withdrawn
Application number
EP03292836A
Other languages
German (de)
English (en)
Other versions
EP1422472A3 (fr
Inventor
Giampiero Mogliotti
Jean-Claude Puente
Current Assignee (The listed assignees may be inaccurate. Google has not performed a legal analysis and makes no representation or warranty as to the accuracy of the list.)
Valeo Vision SAS
Original Assignee
Valeo Vision SAS
Priority date (The priority date is an assumption and is not a legal conclusion. Google has not performed a legal analysis and makes no representation as to the accuracy of the date listed.)
Filing date
Publication date
Application filed by Valeo Vision SAS filed Critical Valeo Vision SAS
Publication of EP1422472A2 publication Critical patent/EP1422472A2/fr
Publication of EP1422472A3 publication Critical patent/EP1422472A3/fr
Withdrawn legal-status Critical Current

Links

Images

Classifications

    • FMECHANICAL ENGINEERING; LIGHTING; HEATING; WEAPONS; BLASTING
    • F21LIGHTING
    • F21SNON-PORTABLE LIGHTING DEVICES; SYSTEMS THEREOF; VEHICLE LIGHTING DEVICES SPECIALLY ADAPTED FOR VEHICLE EXTERIORS
    • F21S41/00Illuminating devices specially adapted for vehicle exteriors, e.g. headlamps
    • F21S41/60Illuminating devices specially adapted for vehicle exteriors, e.g. headlamps characterised by a variable light distribution
    • F21S41/68Illuminating devices specially adapted for vehicle exteriors, e.g. headlamps characterised by a variable light distribution by acting on screens
    • F21S41/683Illuminating devices specially adapted for vehicle exteriors, e.g. headlamps characterised by a variable light distribution by acting on screens by moving screens
    • F21S41/689Flaps, i.e. screens pivoting around one of their edges
    • FMECHANICAL ENGINEERING; LIGHTING; HEATING; WEAPONS; BLASTING
    • F21LIGHTING
    • F21SNON-PORTABLE LIGHTING DEVICES; SYSTEMS THEREOF; VEHICLE LIGHTING DEVICES SPECIALLY ADAPTED FOR VEHICLE EXTERIORS
    • F21S41/00Illuminating devices specially adapted for vehicle exteriors, e.g. headlamps
    • F21S41/10Illuminating devices specially adapted for vehicle exteriors, e.g. headlamps characterised by the light source
    • F21S41/14Illuminating devices specially adapted for vehicle exteriors, e.g. headlamps characterised by the light source characterised by the type of light source
    • F21S41/162Incandescent light sources, e.g. filament or halogen lamps
    • F21S41/168Incandescent light sources, e.g. filament or halogen lamps having a filament arranged transversally to the optical axis of the illuminating device
    • FMECHANICAL ENGINEERING; LIGHTING; HEATING; WEAPONS; BLASTING
    • F21LIGHTING
    • F21SNON-PORTABLE LIGHTING DEVICES; SYSTEMS THEREOF; VEHICLE LIGHTING DEVICES SPECIALLY ADAPTED FOR VEHICLE EXTERIORS
    • F21S41/00Illuminating devices specially adapted for vehicle exteriors, e.g. headlamps
    • F21S41/20Illuminating devices specially adapted for vehicle exteriors, e.g. headlamps characterised by refractors, transparent cover plates, light guides or filters
    • F21S41/25Projection lenses
    • F21S41/255Lenses with a front view of circular or truncated circular outline
    • FMECHANICAL ENGINEERING; LIGHTING; HEATING; WEAPONS; BLASTING
    • F21LIGHTING
    • F21SNON-PORTABLE LIGHTING DEVICES; SYSTEMS THEREOF; VEHICLE LIGHTING DEVICES SPECIALLY ADAPTED FOR VEHICLE EXTERIORS
    • F21S41/00Illuminating devices specially adapted for vehicle exteriors, e.g. headlamps
    • F21S41/30Illuminating devices specially adapted for vehicle exteriors, e.g. headlamps characterised by reflectors
    • F21S41/32Optical layout thereof
    • F21S41/321Optical layout thereof the reflector being a surface of revolution or a planar surface, e.g. truncated
    • FMECHANICAL ENGINEERING; LIGHTING; HEATING; WEAPONS; BLASTING
    • F21LIGHTING
    • F21SNON-PORTABLE LIGHTING DEVICES; SYSTEMS THEREOF; VEHICLE LIGHTING DEVICES SPECIALLY ADAPTED FOR VEHICLE EXTERIORS
    • F21S45/00Arrangements within vehicle lighting devices specially adapted for vehicle exteriors, for purposes other than emission or distribution of light
    • F21S45/40Cooling of lighting devices
    • FMECHANICAL ENGINEERING; LIGHTING; HEATING; WEAPONS; BLASTING
    • F21LIGHTING
    • F21SNON-PORTABLE LIGHTING DEVICES; SYSTEMS THEREOF; VEHICLE LIGHTING DEVICES SPECIALLY ADAPTED FOR VEHICLE EXTERIORS
    • F21S45/00Arrangements within vehicle lighting devices specially adapted for vehicle exteriors, for purposes other than emission or distribution of light
    • F21S45/40Cooling of lighting devices
    • F21S45/47Passive cooling, e.g. using fins, thermal conductive elements or openings

Definitions

  • the present invention relates to projectors of the elliptical type. for motor vehicles.
  • Elliptical type headlamps comprise in known manner a light source, an elliptical type reflector including a first focus is located near the source, a converging lens whose a focal plane passes in the vicinity of a second focus of the reflector.
  • Such a headlamp When such a headlamp must form a cut-off beam, such than a passing beam or a fog beam, it includes a cover interposed at the second focal point of the reflector, which obscures the part of the radiation, which would otherwise spread over this cut.
  • a known solution to modify the profile of the cut consists to intervene on the projector cover to modify its profile cut.
  • a elliptical projector of the type comprising a first cover provided between the reflector and lens, which has an edge defining a first profile particular cut-off for the light beam emitted, and a second cover disposed on the first cover and selectively movable between two positions, a first position in which an edge of the second cover is positioned on the path of the light rays to form with the first hides a light beam with a second cut profile particular, and a second position in which said edge of the second cover is substantially positioned outside the path of the light rays to form a light beam with the first cut profile.
  • a solution to selectively perform a function crossing or a road function consists of rotating the cover mobile of the projector to position it respectively in or out of the light beam emitted.
  • the cover is pivotally mounted on a frame part of the projector, at one of its lateral sides, and the movement of the cover is pivoted so that it always remains in the vertical plane transverse to the optical axis where it is in position crossing.
  • Such a projector has several drawbacks. First of all, with such a cover arrangement pivoting about an axis parallel to the optical axis, taking into account the small space available in the housing of the projector, below the cover, it is impossible to release completely cover the emitted light beam, on the side of the axis of pivoting of said cover.
  • document FR-A-2,796,449 offers an elliptical type projector which has a main cover mounted pivoting about a transverse axis and which includes a cover secondary mounted pivoting about an axis parallel to the optical axis.
  • the spotlight creates a beam lighting with a first cut-off profile.
  • the projector achieves a lighting beam with a second cutoff profile different from the first.
  • the secondary cover is provided to modify the cut made by the main cover in the lighting beam by increasing the obscured surface. Therefore, the secondary cache does not allow create a light beam with a cut-off profile specific with a less obscured lighting area compared to at the first cut profile.
  • the secondary cover being of small dimensions, the thermal stresses to which it is subjected inside the projector may change its geometry and cause projector malfunctions.
  • the thermal constraints mentioned above also make it difficult to index the different positions of the secondary cover.
  • the route function is difficult to achieve in because of the proximity of the pivot axis of the secondary cover with the upper part of the main cover, this proximity being imposed by the optical conjugation of the lens with the reflector.
  • the present invention is placed in this context and aims to remedy these drawbacks by proposing a projector equipped with movable covers so as to generate different beams lighting, which is simple, reliable and economical.
  • the invention provides a vehicle headlamp automobile, comprising a light source, a reflector of the type elliptical whose first focus is located near the source, a converging lens of which a focal plane passes in the vicinity of a second reflector focus, first and second covers which are inserted axially, along the optical axis of the projector, between the reflector and the lens, of the type in which the first cover is pivotally mounted around of a substantially transverse axis between two extreme positions.
  • the second cover is pivotally mounted around the same pivot axis, the second cover being mounted free to rotate around the pivot axis and being subjected only to the action of a spring and a locking element.
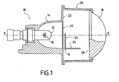
  • a headlight 10 for a vehicle is shown.
  • automobile which comprises a lamp 12 mounted in the bottom of a reflector 14 of the elliptical type such that the light source 16, ie the filament of an incandescent lamp as on the Figure 1 or the electric arc of a discharge lamp as in the other Figures, is located in the vicinity of a first focus of the reflector 14.
  • orientation from back to front along the optical axis A-A of the projector 10, which corresponds to an orientation from left to right considering the Figure 1, i.e. in the direction of propagation of the light rays at the projector output.
  • the optical axis A-A is generally parallel to the longitudinal axis of the vehicle that the headlight 10 equips.
  • the optical axis A-A is here substantially horizontal and it can be defined for example by the two focal points of the reflector 14.
  • the projector 10 includes a converging lens 18, for example example plano-convex, which is mounted, in the front, in a part intermediate 20 of the projector 10 fixed on a transverse surface front 22 of reflector 14.
  • a converging lens 18, for example example plano-convex which is mounted, in the front, in a part intermediate 20 of the projector 10 fixed on a transverse surface front 22 of reflector 14.
  • the focal plane of the lens 18 passes in the vicinity of the second focal point of the reflector 14.
  • the projector 10 has a first cover 24 and a second cover 26 which are interposed between the reflector 14 and the lens 18, at the vicinity of the focal plane of the lens 18.
  • All the elements described above constitute a block spotlight optics 10 which is for example mounted so classic in a case (not shown) closed by a glass.
  • first cover 24 and the second cover 26 are pivotally mounted with respect to to the reflector 14, around a same transverse geometric axis B-B, between a retracted position Pe and a concealing position Po.
  • the covers 24, 26 are for example pivotally mounted on a intermediate support plate 27 which is axially interposed between the reflector 14 and the framework part 20.
  • FIGS 2 and 3 show in a simplified manner the projector 10 of Figure 1. In this Figure therefore appear a portion of the reflector 14 and the two covers 24, 26. There is shown also, in broken lines, the rear transverse face 28 of the lens 18.
  • the cover actuator 24 is also shown, here in the form of an electric motor 30.
  • control actuators could be used, for example electromagnet actuators such as those used for the pivoting of the covers in document FR-A-2,796,449 to which may refer for further details.
  • each cover 24, 26 has overall the shape of a rectangular plate which, in the position occultation Po, extends in a transverse and vertical plane, and which, in the retracted position Pe, extends in a plane substantially horizontal.
  • the rectangular plates forming the covers 24, 26 have large dimensions which favors their capacity heat dissipation and which allows them to be insensitive to thermal stresses inside the projector 10.
  • the first cover 24 is plate-shaped and has two edges 34, 36 substantially transverse and two lateral edges 38, 40 substantially vertical which give the plate a shape overall rectangular.
  • the geometric pivot axis B-B of the first cover 24 is arranged here along the lower transverse edge, or transverse edge of pivot 34.
  • the first cover 24 comprises at each end of the transverse pivot edge a section shaft 42, 44 which, on one side, is mounted to rotate freely in a bearing 43 and on the other side is integral with rotation of the drive shaft of actuator 30.
  • the transverse edge 36 opposite the transverse pivoting edge 34 forms the cutting edge of the cover 24, i.e. it delimits a cut-off profile for the light beam emitted by the projector 10 when the cover 24 occupies its concealed position Po.
  • the cutting edge 36 of the first cover 24 is for example designed to perform a low beam lighting function. he therefore comprises two horizontal portions 44, 46 vertically offset, in the masking position Po, and connected by an inclined portion 48 so that the spotlight 10 achieves a regulatory beam of fire of crossing for a given traffic direction.
  • the second cover 26 is similar to the first cover 24 and is shown in its position retracted Pe in FIGS. 1 and 2, and in the concealed position Po on Figure 3.
  • the second cover 26 is also in the form of a plate and it has two substantially transverse edges and two lateral edges substantially vertical which give the plate a shape overall rectangular.
  • the second cover 26 is mounted free to rotate about the axis B-B.
  • the projector 10 is thus capable of emitting a beam of road when the two covers 24 and 26 are in the retracted position Pe, a passing beam for a given traffic direction when only the first cover is in Po concealment position, and another cut-off beam when the two covers 24 and 26 are in position occultation.
  • This other passing beam can be adapted to the other direction circulation, or the cutting edges 36, 56 of the two covers 24, 26 can be provided so that, when the two covers 24, 26 occupy their occulting position Po, the overlapping of the covers 24, 26 according to the optical axis A-A makes it possible to perform an “AFS” lighting function additional.
  • this lighting function must include a beam of lighting with a larger obscured portion than in each of the lighting functions associated with the two covers 24, 26, since the light beam associated with this lighting function additional will be obscured by both the first 24 and the second 26 caches.
  • This additional lighting function is for example a rain function ("Adverse Weather Lighting”) in which the concealment is more important than in lighting in passing beam.
  • the cutting edge 56 of the second cover 26 is for example planned to adapt the regulatory beam of low beam generated by the projector 10 when the first cover 24 is in blackout position Po in the other direction of traffic.
  • the cutting edge 56 is flat, and, when the second cover 26 is in the obscuring position Po, as we have shown in Figure 3, contained in the horizontal plane containing the cutting edge 46 of the first cover 24.
  • the projector 10 when the second cover 26 is in the retracted position Pe, the projector 10 emits a passing beam for a direction of given circulation, and when the second cover 26 is in position occultation, the projector 10 emits a beam allowing circulation in the other direction.
  • FIGS. 4A to 7B show a first mode of embodiment of the invention, the figures of index A being side views, and the Figures of index B being sectional views along a vertical plane passing through the axis A-A.
  • the second cover 26 is subjected to the action of a spring 60, one end of which is trapped of the intermediate support plate 27, and the other end of which biases the second cover 26 backwards, in its position occultation Po.
  • the spring 60 can be produced in the form of a pin, the branches being fixed on the plate 27 and the second cover 26, a spring 60 loop surrounding axis B-B.
  • the second cover 26 is also integral with a stud 62, extending parallel to the axis B-B.
  • the projector 10 is also equipped a pull tab 64, extending parallel to the axis A-A of the headlight, and likely to occupy by translation in a direction parallel to the axis A-Has two extreme positions, front and rear.
  • Zipper 64 carries front end a pallet 66, in which a light is formed, comprising a rectilinear part 68, vertical, and a circular part 70, communicating with the upper end of the straight part 68.
  • the pin 62 is capable of sliding in light 68-70.
  • the pull tab 64 When the pull tab 64 is in its extreme front position, the stud 62 is received in the rectilinear light 68, at the lower end of it. In this position, the second cover 62 is immobilized in retracted position Pe.
  • the first cover 24 is still capable of being moved by the actuator 30, between a position where the projector 10 generates a beam with a first cut, as in Figures 4A and 4B, and a position where it generates a beam of route, as in Figures 5A and 5B.
  • the circular part of the light 70 is centered on the axis B of rotation of the two covers 24 and 26.
  • the projector 10 can therefore emit a beam with a second break, in the position shown in Figures 6A and 6B, or a main beam, in the position shown in Figures 7A and 7B.
  • FIGS. 8 to 12B show a second mode of embodiment of the invention, the figures of index A being side views, and the Figures of index B being sectional views along a vertical plane passing through the axis A-A.
  • the second cover 26 here again is subjected to the action of a spring 72, one end of which is trapped in the intermediate support plate 27, and the other of which end urges the second cover 26.
  • the spring 72 biases the second cover 26 towards the front, in its retracted position Pe, in abutment on a fixed part of the support plate 27.
  • the projector 10 includes a magnet 80, capable of being moved from a rest position R to a working position T. In the rest position R, the magnet 80 is kept apart from the covers 24 and 26, and in the working position T, it is integral with the first cover 24.
  • the second cover 26 In its rest position, the second cover 26 is maintained in its retracted position Pe under the action of the spring 72, as has been shown in Figures 8, 9A and 9B, so that the projector 10 can emit a beam with a first cut, or a beam of road, as shown in Figures 10A and 10B.
  • the first cover 24 When the movement of the first cover 24 is controlled, it is placed in its retracted position Pe, as shown in Figures 10A and 10B, so that the headlight 10 can emit a driving beam.
  • the magnet 80 When the magnet 80 is moved to its working position T, it is secured to the first cover 24, for example by clipping. In this position, when the first cover 24 is controlled in its retracted position Pe, the magnet 80 has the effect of attracting the second cover 26, and make it integral with the first cover 24.
  • the first cover 24 When the first cover 24 is ordered to come into its occultation position Po, it then drives with it the second cover 26, the force exerted by the magnet 80 being greater than that which is exerted by the spring 80, as shown in Figures 11A and 11B.
  • the projector 10 then emits a beam with a second cut.
  • the first cover 24 When the first cover 24 is ordered to come into its retracted position Pe, it then drives with it the second cover 26. the force exerted by the magnet 80 being greater than that which is exerted by the spring 80, as shown in Figures 12A and 12B. The headlight 10 then emits a driving beam, without interruption.
  • the present invention is not limited to the embodiments that have been described, but it is likely to receive many modifications that fall within its scope.
  • a movable magnet instead of a movable magnet, one could advantageously use a electromagnet, fixed on the first cover. When this electromagnet is not not excited, everything happens as if the magnet 80 was in its position of rest R. On the other hand, when this electromagnet is excited, everything happens as if the magnet 80 was in its working position T.

Landscapes

  • Engineering & Computer Science (AREA)
  • General Engineering & Computer Science (AREA)
  • Non-Portable Lighting Devices Or Systems Thereof (AREA)

Abstract

La présente invention concerne un projecteur (10) pour véhicule automobile, comprenant une source lumineuse (16), un réflecteur (14) du type elliptique dont un premier foyer est situé au voisinage de la source (16), une lentille convergente (18) dont un plan focal passe au voisinage d'un second foyer du réflecteur (14), un premier (24) et un deuxième (26) caches qui sont intercalés axialement, suivant l'axe optique (A-A) du projecteur (10), entre le réflecteur (14) et la lentille (18), du type dans lequel le premier cache (24) est monté pivotant autour d'un axe (B-B) sensiblement transversal entre deux positions extrêmes.
Selon la présente invention, le second cache (26) est monté à pivotement autour du même axe de pivotement (B-B), le second cache (26) étant monté libre à rotation autour de l'axe de pivotement (B-B) et n'étant soumis qu'à l'action d'un ressort (60, 72) et d'un élément de verrouillage (64, 66 ; 80).

Description

La présente invention concerne les projecteurs du type elliptique destinés aux véhicules automobiles.
Les projecteurs de type elliptique comportent de façon connue une source lumineuse, un réflecteur du type elliptique dont un premier foyer est situé au voisinage de la source, une lentille convergente dont un plan focal passe au voisinage d'un second foyer du réflecteur.
Lorsqu'un tel projecteur doit former un faisceau à coupure, tel qu'un faisceau de croisement ou un faisceau antibrouillard, il comporte un cache interposé au niveau du second foyer du réflecteur, qui occulte la partie du rayonnement, qui autrement se propagerait au-dessus de cette coupure.
Dans un tel type de projecteur, il est alors difficile de modifier le profil de la coupure. Une telle modification doit être envisagée notamment lorsqu'un projecteur, conçu par exemple pour un sens de circulation à droite, doit former un faisceau lumineux adapté à une circulation à gauche.
Une solution connue pour modifier le profil de la coupure consiste à intervenir sur le cache du projecteur pour en modifier le profil de coupure.
On connaít, par exemple par le document EP-A-0.381.851, un projecteur elliptique du type comportant un premier cache prévu entre le réflecteur et la lentille, qui présente un bord définissant un premier profil de coupure particulier pour le faisceau lumineux émis, et un second cache disposé sur le premier cache et mobile sélectivement entre deux positions, une première position dans laquelle un bord du second cache est positionné sur le trajet des rayons lumineux pour former avec le premier cache un faisceau lumineux avec un deuxième profil de coupure particulier, et une deuxième position dans laquelle ledit bord du second cache est sensiblement positionné hors du trajet des rayons lumineux pour former un faisceau lumineux avec le premier profil de coupure.
En outre, une solution pour réaliser sélectivement une fonction croisement ou une fonction route, consiste à faire pivoter le cache mobile du projecteur pour le positionner respectivement dans ou hors du faisceau lumineux émis.
A ce sujet, on connaít déjà un projecteur du type elliptique qui comporte un cache pivotant entre une position croisement et une position route, autour d'un axe généralement horizontal et parallèle à l'axe optique.
Le cache est monté à pivotement sur une partie d'ossature du projecteur, au niveau d'un de ses côtés latéraux, et le mouvement de pivotement du cache s'effectue de telle sorte qu'il reste toujours dans le plan vertical transversal à l'axe optique où il se trouve dans la position croisement.
Un tel projecteur présente plusieurs inconvénients. Tout d'abord, avec un tel agencement de cache pivotant autour d'un axe parallèle à l'axe optique, compte tenu du faible espace disponible dans le boítier du projecteur, en dessous du cache, il est impossible de dégager complètement le cache du faisceau lumineux émis, du côté de l'axe de pivotement dudit cache.
Ainsi, lorsque ce projecteur fonctionne en route, le faisceau lumineux émis présente une intensité lumineuse réduite due au fait qu'une partie du cache, située du côté de l'axe de pivotement de ce dernier, reste toujours sur le trajet des rayons lumineux émis. En outre, le montage du cache à pivotement sur un de ses côtés latéraux, engendre un mauvais équilibrage du cache qui n'est pas soutenu de l'autre côté. Enfin, un tel agencement de cache pivotant nécessite l'utilisation d'un moyen d'actionnement encombrant et puissant pour assurer avec la rapidité voulue le retour du cache dans la position route vers la position croisement.
Pour résoudre ces problèmes, le document FR-A-2.796.449 propose un projecteur du type elliptique qui comporte un cache principal monté pivotant autour d'un axe transversal et qui comporte un cache secondaire monté pivotant autour d'un axe parallèle à l'axe optique.
Lorsque le cache principal est en position d'occultation, c'est à dire dans un plan transversal, et lorsque le cache secondaire est en position escamotée vers le bas, le projecteur réalise un faisceau d'éclairage avec un premier profil de coupure.
Lorsque l'on commande le pivotement du cache secondaire vers sa position d'occultation haute, le cache principal occupant sa position d'occultation, alors le projecteur réalise un faisceau d'éclairage avec un deuxième profil de coupure différent du premier.
Ce type de projecteur n'est pas complètement satisfaisant. En effet, le cache secondaire est prévu pour modifier la coupure réalisée par le cache principal dans le faisceau d'éclairage en augmentant la surface occultée. Par conséquent, le cache secondaire ne permet pas de réaliser un faisceau d'éclairage qui présente un profil de coupure spécifique comportant une zone d'éclairage moins occultée par rapport au premier profil de coupure.
De plus, le cache secondaire étant de faibles dimensions, les contraintes thermiques auxquelles il est soumis à l'intérieur du projecteur peuvent modifier sa géométrie et provoquer des dysfonctionnements du projecteur. Les contraintes thermiques évoquées ci-dessus rendent aussi difficile l'indexation des différentes positions du cache secondaire. En outre, la fonction route est difficile à réaliser en raison de la proximité de l'axe de pivotement du cache secondaire avec la partie supérieure du cache principal, cette proximité étant imposée par la conjugaison optique de la lentille avec le réflecteur.
On connaít encore du document FR-A-2 769 071, un projecteur de type elliptique, comportant un cache mobile double qui est formé avec deux bords de coupure, de manière à former deux faisceaux à coupure et un faisceau de route. Les caches formant les coupures sont solidaires l'un de l'autre.
On connaít enfin du document US-A-5 339 226 un projecteur de type elliptique, comportant deux caches doubles imbriqués l'un dans l'autre et mobiles autour du même axe, de manière à former au moins trois faisceaux à coupures.
La présente invention se place dans ce contexte et vise à remédier à ces inconvénients en proposant un projecteur équipé de caches mobiles de manière à engendrer différents faisceaux d'éclairages, qui soit simple, fiable et économique.
Dans ce but, l'invention propose un projecteur pour véhicule automobile, comprenant une source lumineuse, un réflecteur du type elliptique dont un premier foyer est situé au voisinage de la source, une lentille convergente dont un plan focal passe au voisinage d'un second foyer du réflecteur, un premier et un deuxième caches qui sont intercalés axialement, suivant l'axe optique du projecteur, entre le réflecteur et la lentille, du type dans lequel le premier cache est monté pivotant autour d'un axe sensiblement transversal entre deux positions extrêmes.
Selon la présente invention, le second cache est monté à pivotement autour du même axe de pivotement, le second cache étant monté libre à rotation autour de l'axe de pivotement et n'étant soumis qu'à l'action d'un ressort et d'un élément de verrouillage.
Selon d'autres caractéristiques de l'invention :
  • le premier cache délimite, lorsqu'il est en position d'occultation, un premier profil de coupure pour le faisceau d'éclairage émis par le projecteur, le second cache délimite avec le premier cache, lorsqu'ils sont en position d'occultation, un second profil de coupure pour le faisceau d'éclairage émis par le projecteur, et, lorsque les deux caches sont en position escamotée, le projecteur émet un faisceau sans coupure.
Selon un premier mode de réalisation,
  • le ressort sollicite le second cache vers l'arrière.
  • l'élément de verrouillage est mobile entre deux positions extrêmes et il est constitué par une palette comportant une lumière dans laquelle est reçu un téton solidaire du second cache.
  • dans une première position extrême de l'élément de verrouillage, le second cache est immobilisé dans une position escamotée, et, dans la deuxième position extrême de l'élément de verrouillage, le second cache est sollicité par le ressort en appui sur le premier cache.
Selon un second mode de réalisation,
  • le ressort sollicite le second cache vers l'avant.
  • l'élément de verrouillage est constitué par un moyen de solidarisation du second cache avec le premier cache.
  • le moyen de solidarisation est un aimant, déplaçable entre une position de repos dans laquelle le second cache est maintenu en position escamotée par le ressort, et une position de travail dans laquelle il est maintenu par le premier cache et maintient le second cache en contact avec le premier.
  • le moyen de solidarisation est un électroaimant fixé sur le premier cache.
D'autres caractéristiques et avantages de l'invention apparaítront à la lecture de la description détaillée qui suit pour la compréhension de laquelle on se reportera aux dessins annexés parmi lesquels :
  • la Figure 1 est une vue schématique en coupe d'un projecteur elliptique réalisé conformément aux enseignements de l'invention ;
  • la Figure 2 est une vue schématique en perspective du projecteur de la Figure 1, dans une première configuration ;
  • la Figure 3 est une vue similaire à celle de le Figure 2, le projecteur étant dans une deuxième configuration ;
  • les Figures 4A, 4B, 5A et 5B représentent diverses positions du projecteur de la Figure 1, lorsqu'il est dans sa première configuration, selon un premier mode de réalisation de l'invention ;
  • les Figures 6A, 6B, 7A et 7B représentent diverses positions du projecteur de la Figure 1, lorsqu'il est dans sa deuxième configuration, selon le premier mode de réalisation de l'invention ;
  • la Figure 8 est une vue schématique en perspective éclatée du projecteur de la Figure 1, selon un deuxième mode de réalisation ;
  • les Figures 9A, 9B, 10A et 10B représentent diverses positions du projecteur de la Figure 8, lorsqu'il est dans sa première configuration, selon le deuxième mode de réalisation de l'invention ;
  • les Figures 11A, 11B, 12A et 12B représentent diverses positions du projecteur de la Figure 8, lorsqu'il est dans sa deuxième configuration, selon le deuxième mode de réalisation de l'invention.
Préliminairement, on notera que d'une Figure à l'autre les éléments identiques ou similaires sont référencés dans la mesure du possible par les mêmes signes de référence.
Sur les Figures, on a représenté un projecteur 10 pour véhicule automobile qui comporte une lampe 12 montée dans le fond d'un réflecteur 14 du type elliptique de telle sorte que la source lumineuse 16, c'est à dire le filament d'une lampe à incandescence comme sur la Figure 1 ou l'arc électrique d'une lampe à décharge comme dans les autres Figures, se situe au voisinage d'un premier foyer du réflecteur 14.
Dans la suite de la description, on utilisera à titre non limitatif une orientation d'arrière en avant, suivant l'axe optique A-A du projecteur 10, qui correspond à une orientation de gauche à droite en considérant la Figure 1, c'est à dire dans le sens de propagation des rayons lumineux à la sortie du projecteur. L'axe optique A-A est généralement parallèle à l'axe longitudinal du véhicule que le projecteur 10 équipe.
L'axe optique A-A est ici sensiblement horizontal et il peut être défini par exemple par les deux foyers du réflecteur 14.
On utilisera aussi, à titre non limitatif, une orientation de haut en bas suivant un axe vertical, en considérant les Figures.
On définit une direction transversale qui est sensiblement horizontale et orthogonale à l'axe optique A-A.
Le projecteur 10 comporte une lentille convergente 18, par exemple plan-convexe, qui est montée, à l'avant, dans une partie intermédiaire 20 du projecteur 10 fixée sur une surface transversale avant 22 du réflecteur 14.
Le plan focal de la lentille 18 passe au voisinage du second foyer du réflecteur 14.
Le projecteur 10 comporte un premier cache 24 et un deuxième cache 26 qui sont intercalés entre le réflecteur 14 et la lentille 18, au voisinage du plan focal de la lentille 18.
L'ensemble des éléments décrits ci-dessus constitue un bloc optique de projecteur 10 qui est par exemple monté de manière classique dans un boítier (non représenté) fermé par une glace.
Conformément aux enseignements de l'invention, le premier cache 24 et le deuxième cache 26 sont montés à pivotement par rapport au réflecteur 14, autour d'un même axe géométrique transversal B-B, entre une position escamotée Pe et une position d'occultation Po.
Les caches 24, 26 sont par exemple montés à pivotement sur une platine de support intermédiaire 27 qui est intercalée axialement entre le réflecteur 14 et la pièce d'ossature 20.
Sur les Figures 2 et 3 on a représenté de manière simplifiée le projecteur 10 de la Figure 1. Sur cette Figure apparaissent donc une portion du réflecteur 14 et les deux caches 24, 26. On a représenté aussi, en traits discontinus, la face transversale arrière 28 de la lentille 18.
On a représenté aussi l'actionneur de commande du cache 24, ici sous la forme d'un moteur électrique 30. Bien entendu, d'autres types d'actionneurs de commande pourraient être utilisés, par exemple des actionneurs à électroaimants tels que ceux qui sont utilisés pour le pivotement des caches dans le document FR-A-2.796.449 auquel on pourra se reporter pour plus de détails.
Sur les Figures 1 et 2, le premier cache 24 est représenté en position d'occultation Po et le deuxième cache 26 est représenté en position escamotée Pe.
Dans le mode de réalisation représenté ici, chaque cache 24, 26 a globalement la forme d'une plaque rectangulaire qui, dans la position d'occultation Po, s'étend dans un plan transversal et vertical, et qui, dans la position escamotée Pe, s'étend dans un plan sensiblement horizontal.
Avantageusement, les plaques rectangulaires formant les caches 24, 26 ont des dimensions importantes ce qui favorise leur capacité d'évacuation de la chaleur et ce qui leur permet d'être peu sensibles aux contraintes thermiques à l'intérieur du projecteur 10.
On décrira maintenant le premier cache 24 lorsqu'il occupe sa position d'occultation Po.
Le premier cache 24 est en forme de plaque et il comporte deux bords 34, 36 sensiblement transversaux et deux bords latéraux 38, 40 sensiblement verticaux qui confèrent à la plaque une forme globalement rectangulaire.
L'axe géométrique de pivotement B-B du premier cache 24 est agencé ici le long du bord transversal inférieur, ou bord transversal de pivotement 34.
Pour son montage à pivotement, le premier cache 24 comporte à chacune des extrémités du bord transversal de pivotement un tronçon d'arbre 42, 44 qui, d'un côté, est monté libre à rotation dans un palier 43 et de l'autre côté est solidaire à rotation de l'arbre d'entraínement de l'actionneur 30.
Le bord transversal 36 opposé au bord transversal de pivotement 34 forme le bord de coupure du cache 24, c'est à dire qu'il délimite un profil de coupure pour le faisceau d'éclairage émis par le projecteur 10 lorsque le cache 24 occupe sa position d'occultation Po.
Le bord de coupure 36 du premier cache 24 est par exemple prévu pour réaliser une fonction d'éclairage en feu de croisement. Il comporte donc deux portions horizontales 44, 46 décalées verticalement, dans la position d'occultation Po, et reliées par une portion inclinée 48 de sorte que le projecteur 10 réalise un faisceau réglementaire de feu de croisement pour un sens de circulation donné.
Dans le mode de réalisation représenté ici, le deuxième cache 26 est similaire au premier cache 24 et il est représenté dans sa position escamotée Pe sur les figures 1 et 2, et en position d'occultation Po sur la Figure 3.
Le deuxième cache 26 est également en forme de plaque et il comporte deux bords sensiblement transversaux et deux bords latéraux sensiblement verticaux qui confèrent à la plaque une forme globalement rectangulaire.
Le deuxième cache 26 est monté libre à rotation autour de l'axe B-B.
Le projecteur 10 est ainsi susceptible d'émettre un faisceau de route lorsque les deux caches 24 et 26 sont en position escamotée Pe, un faisceau de croisement pour un sens de circulation donné lorsque seul le premier cache est en position d'occultation Po, et un autre faisceau à coupure lorsque les deux caches 24 et 26 sont en position d'occultation.
Cet autre faisceau de croisement peut être adapté à l'autre sens de circulation, ou les bords de coupure 36, 56 des deux caches 24, 26 peuvent être prévus pour que, lorsque les deux caches 24, 26 occupent leur position d'occultation Po, la superposition des caches 24, 26 suivant l'axe optique A-A permette de réaliser une fonction d'éclairage « AFS » supplémentaire.
On note que cette fonction d'éclairage doit comporter un faisceau d'éclairage présentant une portion occultée plus importante que dans chacune des fonctions d'éclairage associées aux deux caches 24, 26, puisque le faisceau lumineux associé à cette fonction d'éclairage supplémentaire sera occulté à la fois par le premier 24 et le deuxième 26 caches.
Cette fonction d'éclairage supplémentaire est par exemple une fonction d'éclairage par temps pluvieux ("Adverse Weather Lighting") dans laquelle l'occultation est plus importante que dans l'éclairage en faisceau de croisement.
Le bord de coupure 56 du deuxième cache 26 est par exemple prévu pour adapter le faisceau réglementaire de feu de croisement engendré par le projecteur 10 lorsque le premier cache 24 est en position d'occultation Po à l'autre sens de circulation.
Dans ce but, le bord de coupure 56 est plat, et, lorsque le deuxième cache 26 est en position d'occultation Po, comme on l'a représenté sur la Figure 3, contenu dans le plan horizontal contenant le bord de coupure 46 du premier cache 24.
Ainsi, lorsque le deuxième cache 26 est en position escamotée Pe, le projecteur 10 émet un faisceau de croisement pour un sens de circulation donné, et lorsque le deuxième cache 26 est en position d'occultation, le projecteur 10 émet un faisceau permettant la circulation dans l'autre sens.
On décrira maintenant le fonctionnement du projecteur 10 selon l'invention.
Lorsque l'on souhaite réaliser une faisceau réglementaire de feu de croisement, alors on commande le cache correspondant, ici le premier cache 24, en position d'occultation Po, le deuxième cache 26 restant en position escamotée Pe, ce qui correspond à la situation représentée sur la Figure 2.
Si l'on souhaite réaliser un faisceau de route, on commande le premier cache 24 pour qu'il occupe sa position escamotée Pe, le deuxième cache 26 ne bougeant pas.
Depuis la situation représentée sur la Figure 2, si l'on souhaite réaliser un autre faisceau à coupure, comme un faisceau d'éclairage pour temps pluvieux ou un faisceau adapté à la circulation dans l'autre sens, on commande alors le deuxième cache 26 pour qu'il suive les mouvements du premier cache 24.
Il sera ainsi possible d'obtenir un deuxième faisceau à coupure, tout en pouvant basculer en faisceau de route aussi souvent que le conducteur du véhicule le désirera.
On note que, comme la technique de pivotement d'un cache 24, 26 suivant un axe transversal est déjà appliquée dans des projecteurs elliptiques tels que ceux décrits dans le document FR-A-2.796.449, l'industrialisation du projecteur 10 selon l'invention est simple à mettre en oeuvre. Cette technique de pivotement des caches 24, 26 permet aussi d'obtenir un projecteur 10 fiable et économique.
On a représenté sur les Figures 4A à 7B un premier mode de réalisation de l'invention, les Figures d'indice A étant des vues latérales, et les Figures d'indice B étant des vues en coupe selon un plan vertical passant par l'axe A-A. On voit sur ces Figures que le deuxième cache 26 est soumis à l'action d'un ressort 60, dont une extrémité est prisonnière de la platine de support intermédiaire 27, et dont l'autre extrémité sollicite le deuxième cache 26 vers l'arrière, dans sa position d'occultation Po. On pourra réaliser le ressort 60 en forme d'épingle, les branches étant fixées sur la platine 27 et le deuxième cache 26, une boucle du ressort 60 entourant l'axe B-B.
Le deuxième cache 26 est par ailleurs solidaire d'un téton 62, s'étendant parallèlement à l'axe B-B. Le projecteur 10 est de plus équipé d'une tirette 64, s'étendant parallèlement à l'axe A-A du projecteur, et susceptible d'occuper par translation selon une direction parallèle à l'axe A-A deux positions extrêmes avant et arrière. La tirette 64 porte à son extrémité avant une palette 66, dans laquelle est formée une lumière, comportant une partie rectiligne 68, verticale, et une partie circulaire 70, communiquant avec l'extrémité supérieure de la partie rectiligne 68. Le téton 62 est susceptible de coulisser dans la lumière 68-70.
Lorsque la tirette 64 est dans sa position extrême avant, le téton 62 est reçu dans la lumière rectiligne 68, à l'extrémité inférieure de celle-ci. Dans cette position, le deuxième cache 62 est immobilisé en position escamotée Pe. Le premier cache 24 est quant à lui toujours susceptible d'être déplacé par l'actionneur 30, entre une position où le projecteur 10 engendre un faisceau avec une première coupure, comme sur les Figures 4A et 4B, et une position où il engendre un faisceau de route, comme sur les Figures 5A et 5B.
Lorsque la tirette 64 est amenée dans sa position extrême arrière, ainsi qu'on l'a représenté en traits pleins sur la Figure 6A, sous l'action du ressort 60, le deuxième cache 26 vient occuper sa position d'occultation Po, et le téton 62 se déplace dans la lumière 68 pour venir occuper l'extrémité supérieure de cette lumière 68. Les deux caches 24 et 26 sont alors dans leur position d'occultation Po, comme on l'a représenté sur le Figures 3, 5A et 5B.
Dans cette position, la partie circulaire de la lumière 70 est centrée sur l'axe B de rotation des deux caches 24 et 26. Il en résulte que lorsque le premier cache 24 est mis en mouvement par l'actionneur 30, le deuxième cache 26 effectuera les mêmes mouvements que le premier, en restant sollicité en permanence par le ressort 60. Le projecteur 10 peut donc émettre un faisceau avec une deuxième coupure, dans la position représentée sur les Figures 6A et 6B, ou un faisceau de route, dans la position représentée sur les Figures 7A et 7B.
Lorsque la tirette 64 est ramenée dans sa position extrême avant, le deuxième cache 26 est repoussé dans sa position escamotée Pe, et le projecteur 10 se retrouve dans la configuration des Figures 4A à 5B.
On a représenté sur les Figures 8 à 12B un deuxième mode de réalisation de l'invention, les Figures d'indice A étant des vues latérales, et les Figures d'indice B étant des vues en coupe selon un plan vertical passant par l'axe A-A. On voit sur ces Figures que le deuxième cache 26 est là encore soumis à l'action d'un ressort 72, dont une extrémité est prisonnière de la platine de support intermédiaire 27, et dont l'autre extrémité sollicite le deuxième cache 26.
Selon ce deuxième mode de réalisation, le ressort 72 sollicite le deuxième cache 26 vers l'avant, dans sa position escamotée Pe, en butée sur une partie fixe de la platine de support 27. On pourra comme dans le mode de réalisation précédent réaliser le ressort 72 en forme d'épingle, les branches étant fixées sur la platine 27 et le deuxième cache 26, une boucle du ressort 72 entourant l'axe B-B.
Le projecteur 10 comporte un aimant 80, susceptible d'être déplacé d'une position de repos R à une position de travail T. Dans la position de repos R, l'aimant 80 est maintenu écarté des caches 24 et 26, et dans la position de travail T, il est solidaire du premier cache 24.
Dans sa position de repos, le deuxième cache 26 est maintenu dans sa position escamotée Pe sous l'action du ressort 72, comme on l'a représenté sur les Figures 8, 9A et 9B, de sorte que le projecteur 10 peut émettre un faisceau avec une première coupure, ou un faisceau de route, comme on l'a représenté sur les Figures 10A et 10B. Lorsque le mouvement du premier cache 24 est commandé, celui-ci est placé dans sa position escamotée Pe, comme on l'a représenté sur les Figures 10A et 10B, de sorte que le projecteur 10 peut émettre un faisceau de route.
Lorsque l'aimant 80 est déplacé dans sa position de travail T, il est rendu solidaire du premier cache 24, par exemple par clipsage. Dans cette position, lorsque le premier cache 24 est commandé dans sa position escamotée Pe, l'aimant 80 a pour effet d'attirer le deuxième cache 26, et de le rendre solidaire du premier cache 24.
Lorsque le premier cache 24 est commandé pour venir dans sa position d'occultation Po, il entraíne alors avec lui le deuxième cache 26, la force exercée par l'aimant 80 étant supérieure à celle qui est exercée par le ressort 80, comme on l'a représenté sur les Figures 11A et 11B. Le projecteur 10 émet alors un faisceau avec une deuxième coupure.
Lorsque le premier cache 24 est commandé pour venir dans sa position escamotée Pe, il entraíne alors avec lui le deuxième cache 26. la force exercée par l'aimant 80 étant supérieure à celle qui est exercée par le ressort 80, comme on l'a représenté sur les Figures 12A et 12B. Le projecteur 10 émet alors un faisceau de route, sans coupure.
On a donc bien réalisé projecteur équipé de caches mobiles capable d'engendrer différents faisceaux d'éclairages, par exemple deux faisceaux possédant des coupures différentes et un faisceau sans coupure, de manière particulièrement simple, fiable et économique.
La présente invention n'est pas limitée aux modes de réalisation qui ont été décrits, mais elle est susceptible de recevoir de nombreuses modifications qui rentrent dans son cadre. C'est ainsi par exemple qu'à la place d'un aimant mobile, on pourra avantageusement utiliser un électroaimant, fixé sur le premier cache. Lorsque cet électroaimant n'est pas excité, tout se passe comme si l'aimant 80 était dans sa position de repos R. Par contre, lorsque cet électroaimant est excité, tout se passe comme si l'aimant 80 était dans sa position de travail T.

Claims (9)

  1. Projecteur (10) pour véhicule automobile, comprenant une source lumineuse (16), un réflecteur (14) du type elliptique dont un premier foyer est situé au voisinage de la source (16), une lentille convergente (18) dont un plan focal passe au voisinage d'un second foyer du réflecteur (14), un premier (24) et un deuxième (26) caches qui sont intercalés axialement, suivant l'axe optique (A-A) du projecteur (10), entre le réflecteur (14) et la lentille (18), du type dans lequel le premier cache (24) est monté pivotant autour d'un axe (B-B) sensiblement transversal entre deux positions extrêmes, caractérisé en ce que le second cache (26) est monté à pivotement autour du même axe de pivotement (B-B), le second cache (26) étant monté libre à rotation autour de l'axe de pivotement (B-B) et n'étant soumis qu'à l'action d'un ressort (60, 72) et d'un élément de verrouillage (64, 66 ; 80).
  2. Projecteur selon la revendication 1, caractérisé en ce que le premier cache (24) délimite, lorsqu'il est en position d'occultation (Po), un premier profil de coupure pour le faisceau d'éclairage émis par le projecteur (10), en ce que le second cache (26) délimite avec le premier cache (24), lorsqu'ils sont en position d'occultation (Po), un second profil de coupure pour le faisceau d'éclairage émis par le projecteur (10), et en ce que, lorsque les deux caches sont en position escamotée (Pe), le projecteur (10) émet un faisceau sans coupure.
  3. Projecteur selon la revendication 1, caractérisé en ce que le ressort (60) sollicite le second cache (26) vers l'arrière.
  4. Projecteur selon la revendication 1, caractérisé en ce l'élément de verrouillage (64, 66) est mobile entre deux positions extrêmes et il est constitué par une palette (66) comportant une lumière (68, 70) dans laquelle est reçu un téton (62) solidaire du second cache (26).
  5. Projecteur selon la revendication 1, caractérisé en ce que, dans une première position extrême de l'élément de verrouillage (64, 66), le second cache (26) est immobilisé dans une position escamotée (Pe), et en ce que, dans la deuxième position extrême de l'élément de verrouillage (64, 66), le second cache (26) est sollicité par le ressort en appui sur le premier cache (24).
  6. Projecteur selon la revendication 1, caractérisé en ce que le ressort (72) sollicite le second cache (26) vers l'avant.
  7. Projecteur selon la revendication 1, caractérisé en ce que l'élément de verrouillage (80) est constitué par un moyen de solidarisation (80) du second cache (26) avec le premier cache (24).
  8. Projecteur selon la revendication 7, caractérisé en ce que le moyen de solidarisation (80) est un aimant (80), déplaçable entre une position de repos (R) dans laquelle le second cache est maintenu en position escamotée (Pe) par le ressort (72), et une position de travail (T) dans laquelle il est maintenu par le premier cache (24) et maintient le second cache (26) en contact avec le premier (24).
  9. Projecteur selon la revendication 1, caractérisé en ce que le moyen de solidarisation (80) est un électroaimant fixé sur le premier cache (24).
EP03292836A 2002-11-21 2003-11-14 Projecteur elliptique pour véhicule automobile émettant des faisceaux d'éclairage différents Withdrawn EP1422472A3 (fr)

Applications Claiming Priority (2)

Application Number Priority Date Filing Date Title
FR0214776 2002-11-21
FR0214776A FR2847657B1 (fr) 2002-11-21 2002-11-21 Projecteur elliptique pour vehicule automobile emettant des faisceaux d'eclairage differents

Publications (2)

Publication Number Publication Date
EP1422472A2 true EP1422472A2 (fr) 2004-05-26
EP1422472A3 EP1422472A3 (fr) 2007-06-27

Family

ID=32187815

Family Applications (1)

Application Number Title Priority Date Filing Date
EP03292836A Withdrawn EP1422472A3 (fr) 2002-11-21 2003-11-14 Projecteur elliptique pour véhicule automobile émettant des faisceaux d'éclairage différents

Country Status (2)

Country Link
EP (1) EP1422472A3 (fr)
FR (1) FR2847657B1 (fr)

Cited By (14)

* Cited by examiner, † Cited by third party
Publication number Priority date Publication date Assignee Title
EP1726875A1 (fr) 2005-05-27 2006-11-29 Valeo Vision Module optique pour dispositif d'éclairage automobile
EP1746340A2 (fr) 2005-07-21 2007-01-24 Valeo Vision Module optique pour dispositif d'éclairage automobile
FR2898403A1 (fr) 2006-03-07 2007-09-14 Valeo Vision Sa Lentille pour module optique de dispositif d'eclairage pour vehicule automobile
EP2028414A1 (fr) * 2007-08-22 2009-02-25 Koito Manufacturing Co., Ltd Phare de véhicule
EP2090821A1 (fr) * 2008-02-14 2009-08-19 Valeo Vision Module elliptique pour véhicule automobile
US7583451B2 (en) 2005-03-22 2009-09-01 Valeo Vision Lens for an optical module of a lighting apparatus for a motor vehicle
WO2009040710A3 (fr) * 2007-09-25 2009-09-24 Philips Intellectual Property & Standards Gmbh Système d'éclairage pour un véhicule à moteur
JP2010040459A (ja) * 2008-08-07 2010-02-18 Koito Mfg Co Ltd 車両用前照灯装置
EP2098775A3 (fr) * 2008-03-05 2010-06-09 Koito Manufacturing Co., Ltd. Projecteur de véhicule automobile
EP2405190A1 (fr) * 2010-07-09 2012-01-11 Koito Manufacturing Co., Ltd. Phare de véhicule
EP2405191A1 (fr) * 2010-07-08 2012-01-11 Koito Manufacturing Co., Ltd. Unité électroluminescente et phare de véhicule
EP2339229A3 (fr) * 2009-12-24 2012-09-12 Koito Manufacturing Co., Ltd Dispositif projecteur pour véhicule automobile
US8459849B2 (en) 2009-04-24 2013-06-11 Valeo Vision Optical device for a motor vehicle
CN114353014A (zh) * 2022-01-14 2022-04-15 浙江友德电子科技有限公司 一种方便调节的远近光一体式车灯

Family Cites Families (7)

* Cited by examiner, † Cited by third party
Publication number Priority date Publication date Assignee Title
JP2765643B2 (ja) * 1992-06-03 1998-06-18 株式会社小糸製作所 投射型自動車用ヘッドランプ
DE19501173A1 (de) * 1995-01-17 1996-07-18 Bosch Gmbh Robert Scheinwerfer für Fahrzeuge
FR2769071B1 (fr) * 1997-09-26 1999-12-03 Valeo Vision Projecteur de type elliptique a faisceau variable, notamment pour vehicule automobile
IT1307677B1 (it) * 1999-02-08 2001-11-14 Magneti Marelli Spa Proiettore per autoveicoli
JP4209996B2 (ja) * 1999-04-16 2009-01-14 スタンレー電気株式会社 プロジェクタ型車両用灯具
FR2809802B1 (fr) * 2000-05-31 2002-09-06 Valeo Vision Projecteur pour vehicule automobile a ecran mobile et organe d'actionnement
FR2831497B1 (fr) * 2001-10-30 2004-07-09 Valeo Vision Dispositif d'eclairage de type elliptique pour vehicule automobile

Cited By (21)

* Cited by examiner, † Cited by third party
Publication number Priority date Publication date Assignee Title
US7583451B2 (en) 2005-03-22 2009-09-01 Valeo Vision Lens for an optical module of a lighting apparatus for a motor vehicle
FR2886376A1 (fr) 2005-05-27 2006-12-01 Valeo Vision Sa Module optique pour dispositif d'eclairage automobile
EP1726875A1 (fr) 2005-05-27 2006-11-29 Valeo Vision Module optique pour dispositif d'éclairage automobile
EP1746340A2 (fr) 2005-07-21 2007-01-24 Valeo Vision Module optique pour dispositif d'éclairage automobile
FR2888916A1 (fr) 2005-07-21 2007-01-26 Valeo Vision Sa Module optique pour dispositif d'eclairage automobile
EP1746340B1 (fr) * 2005-07-21 2009-07-29 Valeo Vision Module optique pour dispositif d'éclairage automobile
US7722233B2 (en) 2005-07-21 2010-05-25 Valeo Vision Optical module for a motor vehicle lighting device
FR2898403A1 (fr) 2006-03-07 2007-09-14 Valeo Vision Sa Lentille pour module optique de dispositif d'eclairage pour vehicule automobile
EP2028414A1 (fr) * 2007-08-22 2009-02-25 Koito Manufacturing Co., Ltd Phare de véhicule
WO2009040710A3 (fr) * 2007-09-25 2009-09-24 Philips Intellectual Property & Standards Gmbh Système d'éclairage pour un véhicule à moteur
FR2927689A1 (fr) * 2008-02-14 2009-08-21 Valeo Vision Sa Module elliptique pour vehicule automobile
EP2090821A1 (fr) * 2008-02-14 2009-08-19 Valeo Vision Module elliptique pour véhicule automobile
EP2098775A3 (fr) * 2008-03-05 2010-06-09 Koito Manufacturing Co., Ltd. Projecteur de véhicule automobile
JP2010040459A (ja) * 2008-08-07 2010-02-18 Koito Mfg Co Ltd 車両用前照灯装置
EP2154426A3 (fr) * 2008-08-07 2010-06-16 Koito Manufacturing Co., Ltd. Appareil d'éclairage pour véhicule automobile
US8459849B2 (en) 2009-04-24 2013-06-11 Valeo Vision Optical device for a motor vehicle
EP2339229A3 (fr) * 2009-12-24 2012-09-12 Koito Manufacturing Co., Ltd Dispositif projecteur pour véhicule automobile
EP2405191A1 (fr) * 2010-07-08 2012-01-11 Koito Manufacturing Co., Ltd. Unité électroluminescente et phare de véhicule
EP2405190A1 (fr) * 2010-07-09 2012-01-11 Koito Manufacturing Co., Ltd. Phare de véhicule
CN114353014A (zh) * 2022-01-14 2022-04-15 浙江友德电子科技有限公司 一种方便调节的远近光一体式车灯
CN114353014B (zh) * 2022-01-14 2024-02-09 浙江友德电子科技有限公司 一种方便调节的远近光一体式车灯

Also Published As

Publication number Publication date
FR2847657B1 (fr) 2005-03-04
EP1422472A3 (fr) 2007-06-27
FR2847657A1 (fr) 2004-05-28

Similar Documents

Publication Publication Date Title
EP1279893B1 (fr) Projecteur elliptique équipé de caches à axes de pivotement tranversaux
EP1308669A1 (fr) Dispositif d'éclairage de type elliptique pour véhicule automobile
EP1422472A2 (fr) Projecteur elliptique pour véhicule automobile émettant des faisceaux d'éclairage différents
EP1197387A1 (fr) Projecteur pour véhicule automobile à écran d'occultation mobile
EP2006605A1 (fr) Module optique pour dispositif d'éclairage automobile
EP1422471A2 (fr) Projecteur elliptique pour véhicule automobile émettant des faisceaux d'éclairage différents
EP0791780B1 (fr) Projecteur de vehicule automobile, comportant une source lumineuse unique et susceptible d'emettre un faisceau de croisement et un faisceau de route
EP1068990A1 (fr) Projecteur pour véhicule automobile avec un cache à multipositions
FR2796448A1 (fr) Projecteur pour vehicule automobile avec un cache a multipositions
EP1455133A1 (fr) Projecteur pour véhicule automobile comportant un cache mobile équipé de moyens de verrouillage
EP1069373B1 (fr) Projecteur pour véhicule automobile avec un double cache mobile
FR2881207A1 (fr) Module optique pour dispositif d'eclairage pour vehicule automobile, prevu pour donner au moins un faisceau principal a coupure
EP1139017B1 (fr) Projecteur pour véhicule automobile émettant des faisceaux de profils différents
FR2917813A1 (fr) Projecteur pour vehicule automobile
EP1596127B1 (fr) Assemblage d'un ressort de torsion entre deux pièces d'un dispositif d'eclairage de véhicule automobile
EP1764550B1 (fr) Projecteur comportant un cache commandé entre deux modes d'utilisation au moyen d'une butée escamotable.
EP1764549A1 (fr) Projecteur pour véhicule automobile équipé d'un cache a multi-positions
EP0982535B1 (fr) Projecteur du type elliptique à cache basculant pour véhicule automobile
FR2790059A1 (fr) Installation de projecteur de vehicule automobile pour les feux de croisement et les feux de route
EP2090821B1 (fr) Module elliptique pour véhicule automobile
EP4422922B1 (fr) Dispositif d'éclairage pour un projecteur d'un véhicule
EP1288563A1 (fr) Dispositif d'éclairage réalisant un faisceau d'éclairage pour la circulation par temps pluvieux
EP1764551B1 (fr) Projecteur elliptique équipé d'un jeu de caches à multi-positions
EP0978684A1 (fr) Projecteur du type elliptique comportant un cache basculant
FR2845330A1 (fr) Dispositif d'eclairage et/ou de signalisation du type projecteur pour vehicule automobile

Legal Events

Date Code Title Description
PUAI Public reference made under article 153(3) epc to a published international application that has entered the european phase

Free format text: ORIGINAL CODE: 0009012

AK Designated contracting states

Kind code of ref document: A2

Designated state(s): AT BE BG CH CY CZ DE DK EE ES FI FR GB GR HU IE IT LI LU MC NL PT RO SE SI SK TR

AX Request for extension of the european patent

Extension state: AL LT LV MK

PUAL Search report despatched

Free format text: ORIGINAL CODE: 0009013

AK Designated contracting states

Kind code of ref document: A3

Designated state(s): AT BE BG CH CY CZ DE DK EE ES FI FR GB GR HU IE IT LI LU MC NL PT RO SE SI SK TR

AX Request for extension of the european patent

Extension state: AL LT LV MK

17P Request for examination filed

Effective date: 20071114

AKX Designation fees paid

Designated state(s): AT BE BG CH CY CZ DE DK EE ES FI FR GB GR HU IE IT LI LU MC NL PT RO SE SI SK TR

GRAP Despatch of communication of intention to grant a patent

Free format text: ORIGINAL CODE: EPIDOSNIGR1

STAA Information on the status of an ep patent application or granted ep patent

Free format text: STATUS: THE APPLICATION IS DEEMED TO BE WITHDRAWN

18D Application deemed to be withdrawn

Effective date: 20080819