EP1362718A2 - Lagerverbindung zwischen einem Blattfederende und einem Achslenker, insbesondere eines Doppelachsaggregats eines Lastkraftwagens - Google Patents

Lagerverbindung zwischen einem Blattfederende und einem Achslenker, insbesondere eines Doppelachsaggregats eines Lastkraftwagens Download PDF

Info

Publication number
EP1362718A2
EP1362718A2 EP03010002A EP03010002A EP1362718A2 EP 1362718 A2 EP1362718 A2 EP 1362718A2 EP 03010002 A EP03010002 A EP 03010002A EP 03010002 A EP03010002 A EP 03010002A EP 1362718 A2 EP1362718 A2 EP 1362718A2
Authority
EP
European Patent Office
Prior art keywords
metal plate
rubber body
axle
bearing connection
connection according
Prior art date
Legal status (The legal status is an assumption and is not a legal conclusion. Google has not performed a legal analysis and makes no representation as to the accuracy of the status listed.)
Granted
Application number
EP03010002A
Other languages
English (en)
French (fr)
Other versions
EP1362718B1 (de
EP1362718A3 (de
Inventor
Bernd Zawadzki
Jörg Mursinsky
Josef Stummer
Lothar Bulheller
Current Assignee (The listed assignees may be inaccurate. Google has not performed a legal analysis and makes no representation or warranty as to the accuracy of the list.)
Joern Elza GmbH
Original Assignee
Joern Elza GmbH
Priority date (The priority date is an assumption and is not a legal conclusion. Google has not performed a legal analysis and makes no representation as to the accuracy of the date listed.)
Filing date
Publication date
Application filed by Joern Elza GmbH filed Critical Joern Elza GmbH
Publication of EP1362718A2 publication Critical patent/EP1362718A2/de
Publication of EP1362718A3 publication Critical patent/EP1362718A3/de
Application granted granted Critical
Publication of EP1362718B1 publication Critical patent/EP1362718B1/de
Anticipated expiration legal-status Critical
Expired - Lifetime legal-status Critical Current

Links

Images

Classifications

    • BPERFORMING OPERATIONS; TRANSPORTING
    • B60VEHICLES IN GENERAL
    • B60GVEHICLE SUSPENSION ARRANGEMENTS
    • B60G11/00Resilient suspensions characterised by arrangement, location or kind of springs
    • B60G11/32Resilient suspensions characterised by arrangement, location or kind of springs having springs of different kinds
    • B60G11/34Resilient suspensions characterised by arrangement, location or kind of springs having springs of different kinds including leaf springs
    • B60G11/38Resilient suspensions characterised by arrangement, location or kind of springs having springs of different kinds including leaf springs and also rubber springs
    • B60G11/40Resilient suspensions characterised by arrangement, location or kind of springs having springs of different kinds including leaf springs and also rubber springs the rubber springs being attached to the axle
    • BPERFORMING OPERATIONS; TRANSPORTING
    • B60VEHICLES IN GENERAL
    • B60GVEHICLE SUSPENSION ARRANGEMENTS
    • B60G11/00Resilient suspensions characterised by arrangement, location or kind of springs
    • B60G11/02Resilient suspensions characterised by arrangement, location or kind of springs having leaf springs only
    • B60G11/10Resilient suspensions characterised by arrangement, location or kind of springs having leaf springs only characterised by means specially adapted for attaching the spring to axle or sprung part of the vehicle
    • BPERFORMING OPERATIONS; TRANSPORTING
    • B60VEHICLES IN GENERAL
    • B60GVEHICLE SUSPENSION ARRANGEMENTS
    • B60G2202/00Indexing codes relating to the type of spring, damper or actuator
    • B60G2202/10Type of spring
    • B60G2202/11Leaf spring
    • BPERFORMING OPERATIONS; TRANSPORTING
    • B60VEHICLES IN GENERAL
    • B60GVEHICLE SUSPENSION ARRANGEMENTS
    • B60G2202/00Indexing codes relating to the type of spring, damper or actuator
    • B60G2202/10Type of spring
    • B60G2202/14Plastic spring, e.g. rubber
    • BPERFORMING OPERATIONS; TRANSPORTING
    • B60VEHICLES IN GENERAL
    • B60GVEHICLE SUSPENSION ARRANGEMENTS
    • B60G2204/00Indexing codes related to suspensions per se or to auxiliary parts
    • B60G2204/10Mounting of suspension elements
    • B60G2204/12Mounting of springs or dampers
    • B60G2204/125Mounting of rubber type springs

Definitions

  • the invention relates to a bearing connection between a leaf spring end and an axle bearing, in particular a double-axle unit of a truck according to the preamble of claim 1.
  • a known bearing connection between a leaf spring end and one Axle bearing of a double unit of a truck includes a spring saddle, which consists of a stable lower metal plate and a stable upper metal plate with a vulcanized in between Rubber body and one vulcanized on the upper metal plate upper rubber layer.
  • the lower metal plate is at the top arranged and fastened the axle bearing.
  • On the on the top metal plate vulcanized upper rubber layer is the leaf spring end with his Bottom on.
  • the rubber body is cuboid here and can be vulcanized Intermediate sheets can be divided into layers.
  • the metal plates, especially on the adhesive surface for the rubber body and possibly the Intermediate sheets shaped in a circular arc or approximately circular arc be that the associated center of the circle in a rotating pole of the relative movement lies between the axis and the leaf spring.
  • the cuboid shape of the rubber body means there are no additional measures at maximum loads there is a risk that the rubber body buckles and thus the spring saddle is damaged and destroyed. Therefore are here in the direction of travel and possibly transverse to the direction of travel in the horizontal direction as well also provided stops acting in the vertical direction, which by laterally protruding projections of the upper and lower metal plate are formed are. These attacks lead to complex designs of the Metal plates. In addition, the extreme position takes place in the active position Attacks an unfavorable metal-to-metal investment connection with relative high noise level and fast wear.
  • the object of the invention is a generic bearing connection between a leaf spring end and an axle bearing with regard to the spring saddle to further develop that the attacks according to the prior art can be dispensed with are.
  • the rubber body has a trapezoidal shape when viewed in the axial direction Form and seen in the vehicle longitudinal direction essentially rectangular shape. With horizontal deformations taking place under load this trapezoidal formation of the rubber body offers an optimal Support so that there is no buckling of the spring saddle or the rubber body can take place and therefore not the attacks described above required are. This makes the construction of the spring saddle easier overall and less expensive with further advantages in terms of reduced noise and reduced wear at maximum loads.
  • the Rubber body symmetrical, the trapezoidal shape isosceles is carried out with an angle of attack in a range of about 65 ° to 75 °, preferably 70 °.
  • the rubber body should be seen in the vehicle's longitudinal direction deviate slightly from a rectangular shape and with a trapezoidal shape form an angle of attack of about 85 ° to 89 °, preferably 87 °.
  • leaf spring ends In order to are in the usual circumstances and loads, such as in connection with double-axle units on trucks there are optimal supports achieved by leaf spring ends.
  • the upper metal plate protrudes with the vulcanized rubber layer on both sides in the vehicle's longitudinal direction with metal plate end areas, these down are slightly kinked. Due to this kink, the relatively thick upper Metal plate with the relatively thick, vulcanized rubber layer of the bending line follow a spring-loaded leaf spring. The one on the top metal plate Vulcanized, relatively thick rubber layer transfers the pressure of the leaf spring ends on the upper metal plate, which in turn optimized an Distribution of tension in the rubber body with its trapezoidal shape.
  • the upper, relatively thick rubber layer also serves to decouple small ones Vibrations and noises between leaf spring and axle. Also find no relative movements between the leaf spring end and this rubber layer instead, since movements in all three spatial directions are molecular in the Rubber layer are added, so that advantageously no friction here and so there is no abrasion and no wear. For molecular imaging Minor movements in this rubber layer is in its rubber layer height to be dimensioned accordingly thick.
  • the rubber layer shapes approach in Axis direction seen a radius contour, so that one around a rotating pole caused circular movement through the intermediate plates and metal plates limited rubber layers in the edge area are relieved in comparison compared to intermediate plates or flat rubber layers.
  • there are three Intermediate plates are provided, which are arranged in the rubber body that four horizontal layers are formed, which are in thickness from top to bottom increase.
  • an upward-facing recess may be contained in the rubber body taken with its lower area and vulcanized with the underside is. Strong material thicknesses are on the lower metal plate for fastenings especially in the edge and corner areas surrounding the rubber body required.
  • the lower metal plate made in two parts with a top plate part and bottom plate part be, wherein the rubber body is vulcanized onto the top plate part.
  • the Subplate part contains an upward-facing recess into which the Upper plate is inserted and screwed to the lower plate part.
  • the lower metal plate as Forged part to be rectangular, being the lower surface of the rubber body overhanged on all sides with an overhang.
  • the four corners of the Metal plate especially in the area of the edge overhang, can face down pointing projections in which threaded holes from below are attached for screwing in fastening screws.
  • axle bearing is designed in the manner of a clamp where the lower metal plate of the spring saddle forms the upper bracket part, which with clamping screws screwed into the threaded holes braced against a lower longitudinal member supporting the axle from below is.
  • the lower metal plate has a dual function as part the spring saddle on which the rubber body is vulcanized and also as a clamp part for an axle bracket.
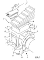
  • Figure 1 is a bearing connection 1 between a multi-layer leaf spring end 2 and an axle bearing 3 of a double-axle unit 4 of a truck shown.
  • the bearing connection 1 consists of a spring saddle 5, which an upper metal plate 6 and a lower metal plate 7 includes one vulcanized rubber body in between 8. On the upper metal plate also vulcanized an upper rubber layer 8.
  • the lower metal plate 7 is designed as a forged part rectangular and towered over the lower surface of the rubber body 8 on all sides with an edge projection 9. In the four corners of the lower metal plate 7 are downward extensions 10 integrally formed, in which threaded holes 11 are attached from below are.
  • the axle bearing for the axle area 12 is designed in the manner of a clamp, in which the lower metal plate 7 of the spring saddle 5, the upper bracket part forms, which is screwed into the threaded bores 11 Tensioning screws 13 against a supporting the axis area 12 from below Longitudinal lower member 14 is clamped in the manner of a bearing block.
  • the Rubber body 15 isosceles trapezoidal shape with an angle of attack 16 of approx. 70 °.
  • the rubber body 15 In the rubber body 15 are approximately three intermediate sheets 17 vulcanized, the rubber body 15 in four approximately the same divide strong rubber horizontal layers 18, which, however, from the top increase in thickness below.
  • the intermediate plates are flat and are also with end regions 19 in the direction of travel over the rubber body 15 in front.
  • the upper, relatively thick metal plate 6 with the vulcanized also relatively thick Rubber layer 8 projects above the upper area of rubber body 15 with metal plate end areas 19 on both sides, these slightly bent downwards are and thus a bend line of the leaf spring end when compressed follow leaf spring.
  • Rubber layer 8 projects above the upper area of rubber body 15 with metal plate end areas 19 on both sides, these slightly bent downwards are and thus a bend line of the leaf spring end when compressed follow leaf spring.
  • Fig. 3 is a side view of the spring saddle 5 in the vehicle longitudinal direction seen with the lower metal plate 7 the rubber body 15 of the upper metal plate 6 and the upper rubber layer 8.
  • the rubber body 15 is in this view almost rectangular with a slight trapezoidal shape with an angle of attack 21 of approx. 87 °.
  • the intermediate plate end areas 22 also protrude laterally from the rubber body 15 in this view.
  • the central longitudinal plane 23 can be covered due to special installation conditions on the lower metal plate 7, as shown opposite the central longitudinal plane of the rubber body 15 are offset.
  • Fig. 4 is a side view seen in the axial direction of a slightly modified Embodiment of a spring saddle 5 shown, in all essentials Features constructed according to the spring saddle from Figures 2 and 3 is.
  • the lower metal plate 7 has an upwardly facing recess 24 as in a partial section shown.
  • this recess is the lower area or the lowest rubber horizontal layer 18 of the rubber body 15 added, so that hereby a height reduction of the spring saddle 5 is possible.
  • the recess 24 surrounds the lower region of the rubber body 15 with an edge as a free space, so that the rubber body 15 laterally according to its load can move freely.
  • FIG. 5 Another modified embodiment of a spring saddle 5 is in the corresponding Side view shown in Fig. 5.
  • the rubber body is there too 15 with its lower area in a recess 24 for a total height reduction added.
  • the lower metal plate 7 is here, however executed in two parts and consists of a top plate part 25 and one Lower plate part 26.
  • the rubber body 15 is vulcanized onto the upper plate part 25.
  • the top plate part 25 is placed on the bottom plate part 26 and screwed by means of screws 27.
  • the metal plate end regions also protrude in the embodiment according to FIG. 5 19 of the upper metal plate 6 on both sides of the rubber body 15 and are there slightly bent downwards.
  • the intermediate plate end areas are also corresponding here 22 of the intermediate plates 17 slightly bent downwards, so that the shape of the rubber horizontal layers 18 an arc 28 are approximated with a radius in a rotating pole.

Landscapes

  • Engineering & Computer Science (AREA)
  • Mechanical Engineering (AREA)
  • Springs (AREA)
  • Vehicle Body Suspensions (AREA)
  • Vibration Prevention Devices (AREA)

Abstract

Die Erfindung betrifft eine Lagerverbindung (1) zwischen einem Blattfederende (2) und einem Achslenker (3), insbesondere eines Doppelachsaggregats eines Lastkraftwagens mit einem Federsattel (5), der aus einer stabilen unteren Metallplatte (7) und einer stabilen oberen Metallplatte (6) mit einem dazwischen festhaftend anvulkanisierten Gummikörper (15) und einer auf der oberen Metallplatte (6) aufvulkanisierten, oberen Gummischicht (8) besteht, wobei die untere Metallplatte (7) am oberen Bereich des Achslagers (3) angeordnet ist und auf der oberen Gummischicht (8) das Blattfederende (2) mit seiner Unterseite aufliegt. Erfindungsgemäß weist der Gummikörper (15) in Achsrichtung gesehen eine trapezförmige Form und in Fahrzeuglängsrichtung gesehen eine im wesentlichen rechteckige Form auf, wodurch bei Last eine optimale Abstützung stattfindet und ein Ausknicken unterbunden wird. <IMAGE>

Description

Die Erfindung betrifft eine Lagerverbindung zwischen einem Blattfederende und einem Achslager, insbesondere eines Doppelachsaggregats eines Lastkraftwagens nach dem Oberbegriff des Anspruchs 1.
Eine bekannte Lagerverbindung zwischen einem Blattfederende und einem Achslager eines Doppelaggregats eines Lastkraftwagens (EP 1 002 674 A2) umfasst einen Federsattel, der aus einer stabilen unteren Metallplatte und einer stabilen oberen Metallplatte mit einem dazwischen festhaftend einvulkanisierten Gummikörper und einer auf der oberen Metallplatte aufvulkanisierten oberen Gummischicht besteht. Dabei ist die untere Metallplatte am oberen Bereich des Achslagers angeordnet und befestigt. Auf der an der oberen Metallplatte aufvulkanisierten oberen Gummischicht liegt das Blattfederende mit seiner Unterseite auf.
Der Gummikörper ist hier quaderförmig ausgebildet und kann durch einvulkanisierte Zwischenbleche schichtförmig unterteilt sein. Zudem können die Metallplatten, insbesondere an der Haftfläche für den Gummikörper sowie ggf. die Zwischenbleche kreisbogenförmig oder annähernd kreisbogenförmig so geformt sein, dass der zugehörige Kreismittelpunkt in einem Drehpol der Relativbewegung zwischen Achse und Blattfeder liegt.
Durch die hier quaderförmige Gestalt des Gummikörpers besteht ohne Zusatzmaßnahmen bei Höchstbelastungen die Gefahr, dass der Gummikörper ausknickt und somit der Federsattel beschädigt und zerstört wird. Daher sind hier in Fahrtrichtung und ggf. quer zur Fahrtrichtung in Horizontalrichtung sowie auch in Vertikalrichtung wirkende Anschläge vorgesehen, welche durch sich seitlich überragende Fortsätze der oberen und unteren Metallplatte gebildet sind. Diese Anschläge führen zu konstruktiv aufwendigen Gestaltungen der Metallplatten. Zudem erfolgt bei Extrembelastungen in der Wirkstellung der Anschläge eine ungünstige Anlageverbindung von Metall zu Metall mit relativ hoher Geräuschentwicklung und schnellem Verschleiß.
Aufgabe der Erfindung ist es eine gattungsgemäße Lagerverbindung zwischen einem Blattfederende und einem Achslager hinsichtlich des Federsattels so weiterzubilden, dass die Anschläge nach dem Stand der Technik entbehrlich sind.
Diese Aufgabe wird mit den Merkmalen des Anspruchs 1 gelöst.
Gemäß Anspruch 1 weist der Gummikörper in Achsrichtung gesehen eine trapezförmige Form und in Fahrzeuglängsrichtung gesehen eine im wesentlichen rechteckige Form auf. Bei unter Last stattfindenden, horizontalen Verformungen bietet diese trapezförmige Ausbildung des Gummikörpers eine optimale Abstützung, so dass kein Ausknicken des Federsattels bzw. des Gummikörpers stattfinden kann und damit die eingangs geschilderten Anschläge nicht erforderlich sind. Damit wird der Aufbau des Federsattels insgesamt einfacher und kostengünstiger mit weiteren Vorteilen hinsichtlich einer reduzierten Geräuschentwicklung und eines reduzierten Verschleißes bei Höchstbelastungen.
In einer besonders bevorzugten Ausführungsform nach Anspruch 2 ist der Gummikörper symmetrisch ausgebildet, wobei die Trapezform gleichschenkelig ausgeführt ist mit einem Anstellwinkel in einem Bereich von etwa 65° bis 75°, vorzugsweise 70°. Der Gummikörper soll in Fahrzeuglängsrichtung gesehen von einer Rechteckform geringfügig abweichen und eine Trapezform mit einem Anstellwinkel von etwa 85° bis 89°, vorzugsweise 87° bilden. Damit werden bei üblichen Gegebenheiten und Belastungen, wie sie in Verbindung mit Doppelachsaggregaten an Lastkraftwagen auftreten optimale Abstützungen von Blattfederenden erzielt.
In einer Weiterbildung nach Anspruch 3 überragt die obere Metallplatte mit der oberen aufvulkanisierten Gummischicht den Gummikörper beidseitig in Fahrzeuglängsrichtung mit Metallplattenendbereichen, wobei diese nach unten leicht abgeknickt sind. Durch diese Abknickung kann die relativ dicke obere Metallplatte mit der relativ dicken, aufvulkanisierten Gummischicht der Biegelinie einer eingefederten, aufliegenden Blattfeder folgen. Die auf die obere Metallplatte aufvulkanisierte relativ dicke Gummischicht überträgt den Druck von den Blattfederenden auf die obere Metallplatte, die wiederum eine optimierte Spannungsverteilung in den Gummikörper mit seiner Trapezform weiterleitet.
Die obere relativ dicke Gummischicht dient weiter zur Entkopplung von kleinen Schwingungen und Geräuschen zwischen Blattfeder und Achse. Zudem finden zwischen dem Blattfederende und dieser Gummischicht keine Relativbewegungen statt, da Bewegungen in allen drei Raumrichtungen molekular in der Gummischicht aufgenommen werden, so dass vorteilhaft hier keine Reibung und damit kein Abrieb und kein Verschleiß entsteht. Für die molekulare Aufnahme kleinerer Bewegungen in dieser Gummischicht ist diese in ihrer Gummischichthöhe entsprechend dick zu dimensionieren.
Eine weitere Verbesserung hinsichtlich des Abstützverhaltens und gleichmäßiger Belastungsverteilungen im Gummikörper ergibt sich nach Anspruch 4 dadurch, dass im Gummikörper wenigstens ein im Vergleich zu der unteren und oberen Metallplatte dünneres Zwischenblech einvulkanisiert ist welches in Fahrtrichtung beidseitig mit Zwischenblechendbereichen aus dem Gummikörper vorsteht. Eine weitere Verbesserung ergibt sich zudem mit den Merkmalen des Anspruchs 5, wobei die teilweise noch im Gummikörper enthaltenen Zwischenblechendbereiche entsprechend den Metallplattenendbereichen der oberen und ggf. der unteren Metallplatte nach unten leicht abgeknickt sind. Damit folgen auch die Zwischenbleche etwa der Form der Biegelinie einer eingefederten Blattfeder. Mit anderen Worten nähern sich die Gummischichtformen in Achsrichtung gesehen einer Radius-Kontur, so dass bei einer um einen Drehpol veranlassten Kreisbewegung die durch die Zwischenbleche und Metallplatten begrenzten Gummischichten im Randbereich entlastet werden im Vergleich gegenüber eben ausgeführten Zwischenblechen bzw. ebenen Gummischichten. In einer bevorzugten Ausführungsform nach Anspruch 6 sind drei Zwischenbleche vorgesehen, die so im Gummikörper angeordnet sind, dass vier Horizontalschichten gebildet sind, welche in der Dicke von oben nach unten zunehmen.
Wenn der Bauraum im Bereich der Achslagerung begrenzt ist kann zur Verringerung der Gesamt-Bauhöhe gemäß Anspruch 7 in der unteren Metallplatte eine nach oben weisende Ausnehmung enthalten sein, in der der Gummikörper mit seinem unteren Bereich aufgenommen und mit der Unterseite anvulkanisiert ist. Starke Materialstärken sind an der unteren Metallplatte für Befestigungen insbesondere in den Gummikörper umgebenden Rand- und Eckbereichen erforderlich.
In einer weiteren Ausführungsvariante nach Anspruch 8 kann die untere Metallplatte zweiteilig mit einem Oberplattenteil und Unterplattenteil ausgeführt sein, wobei auf das Oberplattenteil der Gummikörper aufvulkanisiert ist. Das Unterplattenteil enthält eine nach oben weisende Ausnehmung, in die die Oberplatte eingesetzt und mit dem Unterplattenteil verschraubt ist. Dadurch können sich herstellungstechnische und montagetechnische Freiräume ergeben, die je nach den speziellen Einbaumöglichkeiten nutzbar sind. Insbesondere kann auch hier eine Ausführung mit relativ geringer Gesamtbauhöhe erstellt werden.
Für eine Befestigung der unteren Metallplatte und damit des Federsattels kann in an sich bekannter Weise nach Anspruch 9 die untere Metallplatte als Schmiedeteil rechteckig ausgeführt sein, wobei sie die Unterfläche des Gummikörpers allseitig mit einem Randüberstand überragt. In den vier Ecken der Metallplatte, insbesondere im Bereich des Randüberstands können nach unten weisende Fortsätze angeformt sein, in denen von unten her Gewindebohrungen zum Einschrauben von Befestigungsschrauben angebracht sind.
Eine besonders bevorzugte Anordnung und Montage ergibt sich dann nach Anspruch 10, wenn das Achslager in der Art einer Spannklammer ausgebildet ist, bei der die untere Metallplatte des Federsattels das obere Klammerteil bildet, welches mit in die Gewindebohrungen eingeschraubten Spannschrauben gegen ein die Achse von unten her abstützendes Längsträgerunterteil verspannt ist. Die untere Metallplatte hat somit hier eine Doppelfunktion als Teil des Federsattels auf welchem der Gummikörper aufvulkanisiert ist und zugleich als Spannklammerteil für eine Achshalterung.
Anhand einer Zeichnung wird die Erfindung näher erläutert.
Es zeigen:
Fig.1
eine perspektivische Ansicht einer Lagerverbindung zwischen einem Blattfederende und einem Achslager eines Doppelaggregats eines Lastkraftwagens,
Fig.2
eine Seitenansicht eines Federsattels als Drucklager in Achsrichtung gesehen,
Fig.3
den Federsattel nach Figur 2 in Fahrzeuglängsrichtung gesehen,
Fig.4
eine alternative Ausführungsform eines Federsattels und
Fig.5
eine weitere alternative Ausführungsform eines Federsattels.
In Fig.1 ist eine Lagerverbindung 1 zwischen einem mehrlagigen Blattfederende 2 und einem Achslager 3 eines Doppelachsaggregats 4 eines Lastkraftwagens gezeigt. Die Lagerverbindung 1 besteht aus einem Federsattel 5, welcher eine obere Metallplatte 6 und eine untere Metallplatte 7 umfasst mit einem dazwischen einvulkanisierten Gummikörper 8. Auf der oberen Metallplatte ist zudem eine obere Gummischicht 8 aufvulkanisiert.
Die untere Metallplatte 7 ist als Schmiedeteil rechteckig ausgeführt und überragt die Unterfläche des Gummikörpers 8 allseitig mit einem Randüberstand 9. In den vier Ecken der unteren Metallplatte 7 sind nach unten weisende Fortsätze 10 angeformt, in denen von unten her Gewindebohrungen 11 angebracht sind.
Das Achslager für den Achsbereich 12 ist in der Art einer Spannklammer ausgebildet, bei der die untere Metallplatte 7 des Federsattels 5 das obere Klammerteil bildet, welches mit in die Gewindebohrungen 11 eingeschraubten Spannschrauben 13 gegen ein den Achsbereich 12 von unten her abstützendes Längsträgerunterteil 14 in der Art eines Lagerbocks verspannt ist.
In Fig. 2 ist eine Seitenansicht des Federsattels 5 in Achsrichtung gesehen dargestellt mit der oberen Metallplatte 6 mit aufvulkanisierter oberer Gummischicht 8 und der unteren Metallplatte 7 mit den angeformten Fortsätzen 10 und dem dazwischen eingeformten Gummikörper 15. In dieser Ansicht hat der Gummikörper 15 eine gleichschenkelige Trapezform mit einem Anstellwinkel 16 von ca. 70°. Im Gummikörper 15 sind etwa horizontal verlaufende drei Zwischenbleche 17 einvulkanisiert, die den Gummikörper 15 in vier etwa gleich starke Gummihorizontalschichten 18 unterteilen, welche jedoch von oben nach unten in ihrer Dicke etwas zunehmen. Die Zwischenbleche sind hier eben und stehen zudem mit Endbereichen 19 in Fahrtrichtung über den Gummikörper 15 vor.
Die obere, relativ dicke Metallplatte 6 mit der ebenfalls relativ dicken aufvulkanisierten Gummischicht 8 überragt den oberen Bereich des Gummikörpers 15 beidseitig mit Metallplattenendbereichen 19, wobei diese nach unten leicht abgeknickt sind und somit einer Biegelinie des Blattfederendes bei eingefederter Blattfeder folgen. Um hier Belastungsspitzen im Gummikörper 15 zu vermeiden ist der Übergang zu den Metallplattenendbereichen 19 in einer Bogenform 20 ausgeführt.
In Fig. 3 ist eine Seitenansicht des Federsattels 5 in Fahrzeuglängsrichtung gesehen dargestellt mit der unteren Metallplatte 7 dem Gummikörper 15 der oberen Metallplatte 6 und der oberen Gummischicht 8. Der Gummikörper 15 ist in dieser Ansicht nahezu rechteckig ausgebildet mit einer geringförmigen Trapezform mit einem Anstellwinkel 21 von ca. 87°. Die Zwischenblechendbereiche 22 stehen auch in dieser Ansicht seitlich aus dem Gummikörper 15 vor. Aufgrund spezieller Einbaugegebenheiten kann die Mittellängsebene 23 bezogen auf die untere Metallplatte 7, wie dargestellt gegenüber der Mittellängsebene des Gummikörpers 15 versetzt liegen.
In Fig. 4 ist eine in Achsrichtung gesehene Seitenansicht einer etwas modifizierten Ausführungsform eines Federsattels 5 dargestellt, der in allen wesentlichen Merkmalen entsprechend dem Federsattel aus den Figuren 2 und 3 aufgebaut ist. Der Unterschied besteht darin, dass hier die untere Metallplatte 7 eine nach oben weisende Ausnehmung 24 aufweist wie in einem Teilschnitt gezeigt. In dieser Ausnehmung ist der untere Bereich bzw. die unterste Gummihorizontalschicht 18 des Gummikörpers 15 aufgenommen, so dass hiermit eine Bauhöhenreduzierung des Federsattels 5 möglich ist. Die Ausnehmung 24 umgibt den unteren Bereich des Gummikörpers 15 mit einem Rand als Freiraum, so dass sich der Gummikörper 15 entsprechend seiner Belastung seitlich frei bewegen kann.
Eine weitere modifizierte Ausführungsform eines Federsattels 5 ist in der entsprechenden Seitenansicht in Fig. 5 dargestellt. Auch dort ist der Gummikörper 15 mit seinem unteren Bereich in einer Ausnehmung 24 für eine Gesamthöhenreduzierung aufgenommen. Die untere Metallplatte 7 ist hier jedoch zweiteilig ausgeführt und besteht aus einem Oberplattenteil 25 und aus einem Unterplattenteil 26. Auf dem Oberplattenteil 25 ist der Gummikörper 15 aufvulkanisiert. Das Oberplattenteil 25 ist auf das Unterplattenteil 26 aufgesetzt und mittels Schrauben 27 verschraubt.
Auch in der Ausführungsform nach Fig. 5 überragen die Metallplattenendbereiche 19 der oberen Metallplatte 6 beidseitig den Gummikörper 15 und sind dort leicht nach unten abgeknickt. Zudem sind auch hier entsprechend die Zwischenblechendbereiche 22 der Zwischenbleche 17 nach unten leicht abgeknickt, so dass die Form der Gummihorizontalschichten 18 einem Kreisbogen 28 mit einem Radius in einem Drehpol angenähert sind.

Claims (10)

  1. Lagerverbindung (1) zwischen einem Blattfederende (2) und einem Achslager (3), insbesondere eines Doppelachsaggregats eines Lastkraftwagens
    mit einem Federsattel (5), der aus einer stabilen unteren Metallplatte (7) und einer stabilen oberen Metallplatte (6) mit einem dazwischen festhaftend anvulkanisierten Gummikörper (15) und einer auf der oberen Metallplatte (6) aufvulkanisierten, oberen Gummischicht (8) besteht, wobei
    die untere Metallplatte (7) am oberen Bereich des Achslagers (3) angeordnet ist und
    auf der oberen Gummischicht (8) das Blattfederende (2) mit seiner Unterseite aufliegt,
    dadurch gekennzeichnet, dass der Gummikörper (15) in Achsrichtung gesehen eine trapezförmige Form und in Fahrzeuglängsrichtung gesehen eine im wesentlichen rechteckige Form aufweist.
  2. Lagerverbindung nach Anspruch 1, dadurch gekennzeichnet, dass die in Achsrichtung gesehene Trapezform des Gummikörpers (15) gleichschenkelig ist mit einem Anstellwinkel (16) in einem Bereich von etwa 65° bis 75°, vorzugsweise 70° und der Gummikörper (15) in Fahrzeuglängsrichtung gesehen eine von einer Rechteckform geringförmig abweichende Trapezform mit einem Anstellwinkel (21) von etwa 85° bis 89°, vorzugsweise 87° aufweist.
  3. Lagerverbindung nach Anspruch 1 oder 2, dadurch gekennzeichnet, dass die obere Metallplatte (6) mit der oberen aufvulkanisierten Gummischicht (8) den Gummikörper (15) in Fahrzeuglängsrichtung beidseitig mit Metallplattenendbereichen (19) überragt und diese Metallplattenendbereiche (19) nach unten leicht abgeknickt sind.
  4. Lagerverbindung nach einem der Ansprüche 1 bis 3, dadurch gekennzeichnet, dass im Gummikörper (15) wenigstens ein im Vergleich zu der unteren und oberen Metallplatte (6, 7) dünneres Zwischenblech (17) einvulkanisiert ist, welches in Fahrtrichtung beidseitig mit Zwischenblechendbereichen (22) aus dem Gummikörper (15) vorsteht.
  5. Lagerverbindung nach Anspruch 4, dadurch gekennzeichnet, dass die Zwischenblechendbereiche (22) entsprechend den Metallplattenendbereichen (19) der oberen Metallplatte (6) nach unten leicht abgeknickt sind.
  6. Lagerverbindung nach Anspruch 4 oder 5, dadurch gekennzeichnet, dass drei Zwischenbleche (17) vorgesehen sind, die den Gummikörper in vier Gummihorizontalschichten (18) trennen, deren Dicke jeweils von oben nach unten zunimmt.
  7. Lagerverbindung nach einem der Ansprüche 1 bis 6, dadurch gekennzeichnet, dass in der unteren Metallplatte (7) eine nach oben weisende Ausnehmung (24) enthalten ist, in der der Gummikörper (15) mit seinem unteren Bereich aufgenommen und mit der Unterseite anvulkanisiert ist.
  8. Lagerverbindung nach einem der Ansprüche 1 bis 6, dadurch gekennzeichnet, dass die untere Metallplatte (7) zweiteilig mit einem Oberplattenteil (25) und Unterplattenteil (26) ausgeführt ist, indem auf das Oberplattenteil (25) der Gummikörper (15) aufvulkanisiert ist, und
    dass das Unterplattenteil (26) eine nach oben weisende Ausnehmung enthält, in die das Oberplattenteil (25) eingesetzt und mit dem Unterplattenteil (26) verschraubt ist.
  9. Lagerverbindung nach einem der Ansprüche 1 bis 8, dadurch gekennzeichnet, dass die untere Metallplatte (7) als Schmiedeteil rechteckig ausgeführt ist und die Unterfläche des Gummikörpers (15) allseitig mit einem Randüberstand (9) überragt,
    dass in den vier Ecken der unteren Metallplatte (7) nach unten weisende Fortsätze (10) angeformt sind, in denen von unten her Gewindebohrungen (11) angebracht sind.
  10. Lagerverbindung nach Anspruch 9, dadurch gekennzeichnet, dass das Achslager (3) in der Art einer Spannklammer ausgebildet ist, bei der die untere Metallplatte (7) des Federsattels (5) das obere Klammerteil (11) bildet, welches mit in die Gewindebohrungen eingeschraubten Spannschrauben (13) gegen ein die Achse (12) von unten her abstützendes Längsträgerunterteil (14) verspannt ist.
EP03010002A 2002-05-17 2003-05-02 Lagerverbindung zwischen einem Blattfederende und einem Achslenker, insbesondere eines Doppelachsaggregats eines Lastkraftwagens Expired - Lifetime EP1362718B1 (de)

Applications Claiming Priority (2)

Application Number Priority Date Filing Date Title
DE20207770U 2002-05-17
DE20207770U DE20207770U1 (de) 2002-05-17 2002-05-17 Lagerverbindung zwischen einem Blattfederende und einem Achslenker, insbesondere eines Doppelachsaggregats eines Lastkraftwagens

Publications (3)

Publication Number Publication Date
EP1362718A2 true EP1362718A2 (de) 2003-11-19
EP1362718A3 EP1362718A3 (de) 2005-03-23
EP1362718B1 EP1362718B1 (de) 2006-04-05

Family

ID=7971269

Family Applications (1)

Application Number Title Priority Date Filing Date
EP03010002A Expired - Lifetime EP1362718B1 (de) 2002-05-17 2003-05-02 Lagerverbindung zwischen einem Blattfederende und einem Achslenker, insbesondere eines Doppelachsaggregats eines Lastkraftwagens

Country Status (4)

Country Link
EP (1) EP1362718B1 (de)
AT (1) ATE322392T1 (de)
DE (2) DE20207770U1 (de)
ES (1) ES2261816T3 (de)

Cited By (2)

* Cited by examiner, † Cited by third party
Publication number Priority date Publication date Assignee Title
WO2007004949A1 (en) * 2005-06-30 2007-01-11 Volvo Lastvagnar Ab Rubber spring for a vehicle wheel axle suspension
US8540262B2 (en) 2010-02-25 2013-09-24 Man Truck & Bus Ag Commercial vehicle and device for attaching a spring element to a commercial vehicle axle

Citations (1)

* Cited by examiner, † Cited by third party
Publication number Priority date Publication date Assignee Title
EP1002674A2 (de) 1998-11-20 2000-05-24 MAN Nutzfahrzeuge Aktiengesellschaft Verbindung zwischen Blattfederenden und Achslagern eines Doppelachsaggregates eines Lastkraftwagens

Family Cites Families (5)

* Cited by examiner, † Cited by third party
Publication number Priority date Publication date Assignee Title
DE943932C (de) * 1952-10-02 1956-06-01 Opel Adam Ag Lagerung halbelliptischer Federn an Kraftfahrzeugen
DE69310779T2 (de) * 1992-02-01 1997-12-18 Mitsubishi Motors Corp Hinterradlenkeinrichtung
DE4221996C2 (de) * 1992-07-04 1996-09-12 Man Nutzfahrzeuge Ag Doppelachsaggregat bei Lastkraftwagen
JPH10138726A (ja) * 1996-11-12 1998-05-26 Hino Motors Ltd 後二軸車の後軸懸架装置
US6206407B1 (en) * 1998-12-18 2001-03-27 Freightliner Llc Vehicle suspension system

Patent Citations (1)

* Cited by examiner, † Cited by third party
Publication number Priority date Publication date Assignee Title
EP1002674A2 (de) 1998-11-20 2000-05-24 MAN Nutzfahrzeuge Aktiengesellschaft Verbindung zwischen Blattfederenden und Achslagern eines Doppelachsaggregates eines Lastkraftwagens

Cited By (2)

* Cited by examiner, † Cited by third party
Publication number Priority date Publication date Assignee Title
WO2007004949A1 (en) * 2005-06-30 2007-01-11 Volvo Lastvagnar Ab Rubber spring for a vehicle wheel axle suspension
US8540262B2 (en) 2010-02-25 2013-09-24 Man Truck & Bus Ag Commercial vehicle and device for attaching a spring element to a commercial vehicle axle

Also Published As

Publication number Publication date
ES2261816T3 (es) 2006-11-16
EP1362718B1 (de) 2006-04-05
DE50302861D1 (de) 2006-05-18
DE20207770U1 (de) 2002-08-14
ATE322392T1 (de) 2006-04-15
EP1362718A3 (de) 2005-03-23

Similar Documents

Publication Publication Date Title
DE69703496T2 (de) Lager für ein achsenaufhängungssystem
DE2360857C2 (de) Elastisches Lager, insbesondere Motorlager
DE69908714T2 (de) Schraubendruckfeder für eine Fahrzeugradaufhängung
DE69833376T2 (de) Verjüngte gebogene blattfeder für lkw-aufhängungen
DE60201263T2 (de) Reibbelag
DE3879581T2 (de) Haltevorrichtung fuer turbinentriebwerke.
EP0420882A1 (de) Schiene für schienenfahrzeuge.
EP0351678A2 (de) Tauchkolbenanordnung
EP2903838B1 (de) Lenkereinheit
DE102016206456B4 (de) Kombination, umfassend ein Gehäuse und einen Flansch, und Anordnung
DE69924942T2 (de) Blattfedergelenklager und Anordnung mit verstellbarem Führungselement
EP1586789B1 (de) Elastisches Fahrerhauslager
DE102017218796B4 (de) Achsaufhängung
EP1110010A1 (de) Luftfederanordnung
DE4040426A1 (de) Abstuetzlager
EP1002674B1 (de) Verbindung zwischen Blattfederenden und Achslagern eines Doppelachsaggregates eines Lastkraftwagens
DE102020128606A1 (de) Vorrichtung zum Lagern einer radführenden Querblattfeder eines Fahrzeuges
EP1362718A2 (de) Lagerverbindung zwischen einem Blattfederende und einem Achslenker, insbesondere eines Doppelachsaggregats eines Lastkraftwagens
DE102017215403B4 (de) Federbaugruppe
DE102023116694A1 (de) Radaufhängung für einen Kraftwagen
DE4322468A1 (de) Dämpfungselement für eine Schiene
DE19941230B4 (de) Vorrichtung zur vertikalen Abstützung von Fahrzeugblattfedern
DE102022120090B4 (de) Aggregatelager für ein Kraftfahrzeug sowie Kraftfahrzeug
EP3943360B1 (de) Luftfederanordnung und fahrwerk
DE102019005356B4 (de) Blattfeder mit Abstandhalter

Legal Events

Date Code Title Description
PUAI Public reference made under article 153(3) epc to a published international application that has entered the european phase

Free format text: ORIGINAL CODE: 0009012

AK Designated contracting states

Kind code of ref document: A2

Designated state(s): AT BE BG CH CY CZ DE DK EE ES FI FR GB GR HU IE IT LI LU MC NL PT RO SE SI SK TR

AX Request for extension of the european patent

Extension state: AL LT LV MK

PUAL Search report despatched

Free format text: ORIGINAL CODE: 0009013

AK Designated contracting states

Kind code of ref document: A3

Designated state(s): AT BE BG CH CY CZ DE DK EE ES FI FR GB GR HU IE IT LI LU MC NL PT RO SE SI SK TR

AX Request for extension of the european patent

Extension state: AL LT LV MK

17P Request for examination filed

Effective date: 20050527

GRAP Despatch of communication of intention to grant a patent

Free format text: ORIGINAL CODE: EPIDOSNIGR1

AKX Designation fees paid

Designated state(s): AT BE BG CH CY CZ DE DK EE ES FI FR GB GR HU IE IT LI LU MC NL PT RO SE SI SK TR

GRAS Grant fee paid

Free format text: ORIGINAL CODE: EPIDOSNIGR3

GRAA (expected) grant

Free format text: ORIGINAL CODE: 0009210

AK Designated contracting states

Kind code of ref document: B1

Designated state(s): AT BE BG CH CY CZ DE DK EE ES FI FR GB GR HU IE IT LI LU MC NL PT RO SE SI SK TR

PG25 Lapsed in a contracting state [announced via postgrant information from national office to epo]

Ref country code: RO

Free format text: LAPSE BECAUSE OF FAILURE TO SUBMIT A TRANSLATION OF THE DESCRIPTION OR TO PAY THE FEE WITHIN THE PRESCRIBED TIME-LIMIT

Effective date: 20060405

Ref country code: FI

Free format text: LAPSE BECAUSE OF FAILURE TO SUBMIT A TRANSLATION OF THE DESCRIPTION OR TO PAY THE FEE WITHIN THE PRESCRIBED TIME-LIMIT

Effective date: 20060405

Ref country code: SK

Free format text: LAPSE BECAUSE OF FAILURE TO SUBMIT A TRANSLATION OF THE DESCRIPTION OR TO PAY THE FEE WITHIN THE PRESCRIBED TIME-LIMIT

Effective date: 20060405

Ref country code: SI

Free format text: LAPSE BECAUSE OF FAILURE TO SUBMIT A TRANSLATION OF THE DESCRIPTION OR TO PAY THE FEE WITHIN THE PRESCRIBED TIME-LIMIT

Effective date: 20060405

Ref country code: CZ

Free format text: LAPSE BECAUSE OF FAILURE TO SUBMIT A TRANSLATION OF THE DESCRIPTION OR TO PAY THE FEE WITHIN THE PRESCRIBED TIME-LIMIT

Effective date: 20060405

Ref country code: IE

Free format text: LAPSE BECAUSE OF FAILURE TO SUBMIT A TRANSLATION OF THE DESCRIPTION OR TO PAY THE FEE WITHIN THE PRESCRIBED TIME-LIMIT

Effective date: 20060405

Ref country code: GB

Free format text: LAPSE BECAUSE OF FAILURE TO SUBMIT A TRANSLATION OF THE DESCRIPTION OR TO PAY THE FEE WITHIN THE PRESCRIBED TIME-LIMIT

Effective date: 20060405

REG Reference to a national code

Ref country code: GB

Ref legal event code: FG4D

Free format text: NOT ENGLISH

REG Reference to a national code

Ref country code: CH

Ref legal event code: EP

REG Reference to a national code

Ref country code: IE

Ref legal event code: FG4D

Free format text: LANGUAGE OF EP DOCUMENT: GERMAN

REF Corresponds to:

Ref document number: 50302861

Country of ref document: DE

Date of ref document: 20060518

Kind code of ref document: P

PG25 Lapsed in a contracting state [announced via postgrant information from national office to epo]

Ref country code: MC

Free format text: LAPSE BECAUSE OF NON-PAYMENT OF DUE FEES

Effective date: 20060531

Ref country code: BE

Free format text: LAPSE BECAUSE OF NON-PAYMENT OF DUE FEES

Effective date: 20060531

PG25 Lapsed in a contracting state [announced via postgrant information from national office to epo]

Ref country code: DK

Free format text: LAPSE BECAUSE OF FAILURE TO SUBMIT A TRANSLATION OF THE DESCRIPTION OR TO PAY THE FEE WITHIN THE PRESCRIBED TIME-LIMIT

Effective date: 20060705

REG Reference to a national code

Ref country code: SE

Ref legal event code: TRGR

PG25 Lapsed in a contracting state [announced via postgrant information from national office to epo]

Ref country code: PT

Free format text: LAPSE BECAUSE OF FAILURE TO SUBMIT A TRANSLATION OF THE DESCRIPTION OR TO PAY THE FEE WITHIN THE PRESCRIBED TIME-LIMIT

Effective date: 20060905

GBV Gb: ep patent (uk) treated as always having been void in accordance with gb section 77(7)/1977 [no translation filed]

Effective date: 20060405

ET Fr: translation filed
REG Reference to a national code

Ref country code: IE

Ref legal event code: FD4D

REG Reference to a national code

Ref country code: ES

Ref legal event code: FG2A

Ref document number: 2261816

Country of ref document: ES

Kind code of ref document: T3

PLBE No opposition filed within time limit

Free format text: ORIGINAL CODE: 0009261

STAA Information on the status of an ep patent application or granted ep patent

Free format text: STATUS: NO OPPOSITION FILED WITHIN TIME LIMIT

26N No opposition filed

Effective date: 20070108

BERE Be: lapsed

Owner name: JORN ELZA G.M.B.H.

Effective date: 20060531

REG Reference to a national code

Ref country code: CH

Ref legal event code: PL

PG25 Lapsed in a contracting state [announced via postgrant information from national office to epo]

Ref country code: CH

Free format text: LAPSE BECAUSE OF NON-PAYMENT OF DUE FEES

Effective date: 20070531

Ref country code: LI

Free format text: LAPSE BECAUSE OF NON-PAYMENT OF DUE FEES

Effective date: 20070531

PG25 Lapsed in a contracting state [announced via postgrant information from national office to epo]

Ref country code: GR

Free format text: LAPSE BECAUSE OF FAILURE TO SUBMIT A TRANSLATION OF THE DESCRIPTION OR TO PAY THE FEE WITHIN THE PRESCRIBED TIME-LIMIT

Effective date: 20060706

PG25 Lapsed in a contracting state [announced via postgrant information from national office to epo]

Ref country code: EE

Free format text: LAPSE BECAUSE OF FAILURE TO SUBMIT A TRANSLATION OF THE DESCRIPTION OR TO PAY THE FEE WITHIN THE PRESCRIBED TIME-LIMIT

Effective date: 20060405

Ref country code: BG

Free format text: LAPSE BECAUSE OF FAILURE TO SUBMIT A TRANSLATION OF THE DESCRIPTION OR TO PAY THE FEE WITHIN THE PRESCRIBED TIME-LIMIT

Effective date: 20060705

PG25 Lapsed in a contracting state [announced via postgrant information from national office to epo]

Ref country code: LU

Free format text: LAPSE BECAUSE OF NON-PAYMENT OF DUE FEES

Effective date: 20060502

Ref country code: HU

Free format text: LAPSE BECAUSE OF FAILURE TO SUBMIT A TRANSLATION OF THE DESCRIPTION OR TO PAY THE FEE WITHIN THE PRESCRIBED TIME-LIMIT

Effective date: 20061006

PGFP Annual fee paid to national office [announced via postgrant information from national office to epo]

Ref country code: ES

Payment date: 20080509

Year of fee payment: 6

PGFP Annual fee paid to national office [announced via postgrant information from national office to epo]

Ref country code: AT

Payment date: 20080529

Year of fee payment: 6

PGFP Annual fee paid to national office [announced via postgrant information from national office to epo]

Ref country code: IT

Payment date: 20080526

Year of fee payment: 6

PGFP Annual fee paid to national office [announced via postgrant information from national office to epo]

Ref country code: NL

Payment date: 20080531

Year of fee payment: 6

PG25 Lapsed in a contracting state [announced via postgrant information from national office to epo]

Ref country code: CY

Free format text: LAPSE BECAUSE OF FAILURE TO SUBMIT A TRANSLATION OF THE DESCRIPTION OR TO PAY THE FEE WITHIN THE PRESCRIBED TIME-LIMIT

Effective date: 20060405

PGFP Annual fee paid to national office [announced via postgrant information from national office to epo]

Ref country code: DE

Payment date: 20090528

Year of fee payment: 7

Ref country code: FR

Payment date: 20090529

Year of fee payment: 7

Ref country code: SE

Payment date: 20090525

Year of fee payment: 7

Ref country code: TR

Payment date: 20090429

Year of fee payment: 7

PG25 Lapsed in a contracting state [announced via postgrant information from national office to epo]

Ref country code: AT

Free format text: LAPSE BECAUSE OF NON-PAYMENT OF DUE FEES

Effective date: 20090502

NLV4 Nl: lapsed or anulled due to non-payment of the annual fee

Effective date: 20091201

PG25 Lapsed in a contracting state [announced via postgrant information from national office to epo]

Ref country code: NL

Free format text: LAPSE BECAUSE OF NON-PAYMENT OF DUE FEES

Effective date: 20091201

REG Reference to a national code

Ref country code: ES

Ref legal event code: FD2A

Effective date: 20090504

PG25 Lapsed in a contracting state [announced via postgrant information from national office to epo]

Ref country code: ES

Free format text: LAPSE BECAUSE OF NON-PAYMENT OF DUE FEES

Effective date: 20090504

EUG Se: european patent has lapsed
REG Reference to a national code

Ref country code: FR

Ref legal event code: ST

Effective date: 20110131

PG25 Lapsed in a contracting state [announced via postgrant information from national office to epo]

Ref country code: SE

Free format text: LAPSE BECAUSE OF NON-PAYMENT OF DUE FEES

Effective date: 20100503

Ref country code: IT

Free format text: LAPSE BECAUSE OF NON-PAYMENT OF DUE FEES

Effective date: 20090502

PG25 Lapsed in a contracting state [announced via postgrant information from national office to epo]

Ref country code: DE

Free format text: LAPSE BECAUSE OF NON-PAYMENT OF DUE FEES

Effective date: 20101201

PG25 Lapsed in a contracting state [announced via postgrant information from national office to epo]

Ref country code: FR

Free format text: LAPSE BECAUSE OF NON-PAYMENT OF DUE FEES

Effective date: 20100531

PG25 Lapsed in a contracting state [announced via postgrant information from national office to epo]

Ref country code: TR

Free format text: LAPSE BECAUSE OF NON-PAYMENT OF DUE FEES

Effective date: 20100502