EP1325685A2 - Vorrichtung und Verfahren zum Aufbereiten wenigstens eines Streifens aus Filtermaterial für die tabakverarbeitende Industrie - Google Patents

Vorrichtung und Verfahren zum Aufbereiten wenigstens eines Streifens aus Filtermaterial für die tabakverarbeitende Industrie Download PDF

Info

Publication number
EP1325685A2
EP1325685A2 EP02027381A EP02027381A EP1325685A2 EP 1325685 A2 EP1325685 A2 EP 1325685A2 EP 02027381 A EP02027381 A EP 02027381A EP 02027381 A EP02027381 A EP 02027381A EP 1325685 A2 EP1325685 A2 EP 1325685A2
Authority
EP
European Patent Office
Prior art keywords
section
air
suction
strip
filter
Prior art date
Legal status (The legal status is an assumption and is not a legal conclusion. Google has not performed a legal analysis and makes no representation as to the accuracy of the status listed.)
Granted
Application number
EP02027381A
Other languages
English (en)
French (fr)
Other versions
EP1325685B1 (de
EP1325685A3 (de
Inventor
Stephan Wolff
Stephan Peters
Harald Ditombee
Jürgen Pehmöller
Thomas Meins
Volker Fricke
Peter-Franz Arnold
Sönke Horn
Joachim Glogasa
Jens Moje
Current Assignee (The listed assignees may be inaccurate. Google has not performed a legal analysis and makes no representation or warranty as to the accuracy of the list.)
Koerber Technologies GmbH
Original Assignee
Hauni Maschinenbau GmbH
Priority date (The priority date is an assumption and is not a legal conclusion. Google has not performed a legal analysis and makes no representation as to the accuracy of the date listed.)
Filing date
Publication date
Application filed by Hauni Maschinenbau GmbH filed Critical Hauni Maschinenbau GmbH
Publication of EP1325685A2 publication Critical patent/EP1325685A2/de
Publication of EP1325685A3 publication Critical patent/EP1325685A3/de
Application granted granted Critical
Publication of EP1325685B1 publication Critical patent/EP1325685B1/de
Anticipated expiration legal-status Critical
Expired - Lifetime legal-status Critical Current

Links

Images

Classifications

    • AHUMAN NECESSITIES
    • A24TOBACCO; CIGARS; CIGARETTES; SIMULATED SMOKING DEVICES; SMOKERS' REQUISITES
    • A24DCIGARS; CIGARETTES; TOBACCO SMOKE FILTERS; MOUTHPIECES FOR CIGARS OR CIGARETTES; MANUFACTURE OF TOBACCO SMOKE FILTERS OR MOUTHPIECES
    • A24D3/00Tobacco smoke filters, e.g. filter-tips, filtering inserts; Filters specially adapted for simulated smoking devices; Mouthpieces for cigars or cigarettes
    • A24D3/02Manufacture of tobacco smoke filters
    • A24D3/0204Preliminary operations before the filter rod forming process, e.g. crimping, blooming

Definitions

  • the invention relates to an apparatus and a method for processing at least one strip Filter material for the tobacco processing industry, especially filter tow strips, along a conveyor line and with at least one compressed air element, in particular for the strip.
  • Such a device is known from EP 654 224 B1.
  • a streak Filter material in particular filter tow, from one another connected fibers, e.g. made of cellulose acetate, continuous from a supply, e.g. pulled from a bale, spread, stretched and with a solvent, e.g. Triazetin sprayed, gathered at the sides, one with blowing air charged nozzle and then a funnel fed, from which the processed and compressed Filter strips fed to a filter rod machine becomes.
  • the filter rod machine it becomes one Strips of filter formed with further compression continuously covered with a strip of wrapping material, then filter rods from the coated filter strand be cut off.
  • Proven processing devices of the type described above are called AF 1, AF 2 and AF 3 by the Applicant built and distributed.
  • Proven filter rod machines of the type described are under the Designation KDF 2 and KDF 3 built by the applicant and distributed.
  • DE 198 11 014 A1 also describes a device for Manufacture of filter rods for rod-shaped articles of the tobacco processing industry in which the Filter tow strips along a stretching line, application line, Raff stretch, through one with in the conveying direction of the tow strip guided air flow Wind tunnel is passed through.
  • the the Laminar air flow accompanying filter tow strips prevents air turbulence, so that a trouble-free or homogeneous specific tow treatment in the stretching zone, the Relaxation zone and gathering zone is guaranteed.
  • the Air flow also serves as a transport medium for Removal of detached or loosely adhering tow fibers, so that even at high conveyor speeds Filter tow stripes a homogeneous treatment and Distribution of the filter material in the filter line reached becomes.
  • the task is at the beginning of a device mentioned type in that at least one Suction device is provided on the suction side of the Conveyor path of the strip is arranged and pressure side is connected to the compressed air element.
  • a compressed air organ for a strip for example Spreader nozzle with a compressed air source Compressed air is supplied.
  • Suction air as blown air to the compressed air organ can on the Compressed air source can be dispensed with.
  • Impurities e.g. avoided in the area of the stretching zone, because the tow fibers are led away from this area.
  • others can also Compressed air organs as a spreader nozzle from the suction device be supplied with air.
  • the suction device especially on the suction side, at least one filter device and / or one Has cleaning device for the suction air.
  • a filter device for example, can rough the air flow and fine dust particles are removed, so that clean Blown air are passed on to the compressed air organs can. This makes the machine and the environment clean held because e.g. fine tow fibers retained and not be blown into the ambient air.
  • the suction device has in particular on the pressure side, at least one, preferably controllable, throttle device to Blown air to the compressed air consumer with an adjustable To deliver pressure.
  • control device and / or control device for the suction device is provided because this ensures an optimal setting and function for the suction and the individual spreader nozzles is guaranteed.
  • the suction device regulated and / or controlled accordingly become.
  • operation of the device can thus considering an economical mode of operation be optimized.
  • control device and / or the control device by means of a machine center, in particular programmable logic controller (SPS) is trained.
  • SPS programmable logic controller
  • In the machine center all processes on one machine unit or in the entire machine is controlled and / or summarized regulated.
  • the programmable logic controller has become machines proven.
  • the device according to the invention is advantageously further developed in that the suction side of the suction device in a stretching zone of a stretching section of the Conveyor line is arranged.
  • a Device as known from DE 198 11 014 A1 can be improved since there is already a suction device is available. This suction device can overall operated even more economically.
  • the air is advantageously on the pressure side, preferably by means of a, in particular controllable, Throttle device, throttled.
  • Optimal operation can be achieved if the Air flow depending on the air pressure on the Suction side and / or the pressure side regulated and / or is controlled.
  • the air flow is advantageously controlled by means of a Machine center, in particular programmable logic Control (PLC), regulated and / or controlled.
  • PLC programmable logic Control
  • the air in a stretching zone is also preferred sucked a stretch of the conveyor line.
  • the air will advantageously end up a section of the conveyor line, in particular Stretching section and / or application section and / or gathering section, suctioned off, so that existing suction devices can be used.
  • the feed section 9 is used to feed a strip section to an inlet device schematically illustrated filter rod machine 11, e.g. from in the tobacco processing industry known type KDF 2 or KDF 3 of the applicant.
  • the trigger line 3 in which the one here is not bales of filter material strips removed 2 is promoted, has a spreader nozzle 16, the Compressed air instead of a compressed air source from the suction device according to the invention described below receives.
  • the compressed air serves to spread the conveyed Filter tow fabric in this section.
  • a - controllable - spreader gland is e.g. in US-A-4,259 769.
  • the filter tow strip 2 passes over a deflection roller 19 in the stretching section 4, on the one hand by a Roller pair 21 with the rollers 22, 23, on the other hand by a pair of rollers 24 with motor-driven rollers 26, 27 is limited.
  • the rollers 22, 23 are from Towstrip towed, i.e. they run with more or less resistance empty. If necessary, they can be driven by a motor. You can also in one in a known manner with controllable force against each other be pressed.
  • the filter tow 2 pre-stretched. It can be a controllable drying device trained conditioning device happen.
  • a drying device is, for example, in EP 654 224 B1 described in detail.
  • the stretching section 6 connects to the pair of rolls 24, in which the filter tow strip 2 is vertical or with a vertical component promoted from top to bottom becomes.
  • a another pair of rollers 39 from motor-driven Rollers 41, 42 whose peripheral speeds are somewhat are greater than the peripheral speeds of the rollers 26, 27, so that the elastic filter tow is defined is stretched.
  • the roller pairs 24 and 39 thus form the actual stretching device.
  • the rollers 26 and 41 have a rigid, grooved surface, each one touch the resilient surface of the rollers 27 or 42.
  • Such roller configurations are due to the aforementioned Filter tow conditioners AF 1, AF 2 and AF 3 known to the applicant and e.g. in US-A-3 317 965 and US-A-3,255,506.
  • Another pair of rollers 43 is arranged downstream of the pair of rollers 39, whose peripheral speeds are lower than those of the rollers 41, 42, so that the filter tow 2 relaxes slightly when it is promoted.
  • the pair of rollers 43 again has a roller 44 with a rigid, grooved Surface on that with the compliant surface the rollers 46 are in contact.
  • the roller pairs 39 and 43 thus limit the, in the present case approximately horizontally arranged, order line 7, in an application device in the form of a spraying device is arranged.
  • the sprayer can be formed as described in US-A-4,313,974 and sprayed the transported filter tow strip 2 from one or both sides with fine droplets one Solvent for the filter tow material e.g. Triacetin.
  • a spreader nozzle is arranged upstream of the spraying device 18, so that the stretched filter tow 2 is spread out is and the solvent has a larger surface area of the Filter towstrip 2 wetted.
  • This spreader nozzle 18th and that in front of the pair of rollers 21 of the stretching section 4 upstream spreader nozzle 17 are with compressed air applied in the manner described below.
  • a gathering section 8 in which the filter tow strip 2 with predominantly vertical Component of a pair of rollers 51 with motor driven rollers 52, 53 conveyed from the bottom up becomes.
  • the roller 52 has a rigid, grooved again Surface, the contact of the roller a compliant Surface.
  • a feed path is arranged downstream of the pair of deflecting rollers 51 9, in which the filter tow strip 2 of adhering, for further processing disadvantageous electrostatic Loads are freed.
  • the feed line 9 is also a so-called stuffing nozzle available with compressed air from a compressed air source or in the manner according to the invention set out below. After passing through the stuffing nozzle, the filter tow becomes one Filter rod machine 11 supplied.
  • the filter tow strip is within the stretching section 6 by one between the pairs of rollers 24 and 39 extending on both sides of the filter tow strip 2 Passed wind tunnel 32, in which a parallel to the conveying direction of the filter tow strip Air flow is generated.
  • Air flow is the wind tunnel 32 at the end of the stretching section 6 with a suction air connection connected to the suction side of a blower 38 54 provided.
  • the wind tunnel 32 is open and thus forms one Air intake off.
  • the wind tunnel 32 is through channel walls 33, 34 limited to the broadside of the Filter tow stripes are adjustable.
  • the air in the wind tunnel 32 can be executed in the area of the pair of rollers 39, and in particular in the area of a Inlet gap of the pair of rollers 39 are suctioned off.
  • the wind tunnel 32 is under the suction air connection 54 Interposition of a filter mat 36 via the connecting line 37 connected to the blower 38.
  • the Filter mat 38 removed from the suction air stream entrained Particles and fiber particles as well as dust.
  • the blower 38 is also connected to a control unit 31, which regulates the performance of the compressor fan 38.
  • a throttle unit 49 is connected to the blower 38.
  • the throttle unit 49 is connected in terms of Consumer groups by means of an associated with it Control unit 47 adjustable.
  • the spreader nozzle 16 has a U-shaped Housing 71, which is a hinge joint 73 on one Has leg of the "U" on which a lid 72 is hinged is.
  • a channel 74 inside the Spreader nozzle 16 is formed. Through the channel 74 in a plane perpendicular to the plane shown Filter tow strips transported.
  • the spreader nozzle 16 is a flat, hinged nozzle in which the Tow running.
  • the hinge joint 73 opposite leg 69 of the housing 71 magnets 75 trained.
  • the magnet 75 of the housing 71 is compared with a magnet 76.
  • the cover 72 in the area of the Magnets 75 be magnetic.
  • the Nozzle 16 can be opened to insert the filter tow. Then the nozzle 16 is closed again.
  • the strength of the magnets 75 and 76 is chosen so that a Open while the machine is operating or Device is not possible.
  • Handle 77 provided which is rotatable about a pivot point 78 is mounted and has a lever arm 79 which at Opening the cover 72, the leg 69 of the housing 71 touched.
  • handle 77 and lever arm 79 Due to suitable lever ratios of handle 77 and lever arm 79 can with a small force Distance between magnets 75 and 76 increased are reduced, which also reduces the magnetic forces become.
  • the handle 77 is designed as a lever, so that the separation of the magnets 75, 76 additionally mechanically is supported. This will make much less Force needed to open the lid 72 without the To impair the locking function of the nozzle 16.
  • the distance of the fulcrum 78 of the hinge joint 73 is greater than the distance between the magnets 76 and the hinge joint 73. This creates better leverage, so that this means less force to open the nozzle 16 is required.
  • lever handle 77 By lever handle 77, pivot point 78 and Lever arm 79 mechanical means are available that the Open the spreader nozzle 16 and insert one Lighten the filter tow strip.

Landscapes

  • Cigarettes, Filters, And Manufacturing Of Filters (AREA)
  • Manufacturing Of Cigar And Cigarette Tobacco (AREA)

Abstract

Die Erfindung betrifft eine Vorrichtung und ein Verfahren zum Aufbereiten wenigstens eines Streifens (2) aus Filtermaterial für die tabakverarbeitenden Industrie, insbesondere Filtertowstreifen, entlang einer Förderstrecke (3, 4, 6, 7, 8, 9) und mit wenigstens einem Druckluftorgan (16, 17, 18), insbesondere für den Streifen (2). Die Vorrichtung ist dadurch gekennzeichnet, daß wenigstens eine Absaugeinrichtung (38) vorgesehen ist, die saugseitig an der Förderstrecke (3, 4, 6, 7, 8, 9) des Streifens (2) angeordnet ist und druckseitig mit dem Druckluftorgan (16, 17, 18) verbunden ist. <IMAGE>

Description

Die Erfindung betrifft eine Vorrichtung und ein Verfahren zum Aufbereiten wenigstens eines Streifens aus Filtermaterial für die tabakverarbeitende Industrie, insbesondere Filtertowstreifen, entlang einer Förderstrecke und mit wenigstens einem Druckluftorgan, insbesondere für den Streifen.
Eine derartige Vorrichtung ist aus EP 654 224 B1 bekannt. Zum Herstellen von Filterstäben für die tabakverarbeitende Industrie wird ein Streifen aus Filtermaterial, insbesondere Filtertow, aus miteinander verbundenen Fasern, z.B. aus Celluloseacetat, fortlaufend von einem Vorrat, z.B. von einem Ballen, abgezogen, ausgebreitet, gereckt und mit einem Lösungsmittel, z.B. Triazetin besprüht, seitlich gerafft, einer mit Blasluft beaufschlagten Düse und anschließend einem Trichter zugeführt, von dem aus der aufbereitete und verdichtete Filterstreifen einer Filterstrangmaschine zugeführt wird. In der Filterstrangmaschine wird der zu einem Filterstrang geformte Streifen unter weiterer Verdichtung fortlaufend mit einem Hüllmaterialstreifen umhüllt, wonach von dem umhüllten Filterstrang Filterstäbe abgeschnitten werden.
Bewährte Aufbereitungsgeräte der vorbeschriebenen Art werden unter der Bezeichnung AF 1, AF 2 und AF 3 von der Anmelderin gebaut und vertrieben. Bewährte Filterstrangmaschinen der beschriebenen Art werden unter der Bezeichnung KDF 2 und KDF 3 von der Anmelderin gebaut und vertrieben.
In DE 198 11 014 A1 ist ebenfalls eine Vorrichtung zum Herstellung von Filterstäben für stabförmige Artikel der tabakverarbeitenden Industrie beschrieben, bei der der Filtertowstreifen entlang einer Reckstrecke, Auftragsstrecke, Raffstrecke, durch einen mit einer in Förderrichtung des Towstreifens geführten Luftströmung beaufschlagten Windkanal hindurchgeführt ist. Die den Filtertowstreifen begleitende laminare Luftströmung verhindert Luftwirbel, so daß eine störungsfreie, bzw. homogene spezifische Towbehandlung in der Reckzone, der Entspannungszone und Raffzone gewährleistet ist. Die Luftströmung dient gleichzeitig als Transportmedium zum Entfernen von abgelösten bzw. lose haftenden Towfasern, so daß auch bei hohen Fördergeschwindigkeiten des Filtertowstreifens eine homogene Aufbereitung und Verteilung des Filtermaterials im Filterstrang erreicht wird.
Ausgehend von dem Stand der Technik ist es Aufgabe der Erfindung, die Verunreinigung der Vorrichtung durch Staubpartikel, insbesondere Towfasern, zu verringern und gleichzeitig den Betrieb einer derartigen Vorrichtung wirtschaftlicher zu gestalten.
Die Aufgabe wird bei einer Vorrichtung der eingangs genannten Art dadurch gelöst, daß wenigstens eine Absaugeinrichtung vorgesehen ist, die saugseitig an der Förderstrecke des Streifens angeordnet ist und druckseitig mit dem Druckluftorgan verbunden ist. Ein Druckluftorgan für ein Streifen stellt bspw. eine Ausbreiterdüse dar, die von einer Druckluftquelle mit Druckluft versorgt wird. Durch die Rückführung von Saugluft als Blasluft zu dem Druckluftorgan kann auf die Druckluftquelle verzichtet werden. Gleichzeitig werden Verunreinigungen z.B. im Bereich der Reckzone vermieden, da die Towfasern aus diesem Bereich weggeführt werden. Selbstverständlich können erfindungsgemäß auch andere Druckluftorgane als eine Ausbreiterdüse von der Absaugeinrichtung mit Luft versorgt werden.
Zur Verringerung von Verunreinigungen ist es vorteilhaft, wenn die Absaugeinrichtung, insbesondere saugseitig, wenigstens eine Filtereinrichtung und/oder eine Reinigungseinrichtung für die Saugluft aufweist. Durch eine Filtereinrichtung bspw. können dem Luftstrom grobe und feine Staubpartikel entzogen werden, so daß saubere Blasluft an die Druckluftorgane weitergegeben werden kann. Dadurch werden die Maschine und die Umwelt sauber gehalten, da z.B. feine Towfasern zurückgehalten und nicht in die Umgebungsluft geblasen werden.
In einer Weiterbildung der Erfindung weist die Absaugeinrichtung, insbesondere druckseitig, wenigstens eine, vorzugsweise steuerbare, Drosseleinrichtung auf, um Blasluft an die Druckluftverbraucher mit einem einstellbaren Druck zu liefern.
Ferner ist es von Vorteil, wenn eine Regeleinrichtung und/oder Steuereinrichtung für die Absaugeinrichtung vorgesehen ist, da hierdurch eine optimale Einstellung und Funktion für die Absaugung und der einzelnen Ausbreiterdüsen bspw. gewährleistet ist.
In einer Weiterbildung der Erfindung ist vorteilhafterweise wenigstens eine Druckmeßeinrichtung saugseitig und/oder druckseitig mit der Regeleinrichtung und/oder Steuereinrichtung verbunden. Durch die Erfassung des Unterdrucks auf der Saugseite und/oder durch die Druckmessungen an den Druckluftorganen, kann die Absaugeinrichtung entsprechend geregelt und/oder gesteuert werden. Außerdem kann somit ein Betrieb der Vorrichtung unter Berücksichtigung einer wirtschaftlichen Betriebsweise optimiert werden.
Besonders vorteilhaft ist es, wenn die Regeleinrichtung und/oder die Steuereinrichtung mittels einer Maschinenzentrale, insbesondere speicherprogrammierbare Steuerung (SPS), ausgebildet ist. In der Maschinenzentrale werden sämtliche Prozesse an einem Maschinenaggregat bzw. in der gesamten Maschine zusammenfassend gesteuert und/oder geregelt. Als geeignete Steuerung solcher komplexen Maschinen hat sich die speicherprogrammierbare Steuerung bewährt.
Die erfindungsgemäße Vorrichtung wird vorteilhafterweise dadurch weitergebildet, daß die Saugseite der Absaugeinrichtung in einer Reckzone einer Reckstrecke der Förderstrecke angeordnet ist. Hierdurch kann eine Vorrichtung, wie sie aus DE 198 11 014 A1 bekannt ist, verbessert werden, da bereits eine Absaugeinrichtung vorhanden ist. Diese Absaugeinrichtung kann insgesamt noch wirtschaftlicher betrieben werden. Zudem kann auf den Einbau von Druckluftquellen für die Druckluftorgane vollständig verzichtet werden. In einer Alternative ist die Saugseite der Absaugeinrichtung am Ende eines Streckenabschnitts der Förderstrecke, insbesondere Reckstrecke und/oder Auftragsstrecke und/oder Raffstrecke, angeordnet.
Ferner besteht die Lösung beim Verfahren der eingangs genannten Art darin, daß Luft an der Förderstrecke abgesaugt wird und an das Druckluftorgan geliefert wird. Eine Absaugeinrichtung kann daher gleichzeitig die Funktionen der Luftansaugung und der Luftbeförderung verwirklichen. Daneben ergeben sich auch konstruktive Verbesserungen, da auf eine Druckluftquelle für das Druckluftorgan verzichtet werden kann.
In einer Weiterbildung der Erfindung wird die abgesaugte Luft gefiltert und/oder gereinigt.
Weiterhin wird vorteilhafterweise die Luft druckseitig, vorzugsweise mittels einer, insbesondere steuerbaren, Drosseleinrichtung, gedrosselt.
Darüber hinaus ist es von Vorteil, wenn die Strömung der Luft geregelt und/oder gesteuert wird.
Ein optimaler Betrieb läßt sich erreichen, wenn die Luftströmung in Abhängigkeit des Luftdrucks auf der Saugseite und/oder der Druckseite geregelt und/oder gesteuert wird.
Vorteilhafterweise wird die Luftströmung mittels einer Maschinenzentrale, insbesondere speicherprogrammierbare Steuerung (SPS), geregelt und/oder gesteuert.
Im Falle, daß zuviel Blas- oder Druckluft während des Betriebs entsteht, ist es von Vorteil, wenn, insbesondere überschüssige, Luft auf der Druckseite an die Atmosphäre abgegeben wird. Neben einer Druckentlastung findet auch eine Reinigung der Umgebungsluft hierdurch statt.
Weiterhin wird bevorzugt die Luft in einer Reckzone einer Reckstrecke der Förderstrecke abgesaugt.
Alternativ wird vorteilhafterweise die Luft am Ende eines Streckenabschnitts der Förderstrecke, insbesondere Reckstrecke und/oder Auftragsstrecke und/oder Raffstrecke, abgesaugt, so daß bestehende Absaugeinrichtungen genutzt werden können.
Nachfolgend wird die Erfindung anhand von Ausführungsbeispielen in den Zeichnungen ohne Beschränkung des allgemeinen Erfindungsgedankens exemplarisch beschrieben. Es zeigen:
Fig. 1
schematisch eine Aufbereitungsvorrichtung gemäß der Erfindung und
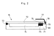
Fig. 2
einen Querschnitt durch eine Ausbreiterdüse.
Gemäß Fig. 1 weist die Aufbereitungsvorrichtung für einen von einem Ballen abgezogenen Streifen 2 aus Filtertow, z.B. Celluloseacetat, mit zusammenhängenden Fasern, folgende Hauptbaugruppen, die der Streifen 2 nachfolgend durchläuft, auf: eine Abzugsstrecke 3, eine Vorreckstrecke 4, eine Reckstrecke 6, eine Auftragsstrecke 7, eine Raffstrecke 8 und eine Zufuhrstrecke 9. Die Zufuhrstrecke 9 dient zum Zuführen eines Streifenabschnitts zu einer Einlaufeinrichtung einer schematisch dargestellten Filterstrangmaschine 11, z.B. vom in der tabakverarbeitenden Industrie bekannten Typ KDF 2 oder KDF 3 der Anmelderin.
Die Abzugsstrecke 3, in der der von einem hier nicht dargestellten Ballen abgezogenen Filtermaterialstreifen 2 gefördert wird, weist eine Ausbreiterdüse 16 auf, die Druckluft anstelle von einer Druckluftquelle von der erfindungsgemäßen unten beschriebenen Absaugeinrichtung erhält. Die Druckluft dient zur Ausbreitung des geförderten Filtertowgewebes in diesem Abschnitt. Eine - steuerbare - Ausbreiterdrüse ist z.B. in der US-A-4 259 769 beschrieben.
Über eine Umlenkrolle 19 gelangt der Filtertowstreifen 2 in die Vorreckstrecke 4, die einerseits von einem Walzenpaar 21 mit den Walzen 22, 23, andererseits von einem Walzenpaar 24 mit motorisch angetriebenen Walzen 26, 27 begrenzt ist. Die Walzen 22, 23 werden vom Towstreifen geschleppt, d.h. sie laufen mit mehr oder weniger Widerstand leer. Wenn erforderlich, können sie motorisch angetrieben werden. Sie können auch in einer an sich bekannten Weise mit steuerbarer Kraft gegeneinander gedrückt werden.
In der Vorreckstrecke 4, in der der Streifenabschnitt schräg nach unten gefördert wird, wird das Filtertow 2 vorgereckt. Es kann dabei eine als steuerbare Trocknungsvorrichtung ausgebildete Konditioniereinrichtung passieren. Eine Trocknungsvorrichtung ist bspw. in EP 654 224 B1 ausführlich beschrieben.
An das Walzenpaar 24 schließt sich die Reckstrecke 6 an, in der der Filtertowstreifen 2 senkrecht oder mit einer senkrechten Komponente von oben nach unten gefördert wird. Am Ende der Reckstrecke 6 befindet sich ein weiteres Walzenpaar 39 aus motorisch angetriebenen Walzen 41, 42, deren Umfangsgeschwindigkeiten etwas größer sind als die Umfangsgeschwindigkeiten der Walzen 26, 27, so daß das elastische Filtertow definiert gereckt wird. Die Walzenpaare 24 und 39 bilden somit die eigentliche Reckeinrichtung. Die Walzen 26 und 41 weisen eine starre, gerillte Oberfläche auf, die jeweils eine nachgiebige Oberfläche der Walzen 27 bzw. 42 berühren. Derartige Walzenkonfigurationen sind durch die vorerwähnten Filtertow-Aufbereitungsgeräte AF 1, AF 2 und AF 3 der Anmelderin bekannt und z.B. in der US-A-3 317 965 und US-A-3 255 506 beschrieben.
Dem Walzenpaar 39 ist ein weiteres Walzenpaar 43 nachgeordnet, deren Umfangsgeschwindigkeiten geringer sind als diejenigen der Walzen 41, 42, so daß das Filtertow 2 sich bei seiner Förderung leicht entspannt. Das Walzenpaar 43 weist wieder eine Walze 44 mit starrer, gerillter Oberfläche auf, die mit der nachgiebigen Oberfläche der Walzen 46 in Berührung steht. Die Walzenpaare 39 und 43 begrenzen somit die, im vorliegenden Fall annähernd horizontal angeordnete, Auftragsstrecke 7, in der eine Auftrageinrichtung in Form einer Besprühvorrichtung angeordnet ist. Die Besprühvorrichtung kann ausgebildet sein, wie in der US-A-4 313 974 beschrieben und besprüht den transportierten Filtertowstreifen 2 von einer oder beiden Seiten mit feinen Tröpfchen eines Lösungsmittels für das Filtertowmaterial z.B. Triazetin. Der Besprühvorrichtung vorgeordnet ist eine Ausbreiterdüse 18, so daß das gereckte Filtertow 2 ausgebreitet wird und das Lösungsmittel eine größere Oberfläche des Filtertowstreifens 2 benetzt. Diese Ausbreiterdüse 18 sowie die vor dem Walzenpaar 21 der Vorreckstrecke 4 vorgelagerte Ausbreiterdüse 17 werden mit Druckluft beaufschlagt auf die unten beschriebene Weise.
Der Auftragsstrecke 7 nachgeordnet ist eine Raffstrecke 8, in der der Filtertowstreifen 2 mit überwiegend senkrechter Komponente von einem Walzenpaar 51 mit motorisch angetriebenen Walzen 52, 53 von unten nach oben gefördert wird. Die Walze 52 hat wieder eine starre, gerillte Oberfläche, die Berührung der Walze eine nachgiebige Oberfläche.
Dem Umlenkwalzenpaar 51 nachgeordnet ist eine Zufuhrstrecke 9, in der der Filtertowstreifen 2 von anhaftenden, für die weitere Bearbeitung nachteiligen elektrostatischen Ladungen befreit werden. In der Zufuhrstrecke 9 ist außerdem eine an sich bekannte sog. Stopfdüse vorhanden, die mit Druckluft von einer Druckluftquelle oder auf die unten ausgeführte erfindungsgemäße Weise. Nach Durchlaufen der Stopfdüse wird das Filtertow einer Filterstrangmaschine 11 zugeführt.
Bezüglich weiterer Einzelheiten wird ausdrücklich auf die US-A-5 590 449 verwiesen.
Innerhalb der Reckstrecke 6 ist der Filtertowstreifen durch einen zwischen den Walzenpaaren 24 und 39 zu beiden Seiten des Filtertowstreifens 2 erstreckenden Windkanal 32 hindurchgeführt, in welchem eine parallel zur Förderrichtung des Filtertowstreifens verlaufende Luftströmung erzeugt wird. Zum Erzeugen der Luftströmung ist der Windkanal 32 am Ende der Reckstrecke 6 mit einem mit der Saugseite eines Gebläses 38 verbundenen Saugluftanschluß 54 versehen. Am Eingang der Reckstrecke 6 ist der Windkanal 32 offen und bildet somit einen Lufteinlaß aus. Der Windkanal 32 ist durch Kanalwandungen 33, 34 begrenzt, die quer zur Breitseite des Filtertowstreifens einstellbar sind. In alternativen Ausführungen kann die Luft im Windkanal 32 im Bereich des Walzenpaares 39, und insbesondere im Bereich eines Einlaufspaltes des Walzenpaares 39 abgesaugt werden.
Der Windkanal 32 und die Wirkungsweise des Windkanals 32 entlang der Reckstrecke 6 ist ausführlich in DE 198 11 014 A1 beschrieben, worauf explizit verwiesen wird.
Der Windkanal 32 ist über den Saugluftanschluß 54 unter Zwischenschaltung einer Filtermatte 36 über die Verbindungsleitung 37 mit dem Gebläse 38 verbunden. Die Filtermatte 38 entfernt aus dem Saugluftstrom mitgerissene Partikel und Faserteilchen sowie Staub. Das Gebläse 38 ist darüber hinaus mit einer Regeleinheit 31 verbunden, die die Leistung des Verdichtergebläses 38 regelt.
Auf der Druckseite des Gebläses 38 ist über eine Leitung 48 eine Drosseleinheit 49 mit dem Gebläse 38 verbunden. Die Drosseleinheit 49 ist hinsichtlich der angeschlossenen Verbraucherkreise mittels einer mit ihr verbundenen Steuereinheit 47 einstellbar.
Mit der Drosseleinheit 49 verbunden sind ausgangsseitig verschiedene Druckluftorgane, die mit Druckluft beaufschlagt werden. Bspw. werden von der Drosseleinheit 49 über eine Druckluftleitung 12 die Ausbreiterdüse 16 in der Abzugstrecke 3 mit Druckluft versorgt. Entsprechend werden die Ausbreiterdüsen 17 in der Vorreckstrecke 4 und die Ausbreiterdüse 18 in der Raffstrecke 8 über Verbindungen 13 und 14 jeweils mit Druckluft versorgt. Wenn ein zu großer Überdruck in der Druckluftleitung 48 durch den Verdichter 38 entsteht, kann über einen Auslaß 59 an der Drosseleinheit 49 Luft an die Atmosphäre, d.h. in die Umgebung der Vorrichtung abgelassen werden.
Selbstverständlich ist es im Rahmen der Erfindung möglich, auch andere Druckluftverbraucher z.B. Stopfdüse mit Druckluft zu versorgen, wobei Saugluft, die an einem oder mehreren Arbeitsorganen der Vorrichtung entsteht, hierzu verwendet wird. Erfindungsgemäß werden bereits vorhandene Absaugeinrichtungen bzw. Gebläse derart weitergebildet, daß die Rückführung der Saugluft als Blasluft an Druckluftorgane der Vorrichtung erfolgt. Außerdem kann die Regelung der Luftströme optimiert werden, wenn die Regeleinheit 31 des Gebläses 38 mit hier nicht dargestellten Meßeinrichtungen auf der Saugseite z.B. in dem Saugluftanschluß und weiteren Druckmeßeinrichtungen auf der Druckseite z.B. in den Ausbreiterdüsen 16, 17, 18 verbunden ist. In einer Alternative ist anstelle der Regeleinheit 31 eine Steuereinrichtung vorgesehen.
In Fig. 2 ist im Querschnitt die Ausbreiterdüse aus Fig. 1 dargestellt. Die Ausbreiterdüse 16 verfügt über ein U-förmiges Gehäuse 71, das ein Scharniergelenk 73 an einem Schenkel des "U"s aufweist, an dem ein Deckel 72 angelenkt ist. Im geschlossenen Zustand, d.h. im Betrieb der Vorrichtung, ist ein Kanal 74 im Inneren der Ausbreiterdüse 16 ausgebildet. Durch den Kanal 74 wird in einer Ebene senkrecht zur dargestellten Ebene ein Filtertowstreifen transportiert. Die Ausbreiterdüse 16 ist eine flache, aufklappbare Düse, in der das Tow läuft.
Während der Filterproduktion muß die Düse 16 fest zugeklappt sein. Hierzu sind an dem Scharniergelenk 73 gegenüberliegenden Schenkel 69 des Gehäuses 71 Magnete 75 ausgebildet. Um einen guten Verschluß zu bilden, ist dem Magnet 75 des Gehäuses 71 ein Magnet 76 gegenübergestellt. Alternativ kann der Deckel 72 im Bereich des Magneten 75 magnetisch sein.
Um die Ausbreiterdüse 16 während des Betriebs geschlossen zu halten, sind die einander gegenüberliegenden Magnete 75 und 76 von verschiedener Polarität, so daß der Deckel 72 an dem Gehäuse 71 gehalten wird.
Um die Vorrichtung betriebsbereit zu machen, muß die Düse 16 aufgeklappt werden, um das Filtertow einzulegen. Anschließend wird die Düse 16 wieder geschlossen.
Die Stärke der Magnete 75 und 76 ist so gewählt, daß ein Öffnen während des Betriebs der Maschine bzw. der Vorrichtung nicht möglich ist. Um das Öffnen der Düse bzw. des Deckels 72 zu erleichtern, ist am Deckel 72 ein Griff 77 vorgesehen, der um einen Drehpunkt 78 drehbar gelagert ist und einen Hebelarm 79 aufweist, der beim Öffnen des Deckels 72 den Schenkel 69 des Gehäuses 71 berührt.
Aufgrund von geeigneten Hebelverhältnissen von Griff 77 und Hebelarm 79 kann mit einer geringen Kraft der Abstand zwischen den Magneten 75 und 76 vergrößert werden, wodurch auch die magnetischen Kräfte herabgesetzt werden. Der Griff 77 ist als Hebel ausgeführt, so daß das Trennen der Magneten 75, 76 zusätzlich mechanisch unterstützt wird. Dadurch wird wesentlich weniger Kraft zum Öffnen des Deckels 72 benötigt, ohne die Zuhaltefunktion der Düse 16 zu beeinträchtigen.
Außerdem ist es günstig, wenn der Abstand des Drehpunkts 78 vom Scharniergelenk 73 größer ist als der Abstand zwischen den Magneten 76 und dem Scharniergelenk 73. Hierdurch entstehen bessere Hebelverhältnisse, so daß durch diese Maßnahme weniger Kraft zum Öffnen der Düse 16 erforderlich ist.
Durch den Hebelgriff 77, den Drehpunkt 78 und den Hebelarm 79 sind mechanische Mittel vorhanden, die das Öffnen der Ausbreiterdüse 16 und das Einlegen eines Filtertowstreifens erleichtern.
Bezugszeichenliste
2
Streifen
3
Abzugsstrecke
4
Vorreckstrecke
6
Reckstrecke
7
Auftragsstrecke
8
Raffstrecke
9
Zufuhrstrecke
11
Filterstrangmaschine
12
Versorgungsleitung
13
Versorgungsleitung
14
Versorgungsleitung
16
Ausbreiterdüse
17
Ausbreiterdüse
18
Ausbreiterdüse
19
Umlenkrolle
21
Walzenpaar
22
Walzen
23
Walze
24
Walzenpaar
26
Walze
27
Walze
31
Regeleinheit
32
Windkanal
33
Wand
34
Wand
36
Filtermatte
37
Leitung
38
Verdichter
39
Walzenpaar
41
Walze
42
Walze
43
Walzenpaar
44
Walze
46
Walze
47
Steuereinheit
48
Leitung
49
Drosseleinheit
51
Walzenpaar
52
Walze
53
Walze
54
Saugluftanschluß
59
Auslaß
69
Schenkel
71
Gehäuse
72
Deckel
73
Scharniergelenk
74
Kanal
75
Magnet
76
Magnet
77
Griff
78
Drehpunkt
79
Hebelarm

Claims (17)

  1. Vorrichtung zum Aufbereiten wenigstens eines Streifens (2) aus Filtermaterial für die tabakverarbeitende Industrie, insbesondere Filtertowstreifen, entlang einer Förderstrecke (3, 4, 6, 7, 8, 9) und mit wenigstens einem Druckluftorgan (16, 17, 18), insbesondere für den Streifen (2), dadurch gekennzeichnet, daß wenigstens eine Absaugeinrichtung (38) vorgesehen ist, die saugseitig an der Förderstrecke (3, 4, 6, 7, 8, 9) des Streifens (2) angeordnet ist und druckseitig mit dem Druckluftorgan (16, 17, 18) verbunden ist.
  2. Vorrichtung nach Anspruch 1, dadurch gekennzeichnet, daß die Absaugeinrichtung (38), insbesondere saugseitig, wenigstens eine Filtereinrichtung (36) und/oder Reinigungseinrichtung aufweist.
  3. Vorrichtung nach Anspruch 1 oder 2, dadurch gekennzeichnet, daß die Absaugeinrichtung (38), insbesondere druckseitig, wenigstens eine, vorzugsweise steuerbare, Drosseleinrichtung (49) aufweist.
  4. Vorrichtung nach einem oder mehreren der Ansprüche 1 bis 3, dadurch gekennzeichnet, daß eine Regeleinrichtung (31) und/oder Steuereinrichtung für die Absaugeinrichtung (38) vorgesehen ist.
  5. Vorrichtung nach Anspruch 4, dadurch gekennzeichnet, daß wenigstens eine Druckmeßeinrichtung saugseitig und/oder druckseitig mit der Regeleinrichtung (31) und/oder Steuereinrichtung verbunden ist.
  6. Vorrichtung nach Anspruch 4 oder 5, dadurch gekennzeichnet, daß die Regeleinrichtung (31) und/oder Steuereinrichtung mittels einer Maschinenzentrale, insbesondere speicherprogrammierbare Steuerung (SPS), ausgebildet ist.
  7. Vorrichtung nach einem oder mehreren der Ansprüche 1 bis 4, dadurch gekennzeichnet, daß die Saugseite der Absaugeinrichtung (38) in einer Reckzone einer Reckstrecke (6) der Förderstrecke (3, 4, 6, 7, 8, 9) angeordnet ist.
  8. Vorrichtung nach einem oder mehreren der Ansprüche 1 bis 4, dadurch gekennzeichnet, daß die Saugseite der Absaugeinrichtung (31) am Ende eines Streckenabschnitts der Förderstrecke (3, 4, 6, 7, 8, 9), insbesondere Reckstrecke (6) und/oder Auftragstrecke (7) und/oder Raffstrecke (8), angeordnet ist.
  9. Verfahren zum Aufbereiten wenigstens eines Streifens (2) aus Filtermaterial für die tabakverarbeitende Industrie, insbesondere Filtertowstreifen, entlang einer Förderstrecke (3, 4, 6, 7, 8, 9) und mittels wenigstens eines Druckluftorgans (16, 17, 18), insbesondere für den Streifen (2), dadurch gekennzeichnet, daß Luft an der Förderstrecke (3, 4, 6, 7, 8, 9) abgesaugt wird und an das Druckluftorgan (16, 17, 18) geliefert wird.
  10. Verfahren nach Anspruch 9, dadurch gekennzeichnet, daß die abgesaugte Luft gefiltert und/oder gereinigt wird.
  11. Verfahren nach Anspruch 9 oder 10, dadurch gekennzeichnet, daß die Luft druckseitig, vorzugsweise mittels einer, insbesondere steuerbaren, Drosseleinrichtung (49), gedrosselt wird.
  12. Verfahren nach einem oder mehreren der Ansprüche 9 bis 11, dadurch gekennzeichnet, daß die Strömung der Luft geregelt und/oder gesteuert wird.
  13. Verfahren nach Anspruch 12, dadurch gekennzeichnet, daß die Luftströmung in Abhängigkeit des Luftdrucks auf der Saugseite und/oder der Druckseite geregelt und/oder gesteuert wird.
  14. Verfahren nach Anspruch 12 oder 13, dadurch gekennzeichnet, daß die Luftströmung mittels einer Maschinenzentrale, insbesondere speicherprogrammierbare Steuerung (SPS), geregelt und/oder gesteuert wird.
  15. Verfahren nach einem oder mehreren der Ansprüche 9 bis 14, dadurch gekennzeichnet, daß, insbesondere überschüssige, Luft auf der Druckseite in die Atmosphäre abgegeben wird.
  16. Verfahren nach einem oder mehreren der Ansprüche 9 bis 15, dadurch gekennzeichnet, daß die Luft am Ende einer Reckzone einer Reckstrecke (6) der Förderstrecke (3, 4, 6, 7, 8, 9) abgesaugt wird.
  17. Verfahren nach einem oder mehreren der Ansprüche 9 bis 15, dadurch gekennzeichnet, daß die Luft am Ende eines Streckenabschnitts der Förderstrecke (3, 4, 6, 7, 8, 9), insbesondere Reckstrecke (6) und/oder Auftragstrecke (7) und/oder Raffstrecke (8), abgesaugt wird.
EP02027381A 2002-01-07 2002-12-09 Vorrichtung und Verfahren zum Aufbereiten wenigstens eines Streifens aus Filtermaterial für die tabakverarbeitende Industrie Expired - Lifetime EP1325685B1 (de)

Applications Claiming Priority (2)

Application Number Priority Date Filing Date Title
DE10200326 2002-01-07
DE10200326A DE10200326A1 (de) 2002-01-07 2002-01-07 Vorrichtung und Verfahren zum Aufbereiten wenigstens eines Streifens aus Filtermaterial für die tabakverarbeitende Industrie

Publications (3)

Publication Number Publication Date
EP1325685A2 true EP1325685A2 (de) 2003-07-09
EP1325685A3 EP1325685A3 (de) 2004-05-12
EP1325685B1 EP1325685B1 (de) 2005-06-08

Family

ID=7711609

Family Applications (1)

Application Number Title Priority Date Filing Date
EP02027381A Expired - Lifetime EP1325685B1 (de) 2002-01-07 2002-12-09 Vorrichtung und Verfahren zum Aufbereiten wenigstens eines Streifens aus Filtermaterial für die tabakverarbeitende Industrie

Country Status (4)

Country Link
EP (1) EP1325685B1 (de)
AT (1) ATE297139T1 (de)
DE (2) DE10200326A1 (de)
PL (1) PL204896B1 (de)

Cited By (6)

* Cited by examiner, † Cited by third party
Publication number Priority date Publication date Assignee Title
JP2005211071A (ja) * 2004-01-29 2005-08-11 Hauni Maschinenbau Ag フィルタートウ条片の別個の弛緩および噴霧
DE102006011599A1 (de) * 2006-03-10 2007-09-13 Hauni Maschinenbau Ag Aufbereitung eines Filtermaterialstreifens der Tabak verarbeitenden Industrie
DE102006011587B4 (de) * 2006-03-10 2008-04-03 Hauni Maschinenbau Ag Aufbereitung eines Filtermaterialstreifens der Tabak verarbeitenden Industrie
DE102006011588B4 (de) * 2006-03-10 2008-04-10 Hauni Maschinenbau Ag Aufbereitung eines Filtermaterialstreifens der Tabak verarbeitenden Industrie
EP2255683A1 (de) 2009-05-26 2010-12-01 HAUNI Maschinenbau AG Aufbereitung eines Filtermaterialstreifens der Tabak verarbeitenden Industrie
CN103771140A (zh) * 2014-02-24 2014-05-07 龙岩烟草工业有限责任公司 滤棒成型机丝束飞花在线收集与称重装置及滤棒成型机

Citations (6)

* Cited by examiner, † Cited by third party
Publication number Priority date Publication date Assignee Title
US3255506A (en) 1963-02-20 1966-06-14 Eastman Kodak Co Tow treatment
US3317965A (en) 1964-09-11 1967-05-09 Osaka Kiko Kabushiki Kaisha Tow filament separating apparatus
US4259769A (en) 1978-04-05 1981-04-07 Hauni-Werke Korber & Co. Kg Method and apparatus for banding tows of filamentary material
US4313974A (en) 1978-04-05 1982-02-02 Hauni-Werke Korber & Co. Kg. Method of applying atomized liquid plasticizer to a running tow of filamentary filter material
US5590449A (en) 1993-11-24 1997-01-07 Hauni Maschinenbau Ag Apparatus for stretching plasticizing and gathering a tow of filter material for tobacco smoke
DE19811014A1 (de) 1998-03-13 1999-09-16 Hauni Maschinenbau Ag Verfahren und Vorrichtung zum Herstellen von Filterstäben für stabförmige Artikel der tabakverarbeitenden Industrie

Family Cites Families (4)

* Cited by examiner, † Cited by third party
Publication number Priority date Publication date Assignee Title
GB793114A (en) * 1955-08-09 1958-04-09 Peter Henry Julian Byk Improvements in or relating to filter plugs or wads
US4747814A (en) * 1986-07-23 1988-05-31 American Filtrona Corporation Fiber separator
GB9200904D0 (en) * 1992-01-16 1992-03-11 Molins Plc Cigarette filter manufacture
IT1272020B (it) * 1992-03-26 1997-06-10 Koerber Ag Procedimento e macchina per trattare materiale per un cordone di filtro.

Patent Citations (7)

* Cited by examiner, † Cited by third party
Publication number Priority date Publication date Assignee Title
US3255506A (en) 1963-02-20 1966-06-14 Eastman Kodak Co Tow treatment
US3317965A (en) 1964-09-11 1967-05-09 Osaka Kiko Kabushiki Kaisha Tow filament separating apparatus
US4259769A (en) 1978-04-05 1981-04-07 Hauni-Werke Korber & Co. Kg Method and apparatus for banding tows of filamentary material
US4313974A (en) 1978-04-05 1982-02-02 Hauni-Werke Korber & Co. Kg. Method of applying atomized liquid plasticizer to a running tow of filamentary filter material
US5590449A (en) 1993-11-24 1997-01-07 Hauni Maschinenbau Ag Apparatus for stretching plasticizing and gathering a tow of filter material for tobacco smoke
EP0654224B1 (de) 1993-11-24 2001-05-02 Hauni Maschinenbau Aktiengesellschaft Anordnung zum Aufbereiten eines Streifens aus Filtermaterial
DE19811014A1 (de) 1998-03-13 1999-09-16 Hauni Maschinenbau Ag Verfahren und Vorrichtung zum Herstellen von Filterstäben für stabförmige Artikel der tabakverarbeitenden Industrie

Cited By (12)

* Cited by examiner, † Cited by third party
Publication number Priority date Publication date Assignee Title
JP2005211071A (ja) * 2004-01-29 2005-08-11 Hauni Maschinenbau Ag フィルタートウ条片の別個の弛緩および噴霧
EP1559333A3 (de) * 2004-01-29 2007-03-21 Hauni Maschinenbau AG Separate Entspannung und Besprühung eines Filtertowstreifens
DE102006011599A1 (de) * 2006-03-10 2007-09-13 Hauni Maschinenbau Ag Aufbereitung eines Filtermaterialstreifens der Tabak verarbeitenden Industrie
DE102006011599B4 (de) * 2006-03-10 2007-12-20 Hauni Maschinenbau Ag Aufbereitung eines Filtermaterialstreifens der Tabak verarbeitenden Industrie
DE102006011587B4 (de) * 2006-03-10 2008-04-03 Hauni Maschinenbau Ag Aufbereitung eines Filtermaterialstreifens der Tabak verarbeitenden Industrie
DE102006011588B4 (de) * 2006-03-10 2008-04-10 Hauni Maschinenbau Ag Aufbereitung eines Filtermaterialstreifens der Tabak verarbeitenden Industrie
EP2255683A1 (de) 2009-05-26 2010-12-01 HAUNI Maschinenbau AG Aufbereitung eines Filtermaterialstreifens der Tabak verarbeitenden Industrie
CN101897477A (zh) * 2009-05-26 2010-12-01 豪尼机械制造股份公司 烟草加工业的过滤嘴原料条带的处理
DE102009022759A1 (de) 2009-05-26 2010-12-02 Hauni Maschinenbau Ag Aufbereitung eines Filtermaterialstreifens der Tabak verarbeitenden Industrie
CN101897477B (zh) * 2009-05-26 2015-09-09 豪尼机械制造股份公司 烟草加工业的过滤嘴原料条带的处理
CN103771140A (zh) * 2014-02-24 2014-05-07 龙岩烟草工业有限责任公司 滤棒成型机丝束飞花在线收集与称重装置及滤棒成型机
CN103771140B (zh) * 2014-02-24 2016-05-25 龙岩烟草工业有限责任公司 滤棒成型机丝束飞花在线收集与称重装置及滤棒成型机

Also Published As

Publication number Publication date
DE50203329D1 (de) 2005-07-14
PL204896B1 (pl) 2010-02-26
EP1325685B1 (de) 2005-06-08
DE10200326A1 (de) 2003-07-17
EP1325685A3 (de) 2004-05-12
ATE297139T1 (de) 2005-06-15
PL358113A1 (en) 2003-07-14

Similar Documents

Publication Publication Date Title
DE19751598B4 (de) Verfahren und Vorrichtung zum Behandeln eines Filtertowstreifens
EP0654224B1 (de) Anordnung zum Aufbereiten eines Streifens aus Filtermaterial
EP0941673B1 (de) Verfahren und Vorrichtung zum Herstellen von Filterstäben für stabförmige Artikel der tabakverarbeitenden Industrie
DE2430517A1 (de) Elektrostatische pulver-beschichtungsanlage
DE2623547A1 (de) Vorrichtung zum bilden eines tabakstranges
CH661707A5 (de) Verfahren und vorrichtung zur foerderung von faserfoermigen stoffen, insbesondere von in luft schwebend gefoerderten textilen faserflocken bei spinnereivorbereitungsmaschinen.
DE1815021C3 (de) Maschine zur Herstellung eines Wirrfaservlieses
DE2634250B2 (de) Verfahren und Vorrichtung zum Beschicken einer Karde mit Fasermaterial
EP1325685B1 (de) Vorrichtung und Verfahren zum Aufbereiten wenigstens eines Streifens aus Filtermaterial für die tabakverarbeitende Industrie
EP1169927B1 (de) Verfahren und Vorrichtung zum Herstellen von Filterstäben der tabakverarbeitenden Industrie
EP2255683B1 (de) Aufbereitung eines Filtermaterialstreifens der Tabak verarbeitenden Industrie
DE102004004688A1 (de) Separate Entspannung und Besprühung eines Filtertowstreifens
EP0535501A2 (de) Entstaubungsanlage für Maschinen
CH691380A5 (de) Vorrichtung zum Abscheiden von aufgelösten Faserflocken aus einem Luftstrom.
DE2339880A1 (de) Pneumatische reinigungsanlage der streckwerke in vorspinn- und spinnmaschinen
DE102004030171A1 (de) Vorrichtung und Verfahren zum Aufbereiten wenigstens eines Streifens aus Filtermaterial der Tabak verarbeitenden Industrie
DE19522995B4 (de) Vorrichtung zum Abscheiden von aufgelösten Faserflocken aus einem Luftstrom, z.B. Flockenbeschickung für eine Karde, Reiniger o. dgl.
DE2907747A1 (de) Pneumatische reinigungseinrichtung am einlauftisch einer spinnereimaschine
EP0374541A2 (de) Verfahren zur Reinigung eines Kardenbandes
DE3532471A1 (de) Fahrbare pneumatische vorrichtung zum absaugen und abblasen von faserflug bei textilmaschinen
DE102005051523A1 (de) Vorrichtung und Verfahren zum Aufbereiten wenigstens eines Streifens aus Filtermaterial der Tabak verarbeitenden Industrie
EP1692957A1 (de) Aufbereitung eines Streifens aus Filtermaterial der Tabak verarbeitenden Industrie
CH246960A (de) Einrichtung an Spinnmaschinen zum Abführen von Staub, Flaum und losen Fäden.
EP2080440B1 (de) Vorrichtung zum Transport von Tow
DE102009022790A1 (de) Vorrichtung zur Bearbeitung mindestens eines Filtertowstranges

Legal Events

Date Code Title Description
PUAI Public reference made under article 153(3) epc to a published international application that has entered the european phase

Free format text: ORIGINAL CODE: 0009012

AK Designated contracting states

Designated state(s): AT BE BG CH CY CZ DE DK EE ES FI FR GB GR IE IT LI LU MC NL PT SE SI SK TR

AX Request for extension of the european patent

Extension state: AL LT LV MK RO

PUAL Search report despatched

Free format text: ORIGINAL CODE: 0009013

AK Designated contracting states

Kind code of ref document: A3

Designated state(s): AT BE BG CH CY CZ DE DK EE ES FI FR GB GR IE IT LI LU MC NL PT SE SI SK TR

AX Request for extension of the european patent

Extension state: AL LT LV MK RO

GRAP Despatch of communication of intention to grant a patent

Free format text: ORIGINAL CODE: EPIDOSNIGR1

17P Request for examination filed

Effective date: 20041014

AKX Designation fees paid

Designated state(s): AT BE BG CH CY CZ DE DK EE ES FI FR GB GR IE IT LI LU MC NL PT SE SI SK TR

RIN1 Information on inventor provided before grant (corrected)

Inventor name: PEHMOELLER, JUERGEN

Inventor name: MOJE, JENS

Inventor name: DITOMBEE, HARALD

Inventor name: PETERS, STEPHAN

Inventor name: FRICKE, VOLKER

Inventor name: MEINS, THOMAS

Inventor name: GLOGASA, JOACHIM

Inventor name: WOLFF, STEPHAN

Inventor name: ARNOLD, PETER-FRANZ

Inventor name: HORN, SOENKE

GRAS Grant fee paid

Free format text: ORIGINAL CODE: EPIDOSNIGR3

GRAA (expected) grant

Free format text: ORIGINAL CODE: 0009210

AK Designated contracting states

Kind code of ref document: B1

Designated state(s): AT BE BG CH CY CZ DE DK EE ES FI FR GB GR IE IT LI LU MC NL PT SE SI SK TR

PG25 Lapsed in a contracting state [announced via postgrant information from national office to epo]

Ref country code: IE

Free format text: LAPSE BECAUSE OF FAILURE TO SUBMIT A TRANSLATION OF THE DESCRIPTION OR TO PAY THE FEE WITHIN THE PRESCRIBED TIME-LIMIT

Effective date: 20050608

Ref country code: EE

Free format text: LAPSE BECAUSE OF FAILURE TO SUBMIT A TRANSLATION OF THE DESCRIPTION OR TO PAY THE FEE WITHIN THE PRESCRIBED TIME-LIMIT

Effective date: 20050608

Ref country code: FI

Free format text: LAPSE BECAUSE OF FAILURE TO SUBMIT A TRANSLATION OF THE DESCRIPTION OR TO PAY THE FEE WITHIN THE PRESCRIBED TIME-LIMIT

Effective date: 20050608

Ref country code: TR

Free format text: LAPSE BECAUSE OF FAILURE TO SUBMIT A TRANSLATION OF THE DESCRIPTION OR TO PAY THE FEE WITHIN THE PRESCRIBED TIME-LIMIT

Effective date: 20050608

Ref country code: CZ

Free format text: LAPSE BECAUSE OF FAILURE TO SUBMIT A TRANSLATION OF THE DESCRIPTION OR TO PAY THE FEE WITHIN THE PRESCRIBED TIME-LIMIT

Effective date: 20050608

Ref country code: SI

Free format text: LAPSE BECAUSE OF FAILURE TO SUBMIT A TRANSLATION OF THE DESCRIPTION OR TO PAY THE FEE WITHIN THE PRESCRIBED TIME-LIMIT

Effective date: 20050608

Ref country code: SK

Free format text: LAPSE BECAUSE OF FAILURE TO SUBMIT A TRANSLATION OF THE DESCRIPTION OR TO PAY THE FEE WITHIN THE PRESCRIBED TIME-LIMIT

Effective date: 20050608

REG Reference to a national code

Ref country code: GB

Ref legal event code: FG4D

Free format text: NOT ENGLISH

REG Reference to a national code

Ref country code: CH

Ref legal event code: EP

GBT Gb: translation of ep patent filed (gb section 77(6)(a)/1977)

Effective date: 20050608

REF Corresponds to:

Ref document number: 50203329

Country of ref document: DE

Date of ref document: 20050714

Kind code of ref document: P

REG Reference to a national code

Ref country code: IE

Ref legal event code: FG4D

Free format text: LANGUAGE OF EP DOCUMENT: GERMAN

PG25 Lapsed in a contracting state [announced via postgrant information from national office to epo]

Ref country code: BG

Free format text: LAPSE BECAUSE OF FAILURE TO SUBMIT A TRANSLATION OF THE DESCRIPTION OR TO PAY THE FEE WITHIN THE PRESCRIBED TIME-LIMIT

Effective date: 20050908

Ref country code: SE

Free format text: LAPSE BECAUSE OF FAILURE TO SUBMIT A TRANSLATION OF THE DESCRIPTION OR TO PAY THE FEE WITHIN THE PRESCRIBED TIME-LIMIT

Effective date: 20050908

Ref country code: DK

Free format text: LAPSE BECAUSE OF FAILURE TO SUBMIT A TRANSLATION OF THE DESCRIPTION OR TO PAY THE FEE WITHIN THE PRESCRIBED TIME-LIMIT

Effective date: 20050908

Ref country code: GR

Free format text: LAPSE BECAUSE OF FAILURE TO SUBMIT A TRANSLATION OF THE DESCRIPTION OR TO PAY THE FEE WITHIN THE PRESCRIBED TIME-LIMIT

Effective date: 20050908

PG25 Lapsed in a contracting state [announced via postgrant information from national office to epo]

Ref country code: ES

Free format text: LAPSE BECAUSE OF FAILURE TO SUBMIT A TRANSLATION OF THE DESCRIPTION OR TO PAY THE FEE WITHIN THE PRESCRIBED TIME-LIMIT

Effective date: 20050919

PG25 Lapsed in a contracting state [announced via postgrant information from national office to epo]

Ref country code: PT

Free format text: LAPSE BECAUSE OF FAILURE TO SUBMIT A TRANSLATION OF THE DESCRIPTION OR TO PAY THE FEE WITHIN THE PRESCRIBED TIME-LIMIT

Effective date: 20051114

PG25 Lapsed in a contracting state [announced via postgrant information from national office to epo]

Ref country code: CY

Free format text: LAPSE BECAUSE OF FAILURE TO SUBMIT A TRANSLATION OF THE DESCRIPTION OR TO PAY THE FEE WITHIN THE PRESCRIBED TIME-LIMIT

Effective date: 20051209

Ref country code: AT

Free format text: LAPSE BECAUSE OF NON-PAYMENT OF DUE FEES

Effective date: 20051209

PG25 Lapsed in a contracting state [announced via postgrant information from national office to epo]

Ref country code: BE

Free format text: LAPSE BECAUSE OF NON-PAYMENT OF DUE FEES

Effective date: 20051231

Ref country code: LU

Free format text: LAPSE BECAUSE OF NON-PAYMENT OF DUE FEES

Effective date: 20051231

Ref country code: MC

Free format text: LAPSE BECAUSE OF NON-PAYMENT OF DUE FEES

Effective date: 20051231

REG Reference to a national code

Ref country code: IE

Ref legal event code: FD4D

PLBE No opposition filed within time limit

Free format text: ORIGINAL CODE: 0009261

STAA Information on the status of an ep patent application or granted ep patent

Free format text: STATUS: NO OPPOSITION FILED WITHIN TIME LIMIT

26N No opposition filed

Effective date: 20060309

EN Fr: translation not filed
PG25 Lapsed in a contracting state [announced via postgrant information from national office to epo]

Ref country code: FR

Free format text: LAPSE BECAUSE OF FAILURE TO SUBMIT A TRANSLATION OF THE DESCRIPTION OR TO PAY THE FEE WITHIN THE PRESCRIBED TIME-LIMIT

Effective date: 20060804

PG25 Lapsed in a contracting state [announced via postgrant information from national office to epo]

Ref country code: CH

Free format text: LAPSE BECAUSE OF NON-PAYMENT OF DUE FEES

Effective date: 20061231

Ref country code: LI

Free format text: LAPSE BECAUSE OF NON-PAYMENT OF DUE FEES

Effective date: 20061231

REG Reference to a national code

Ref country code: CH

Ref legal event code: PL

BERE Be: lapsed

Owner name: HAUNI MASCHINENBAU A.G.

Effective date: 20051231

PG25 Lapsed in a contracting state [announced via postgrant information from national office to epo]

Ref country code: FR

Free format text: LAPSE BECAUSE OF FAILURE TO SUBMIT A TRANSLATION OF THE DESCRIPTION OR TO PAY THE FEE WITHIN THE PRESCRIBED TIME-LIMIT

Effective date: 20050608

PGFP Annual fee paid to national office [announced via postgrant information from national office to epo]

Ref country code: GB

Payment date: 20081217

Year of fee payment: 7

GBPC Gb: european patent ceased through non-payment of renewal fee

Effective date: 20091209

PG25 Lapsed in a contracting state [announced via postgrant information from national office to epo]

Ref country code: GB

Free format text: LAPSE BECAUSE OF NON-PAYMENT OF DUE FEES

Effective date: 20091209

PGFP Annual fee paid to national office [announced via postgrant information from national office to epo]

Ref country code: NL

Payment date: 20141218

Year of fee payment: 13

PGFP Annual fee paid to national office [announced via postgrant information from national office to epo]

Ref country code: IT

Payment date: 20141218

Year of fee payment: 13

PGFP Annual fee paid to national office [announced via postgrant information from national office to epo]

Ref country code: DE

Payment date: 20141222

Year of fee payment: 13

REG Reference to a national code

Ref country code: DE

Ref legal event code: R119

Ref document number: 50203329

Country of ref document: DE

REG Reference to a national code

Ref country code: NL

Ref legal event code: MM

Effective date: 20160101

PG25 Lapsed in a contracting state [announced via postgrant information from national office to epo]

Ref country code: DE

Free format text: LAPSE BECAUSE OF NON-PAYMENT OF DUE FEES

Effective date: 20160701

Ref country code: NL

Free format text: LAPSE BECAUSE OF NON-PAYMENT OF DUE FEES

Effective date: 20160101

PG25 Lapsed in a contracting state [announced via postgrant information from national office to epo]

Ref country code: IT

Free format text: LAPSE BECAUSE OF NON-PAYMENT OF DUE FEES

Effective date: 20151209