EP1155643A2 - Stützvorrichtung - Google Patents

Stützvorrichtung Download PDF

Info

Publication number
EP1155643A2
EP1155643A2 EP01111560A EP01111560A EP1155643A2 EP 1155643 A2 EP1155643 A2 EP 1155643A2 EP 01111560 A EP01111560 A EP 01111560A EP 01111560 A EP01111560 A EP 01111560A EP 1155643 A2 EP1155643 A2 EP 1155643A2
Authority
EP
European Patent Office
Prior art keywords
elements
spring
adjusting
adjustment
individual
Prior art date
Legal status (The legal status is an assumption and is not a legal conclusion. Google has not performed a legal analysis and makes no representation as to the accuracy of the status listed.)
Granted
Application number
EP01111560A
Other languages
English (en)
French (fr)
Other versions
EP1155643B1 (de
EP1155643A3 (de
Inventor
Florian Dr. Heidinger
Bodo F. Dr. Jaspert
Gregor Diemer
Edwin Jereb
Current Assignee (The listed assignees may be inaccurate. Google has not performed a legal analysis and makes no representation or warranty as to the accuracy of the list.)
Diemer and Dr Jaspert GbR
Original Assignee
Individual
Priority date (The priority date is an assumption and is not a legal conclusion. Google has not performed a legal analysis and makes no representation as to the accuracy of the date listed.)
Filing date
Publication date
Application filed by Individual filed Critical Individual
Publication of EP1155643A2 publication Critical patent/EP1155643A2/de
Publication of EP1155643A3 publication Critical patent/EP1155643A3/de
Application granted granted Critical
Publication of EP1155643B1 publication Critical patent/EP1155643B1/de
Anticipated expiration legal-status Critical
Expired - Lifetime legal-status Critical Current

Links

Images

Classifications

    • AHUMAN NECESSITIES
    • A47FURNITURE; DOMESTIC ARTICLES OR APPLIANCES; COFFEE MILLS; SPICE MILLS; SUCTION CLEANERS IN GENERAL
    • A47CCHAIRS; SOFAS; BEDS
    • A47C23/00Spring mattresses with rigid frame or forming part of the bedstead, e.g. box springs; Divan bases; Slatted bed bases
    • A47C23/002Spring mattresses with rigid frame or forming part of the bedstead, e.g. box springs; Divan bases; Slatted bed bases with separate resilient support elements, e.g. elastomeric springs arranged in a two-dimensional matrix pattern

Definitions

  • the present invention relates to a support device, in particular Mattress, cushion element or spring base therefor, with several at least provided in a region of the support device Single support elements that have an almost punctual resolution of the Cause support surface in terms of their spring property, and several, at least part of the individual support elements, optionally activatable adjustment elements for adjusting the spring properties, in particular the spring hardness and / or the spring travel of the individual support elements.
  • Such individual support elements are used for spring mattresses and upholstered furniture known for a long time. But also with spring frames for mattresses have been such individual support elements instead of the conventional for some time Slats used. Especially in the shoulder and pelvic area can be immersed deeper through the selective support and so that an improvement in lying comfort can be achieved.
  • spring frames also have individual support elements an adjustment option for individual adjustment the spring properties desirable.
  • the individual support elements Interchangeable design, so that for example a softer single support element can be exchanged for a harder one can and vice versa.
  • individual support elements to provide elements with an open form that are inserted into this form can and thus the spring travel or the spring hardness of the individual support element change.
  • clip-in clamping devices there are also individual support elements known with clip-in clamping devices.
  • the invention has for its object the adjustment of To improve support devices of the type mentioned. In particular, should individual adaptation can be facilitated.
  • the Handling simplified. Two or more adjustment elements can be used be activated together, for example by the individual support elements in a certain area of the support surface, the uniform requirements subject to be adjusted together. This eliminates one Individual setting to the same values among each other and it is guaranteed that in such an area they are actually always the same Values can be set.
  • the adjustment elements can be used in support devices Single support elements, which are arranged in columns and rows, or columns can be activated together line by line. This will be an adjustment option created that like conventional slatted frames on one Line acts across the entire width of the support surface.
  • the adjustment function is not only easier for the user to carry out, but also from the effect also easier to grasp, since it is based on previous experience matches with slatted frames.
  • Activation device can be activated together. This allows advantageously entire areas of the support surface individually at the same time be adjusted. For example, the shoulder and / or the Pelvic area with two or more rows of individual support elements be individually adjustable together.
  • the adjustment elements can be permanently installed in the support device and can be activated quickly and easily. But you can too be designed to be activated for activation only in the support device. This makes it possible, for example, to create the adjustment elements can be used at various locations on the support surface bring to.
  • the spring travel and / or spring hardness can be configured be gradually adjustable according to the invention. With just two steps created an effective and easy-to-use adjustment option become.
  • the spring travel and / or spring hardness continuously adjustable over at least one area. This creates a particularly high variability in spring properties created. Nevertheless, the adjustment device remains due to the common adjustability of the individual support elements easy to handle.
  • One way to change the spring properties is the adjusting elements for adjusting the spring hardness and / or the spring travel as an adjustment body that can be attached to the individual support elements from the outside to train.
  • These adjustment bodies are both for individual support elements with open form as well as with single support elements with closed Form can be used.
  • the adjustment body can be elastic or rigid be trained. With elastic training change the created Adjustment body the spring hardness and thus the spring characteristic. With rigid Training can additionally or alternatively the spring travel of the individual support elements to be changed.
  • the adjustment elements can also be used as open Form of the individual support elements insertable adjustment body.
  • the adjustment bodies can be elastic or rigid his. With an elastic configuration, the spring hardness changes again and thus the spring characteristic of the individual support elements. With rigid Training changes the travel, the individual support elements can also be blocked completely or partially.
  • the adjusting elements can each be designed to be displaceable his.
  • the adjustment elements in line or Column direction or perpendicular to that spanned by these two directions Level, so perpendicular to the support surface, adjustable his.
  • Another possibility is to twist the adjustment elements, in particular about an axis perpendicular to the supporting surface, or by Pivoting, in particular about an axis lying in the support surface, to activate.
  • Another possibility is to adjust the adjustment elements by increasing the volume to activate.
  • the adjustment elements are activated in particular mechanically. she can also be done electrically, hydraulically or pneumatically. At The adjustment elements that can be activated together become mechanical adjustment connected by rods, shafts or similar means. With hydraulically or pneumatically activated adjustment elements the jointly activatable adjusting elements are preferably hydraulic or connected pneumatically.
  • the adjustment elements can in particular be reinforced by material act at least a part of the individual support elements. For example elastic elements are placed on the spring legs of the individual support elements, which are then deformed together with the respective spring leg.
  • the adjustment elements can also be blocked by blocking at least one Part of the individual support elements act. In particular, with multi-stage Spring elements are blocked individual stages. So one can three-stage spring characteristic in a two-stage or a two-stage in one single-stage spring characteristic can be adjusted.
  • a single-stage spring characteristic can also be activated the adjustment elements changed into a two-stage or multi-stage spring characteristic become.
  • an annular spring element second annular spring element of lower height are used and thereby forming a second stage.
  • the activated adjustment elements can also only start from a certain one Spring travel come into effect. So with single support elements with several annular spring elements arranged side by side individual annular spring elements depending on the Activation of the adjustment elements after a longer or shorter first Actuate travel.
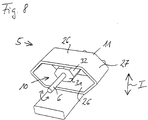
  • Fig. 1 shows an embodiment of the invention designed as a spring base for a mattress Support device with a frame 1, the leg 2 comprise a lying surface 3, over which a plurality of elastic Individual support elements 4 is arranged distributed.
  • a point-elastic support is realized, especially in a lateral position a particularly deep immersion of the shoulder and pelvis enables, while a normal immersion is given in reserve.
  • the individual support elements 4 are arranged in rows and columns the rows parallel to the short legs 2 of the frame 1 and the Columns run perpendicular to this.
  • the individual support elements 4 include an annular spring body which, for example, on a base a cross bar, which is supported and carries a flat support plate which the mattress rests on.
  • the ring planes of the spring bodies 5 of the individual support elements 4 each extend perpendicular to the alignment of the rows. That way you can the spring body penetrated by a common adjusting rod 6 be in the transverse direction, i.e. parallel to the short sides 2 of the Frame 1 is stored. In fact, however, are only in the shoulder area here 7 and in the pool area 8 such adjustment rods 6 are arranged, while the remaining areas 9 have no such adjustment rods. In principle, however, they can also be provided there.
  • the adjustment rods 6 carry adjustment elements 10 and are in their longitudinal direction between a first position and a second position slidably guided.
  • the adjustment elements 10 In the first position of the adjusting rods 6 shown in FIG. 1 the adjustment elements 10, each of which is a single support element 4 is assigned, laterally next to the associated annular Spring body 5 and have no influence on this.
  • the adjustment elements 10 In the second Position which is achieved by longitudinally displacing the adjusting rod 6, are the adjustment elements 10 within the annular spring body 5 and thereby influence its spring properties.
  • the adjustment elements 10 can be designed as an elastic ring be, which rests on the inside of the annular spring body 5 and its This increases spring hardness.
  • the displacement mechanism for the adjusting rods 6 can basically can be realized arbitrarily.
  • the adjustment rods 6 of an area, for example the shoulder area 7 and / or the pelvic area 8 be coupled so that they are automatically adjustable together.
  • a whole area 7, 8 can thus be individually customized in a simple manner Spring properties can be adapted to the needs.
  • Fig. 2 shows an embodiment of a solid adjustment body Adjustment element 10 in a single support element 4 with a Spring body 5, each of the two arranged one above the other the shape of an elongated hexagon rings 11, 12.
  • the Adjustment element 10 also has the shape of an elongated hexagon on and is arranged on an adjusting rod 6, which is perpendicular extends to the ring plane of the lower ring 11 therethrough.
  • the adjusting rod 6 carries further adjusting elements, not shown here 10, the number of which in particular the number of individual support elements 4 one Row of individual support elements arranged next to one another in a frame 1 4 corresponds.
  • the adjustment rod 6 is in the first position shown in FIG. 2a the adjusting element 10 outside the lower ring 11. The same applies to the other adjusting elements of the adjusting rod, not shown here 6 in relation to the individual support elements 4 assigned to them.
  • 2b shows the second position of the adjusting rod 6, in which the adjusting element is 10 is located within the lower ring 11. As you can see, is the adjusting element 10 on the lower longitudinal side 13 and the upper Long side 14 of the lower ring 11.
  • Fig. 3 shows a variant of the adjusting elements 10, which also with individual support elements 4 can be used with a spring body, which two superimposed, the shape of an elongated hexagon having rings 11, 12 comprises.
  • the adjusting element 10 is also here massive adjustment body designed and with a corresponding number further adjustment elements, not shown here, on an adjustment rod 6 arranged.
  • the adjustment rod 6 is not in its longitudinal direction displaceable, but rotatably mounted about its longitudinal axis, and the adjusting elements 10 are always within the lower ring 11.
  • the adjusting element In the first rotational position of the adjusting rod 6 shown in FIG. 3a is the adjusting element, which is designed as a flat, approximately cuboid body 10 with its two narrow sides 17 on the lower long side 13 and the upper longitudinal side 14 of the lower ring 11 from the inside on. With a rigid design of the adjusting element 10, the lower ring 11 blocked, so that the spring properties of the spring body 5 can only be determined by the upper ring 12. In addition, the travel is shortened accordingly. With an elastic configuration of the adjusting element 10, the adjusting element 10 determines the spring properties of the Spring body 5 in addition to the rings 11 and 12 with. The maximum Travel is only slightly shortened.
  • the adjusting element 10 In the second rotational position of the adjusting rod 6 shown in FIG. 3b the adjusting element 10 is not on the lower ring 11, but the Broad sides 18 of the adjusting element 10 now lie on the long sides 13 and 14 of the ring 11 at a distance from each other.
  • the lower ring 11 is therefore not blocked or the adjusting element 10 has no influence on the Spring hardness. This is therefore only determined by the two rings 11 and 12.
  • the maximum travel is essentially determined by the adjustment rod 6 determines which the compression of the lower ring 11 at Applying a force in the direction of arrow I limited. Via the adjustment rod 6 can also the spring body 5 of the individual support elements 4th a whole series can be adjusted together.
  • Fig. 4 shows a spring body 5 of a single support element 4 with three side by side arranged, the shape of an elongated hexagon having rings 19, the ring planes of which run parallel to one another and which are integrally connected to one another with their upper longitudinal sides 20 are.
  • the two outer rings 19 are each on a support surface 21 supported, while the middle ring 19 shown in Fig. 4a Situation is unsupported.
  • the middle ring 19 is also assigned a support surface 22 which is spaced from the central ring 19 and therefore only after a first spring travel to effect is coming.
  • the support surface assigned to the middle ring 19 is now 22 between the first position shown in Fig. 4a and in Fig. 4b shown second position adjustable, the adjustment at least together with at least one further support surface of this type another spring body of an individual support element 4, however, this is not shown in FIG. 4.
  • the support surface 22 is spaced as described to the middle ring 19.
  • the support surface 22 is already without a first spring travel on the middle ring 19 so that the spring hardness of the spring body 5 determined in this position from the start by all three rings 19 becomes.
  • the support surface 22 can between one single-stage and a two-stage spring characteristic of the spring body selected become.
  • the ratio of the first spring travel can be varied for the second travel.
  • the common adjustment of the spring body 5 of several individual support elements 4 can basically be done in any way.
  • the support surfaces 22 connected to each other via an adjusting rod be between a first position in which the support surfaces 22 are spaced from the associated middle rings 19, and one second position, in which they rest against it, guided is.
  • the support surfaces 22 can also simply be in one piece with one another be formed when the spring body 5 is arranged in a row accordingly are.
  • FIG. 5 Another variant of an adjusting element 10 for use with a Spring body 5, which has the shape of an elongated, hexagonal Has ring 11 is shown in Fig. 5.
  • the adjusting element 10 has here also the shape of an elongated, hexagonal ring 23 and is designed so that the adjusting element 10 is inserted into the ring 11 and the long sides 24 and the narrow sides 25 of the hexagonal ring 23 from the inside on the corresponding sides 26, 27 of the ring 11 abut.
  • Fig. 5b This inserted position of the adjusting element 10 is shown in Fig. 5b, 5a shows the extended position of the adjusting element 10 shows.
  • the spring hardness of the Spring body 5 together through the ring 11 and the adjusting element 10 determined, while in the extended position of Fig. 5a alone Ring 11 sets the spring hardness.
  • the travel is practical in both cases equal.
  • the common adjustment of the rings 23 of several spring bodies 5 can again be done in any way, for example via an adjusting rod connecting the adjusting elements 10.
  • the variant of an adjusting element 10 shown in FIG. 6 is similar the variant shown in Fig. 5.
  • the ring 23 of the adjusting element 10 is smaller than the free opening cross section of the ring 11 of the spring body 5, that is in the retracted position does not abut on all sides of the ring 11 from the inside. Rather lies only the lower long side 24 of the ring 23 on the lower long side 26 of the ring 11.
  • the adjusting element is in the retracted position 10 created a two-stage spring characteristic.
  • the adjusting element 10 only takes effect after a first spring travel and determines the spring hardness of the Spring body 5 with.
  • In the extended position of the adjustment element 10, on the other hand is a single-stage spring characteristic.
  • the adjustment of the Adjustment element 10 also takes place here in principle in any way Way together with further adjusting elements 10.
  • the variant of the adjusting element 10 shown in FIG. 7 can also between a single-stage and a two-stage spring characteristic to get voted.
  • the adjusting element 10 is here as a diamond-shaped ring 28 formed within the ring 11 forming the spring body 5 about an axis perpendicular to its ring surface rotatably arranged in the ring 11 is.
  • the ring 28 In the first position of the adjusting element shown in FIG. 7a 10 is the ring 28 with the lying on its major axis flattened tips 29 from the inside on the two long sides 26 of the ring 11 on and therefore determines the spring hardness during the entire spring travel of the spring body 4a.
  • FIG. 8 shows an adjusting element 10 in the form of an octagonal disk 31, which is centered on a ring 11, which is also hexagonal here, of a spring body 5 through adjusting rod 6 is arranged.
  • adjusting rod 6 By twisting the adjusting rod 6 changes the distance between the peripheral surface 32 of the disk 31 and the two long sides 26 of the ring 11.
  • the travel of the ring 11 With a rigid disk 31, the travel of the ring 11 can be in three Levels can be adjusted.
  • elastic disc 31 in which case the Washer 31, the spring hardness of the spring body 5 after covering a first Co-travel determines the length of the first travel can be adjusted in three stages.
  • the adjustment rod 6 carries here again several washers 31 around at least two spring bodies 5 to adjust together.
  • Fig. 9 shows an adjusting element 10, which from the outside to a spring body 5 can be created.
  • the spring body again in the form of an elongated, hexagonal ring 11.
  • the adjusting element 10 is modeled on the lower half of the ring 11 and arranged approximately at their height.
  • By moving perpendicular to The plane of the ring 11 can be the adjusting element 10 from the in Fig. 9a shown first position in the second position shown in Fig. 9b to be brought.
  • the adjusting element 10 could also be directly below of the ring 11 arranged and by moving in the ring plane perpendicular to the longitudinal sides 26 of the ring 11 in the engaged position are brought from Fig. 9b.
  • the adjustment element is in the first position 10 out of engagement with the ring 11 so that the spring hardness of Spring body 5 is determined solely by the ring 11.
  • In the second Position of the adjusting element 10 lies on the ring 11 from below and therefore determines the spring hardness of the spring body 5. The travel is not influenced by the adjusting element 10.
  • the adjusting element 10 is common here with at least one additional adjusting element in principle operated in any way.
  • FIG. 10 shows an adjusting element 10, which is connected to the adjusting element 10 9 corresponds.
  • the adjustment between that shown in Fig. 10a Engagement position with the spring body 5 and that shown in Fig. 10b Disengaged position takes place here by turning the Adjusting element 10 about an axis extending in spring direction I.
  • the adjustment is again carried out together in a fundamentally arbitrary manner with at least one additional adjustment element.
  • Adjustment element 10 formed in two parts. And that exists Adjustment element 10 from two wedges 33, which between the one shown in Fig. 11a Disengaged position and the engagement position shown in Fig. 11b are pivotable. The wedges 33 are in the engaged position on the two lower narrow sides 27 of the ring 11 and determine thereby the spring properties of the spring body 5 with.
  • Fig. 12 finally shows a variant in which an elastic on the Spring body 5 biased adjustment element 10 is provided.
  • the spring body 5 has the shape of a elongated hexagonal ring 11, against its lower narrow sides 27 the adjusting element 10 is biased with two corresponding sides 34 is.
  • these sides 34 of the adjusting element 10 against the biasing force of the narrow sides 27 of the ring 11 are moved away and kept away.
  • the spring hardness of the spring body 5 determined solely by the ring 11.
  • engagement position of the adjusting element 10 is the spring hardness on the other hand additionally determined by the prestressed adjusting element 10. The adjustment is again made in any way Way together with at least one other adjusting element.
  • the jointly adjustable adjusting elements 10 can easily adjust the spring hardness of Single support elements 4 are made.
  • the formation of the adjustment elements 10 is basically arbitrary.
  • the variants shown and embodiments can also fundamentally with one another can be combined as desired.
  • the adjustment elements 10 are adjusted mechanically in particular. But it can also be electro-motorized, hydraulic or pneumatic respectively. The adjustment can in all cases depend on the spring hardness and / or get the travel. In addition, the level of the spring characteristic to be changed.
  • the adjustment elements 10 are either for this rigid or elastic. You can, as can the spring body 5 consist in particular of metal or plastic, or also Wood. Basically, a height adjustment of the spring body 4a possible via the adjusting elements 10 according to the invention.
  • the invention can be applied in particular, as shown in FIG. 1, for slat bases for mattresses, but also in mattresses themselves or in upholstery elements as well as in the seat or the back of seating furniture.
  • the jointly adjustable individual support elements 4 is only provided in certain areas of the support surface. It can provide only a part of the support surface with individual support elements 4 be, in particular the shoulder and / or pelvic area of a lying surface, while other support means such as slats are arranged are.

Landscapes

  • Springs (AREA)
  • Mattresses And Other Support Structures For Chairs And Beds (AREA)
  • Diaphragms For Electromechanical Transducers (AREA)
  • Physical Deposition Of Substances That Are Components Of Semiconductor Devices (AREA)
  • Seal Device For Vehicle (AREA)
  • Orthopedics, Nursing, And Contraception (AREA)

Abstract

Die Erfindung betrifft eine Stützvorrichtung, insbesondere Matratze, Polsterelement oder Unterfederung hierfür, mit mehreren mindestens in einem Bereich der Stützvorrichtung vorgesehenen elastischen Einzelstützelementen (4), die eine annähernd punktuelle Auflösung der Stützfläche hinsichtlich ihrer Federeigenschaft bewirken, und mehreren, mindestens einem Teil der Einzelstützelemente (4) zugeordneten, wahlweise aktivierbaren Verstellelementen (10) zur Verstellung der Federeigenschaften, insbesondere der Federhärte und/oder des Federweges der Einzelstützelemente (4), wobei zur Verbesserung der Verstellmöglichkeit der Einzelstützelemente die Verstellelemente (10) zumindest teilweise gemeinsam aktivierbar sind.

Description

Die vorliegende Erfindung betrifft eine Stützvorrichtung, insbesondere Matratze, Polsterelement oder Unterfederung hierfür, mit mehreren mindestens in einem Bereich der Stützvorrichtung vorgesehenen elastischen Einzelstützelementen, die eine annähernd punktuelle Auflösung der Stützfläche hinsichtlich ihrer Federeigenschaft bewirken, und mehreren, mindestens einem Teil der Einzelstützelemente zugeordneten, wahlweise aktivierbaren Verstellelementen zur Verstellung der Federeigenschaften, insbesondere der Federhärte und/oder des Federweges der Einzelstützelemente.
Bei Federkernmatratzen und Polstermöbeln sind solche Einzelstützelemente seit langem bekannt. Aber auch bei Federrahmen für Matratzen werden seit einiger Zeit derartige Einzelstützelemente anstelle der herkömmlichen Latten eingesetzt. Insbesondere im Schulter- und Beckenbereich kann durch die punktuelle Abstützung ein tieferes Eintauchen und damit eine Verbesserung des Liegekomforts erreicht werden.
Wie bei herkömmlichen Lattenrosten ist auch bei Federrahmen mit Einzelstützelementen eine Einstellmöglichkeit zur individuellen Anpassung der Federeigenschaften wünschenswert. Hierfür ist es bekannt, die Einzelstützelemente austauschbar auszugestalten, so daß beispielsweise ein weicheres Einzelstützelement gegen ein härteres ausgetauscht werden kann und umgekehrt. Außerdem ist es bekannt, bei Einzelstützelementen mit offener Form Elemente vorzusehen, die in diese Form eingefügt werden können und die dadurch den Federweg oder die Federhärte des Einzelstützelementes verändern. Schließlich sind auch Einzelstützelemente mit einklipsbaren Spannvorrichtungen bekannt.
Der Erfindung liegt die Aufgabe zugrunde, die Einstellmöglichkeit von Stützvorrichtungen der genannten Art zu verbessern. Insbesondere soll die individuelle Anpassung erleichtert werden.
Diese Aufgabe wird dadurch gelöst, daß die Verstellelemente zumindest teilweise gemeinsam aktivierbar sind.
Durch die gemeinsame Aktivierbarkeit der Einzelstützelemente wird die Handhabung vereinfacht. Dabei können zwei oder mehr Verstellelemente gemeinsam aktivierbar sein, beispielsweise indem die Einzelstützelemente in einem bestimmten Bereich der Stützfläche, die einheitlichen Anforderungen unterliegen, gemeinsam verstellt werden. Dadurch entfällt eine Einzeleinstellung auf untereinander gleiche Werte und es wird gewährleistet, daß in solchen Bereich tatsächlich auch stets untereinander gleiche Werte eingestellt werden.
Beispielsweise können die Verstellelemente bei Stützvorrichtungen mit Einzelstützelementen, die in Spalten und Zeilen angeordnet sind, spalten-oder zeilenweise gemeinsam aktivierbar sein. Damit wird eine Verstellmöglichkeit geschaffen, die wie bei herkömmlichen Lattenrosten auf einer Linie über die gesamte Breite der Stützfläche wirkt. Die Verstellfunktion ist dadurch für den Nutzer nicht nur leichter durchführbar, sondern von der Wirkung her auch leichter erfaßbar, da sie mit der bisherigen Erfahrung bei Lattenrosten übereinstimmt.
Es können jeweils auch mehrere Zeilen oder Spalten durch eine kombinierte Aktivierungsvorrichtung gemeinsam aktivierbar sein. Dadurch können vorteilhafterweise ganze Bereiche der Stützfläche gleichzeitig individuell angepaßt werden. Beispielsweise können der Schulter- und/oder der Beckenbereich mit jeweils zwei oder mehr Zeilen aus Einzelstützelementen gemeinsam individuell verstellbar sein.
Die Verstellelemente können in der Stützvorrichtung fest installiert und dadurch schnell und problemlos aktivierbar sein. Sie können aber auch zur Aktivierung erst in die Stützvorrichtung einsetzbar ausgebildet sein. Damit kann beispielsweise die Möglichkeit geschaffen werden, die Verstellelemente wahlweise an verschiedenen Orten der Stützfläche zum Einsatz zu bringen.
Die Federwege und/oder Federhärten können nach einer Ausgestaltung der Erfindung stufenweise einstellbar sein. Bereits mit zwei Stufen kann eine wirksame und einfach handhabbare Verstellmöglichkeit geschaffen werden.
Nach einer weiteren Ausgestaltung der Erfindung sind die Federwege und/oder Federhärten über mindestens einen Bereich kontinuierlich einstellbar. Dadurch wird eine besonders hohe Variabilität der Federeigenschaften geschaffen. Dennoch bleibt die Einstellvorrichtung aufgrund der gemeinsamen Verstellbarkeit der Einzelstützelemente gut handhabbar.
Eine Möglichkeit der Veränderung der Federeigenschaften besteht darin, die Verstellelemente zur Verstellung der Federhärte und/oder des Federweges als von außen an die Einzelstützelemente anlegbare Verstellkörper auszubilden. Diese Verstellkörper sind sowohl bei Einzelstützelementen mit offener Form als auch bei Einzelstützelementen mit geschlossener Form einsetzbar. Die Verstellkörper können dabei elastisch oder starr ausgebildet sein. Bei elastischer Ausbildung verändern die angelegten Verstellkörper die Federhärte und damit die Federkennlinie. Bei starrer Ausbildung kann zusätzlich oder alternativ der Federweg der Einzelstützelemente verändert werden.
Bei Einzelstützelementen mit mindestens abschnittsweise offener Form, insbesondere Ringform, können die Verstellelemente auch als in die offene Form der Einzelstützelemente einfügbare Verstellkörper ausgebildet sein. Auch in diesem Fall können die Verstellkörper elastisch oder starr ausgebildet sein. Bei elastischer Ausgestaltung verändert sich wieder die Federhärte und damit die Federkennlinie der Einzelstützelemente. Bei starrer Ausbildung verändert sich der Federweg, wobei die Einzelstützelemente auch vollständig oder teilweise blockiert werden können.
Zur Aktivierung können die Verstellelemente jeweils verschiebbar ausgebildet sein. Beispielsweise können die Verstellelemente in Zeilen- oder Spaltenrichtung oder senkrecht zu der von diesen beiden Richtungen aufgespannten Ebene, also senkrecht zur Stützfläche, verstellbar ausgebildet sein.
Eine andere Möglichkeit besteht darin, die Verstellelemente durch Verdrehen, insbesondere um eine zur Stützfläche senkrechte Achse, oder durch Verschwenken, insbesondere um eine in der Stützfläche liegende Achse, zu aktivieren.
Weitere Möglichkeiten bestehen darin, die Verstellelemente in Richtung auf ihre Aktivierungsstellung vorzuspannen und Mittel zur Beaufschlagung der Verstellelemente entgegen der Vorspannkraft vorzusehen. Die Aktivierung erfolgt dann dadurch, daß die entgegen der Vorspannkraft wirkenden Mittel außer Eingriff gebracht werden.
Noch eine Möglichkeit besteht darin, die Verstellelemente durch Volumenvergrößerung zu aktivieren.
Die Aktivierung der Verstellelemente erfolgt insbesondere mechanisch. Sie kann aber auch elektrisch, hydraulisch oder pneumatisch erfolgen. Bei mechanischer Verstellung werden die gemeinsam aktivierbaren Verstellelemente durch Stangen, Wellen oder ähnliche Mittel miteinander verbunden. Bei hydraulisch oder pneumatisch aktivierbaren Verstellelementen sind die gemeinsam aktivierbaren Verstellelemente bevorzugt hydraulisch oder pneumatisch miteinander verbunden.
Die Verstellelemente können insbesondere durch Materialverstärkung mindestens eines Teils der Einzelstützelemente wirken. Beispielsweise werden an Federschenkel der Einzelstützelemente elastische Elemente angelegt, die dann zusammen mit dem jeweilige Federschenkel verformt werden. Die Verstellelemente können auch durch Blockieren mindestens eines Teils der Einzelstützelemente wirken. Insbesondere können bei mehrstufigen Federelementen einzelne Stufen blockiert werden. So kann eine dreistufige Federkennlinie in eine zweistufige oder eine zweistufige in eine einstufige Federkennlinie verstellt werden.
Andererseits kann auch eine einstufige Federkennlinie durch Aktivieren der Verstellelemente in eine zwei- oder mehrstufige Federkennlinie verändert werden. Beispielsweise kann in ein ringförmiges Federelement ein zweites ringförmiges Federelement geringerer Höhe eingesetzt werden und dadurch eine zweite Stufe bilden.
Die aktivierten Verstellelemente können außerdem auch erst ab einem bestimmten Federweg zur Wirkung kommen. So können bei Einzelstützelementen mit mehreren nebeneinander angeordneten ringförmigen Federelementen einzelne ringförmige Federelemente in Abhängigkeit von der Aktivierung der Verstellelemente nach einem längeren oder kürzeren ersten Federweg in Funktion treten.
Grundsätzlich können alle dargestellten und beschriebenen Verstellelemente auch zur unabhängigen Aktivierung von Einzelstützelementen verwendet werden. Erfindungsgemäß ist jedoch die gemeinsame Verstellung bevorzugt.
Ausführungsbeispiele der Erfindung sind in den Zeichnungen dargestellt und werden nachfolgend beschrieben. Es zeigen, jeweils in schematischer Darstellung,
Fig. 1
eine erfindungsgemäße Stützvorrichtung,
Fig. 2
eine erste Variante eines Verstellelementes für eine erfindungsgemäße Stützvorrichtung,
Fig. 3 - 12
weitere Varianten hierzu.
Fig. 1 zeigt eine als Unterfederung für eine Matratze ausgebildete erfindungsgemäße Stützvorrichtung mit einem Rahmen 1, dessen Schenkel 2 eine Liegefläche 3 umfassen, über welche eine Vielzahl von elastischen Einzelstützelementen 4 verteilt angeordnet ist. Durch diese Ausgestaltung wird eine punktelastische Abstützung realisiert, die insbesondere in Seitenlage ein besonders tiefes Eintauchen der Schulter und des Beckens ermöglicht, während in Rücklage ein normales Eintauchen gegeben ist.
Die Einzelstützelemente 4 sind in Reihen und Spalten angeordnet, wobei die Reihen parallel zu den kurzen Schenkeln 2 des Rahmens 1 und die Spalten senkrecht hierzu verlaufen. Die Einzelstützelemente 4 umfassen einen ringförmigen Federkörper, welcher auf einer Unterlage, beispielsweise eine Querleiste, abgestützt ist und eine flache Stützplatte trägt, auf welcher die Matratze aufliegt.
Die Ringebenen der Federkörper 5 der Einzelstützelemente 4 verlaufen jeweils senkrecht zu der Ausrichtung der Reihen. Auf diese Weise können die Federkörper von einer gemeinsamen Verstellstange 6 durchgriffen werden, die in Querrichtung, also parallel zu den kurzen Seiten 2 des Rahmens 1 gelagert ist. Tatsächlich sind hier jedoch nur im Schulterbereich 7 und im Beckenbereich 8 derartige Verstellstangen 6 angeordnet, während die übrigen Bereiche 9 keine solchen Verstellstangen aufweisen. Grundsätzlich können sie aber auch dort vorgesehen werden. Die Verstellstangen 6 tragen Verstellelemente 10 und sind in ihrer Längsrichtung zwischen einer ersten Stellung und einer zweiten Stellung verschiebbar geführt.
In der in Fig. 1 dargestellten ersten Stellung der Verstellstangen 6 befinden sich die Verstellelemente 10, von denen jedes jeweils einem Einzelstützelemente 4 zugeordnet ist, seitlich neben dem zugehörigen ringförmigen Federkörper 5 und haben auf diesen keinen Einfluß. In der zweiten Stellung, die durch Längsverschieben der Verstellstange 6 erreicht wird, befinden sich die Verstellelemente 10 innerhalb des ringförmigen Federkörpers 5 und beeinflussen dadurch dessen Federeigenschaften. Beispielsweise können die Verstellelemente 10 als elastischer Ring ausgebildet sein, der innen an dem ringförmigen Federkörper 5 anliegt und dessen Federhärte dadurch erhöht.
Der Verschiebemechanismus für die Verstellstangen 6 kann grundsätzlich beliebig realisiert werden. Dabei können die Verstellstangen 6 eines Bereiches, beispielsweise des Schulterbereiches 7 und/oder des Beckenbereiches 8 gekoppelt sein, so daß sie automatisch gemeinsam verstellbar sind. Damit kann in einfacher Weise ein ganzer Bereich 7, 8 individuell in seinen Federeigenschaften an die Bedürfnisse angepaßt werden.
Fig. 2 zeigt ein Ausführungsbeispiel eines als massiver Verstellkörper ausgebildeten Verstellelementes 10 bei einem Einzelstützelement 4 mit einem Federkörper 5, der aus zwei übereinander angeordneten jeweils die Form eines langgestrecken Hexagons aufweisenden Ringen 11, 12 besteht. Das Verstellelement 10 weist ebenfalls die Form eines langgestreckten Hexagons auf und ist auf einer Verstellstange 6 angeordnet, die sich senkrecht zu der Ringebene des unteren Ringes 11 durch diesen hindurch erstreckt. Die Verstellstange 6 trägt hier nicht dargestellte weitere Verstellelemente 10, deren Anzahl insbesondere der Anzahl von Einzelstützelementen 4 einer Reihe in einem Rahmen 1 nebeneinander angeordneter Einzelstützelemente 4 entspricht.
In der in Fig. 2a dargestellten ersten Stellung der Verstellstange 6 befindet sich das Verstellelement 10 außerhalb des unteren Ringes 11. Dasselbe gilt für die hier nicht dargestellten übrigen Verstellelemente der Verstellstange 6 in bezug auf die ihnen zugeordneten Einzelstützelemente 4. Fig. 2b zeigt die zweite Stellung der Verstellstange 6, in welcher sich das Verstellelement 10 innerhalb des unteren Ringes 11 befindet. Wie man sieht, liegt das Verstellelement 10 an der unteren Längsseite 13 und der oberen Längsseite 14 des unteren Ringes 11 an.
Bei starrer Ausbildung des Verstellelementes 10 ist der untere Ring 11 des Federkörpers 5 somit blockiert. Dasselbe gilt für die übrigen auf der selben Verstellstange 6 angeordneten Verstellelemente 10 und die diesen zugeordneten Federkörper. Das bedeutet, daß durch Verstellen der Verstellstange 6 von der ersten Stellung in die zweite Stellung der untere Ring 11 der Federkörper 5 dieser Reihe blockiert wird. Die Federkennlinie der Federkörper ist daher jeweils nur durch den oberen Ring 12 der Federkörper 5 bestimmt. In der in Fig. 2a dargestellten ersten Stellung der Verstellstange 6 bestimmen dagegen beide Ringe 11 und 12 die Federeigenschaften des Federkörpers 5, so daß durch Verstellen der Verstellstange 6 die Einzelstützelemente 4 einer Reihe auf zwei verschiedene Härten eingestellt werden können.
Bei Verwendung von starren Verstellelementen 10 ändert sich zugleich der maximale Federweg der Einzelstützelemente 4, da bei in den unteren Ring 11 eingefahrenem Verstellelement 10 nur noch der Federweg des oberen Ringes 12 zur Verfügung steht, während bei ausgefahrenem Verstellelement 10 der Federweg des unteren Ringes 11 hinzukommt. Wird anstelle eines starren Verstellelementes 10 ein elastisches Verstellelement verwendet, so ändert sich der maximale Federweg praktisch nicht, sondern lediglich die Federhärte, die nun zusätzlich zu den Federeigenschaften des oberen Ringes 12 und des unteren Ringes 11 auch durch die Federeigenschaften des Verstellelementes 10 bestimmt wird, bei eingefahrenem Verstellelement 10 also zunimmt.
Fig. 3 zeigt eine Variante der Verstellelemente 10, die ebenfalls bei Einzelstützelementen 4 mit einem Federkörper eingesetzt werden kann, welcher zwei übereinander angeordnete, die Form eines langgestreckten Hexagons aufweisende Ringe 11, 12 umfaßt. Das Verstellelement 10 ist auch hier als massiver Verstellkörper ausgebildet und mit einer entsprechenden Anzahl weiterer, hier nicht dargestellter Verstellelemente auf einer Verstellstange 6 angeordnet. Die Verstellstange 6 ist aber nun nicht in ihrer Längsrichtung verschiebbar, sondern um ihre Längsachse verdrehbar gelagert, und die Verstellelemente 10 befinden sich stets innerhalb des unteren Ringes 11.
In der in Fig. 3a dargestellten ersten Drehstellung der Verstellstange 6 liegt das als flacher, annähernd quaderförmiger Körper ausgebildete Verstellelement 10 mit seinen beiden Schmalseiten 17 an der unteren Längsseite 13 und der oberen Längsseite 14 des unteren Ringes 11 von innen an. Bei starrer Ausbildung des Verstellelementes 10 wird dadurch der untere Ring 11 blockiert, so daß die Federeigenschaften des Federkörpers 5 nur durch den oberen Ring 12 bestimmt werden. Außerdem ist der Federweg entsprechend verkürzt. Bei elastischer Ausgestaltung des Verstellelementes 10 bestimmt das Verstellelement 10 die Federeigenschaften des Federkörpers 5 zusätzlich zu den Ringen 11 und 12 mit. Der maximale Federweg ist nur unwesentlich verkürzt.
Bei der in Fig. 3b dargestellten zweiten Drehstellung der Verstellstange 6 liegt das Verstellelement 10 nicht am unteren Ring 11 an, sondern die Breitseiten 18 des Verstellelementes 10 liegen nun den Längsseiten 13 und 14 des Ringes 11 mit Abstand gegenüber. Der untere Ring 11 ist daher nicht blockiert bzw. das Verstellelement 10 hat keinen Einfluß auf die Federhärte. Diese wird daher nur durch die beiden Ringe 11 und 12 bestimmt. Der maximale Federweg wird im wesentlichen durch die Verstellstange 6 bestimmt, welche die Kompression des unteren Ringes 11 bei Einbringen einer Kraft in Richtung des Pfeils I begrenzt. Über die Verstellstange 6 können auch hier die Federkörper 5 der Einzelstützelemente 4 einer ganzen Reihe gemeinsam verstellt werden.
Fig. 4 zeigt einen Federkörper 5 eines Einzelstützelementes 4 mit drei nebeneinander angeordneten, die Form eines langgestreckten Hexagons aufweisenden Ringen 19, deren Ringebenen parallel zueinander verlaufen und die mit ihren oberen Längsseiten 20 einstückig miteinander verbunden sind. Die beiden äußeren Ringe 19 sind jeweils auf einer Stützfläche 21 abgestützt, während der mittlere Ring 19 in der in Fig. 4a dargestellten Situation nicht abgestützt ist. Dem mittleren Ring 19 ist aber ebenfalls eine Stützfläche 22 zugeordnet, die vom mittleren Ring 19 beabstandet ist und daher erst nach Zurücklegen eines ersten Federweges zur Wirkung kommt.
Das heißt, bei Belastung des Federkörpers 5 in Richtung des Pfeils I wird der Federkörper 5 komprimiert, wobei die Federhärte zunächst nur durch die beiden äußeren Ringe 19 bestimmt ist. Nach Zurücklegen eines ersten Federweges schlägt der mittlere Ring 19 an der ihm zugeordneten Stützfläche 22 an, so daß während eines zweiten Federweges die Federhärte nun durch alle drei Ringe 19 bestimmt sind. Auf diese Weise wird eine zweistufige Federkennlinie realisiert.
Erfindungsgemäß ist nun die dem mittleren Ring 19 zugeordnete Stützfläche 22 zwischen der in Fig. 4a dargestellten ersten Stellung und der in Fig. 4b dargestellten zweiten Stellung verstellbar, wobei die Verstellung gemeinsam mit mindestens einer weiteren eben solchen Stützfläche mindestens eines weiteren Federkörpers eines Einzelstützelementes 4 erfolgt, was in Fig. 4 jedoch nicht dargestellt ist. In der in Fig. 4a dargestellten ersten Stellung weist die Stützfläche 22, wie beschrieben, einen Abstand zum mittleren Ring 19 auf. In der in Fig. 4b dargestellten zweiten Stellung liegt die Stützfläche 22 dagegen bereits ohne Zurücklegen eines ersten Federweges an dem mittleren Ring 19 an, so daß die Federhärte des Federkörpers 5 in dieser Stellung von Anfang an durch alle drei Ringe 19 bestimmt wird. Durch Verstellung der Stützfläche 22 kann so zwischen einer einstufigen und einer zweistufigen Federkennlinie des Federkörpers gewählt werden. In entsprechender Weise könnte statt dessen auch durch eine Verstellung der Stützfläche 22 das Verhältnis des ersten Federweges zum zweiten Federweg variiert werden.
Die gemeinsame Verstellung der Federkörper 5 mehrerer Einzelstützelemente 4 kann grundsätzlich in beliebiger Weise erfolgen. Beispielsweise können die Stützflächen 22 über eine Verstellstange miteinander verbunden sein, die zwischen einer ersten Stellung, in welcher die Stützflächen 22 von den zugeordneten mittleren Ringen 19 beabstandet sind, und einer zweiten Stellung, in welcher sie an diesen anliegen, verschiebbar geführt ist. Die Stützflächen 22 können aber auch einfach einstückig miteinander ausgebildet sein, wenn die Federkörper 5 entsprechend in einer Reihe angeordnet sind.
Eine weitere Variante eines Verstellelementes 10 zur Verwendung mit einem Federkörper 5, welcher die Form eines langgestreckten, hexagonalen Ringes 11 aufweist, ist in Fig. 5 dargestellt. Das Verstellelement 10 weist hier ebenfalls die Form eines langgestreckten, hexagonalen Ringes 23 auf und ist so ausgestaltet, daß das Verstellelement 10 in den Ring 11 eingesetzt werden kann und dabei die Längsseiten 24 und die Schmalseiten 25 des hexagonalen Ringes 23 von innen an den entsprechenden Seiten 26, 27 des Ringes 11 anliegen.
Diese eingesetzte Stellung des Verstellelementes 10 ist in Fig. 5b dargestellt, während Fig. 5a die ausgefahrene Stellung des Verstellelementes 10 zeigt. In der eingefahrenen Stellung der Fig. 5b wird die Federhärte des Federkörpers 5 gemeinsam durch den Ring 11 und das Verstellelement 10 bestimmt, während in der ausgefahrenen Stellung der Fig. 5a allein der Ring 11 die Federhärte festlegt. Der Federweg ist in beiden Fällen praktisch gleich. Die gemeinsame Verstellung der Ringe 23 mehrerer Federkörper 5 kann wieder grundsätzlich in beliebiger Weise erfolgen, beispielsweise über eine die Verstellelemente 10 verbindende Verstellstange.
Die in Fig. 6 dargestellte Variante eines Verstellelementes 10 ist ähnlich der in Fig. 5 dargestellten Variante. Der Unterschied besteht darin, daß der Ring 23 des Verstellelementes 10 kleiner ist als der freie Öffnungquerschnitt des Ringes 11 des Federkörpers 5, also in der eingefahrenen Stellung nicht von innen an allen Seiten des Ringes 11 anliegt. Vielmehr liegt nur die untere Längsseite 24 des Ringes 23 an der unteren Längsseite 26 des Ringes 11 an. Dadurch wird in der eingefahrenen Stellung des Verstellelementes 10 eine zweistufige Federkennlinie geschaffen. Das heißt, das Verstellelement 10 kommt erst nach einem ersten Federweg zur Wirkung und bestimmt während eines zweiten Federweges die Federhärte des Federkörpers 5 mit. In der ausgefahrenen Stellung des Verstellelementes 10 liegt dagegen eine einstufige Federkennlinie vor. Die Verstellung des Verstellelementes 10 erfolgt auch hier wieder grundsätzlich in beliebiger Weise gemeinsam mit weiteren Verstellelementen 10.
Durch die in Fig. 7 dargestellte Variante des Verstellelementes 10 kann ebenfalls zwischen einer einstufigen und einer zweistufigen Federkennlinie gewählt werden. Das Verstellelement 10 ist hier als rautenförmiger Ring 28 ausgebildet, der innerhalb des den Federkörper 5 bildenden Ringes 11 um eine zu seiner Ringfläche senkrechte Achse drehbar im Ring 11 angeordnet ist. In der in Fig. 7a dargestellten ersten Stellung des Verstellelementes 10 liegt der Ring 28 mit den auf seiner großen Achse liegenden abgeflachten Spitzen 29 von innen an den beiden Längsseiten 26 des Ringes 11 an und bestimmt daher während des gesamten Federweges die Federhärte des Federkörpers 4a mit.
In der in Fig. 7b dargestellten um 90° verdrehten Drehstellung des Verstellelementes 10 liegen die auf der kurzen Achse des Ringes 28 liegenden abgeflachten Spitzen 30 den beiden Längsseiten 26 des Ringes 11 gegenüber. Durch gleichzeitiges Absenken des Verstellelementes 10 liegt eine abgeflachte Spitze 30 von innen an der unteren Längsseite 26 des Ringes 11 an, während die andere abgeflachte Spitze 30 aufgrund der geringeren Erstreckung der kurzen Achse des Ringes 28 einen Abstand zu der oberen Längsseite 26 des Ringes 11 aufweist. Daher kommen die Federeigenschaften des Verstellelementes 10 in dieser Drehstellung erst nach Zurücklegen eines ersten Federweges des Federkörpers 5 zur Wirkung und bestimmen die Federhärte des Federkörpers 5 nur während des zweiten Federweges mit.
Fig. 8 zeigt ein Verstellelement 10 in Form einer achteckigen Scheibe 31, die zentrisch auf einer den auch hier hexagonalen Ring 11 eines Federkörpers 5 durchgreifenden Verstellstange 6 angeordnet ist. Durch Verdrehen der Verstellstange 6 ändert sich der Abstand zwischen der Umfangsfläche 32 der Scheibe 31 und den beiden Längsseiten 26 des Ringes 11. Bei starrer Scheibe 31 kann dadurch der Federweg des Ringes 11 in drei Stufen verstellt werden. Bei elastischer Scheibe 31, in welchem Fall die Scheibe 31 die Federhärte des Federkörpers 5 nach Zurücklegen eines ersten Federweges mitbestimmt, kann dadurch die Länge des ersten Federweges in drei Stufen verstellt werden.
Neben einer Verdrehung der Verstellstange 6 kann diese auch in ihrer Längsachse verschiebbar ausgebildet sein, so daß die Scheibe 31 auch aus dem Ring 11 ausfahrbar ist. Dadurch kann neben einer stufenweisen Verstellung die Wirkung der Scheibe 31 auch ganz ausgeschaltet werden. Durch entsprechende Ausbildung der Scheibe 31 kann außerdem eine kontinuierliche Verstellung verwirklicht werden. Die Verstellstange 6 trägt auch hier wieder mehrere Scheiben 31, um mindestens zwei Federkörper 5 gemeinsam zu verstellen.
Fig. 9 zeigt ein Verstellelement 10, welches von außen an einen Federkörper 5 anlegbar ist. Im dargestellten Ausführungsbeispiel weist der Federkörper wieder die Form eines langgestreckten, hexagonalen Ringes 11 auf. Das Verstellelement 10 ist der unteren Hälfte des Ringes 11 nachgebildet und etwa auf deren Höhe angeordnet. Durch Verschieben senkrecht zur Ringebene des Ringes 11 kann das Verstellelement 10 aus der in Fig. 9a dargestellten ersten Stellung in die in Fig. 9b dargestellte zweite Stellung gebracht werden. Das Verstellelement 10 könnte aber auch direkt unterhalb des Ringes 11 angeordnet und durch Verschieben in Ringebene senkrecht zu den Längsseiten 26 des Ringes 11 in die Eingriffsstellung von Fig. 9b gebracht werden. In der ersten Stellung befindet sich das Verstellelement 10 außer Eingriff mit dem Ring 11, so daß die Federhärte des Federkörpers 5 allein durch den Ring 11 bestimmt wird. In der zweiten Stellung des Verstellelementes 10 liegt dieses von unten an dem Ring 11 an und bestimmt daher die Federhärte des Federkörpers 5 mit. Der Federweg wird durch das Verstellelement 10 nicht beeinflußt. Wie bei den zuvor beschriebenen Varianten wird auch hier das Verstellelement 10 gemeinsam mit mindestens einem weiteren Verstellelement in grundsätzlich beliebiger Weise betätigt.
Fig. 10 zeigt ein Verstellelement 10, welches mit dem Verstellelement 10 der Fig. 9 übereinstimmt. Die Verstellung zwischen der in Fig. 10a dargestellten Eingriffsstellung mit dem Federkörper 5 und der in Fig. 10b dargestellten Außereingriffstellung erfolgt hier jedoch durch Verdrehen des Vertellelementes 10 um eine sich in Federrichtung I erstreckende Achse. Die Verstellung erfolgt wiederum in grundsätzlicher beliebiger Weise gemeinsam mit mindestens einem weiteren Verstellelement.
Bei der in Fig. 11 dargestellten Variante ist das jedem Federkörper 5 zugeordnete Verstellelement 10 zweiteilig ausgebildet. Und zwar besteht das Verstellelement 10 aus zwei Keilen 33, die zwischen der in Fig. 11a dargestellten Außereingriffstellung und der in Fig. 11b dargestellten Eingriffsstellung verschwenkbar sind. In der Eingriffsstellung liegen die Keile 33 an den beiden unteren Schmalseiten 27 des Ringes 11 an und bestimmen dadurch die Federeigenschaften des Federkörpers 5 mit.
Fig. 12 zeigt schließlich eine Variante, bei welcher ein elastisch auf den Federkörper 5 vorgespanntes Verstellelement 10 vorgesehen ist. In dem dargestellten Ausführungsbeispiel weist der Federkörper 5 die Form eines langgestreckten hexagonalen Ringes 11 auf, gegen dessen untere Schmalseiten 27 das Verstellelement 10 mit zwei entsprechenden Seiten 34 vorgespannt ist. Durch einen hier nicht dargestellten Mechanismus können diese Seiten 34 des Verstellelementes 10 entgegen der Vorspannkraft von den Schmalseiten 27 des Ringes 11 wegbewegt und ferngehalten werden. In dieser in Fig. 12b dargestellten Freigabestellung wird die Federhärte des Federkörpers 5 allein durch den Ring 11 bestimmt. In der in Fig. 12a dargestellten Eingriffsstellung des Verstellelementes 10 wird die Federhärte dagegen zusätzlich durch das vorgespannte Verstellelement 10 bestimmt. Die Verstellung erfolgt auch hier wieder in grundsätzlich beliebiger Weise gemeinsam mit mindestens einem weiteren Verstellelement.
Mit den erfindungsgemäß gemeinsam verstellbaren Verstellelementen 10 kann in einfacher Weise eine individuelle Anpassung der Federhärte von Einzelstützelementen 4 vorgenommen werden. Die Ausbildung der Verstellelemente 10 ist dabei grundsätzlich beliebig. Die dargestellten Varianten und Ausführungsformen können untereinander auch grundsätzlich beliebig kombiniert werden.
Die Verstellung der Verstellelemente 10 erfolgt insbesondere mechanisch. Sie kann aber auch elektro-motorisch oder hydraulisch bzw. pneumatisch erfolgen. Die Verstellung kann sich in allen Fällen auf die Federhärte und/oder den Federweg beziehen. Außerdem kann die Stufigkeit der Federkennlinie verändert werden. Die Verstellelemente 10 sind hierfür entweder starr oder elastisch ausgebildet. Sie können, ebenso wie die Federkörper 5 insbesondere aus Metall oder Kunststoff bestehen, oder auch aus Holz. Grundsätzlich ist auch eine Höhenverstellung der Federkörper 4a über die erfindungsgemäßen Verstellelemente 10 möglich.
Angewendet werden kann die Erfindung insbesondere, wie in Fig. 1 gezeigt, bei Unterfederungen für Matratzen, aber auch in Matratzen selbst oder in Polsterelementen sowie im Sitz oder der Lehne von Sitzmöbeln. In allen Fällen können die gemeinsam verstellbaren Einzelstützelemente 4 nur in bestimmten Bereichen der Stützfläche vorgesehen sei. Es kann auch nur ein Teil der Stützfläche mit Einzelstützelementen 4 versehen sein, insbesondere der Schulter- und/oder Beckenbereich einer Liegefläche, während im übrigen andere Stützmittel wie beispielsweise Latten angeordnet sind.
Bezugszeichenliste
1
Rahmen
2
Schenkel
3
Liegefläche
4
Einzelstützelement
5
Federkörper
6
Verstellstange
7
Schulterbereich
8
Beckenbereich
9
Bereich
10
Verstellelement
11
Ring
12
Ring
13
untere Längsseite von 11
14
obere Längsseite von 11
15
untere Längsseite von 10
16
obere Längsseite von 10
17
Schmalseite von 10
18
Breitseite von 10
19
Ring
20
obere Längsseite von 19
21
Stützfläche
22
Stützfläche
23
Ring
24
Längsseite von 23
25
Schmalseite von 23
26
Längsseite von 11
27
Schmalseite von 11
28
Ring
29
Spitze von 28
30
Spitze von 28
31
Scheibe
32
Umfangsfläche von 31
33
Keil
34
Seite von 10
I
Federrichtung

Claims (10)

  1. Stützvorrichtung, insbesondere Matratze, Polsterelement oder Unterfederung hierfür, mit mehreren mindestens in einem Bereich der Stützvorrichtung vorgesehenen elastischen Einzelstützelementen (4), die eine annähernd punktuelle Auflösung der Stützfläche hinsichtlich ihrer Federeigenschaft bewirken, und mehreren, mindestens einem Teil der Einzelstützelemente (4) zugeordneten, wahlweise aktivierbaren Verstellelementen (10) zur Verstellung der Federeigenschaften, insbesondere der Federhärte und/oder des Federweges der Einzelstützelemente (4),
    dadurch gekennzeichnet, daß die Verstellelemente (10) zumindest teilweise gemeinsam aktivierbar sind.
  2. Stützvorrichtung nach Anspruch 1,
    dadurch gekennzeichnet, daß die Einzelstützelemente (4) in Spalten und Zeilen angeordnet sind und daß in zumindest einem Bereich (2, 3) der Stützvorrichtung die Einzelstützelemente (4) einer Spalte oder einer Zeile jeweils gemeinsam aktivierbar sind, wobei bevorzugt die Verstellelemente (10) mehrerer Zeilen oder Spalten gemeinsam aktivierbar sind.
  3. Stützvorrichtung nach einem der vorhergehenden Ansprüche,
    dadurch gekennzeichnet, daß die Verstellelemente (10) in der Stützvorrichtung fest installiert sind oder zur Aktivierung in die Stützvorrichtung einsetzbar sind.
  4. Stützvorrichtung nach einem der vorhergehenden Ansprüche,
    dadurch gekennzeichnet, daß die Federwege und/oder Federhärten der Einzelstützelemente (4) stufenweise einstellbar sind und/oder daß die Federwege und/oder Federhärten der Einzelstützelemente (4) über mindestens einen Bereich kontinuierlich einstellbar sind.
  5. Stützvorrichtung nach einem der vorhergehenden Ansprüche,
    dadurch gekennzeichnet, daß die Verstellelemente (10) zur Verstellung der Federhärte und/oder des Federweges als von außen an die Einzelstützelemente (4) anlegbare Verstellkörper ausgebildet sind oder daß die Einzelstützelemente (4) mindestens abschnittsweise eine offene Form, insbesondere Ringform, aufweisen und daß die Verstellelemente (10) als in die offene Form der Einzelstützelemente (4) einfügbare Verstellkörper ausgebildet sind, wobei bevorzugt die Einzelstützelemente (4) in Federrichtung (I) mehrere Öffnungen übereinander aufweisen und Verstellelemente (4) wahlweise auf verschiedener Höhe in die Öffnungen der Einzelstützelemente (4) einfügbar sind.
  6. Stützvorrichtung nach einem der vorhergehenden Ansprüche,
    dadurch gekennzeichnet, daß die Verstellelemente (10) elastisch oder starr ausgebildet sind.
  7. Stützvorrichtung nach einem der vorhergehenden Ansprüche,
    dadurch gekennzeichnet, daß die Verstelleelemente (10) durch Verschieben, Verdrehen, Verschwenken, Vorspannen oder durch Volumenvergrößerung aktivierbar sind.
  8. Stützvorrichtung nach einem der vorhergehenden Ansprüche,
    dadurch gekennzeichnet, daß die Verstellelemente (10) durch Materialverstärkung oder durch Blockieren mindestens eines Teils der Einzelstützelemente (4) wirken.
  9. Stützvorrichtung nach einem der vorhergehenden Ansprüche,
    dadurch gekennzeichnet, daß die aktivierten Verstellelemente (10) erst ab einem bestimmten Federweg zur Wirkung kommen.
  10. Stützvorrichtung nach einem der vorhergehenden Ansprüche,
    dadurch gekennzeichnet, daß die Aktivierung der Verstellelemente (10) mechanisch, elektro-motorisch, hydraulisch oder pneumatisch erfolgt.
EP01111560A 2000-05-18 2001-05-11 Stützvorrichtung Expired - Lifetime EP1155643B1 (de)

Applications Claiming Priority (2)

Application Number Priority Date Filing Date Title
DE10024530 2000-05-18
DE10024530A DE10024530A1 (de) 2000-05-18 2000-05-18 Stützvorrichtung

Publications (3)

Publication Number Publication Date
EP1155643A2 true EP1155643A2 (de) 2001-11-21
EP1155643A3 EP1155643A3 (de) 2002-09-11
EP1155643B1 EP1155643B1 (de) 2005-08-03

Family

ID=7642635

Family Applications (1)

Application Number Title Priority Date Filing Date
EP01111560A Expired - Lifetime EP1155643B1 (de) 2000-05-18 2001-05-11 Stützvorrichtung

Country Status (4)

Country Link
EP (1) EP1155643B1 (de)
AT (1) ATE300900T1 (de)
DE (3) DE10024530A1 (de)
ES (1) ES2246958T3 (de)

Cited By (10)

* Cited by examiner, † Cited by third party
Publication number Priority date Publication date Assignee Title
EP1327404A1 (de) * 2002-01-07 2003-07-16 Lovato s.r.l. Federelement zur Stützung eines Körperteils
EP1386564A1 (de) * 2002-07-31 2004-02-04 Froli Kunststoffwerk Heinrich Fromme OHG Federelement für Sitz- und Liegemöbel
EP1716790A1 (de) * 2005-04-21 2006-11-02 Diemer & Dr. Jaspert GbR Federsystem
DE202006012078U1 (de) * 2006-08-04 2007-09-27 Froli Kunststoffwerk Heinrich Fromme Ohg Lagerelement für eine Polsterauflage von Sitz- und Liegeflächen
EP3400842A1 (de) * 2017-05-12 2018-11-14 Tournadre SA Standard Gum Steifigkeitsregulierungsvorrichtung
CN111202383A (zh) * 2020-01-10 2020-05-29 浙江宏都寝具有限公司 一种硬度可调的床垫
EP3669706A1 (de) 2018-12-21 2020-06-24 Tournadre SA Standard Gum Flexibles element mit einstellbarer höhe
EP3669705A1 (de) 2018-12-21 2020-06-24 Tournadre SA Standard Gum Flexibles element mit regulierbarer steifigkeit für liege- und/oder sitzmöbel
FR3090307A1 (fr) 2018-12-21 2020-06-26 Tournadre Sa Standard Gum Elément souple à raideur réglable pour meuble de couchage et/ou d’assise
US10722042B2 (en) 2017-05-12 2020-07-28 Tournadre Sa Standard Gum Element of adjustable stiffness for beds or seats

Families Citing this family (5)

* Cited by examiner, † Cited by third party
Publication number Priority date Publication date Assignee Title
DE20213821U1 (de) * 2002-09-05 2003-10-16 FROLI Kunststoffwerk Heinrich Fromme oHG, 33758 Schloß Holte-Stukenbrock Federelement
FR2884883B1 (fr) * 2005-04-22 2010-09-10 Delahousse Et Fils Sa Nouvel organe ressort pour carcasse de suspension d'un siege sommier, matelas ou autre
DE202006012077U1 (de) * 2006-08-04 2007-09-27 Froli Kunststoffwerk Heinrich Fromme Ohg Lagerelement für eine Polsterauflage von Sitz- und Liegeflächen
DE202007004007U1 (de) * 2007-03-14 2007-06-21 Hartmann, Siegbert Verstellbares Einzelfederelement eines Sitz- oder Liegemöbels
DE202007000005U1 (de) * 2007-04-02 2008-05-08 Froli Kunststoffwerk Heinrich Fromme Ohg Lagerelement für eine Polsterauflage von Sitz- und Liegeflächen

Family Cites Families (3)

* Cited by examiner, † Cited by third party
Publication number Priority date Publication date Assignee Title
US4653603A (en) * 1983-08-25 1987-03-31 Gordon Rosenmeier Rotary fluid devices
CH681950A5 (de) * 1989-06-08 1993-06-30 Superba Sa
US4962916A (en) * 1989-11-17 1990-10-16 Uniroyal Chemical Company, Inc. Compression spring

Cited By (18)

* Cited by examiner, † Cited by third party
Publication number Priority date Publication date Assignee Title
EP1327404A1 (de) * 2002-01-07 2003-07-16 Lovato s.r.l. Federelement zur Stützung eines Körperteils
EP1386564A1 (de) * 2002-07-31 2004-02-04 Froli Kunststoffwerk Heinrich Fromme OHG Federelement für Sitz- und Liegemöbel
JP2004065963A (ja) * 2002-07-31 2004-03-04 Froli Kunststoffwerk Heinrich Fromme Ohg ベッド用ばね部材
EP1716790A1 (de) * 2005-04-21 2006-11-02 Diemer & Dr. Jaspert GbR Federsystem
DE202006012078U1 (de) * 2006-08-04 2007-09-27 Froli Kunststoffwerk Heinrich Fromme Ohg Lagerelement für eine Polsterauflage von Sitz- und Liegeflächen
US10722042B2 (en) 2017-05-12 2020-07-28 Tournadre Sa Standard Gum Element of adjustable stiffness for beds or seats
EP3400842A1 (de) * 2017-05-12 2018-11-14 Tournadre SA Standard Gum Steifigkeitsregulierungsvorrichtung
FR3066088A1 (fr) * 2017-05-12 2018-11-16 Tournadre Sa Standard Gum Dispositif de reglage de raideur
US10932586B2 (en) 2017-05-12 2021-03-02 Tournadre Sa Standard Gum Stiffness adjustment device
EP3669706A1 (de) 2018-12-21 2020-06-24 Tournadre SA Standard Gum Flexibles element mit einstellbarer höhe
FR3090307A1 (fr) 2018-12-21 2020-06-26 Tournadre Sa Standard Gum Elément souple à raideur réglable pour meuble de couchage et/ou d’assise
FR3090305A1 (fr) 2018-12-21 2020-06-26 Tournadre Sa Standard Gum Elément souple à hauteur réglable
FR3090306A1 (fr) 2018-12-21 2020-06-26 Tournadre Sa Standard Gum Elément souple à raideur réglable pour meuble de couchage et/ou d’assise
EP3669705A1 (de) 2018-12-21 2020-06-24 Tournadre SA Standard Gum Flexibles element mit regulierbarer steifigkeit für liege- und/oder sitzmöbel
US11311112B2 (en) 2018-12-21 2022-04-26 Tournadre Sa Standard Gum Supple member with adjustable stiffness for lying and/or sitting furniture
US11311113B2 (en) 2018-12-21 2022-04-26 Tournadre Sa Standard Gum Height-adjustable supple member
US11553803B2 (en) 2018-12-21 2023-01-17 Tournadre Sa Standard Gum Flexible member with adjustable stiffness for lying and/or sitting furniture
CN111202383A (zh) * 2020-01-10 2020-05-29 浙江宏都寝具有限公司 一种硬度可调的床垫

Also Published As

Publication number Publication date
EP1155643B1 (de) 2005-08-03
ES2246958T3 (es) 2006-03-01
EP1155643A3 (de) 2002-09-11
DE10024530A1 (de) 2001-11-22
DE50106940D1 (de) 2005-09-08
DE20108407U1 (de) 2001-08-02
ATE300900T1 (de) 2005-08-15

Similar Documents

Publication Publication Date Title
DE10116821B4 (de) Verstellbare Armlehnenanordnung mit einem einzigen Verstellhebel
EP1155643B1 (de) Stützvorrichtung
EP0006840B1 (de) Biegsame elastische Stütze
DE3728408A1 (de) Bett
DE102014207972A1 (de) Sitzmöbelstück und Beschlag hierfür
DE1963397C3 (de) Feder für einen Federrost
DE2702265C2 (de) Liegemöbelgestell mit Querlatten
DE102007022023A1 (de) Federungssystem für Matratzen
DE202015101436U1 (de) Höheneinrichtbares Seitenteil für ein Pflegebett
DE102009017896A1 (de) Elektromotorisch verstellbare Stützeinrichtung
EP1127522A2 (de) Federeinheit zur Gewichtseinstellung eines Stuhls
DE3939024C2 (de)
DE4442719C2 (de) Orthopädischer Lattenrost
DE202016104234U1 (de) Höheneinrichtbares Seitenteil für ein Pflegebett
DE19612079A1 (de) Kopf- oder Fußstütze für Lattenrostliegen und Lattenrostauflage dafür
EP1001696B1 (de) Unterlage zum liegen oder sitzen
DE2616802A1 (de) Halter fuer lotrecht regelbare fahrzeugsitze
EP2322060B1 (de) Matratzensystem für ein Bett
EP2145568A1 (de) Lager für Lattenenden eines Lattenrostes
DE10307738B4 (de) Neigungsverstellvorrichtung für mindestens einen Teil einer Liege- oder Sitzfläche
DE202015100471U1 (de) Lattenrost für Liegemöbel
DE2603719A1 (de) Sprung- oder federrahmen
EP1754429A1 (de) Unterfederung von Auflagen von Sitz- oder Liegemöbeln
DE20015380U1 (de) Höhenverstellbare Auflage
DE3941645C2 (de)

Legal Events

Date Code Title Description
PUAI Public reference made under article 153(3) epc to a published international application that has entered the european phase

Free format text: ORIGINAL CODE: 0009012

AK Designated contracting states

Kind code of ref document: A2

Designated state(s): AT BE CH CY DE DK ES FI FR GB GR IE IT LI LU MC NL PT SE TR

AX Request for extension of the european patent

Free format text: AL;LT;LV;MK;RO;SI

PUAL Search report despatched

Free format text: ORIGINAL CODE: 0009013

AK Designated contracting states

Kind code of ref document: A3

Designated state(s): AT BE CH CY DE DK ES FI FR GB GR IE IT LI LU MC NL PT SE TR

AX Request for extension of the european patent

Free format text: AL;LT;LV;MK;RO;SI

AKX Designation fees paid
17P Request for examination filed

Effective date: 20030310

RBV Designated contracting states (corrected)

Designated state(s): AT BE CH CY DE DK ES FI FR GB GR IE IT LI LU MC NL PT SE TR

REG Reference to a national code

Ref country code: DE

Ref legal event code: 8566

GRAP Despatch of communication of intention to grant a patent

Free format text: ORIGINAL CODE: EPIDOSNIGR1

GRAS Grant fee paid

Free format text: ORIGINAL CODE: EPIDOSNIGR3

RAP1 Party data changed (applicant data changed or rights of an application transferred)

Owner name: JASPERT, BODO F., DR.

Owner name: DIEMER, GREGOR

RIN1 Information on inventor provided before grant (corrected)

Inventor name: DIEMER, GREGOR

Inventor name: JASPERT, BODO F., DR.

RAP1 Party data changed (applicant data changed or rights of an application transferred)

Owner name: DIEMER & DR. JASPERT GBR

RIN1 Information on inventor provided before grant (corrected)

Inventor name: DIEMER & DR. JASPERT GBR

GRAA (expected) grant

Free format text: ORIGINAL CODE: 0009210

AK Designated contracting states

Kind code of ref document: B1

Designated state(s): AT BE CH CY DE DK ES FI FR GB GR IE IT LI LU MC NL PT SE TR

PG25 Lapsed in a contracting state [announced via postgrant information from national office to epo]

Ref country code: FI

Free format text: LAPSE BECAUSE OF FAILURE TO SUBMIT A TRANSLATION OF THE DESCRIPTION OR TO PAY THE FEE WITHIN THE PRESCRIBED TIME-LIMIT

Effective date: 20050803

Ref country code: TR

Free format text: LAPSE BECAUSE OF FAILURE TO SUBMIT A TRANSLATION OF THE DESCRIPTION OR TO PAY THE FEE WITHIN THE PRESCRIBED TIME-LIMIT

Effective date: 20050803

Ref country code: IE

Free format text: LAPSE BECAUSE OF FAILURE TO SUBMIT A TRANSLATION OF THE DESCRIPTION OR TO PAY THE FEE WITHIN THE PRESCRIBED TIME-LIMIT

Effective date: 20050803

REG Reference to a national code

Ref country code: GB

Ref legal event code: FG4D

Free format text: NOT ENGLISH

REG Reference to a national code

Ref country code: CH

Ref legal event code: EP

REG Reference to a national code

Ref country code: IE

Ref legal event code: FG4D

Free format text: LANGUAGE OF EP DOCUMENT: GERMAN

REF Corresponds to:

Ref document number: 50106940

Country of ref document: DE

Date of ref document: 20050908

Kind code of ref document: P

GBT Gb: translation of ep patent filed (gb section 77(6)(a)/1977)

Effective date: 20051010

PG25 Lapsed in a contracting state [announced via postgrant information from national office to epo]

Ref country code: GR

Free format text: LAPSE BECAUSE OF FAILURE TO SUBMIT A TRANSLATION OF THE DESCRIPTION OR TO PAY THE FEE WITHIN THE PRESCRIBED TIME-LIMIT

Effective date: 20051103

Ref country code: DK

Free format text: LAPSE BECAUSE OF FAILURE TO SUBMIT A TRANSLATION OF THE DESCRIPTION OR TO PAY THE FEE WITHIN THE PRESCRIBED TIME-LIMIT

Effective date: 20051103

REG Reference to a national code

Ref country code: SE

Ref legal event code: TRGR

PG25 Lapsed in a contracting state [announced via postgrant information from national office to epo]

Ref country code: PT

Free format text: LAPSE BECAUSE OF FAILURE TO SUBMIT A TRANSLATION OF THE DESCRIPTION OR TO PAY THE FEE WITHIN THE PRESCRIBED TIME-LIMIT

Effective date: 20060103

REG Reference to a national code

Ref country code: ES

Ref legal event code: FG2A

Ref document number: 2246958

Country of ref document: ES

Kind code of ref document: T3

REG Reference to a national code

Ref country code: IE

Ref legal event code: FD4D

ET Fr: translation filed
PG25 Lapsed in a contracting state [announced via postgrant information from national office to epo]

Ref country code: MC

Free format text: LAPSE BECAUSE OF NON-PAYMENT OF DUE FEES

Effective date: 20060531

PLBE No opposition filed within time limit

Free format text: ORIGINAL CODE: 0009261

STAA Information on the status of an ep patent application or granted ep patent

Free format text: STATUS: NO OPPOSITION FILED WITHIN TIME LIMIT

26N No opposition filed

Effective date: 20060504

PG25 Lapsed in a contracting state [announced via postgrant information from national office to epo]

Ref country code: LU

Free format text: LAPSE BECAUSE OF NON-PAYMENT OF DUE FEES

Effective date: 20060511

PG25 Lapsed in a contracting state [announced via postgrant information from national office to epo]

Ref country code: CY

Free format text: LAPSE BECAUSE OF FAILURE TO SUBMIT A TRANSLATION OF THE DESCRIPTION OR TO PAY THE FEE WITHIN THE PRESCRIBED TIME-LIMIT

Effective date: 20050803

PGFP Annual fee paid to national office [announced via postgrant information from national office to epo]

Ref country code: ES

Payment date: 20090521

Year of fee payment: 9

PGFP Annual fee paid to national office [announced via postgrant information from national office to epo]

Ref country code: SE

Payment date: 20090514

Year of fee payment: 9

PGFP Annual fee paid to national office [announced via postgrant information from national office to epo]

Ref country code: GB

Payment date: 20090522

Year of fee payment: 9

PGFP Annual fee paid to national office [announced via postgrant information from national office to epo]

Ref country code: CH

Payment date: 20100726

Year of fee payment: 10

PGFP Annual fee paid to national office [announced via postgrant information from national office to epo]

Ref country code: AT

Payment date: 20100723

Year of fee payment: 10

Ref country code: IT

Payment date: 20100727

Year of fee payment: 10

GBPC Gb: european patent ceased through non-payment of renewal fee

Effective date: 20100511

EUG Se: european patent has lapsed
PGFP Annual fee paid to national office [announced via postgrant information from national office to epo]

Ref country code: BE

Payment date: 20100729

Year of fee payment: 10

PG25 Lapsed in a contracting state [announced via postgrant information from national office to epo]

Ref country code: SE

Free format text: LAPSE BECAUSE OF NON-PAYMENT OF DUE FEES

Effective date: 20100512

REG Reference to a national code

Ref country code: ES

Ref legal event code: FD2A

Effective date: 20110714

PG25 Lapsed in a contracting state [announced via postgrant information from national office to epo]

Ref country code: ES

Free format text: LAPSE BECAUSE OF NON-PAYMENT OF DUE FEES

Effective date: 20110704

Ref country code: GB

Free format text: LAPSE BECAUSE OF NON-PAYMENT OF DUE FEES

Effective date: 20100511

PGFP Annual fee paid to national office [announced via postgrant information from national office to epo]

Ref country code: FR

Payment date: 20110607

Year of fee payment: 11

PGFP Annual fee paid to national office [announced via postgrant information from national office to epo]

Ref country code: NL

Payment date: 20110520

Year of fee payment: 11

PG25 Lapsed in a contracting state [announced via postgrant information from national office to epo]

Ref country code: ES

Free format text: LAPSE BECAUSE OF NON-PAYMENT OF DUE FEES

Effective date: 20100512

BERE Be: lapsed

Owner name: *DIEMER & JASPERT GBR

Effective date: 20110531

REG Reference to a national code

Ref country code: CH

Ref legal event code: PL

PG25 Lapsed in a contracting state [announced via postgrant information from national office to epo]

Ref country code: CH

Free format text: LAPSE BECAUSE OF NON-PAYMENT OF DUE FEES

Effective date: 20110531

Ref country code: LI

Free format text: LAPSE BECAUSE OF NON-PAYMENT OF DUE FEES

Effective date: 20110531

REG Reference to a national code

Ref country code: AT

Ref legal event code: MM01

Ref document number: 300900

Country of ref document: AT

Kind code of ref document: T

Effective date: 20110511

PG25 Lapsed in a contracting state [announced via postgrant information from national office to epo]

Ref country code: IT

Free format text: LAPSE BECAUSE OF NON-PAYMENT OF DUE FEES

Effective date: 20110511

Ref country code: AT

Free format text: LAPSE BECAUSE OF NON-PAYMENT OF DUE FEES

Effective date: 20110511

PG25 Lapsed in a contracting state [announced via postgrant information from national office to epo]

Ref country code: BE

Free format text: LAPSE BECAUSE OF NON-PAYMENT OF DUE FEES

Effective date: 20110531

REG Reference to a national code

Ref country code: NL

Ref legal event code: V1

Effective date: 20121201

PGFP Annual fee paid to national office [announced via postgrant information from national office to epo]

Ref country code: DE

Payment date: 20120730

Year of fee payment: 12

REG Reference to a national code

Ref country code: FR

Ref legal event code: ST

Effective date: 20130131

PG25 Lapsed in a contracting state [announced via postgrant information from national office to epo]

Ref country code: NL

Free format text: LAPSE BECAUSE OF NON-PAYMENT OF DUE FEES

Effective date: 20121201

PG25 Lapsed in a contracting state [announced via postgrant information from national office to epo]

Ref country code: FR

Free format text: LAPSE BECAUSE OF NON-PAYMENT OF DUE FEES

Effective date: 20120531

PG25 Lapsed in a contracting state [announced via postgrant information from national office to epo]

Ref country code: DE

Free format text: LAPSE BECAUSE OF NON-PAYMENT OF DUE FEES

Effective date: 20131203

REG Reference to a national code

Ref country code: DE

Ref legal event code: R119

Ref document number: 50106940

Country of ref document: DE

Effective date: 20131203