EP1126484A2 - Schaltanlage - Google Patents
Schaltanlage Download PDFInfo
- Publication number
- EP1126484A2 EP1126484A2 EP01103537A EP01103537A EP1126484A2 EP 1126484 A2 EP1126484 A2 EP 1126484A2 EP 01103537 A EP01103537 A EP 01103537A EP 01103537 A EP01103537 A EP 01103537A EP 1126484 A2 EP1126484 A2 EP 1126484A2
- Authority
- EP
- European Patent Office
- Prior art keywords
- operating mechanism
- ground switch
- interrupter
- switchgear
- drive shaft
- Prior art date
- Legal status (The legal status is an assumption and is not a legal conclusion. Google has not performed a legal analysis and makes no representation as to the accuracy of the status listed.)
- Granted
Links
Images
Classifications
-
- H—ELECTRICITY
- H01—ELECTRIC ELEMENTS
- H01H—ELECTRIC SWITCHES; RELAYS; SELECTORS; EMERGENCY PROTECTIVE DEVICES
- H01H33/00—High-tension or heavy-current switches with arc-extinguishing or arc-preventing means
- H01H33/60—Switches wherein the means for extinguishing or preventing the arc do not include separate means for obtaining or increasing flow of arc-extinguishing fluid
-
- H—ELECTRICITY
- H01—ELECTRIC ELEMENTS
- H01H—ELECTRIC SWITCHES; RELAYS; SELECTORS; EMERGENCY PROTECTIVE DEVICES
- H01H33/00—High-tension or heavy-current switches with arc-extinguishing or arc-preventing means
- H01H33/60—Switches wherein the means for extinguishing or preventing the arc do not include separate means for obtaining or increasing flow of arc-extinguishing fluid
- H01H33/66—Vacuum switches
- H01H33/664—Contacts; Arc-extinguishing means, e.g. arcing rings
- H01H33/6646—Contacts; Arc-extinguishing means, e.g. arcing rings having non flat disc-like contact surface
-
- H—ELECTRICITY
- H01—ELECTRIC ELEMENTS
- H01H—ELECTRIC SWITCHES; RELAYS; SELECTORS; EMERGENCY PROTECTIVE DEVICES
- H01H31/00—Air-break switches for high tension without arc-extinguishing or arc-preventing means
- H01H31/003—Earthing switches
-
- H—ELECTRICITY
- H01—ELECTRIC ELEMENTS
- H01H—ELECTRIC SWITCHES; RELAYS; SELECTORS; EMERGENCY PROTECTIVE DEVICES
- H01H33/00—High-tension or heavy-current switches with arc-extinguishing or arc-preventing means
- H01H33/60—Switches wherein the means for extinguishing or preventing the arc do not include separate means for obtaining or increasing flow of arc-extinguishing fluid
- H01H33/66—Vacuum switches
- H01H33/666—Operating arrangements
-
- H—ELECTRICITY
- H01—ELECTRIC ELEMENTS
- H01H—ELECTRIC SWITCHES; RELAYS; SELECTORS; EMERGENCY PROTECTIVE DEVICES
- H01H1/00—Contacts
- H01H1/58—Electric connections to or between contacts; Terminals
- H01H1/5822—Flexible connections between movable contact and terminal
Definitions
- This invention relates to a switchgear having a vacuum valve, an interrupter operating mechanism and a ground switch operating mechanism and, more particularly, to a layout arrangement of the interrupter operating mechanism and the ground switch operating mechanism.
- Fig. 8 is a side view of the apparatus shown in Fig. 7.
- the reference numeral 60 is an interrupter operating mechanism, which comprises a stationary terminal 61a and a movable terminal 61b connected to a vacuum valve 61 as well as an insulating operating rod 62 connected at one end to the movable terminal 61b at the upper portion of the vacuum valve 61 and at the other end to an interrupter drive shaft 21 through a wipe-link mechanism as shown in a circle A in the figure.
- the reference numeral 70 is a disconnector/ground switch operating mechanism, which comprises a disconnector/grounding switch contact 71, ground switch drive shaft 22 connected to the disconnector/ground switch 71, a ground terminal 72 and the like.
- the reference numeral 20 is a tank, which accommodates the interrupter operating mechanism including an interrupter vacuum valves 61, an interrupter drive shaft 21 or the like for opening and closing the vacuum valves 61 as well as the disconnector/ground switch contact 71 of the disconnector/ground switch operating mechanism and a ground switch drive shaft 22 for opening and dosing the contacts 71.
- Bus bars 82 are also disposed.
- the reference numeral 23 is a mounting frame
- 24 is an interrupter link frame
- 25 is a ground switch link frame and the arrangement is such that the interrupter link frame 24 mounts the interrupter operating mechanism 60 to the mounting frame 23 and the ground switch link frame 25 mounts the ground switch operating mechanism 70 to the mounting frame 23.
- the disconnector/ground switch contacts 71 of the disconnector/ground switch operating mechanism 70 are in an A position and is in the connected state.
- the rotation of the ground switch drive shaft 22 brings the mechanism into a position B to be in the disconnected state, and further rotation of the ground switch drive shaft 22 causes the mechanism into a position C in which the disconnector/ground switch contacts 71 are brought into engagement with and connected to the ground terminal 72 to be placed into the grounded state.
- the drive shaft 21 of the interrupter operating mechanism and the drive shaft 22 of the ground switch operating mechanism are members that are relatively long because it must transmit a drive force through the mounting frame 23 and thick because it must have a sufficient rigidity.
- the rotational drive force on the interrupter dnve shaft 21 is converted in its direction of driving force by means of a complicated linkage including links 100 and 102, an elongated rod 104 and pins and shaft connecting therebetween, so that these parts are large and strong members for a sufficient rigidity against bent or the like.
- the space within which the above links and levers are operated must be sufficiently large so as not to interfere with each other.
- the links, the interrupter link frame 24, the ground switch link frame 25 or the like must have be heavy and large in order to provide a sufficient rigidity because the friction and the load losses at the time of converting the drive direction are large.
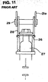
- Figs. 10 to 12 inclusive illustrate the wipe-link type mechanism of the portion A shown in Fig. 7.
- Fig. 10 is a side view of the mechanism in the open position
- Fig. 11 is a front view of the mechanism shown in Fig. 10
- Fig. 12 is a front view of the mechanism in the closed position.
- the reference numeral 26 is a contacting spring
- 27 is a spring rod firmly disposed at an end of the insulating rod 62 to project toward the wipe-link
- 28 is a U-shaped bracket connected to the lever 21a of the interrupter drive shaft 21 by means of a pin 29.
- the U-shaped bracket 28 has formed therein a hole for allowing an end of the spring rod 27 to extend and slidably move therethrough.
- This structure is for maintaining the interrupter contact spring 26 compressed to a certain extent after the interrupter contacts of the vacuum valves 61 are brought into contact with each other in order to generate a contact pressure at the vacuum valve 61 for maintaining a contact pressure above a predetermined value even when the operating stroke of the drive link mechanism is decreased.
- the spring rod 27 comes out to project from the U-shaped bracket 28 by a distance B shown in Fig. 12 with the above wipe stroke, so that a relieve distance is provided between the pin 29 and the top of the bolt head attached to the spring rod 27.
- the U-shaped bracket 28 is made of a metal sheet material bent into a shape, the only guide surface available for guiding the spring rod 27 is the inner peripheral surface having a length corresponding to the thickness C shown in Fig. 12.
- the tank, the interrupter operating mechanism and the ground switch operating mechanism are independently mounted to the mounting frame and they all must have the respective required rigidity, so that each component members or parts is large in size and therefore the installation space for these members was inevitably large.
- interrupter operating mechanism and the ground switch operating mechanism are respectively mounted to the respective independent link frames, so that an unoccupied space within one of the compartment for one unit cannot be utilized by other unit.
- the contacts, the drive shaft, the mechanism, etc. are arranged in such a manner that their driving direction must be changed, so that the frictional loss and the load loss are high and the links and the shafts must be structured to have a large rigidity.
- the conventional wipe-link connection requires to have a relieve space because of its structure, and since the length of the guide for the spring rod movement is only a thickness of the sheet metal is short, the rattling or play of the spring rod 27 is large, whereby the mechanism must be large and rigid.
- the present invention resides in a switchgear having vacuum valves, an interrupter operating mechanism and a ground switch operating mechanism, characterized in that the interrupter operating mechanism and the ground switch operating mechanism are disposed on a common base frame.
- the common base frame may be made of a single metal sheet bent into a frame form and may be disposed between the vacuum valves.
- the interrupter operating mechanism may comprise a drive shaft that extends on a line of direction of opening and closing movements of a contact electrode of the vacuum valve, whereby a drive load is directly transmitted to the contact electrode of the vacuum valve along the line of direction.
- the drive shaft of the interrupter operating mechanism may be disposed on the common base frame at a section between an interrupter side movable rod of the interrupter operating mechanism and a ground switch side movable rod of the ground switch operating mechanism and wherein the drive shaft of the interrupter operating mechanism may be connected to the interrupter side movable rod through a connecting member.
- a connecting member of the drive shaft of the ground switch operating mechanism and a spring rod of a ground switch side movable rod of the ground switch operating mechanism may be connected through a mechanism including a rotary member rotatably mounted to the connecting member about an axis parallel to the drive shaft and including a bore through which the spring rod slidably extends.
- the connecting members may be canti-levered arms.
- An opening spring of the interrupter operating mechanism may be disposed in a space defined between phases of the ground switch operating mechanism.
- the ground switch operating mechanism having a relatively small height may be disposed in front of the interrupter operating mechanism such that the ground switch operating mechanism can be accessed from the front side of the switchgear.
- Fig. 1 is a front view of a switchgear of the present invention and Fig. 2 is a side view of the switchgear shown in Fig. 1.
- the switch gear of the present invention comprises a vacuum valve mold member 80 in which the interrupter and the ground switch contacts are accommodated.
- the illustrated switch monitor is a three-phase switchgear comprising the box-shaped mold member 80 having integrally formed within an electrically insulating resin three vacuum valves 4 for phases A, B and C.
- an interrupter contact 41 serving as both a disconnector and an interrupter as well as a grounding ground switch contact 51 are provided, and a movable contact 41a and a stationary contact 51b of the ground switch are connected together by a flexible conductor or a shunt 81.
- the stationary contact 41b of the interrupter is connected to a bus conductor 82 outside of the mold member 80 and the stationary contact 51b of the ground switch is connected to a power supply cable 83 at the outside of the mold member 80.
- the movable contact 41a of the interrupter is connected to the external interrupter side movable rod 42 external of the mold member 80 through an insulating rod 84 and bellows 85, and the movable contact 51a of the ground switch is connected to a ground switch side movable rod 52 external of the mold member 80 through bellows 86.
- the ground switch side movable rod 52 is grounded to the grounding portion E.
- the interrupter contact 41 is closed and the ground switch contact 51 is opened, so that an electric current flows from the bus conductor 82 to the power line 83 through the interrupter contact 41, the shunt 81 and the ground switch contact 51.
- the power supply cable 83 can be grounded.
- the reference numeral 40 is an operating unit of the interrupter operating mechanism and the 50 is an operating unit of the ground switch operating mechanism.
- the reference numeral 1 is a common base frame having a U-shaped cross section and for the interrupter and as shown in Fig. 2, the common base frame 1 supports at same frame surface the drive shaft 2 for the interrupter operating mechanism 40 and the drive shaft 3 for the ground switch operating mechanism
- the common base frame 1 is a single metal sheet bent to exhibit a substantially U-shaped cross-section (see Fig. 2) and is attached at the upper portion of the mold member 80 by means of bolts.
- the position at which the mold member 80 is attached is not outside of the row of the phases A, B and C, but between the vacuum valves 4 such as, as shown in Fig. 1, within a clearance defined between the vacuum valve 4 of phase A and the vacuum valve 4 of the phase B as well as the vacuum valve 4 of phase B and the vacuum valve 4 of the phase C.
- the width dimension (W) of the common base frame 1 as viewed in Fig. 1 can be made smaller as compared to the case where the base frame is secured at the outside of the row of the vacuum valves 4 of phases A, B and C.
- the distance between the secured portions can be made short and a sufficient rigidity can be obtained even with a single metal sheet bent structure.
- the transverse width of the common base frame 1 shown in Fig. 1 can be made smaller by an amount corresponding to the eliminated securing portions at the outer ends, so that the drive shaft 2 for the interrupter operating mechanism and the drive shaft 3 for the ground switch operating mechanism can similarly be shortened.
- the rigidity of these drive shafts 2 and 3 is improved by an amount corresponding to the amount of decrease of the distance between the support points, allowing the further reduction of size of the apparatus.
- a contact pressure spring 5 of the interrupter operating mechanism is disposed, and the operating unit of the interrupter operating mechanism 40 is positioned substantially directly above the direction of opening and closing movements of the interrupter through the drive shaft 2 of the interrupter.
- the drive direction does not have to be changed or converted so that the load may be transmitted along a straight path, whereby the friction and the load loss can be decreased and the required rigidity against bending of components can be minimized.
- a relatively long lever 100 such as used in the conventional example shown in Fig. 9 is not necessary, so that, as shown in Fig. 3, the contact pressure spring 5 and the operating unit of the interrupter operating mechanism 40 may be connected by a canti-levered arm 200 for example as a relatively short connecting member having a required lever ratio, i.e., as a connecting member for the drive shaft 2 of the interrupter operating mechanism.
- the drive shaft 2 of the interrupter operating mechanism can be positioned above the mold member 80 and between the movable rods 42 arranged in a row and the ground switch side movable rod 52.
- the drive shaft 3 for the ground switch operating mechanism is connected to the spring rod 52a through the connecting member 3a secured to the drive shaft 3, and the connecting member 3a is connected to the spring rod 52a by the wipe-link mechanism which comprises a rotary member 8 rotatably attached to the connecting member 3a about the axis parallel to the drive shaft 3 and in which one end of the spring rod 52a is slidably inserted into a through hole 8a extending in the direction perpendicular to the axis of the rotary member 8.
- a contact pressure spring 6 is disposed between the rotary member 8 and the flange portion 52b provided at the lower portion of the spring rod 52a.
- Fig. 4 is a side view of the ground switch contact 51 in the open position
- Fig. 5 is a front view of the contact shown in Fig. 4
- Fig. 6 is a front view showing the dosed position.
- the reference numeral 6 is a contact pressure spring of the ground switch operating mechanism
- 52a is the spring rod, which is an extension of the upper end portion of the ground switch side movable rod 52 of the ground switch contact 51.
- 8 is a wipe-link pin as a rotary member and is rotatably attached to the connecting member of the drive shaft 3 of the ground switch operating mechanism, i.e., the canti-levered arm 3 as the connecting member secured to the drive shaft 3.
- a through hole 8a extending perpendicular to the axis of the pin such that the spring rod 52a having one end slidably inserted into the through hole 8a and the pin 8 maintain the compression state of the contact pressure spring 6 of the ground switch contact 51a therebetween.
- the contact pressure spring 6 is further compressed to some extend. Therefore, even when the closing stroke is decreased for some mechanical reasons, a certain level of the contact pressure can be maintained by providing a suitable amount of compression of the contact pressure spring.
- the wipe-link mechanism as above explained is directly mounted by the pin to the canti-levered arm lever 3a serving as the connecting member of the drive shaft 3 for the ground switch operating mechanism, even when the spring rod 52a projects upward from the from the wipe-link pin 8 upon the contact separation of the ground switch, there is no connecting pin or the like that interferes with this movement and only the spring rod 52a projects upward, so that there is no need to provide a relieve space, allowing the switchgear to be made smaller.
- the hole 8a of the wipe-link pin 8 serves as the guide for the spring rod 52a, providing a longer guide surface that that of the conventional plate thickness, whereby the rattling of the mechanism can be reduced and the stability of the contact pressure can be obtained.
- the reference numeral 9 is an interrupter opening spring.
- This interrupter opening spring 9 is disposed within a clearance defined between the contact pressure springs 6 such as between the contact pressure springs 6 of phase A and phase B as well as between the contact pressure springs 6 of phase B and phase C. This eliminates the need for the installation space only for the interrupter opening spring 9, resulting in a compact switchgear.
- the ground switch operating mechanism 50 having a relatively small height is disposed in front of the interrupter operating mechanism 40 or the operating side (front side of the device). Since the interrupter operating mechanism 40 and the ground switch operating mechanism 50 are arranged as above explained, they can be placed close to each other by utilizing the spaces between the component members, so that the access to the display and the operation of the mechanisms can be established from the operating face side or from the front without using a complex linkage even when the interrupter operating mechanism 40 and the ground switch operating mechanism 50 are arranged in tandem.
- the reference numeral 10 is an operation handle on the operating unit of the interrupter operating mechanism 40 and the ground switch operating mechanism 50 and 11 are display units disposed at the front face of the operating unit.
- wipe-link connection mechanism is explained as being applied to the ground switch operating mechanism of the first embodiment, this wipe-link mechanism may equally be applied to other switchgears and general linkage and not to be limited to the switchgear of the first embodiment.
- the switchgear of the present invention has vacuum valves, an interrupter operating mechanism and a ground switch operating mechanism, and is characterized in that the interrupter operating mechanism and the ground switch operating mechanism are disposed on a common base frame. According to the inventions as claimed in any one of claims 1 to 9, the arrangement does not require unnecessary space or high rigidity and number of the component parts is small and is simple in structure and lightweight.
- the common base frame may be made of a single metal sheet bent into a frame form and may be secured between the vacuum valves, so that a single metal sheet may provide a sufficient rigidity and the drive shaft of the operating mechanisms can be made short whereby the rigidity can be increased and the number of the parts may be decreased and the overall apparatus can be small-sized.
- the interrupter operating mechanism may comprise a drive shaft that extends on a line of direction of opening and closing movements of a contact electrode of the vacuum valve, whereby a drive load is directly transmitted to the contact electrode of the vacuum valve along the tine of direction, so that the losses in friction and load can be minimized and the space necessary for the operation can be made small.
- the drive shaft of the interrupter operating mechanism may be disposed on the common base frame at a section between an interrupter side movable rod of the interrupter operating mechanism and a ground switch side movable rod of the ground switch operating mechanism and wherein the drive shaft of the interrupter operating mechanism may be connected to the interrupter side movable rod through a connecting member. Therefore, the overall dimension of the switchgear can be decreased.
- a connecting member of the drive shaft of the ground switch operating mechanism and a spring rod of a ground switch side movable rod of the ground switch operating mechanism may be connected through a mechanism including a rotary member rotatably mounted to the connecting member about an axis parallel to the drive shaft and including a bore through which the spring rod slidably extends, so that a longer guide surface can be obtained and the rattling can be decreased and the contact pressure can be made stable.
- the connecting members may be canti-levered arms, so that there is no need to use an elongated rod or levers, making the device small-sized.
- An opening spring of the interrupter operating mechanism may be disposed in a space defined between phases of the ground switch operating mechanism, so that the overall dimension of the device can be decreased.
- the ground switch operating mechanism having a relatively small height may be disposed in front of the interrupter operating mechanism such that the ground switch operating mechanism can be accessed from the front side of the switchgear, so that the access to the display and the operation of the mechanisms can be established from the operating face side or from the front without using a complex linkage even when the interrupter operating mechanism 40 and the ground switch operating mechanism 50 are arranged in tandem.
Landscapes
- Driving Mechanisms And Operating Circuits Of Arc-Extinguishing High-Tension Switches (AREA)
- High-Tension Arc-Extinguishing Switches Without Spraying Means (AREA)
- Lubricants (AREA)
- Hydrogenated Pyridines (AREA)
- Gas-Insulated Switchgears (AREA)
Applications Claiming Priority (2)
| Application Number | Priority Date | Filing Date | Title |
|---|---|---|---|
| JP2000040040 | 2000-02-17 | ||
| JP2000040040A JP3755639B2 (ja) | 2000-02-17 | 2000-02-17 | 開閉装置 |
Publications (3)
| Publication Number | Publication Date |
|---|---|
| EP1126484A2 true EP1126484A2 (de) | 2001-08-22 |
| EP1126484A3 EP1126484A3 (de) | 2003-12-17 |
| EP1126484B1 EP1126484B1 (de) | 2009-06-17 |
Family
ID=18563502
Family Applications (1)
| Application Number | Title | Priority Date | Filing Date |
|---|---|---|---|
| EP01103537A Expired - Lifetime EP1126484B1 (de) | 2000-02-17 | 2001-02-16 | Schaltanlage |
Country Status (8)
| Country | Link |
|---|---|
| EP (1) | EP1126484B1 (de) |
| JP (1) | JP3755639B2 (de) |
| KR (1) | KR100406103B1 (de) |
| CN (1) | CN1173379C (de) |
| AT (1) | ATE434260T1 (de) |
| DE (1) | DE60138973D1 (de) |
| SG (1) | SG94764A1 (de) |
| TW (1) | TW504881B (de) |
Cited By (4)
| Publication number | Priority date | Publication date | Assignee | Title |
|---|---|---|---|---|
| EP1617447A1 (de) * | 2004-07-12 | 2006-01-18 | ABB Technology AG | Erdungsschalter |
| CN101814395A (zh) * | 2010-04-26 | 2010-08-25 | 南京业基电气设备有限公司 | 一种真空断路器操作机构与固封极柱之间的联动结构 |
| CN103903905A (zh) * | 2014-04-11 | 2014-07-02 | 辽宁易德电气有限公司 | 开合感应电流真空开关装置 |
| GB2521135A (en) * | 2013-12-10 | 2015-06-17 | Tavrida Electric Holding Ag | Switching Apparatus for electrical power systems |
Families Citing this family (4)
| Publication number | Priority date | Publication date | Assignee | Title |
|---|---|---|---|---|
| KR100455436B1 (ko) * | 2002-09-30 | 2004-11-06 | 엘지산전 주식회사 | 나이프 블레이드의 가동접점장치 |
| KR100521240B1 (ko) * | 2003-05-12 | 2005-10-17 | 주식회사 비츠로테크 | 이상전압 발생 방지용 고속도 접지스위치 |
| CN102683095A (zh) * | 2011-03-18 | 2012-09-19 | 吉林永大电气开关有限公司 | 直流真空断路器 |
| WO2017038658A1 (ja) * | 2015-08-31 | 2017-03-09 | 三菱電機株式会社 | 開極速度調整機構及びスイッチギヤ |
Family Cites Families (9)
| Publication number | Priority date | Publication date | Assignee | Title |
|---|---|---|---|---|
| US3787649A (en) * | 1972-08-04 | 1974-01-22 | Allis Chalmers | Vacuum switch cam operating mechanism with contact loading compression spring |
| US3883709A (en) * | 1973-12-07 | 1975-05-13 | Allis Chalmers | Vacuum capacitor switch having grounding switch means |
| US4484046A (en) * | 1983-01-14 | 1984-11-20 | Power Distribution Products, Inc. | Vacuum load break switch |
| DE4133091C2 (de) * | 1991-09-30 | 1995-06-01 | Siemens Ag | Vakuumschalter mit einer Antriebsvorrichtung und einer Polantriebseinheit |
| JP3256141B2 (ja) * | 1996-08-01 | 2002-02-12 | 株式会社日立製作所 | 絶縁開閉器の導体接続装置 |
| JPH10125186A (ja) * | 1996-10-25 | 1998-05-15 | Toshiba Corp | 真空遮断器 |
| JPH11134979A (ja) * | 1997-10-31 | 1999-05-21 | Toshiba Fa Syst Eng Corp | 真空バルブ及びその製造方法 |
| JP3612201B2 (ja) * | 1997-12-24 | 2005-01-19 | 株式会社東芝 | 断路器付真空遮断器 |
| JP3753544B2 (ja) * | 1998-07-21 | 2006-03-08 | 三菱電機株式会社 | スイッチギア |
-
2000
- 2000-02-17 JP JP2000040040A patent/JP3755639B2/ja not_active Expired - Fee Related
-
2001
- 2001-02-15 SG SG200100823A patent/SG94764A1/en unknown
- 2001-02-16 EP EP01103537A patent/EP1126484B1/de not_active Expired - Lifetime
- 2001-02-16 AT AT01103537T patent/ATE434260T1/de not_active IP Right Cessation
- 2001-02-16 DE DE60138973T patent/DE60138973D1/de not_active Expired - Lifetime
- 2001-02-16 CN CNB011113952A patent/CN1173379C/zh not_active Expired - Fee Related
- 2001-02-16 TW TW090103567A patent/TW504881B/zh not_active IP Right Cessation
- 2001-02-16 KR KR10-2001-0007746A patent/KR100406103B1/ko not_active Expired - Fee Related
Cited By (9)
| Publication number | Priority date | Publication date | Assignee | Title |
|---|---|---|---|---|
| EP1617447A1 (de) * | 2004-07-12 | 2006-01-18 | ABB Technology AG | Erdungsschalter |
| US7297890B2 (en) | 2004-07-12 | 2007-11-20 | Abb Technology Ag | Earthing switch |
| CN101814395A (zh) * | 2010-04-26 | 2010-08-25 | 南京业基电气设备有限公司 | 一种真空断路器操作机构与固封极柱之间的联动结构 |
| CN101814395B (zh) * | 2010-04-26 | 2012-05-30 | 南京业基电气设备有限公司 | 一种真空断路器操作机构与固封极柱之间的联动结构 |
| GB2521135A (en) * | 2013-12-10 | 2015-06-17 | Tavrida Electric Holding Ag | Switching Apparatus for electrical power systems |
| CN104733224A (zh) * | 2013-12-10 | 2015-06-24 | 特瑞德电气股份公司 | 电力供应系统的开关装置 |
| GB2521135B (en) * | 2013-12-10 | 2017-01-18 | Tavrida Electric Holding Ag | Switching apparatus for electrical power systems |
| CN103903905A (zh) * | 2014-04-11 | 2014-07-02 | 辽宁易德电气有限公司 | 开合感应电流真空开关装置 |
| CN103903905B (zh) * | 2014-04-11 | 2016-07-06 | 辽宁易德实业集团有限公司 | 开合感应电流真空开关装置 |
Also Published As
| Publication number | Publication date |
|---|---|
| TW504881B (en) | 2002-10-01 |
| DE60138973D1 (de) | 2009-07-30 |
| JP3755639B2 (ja) | 2006-03-15 |
| KR20010082705A (ko) | 2001-08-30 |
| HK1037060A1 (en) | 2002-01-25 |
| JP2001229792A (ja) | 2001-08-24 |
| SG94764A1 (en) | 2003-03-18 |
| EP1126484A3 (de) | 2003-12-17 |
| CN1309404A (zh) | 2001-08-22 |
| KR100406103B1 (ko) | 2003-11-15 |
| EP1126484B1 (de) | 2009-06-17 |
| ATE434260T1 (de) | 2009-07-15 |
| CN1173379C (zh) | 2004-10-27 |
Similar Documents
| Publication | Publication Date | Title |
|---|---|---|
| US5055640A (en) | Multi-pin vacuum switch arrangement | |
| KR0151431B1 (ko) | 진공회로차단기 | |
| US9082561B2 (en) | Medium voltage circuit breaker arrangement operated by a transmission mechanism | |
| US4550234A (en) | Vacuum circuit breaker with two switching tubes connected in series for each pole | |
| CN1172340C (zh) | 配置有驱动机构和断路模块的多极电气开关装置 | |
| EP1126484B1 (de) | Schaltanlage | |
| GB2282267A (en) | Transfer switch mechanism | |
| AU741762B2 (en) | Low voltage multipole circuit breaker with high electrodynamic resistance, whereof the pole shaft is arranged in the compartment housing the poles | |
| CA2953095C (en) | A switching device with a suspended mobile contact assembly | |
| JP3274135B2 (ja) | 各真空バルブごとに極操作ユニットを備えた多極真空遮断器 | |
| US4973803A (en) | Vacuum circuit breaker | |
| JPWO2011086670A1 (ja) | 電磁操作方式開閉装置 | |
| CN1129345A (zh) | 断路器操纵装置 | |
| CN1199215C (zh) | 用于旋转接触系统的电路断路器机构 | |
| JP2018129120A (ja) | 開閉器の操作装置 | |
| JP2546221Y2 (ja) | 開閉装置の伝達経路ガイド機構 | |
| CN221946983U (zh) | 用于开关设备的操作装置和开关设备 | |
| US3964338A (en) | Pole unit mechanism for closing the contacts in an oil circuit breaker | |
| CN219370946U (zh) | 用于断路器的手动操作机构以及断路器 | |
| JP2000067713A (ja) | 開閉装置 | |
| JP2023033966A (ja) | 真空遮断器 | |
| KR20120036368A (ko) | 전자조작방식 개폐장치 | |
| JP2593242B2 (ja) | 補助開閉器 | |
| HK1037060B (zh) | 开闭装置 | |
| CN121237613A (zh) | 用于气体绝缘开关设备的断路器模块 |
Legal Events
| Date | Code | Title | Description |
|---|---|---|---|
| PUAI | Public reference made under article 153(3) epc to a published international application that has entered the european phase |
Free format text: ORIGINAL CODE: 0009012 |
|
| AK | Designated contracting states |
Kind code of ref document: A2 Designated state(s): AT BE CH CY DE DK ES FI FR GB GR IE IT LI LU MC NL PT SE TR |
|
| AX | Request for extension of the european patent |
Free format text: AL;LT;LV;MK;RO;SI |
|
| PUAL | Search report despatched |
Free format text: ORIGINAL CODE: 0009013 |
|
| AK | Designated contracting states |
Kind code of ref document: A3 Designated state(s): AT BE CH CY DE DK ES FI FR GB GR IE IT LI LU MC NL PT SE TR |
|
| AX | Request for extension of the european patent |
Extension state: AL LT LV MK RO SI |
|
| 17P | Request for examination filed |
Effective date: 20031217 |
|
| AKX | Designation fees paid |
Designated state(s): AT BE CH CY DE DK ES FI FR GB GR IE IT LI LU MC NL PT SE TR |
|
| RAP1 | Party data changed (applicant data changed or rights of an application transferred) |
Owner name: MITSUBISHI DENKI KABUSHIKI KAISHA |
|
| 17Q | First examination report despatched |
Effective date: 20080407 |
|
| GRAP | Despatch of communication of intention to grant a patent |
Free format text: ORIGINAL CODE: EPIDOSNIGR1 |
|
| RIN1 | Information on inventor provided before grant (corrected) |
Inventor name: SATO, TOSHIFUMI Inventor name: MARUYAMA, TOSHIMASA Inventor name: KOBAYASHI, MINORU Inventor name: ITOTANI, TAKAYUKI Inventor name: MIYAMOTO, SEIICHI |
|
| GRAS | Grant fee paid |
Free format text: ORIGINAL CODE: EPIDOSNIGR3 |
|
| GRAA | (expected) grant |
Free format text: ORIGINAL CODE: 0009210 |
|
| AK | Designated contracting states |
Kind code of ref document: B1 Designated state(s): AT BE CH CY DE DK ES FI FR GB GR IE IT LI LU MC NL PT SE TR |
|
| REG | Reference to a national code |
Ref country code: GB Ref legal event code: FG4D |
|
| REG | Reference to a national code |
Ref country code: CH Ref legal event code: EP |
|
| REG | Reference to a national code |
Ref country code: IE Ref legal event code: FG4D |
|
| REF | Corresponds to: |
Ref document number: 60138973 Country of ref document: DE Date of ref document: 20090730 Kind code of ref document: P |
|
| PG25 | Lapsed in a contracting state [announced via postgrant information from national office to epo] |
Ref country code: FI Free format text: LAPSE BECAUSE OF FAILURE TO SUBMIT A TRANSLATION OF THE DESCRIPTION OR TO PAY THE FEE WITHIN THE PRESCRIBED TIME-LIMIT Effective date: 20090617 Ref country code: AT Free format text: LAPSE BECAUSE OF FAILURE TO SUBMIT A TRANSLATION OF THE DESCRIPTION OR TO PAY THE FEE WITHIN THE PRESCRIBED TIME-LIMIT Effective date: 20090617 |
|
| PG25 | Lapsed in a contracting state [announced via postgrant information from national office to epo] |
Ref country code: SE Free format text: LAPSE BECAUSE OF FAILURE TO SUBMIT A TRANSLATION OF THE DESCRIPTION OR TO PAY THE FEE WITHIN THE PRESCRIBED TIME-LIMIT Effective date: 20090917 |
|
| NLV1 | Nl: lapsed or annulled due to failure to fulfill the requirements of art. 29p and 29m of the patents act | ||
| PG25 | Lapsed in a contracting state [announced via postgrant information from national office to epo] |
Ref country code: ES Free format text: LAPSE BECAUSE OF FAILURE TO SUBMIT A TRANSLATION OF THE DESCRIPTION OR TO PAY THE FEE WITHIN THE PRESCRIBED TIME-LIMIT Effective date: 20090928 |
|
| PG25 | Lapsed in a contracting state [announced via postgrant information from national office to epo] |
Ref country code: NL Free format text: LAPSE BECAUSE OF FAILURE TO SUBMIT A TRANSLATION OF THE DESCRIPTION OR TO PAY THE FEE WITHIN THE PRESCRIBED TIME-LIMIT Effective date: 20090617 Ref country code: BE Free format text: LAPSE BECAUSE OF FAILURE TO SUBMIT A TRANSLATION OF THE DESCRIPTION OR TO PAY THE FEE WITHIN THE PRESCRIBED TIME-LIMIT Effective date: 20090617 |
|
| PG25 | Lapsed in a contracting state [announced via postgrant information from national office to epo] |
Ref country code: PT Free format text: LAPSE BECAUSE OF FAILURE TO SUBMIT A TRANSLATION OF THE DESCRIPTION OR TO PAY THE FEE WITHIN THE PRESCRIBED TIME-LIMIT Effective date: 20091017 |
|
| PLBE | No opposition filed within time limit |
Free format text: ORIGINAL CODE: 0009261 |
|
| STAA | Information on the status of an ep patent application or granted ep patent |
Free format text: STATUS: NO OPPOSITION FILED WITHIN TIME LIMIT |
|
| PG25 | Lapsed in a contracting state [announced via postgrant information from national office to epo] |
Ref country code: DK Free format text: LAPSE BECAUSE OF FAILURE TO SUBMIT A TRANSLATION OF THE DESCRIPTION OR TO PAY THE FEE WITHIN THE PRESCRIBED TIME-LIMIT Effective date: 20090617 |
|
| 26N | No opposition filed |
Effective date: 20100318 |
|
| REG | Reference to a national code |
Ref country code: CH Ref legal event code: PL |
|
| GBPC | Gb: european patent ceased through non-payment of renewal fee |
Effective date: 20100216 |
|
| PG25 | Lapsed in a contracting state [announced via postgrant information from national office to epo] |
Ref country code: GR Free format text: LAPSE BECAUSE OF FAILURE TO SUBMIT A TRANSLATION OF THE DESCRIPTION OR TO PAY THE FEE WITHIN THE PRESCRIBED TIME-LIMIT Effective date: 20090918 Ref country code: CH Free format text: LAPSE BECAUSE OF NON-PAYMENT OF DUE FEES Effective date: 20100228 Ref country code: LI Free format text: LAPSE BECAUSE OF NON-PAYMENT OF DUE FEES Effective date: 20100228 Ref country code: MC Free format text: LAPSE BECAUSE OF NON-PAYMENT OF DUE FEES Effective date: 20100301 |
|
| PG25 | Lapsed in a contracting state [announced via postgrant information from national office to epo] |
Ref country code: IE Free format text: LAPSE BECAUSE OF NON-PAYMENT OF DUE FEES Effective date: 20100216 |
|
| PG25 | Lapsed in a contracting state [announced via postgrant information from national office to epo] |
Ref country code: IT Free format text: LAPSE BECAUSE OF FAILURE TO SUBMIT A TRANSLATION OF THE DESCRIPTION OR TO PAY THE FEE WITHIN THE PRESCRIBED TIME-LIMIT Effective date: 20090617 Ref country code: GB Free format text: LAPSE BECAUSE OF NON-PAYMENT OF DUE FEES Effective date: 20100216 |
|
| REG | Reference to a national code |
Ref country code: DE Ref legal event code: R084 Ref document number: 60138973 Country of ref document: DE Effective date: 20120425 |
|
| PG25 | Lapsed in a contracting state [announced via postgrant information from national office to epo] |
Ref country code: CY Free format text: LAPSE BECAUSE OF FAILURE TO SUBMIT A TRANSLATION OF THE DESCRIPTION OR TO PAY THE FEE WITHIN THE PRESCRIBED TIME-LIMIT Effective date: 20090617 |
|
| PG25 | Lapsed in a contracting state [announced via postgrant information from national office to epo] |
Ref country code: LU Free format text: LAPSE BECAUSE OF NON-PAYMENT OF DUE FEES Effective date: 20100216 |
|
| PG25 | Lapsed in a contracting state [announced via postgrant information from national office to epo] |
Ref country code: TR Free format text: LAPSE BECAUSE OF FAILURE TO SUBMIT A TRANSLATION OF THE DESCRIPTION OR TO PAY THE FEE WITHIN THE PRESCRIBED TIME-LIMIT Effective date: 20090617 |
|
| REG | Reference to a national code |
Ref country code: FR Ref legal event code: PLFP Year of fee payment: 16 |
|
| PGFP | Annual fee paid to national office [announced via postgrant information from national office to epo] |
Ref country code: DE Payment date: 20160209 Year of fee payment: 16 |
|
| PGFP | Annual fee paid to national office [announced via postgrant information from national office to epo] |
Ref country code: FR Payment date: 20160108 Year of fee payment: 16 |
|
| REG | Reference to a national code |
Ref country code: DE Ref legal event code: R119 Ref document number: 60138973 Country of ref document: DE |
|
| REG | Reference to a national code |
Ref country code: FR Ref legal event code: ST Effective date: 20171031 |
|
| PG25 | Lapsed in a contracting state [announced via postgrant information from national office to epo] |
Ref country code: FR Free format text: LAPSE BECAUSE OF NON-PAYMENT OF DUE FEES Effective date: 20170228 Ref country code: DE Free format text: LAPSE BECAUSE OF NON-PAYMENT OF DUE FEES Effective date: 20170901 |