EP1092575A2 - Klapp-bzw. Faltverdeck für Fahrzeuge wie Cabriolets od. dgl. - Google Patents
Klapp-bzw. Faltverdeck für Fahrzeuge wie Cabriolets od. dgl. Download PDFInfo
- Publication number
- EP1092575A2 EP1092575A2 EP00118043A EP00118043A EP1092575A2 EP 1092575 A2 EP1092575 A2 EP 1092575A2 EP 00118043 A EP00118043 A EP 00118043A EP 00118043 A EP00118043 A EP 00118043A EP 1092575 A2 EP1092575 A2 EP 1092575A2
- Authority
- EP
- European Patent Office
- Prior art keywords
- resin layer
- cast resin
- hood according
- outer cover
- bow
- Prior art date
- Legal status (The legal status is an assumption and is not a legal conclusion. Google has not performed a legal analysis and makes no representation as to the accuracy of the status listed.)
- Granted
Links
- 239000011347 resin Substances 0.000 claims abstract description 32
- 229920005989 resin Polymers 0.000 claims abstract description 32
- 238000009413 insulation Methods 0.000 claims description 17
- 239000004033 plastic Substances 0.000 claims description 11
- 238000005187 foaming Methods 0.000 claims description 2
- 239000012948 isocyanate Substances 0.000 claims 1
- 150000002513 isocyanates Chemical class 0.000 claims 1
- 229920005862 polyol Polymers 0.000 claims 1
- 150000003077 polyols Chemical class 0.000 claims 1
- 239000004744 fabric Substances 0.000 abstract description 11
- 239000000463 material Substances 0.000 description 6
- 230000003313 weakening effect Effects 0.000 description 4
- 230000008901 benefit Effects 0.000 description 2
- 229920000728 polyester Polymers 0.000 description 2
- 229920000742 Cotton Polymers 0.000 description 1
- 238000004026 adhesive bonding Methods 0.000 description 1
- 125000000484 butyl group Chemical group [H]C([*])([H])C([H])([H])C([H])([H])C([H])([H])[H] 0.000 description 1
- 238000005266 casting Methods 0.000 description 1
- 210000000078 claw Anatomy 0.000 description 1
- 230000001419 dependent effect Effects 0.000 description 1
- 230000000694 effects Effects 0.000 description 1
- 229920001971 elastomer Polymers 0.000 description 1
- 230000002349 favourable effect Effects 0.000 description 1
- 239000007788 liquid Substances 0.000 description 1
- 210000000056 organ Anatomy 0.000 description 1
- 239000011148 porous material Substances 0.000 description 1
- 230000009467 reduction Effects 0.000 description 1
- 239000005060 rubber Substances 0.000 description 1
- 238000009958 sewing Methods 0.000 description 1
- 230000007480 spreading Effects 0.000 description 1
- 238000003892 spreading Methods 0.000 description 1
- 238000003860 storage Methods 0.000 description 1
- 229920003051 synthetic elastomer Polymers 0.000 description 1
- 239000005061 synthetic rubber Substances 0.000 description 1
- 230000008719 thickening Effects 0.000 description 1
- 210000002105 tongue Anatomy 0.000 description 1
- XLYOFNOQVPJJNP-UHFFFAOYSA-N water Substances O XLYOFNOQVPJJNP-UHFFFAOYSA-N 0.000 description 1
- 238000003466 welding Methods 0.000 description 1
Images
Classifications
-
- B—PERFORMING OPERATIONS; TRANSPORTING
- B60—VEHICLES IN GENERAL
- B60J—WINDOWS, WINDSCREENS, NON-FIXED ROOFS, DOORS, OR SIMILAR DEVICES FOR VEHICLES; REMOVABLE EXTERNAL PROTECTIVE COVERINGS SPECIALLY ADAPTED FOR VEHICLES
- B60J7/00—Non-fixed roofs; Roofs with movable panels, e.g. rotary sunroofs
- B60J7/08—Non-fixed roofs; Roofs with movable panels, e.g. rotary sunroofs of non-sliding type, i.e. movable or removable roofs or panels, e.g. let-down tops or roofs capable of being easily detached or of assuming a collapsed or inoperative position
- B60J7/12—Non-fixed roofs; Roofs with movable panels, e.g. rotary sunroofs of non-sliding type, i.e. movable or removable roofs or panels, e.g. let-down tops or roofs capable of being easily detached or of assuming a collapsed or inoperative position foldable; Tensioning mechanisms therefor, e.g. struts
- B60J7/1226—Soft tops for convertible vehicles
-
- B—PERFORMING OPERATIONS; TRANSPORTING
- B60—VEHICLES IN GENERAL
- B60J—WINDOWS, WINDSCREENS, NON-FIXED ROOFS, DOORS, OR SIMILAR DEVICES FOR VEHICLES; REMOVABLE EXTERNAL PROTECTIVE COVERINGS SPECIALLY ADAPTED FOR VEHICLES
- B60J7/00—Non-fixed roofs; Roofs with movable panels, e.g. rotary sunroofs
- B60J7/08—Non-fixed roofs; Roofs with movable panels, e.g. rotary sunroofs of non-sliding type, i.e. movable or removable roofs or panels, e.g. let-down tops or roofs capable of being easily detached or of assuming a collapsed or inoperative position
- B60J7/12—Non-fixed roofs; Roofs with movable panels, e.g. rotary sunroofs of non-sliding type, i.e. movable or removable roofs or panels, e.g. let-down tops or roofs capable of being easily detached or of assuming a collapsed or inoperative position foldable; Tensioning mechanisms therefor, e.g. struts
- B60J7/1226—Soft tops for convertible vehicles
- B60J7/123—Soft tops for convertible vehicles characterised by means for fastening the soft top cloth to the arches or vehicle body work
Definitions
- the invention relates to a folding or folding top for Vehicles such as convertibles or the like with one articulated to the vehicle Convertible top linkage with convertible top frame parts such as bows, each of which at least one top element such as outer cover, tension belt, inner cover (Sky) or the like are fastened, for which purpose connecting elements are provided, which the respective top element at least indirectly with the Connect the convertible top frame part.
- Vehicles such as convertibles or the like
- convertible top frame parts such as bows
- at least one top element such as outer cover, tension belt, inner cover (Sky) or the like are fastened, for which purpose connecting elements are provided, which the respective top element at least indirectly with the Connect the convertible top frame part.
- Such a hood is e.g. known from DE 196 16 891 C1 and characterized in that both pointing to the external reference Side of the inner cover as well as on the side facing the inner cover the external cover as a connecting element each locking organs Cross attachments are attached to the bow, which as clip arrangements in are designed in a special way.
- Each locking element is on the inside cover directly and indirectly to the outer cover via a bonded to it or welded fastening strips are sewn on, thereby avoiding that the seams can be seen on the outside of the hood and leaks be excluded.
- the object is achieved by the invention with the features of Claim 1 solved.
- the invention is accordingly characterized in that on the side or surface of the top element facing the top frame part at least in the area of the roof frame part cover at least one cast resin layer made of a foamable plastic is poured, the one after foaming with the top element firm connection is received, and that the convertible top element-side connection elements attached directly to the cast resin layer or are trained.
- the essence of the invention is therefore essentially based on No connection, sewing, gluing or welding Assign cast resin layer, which is due to their attachment, that is Pour onto a convertible top element such as an outer cover, inner cover and / or Tension belt, is firmly anchored to this and the connecting elements has ready so that this on the frame parts, especially bows can be attached.
- the hood can be incorporated, which is a reproducibly controlled and Ensure that the soft top is put down at all times.
- the cast resin layer can be used as padding be designed by the side of the Lashing straps are assigned with the effect that linkage parts, especially the corner bow, which functions as a C-pillar, not to the outside make it more visible.
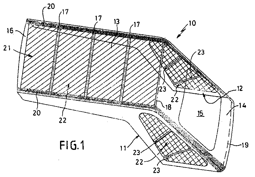
- FIG. 1 illustrates the example of a convertible top for convertibles a closed vehicle top 10. It comprises the two side parts 11 and 12, a roof part 13 and a rear part 14 with one incorporated therein Disc 15.
- 16 is the assigned to the windshield frame Called cowl bow.
- the reference numerals 17 point across Vehicle longitudinal axis directed bow.
- 18 is the corner bow designated, the substantially upper horizontal roof section redirected to the rear hood section 15, and 19 denotes the so-called tension bracket, the last when closing the hood on Vehicle body is locked.
- a hood usually still above the edge of the hood and in Vehicle longitudinal direction extending, under the outer cover and over the Brackets 17 and 18 tension straps 20.
- a folding top 10 then includes one on the top applied, which forms the sections 11, 12, 13 and 14.
- Modern convertible top fabrics are designed in three layers with a top fabric made of polyacrylic, an intermediate layer synthetic rubber based on PUR or on butyl as well as one inner or lower tissue, e.g. made of polyester or one Blended fabrics of cotton and polyester are made. Unless in the Drawings cuts are shown through the external reference, these are three layers of fabric not shown, especially since they are assumed to be known can. It is essential that the synthetic plastic Layer is gas and water impermeable, so the top completely seals, and particularly useful in the context of the invention, that the inner top fabric layer is formed by a fabric.
- Fig. 1 is hatched in the roof area 13 of the top 10 Lines and in the side parts 11 indicated with a cross-hatched pattern, that 21 insulation layers attached to the inside of the outer cover are.
- the insulation layer designated 22 extends in the case of FIG. 1 illustrated embodiment substantially all over continuously on the inner surface of the outer cover 10. This is in Principle also applies to the side parts 11, but these are insulating layers 22 targeted through the linear zones designated with 23 divided, these zones 23 being thickness reductions or Interruptions in the insulation layer 22 can act. Form the zones 23 defined crease or fold zones within the side parts 11 to a exactly reproducible clean storage of the convertible top when opening guarantee. Not shown in FIG. 1, across the roof part 13 12 weakening zones extending within the insulation also be arranged in a suitable place for the same purpose.
- FIG. 2 The principle of the "insulation weakening zones" and their The arrangement is shown again more clearly in FIG. 2 in the interior view and in FIG. 3 in longitudinal section.
- the longitudinal section according to FIG. 4 shows a section of the Outer cover 21 (which, as described above, made of a three-layer fabric exists) and its lower surface 21a facing the vehicle interior the insulation layer 22 is equipped.
- This insulation layer consists of one pourable plastic material, in particular from a two-component PUR plastic, the one under high pressure of 140 to 150 bar in a casting mold, into which the corresponding top fabric section (s) are inserted, is infused. Since the inner surface 21a of the outer cover 21 Usually and preferably is a fabric, this is still running liquid plastic material into the pores of the tissue and can settle there claw positively as soon as it is foamed.
- the layer thickness d of the insulation layer 22 is practical Execution usually at least 2 mm to approx. 8 mm, depending on the special requirements.
- a bow 17 is also shown in cross section.
- the The bow of a convertible top form the outer cover 21 Device, and the outer cover 21 is on the bow 17, 18th articulated.
- the arrangement is so hit that with 24 designated bow ties, which here too Have the shape of flags or strips, integral with the Insulation 22 are connected.
- the bow ties 24, which protrude from the insulation layer 22, are relative soft and flexible (a favorable degree of hardness for the insulation 22 and thus for the bow connections 24 there are also about 40 Shore D). Therefore let the bow connections to the outer surface of the bow 17 nestle. They are secured, for example, using screws 25 and suitable washers 26. Of course there are also others Fasteners that are familiar to the skilled worker are possible.
- connections 24 and their Cast resin layer connection with the outer cover or others Roof elements of particular importance do you want e.g. on the described insulation, the areas in which the Cast resin layer 34 is to be arranged on strips or limited zones restrict the sole purpose of holding Connect elements 24 meet.
- Fig. 5 takes up the reproduction of Fig. 4, but is about Representation of an inner cover 27 and its connection to the bow 17 completed.
- it is for external reference 21 facing inner surface 27 with transverse to the longitudinal axis of the vehicle Strips 28 of width b equipped with a cast resin layer 34, the same Has consistency as the cast resin layer 34 for the insulation 22.
- the Cast resin layer 34 are spaced apart from each other Arrangement two strips, rags or several in the longitudinal direction of the Bracket successive tongues 29 and 30 formed on the one side the surface of the bow 27 and on the opposite Side the outer surface of the mirror connection 24 of the outer cover 21 outside can reach around.
- the Attachment of the elements on the bow 17 with the same screw 25 and the washer 26.
- the material of the cast resin layer 34 is made harder and therefore less rubbery-soft.
- FIG. 6 shows an alternative embodiment, according to which a special Connection element 31, e.g. a rubber band, in a cast resin layer 34 is embedded.
- This embedding is in one in the embodiment thickened area 32 is provided.
- the strip 31 is inserted into it so that its end of Plastic material can be included.
- a little easier 7 shows an embodiment using a connecting element 31, which immediately, i.e. without providing a thickening 32 at the end in a cast resin layer 34 is cast. In this embodiment it could be the padding created by the cast resin layer 34 act of a tension belt 20.
- Fig. 8 illustrates on a top element such as e.g. the Outer cover 21 arranged cast resin layer 34 with one in the Layer thickness significantly reduced zone 35, which is intended in the of your particular area the corresponding top element more flexible or to make it more willing to fold.
- the weakening zone 35 thus serves targeted definition of fold or crease lines.
- FIG. 9 illustrates the arrangement according to FIG. 8 in one diagrammatic supervision of a tension belt 20 and also reveals that the cast resin layer 34 serving here for the upholstery has a large area, by spreading itself over the entire width of the Tension belt 20 extends.
Landscapes
- Engineering & Computer Science (AREA)
- Mechanical Engineering (AREA)
- Body Structure For Vehicles (AREA)
- Laminated Bodies (AREA)
- Outer Garments And Coats (AREA)
- Professional, Industrial, Or Sporting Protective Garments (AREA)
- Wrappers (AREA)
- Superstructure Of Vehicle (AREA)
- Casting Or Compression Moulding Of Plastics Or The Like (AREA)
Abstract
Description
- Fig. 1
- eine schematische, schaubildliche Ansicht eines als Klappverdeck ausgebildeten Fahrzeugverdecks,
- Fig. 2
- eine horizontale Innenansicht des Verdecks nach Fig. 1,
- Fig. 3
- ein Vertikalschnitt durch das hintere Seitenteil des Verdecks gemäß der Schnittlinie III-III in Fig. 2,
- Fig. 4
- einen Teil-Längsschnitt durch Außenbezug und Spriegel zur Darstellung der Spriegelanbindung des Außenbezugs,
- Fig. 5
- eine der Fig. 4 entsprechende Darstellung, jedoch zusätzlich mit einem am selben Spriegel angelenkten Innenbezug (Himmel),
- Fig. 6
- eine der Fig. 4 entsprechende Darstellung, jedoch mit einer separaten, in die Dämmlage eingearbeiteten Spriegelanbindung,
- Fig. 7
- eine entsprechende Darstellung an einem Spanngurt,
- Fig. 8
- eine Schnittdarstellung zur Veranschaulichung einer Soll-Knick-bzw. Soll-Faltzone und
- Fig. 9
- eine schaubildliche Darstellung dieser Zone im Bereich eines Spanngurtes.
Claims (13)
- Klapp- bzw. Faltverdeck (10) für Fahrzeuge wie Cabriolets od. dgl. mit einem am Fahrzeug angelenkten Verdeckgestänge mit Verdeckgestellteilen wie Spriegeln (17, 18), an denen je wenigstens ein Verdeckelement wie Außenbezug (21), Spanngurt (20), Innenbezug (27) (Himmel) od. dgl. befestigt sind, wozu Anbindungselemente (24) vorgesehen sind, die das jeweilige Verdeckelement mindestens mittelbar mit dem Verdeckgestellteil verbinden, dadurch gekennzeichnet, daß auf die zum Verdeckgestellteil (17, 18) weisende Seite bzw. Fläche des Verdeckelements (20, 21, 24) wenigstens im Bereich der Verdeckgestellteil-Überdeckung mindestens eine Gießharzschicht (34) aus einem schäumbaren Kunststoff aufgegossen ist, die nach dem Ausschäumen mit dem Verdeckelement (20, 21, 24) eine feste Verbindung eingeht, und daß die verdeckelementseitigen Anbindungselemente (24, 29, 30, 31, 33) unmittelbar an der Gießharzschicht befestigt bzw. ausgebildet sind.
- Verdeck nach Anspruch 1, dadurch gekennzeichnet, daß die Anbindungselemente (24, 29, 30, 31, 33) von der Gießharzschicht (34) selbst ausgebildet sind, indem sie werkstoffeinheitlich-stoffschlüssig an diese mit angeformt sind.
- Verdeck nach Anspruch 1, dadurch gekennzeichnet, daß die Enden der Anbindungselemente (24, 29, 30, 31, 33) von der Gießharzschicht (34) umschäumt bzw. in diese eingebettet sind.
- Verdeck nach Anspruch 2 oder 3, dadurch gekennzeichnet, daß die Anbindungselemente (24, 29, 30, 31, 33) als zungen- bzw. fahnenartige, biegsame Einzel- oder Doppel-Leisten aus der Fläche der Gießharzschicht (34) erhaben vorstehen und zur Befestigung an Verdeckgestellteilen (17, 18) an diese anschmiegbar sind.
- Verdeck nach einem der vorherigen Ansprüche, dadurch gekennzeichnet, daß die Gießharzschicht (34) aus einem unter Hochdruck aufgegossenen Kunststoff auf insbesondere PUR-Basis besteht.
- Verdeck nach Anspruch 5, gekennzeichnet durch eine Härte von etwa 40 Shore D des PUR-Kunststoffs und einem Mischungsverhältnis des Zwei-Komponenten-Kunststoffs von Polyol : Isocyanat von etwa 100:38 Gewichtsanteilen.
- Verdeck nach einem der Ansprüche 1 bis 6, gekennzeichnet durch eine Schichtdicke der Gießharzschicht (34) von etwa 2 bis 8 mm.
- Verdeck nach einem der vorherigen Ansprüche, wobei das Verdeckelement der Außenbezug (21) ist, dadurch gekennzeichnet, daß sich die Gießharzschicht (34) zur Bildung einer wärme- und schallisolierenden Dämmschicht (22) über zumindest weite Flächenbereiche der dem Fahrgastraum zugekehrten Seite des Außenbezugs (21) vollflächig erstreckt.
- Verdeck nach Anspruch 8, dadurch gekennzeichnet, daß mittels der Gießharzschicht (34) Nähte zwischen Partien des Außenbezugs (21) überschäumt und diese damit unter Verzicht auf besondere Nahtabdichtungen gas- und feuchtigkeitsdicht versiegelt sind.
- Verdeck nach einem der Ansprüche 1 bis 7, wobei die Verdeckelemente Spanngurte (20) sind, dadurch gekennzeichnet, daß die Spanngurte (20) zumindest im Querungsbereich der Verdeckgestellteile (17, 18) mit einer dem Außenbezug (21) zugewandten Gießharzschicht (34) als Polsterung (28) überschäumt sind.
- Verdeck nach Anspruch 10, dadurch gekennzeichnet, daß die Spanngurte (20) im wesentlichen über ihre Länge hinweg auf ihren zum Außenbezug (21) weisenden Flächen mit der Gießharzschicht (34) im wesentlichen vollflächig überschäumt sind.
- Verdeck nach einem der Ansprüche 1 bis 7, wobei das Verdeckelement der Innenbezug (27) ist, dadurch gekennzeichnet, daß auf der zum Außenbezug (21) weisenden Fläche des Innenbezugs (27) im Bereich der Spriegel (17, 18) jeweils eine im wesentlichen spriegelparallel verlaufende Gießharzschicht (34) aufgeschäumt ist zur Bildung eines Polsters sowie zur Halterung bzw. Bereitstellung der Spriegelanbindungselemente (29, 30).
- Verdeck nach einem der vorhergehenden Ansprüche, dadurch gekennzeichnet, daß die Gießharzschicht (34) zur Bildung von Sollfalt- bzw. Knickzonen zumindest bereichsweise unterbrochen oder in ihrer Schichtdicke vermindert ist.
Applications Claiming Priority (2)
| Application Number | Priority Date | Filing Date | Title |
|---|---|---|---|
| DE19949878 | 1999-10-15 | ||
| DE19949878A DE19949878A1 (de) | 1999-10-15 | 1999-10-15 | Klapp- bzw. Faltverdeck für Fahrzeuge wie Cabriolets o. dgl. |
Publications (3)
| Publication Number | Publication Date |
|---|---|
| EP1092575A2 true EP1092575A2 (de) | 2001-04-18 |
| EP1092575A3 EP1092575A3 (de) | 2002-07-17 |
| EP1092575B1 EP1092575B1 (de) | 2006-09-27 |
Family
ID=7925846
Family Applications (1)
| Application Number | Title | Priority Date | Filing Date |
|---|---|---|---|
| EP00118043A Expired - Lifetime EP1092575B1 (de) | 1999-10-15 | 2000-08-23 | Klapp-bzw. Faltverdeck für Fahrzeuge wie Cabriolets od. dgl. |
Country Status (5)
| Country | Link |
|---|---|
| US (1) | US6340197B1 (de) |
| EP (1) | EP1092575B1 (de) |
| AT (1) | ATE340715T1 (de) |
| DE (2) | DE19949878A1 (de) |
| ES (1) | ES2272224T3 (de) |
Cited By (4)
| Publication number | Priority date | Publication date | Assignee | Title |
|---|---|---|---|---|
| DE102005020650A1 (de) * | 2005-05-03 | 2006-11-09 | Wilhelm Karmann Gmbh | Verdeck für Kraftfahrzeuge, insbesondere für Cabriolets oder dergleichen |
| EP1925483A3 (de) * | 2006-11-23 | 2008-07-09 | Dr. Ing. h.c. F. Porsche Aktiengesellschaft | Verdeck für ein Cabriolet |
| EP1927493A3 (de) * | 2006-12-01 | 2009-05-06 | Wilhelm Karmann GmbH | Spriegelanordnung für ein Cabriolet-Fahrzeug |
| DE102013010883A1 (de) | 2013-07-01 | 2015-01-08 | Parat Beteiligungs Gmbh | Kraftfahrzeugverdeck |
Families Citing this family (5)
| Publication number | Priority date | Publication date | Assignee | Title |
|---|---|---|---|---|
| DE10205295A1 (de) * | 2002-02-08 | 2003-08-21 | Arvinmeritor Gmbh | Dachmodul für ein Fahrzeug sowie Verfahren zu seiner Herstellung |
| US6789836B2 (en) | 2002-09-10 | 2004-09-14 | Asc Incorporated | Convertible backlite control system |
| DE102006044234B4 (de) * | 2006-09-15 | 2008-06-26 | Edscha Cabrio-Dachsysteme Gmbh | Cabriolet-Verdeckbezug |
| DE102008063216A1 (de) * | 2008-12-29 | 2010-07-01 | Wilhelm Karmann Gmbh | Verdeck eines Cabriolet-Fahrzeugs mit wenigstens zwei Dachsegmenten und einem Innenhimmel |
| EP4011700A1 (de) * | 2020-12-08 | 2022-06-15 | PARAT Beteiligungs GmbH | Dachkonstruktion mit einem faltenbalg und faltenbalg |
Family Cites Families (22)
| Publication number | Priority date | Publication date | Assignee | Title |
|---|---|---|---|---|
| US2455926A (en) * | 1942-02-20 | 1948-12-14 | Interchem Corp | Automobile body structure |
| US2879105A (en) * | 1956-03-07 | 1959-03-24 | Woodall Industries Inc | Head lining assembly |
| US2823951A (en) * | 1957-11-26 | 1958-02-18 | Woodall Industries Inc | Head liner assembly |
| US3276814A (en) * | 1964-12-14 | 1966-10-04 | Gen Motors Corp | Removable folding top |
| AT285430B (de) | 1967-04-26 | 1970-10-27 | Hoechst Ag | Abdeckung für temperaturempfindliche Güter |
| US3642317A (en) * | 1970-08-28 | 1972-02-15 | Gen Motors Corp | Vehicle body headlining |
| JPH019722Y2 (de) * | 1979-08-17 | 1989-03-17 | ||
| DE3829345A1 (de) * | 1988-08-30 | 1990-03-08 | Porsche Ag | Verdeck fuer fahrzeuge, insbesondere personenwagen |
| DE3923725A1 (de) * | 1989-07-18 | 1991-01-31 | Bayerische Motoren Werke Ag | Verdeckbezug fuer ein faltverdeck eines kraftfahrzeugs |
| DE9206366U1 (de) | 1992-05-12 | 1992-08-06 | Kinkel, Werner, 8600 Bamberg | Verdeckstoff für Fahrzeuge mit integrierter Geräusch- und Wärmeisolierung |
| DE4218380C1 (en) * | 1992-06-04 | 1993-05-19 | Mercedes-Benz Aktiengesellschaft, 7000 Stuttgart, De | Car folding roof with several, transverse frame members - has elastomer support plate for roof stiffening section as insulation between outer and inner roof sign |
| DE59203850D1 (de) * | 1992-06-05 | 1995-11-02 | Happich Gmbh Gebr | Cabrio-Verdeck. |
| DE4221570A1 (de) * | 1992-07-01 | 1994-01-05 | Porsche Ag | Verdeckbezug für ein Faltverdeck eines Fahrzeuges |
| DE9209122U1 (de) * | 1992-07-08 | 1992-11-12 | Wilhelm Karmann GmbH, 4500 Osnabrück | Faltverdeck für einen Personenkraftwagen |
| DE9304248U1 (de) * | 1993-03-23 | 1994-07-28 | Schuster, Michael, 32257 Bünde | Mehrschichtiger Verdeckstoff für ein Fahrzeug-Faltdach |
| US5511844A (en) * | 1993-10-22 | 1996-04-30 | Dura Convertible Systems, Inc. | Convertible top having slidably replaceable bow |
| DE4441670C1 (de) * | 1994-11-23 | 1995-11-16 | Porsche Ag | Faltverdeck für Kraftfahrzeuge |
| DE19616891C1 (de) * | 1996-04-29 | 1997-08-28 | Parat Werk Schoenenbach Gmbh | Klapp- bzw. Faltverdeck für Fahrzeuge wie Cabriolets o. dgl. |
| DE29707433U1 (de) * | 1997-04-25 | 1998-08-27 | Wilhelm Karmann GmbH, 49084 Osnabrück | Cabriolet-Fahrzeug mit einem Faltverdeck |
| DE19724592C1 (de) | 1997-06-11 | 1998-10-15 | Grammer Formteile Gmbh | Verdeck für ein Kraftfahrzeug |
| DE29718206U1 (de) * | 1997-10-14 | 1998-03-19 | Wilhelm Karmann GmbH, 49084 Osnabrück | Cabriolet-Fahrzeug |
| DE19803597C1 (de) * | 1998-01-30 | 1999-07-01 | Daimler Chrysler Ag | Lamellen-Schiebedach für ein Kraftfahrzeug |
-
1999
- 1999-10-15 DE DE19949878A patent/DE19949878A1/de not_active Withdrawn
-
2000
- 2000-08-23 EP EP00118043A patent/EP1092575B1/de not_active Expired - Lifetime
- 2000-08-23 AT AT00118043T patent/ATE340715T1/de not_active IP Right Cessation
- 2000-08-23 ES ES00118043T patent/ES2272224T3/es not_active Expired - Lifetime
- 2000-08-23 DE DE50013517T patent/DE50013517D1/de not_active Expired - Lifetime
- 2000-10-13 US US09/688,954 patent/US6340197B1/en not_active Expired - Fee Related
Cited By (4)
| Publication number | Priority date | Publication date | Assignee | Title |
|---|---|---|---|---|
| DE102005020650A1 (de) * | 2005-05-03 | 2006-11-09 | Wilhelm Karmann Gmbh | Verdeck für Kraftfahrzeuge, insbesondere für Cabriolets oder dergleichen |
| EP1925483A3 (de) * | 2006-11-23 | 2008-07-09 | Dr. Ing. h.c. F. Porsche Aktiengesellschaft | Verdeck für ein Cabriolet |
| EP1927493A3 (de) * | 2006-12-01 | 2009-05-06 | Wilhelm Karmann GmbH | Spriegelanordnung für ein Cabriolet-Fahrzeug |
| DE102013010883A1 (de) | 2013-07-01 | 2015-01-08 | Parat Beteiligungs Gmbh | Kraftfahrzeugverdeck |
Also Published As
| Publication number | Publication date |
|---|---|
| US6340197B1 (en) | 2002-01-22 |
| EP1092575A3 (de) | 2002-07-17 |
| DE19949878A1 (de) | 2001-04-26 |
| DE50013517D1 (de) | 2006-11-09 |
| ATE340715T1 (de) | 2006-10-15 |
| EP1092575B1 (de) | 2006-09-27 |
| ES2272224T3 (es) | 2007-05-01 |
Similar Documents
| Publication | Publication Date | Title |
|---|---|---|
| EP1092576B1 (de) | Verdeck für Fahrzeuge, insbes. Klapp- oder Faltverdeck | |
| DE1630906A1 (de) | Verdeck fuer Kraftfahrzeuge | |
| DE102011103796B4 (de) | Verdeck mit Stoffaußenhaut | |
| EP1092577B1 (de) | Klapp- bzw. Faltverdeck für Fahrzeuge wie Cabriolets od. dgl. | |
| EP1092575B1 (de) | Klapp-bzw. Faltverdeck für Fahrzeuge wie Cabriolets od. dgl. | |
| EP0332810B1 (de) | Versenkbares Faltverdeck eines Kraftfahrzeugs | |
| DE8333168U1 (de) | Cabriolet-verdeckattrappe | |
| DE102007045780A1 (de) | Verdeckvorrichtung für ein Kraftfahrzeug | |
| EP2617591A2 (de) | Fahrzeugaufbau für Nutzfahrzeuge | |
| DE19926484C2 (de) | Anordnung zur Befestigung eines Randbereiches einer Fahrzeuginnenverkleidung an einem flexiblen Verdeck | |
| DE29918236U1 (de) | Klapp- bzw. Faltverdeck für Fahrzeuge wie Cabriolets o.dgl. | |
| EP1925483A2 (de) | Verdeck für ein Cabriolet | |
| DE29918232U1 (de) | Klapp- bzw. Faltverdeck für Fahrzeuge wie Cabriolets o.dgl. | |
| DE102011106999B4 (de) | Faltbares Verdeck für ein Cabriolet-Fahrzeug | |
| EP0332812A2 (de) | Versenkbares Faltverdeck eines Kraftfahrzeugs | |
| DE29918234U1 (de) | Verdeck für Fahrzeuge, insbesondere Klapp- oder Faltverdeck | |
| DE102020208589B4 (de) | Faltverdeck für ein Cabriolet-Fahrzeug | |
| DE102006003076B4 (de) | Verdeckbezug mit Schnittschutz | |
| EP1897725A1 (de) | Abspannanordnung für einen heckseitigen Abschnitt eines Verdeckbezugs und Cabriolet | |
| DE102004044604B3 (de) | Klappverdeck für Personenkraftwagen | |
| EP3974218B1 (de) | Faltverdeck für ein cabriolet-fahrzeug mit beweglicher heckscheibe | |
| EP3517333B1 (de) | Faltverdeck für ein cabriolet-fahrzeug | |
| DE102021213223B4 (de) | Verfahren zur Herstellung eines Verdeckbezugs eines Faltverdecks für ein Cabriolet-Fahrzeug sowie Faltverdeck für ein Cabriolet-Fahrzeug | |
| DE102018121995A1 (de) | Faltverdeck mit Verdeckbezug | |
| EP3967532B1 (de) | Faltverdeck für ein cabriolet-fahrzeug |
Legal Events
| Date | Code | Title | Description |
|---|---|---|---|
| PUAI | Public reference made under article 153(3) epc to a published international application that has entered the european phase |
Free format text: ORIGINAL CODE: 0009012 |
|
| AK | Designated contracting states |
Kind code of ref document: A2 Designated state(s): AT BE CH CY DE DK ES FI FR GB GR IE IT LI LU MC NL PT SE |
|
| AX | Request for extension of the european patent |
Free format text: AL;LT;LV;MK;RO;SI |
|
| PUAL | Search report despatched |
Free format text: ORIGINAL CODE: 0009013 |
|
| AK | Designated contracting states |
Kind code of ref document: A3 Designated state(s): AT BE CH CY DE DK ES FI FR GB GR IE IT LI LU MC NL PT SE |
|
| AX | Request for extension of the european patent |
Free format text: AL;LT;LV;MK;RO;SI |
|
| 17P | Request for examination filed |
Effective date: 20020730 |
|
| AKX | Designation fees paid |
Designated state(s): AT BE CH CY DE DK ES FI FR GB GR IE IT LI LU MC NL PT SE |
|
| GRAP | Despatch of communication of intention to grant a patent |
Free format text: ORIGINAL CODE: EPIDOSNIGR1 |
|
| GRAS | Grant fee paid |
Free format text: ORIGINAL CODE: EPIDOSNIGR3 |
|
| GRAA | (expected) grant |
Free format text: ORIGINAL CODE: 0009210 |
|
| AK | Designated contracting states |
Kind code of ref document: B1 Designated state(s): AT BE CH CY DE DK ES FI FR GB GR IE IT LI LU MC NL PT SE |
|
| PG25 | Lapsed in a contracting state [announced via postgrant information from national office to epo] |
Ref country code: IT Free format text: LAPSE BECAUSE OF FAILURE TO SUBMIT A TRANSLATION OF THE DESCRIPTION OR TO PAY THE FEE WITHIN THE PRE;WARNING: LAPSES OF ITALIAN PATENTS WITH EFFECTIVE DATE BEFORE 2007 MAY HAVE OCCURRED AT ANY TIME BEFORE 2007. THE CORRECT EFFECTIVE DATE MAY BE DIFFERENT FROM THE ONE RECORDED.SCRIBED TIME-LIMIT Effective date: 20060927 Ref country code: FI Free format text: LAPSE BECAUSE OF FAILURE TO SUBMIT A TRANSLATION OF THE DESCRIPTION OR TO PAY THE FEE WITHIN THE PRESCRIBED TIME-LIMIT Effective date: 20060927 Ref country code: NL Free format text: LAPSE BECAUSE OF FAILURE TO SUBMIT A TRANSLATION OF THE DESCRIPTION OR TO PAY THE FEE WITHIN THE PRESCRIBED TIME-LIMIT Effective date: 20060927 Ref country code: IE Free format text: LAPSE BECAUSE OF FAILURE TO SUBMIT A TRANSLATION OF THE DESCRIPTION OR TO PAY THE FEE WITHIN THE PRESCRIBED TIME-LIMIT Effective date: 20060927 |
|
| REG | Reference to a national code |
Ref country code: GB Ref legal event code: FG4D Free format text: NOT ENGLISH |
|
| REG | Reference to a national code |
Ref country code: CH Ref legal event code: EP |
|
| REG | Reference to a national code |
Ref country code: IE Ref legal event code: FG4D Free format text: LANGUAGE OF EP DOCUMENT: GERMAN |
|
| REF | Corresponds to: |
Ref document number: 50013517 Country of ref document: DE Date of ref document: 20061109 Kind code of ref document: P |
|
| GBT | Gb: translation of ep patent filed (gb section 77(6)(a)/1977) |
Effective date: 20061101 |
|
| PG25 | Lapsed in a contracting state [announced via postgrant information from national office to epo] |
Ref country code: DK Free format text: LAPSE BECAUSE OF FAILURE TO SUBMIT A TRANSLATION OF THE DESCRIPTION OR TO PAY THE FEE WITHIN THE PRESCRIBED TIME-LIMIT Effective date: 20061227 Ref country code: SE Free format text: LAPSE BECAUSE OF FAILURE TO SUBMIT A TRANSLATION OF THE DESCRIPTION OR TO PAY THE FEE WITHIN THE PRESCRIBED TIME-LIMIT Effective date: 20061227 |
|
| ET | Fr: translation filed | ||
| NLV1 | Nl: lapsed or annulled due to failure to fulfill the requirements of art. 29p and 29m of the patents act | ||
| PG25 | Lapsed in a contracting state [announced via postgrant information from national office to epo] |
Ref country code: PT Free format text: LAPSE BECAUSE OF FAILURE TO SUBMIT A TRANSLATION OF THE DESCRIPTION OR TO PAY THE FEE WITHIN THE PRESCRIBED TIME-LIMIT Effective date: 20070313 |
|
| REG | Reference to a national code |
Ref country code: IE Ref legal event code: FD4D |
|
| REG | Reference to a national code |
Ref country code: ES Ref legal event code: FG2A Ref document number: 2272224 Country of ref document: ES Kind code of ref document: T3 |
|
| PLBE | No opposition filed within time limit |
Free format text: ORIGINAL CODE: 0009261 |
|
| STAA | Information on the status of an ep patent application or granted ep patent |
Free format text: STATUS: NO OPPOSITION FILED WITHIN TIME LIMIT |
|
| 26N | No opposition filed |
Effective date: 20070628 |
|
| BERE | Be: lapsed |
Owner name: PARAT AUTOMOTIVE, SCHONENBACH G.M.B.H. + CO. KG Effective date: 20070831 |
|
| REG | Reference to a national code |
Ref country code: CH Ref legal event code: PL |
|
| PG25 | Lapsed in a contracting state [announced via postgrant information from national office to epo] |
Ref country code: GR Free format text: LAPSE BECAUSE OF FAILURE TO SUBMIT A TRANSLATION OF THE DESCRIPTION OR TO PAY THE FEE WITHIN THE PRESCRIBED TIME-LIMIT Effective date: 20061228 Ref country code: MC Free format text: LAPSE BECAUSE OF NON-PAYMENT OF DUE FEES Effective date: 20070831 Ref country code: LI Free format text: LAPSE BECAUSE OF NON-PAYMENT OF DUE FEES Effective date: 20070831 Ref country code: CH Free format text: LAPSE BECAUSE OF NON-PAYMENT OF DUE FEES Effective date: 20070831 |
|
| PG25 | Lapsed in a contracting state [announced via postgrant information from national office to epo] |
Ref country code: BE Free format text: LAPSE BECAUSE OF NON-PAYMENT OF DUE FEES Effective date: 20070831 |
|
| PGFP | Annual fee paid to national office [announced via postgrant information from national office to epo] |
Ref country code: ES Payment date: 20080820 Year of fee payment: 9 |
|
| PG25 | Lapsed in a contracting state [announced via postgrant information from national office to epo] |
Ref country code: AT Free format text: LAPSE BECAUSE OF NON-PAYMENT OF DUE FEES Effective date: 20070823 |
|
| PGFP | Annual fee paid to national office [announced via postgrant information from national office to epo] |
Ref country code: IT Payment date: 20080725 Year of fee payment: 9 |
|
| PGFP | Annual fee paid to national office [announced via postgrant information from national office to epo] |
Ref country code: GB Payment date: 20080811 Year of fee payment: 9 |
|
| PG25 | Lapsed in a contracting state [announced via postgrant information from national office to epo] |
Ref country code: LU Free format text: LAPSE BECAUSE OF NON-PAYMENT OF DUE FEES Effective date: 20070823 Ref country code: CY Free format text: LAPSE BECAUSE OF FAILURE TO SUBMIT A TRANSLATION OF THE DESCRIPTION OR TO PAY THE FEE WITHIN THE PRESCRIBED TIME-LIMIT Effective date: 20060927 |
|
| PGFP | Annual fee paid to national office [announced via postgrant information from national office to epo] |
Ref country code: FR Payment date: 20090820 Year of fee payment: 10 |
|
| GBPC | Gb: european patent ceased through non-payment of renewal fee |
Effective date: 20090823 |
|
| REG | Reference to a national code |
Ref country code: FR Ref legal event code: ST Effective date: 20100430 |
|
| PG25 | Lapsed in a contracting state [announced via postgrant information from national office to epo] |
Ref country code: FR Free format text: LAPSE BECAUSE OF NON-PAYMENT OF DUE FEES Effective date: 20090831 |
|
| REG | Reference to a national code |
Ref country code: ES Ref legal event code: FD2A Effective date: 20090824 |
|
| PG25 | Lapsed in a contracting state [announced via postgrant information from national office to epo] |
Ref country code: GB Free format text: LAPSE BECAUSE OF NON-PAYMENT OF DUE FEES Effective date: 20090823 |
|
| PG25 | Lapsed in a contracting state [announced via postgrant information from national office to epo] |
Ref country code: IT Free format text: LAPSE BECAUSE OF NON-PAYMENT OF DUE FEES Effective date: 20090823 |
|
| REG | Reference to a national code |
Ref country code: DE Ref legal event code: R081 Ref document number: 50013517 Country of ref document: DE Owner name: PARAT BETEILIGUNGS GMBH, DE Free format text: FORMER OWNER: PARAT SCHOENENBACH GMBH + CO. KG, 42897 REMSCHEID, DE Effective date: 20110509 |
|
| PG25 | Lapsed in a contracting state [announced via postgrant information from national office to epo] |
Ref country code: ES Free format text: LAPSE BECAUSE OF NON-PAYMENT OF DUE FEES Effective date: 20090824 |
|
| PGFP | Annual fee paid to national office [announced via postgrant information from national office to epo] |
Ref country code: DE Payment date: 20190729 Year of fee payment: 20 |
|
| REG | Reference to a national code |
Ref country code: DE Ref legal event code: R071 Ref document number: 50013517 Country of ref document: DE |
