EP0959216B1 - Anordnung zur hydraulischen Betätigung eines Heckdeckels - Google Patents

Anordnung zur hydraulischen Betätigung eines Heckdeckels Download PDF

Info

Publication number
EP0959216B1
EP0959216B1 EP99890103A EP99890103A EP0959216B1 EP 0959216 B1 EP0959216 B1 EP 0959216B1 EP 99890103 A EP99890103 A EP 99890103A EP 99890103 A EP99890103 A EP 99890103A EP 0959216 B1 EP0959216 B1 EP 0959216B1
Authority
EP
European Patent Office
Prior art keywords
check valve
hydraulic
working
working chamber
cover flap
Prior art date
Legal status (The legal status is an assumption and is not a legal conclusion. Google has not performed a legal analysis and makes no representation as to the accuracy of the status listed.)
Expired - Lifetime
Application number
EP99890103A
Other languages
English (en)
French (fr)
Other versions
EP0959216A2 (de
EP0959216A3 (de
Inventor
Bernhard Hollerbach
Current Assignee (The listed assignees may be inaccurate. Google has not performed a legal analysis and makes no representation or warranty as to the accuracy of the list.)
Hoerbiger Hydraulik GmbH
Original Assignee
Hoerbiger Hydraulik GmbH
Priority date (The priority date is an assumption and is not a legal conclusion. Google has not performed a legal analysis and makes no representation as to the accuracy of the date listed.)
Filing date
Publication date
Application filed by Hoerbiger Hydraulik GmbH filed Critical Hoerbiger Hydraulik GmbH
Publication of EP0959216A2 publication Critical patent/EP0959216A2/de
Publication of EP0959216A3 publication Critical patent/EP0959216A3/de
Application granted granted Critical
Publication of EP0959216B1 publication Critical patent/EP0959216B1/de
Anticipated expiration legal-status Critical
Expired - Lifetime legal-status Critical Current

Links

Images

Classifications

    • FMECHANICAL ENGINEERING; LIGHTING; HEATING; WEAPONS; BLASTING
    • F15FLUID-PRESSURE ACTUATORS; HYDRAULICS OR PNEUMATICS IN GENERAL
    • F15BSYSTEMS ACTING BY MEANS OF FLUIDS IN GENERAL; FLUID-PRESSURE ACTUATORS, e.g. SERVOMOTORS; DETAILS OF FLUID-PRESSURE SYSTEMS, NOT OTHERWISE PROVIDED FOR
    • F15B7/00Systems in which the movement produced is definitely related to the output of a volumetric pump; Telemotors
    • F15B7/005With rotary or crank input
    • F15B7/006Rotary pump input
    • FMECHANICAL ENGINEERING; LIGHTING; HEATING; WEAPONS; BLASTING
    • F15FLUID-PRESSURE ACTUATORS; HYDRAULICS OR PNEUMATICS IN GENERAL
    • F15BSYSTEMS ACTING BY MEANS OF FLUIDS IN GENERAL; FLUID-PRESSURE ACTUATORS, e.g. SERVOMOTORS; DETAILS OF FLUID-PRESSURE SYSTEMS, NOT OTHERWISE PROVIDED FOR
    • F15B11/00Servomotor systems without provision for follow-up action; Circuits therefor
    • F15B11/003Systems with load-holding valves
    • FMECHANICAL ENGINEERING; LIGHTING; HEATING; WEAPONS; BLASTING
    • F15FLUID-PRESSURE ACTUATORS; HYDRAULICS OR PNEUMATICS IN GENERAL
    • F15BSYSTEMS ACTING BY MEANS OF FLUIDS IN GENERAL; FLUID-PRESSURE ACTUATORS, e.g. SERVOMOTORS; DETAILS OF FLUID-PRESSURE SYSTEMS, NOT OTHERWISE PROVIDED FOR
    • F15B13/00Details of servomotor systems ; Valves for servomotor systems
    • F15B13/10Special arrangements for operating the actuated device with or without using fluid pressure, e.g. for emergency use
    • EFIXED CONSTRUCTIONS
    • E05LOCKS; KEYS; WINDOW OR DOOR FITTINGS; SAFES
    • E05YINDEXING SCHEME ASSOCIATED WITH SUBCLASSES E05D AND E05F, RELATING TO CONSTRUCTION ELEMENTS, ELECTRIC CONTROL, POWER SUPPLY, POWER SIGNAL OR TRANSMISSION, USER INTERFACES, MOUNTING OR COUPLING, DETAILS, ACCESSORIES, AUXILIARY OPERATIONS NOT OTHERWISE PROVIDED FOR, APPLICATION THEREOF
    • E05Y2900/00Application of doors, windows, wings or fittings thereof
    • E05Y2900/50Application of doors, windows, wings or fittings thereof for vehicles
    • EFIXED CONSTRUCTIONS
    • E05LOCKS; KEYS; WINDOW OR DOOR FITTINGS; SAFES
    • E05YINDEXING SCHEME ASSOCIATED WITH SUBCLASSES E05D AND E05F, RELATING TO CONSTRUCTION ELEMENTS, ELECTRIC CONTROL, POWER SUPPLY, POWER SIGNAL OR TRANSMISSION, USER INTERFACES, MOUNTING OR COUPLING, DETAILS, ACCESSORIES, AUXILIARY OPERATIONS NOT OTHERWISE PROVIDED FOR, APPLICATION THEREOF
    • E05Y2900/00Application of doors, windows, wings or fittings thereof
    • E05Y2900/50Application of doors, windows, wings or fittings thereof for vehicles
    • E05Y2900/53Type of wing
    • E05Y2900/546Tailboards, tailgates or sideboards opening upwards
    • FMECHANICAL ENGINEERING; LIGHTING; HEATING; WEAPONS; BLASTING
    • F15FLUID-PRESSURE ACTUATORS; HYDRAULICS OR PNEUMATICS IN GENERAL
    • F15BSYSTEMS ACTING BY MEANS OF FLUIDS IN GENERAL; FLUID-PRESSURE ACTUATORS, e.g. SERVOMOTORS; DETAILS OF FLUID-PRESSURE SYSTEMS, NOT OTHERWISE PROVIDED FOR
    • F15B2211/00Circuits for servomotor systems
    • F15B2211/20Fluid pressure source, e.g. accumulator or variable axial piston pump
    • F15B2211/205Systems with pumps
    • F15B2211/20507Type of prime mover
    • F15B2211/20515Electric motor
    • FMECHANICAL ENGINEERING; LIGHTING; HEATING; WEAPONS; BLASTING
    • F15FLUID-PRESSURE ACTUATORS; HYDRAULICS OR PNEUMATICS IN GENERAL
    • F15BSYSTEMS ACTING BY MEANS OF FLUIDS IN GENERAL; FLUID-PRESSURE ACTUATORS, e.g. SERVOMOTORS; DETAILS OF FLUID-PRESSURE SYSTEMS, NOT OTHERWISE PROVIDED FOR
    • F15B2211/00Circuits for servomotor systems
    • F15B2211/20Fluid pressure source, e.g. accumulator or variable axial piston pump
    • F15B2211/205Systems with pumps
    • F15B2211/2053Type of pump
    • F15B2211/20561Type of pump reversible
    • FMECHANICAL ENGINEERING; LIGHTING; HEATING; WEAPONS; BLASTING
    • F15FLUID-PRESSURE ACTUATORS; HYDRAULICS OR PNEUMATICS IN GENERAL
    • F15BSYSTEMS ACTING BY MEANS OF FLUIDS IN GENERAL; FLUID-PRESSURE ACTUATORS, e.g. SERVOMOTORS; DETAILS OF FLUID-PRESSURE SYSTEMS, NOT OTHERWISE PROVIDED FOR
    • F15B2211/00Circuits for servomotor systems
    • F15B2211/20Fluid pressure source, e.g. accumulator or variable axial piston pump
    • F15B2211/27Directional control by means of the pressure source
    • FMECHANICAL ENGINEERING; LIGHTING; HEATING; WEAPONS; BLASTING
    • F15FLUID-PRESSURE ACTUATORS; HYDRAULICS OR PNEUMATICS IN GENERAL
    • F15BSYSTEMS ACTING BY MEANS OF FLUIDS IN GENERAL; FLUID-PRESSURE ACTUATORS, e.g. SERVOMOTORS; DETAILS OF FLUID-PRESSURE SYSTEMS, NOT OTHERWISE PROVIDED FOR
    • F15B2211/00Circuits for servomotor systems
    • F15B2211/30Directional control
    • F15B2211/305Directional control characterised by the type of valves
    • F15B2211/30505Non-return valves, i.e. check valves
    • F15B2211/3051Cross-check valves
    • FMECHANICAL ENGINEERING; LIGHTING; HEATING; WEAPONS; BLASTING
    • F15FLUID-PRESSURE ACTUATORS; HYDRAULICS OR PNEUMATICS IN GENERAL
    • F15BSYSTEMS ACTING BY MEANS OF FLUIDS IN GENERAL; FLUID-PRESSURE ACTUATORS, e.g. SERVOMOTORS; DETAILS OF FLUID-PRESSURE SYSTEMS, NOT OTHERWISE PROVIDED FOR
    • F15B2211/00Circuits for servomotor systems
    • F15B2211/30Directional control
    • F15B2211/315Directional control characterised by the connections of the valve or valves in the circuit
    • F15B2211/31523Directional control characterised by the connections of the valve or valves in the circuit being connected to a pressure source and an output member
    • F15B2211/31529Directional control characterised by the connections of the valve or valves in the circuit being connected to a pressure source and an output member having a single pressure source and a single output member
    • FMECHANICAL ENGINEERING; LIGHTING; HEATING; WEAPONS; BLASTING
    • F15FLUID-PRESSURE ACTUATORS; HYDRAULICS OR PNEUMATICS IN GENERAL
    • F15BSYSTEMS ACTING BY MEANS OF FLUIDS IN GENERAL; FLUID-PRESSURE ACTUATORS, e.g. SERVOMOTORS; DETAILS OF FLUID-PRESSURE SYSTEMS, NOT OTHERWISE PROVIDED FOR
    • F15B2211/00Circuits for servomotor systems
    • F15B2211/30Directional control
    • F15B2211/32Directional control characterised by the type of actuation
    • F15B2211/329Directional control characterised by the type of actuation actuated by fluid pressure
    • FMECHANICAL ENGINEERING; LIGHTING; HEATING; WEAPONS; BLASTING
    • F15FLUID-PRESSURE ACTUATORS; HYDRAULICS OR PNEUMATICS IN GENERAL
    • F15BSYSTEMS ACTING BY MEANS OF FLUIDS IN GENERAL; FLUID-PRESSURE ACTUATORS, e.g. SERVOMOTORS; DETAILS OF FLUID-PRESSURE SYSTEMS, NOT OTHERWISE PROVIDED FOR
    • F15B2211/00Circuits for servomotor systems
    • F15B2211/40Flow control
    • F15B2211/405Flow control characterised by the type of flow control means or valve
    • F15B2211/40515Flow control characterised by the type of flow control means or valve with variable throttles or orifices
    • FMECHANICAL ENGINEERING; LIGHTING; HEATING; WEAPONS; BLASTING
    • F15FLUID-PRESSURE ACTUATORS; HYDRAULICS OR PNEUMATICS IN GENERAL
    • F15BSYSTEMS ACTING BY MEANS OF FLUIDS IN GENERAL; FLUID-PRESSURE ACTUATORS, e.g. SERVOMOTORS; DETAILS OF FLUID-PRESSURE SYSTEMS, NOT OTHERWISE PROVIDED FOR
    • F15B2211/00Circuits for servomotor systems
    • F15B2211/40Flow control
    • F15B2211/415Flow control characterised by the connections of the flow control means in the circuit
    • F15B2211/41527Flow control characterised by the connections of the flow control means in the circuit being connected to an output member and a directional control valve
    • FMECHANICAL ENGINEERING; LIGHTING; HEATING; WEAPONS; BLASTING
    • F15FLUID-PRESSURE ACTUATORS; HYDRAULICS OR PNEUMATICS IN GENERAL
    • F15BSYSTEMS ACTING BY MEANS OF FLUIDS IN GENERAL; FLUID-PRESSURE ACTUATORS, e.g. SERVOMOTORS; DETAILS OF FLUID-PRESSURE SYSTEMS, NOT OTHERWISE PROVIDED FOR
    • F15B2211/00Circuits for servomotor systems
    • F15B2211/40Flow control
    • F15B2211/45Control of bleed-off flow, e.g. control of bypass flow to the return line
    • FMECHANICAL ENGINEERING; LIGHTING; HEATING; WEAPONS; BLASTING
    • F15FLUID-PRESSURE ACTUATORS; HYDRAULICS OR PNEUMATICS IN GENERAL
    • F15BSYSTEMS ACTING BY MEANS OF FLUIDS IN GENERAL; FLUID-PRESSURE ACTUATORS, e.g. SERVOMOTORS; DETAILS OF FLUID-PRESSURE SYSTEMS, NOT OTHERWISE PROVIDED FOR
    • F15B2211/00Circuits for servomotor systems
    • F15B2211/50Pressure control
    • F15B2211/505Pressure control characterised by the type of pressure control means
    • F15B2211/50509Pressure control characterised by the type of pressure control means the pressure control means controlling a pressure upstream of the pressure control means
    • F15B2211/50518Pressure control characterised by the type of pressure control means the pressure control means controlling a pressure upstream of the pressure control means using pressure relief valves
    • FMECHANICAL ENGINEERING; LIGHTING; HEATING; WEAPONS; BLASTING
    • F15FLUID-PRESSURE ACTUATORS; HYDRAULICS OR PNEUMATICS IN GENERAL
    • F15BSYSTEMS ACTING BY MEANS OF FLUIDS IN GENERAL; FLUID-PRESSURE ACTUATORS, e.g. SERVOMOTORS; DETAILS OF FLUID-PRESSURE SYSTEMS, NOT OTHERWISE PROVIDED FOR
    • F15B2211/00Circuits for servomotor systems
    • F15B2211/50Pressure control
    • F15B2211/51Pressure control characterised by the positions of the valve element
    • F15B2211/513Pressure control characterised by the positions of the valve element the positions being continuously variable, e.g. as realised by proportional valves
    • FMECHANICAL ENGINEERING; LIGHTING; HEATING; WEAPONS; BLASTING
    • F15FLUID-PRESSURE ACTUATORS; HYDRAULICS OR PNEUMATICS IN GENERAL
    • F15BSYSTEMS ACTING BY MEANS OF FLUIDS IN GENERAL; FLUID-PRESSURE ACTUATORS, e.g. SERVOMOTORS; DETAILS OF FLUID-PRESSURE SYSTEMS, NOT OTHERWISE PROVIDED FOR
    • F15B2211/00Circuits for servomotor systems
    • F15B2211/50Pressure control
    • F15B2211/515Pressure control characterised by the connections of the pressure control means in the circuit
    • F15B2211/5159Pressure control characterised by the connections of the pressure control means in the circuit being connected to an output member and a return line
    • FMECHANICAL ENGINEERING; LIGHTING; HEATING; WEAPONS; BLASTING
    • F15FLUID-PRESSURE ACTUATORS; HYDRAULICS OR PNEUMATICS IN GENERAL
    • F15BSYSTEMS ACTING BY MEANS OF FLUIDS IN GENERAL; FLUID-PRESSURE ACTUATORS, e.g. SERVOMOTORS; DETAILS OF FLUID-PRESSURE SYSTEMS, NOT OTHERWISE PROVIDED FOR
    • F15B2211/00Circuits for servomotor systems
    • F15B2211/50Pressure control
    • F15B2211/52Pressure control characterised by the type of actuation
    • F15B2211/528Pressure control characterised by the type of actuation actuated by fluid pressure
    • FMECHANICAL ENGINEERING; LIGHTING; HEATING; WEAPONS; BLASTING
    • F15FLUID-PRESSURE ACTUATORS; HYDRAULICS OR PNEUMATICS IN GENERAL
    • F15BSYSTEMS ACTING BY MEANS OF FLUIDS IN GENERAL; FLUID-PRESSURE ACTUATORS, e.g. SERVOMOTORS; DETAILS OF FLUID-PRESSURE SYSTEMS, NOT OTHERWISE PROVIDED FOR
    • F15B2211/00Circuits for servomotor systems
    • F15B2211/50Pressure control
    • F15B2211/55Pressure control for limiting a pressure up to a maximum pressure, e.g. by using a pressure relief valve
    • FMECHANICAL ENGINEERING; LIGHTING; HEATING; WEAPONS; BLASTING
    • F15FLUID-PRESSURE ACTUATORS; HYDRAULICS OR PNEUMATICS IN GENERAL
    • F15BSYSTEMS ACTING BY MEANS OF FLUIDS IN GENERAL; FLUID-PRESSURE ACTUATORS, e.g. SERVOMOTORS; DETAILS OF FLUID-PRESSURE SYSTEMS, NOT OTHERWISE PROVIDED FOR
    • F15B2211/00Circuits for servomotor systems
    • F15B2211/60Circuit components or control therefor
    • F15B2211/61Secondary circuits
    • F15B2211/613Feeding circuits
    • FMECHANICAL ENGINEERING; LIGHTING; HEATING; WEAPONS; BLASTING
    • F15FLUID-PRESSURE ACTUATORS; HYDRAULICS OR PNEUMATICS IN GENERAL
    • F15BSYSTEMS ACTING BY MEANS OF FLUIDS IN GENERAL; FLUID-PRESSURE ACTUATORS, e.g. SERVOMOTORS; DETAILS OF FLUID-PRESSURE SYSTEMS, NOT OTHERWISE PROVIDED FOR
    • F15B2211/00Circuits for servomotor systems
    • F15B2211/80Other types of control related to particular problems or conditions
    • F15B2211/875Control measures for coping with failures
    • F15B2211/8755Emergency shut-down

Definitions

  • the invention relates to an arrangement for hydraulic actuation of a Rear cover, a cover flap or the like.
  • a vehicle with at least a double-acting hydraulic working cylinder, on the one hand on the Vehicle and on the other hand is hinged to the cover flap and its Workrooms each with a check valve with one side of each switchable pressure source are connected, the two check valves have a mutual unlocking device and each of the work rooms parallel to the non-return valves via a control valve in the tank Bias valve is kept at a certain pressure level.
  • Such arrangements are known and enable, for example, the automatic actuation of vehicle doors, bonnets, maintenance flaps or also of cover flaps of the trunk or of a folding roof Space.
  • the preload valve enables the cover flap to move in a controlled manner in this state, for example, by hand, such as an emergency closing to allow against a force specified by the preload valve.
  • the object of the present invention is to provide a known arrangement of the to improve the type described above so that the disadvantages described to be avoided and that in particular in a simple and safe manner Emergency actuation of the cover flap also on the usual piston and rod side different volumes of the working cylinders having working spaces becomes possible.
  • This task is performed in accordance with an arrangement of the type mentioned solved the invention in that between at least one work space, preferably the piston-side working space, and the associated unlockable Check valve a separate suction line leading to the tank opens into which a check valve opens towards the work area is used. If there is a failure of the hydraulic working pressure furthermore a simple and safe emergency operation of the cover flap, for example possible by hand. With the working cylinder pulled out by hand the rod-side workspace volume is pushed into the tank, the missing differential volume is sucked out of the tank via the check valve becomes. Since no further hydraulic elements such as Valves, nozzles, etc.
  • the suction line with the check valve also be provided on the rod side of the working cylinder and the unimpeded suction of hydraulic medium when manually closing the Cover flap or the like and the subsequent securing against unintentional Ensure press on.
  • This is supportive, especially in the case of opening or with the appropriate strength, automatically effecting gas springs od.
  • the suction and safety function for manual opening and closing by providing a suction line with a check valve on both the Rod as well as the piston side of the working cylinder is conceivable, alternatively also the connection of a suction line with a check valve alternately one of the lines to the working cylinder via a changeover valve.
  • the Suction line between the respective work area and the closest one hydraulic component opens. So that is immediate and unimpeded Suction of hydraulic medium from the tank, regardless of the Equipment of the automatic actuation system and its optimal design on their function in manual operation.
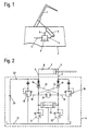
  • Fig. 1 shows a schematic arrangement according to the present Invention in a vehicle
  • Fig. 2 shows a schematic hydraulic Circuit diagram of an arrangement according to the invention.
  • FIG. 1 The arrangement shown in Fig. 1 for hydraulic actuation of a Cover flap, a boot lid or other movable vehicle part 1 on a vehicle 2 has at least one double-acting hydraulic Working cylinder 3 on the one hand on the vehicle 2 and on the other the cover flap 1 is articulated.
  • the workrooms not shown here of the working cylinder 3 are via lines 4, 5 with a hydraulic unit 6 connected, which via a connecting line 7 with the electrical Vehicle 2 electrical system is connected.
  • the working cylinder 3 is also fixed relative to the vehicle 2 could be mounted.
  • the 2 is the combination of hydraulic unit 6 and Lines 4, 5 connected cylinder 3 shown in more detail.
  • the two working spaces 8, 9 of the working cylinder 3 are via the lines 4, 5 and each with a check valve 10, 11 arranged in the hydraulic unit 6 one side of a switchable pressure source 12 (formed here Pump including drive motor) in connection.
  • the two check valves 10, 11 are connected via lines 13, 14 and can be unlocked from each other. about one bias valve 15, 16, the two working spaces 8, 9 are parallel to the check valves 10, 11 are shut off into the tank 17 as soon as an adjustable one Pressure levels are reached or exceeded.
  • the preload valves 15, 16 are via lines 18, 19 and the pump side in front of the check valves 10, 11 prevailing pressure can be shut off hydraulically.
  • the function of the arrangement shown is as in FIG. 2 illustrated explained.
  • the Working cylinder 3 off or on.
  • the motor of the pump of the pressure source 12 is energized, the pump runs and supplies pressure medium via the check valves 10 or 11 in the piston-side working space 8 or the rod-side Working room 9. This is on the same side via lines 18 and 19 such as the bias valve 15 or 16 controlled.
  • the pressure in the work room 8 or 9 can be up to Build the required value.
  • the cover flap 1 (Fig. 1) opens or closes hydraulically up to the stop in the working cylinder 3.
  • the volume of the rod-side work space 9 flows when opening via the line 14 hydraulically controlled check valve 11 and the shuttle valve 20 in the tank 16 off.
  • the hydraulic system delivers the total pressure relief valve 21 or 22 adjustable force.
  • the pump runs until the cover flap 1 is open and is then switched off.
  • a cover flap 1 according to FIG. 1 could be the inventive arrangement of course also for the actuation of vertical ones when closed Tailgates can be used for example a station wagon or a bus.
  • Other application examples would be e.g. Vehicle doors, maintenance or ventilation flaps and the like.

Landscapes

  • Engineering & Computer Science (AREA)
  • Physics & Mathematics (AREA)
  • Fluid Mechanics (AREA)
  • Mechanical Engineering (AREA)
  • General Engineering & Computer Science (AREA)
  • Superstructure Of Vehicle (AREA)
  • Lock And Its Accessories (AREA)
  • Actuator (AREA)
  • Vehicle Cleaning, Maintenance, Repair, Refitting, And Outriggers (AREA)
  • Power-Operated Mechanisms For Wings (AREA)
  • Fluid-Pressure Circuits (AREA)

Description

Die Erfindung betrifft eine Anordnung zur hydraulischen Betätigung eines Heckdeckels, einer Abdeckklappe od. dgl. an einem Fahrzeug, mit zumindest einem doppeltwirkenden hydraulischen Arbeitszylinder, der einerseits am Fahrzeug und andererseits an der Abdeckklappe angelenkt ist und dessen Arbeitsräume über je ein Rückschlagventil mit jeweils einer Seite einer umschaltbaren Druckquelle in Verbindung stehen, wobei die beiden Rückschlagventile eine gegenseitige Entsperreinrichtung aufweisen und jeder der Arbeitsräume parallel zu den Rückschlagventilen über ein in den Tank absteuerndes Vorspannventil auf einem bestimmten Druckniveau gehalten ist.
Derartige Anordnungen sind bekannt und ermöglichen beispielsweise die automatische Betätigung von Fahrzeugtüren, Motorhauben, Wartungsklappen oder auch von Abdeckklappen des Kofferraumes oder eines ein Faltverdeck aufnehmenden Raumes. Durch die gegenseitig entsperrbaren Rückschlagventile wird sichergestellt, daß beim Ausschalten oder Ausfallen des Betriebsdruckes die Abdeckklappe in der jeweiligen Stellung hydraulisch gesperrt stehenbleibt, um unkontrollierte Bewegungen und damit einhergehende Gefahren auszuschalten. Das Vorspannventil ermöglicht eine kontrollierte Weiterbewegung der Abdeckklappe in diesem Zustand beispielsweise von Hand aus, um etwa ein Not-Schließen gegen eine vom Vorspannventil vorgegebene Kraft zu erlauben.
Nachteilig bei der angeführten bekannten Anordnung der genannten Art ist insbesonders der Umstand, daß die beschriebene Notbetätigung nur im Zusammenhang mit einem volumsausgeglichenen Arbeitszylinder möglich ist, da es ansonsten Probleme mit dem Entfernen bzw. Zuführen von Hydraulikmedium zum kolben- bzw. stangenseitigen Arbeitsraum gibt. Ein einfaches Absteuern des überschüssigen, aus dem jeweiligen Arbeitsraum ausgeschobenen Volumens in den Tank wäre zwar noch möglich - Probleme gibt es aber mit dem im Notfall drucklosen Nachliefern von Hydraulikmedium in den anderen Arbeitsraum, da für die Anwendung in Fahrzeugen einerseits sehr dünne, flexible Leitungen verwendet werden müssen, die andererseits auch zufolge der gedrängten Unterbringungsmöglichkeiten relativ lang sind, sodaß der nachsaugende Arbeitsraum zumindest zum Teil mit ausgasender Luft gefüllt wird. Dies führt dann dazu, daß nach dem Auslassen der händisch notbetätigten Abdeckklappe diese undefiniert zurückfallen und Beschädigungen und Verletzungen hervorrufen kann.
Aufgabe der vorliegenden Erfindung ist es, eine bekannte Anordnung der eingangs beschriebenen Art so zu verbessern, daß die beschriebenen Nachteile vermieden werden und daß insbesonders auf einfache und sichere Weise eine Notbetätigung der Abdeckklappe auch bei den üblichen, auf Kolben- und Stangenseite unterschiedliche Volumina der Arbeitsräume aufweisenden Arbeitszylindern möglich wird.
Diese Aufgabe wird bei einer Anordnung der eingangs genannten Art gemäß der Erfindung dadurch gelöst, daß zwischen zumindest einem Arbeitsraum, vorzugsweise dem kolbenseitigen Arbeitsraum, und dem zugehörigen entsperrbaren Rückschlagventil eine zum Tank führende, separate Nachsaugleitung einmündet, in welche ein zum Arbeitsraum hin öffnendes Rückschlagventil eingesetzt ist. Bei einem Ausfall des hydraulischen Arbeitsdruckes ist damit weiterhin eine einfache und sichere Notbetätigung der Abdeckklappe beispielsweise von Hand aus möglich. Bei dabei von Hand ausgezogenem Arbeitszylinder wird das stangenseitige Arbeitsraumvolumen in den Tank abgeschoben, wobei das fehlende Differenzvolumen über das Rückschlagventil aus dem Tank angesaugt wird. Da in der Nachsaugleitung keinerlei weitere hydraulische Elemente wie Ventile, Düsen, etc. angeordnet sind und die Leitung auch keine anderen Funktionen erfüllen muß, kann sie ganz auf die Nachsaugfunktion ausgelegt werden und so gestaltet sein, daß auch bei schnellstmöglicher manueller Betätigung des Heckdeckels, der Abdeckklappe od. dgl. ein Ansaugen von Hydraulikmedium ohne Ausgasen von Luft gewährleistet ist. Damit ist aber in weiterer Folge das sichere Halten des manuell bewegten Fahrzeugteils in der jeweiligen Stellung sichergestellt, da weder ausgegaste Luft komprimiert wird noch Hydraulikflüssigkeit in den Tank zurückfließen kann.
Selbstverständlich kann die Nachsaugleitung mit dem Rückschlagventil auch auf der Stangenseite des Arbeitszylinders vorgesehen sein und dabei das ungehinderte Nachsaugen von Hydraulikmedium beim manuellen Schließen der Abdeckklappe od. dgl. sowie das nachfolgende Sichern gegen unbeabsichtigtes Aufdrücken sicherstellen. Damit ist, speziell im Falle von das Öffnen unterstützenden oder bei entsprechender Stärke automatisch bewirkenden Gasfedern od. dgl., gewährleistet, daß auch beim Ausfall der Betätigungshydraulik die Abdeckklappe od. dgl. in der manuell eingestellten Position gehalten wird. Auch die Nachsaug- und Sicherungsfunktion für manuelles Öffnen und Schließen durch Vorsehen einer Nachsaugleitung mit Rückschlagventil auf sowohl der Stangen- als auch der Kolbenseite des Arbeitszylinders ist denkbar, alternativ dazu auch der Anschluß einer Nachsaugleitung mit Rückschlagventil an wechselweise eine der Leitungen zum Arbeitszylinder über ein Umschaltventil.
In bevorzugter Ausgestaltung der Erfindung ist vorgesehen, daß die Nachsaugleitung zwischen dem jeweiligen Arbeitsraum und dem nächstliegenden hydraulischen Bauelement einmündet. Damit ist die unmittelbare und ungehinderte Nachsaugung von Hydraulikmedium aus dem Tank, unabhängig von der Ausstattung des automatischen Betätigungssystems, und deren optimale Auslegung auf ihre Funktion bei der manuellen Betätigung ermöglicht.
Die Erfindung wird im folgenden noch anhand der Zeichnungen näher erläutert. Fig. 1 zeigt dabei eine schematische Anordnung nach der vorliegenden Erfindung in einem Fahrzeug und Fig. 2 zeigt einen schematischen hydraulischen Schaltplan einer erfindungsgemäßen Anordnung.
Die in Fig. 1 dargestellt Anordnung zur hydraulischen Betätigung einer Abdeckklappe, eines Heckdeckels oder eines sonstigen beweglichen Fahrzeugteils 1 an einem Fahrzeug 2 weist zumindest einen doppeltwirkenden hydraulischen Arbeitszylinder 3 auf, der einerseits am Fahrzeug 2 und andererseits an der Abdeckklappe 1 angelenkt ist. Die hier nicht weiter dargestellten Arbeitsräume des Arbeitszylinders 3 sind über Leitungen 4, 5 mit einem Hydraulikaggregat 6 verbunden, welches über eine Anschlußleitung 7 mit dem elektrischen Bordnetz des Fahrzeuges 2 in Verbindung steht.
Anstelle der beidseitigen direkten Anlenkung des Arbeitszylinders 3, welche natürlich entsprechend bewegliche Leitungen 4, 5 oder ein insgesamt mit dem Arbeitszylinder 3 mitbewegbares Hydraulikaggregat 6 erfordert, könnte die Anlenkung des Arbeitszylinders 3 auf der Fahrzeug- und/oder Abdeckklappenseite auch indirekt über Hebel, Scharnieranordnungen oder dergleichen erfolgen, wobei der Arbeitszylinder 3 auch relativ zum Fahrzeug 2 feststehend montiert sein könnte.
In der Fig. 2 ist die Kombination von Hydraulikaggregat 6 und über die Leitungen 4, 5 verbundenem Arbeitszylinder 3 detaillierter dargestellt. Die beiden Arbeitsräume 8, 9 des Arbeitszylinders 3 sind über die Leitungen 4, 5 und je ein im Hydraulikaggregat 6 angeordnetes Rückschlagventil 10, 11 mit jeweils einer Seite einer umschaltbaren Druckquelle 12 (hier gebildet aus Pumpe samt Antriebsmotor) in Verbindung. Die beiden Rückschlagventile 10, 11 sind dabei über Leitungen 13, 14 verbunden und gegenseitig entsperrbar. Über je ein Vorspannventil 15, 16 sind die beiden Arbeitsräume 8, 9 parallel zu den Rückschlagventilen 10, 11 in den Tank 17 abgesteuert, sobald ein einstellbares Druckniveaus erreicht oder überschritten wird. Die Vorspannventile 15, 16 sind über Leitungen 18, 19 und den pumpenseitig vor den Rückschlagventilen 10, 11 herrschenden Druck hydraulisch absperrbar.
Die in Fig. 1 ersichtliche Anschlußleitung 7, welche in Fig. 2 nicht separat dargestellt ist, steuert den Motor der Pumpe der Druckquelle 12 und ein Wechselventil 20 zwischen den über einstellbare Druckbegrenzungsventile 21, 22 zum Tank 17 führenden Leitungen. Weiters könnten über diese Anschlußleitung 7 auch beispielsweise Endschalter oder sonstige Stellungskontrollen Signale zu nicht weiter dargestellten Steuereinheiten oder dergleichen liefern.
In der Leitung 4 zum kolbenseitigen Arbeitsraum 8 des Arbeitszylinders 3 mündet eine Nachsaugleitung 23 mit einem zum Arbeitsraum 8 öffnenden Rückschlagventil 24, über welche Nachsaugleitung 23 beim manuellen Ausfahren des Arbeitszylinders 3 Hydraulikflüssigkeit aus dem Tank 17 in den Arbeitsraum 8 nachgesaugt werden kann.
Im folgenden wird die Funktion der dargestellten Anordnung wie in Fig. 2 dargestellt erläutert. Beim hydraulischen Öffnen bzw. Schließen fährt der Arbeitszylinder 3 aus bzw. ein. Der Motor der Pumpe der Druckquelle 12 ist bestromt, die Pumpe läuft und liefert Druckmedium über die Rückschlagventile 10 bzw. 11 in den kolbenseitigen Arbeitsraum 8 bzw. den stangenseitigen Arbeitsraum 9. Über die Leitungen 18 bzw. 19 ist das auf der gleichen Seite wie das jeweils durchströmte Rückschlagventil liegende Vorspannventil 15 oder 16 zugesteuert. Der Druck im Arbeitsraum 8 bzw. 9 kann sich bis auf den erforderlichen Wert aufbauen. Die Abdeckklappe 1 (Fig. 1) öffnet oder schließt hydraulisch bis zum Anschlag im Arbeitszylinder 3. Das Volumen des stangenseitigen Arbeitsraumes 9 fließt beim Öffnen über das über die Leitung 14 hydraulisch aufgesteuerte Rückschlagventil 11 und das Wechselventil 20 in den Tank 16 ab. Je nach Gegengewicht bzw. Gegenkraft an der Abdeckklappe 1 liefert die Hydraulik insgesamt die am Druckbegrenzungsventil 21 oder 22 einstellbare Kraft. Die Pumpe läuft bis die Abdeckklappe 1 geöffnet ist und wird dann abgeschaltet.
Beim hydraulischen Schließen ist wieder der Motor der Pumpe der Druckquelle 12 bestromt, wobei hier nun Druckmedium über das Rückschlagventil 11 in den stangenseitigen Arbeitsraum 9 gefördert wird. Der Deckel 1 schließt mit einer am Druckbegrenzungsventil 22 einstellbaren Kraft. Das aus dem kolbenseitigen Arbeitsraum 8 abfließende Volumen fließt über das über die Leitung 13 aufgesteuerte Rückschlagventil 10 sowie das Wechselventil 20 in den Tank 16 ab. Die Schließkraft kann dabei nicht höher als am Druckbegrenzungsventil 22 eingestellt werden, womit leicht realisiert werden kann, daß die Abdeckklappe 1 zur Not auch von Hand noch angehalten werden kann. Die Abdeckklappe 1 wird beim Anhalten der hydraulischen Betätigung durch den an den Vorspannventilen 15 und 16 eingestellten Druck gehalten.
Beim Öffnen der Abdeckklappe 1 von Hand, beispielsweise bei Ausfall der Druckquelle 12 zufolge fehlender Stromversorgung, kann diese mit relativ geringem Kraftaufwand geöffnet werden. Es sind lediglich die Gewichtskraft der Abdeckklappe 1 selbst sowie die Strömungswiderstände in der Hydraulik zu überwinden. Eventuell im Fahrzeug eingebaute, an der Abdeckklappe 1 angreifende Gasfedern wirken zusätzlich unterstützend. Das Druckmedium fließt durch das wegen den fehlenden Drucks offene Vorspannventil 16 vom stangenseitigen Arbeitsraum 9 nahezu drucklos und dadurch mit geringem erforderlichen Kraftaufwand in den Tank 17 ab. Gleichzeitig wird mit geringstem Widerstand, weil allein ein Rückschlagventil 24 vorgesehen und die Leitung 23 auf diesen Zustand optimal auslegbar ist, Hydraulikflüssigkeit aus dem Tank 17 durch diese Leitung 23 in den kolbenseitigen Arbeitsraum 8 nachgesaugt. Sobald die manuelle Betätigung endet schließt das Rückschlagventil 24 und verhindert ein Zurückströmen des Druckmediums in den Tank. Die möglichst widerstandsfreie Ansaugung ist außerordentlich wichtig, damit die Abdeckklappe 1 nach einer derartigen Notbetätigung auch stehen bleibt und nicht gegen einen Luftpolster in diesem Arbeitsraum 8 zurückfallen kann, was ein großes Sicherheitsrisiko darstellen könnte. Zufolge des Unterdrucks bei nicht gefülltem kolbenseitigen Arbeitsraum würde nämlich Luft aus dem Druckmedium gelöst.
Um die oben beschriebene Funktion alternativ oder zusätzlich auf der Stangenseite des Arbeitszylinders 3 zu bieten und derart die Abdeckklappe 1 od. dgl. gegen Aufdrücken, beispielsweise durch das Gewicht der Abdeckklappe 1 kompensierende starke Gasfederanordnungen, zu sichern, kann die Nachsaugleitung 23 anstelle zur Leitung 4 zur Leitung 5 geführt sein, die den stangenseitigen Arbeitsraum 9 mit Hydraulikmedium versorgt. Auch die Verbindung beider Arbeitsräume 8, 9 mit dem Tank 17 über eine Nachsaugleitung mit Rückschlagventil wäre möglich, wobei dann die Abdeckklappe 1 od. dgl. nach manueller Betätigung bei inaktiver Betätigungsanordnung sicher in jeder erreichten Stellung gehalten ist.
Abgesehen von der dargestellten und beschriebenen Anordnung und Betätigung einer Abdeckklappe 1 gemäß Fig. 1 (beispielsweise an einem Kofferraum oder der Motorhaube eines PKW) könnte die erfindungsgemäße Anordnung natürlich auch zur Betätigung von im geschlossenen Zustand senkrechten Heckklappen beispielsweise eines Kombi oder eines Busses verwendet werden. Andere Anwendungsbeispiele wären z.B. Fahrzeugtüren, Wartungs- oder Lüftungsklappen und dergleichen mehr.

Claims (2)

  1. Anordnung zur hydraulischen Betätigung eines Heckdeckels, einer Abdeckklappe od. dgl. (1) an einem Fahrzeug, mit zumindest einem doppeltwirkenden hydraulischen Arbeitszylinder (3), der einerseits am Fahrzeug und andererseits an der Abdeckklappe angelenkt ist und dessen Arbeitsräume (8, 9) über je ein Rückschlagventil (10, 11) mit jeweils einer Seite einer umschaltbaren Druckquelle (12) in Verbindung stehen, wobei die beiden Rückschlagventile eine gegenseitige Entsperreinrichtung aufweisen und jeder der Arbeitsräume parallel zu den Rückschlagventilen über ein in den Tank absteuerndes Vorspannventil (15, 16) auf einem bestimmten Druckniveau gehalten ist , dadurch gekennzeichnet, daß zwischen zumindest einem Arbeitsraum (8, 9), vorzugsweise dem kolbenseitigen Arbeitsraum (8), und dem zugehörigen entsperrbaren Rückschlagventil (10 und/oder 11) eine zum Tank (17) führende, separate Nachsaugleitung (23) einmündet, in welche ein zum Arbeitsraum (8 und-/oder 9) hin öffnendes Rückschlagventil (24) eingesetzt ist.
  2. Anordnung nach Anspruch 1, dadurch gekennzeichnet, daß die Nachsaugleitung (23) zwischen dem jeweiligen Arbeitsraum (8, 9) und dem nächstliegenden hydraulischen Bauelement (10, 11) einmündet.
EP99890103A 1998-05-22 1999-03-24 Anordnung zur hydraulischen Betätigung eines Heckdeckels Expired - Lifetime EP0959216B1 (de)

Applications Claiming Priority (2)

Application Number Priority Date Filing Date Title
AT88298 1998-05-22
AT0088298A AT405750B (de) 1998-05-22 1998-05-22 Anordnung zur hydraulischen betätigung eines heckdeckels

Publications (3)

Publication Number Publication Date
EP0959216A2 EP0959216A2 (de) 1999-11-24
EP0959216A3 EP0959216A3 (de) 2003-05-14
EP0959216B1 true EP0959216B1 (de) 2004-09-01

Family

ID=3502006

Family Applications (1)

Application Number Title Priority Date Filing Date
EP99890103A Expired - Lifetime EP0959216B1 (de) 1998-05-22 1999-03-24 Anordnung zur hydraulischen Betätigung eines Heckdeckels

Country Status (5)

Country Link
US (1) US6217105B1 (de)
EP (1) EP0959216B1 (de)
JP (1) JP2000161306A (de)
AT (1) AT405750B (de)
DE (1) DE59910374D1 (de)

Families Citing this family (16)

* Cited by examiner, † Cited by third party
Publication number Priority date Publication date Assignee Title
NL1011852C2 (nl) 1999-04-21 2000-10-24 Applied Power Inc Hydraulische bedieningsinrichting voor een afdekkapsamenstel van een voertuig.
AT408792B (de) * 1999-11-22 2002-03-25 Hoerbiger Hydraulik Hydraulische betätigungsanordnung
KR20020028320A (ko) * 2000-10-09 2002-04-17 이계안 버스의 도어 개폐장치
AT410010B (de) * 2001-01-29 2003-01-27 Hoerbiger Hydraulik Hydraulische betätigungsanordnung und hydraulisch sperrbares rückschlagventil
DE10119340A1 (de) * 2001-04-20 2002-10-31 Stabilus Gmbh Betätigungssystem für eine Klappe o. dergleichen
FR2834528B1 (fr) * 2002-01-04 2004-02-20 France Design Dispositif adapte a commander l'ouverture et la fermeture d'un capot de coffre
US6857686B2 (en) 2003-02-06 2005-02-22 Asc Incorporated Two-way opening decklid for a convertible roof vehicle
US7198318B2 (en) * 2003-03-24 2007-04-03 Asc Incorporated Retractable roof structural system
US20050006156A1 (en) * 2003-07-10 2005-01-13 Schambach Darren M. Hood positioning apparatus and method
FI20060450A7 (fi) * 2006-05-09 2007-11-10 Huhtasalo Jouko Järjestelmä toimisylinterin asemoimiseksi, järjestelmän käyttö ja työkone
DE102016015093A1 (de) 2016-12-17 2017-06-29 Daimler Ag Antriebseinrichtung für ein Flügelelement eines Fahrzeugs, sowie Halteanordnung eines solchen Flügelelements an einem Aufbau eines Fahrzeugs
DE102017121501B3 (de) 2017-09-15 2018-08-23 Hoerbiger Automotive Komfortsysteme Gmbh Kraftfahrzeug
DE102017121499B3 (de) 2017-09-15 2018-08-16 Hoerbiger Automotive Komfortsysteme Gmbh Kraftfahrzeug
CN107905666A (zh) * 2017-11-07 2018-04-13 宁波汉商液压有限公司 一种控制汽车电动尾门的液压系统
CN113216785B (zh) * 2021-05-28 2022-12-23 山东通华专用车辆股份有限公司 一种不完全开启的自动升降后门
CN114001070A (zh) * 2021-11-26 2022-02-01 武汉海王机电工程技术有限公司 一种双作用油缸液压控制管路及装置

Family Cites Families (15)

* Cited by examiner, † Cited by third party
Publication number Priority date Publication date Assignee Title
US2467509A (en) * 1944-11-28 1949-04-19 Bendix Aviat Corp Hydraulic system
US3266381A (en) * 1964-12-14 1966-08-16 Gen Motors Corp Control valve for vehicle closure operator system
US4359119A (en) * 1979-05-04 1982-11-16 New York Development Consultants, Ltd. Spring-assisted elongated mass over-center system
DE3151070C2 (de) * 1981-12-23 1994-07-14 Stabilus Gmbh Sicherheits-Gasfeder für Motorhauben und/oder Kofferraumklappen von Kraftfahrzeugen
JPS60121115A (ja) * 1983-12-01 1985-06-28 Toyota Motor Corp 自動車用動力式コンバ−チブル・ル−フの制御装置
DE3413380A1 (de) * 1984-04-10 1985-10-17 Dr.Ing.H.C. F. Porsche Ag, 7000 Stuttgart Vorrichtung zum oeffnen und schliessen eines verdecks eines kraftfahrzeuges
US4688844A (en) * 1984-04-18 1987-08-25 Mazda Motor Corporation Back door structures for motor vehicles
US4858981A (en) * 1988-06-20 1989-08-22 Post Herman D Vehicle loading attachment
US5279119A (en) * 1991-02-25 1994-01-18 Wickes Manufacturing Company Hydraulic lock and bypass for vehicle hydraulic system
US5110175A (en) * 1991-07-26 1992-05-05 Wickes Manufacturing Company Convertible with automatic window operation
AT399130B (de) * 1992-03-18 1995-03-27 Hoerbiger Fluidtechnik Gmbh Anordnung zur hydraulischen betätigung eines fahrzeugverdeckes
NL9401191A (nl) * 1994-07-20 1996-03-01 Applied Power Inc Hydraulische schakeling.
KR970005252U (ko) * 1995-07-19 1997-02-19 자동차의 루프 레일 엔드 커버 결합 구조
AT403785B (de) * 1996-04-24 1998-05-25 Hoerbiger Gmbh Hydraulische betätigungsanordnung
EP0893605B1 (de) * 1997-07-23 2002-10-09 Hoerbiger Hydraulik GmbH Hydraulische Betätigungsanordnung

Also Published As

Publication number Publication date
EP0959216A2 (de) 1999-11-24
US6217105B1 (en) 2001-04-17
AT405750B (de) 1999-11-25
DE59910374D1 (de) 2004-10-07
ATA88298A (de) 1999-03-15
EP0959216A3 (de) 2003-05-14
JP2000161306A (ja) 2000-06-13

Similar Documents

Publication Publication Date Title
EP0803630B1 (de) Hydraulische Betätigungsanordnung
EP0959216B1 (de) Anordnung zur hydraulischen Betätigung eines Heckdeckels
DE4233994A1 (de) Hydraulische betaetigungsanordnung
DE102012011273B3 (de) Mobiler Großventilator
EP0959217B1 (de) Anordnung zur hydraulischen Betätigung eines Heckdeckels
EP1101692B1 (de) Hydraulische Betätigungsanordnung
AT408208B (de) Anordnung zur hydraulischen betätigung eines bewegten teils an fahrzeugen, insbesondere eines verdecks, eines heckdeckels, einer abdeckklappe oder dgl.
AT396613B (de) Hydraulische betätigungsanordnung für ein fahrzeugverdeck
AT406072B (de) Hydraulische betätigungsanordnung
EP1279541A1 (de) Verfahren und Vorrichtung zur Betätigung eines Verdecksystems bei Fahrzeugen
DE102004031202B4 (de) Hydrauliksystem zum Hochschwenken und Herablassen von Flügel-Aufbauteilen eines Lkws
EP1404976B1 (de) Hydraulische betätigungsanordnung und hydraulisch sperrbares rückschlagventil
DE10220455B4 (de) Hydraulische Betätigungsvorrichtung für ein Verdeck mit zugehörigem Riegel
EP1162375A2 (de) Betätigungsanordnung für schwenkbare Teile an Fahrzeugen
DE102021105025A1 (de) Schwenkantrieb für Durchladezug
EP0893605B1 (de) Hydraulische Betätigungsanordnung
DE102005005891B4 (de) Tür mit Türbremse
CH717147A2 (de) Hydraulischer Servo-Aktuator.
AT405752B (de) Anordnung zur hydraulischen betätigung eines heckdeckels
CH502202A (de) Kraftfahrzeug mit eine Be- und/oder Entladeöffnung an einer Vertikalseite verschliessender Klapptür
AT405751B (de) Anordnung zur hydraulischen betätigung eines heckdeckels
AT406357B (de) Anordnung zur hydraulischen betätigung eines verdecks, eines heckdeckels od. dgl.
AT409399B (de) Hydraulische betätigungsanordnung
DE102017121499B3 (de) Kraftfahrzeug
DE102017121501B3 (de) Kraftfahrzeug

Legal Events

Date Code Title Description
PUAI Public reference made under article 153(3) epc to a published international application that has entered the european phase

Free format text: ORIGINAL CODE: 0009012

AK Designated contracting states

Kind code of ref document: A2

Designated state(s): AT BE CH CY DE DK ES FI FR GB GR IE IT LI LU MC NL PT SE

AX Request for extension of the european patent

Free format text: AL;LT;LV;MK;RO;SI

PUAL Search report despatched

Free format text: ORIGINAL CODE: 0009013

AK Designated contracting states

Designated state(s): AT BE CH CY DE DK ES FI FR GB GR IE IT LI LU MC NL PT SE

AX Request for extension of the european patent

Extension state: AL LT LV MK RO SI

RIC1 Information provided on ipc code assigned before grant

Ipc: 7E 05F 15/00 B

Ipc: 7B 62D 25/12 B

Ipc: 7E 05F 15/04 A

17P Request for examination filed

Effective date: 20030604

AKX Designation fees paid

Designated state(s): DE FR IT

GRAP Despatch of communication of intention to grant a patent

Free format text: ORIGINAL CODE: EPIDOSNIGR1

GRAS Grant fee paid

Free format text: ORIGINAL CODE: EPIDOSNIGR3

GRAA (expected) grant

Free format text: ORIGINAL CODE: 0009210

AK Designated contracting states

Kind code of ref document: B1

Designated state(s): DE FR IT

PG25 Lapsed in a contracting state [announced via postgrant information from national office to epo]

Ref country code: IT

Free format text: LAPSE BECAUSE OF FAILURE TO SUBMIT A TRANSLATION OF THE DESCRIPTION OR TO PAY THE FEE WITHIN THE PRE;WARNING: LAPSES OF ITALIAN PATENTS WITH EFFECTIVE DATE BEFORE 2007 MAY HAVE OCCURRED AT ANY TIME BEFORE 2007. THE CORRECT EFFECTIVE DATE MAY BE DIFFERENT FROM THE ONE RECORDED.SCRIBED TIME-LIMIT

Effective date: 20040901

REG Reference to a national code

Ref country code: IE

Ref legal event code: FG4D

Free format text: GERMAN

REF Corresponds to:

Ref document number: 59910374

Country of ref document: DE

Date of ref document: 20041007

Kind code of ref document: P

REG Reference to a national code

Ref country code: IE

Ref legal event code: FD4D

PLBE No opposition filed within time limit

Free format text: ORIGINAL CODE: 0009261

STAA Information on the status of an ep patent application or granted ep patent

Free format text: STATUS: NO OPPOSITION FILED WITHIN TIME LIMIT

ET Fr: translation filed
26N No opposition filed

Effective date: 20050602

PGFP Annual fee paid to national office [announced via postgrant information from national office to epo]

Ref country code: FR

Payment date: 20090303

Year of fee payment: 11

REG Reference to a national code

Ref country code: FR

Ref legal event code: ST

Effective date: 20101130

PG25 Lapsed in a contracting state [announced via postgrant information from national office to epo]

Ref country code: FR

Free format text: LAPSE BECAUSE OF NON-PAYMENT OF DUE FEES

Effective date: 20100331

PGFP Annual fee paid to national office [announced via postgrant information from national office to epo]

Ref country code: DE

Payment date: 20150528

Year of fee payment: 17

REG Reference to a national code

Ref country code: DE

Ref legal event code: R119

Ref document number: 59910374

Country of ref document: DE

PG25 Lapsed in a contracting state [announced via postgrant information from national office to epo]

Ref country code: DE

Free format text: LAPSE BECAUSE OF NON-PAYMENT OF DUE FEES

Effective date: 20161001