EP0917693B1 - Parkplatzautomat - Google Patents

Parkplatzautomat Download PDF

Info

Publication number
EP0917693B1
EP0917693B1 EP96943946A EP96943946A EP0917693B1 EP 0917693 B1 EP0917693 B1 EP 0917693B1 EP 96943946 A EP96943946 A EP 96943946A EP 96943946 A EP96943946 A EP 96943946A EP 0917693 B1 EP0917693 B1 EP 0917693B1
Authority
EP
European Patent Office
Prior art keywords
parking
parking meter
control device
indicating
meter
Prior art date
Legal status (The legal status is an assumption and is not a legal conclusion. Google has not performed a legal analysis and makes no representation as to the accuracy of the status listed.)
Expired - Lifetime
Application number
EP96943946A
Other languages
English (en)
French (fr)
Other versions
EP0917693A1 (de
Inventor
Agenor Krygler
Alicja Krygler
Current Assignee (The listed assignees may be inaccurate. Google has not performed a legal analysis and makes no representation or warranty as to the accuracy of the list.)
Individual
Original Assignee
Individual
Priority date (The priority date is an assumption and is not a legal conclusion. Google has not performed a legal analysis and makes no representation as to the accuracy of the date listed.)
Filing date
Publication date
Priority claimed from PL96315608A external-priority patent/PL315608A1/xx
Application filed by Individual filed Critical Individual
Publication of EP0917693A1 publication Critical patent/EP0917693A1/de
Application granted granted Critical
Publication of EP0917693B1 publication Critical patent/EP0917693B1/de
Anticipated expiration legal-status Critical
Expired - Lifetime legal-status Critical Current

Links

Images

Classifications

    • GPHYSICS
    • G07CHECKING-DEVICES
    • G07BTICKET-ISSUING APPARATUS; FARE-REGISTERING APPARATUS; FRANKING APPARATUS
    • G07B15/00Arrangements or apparatus for collecting fares, tolls or entrance fees at one or more control points
    • G07B15/02Arrangements or apparatus for collecting fares, tolls or entrance fees at one or more control points taking into account a variable factor such as distance or time, e.g. for passenger transport, parking systems or car rental systems
    • GPHYSICS
    • G07CHECKING-DEVICES
    • G07FCOIN-FREED OR LIKE APPARATUS
    • G07F17/00Coin-freed apparatus for hiring articles; Coin-freed facilities or services
    • G07F17/24Coin-freed apparatus for hiring articles; Coin-freed facilities or services for parking meters
    • GPHYSICS
    • G07CHECKING-DEVICES
    • G07FCOIN-FREED OR LIKE APPARATUS
    • G07F17/00Coin-freed apparatus for hiring articles; Coin-freed facilities or services
    • G07F17/24Coin-freed apparatus for hiring articles; Coin-freed facilities or services for parking meters
    • G07F17/248Housing construction

Definitions

  • the invention relates to a parking machine according to the preamble of Claim 1.
  • parking meters are used according to the state of the art, which have a coin slot, depending on the one you want Parking time and necessary parking fee different coins are disposable.
  • the parking meter unlocks the selected and paid parking time.
  • a rotating plate connected to the clock rotates with the passage of time returns a "0 mark" which indicates the end of the paid parking time.
  • the disadvantage of these parking meters is the rather complex mechanics, which is also susceptible to wear. Even if such parking meters as Dual parking meters designed for two parking spaces will ultimately A corresponding time-synchronized mechanism for each parking space needed.
  • Such a parking machine with the features of the generic term Claim 1 is known from US-A-4, 173, 272.
  • This Parking machine closes a parking meter with cash openings and a binary electronic unit, the latter with several Display member cooperates, each a number of Represent parking spaces.
  • the display elements are replaced by the electronic unit depending on the value of the thrown Coin activated and show the still exhausted for each parking space Parking period continuously.
  • the display elements have a number of visible signal elements, whereby several signal elements are assigned to an actuation button.
  • the Signaling elements are dependent on the height of each parking space paid parking fee activated at the beginning and with expired paid Parking duration deactivated one after the other and act with a binary electronic control unit together to match the display links through those thrown into one or more coin slots Enable and disable prepaid parking fee.
  • the Indicator members are designed as indicator lights that are in a Row are arranged one behind the other and those according to previously determined Periods can be deactivated one after the other.
  • the parking meter also includes a main unit, the one Cash opening indicator, a converter to convert from Coin values in digital pulses, a pulse register, a pulse comparator and has a pacemaker controlled time base unit, counting down the time base unit to a certain one suitable number of impulses in relation to that in the overall parking system fee rate to be used and the design of the Lamp console determines the programming of the time base unit.
  • a main unit the one Cash opening indicator
  • a pulse register to convert from Coin values in digital pulses
  • a pulse comparator has a pacemaker controlled time base unit, counting down the time base unit to a certain one suitable number of impulses in relation to that in the overall parking system fee rate to be used and the design of the Lamp console determines the programming of the time base unit.
  • DE-A-38 03 387 shows a clock with a speech module, which after pressing a key or when reaching a preset time, which outputs this in linguistic form.
  • the duration of the parking time should be made easier and the user acoustically indicates.
  • an actuating means which initializes the control device into a predetermined initial state
  • the optical display device comprising a light-emitting diode array with flashing lights which flash as long as the parking time is running, and that a sound reproduction device with a loudspeaker for acoustic Announcement of the paid parking period is provided.
  • the selected, saved and paid parking time is therefore acoustically confirmed and thus has the function of a receipt.
  • the current parking time is visually communicated via the display means.
  • the parking machine is a column or box Has housing, wherein the actuating means is a rotary valve, the Display means are light emitting diodes, the display device Light emitting diode array, the control device is at least one, in particular has electronic clock, each with the display means is connected, the control device has a keyboard, which the actuating means has that the actuating means at least has two buttons, and each display means a button is assigned, and / or the buttons buttons with spring elements or Touch buttons or sensors or proximity switches.
  • a test facility for means of payment in particular a Coin checking device, on.
  • the parking machine has the sound player, which preferably announces a paid parking time acoustically and is in particular a language module.
  • the control device preferably has at least one, in particular electronic clock, each of which is connected to the display means is.
  • One is advantageous for each parking space, in particular electronic, clock provided.
  • a particularly convenient to use and reliable Parking machine results from the fact that the control device A microprocessor system identifies which with the input device for means of payment and the means of display.
  • the Control device at least one, in particular electronic watch, which is connected to the microprocessor system.
  • Advantageously There is a way for each parking space, in particular an electronic watch intended.
  • the input device for means of payment preferably has one Sensor on which occurs when an entry of payment means Outputs signal to the control device.
  • the input device for means of payment also has Actuating means, which upon its actuation is a return triggers the entered form of payment.
  • the Parking machine equipped with an actuator that the Parking machine initialized in a predetermined initial state.
  • the time measuring device electronic watch is that the input device for payment means one Coin insertion device is that the input device for selecting a Display means a keyboard is that the input device for Selection of a display means has at least two buttons, wherein a key is assigned to each display means that the keys push buttons with Spring elements or touch buttons or sensors or Proximity switches are that the input device for selecting a Display means is a rotary valve, and that the display means Light emitting diodes are, in particular a light emitting diode array, and / or for a separate time measuring device is provided for each parking space.
  • the input device for Means of payment a testing facility, in particular a Coin checking device.
  • the parking machine furthermore the sound reproduction device which is connected to the microprocessor system.
  • the Sound reproduction device preferably says acoustically a paid one Parking time.
  • the sound reproduction device is preferably a Speech module.
  • the input device for means of payment preferably has one Sensor on which occurs when an entry of payment means Sends signal to the microprocessor system.
  • the input device for means of payment preferably has one Sensor on which occurs when an entry of payment means Sends signal to the microprocessor system.
  • the input device for means of payment also has Actuating means, which, when actuated, result in a return triggers the entered form of payment.
  • an actuator is provided which Control device initialized to a predetermined initial state.
  • FIG. 1 shows a perspective view of a parking lot machine 100 with operating buttons 22, a zero button 20, flashing lights 24 and one small canopy 26 to protect against the weather.
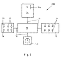
  • FIG. 2 shows a schematic block diagram of a control device 200 for the parking machine 100.
  • This has a central Microprocessor unit 10, a coin insertion device 16 with a Coin slot 16a, a keypad 14 with operation buttons 22, a LED field 12 with flashing lights 24 and an electronic clock 18th on.
  • the microprocessor unit 10 is with the other components preferably by means of a data transmission network Data bus lines 18 connected.
  • the keyboard 14 as a manually operated mechanism for this Electronic control system 200 is operated by buttons with micro switches formed directly on the board 14 with electronic contact to Microprocessor 10 are arranged. Between keys and Micro-switches can be spring elements. It can however, touch buttons (sensors) can also be used. The Micro switches are used for communication of the electronic system 200 with the buttons.
  • the actuation buttons 20, 22 are e.g. as spring-loaded push buttons or designed as touch buttons.
  • the system 200 can be a photocell or have a micro switch, which by a spring lever Received signal from the coin input device 16.
  • the input or data input components of this system 200 are the keypad 14, the coin input device 16 and the timer (electronic clock) 18.
  • the LED field is the output or Display component.
  • Each actuation button 22 is assigned an optical display means 24.
  • the number of actuation buttons 22 with the display buttons 24 corresponds the number of parking spaces to be used.
  • the parking machine 100 can only be used for the operation of a parking lot as well Operation of several parking spaces.
  • the electronic system of the parking machine is characterized by that Micro process system connected to the mechanical device in the form a coin dispenser and an electronic watch, from, to A keyboard and a diode light field to the system output is switched on.
  • a key 20 labeled "zero" is closed actuate. Then one or more coins are inserted into the coin slot. Then the number series “1 to 8" pressed the key to the number corresponding to the numbered parking lot matches. If someone parks in place "5", then press the key to the number "5". If this button is pressed, then it is done an acoustic announcement via an integrated loudspeaker Parking time. This acoustic announcement is also the confirmation for paying the fee for the corresponding parking time. He follows via the acoustic announcement a reference to "30 minutes", then the Parking time also only 30 minutes. However, the acoustic announcement can be different Announce parking times when, for example, two coins are inserted are and there is a parking time of "60 minutes”.
  • optical signal lamp Flashing light
  • the squat for the number "5" solves at Pressing the button not only turns off the acoustic announcement, but at the same time the flashing light is activated as soon as the parking fee is confirmed.
  • This optical signal is intended for people (Control persons or municipal supervisory bodies) who check the parking meters check. If the light flashes for the button with the assigned number "5", white the inspector that the fee for this parking space "5" is paid and also that the parking time has not yet expired.
  • This flashing light is in operation as long as the parking time is running.
  • buttons “1 to 8" can be chosen arbitrarily.
  • keys “1 to 12" can also be provided.
  • the acoustic announcement is made in the interior of the housing of the Parking module arranged voice module. This must be done with the Connected coin counters when inserting and also with everyone single key from the key row "1 to 8", because depending on the number of inserted coins, the announcement must also indicate the corresponding parking time communicate, i.e. for example, when inserting a one-mark piece, the acoustic announcement for a parking period of 30 minutes. At a coin insertion of two coins then takes place when the Key "5" the acoustic announcement that a 60-minute parking time to Available.
  • the acoustic announcement of the duration of the parking time can also be via Carrier system such as a sound reproduction device, which in the parking machine is installed.
  • Carrier system such as a sound reproduction device, which in the parking machine is installed.
  • a sound player is, for example, the corresponding announcement on a tape included, which is played accordingly.
  • buttons keyboards instead of button keyboards, other types of pushbuttons can also be used are used, including proximity switches.
  • the advantage of the new parking machine is in particular that no more receipts are issued that are parked in the car Area of the carriage window are to be arranged.
  • the parking lot visitor poses his car and operates the parking machine and if the Parking machine quasi acoustically acknowledges the paid parking time the parking lot user can no longer go back to his car since he yes has already received the receipt from the parking machine and everyone Checker at the parking machine even from a greater distance Confirmation in optical form finds that the parking fee for one certain time has been paid.
  • the parking machine can also contain a coin checker. Wrong coins will not be returned.
  • a coin checking device is activated.
  • counterfeit coins from the outset from Parking machines are retained, which is prevented can do multiple attempts with similarly large and similarly difficult Foreign currency coins but of lesser value, Parking lot manipulations are made or by this multiple manipulation attempts finally a coin jam in the The chute is created.
  • a money return button with a corresponding Removal shaft should be provided.
  • the described parking machine with a money changer combine, for example, if the parking fee to be deprived in each case corresponds to a less common coin.
  • the one that is preferably provided in the parking machine Coin checking device is designed such that when operated a money return button or coin validator activation switch only coins for which the Parking ticket machine is aligned. Foreign currency coins or Counterfeit money will not be countered when the money return button is pressed, but remain in the parking lot machine.

Landscapes

  • Physics & Mathematics (AREA)
  • General Physics & Mathematics (AREA)
  • Business, Economics & Management (AREA)
  • Finance (AREA)
  • Devices For Checking Fares Or Tickets At Control Points (AREA)

Abstract

Die vorliegende Erfindung betrifft einen Parkplatzautomat (100) mit einer Eingabevorrichtung für Zahlungsmittel (16), insbesondere mit einer Münzeinwurfeinrichtung und einer Anzeigevorrichtung (12) zur Anzeige des Ablaufens einer bezahlten Parkzeit. Dabei weist die Anzeigevorrichtung (12) wenigstens zwei optische oder akustische Anzeigemittel (24) für eine entsprechende Anzahl von Parkplätzen auf, wobei ein Betätigungsmittel (22) mit dem ihm zugeordneten Anzeigemittel (24) in Wirkverbindung steht und wobei ferner alle Anzeigemittel (24), das Betätigungsmittel (22) und die Eingabevorrichtung für Zahlungsmittel (16) mit einer gemeinsamen Steuereinrichtung (10) verbunden sind. Die ausgewählte und eingespeicherte Parkzeit wird akustisch bestätigt.

Description

Die Erfindung betrifft einen Parkplatzautomat gemäß dem Oberbegriff des Patentanspruches 1.
Insbesondere in verkehrsreichen Innenstädten ist häufig der anbietbare Parkraum eingeschränkt. Um einem Dauerparken entgegenzuwirken, werden nach dem Stand der Technik sogenannte Parkuhren eingesetzt, die einen Münz-Einwurfschlitz besitzen, in den je nach gewünschter Parkdauer und notwendiger Parkgebühr unterschiedliche Münzen einwerfbar sind. Durch Betätigung eines an der Parkuhr vorhandenen Drehknopfes schaltet die Parkuhr die gewählte und bezahlte Parkzeit frei. Eine mit der Uhr verbundene Drehplatte rotiert mit ablaufender Zeit auf eine "0-Marke" zurück, die den Ablauf der bezahlten Parkdauer anzeigt. Der Nachteil dieser Parkuhren besteht in der recht aufwendigen Mechanik, die zudem noch verschleißanfällig ist. Auch wenn solche Parkuhren als Doppelparkuhren für zwei Parkplätze ausgebildet sind, wird letztendlich pro Parkplatz eine entsprechende zeitsynchron laufende Mechanik benötigt.
In vielen Städten und Gemeinden werden neben Parkuhren auch Parkscheinautomaten eingesetzt, die nach Einwurf eines bestimmten Geldbetrages und Wahl der gewünschten Parkdauer ein Druckwerk in Betrieb setzen, daß die sich aus der gezahlten Gebühr ergebende Parkdauer als Endparkzeit ausgibt. Der Parkplatzbenutzer ist bei diesem System angewiesen, den gelösten Parkschein sichtbar im Kraftfahrzeuginneren anzuordnen, um Kontrollen, ob die Parkzeit überschritten ist, zu ermöglichen. Dieses Verfahren ist nicht nur für den Parkplatzbenutzer recht umständlich, da er sowohl den Hin- wie auch den Rückweg vom Fahrzeug zurücklegen muß, bevor er das Fahrzeug abschließen und den Parkort verlassen kann. Hinzu kommt, daß die Parkscheine beim Einlegen in das Fahrzeug durch äußere Luftbewegungen oder schon durch das Zuschlagen der Tür vom Armaturenbrett, wo sie regelmäßig abgelegt werden sollen, abgeweht werden und zur Kontrolle unkenntlich am Fahrzeugboden liegen. Die Parkscheinautomaten sind auch aufwendig, da sie über ein elektrisch gesteuertes Druckwerk verfügen müssen. Drucker zur Quittierung einer bezahlten Parkzeitdauer sind mit Nachteilen verbunden.
Ein solcher Parkplatzautomat mit den Merkmalen des Oberbegriffs des Anspruches 1 ist durch die US-A-4, 173, 272 bekannt. Dieser Parkplatzautomat schließt eine Parkuhr mit Geldeinwurföffnungen und einer binären elektronischen Einheit ein, wobei letztere mit mehreren Anzeigegliedem zusammenarbeitet, die jeweils eine Anzahl von Parklücken repräsentieren. Die Anzeigeglieder werden durch die elektronische Einheit in Abhängigkeit vom Wert der eingeworfenen Münze aktiviert und zeigen für jede Parklücke die noch ausgeschöpfte Parkdauer fortlaufend an.
Die Anzeigeglieder weisen eine Anzahl sichtbarer Signalglieder auf, wobei mehrere Signalglieder einer Betätigungstaste zugeordnet sind. Die Signalglieder werden in Abhängigkeit von der Höhe der für jede Parklücke bezahlten Parkgebühr zu Beginn aktiviert und mit ablaufender bezahlter Parkdauer nacheinander deaktiviert und wirken mit einer binären elektronischen Steuereinheit zusammen, um die Anzeigeglieder gemäß der durch die in eine oder mehrere Geldeinwurföffnungen eingeworfenen Münzen vorausbezahlten Parkgebühr zu aktivieren und deaktivieren. Die Anzeigeglieder sind dabei als Anzeigeleuchten ausgebildet, die in einer Reihe hintereinander angeordnet sind und die nach vorher festgelegten Zeitabschnitten nacheinander deaktiviert werden.
Die Parkuhr schließt ferner eine Haupteinheit mit ein, die einen Geldeinwurföffnungsanzeiger, einen Umwandler zu Umwandlung von Münzwerten in digitale Impulse, ein Impulsregister, einen Impulsvergleicher und eine Schrittmacher gesteuerte Zeitbasiseinehit aufweist, wobei das Rückwärtszählen der Zeitbasiseinheit bis zu einer bestimmten geeigneten Anzahl von Impulsen im Verhältnis zur im Gesamtparksystem zu verwendenen Gebührenrate erfolgt und die Gestaltung der Lampenkonsole die Programmierung der Zeitbasiseinheit bestimmt. Ein derart ausgebildeter Parkplatzautomat weist ein kompliziertes Parksteuerungssystem auf, das aufwendig, leicht störanfällig ist und das einer Aufsichtsperson nicht die Möglichkeit gibt, bei weitem im Vorbeigehen festustellen, ob die Parkzeit bereits abgelaufen ist oder nicht.
Aus der DE 296 06 229 U ist es femer bekannt, an einem Parkscheinautomaten für jeden Parkplatz ein Zusatzgehäuse mit Sichtfenster zum Einwurf eines Parkscheins vorzusehen.
Die DE-A-38 03 387 zeigt eine Uhr mit einem Sprachausgabemodul, welches nach einer Tasten-Betätigung oder bei Erreichen einer voreingestellten Uhrzeit, diese in sprachlicher Form ausgibt. Die Literaturstelle PATENT ABSTRACTS OF JAPAN vol. 016, no. 241 (P-1363), 3. Juni 1992 & JP 04 052718 A (TOSHIBA CORP), 20. Februar 1992, zeigt eine Vorrichtung, welche mittels einer Tastatur eingegebene Daten quasi als Echo an den Eingebenden in sprachlicher Form ausgibt, um Fehlereingaben zu vermeiden.
Es ist Aufgabe der vorliegenden Erfindung, einen Parkplatzautomaten der oben genannten Art zur Verfügung zu stellen, wobei die vorstehend umschriebenen Nachteile beseitigt und der Parkplatzautomat konstruktiv verbessert, vereinfacht, dessen Handhabung auf für Kontrollpersonen erleichtert werden soll und dem Benutzer akustisch die Dauer der Parkzeit angibt.
Diese Aufgabe wird durch einen Parkplatzautomaten der o.g. Art mit den in Anspruch 1 gekennzeichneten Merkmalen gelöst.
Dazu ist erfindungsgemäß vorgesehen, daß ein Betätigungsmittel vorgesehen ist, welches die Steuervorrichtung in einen vorbestimmten Ausgangszustand initialisiert, wobei die optische Anzeigevorrichtung ein Leuchtdiodenfeld mit Blinklichtern umfaßt, welche so lange blinken, so lange die Parkzeit läuft, und daß ein Tonwiedergabegerät mit einem Lautsprecher zur akustischen Ansage der bezahlten Parkzeitdauer vorgesehen ist.
Die ausgewählte, gespeicherte und bezahlte Parkzeit wird hiemach akustisch bestätigt und hat somit die Funktion einer Quittung. Die laufende Parkzeit wird über die Anzeigemittel optisch mitgeteilt.
Dies hat den Vorteil, daß keine Quittungen mehr ausgegeben werden müssen, die im parkenden Kraftfahrzeugweg im Bereich der Wagenscheibe anzuordnen sind.
Vorzugsweise Weitergestaltungen des Parkplatzautomaten sind in den Unteransprüchen beschrieben.
So ergibt sich eine besonders einfache, kostengünstige und zuverlässige Konstruktion, wenn der Parkplatzautomat ein säulen- oder kastenförmiges Gehäuse aufweist, wobei das Betätigungsmittel ein Drehschieber ist, die Anzeigemittel Leuchtdioden sind, die Anzeigevorrichtung ein Leuchtdiodenfeld ist, die Steuervorrichtung wenigstens eine, insbesondere elektronische Uhr aufweist, welche jeweils mit den Anzeigemitteln verbunden ist, die Steuervorrichtung ein Tastenbrett aufweist, welches das Betätigungsmittel aufweist, daß das Betätigungsmittel wenigstens zwei Tasten aufweist, und wobei jedem Anzeigemittel eine Taste zugeordnet ist, und/ oder die Tasten Taster mit Federelementen oder Berührungstasten oder Sensoren oder Nährungsschalter sind.
Zur Erhöhung der Betriebssicherheit und zur Verhinderung von Betrugs- und Manipulationsversuchen weist in vorteilhafter Weise die Eingabevorrichtung für Zahlungsmittel eine Prüfeinrichtung, insbesondere eine Münzprüfeinrichtung, auf.
Zur Erhöhung des Bedienungskomforts bzw. zur Erleichterung der Bedienung weist der Parkplatzautomat das Tonwiedergabegerät auf, welches vorzugsweise akustisch eine bezahlte Parkzeit ansagt und insbesondere ein Sprachmodul ist.
Vorzugsweise weist die Steuervorrichtung wenigstens eine, insbesondere elektronische Uhr auf, welche jeweils mit den Anzeigemitteln verbunden ist. Dabei ist von vorteilhafter Weise für jeden Parkplatz eine, insbesondere elektronische, Uhr vorgesehen.
Ein besonders komfortabel zu bedienender und betriebssicherer Parkplatzautomat ergibt sich dadurch, daß die Steuervorrichtung Ein Mikroprozessor-System ausweist, welches mit der Eingabevorrichtung für Zahlungsmittel und den Anzeigemitteln verbunden ist. Dabei weist die Steuervorrichtung wenigstens eine, insbesondere elektronische Uhr auf, welche mit dem Mikroprozessor-System verbunden ist In vorteilhafter Weise ist dabei für jeden Parkplatz eine, insbesondere elektronische Uhr vorgesehen.
Vorzugsweise weist die Eingabevorrichtung für Zahlungsmittel einen Sensor auf, welcher beim Auftreten einer Eingabe von Zahlungsmitteln ein Signal an die Steuervorrichtung abgibt.
Vorzugsweise weist die Eingabevorrichtung für Zahlungsmittel ferner ein Betätigungsmittel auf, welches bei seiner Betätigung eien Rückgabe eingegebener Zahlungsmittel auslöst.
Für einen optimalen Systembetrieb mit definierten Bedingungen ist der Parkplatzautomat mit einem Betätigungsmittel ausgestattet, welches den Parkplatzautomat in einen vorbestimmten Ausgangszustand initialisiert.
Hiernach ergibt sich eine besonders einfache, kostengünstigere und betriebssichere Vorrichtung dadurch, daß die Zeitmeßeinrichtung eine elektronische Uhr ist, daß die Eingabevorrichtung für Zahlungsmittel eine Münzeinwurfeinrichtung ist, daß die Eingabevorrichtung zur Auswahl eines Anzeigemittels ein Tastenbrett ist, daß die Eingabevorrichtung zur Auswahl eines Anzeigemittels wenigstens zwei Tasten aufweist, wobei jedem Anzeigemittel eine Taste zugeordnet ist, daß die Tasten Taster mit Federelementen oder Berührungstasten oder Sensoren oder Nährungsschalter sind, daß die Eingabevorrichtung zur Auswahl eines Anzeigemittels ein Drehschieber ist, und daß die Anzeigemittel Leuchtdioden sind, insbesondere ein Leuchtdiodenfeld ist, und/oder für jeden Parkplatz eine gesonderte Zeitmeßeinrichtung vorgesehen ist.
Eine erhöhte Betriebssicherheit und einen Schutz vor betrügerischen Manipulationen erzielt man dadurch, daß die Eingabevorrichtung für Zahlungsmittel eine Prüfeinrichtung, insbesondere eine Münzprüfeinrichtung, aufweist.
Eine zusätzliche Unterstützung einer Bedienungsperson und eine entsprechende Komfortverbesserung bei der Bedienung erzielt man dadurch, daß der Parkplatzautomat ferner das Tonwiedergabegerät aufweist, welches mit dem Mikroprozessor-System verbunden ist. Das Tonwiedergabegerät sagt dabei vorzugsweise akustisch eine bezahlte Parkzeit an. Das Tonwiedergabegerät ist dabei vorzugsweise ein Sprachmodul.
Vorzugsweise weist die Eingabevorrichtung für Zahlungsmittel einen Sensor auf, welcher beim Auftreten einer Eingabe von Zahlungsmitteln ein Signal an das Mikroprozessor-System abgibt.
Vorzugsweise weist die Eingabevorrichtung für Zahlungsmittel einen Sensor auf, welcher beim Auftreten einer Eingabe von Zahlungsmitteln ein Signal an das Mikroprozessor-System abgibt.
Vorzugsweise weist die Eingabevorrichtung für Zahlungsmittel ferner ein Betätigungsmittel auf, welches bei seiner Betätigung eine Rückgabe eingegebener Zahlungsmittel auslöst.
Zur Erzielung eines Betriebes mit zu jedem Zeitpunkt definierten Ausgangsbedingungen ist ein Betätigungsmittel vorgesehen, welches die Steuervorrichtung in einen vorbestimmten Ausgangszustand initialisiert.
Nachstehend wird die Erfindung anhand der beigefügten Zeichnungen näher erläutert. Diese zeigen in
Fig. 1
eine perspektivische Ansicht eines Parkplatzautomaten und
Fig. 2
ein schematisches Blockschaltbild einer Steuervorrichtung für den Parkplatzautomaten.
Fig. 1 zeigt eine perspektivische Ansicht eines Parkplatzautomaten 100 mit Betätigungstasten 22, einer Nulltaste 20, Blinklichtern 24 und einem kleinen Vordach 26 zum Schutz vor Wettereinflüssen.
Fig. 2 zeigt ein schematisches Blockschaltbild eines Steuervorrichtung 200 für den Parkplatzautomaten 100. Diese weist eine zentrale Mikroprozessor-Einheit 10, eine Münzeinwurfeinrichtung 16 mit einem Münzeinwurfschlitz 16a, ein Tastenfeld 14 mit Betätigungstasten 22, ein Leuchtdiodenfeld 12 mit Blinklichtem 24 und eine elektronische Uhr 18 auf. Die Mikroprozessor-Einheit 10 ist mit den übrigen Komponenten bevorzugt mittels eines Datenübertragungsnetzwerkes mit Datenbusleitungen 18 verbunden.
Das Tastenbrett 14 als handbetätigbarer Mechanismus für dieses elektronische Steuersystem 200 wird von Tasten mit Mikroumschaltern gebildet, die unmittelbar auf dem Brett 14 mit elektronischem Kontakt zum Mikroprozessor 10 angeordnet sind. Zwischen Tasten und Mikroumschaltem können sich Federelemente befinden. Es können jedoch auch Berührungstasten (Sensoren) verwendet werden. Die Mikroumschalter dienen zur Kommunikation des elektronischen Systems 200 mit den Tasten. Die Betätigungstasten 20,22 sind z.B. als federbeaufschlagte Drucktasten oder als Berührungstasten ausgebildet.
Außer den Mikroumschaltem kann das System 200 eine Fotozelle oder einen Mikroumschalter aufweisen, welcher durch einen Federhebel ein Signal von der Münzeingabevorrichtung 16 erhält.
Die Eingangs- bzw. Dateneingabekomponenten dieses Systems 200 sind das Tastenbrett 14, die Münzeingabeeinrichtung 16 und der Zeitgeber (elektronische Uhr) 18. Das Leuchtdiodenfeld ist die Ausgabe- bzw. Anzeigekomponente.
Jeder Betätigungstaste 22 ist ein optisches Anzeigemittel 24 zugeordnet. Die Anzahl der Betätigungstasten 22 mit den Anzeigetasten 24 entspricht der Anzahl der zu bedienenden Parkplätze. Der Parkplatzautomat 100 kann sowohl nur für die Bedienung eines Parkplatzes als auch zur Bedienung mehrerer Parkplätze ausgebildet sein.
Das Elektronik-System des Parkplatzautomaten zeichnet sich durch das Mikroprozeß-System, verbunden mit dem mechanischen Gerät in Form eines Münzenaufgebers und einer elektronischen Uhr, aus, wobei zum Systemeingang ein Tastenbrett und zum Systemausgang ein Dioden-Lichtfeld eingeschaltet ist.
Vor dem Münzeinwurf ist eine mit "Null" gekennzeichnete Taste 20 zu betätigen. Daraufhin erfolgt der Einwurf einer oder mehrerer Münzen in den Münzeinwurfschlitz. Daraufhin wird dann aus der Zahlenreihe "1 bis 8" die Taste zu derjenigen Zahl gedrückt, die mit dem entsprechend nummerierten Parkplatz übereinstimmt. Parkt einer auf Platz "5", dann ist die Taste zur Zahl "5" zu drücken. Ist diese Taste gedrückt, dann erfolgt über einen integrierten Lautsprecher eine akustische Ansage der Parkzeitdauer. Diese akustische Ansage ist gleichzeitig die Bestätigung dafür, daß die Gebühr für die entsprechende Parkzeit bezahlt ist. Erfolgt über die akustische Ansage ein Hinweis auf "30 Minuten", dann beträgt die Parkzeit auch nur 30 Minuten. Die akustische Ansage kann jedoch andere Parkdauerzeiten ansagen, wenn beispielsweise zwei Münzen eingeworfen sind und sich eine Parkdauer von "60 Minuten" ergibt.
Neben jeder Taste mit den Zahlen "1 bis 8" ist eine optische Signalleuchte (Blinklicht) vorgesehen. Der Parkplatzbesetzer für die Zahl "5" löst beim Drücken der Taste nicht nur die akustische Ansage aus, sondern gleichzeitig wird auch das Blinklicht betätigt, sobald die Parkzeitdauergebühr bestätigt wird. Dieses optische Signal ist vorgesehen für Personen (Kontrollpersonen oder kommunale Aufsichtsorgane), die die Parkuhren überprüfen. Blinkt zur Taste mit der zugeordneten Zahl "5" das Licht, weiß die Kontrollperson, daß die Gebühr für diesen Parkplatz Nr. "5" bezahlt ist und auch daß die Parkzeit noch nicht abgelaufen ist.
Dieses Blinklicht ist so lange in Tätigkeit, so lange die Parkzeit läuft.
Die Anzahl der Tasten "1 bis 8" kann beliebig gewählt werden. Beispielsweise können auch Tasten "1 bis 12" vorgesehen sein.
Die akustische Ansage erfolgt über ein im Innenraum des Gehäuses des Parkautomaten angeordnetes Sprachmodul. Dieses muß einmal mit dem Münzzähler beim Einwurf in Verbindung stehen und außerdem mit jeder einzelnen Taste aus der Tastenreihe "1 bis 8", denn je nach Anzahl der eingeworfenen Münzen muß die Ansage auch die entsprechende Parkzeit mitteilen, d.h. beispielsweise beim Einwurf eines Einmark-Stückes wird die akustische Ansage für eine Parkzeitdauer von 30 Minuten erfolgen. Bei einem Münzeinwurf von zwei Münzen erfolgt dann bei Betätigung der Taste "5" die akustische Ansage, daß eine 60-minütige Parkdauer zur Verfügung steht.
Die akustische Ansage der Dauer der Parkzeit kann auch über ein Trägersystem wie z.B. einem Tonwiedergabegerät erfolgen, welches in den Parkautomaten eingebaut ist. Bei einem derartigen Ton-Wiedergabegerät ist beispielsweise die entsprechende Ansage auf einem Band enthalten, welches entsprechend abgespielt wird.
Statt Knopftastaturen können auch andere Arten von Druckschaltem eingesetzt werden, so auch Nährungsschalter.
Der Vorteil des neuen Parkautomaten besteht insbesondere darin, daß keine Quittungen mehr ausgegeben werden, die im parkenden Wagen im Bereich der Wagenscheibe anzuordnen sind. Der Parkplatzbesucher stellt seinen Wagen ab und betätigt den Parkautomaten und wenn der Parkautomat quasi akustisch die bezahlte Parkzeitdauer quittiert, braucht der Parkplatzbenutzer nicht mehr zu seinem Wagen zurückzugehen, da er ja bereits die Quittung durch den Parkautomaten erhalten hat und jeder Kontrolleur am Parkautomaten auch aus größerer Entfernung die Bestätigung in optischer Form findet, daß die Parkplatzgebühr für eine bestimmte Zeit bezahlt worden ist. Die ewige Hin- und Herrennerei bezüglich der Gebührenquittung bei den bekannten Parksystemen entfällt.
Weder Druckerschwärze noch ein Papierrollenvorrat ist bei dem neuen Parksystem erforderlich.
Der Parkplatzautomat kann auch eine Münzprüfeinrichtung enthalten. Falsche Münzen werden nicht wieder zurückgegeben. Vorzugsweise wird nach erfolgtem Münzeinwurf eine Münzprüfeinrichtung aktiviert. Hierbei kann fakultativ vorgesehen sein, daß Falschmünzen von vornherein vom Parkplatzautomaten einbehalten werden, wodurch verhindert werden kann, daß Mehrfachversuche mit ähnlich großen und ähnlich schweren Münzen ausländischer Währung, aber von geringerem Wert, Parkplatzautomatenmanipulationen vorgenommen werden bzw. durch diese Mehrfachmanipulationsversuche schließlich ein Münzstau im Einwurfschacht entsteht. Durch einen Bedienungshinweis auf dem Parkplatzautomat mit dem Vermerk, daß ungeeignete Münzen ohne Rückgabemöglichkeit einbehalten werden, wird von vornherein der Parkplatzautomatenbenutzer von entsprechenden Versuchen abgehalten. Alternativ hierzu und wie nach dem Stand der Technik grundsätzlich bekannt, kann eine Geldrückgabetaste mit einem entsprechenden Entnahmeschacht vorgesehen sein. Selbstverständlich läßt sich der beschriebene Parkplatzautomat auch mit einem Geldwechsler kombinieren, etwa dann, wenn das jeweils zu entleistende Parkentgeld einer nicht so häufig gebräuchlichen Münze entspricht.
Die beim Parkplatzautomaten vorzugsweise vorgesehene Münzprüfeinrichtung ist dergestalt ausgebildet, daß bei Bedienung einer Geldrückgabetaste oder eines Münzprüfeinrichtungsaktivierungsschalters nur solche Münzen zurückgegeben werden, für die der Parkscheinautomat ausgerichtet ist. Münzen ausländischer Währung oder Falschgeld werden bei Betätigung der Geldrückgabetaste nicht ausgegen, sondern verbleiben im Parkplatzautomaten.

Claims (18)

  1. Parkplatzautomat (100)
    mit einer Münzeinwurfeinrichtung (16),
    mit einer optischen Anzeigevorrichtung (12) mit optischen Anzeigemitteln (24), mit je einem Betätigungsmittel (22) entsprechend der Anzahl der zu bedienenden Parkplätze, wobei jedem Betätigungsmittel (22) nur ein Anzeigemittel (24), zugeordnet ist und beide in Wirkverbindung stehen, und die Anzeigemittel (24), die Betätigungsmittel (22) und die Münzeinwurfeinrichtung (16) mit einer gemeinsamen Steuereinrichtung (10) verbunden sind,
    dadurch gekennzeichnet
    daß ein Betätigungsmittel vorgesehen ist, welches die Steuervorrichtung (10) in einen vorbestimmten Ausgangszustand initialisiert, daß die optische Anzeigevorrichtung (12) ein Leuchtdiodenfeld mit Blinklichtern (24) umfaßt,
    welche so lange blinken, so lange die Parkzeit läuft, und daß ein Tonwiedergabegerät mit einem Lautsprecher zur akustischen Ansage der bezahlten Parkzeitdauer vorgesehen ist.
  2. Parkplatzautomat (100) nach Anspruch 1,
    dadurch gekennzeichnet, daß dieser ein säulen- oder kastenförmiges Gehäuse aufweist.
  3. Parkplatzautomat (100) nach Anspruch 1 oder 2,
    dadurch gekennzeichnet, daß die Eingabevorrichtung für Zahlungsmittel (16) eine Prüfeinrichtung, insbesondere eine Münzprüfeinrichtung aufweist.
  4. Parkplatzautomat (100) nach einem der Ansprüche 1 bis 3
    dadurch gekennzeichnet, daß das Tonwiedergabegerät ein Sprachmodul ist.
  5. Parkplatzautomat (100) nach einem der Ansprüche 1 bis 4,
    dadurch gekennzeichnet, daß die Steuervorrichtung ein Tastenbrett (14) aufweist, welches ein Betätigungsmittel (22) aufweist.
  6. Parkplatzautomat (100) nach einem der Ansprüche 1 bis 5,
    dadurch gekennzeichnet, daß jedes Betätigungsmittel (22) als Taster mit Federelementen oder Berührungstasten oder Sensoren oder Nährungsschaltem ausgebildet sind.
  7. Parkplatz (100) nach Anspruch 6,7
    dadurch gekennzeichnet, daß die Tasten der Betätigungsmittel (22) mit Mikroumschaltem verbunden sind.
  8. Parkplatzautomat (100) nach einem der Ansprüche 1 bis 5,
    dadurch gekennzeichnet, daß das Betätigungsfeld ein Drehschieber ist.
  9. Parkplatzautomat (100) nach einem der Ansprüche 1 bis 8,
    dadurch gekennzeichnet, daß die Anzeigevorrichtung (12) drei oder mehr Anzeigemittel (24) für drei oder mehr Parkplätze aufweist.
  10. Parkplatzautomat (100) nach einem der Ansprüche 1 bis 8,
    dadurch gekennzeichnet, daß die Anzeigevorrichtung (12) sechs oder mehr Anzeigemittel (24) für sechs oder mehr Parkplätze aufweist.
  11. Parkplatzautomat (100) nach einem der Ansprüche 1 bis 8,
    dadurch gekennzeichnet, daß die Anzeigevorrichtung (12) zwölf oder mehr Anzeigemittel für zwölf oder mehr Parkplätze aufweist.
  12. Parkplatzautomat (100) nach einem der Ansprüche 1 bis 11,
    dadurch gekennzeichnet, daß die Steuervorrichtung (200) wenigstens eine elektronische Uhr (18) aufweist, die jeweils mit den Anzeigemitteln (24) verbunden ist.
  13. Parkplatzautomat (100) nach 12,
    dadurch gekennzeichnet, daß für jeden Parkplatz eine elektronische Uhr (18) vorgesehen ist.
  14. Parkplatzautomat (100) nach einem der Ansprüche 1 bis 13,
    dadurch gekennzeichnet, daß die Steuervorrichtung (200) ein Mikroprozessor-System (10) aufweist, die mit der Münzeinwurfeinrichtung (16) und den Anzeigemitteln (24) verbunden ist.
  15. Parkplatzautomat (100) nach Anspruch 14,
    dadurch gekennzeichnet, daß die Steuervorrichtung (200) wenigstens eine elektronische Uhr (18) aufweist, die mit dem Mikroprozessor-System (10) verbunden ist.
  16. Parkplatz (100) nach Anspruch 14 oder 15,
    dadurch gekennzeichnet, daß für jeden Parkplatz eine, insbesondere elektronische Uhr (18) vorgesehen ist.
  17. Parkplatzautomat (100) nach einem der Ansprüche 1 bis 16,
    dadurch gekennzeichnet, daß die Münzeinwurfeinrichtung (16) einen Sensor aufweist, der beim Auftreten einer Eingabe von Zahlungsmitteln ein Signal an die Steuervorrichtung abgibt.
  18. Parkplatzautomat (100) nach einem der Ansprüche 1 bis 17,
    dadurch gekennzeichnet, daß die Münzeinwurfeinrichtung (16) ferner ein Betätigungsmittel aufweist, das bei seiner Betätigung eine Rückgabe eingegebener Zahlungsmittel auslöst.
EP96943946A 1996-08-09 1996-12-13 Parkplatzautomat Expired - Lifetime EP0917693B1 (de)

Applications Claiming Priority (5)

Application Number Priority Date Filing Date Title
PL96315608A PL315608A1 (en) 1996-08-09 1996-08-09 Electronic circuitry of a parking meter
PL3156089 1996-08-09
DE29621088U DE29621088U1 (de) 1996-08-09 1996-12-05 Parkplatzautomat
DE29621088U 1996-12-05
PCT/EP1996/005595 WO1998007123A1 (de) 1996-08-09 1996-12-13 Parkplatzautomat

Publications (2)

Publication Number Publication Date
EP0917693A1 EP0917693A1 (de) 1999-05-26
EP0917693B1 true EP0917693B1 (de) 2001-11-14

Family

ID=26059706

Family Applications (1)

Application Number Title Priority Date Filing Date
EP96943946A Expired - Lifetime EP0917693B1 (de) 1996-08-09 1996-12-13 Parkplatzautomat

Country Status (4)

Country Link
EP (1) EP0917693B1 (de)
JP (1) JP2001505677A (de)
AU (1) AU1371397A (de)
WO (1) WO1998007123A1 (de)

Families Citing this family (1)

* Cited by examiner, † Cited by third party
Publication number Priority date Publication date Assignee Title
PL323616A1 (en) 1997-12-10 1999-06-21 Agenor Krygler Method of marking individual parking places for single cars

Family Cites Families (8)

* Cited by examiner, † Cited by third party
Publication number Priority date Publication date Assignee Title
US4173272A (en) * 1975-04-11 1979-11-06 Ab Transporteknik Parking control system
FR2339216A1 (fr) * 1976-01-21 1977-08-19 Euro Export Perfectionnements aux parcmetres
CH595667A5 (de) * 1976-02-16 1978-02-15 Vdo Schindling
DE2744768A1 (de) * 1977-10-05 1979-04-19 Kienzle Apparate Gmbh Elektronisches parkhausueberwachungssystem
GB2071385B (en) * 1979-09-10 1983-06-02 Computer Meters Pty Time metering devices
FR2580417B1 (fr) * 1985-04-11 1988-03-11 Desarnauts Marie Helene Garage payant pour vehicules et parc de stationnement comportant de tels garages
DE3803387A1 (de) * 1988-02-02 1989-08-10 Fontane Electronic Co Ltd Elektronische uhr
JPH0452718A (ja) * 1990-06-14 1992-02-20 Toshiba Corp データ入力制御装置

Also Published As

Publication number Publication date
JP2001505677A (ja) 2001-04-24
WO1998007123A1 (de) 1998-02-19
AU1371397A (en) 1998-03-06
EP0917693A1 (de) 1999-05-26

Similar Documents

Publication Publication Date Title
EP0006403B1 (de) Schliessfachanlage mit einer zentralen Bedienungseinheit
US6243028B1 (en) Parking meter
EP0001416B1 (de) Elektronisches Parkhausüberwachungssystem
DE29914816U1 (de) Parkplatzautomat
DE2606288C2 (de) Zählvorrichtung für Münzen oder dgl.
DE4028497C2 (de) Code-Eingabevorrichtung
EP0917693B1 (de) Parkplatzautomat
DE2530984C3 (de) Tag- /Nachttresoranlage
DE3233405A1 (de) Einrichtung zur verarbeitung von spieldaten aus roulette-spielbanken
DE29621088U1 (de) Parkplatzautomat
DE2644679C2 (de) Überwachungseinrichtung für die Münzausgabe eines Münzspielgerätes
EP0509386B1 (de) Geldbetätigter Spielautomat mit Fernbedienung
DE29720557U1 (de) Parkplatzautomat
EP1038273B1 (de) Parkplatzautomat
DE2901490C2 (de) Münzbetätigtes Spielgerät
DE2809517A1 (de) Muenzbetaetigtes spielgeraet
DE4006881A1 (de) Vorrichtung zum aufbewahren von geld in einem taxi
EP0793837A1 (de) Unterhaltungsanlage mit mindestens einem geldbetätigten unterhaltungsgerät
DE2844124A1 (de) Selbstkassierendes spielgeraet
DE1474756C3 (de) Vorrichtung zur Ausgabe von Wechselgeld auf die Aufnahme von zu wechselndem Münzgeld
EP0582965A2 (de) Geldbetätigtes Unterhaltungsgerät
DE2700631B2 (de) Schließfachanlage mit einer zentra-
DE102007019512A1 (de) Unterhaltungsautomat
DE2264625C3 (de) Münzbetätigtes Spielgerät
DE19611352A1 (de) Münzbetätigtes Unterhaltungsgerät

Legal Events

Date Code Title Description
PUAI Public reference made under article 153(3) epc to a published international application that has entered the european phase

Free format text: ORIGINAL CODE: 0009012

17P Request for examination filed

Effective date: 19990113

AK Designated contracting states

Kind code of ref document: A1

Designated state(s): AT BE DE ES FR GB GR IT NL SE

GRAG Despatch of communication of intention to grant

Free format text: ORIGINAL CODE: EPIDOS AGRA

GRAG Despatch of communication of intention to grant

Free format text: ORIGINAL CODE: EPIDOS AGRA

GRAH Despatch of communication of intention to grant a patent

Free format text: ORIGINAL CODE: EPIDOS IGRA

GRAH Despatch of communication of intention to grant a patent

Free format text: ORIGINAL CODE: EPIDOS IGRA

17Q First examination report despatched

Effective date: 20010504

GRAA (expected) grant

Free format text: ORIGINAL CODE: 0009210

PGFP Annual fee paid to national office [announced via postgrant information from national office to epo]

Ref country code: DE

Payment date: 20011113

Year of fee payment: 6

AK Designated contracting states

Kind code of ref document: B1

Designated state(s): AT BE DE ES FR GB GR IT NL SE

PG25 Lapsed in a contracting state [announced via postgrant information from national office to epo]

Ref country code: NL

Free format text: LAPSE BECAUSE OF FAILURE TO SUBMIT A TRANSLATION OF THE DESCRIPTION OR TO PAY THE FEE WITHIN THE PRESCRIBED TIME-LIMIT

Effective date: 20011114

Ref country code: IT

Free format text: LAPSE BECAUSE OF FAILURE TO SUBMIT A TRANSLATION OF THE DESCRIPTION OR TO PAY THE FEE WITHIN THE PRE;WARNING: LAPSES OF ITALIAN PATENTS WITH EFFECTIVE DATE BEFORE 2007 MAY HAVE OCCURRED AT ANY TIME BEFORE 2007. THE CORRECT EFFECTIVE DATE MAY BE DIFFERENT FROM THE ONE RECORDED.SCRIBED TIME-LIMIT

Effective date: 20011114

Ref country code: GR

Free format text: LAPSE BECAUSE OF FAILURE TO SUBMIT A TRANSLATION OF THE DESCRIPTION OR TO PAY THE FEE WITHIN THE PRESCRIBED TIME-LIMIT

Effective date: 20011114

Ref country code: GB

Free format text: LAPSE BECAUSE OF FAILURE TO SUBMIT A TRANSLATION OF THE DESCRIPTION OR TO PAY THE FEE WITHIN THE PRESCRIBED TIME-LIMIT

Effective date: 20011114

Ref country code: FR

Free format text: LAPSE BECAUSE OF FAILURE TO SUBMIT A TRANSLATION OF THE DESCRIPTION OR TO PAY THE FEE WITHIN THE PRESCRIBED TIME-LIMIT

Effective date: 20011114

REF Corresponds to:

Ref document number: 208939

Country of ref document: AT

Date of ref document: 20011115

Kind code of ref document: T

PG25 Lapsed in a contracting state [announced via postgrant information from national office to epo]

Ref country code: AT

Free format text: LAPSE BECAUSE OF NON-PAYMENT OF DUE FEES

Effective date: 20011213

REF Corresponds to:

Ref document number: 59608220

Country of ref document: DE

Date of ref document: 20011220

PG25 Lapsed in a contracting state [announced via postgrant information from national office to epo]

Ref country code: BE

Free format text: LAPSE BECAUSE OF NON-PAYMENT OF DUE FEES

Effective date: 20011231

REG Reference to a national code

Ref country code: GB

Ref legal event code: IF02

PG25 Lapsed in a contracting state [announced via postgrant information from national office to epo]

Ref country code: SE

Free format text: LAPSE BECAUSE OF FAILURE TO SUBMIT A TRANSLATION OF THE DESCRIPTION OR TO PAY THE FEE WITHIN THE PRESCRIBED TIME-LIMIT

Effective date: 20020214

NLV1 Nl: lapsed or annulled due to failure to fulfill the requirements of art. 29p and 29m of the patents act
GBV Gb: ep patent (uk) treated as always having been void in accordance with gb section 77(7)/1977 [no translation filed]

Effective date: 20011114

PG25 Lapsed in a contracting state [announced via postgrant information from national office to epo]

Ref country code: ES

Free format text: LAPSE BECAUSE OF FAILURE TO SUBMIT A TRANSLATION OF THE DESCRIPTION OR TO PAY THE FEE WITHIN THE PRESCRIBED TIME-LIMIT

Effective date: 20020530

BERE Be: lapsed

Owner name: KRYGLER ALICJA

Effective date: 20011231

Owner name: KRYGLER AGENOR

Effective date: 20011231

PLBE No opposition filed within time limit

Free format text: ORIGINAL CODE: 0009261

STAA Information on the status of an ep patent application or granted ep patent

Free format text: STATUS: NO OPPOSITION FILED WITHIN TIME LIMIT

EN Fr: translation not filed
26N No opposition filed
PG25 Lapsed in a contracting state [announced via postgrant information from national office to epo]

Ref country code: DE

Free format text: LAPSE BECAUSE OF NON-PAYMENT OF DUE FEES

Effective date: 20030701