EP0846330B1 - Elektromagnetisches relais und dessen verwendung auf einer leiterplatte - Google Patents

Elektromagnetisches relais und dessen verwendung auf einer leiterplatte Download PDF

Info

Publication number
EP0846330B1
EP0846330B1 EP96923819A EP96923819A EP0846330B1 EP 0846330 B1 EP0846330 B1 EP 0846330B1 EP 96923819 A EP96923819 A EP 96923819A EP 96923819 A EP96923819 A EP 96923819A EP 0846330 B1 EP0846330 B1 EP 0846330B1
Authority
EP
European Patent Office
Prior art keywords
contact
spring
base body
armature
relay
Prior art date
Legal status (The legal status is an assumption and is not a legal conclusion. Google has not performed a legal analysis and makes no representation as to the accuracy of the status listed.)
Expired - Lifetime
Application number
EP96923819A
Other languages
English (en)
French (fr)
Other versions
EP0846330A1 (de
Inventor
Josef Kern
Current Assignee (The listed assignees may be inaccurate. Google has not performed a legal analysis and makes no representation or warranty as to the accuracy of the list.)
Siemens AG
Siemens Corp
Original Assignee
Siemens AG
Siemens Corp
Priority date (The priority date is an assumption and is not a legal conclusion. Google has not performed a legal analysis and makes no representation as to the accuracy of the date listed.)
Filing date
Publication date
Application filed by Siemens AG, Siemens Corp filed Critical Siemens AG
Publication of EP0846330A1 publication Critical patent/EP0846330A1/de
Application granted granted Critical
Publication of EP0846330B1 publication Critical patent/EP0846330B1/de
Anticipated expiration legal-status Critical
Expired - Lifetime legal-status Critical Current

Links

Images

Classifications

    • HELECTRICITY
    • H01ELECTRIC ELEMENTS
    • H01HELECTRIC SWITCHES; RELAYS; SELECTORS; EMERGENCY PROTECTIVE DEVICES
    • H01H50/00Details of electromagnetic relays
    • H01H50/54Contact arrangements
    • HELECTRICITY
    • H01ELECTRIC ELEMENTS
    • H01HELECTRIC SWITCHES; RELAYS; SELECTORS; EMERGENCY PROTECTIVE DEVICES
    • H01H50/00Details of electromagnetic relays
    • H01H50/14Terminal arrangements
    • HELECTRICITY
    • H01ELECTRIC ELEMENTS
    • H01HELECTRIC SWITCHES; RELAYS; SELECTORS; EMERGENCY PROTECTIVE DEVICES
    • H01H50/00Details of electromagnetic relays
    • H01H50/02Bases; Casings; Covers
    • H01H50/021Bases; Casings; Covers structurally combining a relay and an electronic component, e.g. varistor, RC circuit

Definitions

  • a relay of the type mentioned is off, for example known from DE 28 54 591 A1.
  • the contact spring as Armature return spring attached to the yoke, and the associated connection element is on the opposite side with the Yoke connected.
  • the contact spring as Armature return spring attached to the yoke, and the associated connection element is on the opposite side with the Yoke connected.
  • the aim of the present invention is an electromagnetic Relay of the type mentioned in such a way that it can switch high currents with good space utilization few simple parts is inexpensive to manufacture and with largely the same individual parts both as single relays as well as double or multiple relays can.
  • this goal is achieved in that the Contact spring two in the area of the armature bearing U-shaped with each other connected spring legs forms, the ends of which in the Close to each other near the movable anchor end, that a first spring leg as a return leg with the contact spring connecting element is connected and that the second spring leg connected as a contact leg to the anchor is and at its free end with the mating contact element cooperates to make contact.
  • the contact spring provided according to the invention receives via the U-shaped contiguous two spring legs an adequate Feather length with a relatively large feather width Management of higher switching currents. Since the spring is below the Anchor lies immediately above the floor slab and over there their return leg directly with the connecting element is connected, the current path can also be kept short and ensure a low contact resistance. To achieve of a large spring cross section, it is advisable that the contact spring with its two spring legs approximately covers the entire area below the anchor, whereby the ends of the spring legs over the movable anchor end protrude and the contact spring connecting element as well like the counter-contact element in the area in front of the movable one Anchor ends are anchored in the base plate and against each other angled towards the free ends of the spring legs are.
  • the U-shape of the contact spring can, for example can be obtained in that the two spring legs from one cut out essentially flat spring plate and if necessary only be provided with pretension bends.
  • the two spring legs by a U-shaped fold the contact spring by 180 °, the ends of the spring legs opposite to each other up to half of the Total spring width are cut out; in this way the relevant end sections can be pivoted against each other without bumping into each other - while in the area the U-shaped bend the total spring width for the Power supply is available.
  • the contacting sections of the contact spring and the Mating contact element as well as the contact spring connecting element protrude over the area of the coil base to on the one hand a large feather length and on the other hand simple to produce producible magnetic circuit parts with large pole faces, arises over these contacting sections and a free space in front of the coil that can be used for other purposes can. If an approximately cuboid cap on the relay is turned over, this free space inside the cap can Inclusion of additional components, such as resistors or Diodes or a control module can be used. Becomes on the other hand, one above the contacting sections Coil set back cap used, so that in this Trap free space outside the case as well used to arrange other components, whose connecting wires then next to the relay in the circuit board be contacted.
  • the relay shown in Figures 1 to 5 has one Base body 1 of generally L-shaped shape, namely with a substantially horizontal base plate 11 and one vertical bracket part 12.
  • the terms “Horizontal” and “Vertical” refer to the whole Description on a horizontal installation position of the relay, where So the base plate parallel on a horizontal circuit board sits.
  • the bottom plate 11 has circumferential side walls lla, llb and llc; on the one removed from the mounting part 12 End form the side walls lla and llb with the inside projecting ribs and grooves opposite each other Plug-in shafts 13 for receiving those to be described later Contact elements.
  • the vertical bracket part 12 has a generally U-shaped Cross section with side walls 12a and 12b and one Rear wall 12c.
  • the side walls 12a and 12b form with the inside projecting ribs 12d a drawer-shaped guide shaft 17.
  • a drawer-shaped guide shaft 17 In the area of the guide shaft are each Cut out window 14, whose function will be explained later becomes.
  • the rear wall 12c has a window 18 which the freedom of movement of the anchor also described later guaranteed.
  • a magnet system 2 with a coil body 21, one on the bobbin between its flanges 21a and 21b arranged winding 22, one axially in the coil arranged core 23 and an L-shaped angled Yoke 24 attached.
  • the round core 23 has at its lower end a pole plate enlarged in cross section 23a, which has a pole face 25.
  • the yoke 24 is with its first leg 24a at the upper end of the core 23 attached, for example by notching, welding or the like.
  • the vertical leg 24b of the yoke is in inserted the guide shaft 17 of the base body and there attached.
  • the lower end edge 24c of the yoke leg 24b forms a support for an armature 26 which with the pole face 25 forms a working air gap.
  • a contact spring 3 on the underside of the armature attached which is essentially U-shaped (see Figure 4) is cut from a spring plate and thus two spring legs, namely a reset leg 31 and a contact leg 32 forms.
  • the two spring legs are approximately in one Plane, however, are mutually movable and at their ends with pretension bends at best slightly from their common Sheet plane bent.
  • the reset leg is at its end 31a attached to a contact spring connecting element 4, which L-shaped and with its vertical section 41 anchored in a slot 13 of the base body is.
  • This vertical section 41 also carries a connector pin 41a, while a horizontal section 42 the Contact spring 3 carries.
  • the contact leg 32 is on a rivet 33 or on one otherwise attached to a central portion of the anchor.
  • the movable end 32a of the contact leg carries opposite ones Contact pieces 32b, which with corresponding Interact with counter-contact elements.
  • a normally open counter contact element 5 is bent in an L-shape; a vertical section 51 is in turn in a slot 13 of the base body anchored; it also forms a pin 51a.
  • a horizontal one Section 52 of the normally open mating contact element carries a contact piece 52a.
  • a normally closed L-shaped counter contact element 6 is in a breakthrough with a vertical section 61 16 of the base plate 11 anchored during a horizontal section 62 carrying a contact piece 62a on the bottom plate 11 rests and thereby the stability of this counter-contact element guaranteed.
  • FIG. 6 shows a modified contact spring 35, whose spring legs 36 and 37 are not cut from one plane, but by folding the leaf spring by 180 °, and gained around an axis parallel to the armature bearing axis are.
  • the two spring legs namely the reset leg 36 and the contact leg 37 are towards their free ends cut diagonally in opposite directions, so that they are in these end sections 36a and 37a side by side in one Can lie level and can be moved against each other.
  • both have spring legs the full width of the contact spring, which is essentially the Anchor width corresponds, available. This can still higher load currents than in the embodiment according to FIG. 3 and 4 are performed.
  • the contact spring 35 is also with their spring legs attached in the same way and with contact pieces provided as the contact spring shown in Figure 4 3.
  • Their arrangement in a relay is shown in Figure 7. The Otherwise, the relay is constructed in exactly the same way as that shown in FIG. 1.
  • a housing cap 10 is shown, which over the magnet system is turned over and connected to the base body 1. The remaining Gaps between the base body 1 and the housing cap 10 are filled with sealing compound 7 and sealed.
  • the assembly of the magnet system should now be based on FIGS. 8 to 10 be described with simultaneous adjustment.
  • the magnet system 2 shown in Figure 8, that of Figure 2 corresponds is inserted into the base body 1, the measured 9 already with the armature 26, including the contact spring 3 the connecting element 4 and the mating contact elements 5 and 6 is equipped.
  • the width of the yoke leg 24b corresponds exactly to the clear width in the guide shaft 17.
  • teeth 27 formed over the width of the Survive slot 13.
  • the yoke is pushed so far into the guide shaft 17 until the lower yoke edge 24c abuts the anchor and the anchor has a predetermined overstroke when the contact piece 32b abuts the make contact 52a.
  • This overstroke can be measured, for example, by using a probe through a hole, not shown, in the base plate on the Anchor presses and that the anchor's path from the first closing of the normally open contact until the anchor is finally in contact is measured at the pole face 25.
  • notch stamps 9, which are preferably are firmly connected to the stamps 8 in the area windows 14 and 15 through side walls 12a and 12b pressed on the side edges of the yoke leg 24b be so that the notches 91 in the material of the Dig in yokes.
  • the resulting notch designs 28 the side edges of the yoke leg 24b additionally guarantee the tight fit of the magnet system in the desired position.
  • FIG. 11 shows a double relay, with 100 in a cap two switching systems according to Figures 1 and 2 or according to Figure 7 housed are.
  • two base bodies 1 are included the magnetic systems built on it independently assembled from each other and then side by side in the cap 100 housed.
  • the two systems without a cap are shown in FIG. 12 shown.
  • the two yokes 24 become independent adjusted from each other in the associated base body 1 and measured by pressing the side walls 12a and 12b together Figure 10 fixed.
  • the two systems in the cap 100 can the common bottom of the two Shed base body 1 for sealing or glued in the cap become.
  • a common base body 101 which with a base plate 111 and with the side walls 111a, 111b and 111c and a bottom part with an intermediate wall 111d with two trough-shaped depressions.
  • a double mounting part 112 is also with side walls 112a and 112b, a common rear wall 112c and an intermediate wall 112d as a double version of the aforementioned Single base body 1 formed. Accordingly this double base body 101 also has two parallel ones Guide shafts 17 for the two yokes 24.
  • Using a longer cap can also do more than two switching systems combined to form a multiple relay switching systems with different functions, e.g. B. a pole-changing relay and a single relay, in one common housing can be accommodated.
  • a pole-changing relay and a single relay in one common housing can be accommodated.
  • the most economical production method can be individual Base body 1 and / or a multiple base body for two or more switching systems housed in the common cap become. This results in an inexpensive installation of a such multiple relays on a circuit board.
  • the contacting parts of the contact spring 3 and the counter-contact elements 5 and 6 essentially outside of that of the magnet system 2 covered area arranged.
  • the space below the coil can be full for a wide Contact spring, but also for a pole plate 23a and an armature 26 can be used with a large area.
  • a core with a round pole plate 23a is provided which is easier to manufacture and assemble than a core with pole plate trimmed on one side.
  • the free space over the contacting parts can, for example, in a cap 10 7 or in a cap 100 according to FIG. 11 , additional components such as resistors, diodes or to house a control IC inside the relay housing.
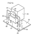
  • a cap to shape the shape of the relay construction stepwise, as is the case for example in FIG. 14 with the cap 200 is shown. It has a projecting part in the area of the bottom part Approach 201 over the contact elements during the upper part 202 covering only the coil width or depth jumps back in steps.
  • the free space above the protruding Part 201 are used to accommodate other components 204, whose leads 205 then next to the relay soldered in corresponding holes 206 in the circuit board become.

Landscapes

  • Physics & Mathematics (AREA)
  • Electromagnetism (AREA)
  • Electromagnets (AREA)
  • Burglar Alarm Systems (AREA)
  • Relay Circuits (AREA)

Description

Die Erfindung betrifft ein elektromagnetisches Relais mit mindestens einem Schaltsystem, welches aufweist:
  • einen eine Bodenplatte bildenden Grundkörper,
  • ein Kontaktfeder-Anschlußelement und mindestens ein Gegenkontaktelement, die jeweils in dem Grundkörper verankert sind,
  • eine mit ihrer Wicklungsachse senkrecht über der Bodenplatte stehend angeordnete Spule mit einem Kern und einem Joch,
  • einen zwischen der Spule und der Bodenplatte angeordneten Anker und
  • eine mit dem Anker verbundene Kontaktfeder, welche mit dem Gegenkontaktelement zusammenwirkt.
Außerdem betrifft die Erfindung die Verwendung eines solchen Relais auf einer Leiterplatte.
Ein Relais der eingangs genannten Art ist beispielsweise aus der DE 28 54 591 A1 bekannt. Dort ist die Kontaktfeder als Ankerrückstellfeder am Joch befestigt, und das zugehörige Anschlußelement ist an der gegenüberliegenden Seite mit dem Joch verbunden. Abgesehen von den Fertigungsschwierigkeiten, die eine derartige Befestigung der stromführenden Teile an zwei gegenüberliegenden Seiten des Joches mit sich bringt, wird dadurch der Strompfad von der Kontaktfeder zur Leiterplatte verhältnismäßig lang. Auch könnte der zweimalige Übergangswiderstand bei hohen Schaltströmen zu einer unerwünschten Erwärmung führen.
In der DE 42 43 852 C1 ist ebenfalls ein Relais der eingangs genannten Art gezeigt. Dort ist die Kontaktfeder zur Gewinnung einer ausreichenden Federlange an der Rückseite des Joches zunächst nach oben abgewinkelt, dann um 180° nach unten gebogen und über ein Verbindungselement in Form einer federnden Klemmvorrichtung auf das zugehörige Anschlußelement aufgesteckt, wo es dann in einem weiteren Arbeitsgang festgeschweißt wird.
Ziel der vorliegenden Erfindung ist es, ein elektromagnetisches Relais der eingangs genannten Art so zu gestalten, daß es mit guter Raumausnutzung hohe Ströme schalten kann, mit wenigen einfachen Teilen kostengünstig herzustellen ist und mit weitgehend gleichen Einzelteilen sowohl als Einfachrelais als auch als Doppel- oder Mehrfachrelais gefertigt werden kann.
Erfindungsgemäß wird dieses Ziel dadurch erreicht, daß die Kontaktfeder zwei im Bereich der Ankerlagerung U-förmig miteinander verbundene Federschenkel bildet, deren Enden in der Nähe des beweglichen Ankerendes annähernd nebeneinander liegen, daß ein erster Federschenkel als Rückstellschenkel mit dem Kontaktfeder-Anschlußelement verbunden ist und daß der zweite Federschenkel als Kontaktschenkel mit dem Anker verbunden ist und an seinem freien Ende mit dem Gegenkontaktelement zur Kontaktgabe zusammenwirkt.
Die erfindungsgemäß vorgesehene Kontaktfeder erhält über die U-förmig zusammenhängenden zwei Federschenkel eine ausreichende Federlange bei einer relativ großen Federbreite zur Führung auch höherer Schaltströme. Da die Feder unterhalb des Ankers unmittelbar über der Bodenplatte liegt und dort über ihren Rückstellschenkel unmittelbar mit dem Anschlußelement verbunden ist, kann auch der Strompfad kurz gehalten werden und einen geringen Übergangswiderstand gewährleisten. Zur Erzielung eines großen Federquerschnittes ist es zweckmäßig, daß die Kontaktfeder mit ihren beiden Federschenkeln annähernd die gesamte Fläche unterhalb des Ankers überdeckt, wobei die Enden der Federschenkel über das bewegliche Ankerende vorstehen und wobei das Kontaktfeder-Anschlußelement ebenso wie das Gegenkontaktelement im Bereich vor dem beweglichen Ankerende in der Grundplatte verankert sind und gegeneinander in Richtung auf die freien Enden der Federschenkel abgewinkelt sind. Die U-Form der Kontaktfeder kann beispielsweise dadurch gewonnen werden, daß die beiden Federschenkel aus einem im wesentlichen ebenen Federblech ausgeschnitten und gegebenenfalls lediglich mit Vorspannknicken versehen werden. In einer anderen, ebenfalls vorteilhaften Ausführungsform erhält man die beiden Federschenkel durch eine U-förmige Faltung der Kontaktfeder um 180°, wobei die Enden der Federschenkel entgegengesetzt zueinander etwa bis zur Hälfte der Gesamtfederbreite hin freigeschnitten sind; auf diese Weise können die betreffenden Endabschnitte gegeneinander verschwenkt werden, ohne aneinander zu stoßen, -während im Bereich der U-förmigen Biegung die Gesamtfederbreite für die Stromführung zur Verfügung steht.
Da die kontaktgebenden Abschnitte der Kontaktfeder und des Gegenkontaktelementes ebenso wie das Kontaktfeder-Anschlußelement über den Bereich der Spulen-Grundfläche vorstehen, um einerseits eine große Federlange und andererseits einfach herstellbare Magnetkreisteile mit großen Polflächen zu ermöglichen, entsteht über diesen kontaktgebenden Abschnitten und vor der Spule ein freier Raum, der anderweitig genutzt werden kann. Wenn eine annähernd quaderförmige Kappe auf das Relais gestülpt wird, kann dieser freie Raum innerhalb der Kappe zur Aufnahme zusätzlicher Bauelemente, etwa von Widerständen oder Dioden oder auch eines Steuerbausteines, genutzt werden. Wird dagegen eine oberhalb der kontaktgebenden Abschnitte zur Spule hin zurückgesetzte Kappe verwendet, so kann der in diesem Falle außerhalb des Gehäuses liegende freie Raum ebenfalls zur Anordnung von anderen Bauelementen verwendet werden, deren Anschlußdrähte dann neben dem Relais in der Leiterplatte kontaktiert werden.
Die Erfindung wird nachfolgend an Ausführungsbeispielen anhand der Zeichnung näher erläutert.
Es zeigen
  • Figur 1 und 2 ein erfindungsgemäß gestaltetes Einfachrelais ohne Kappe im Schnitt und in einer perspektivischen Ansicht,
  • Figur 3 und 4 eine Anker-Kontaktfederbaugruppe des Relais von Figur 2 in einer Seitenansicht und in einer perspektivischen Darstellung,
  • Figur 5 den Grundkörper des Relais von Figur 2 in perspektivischer Darstellung,
  • Figur 6 eine abgewandelte Kontaktfeder in perspektivischer Ansicht,
  • Figur 7 ein abgewandeltes Einfachrelais mit einer Kontaktfeder gemäß Figur 6 in einer seitlichen Schnittansicht,
  • Figur 8 ein Magnetsystem für ein Relais gemäß Figur 1 oder 2 in perspektivischer Darstellung,
  • Figur 9 einen mit einer Anker-Kontaktfeder-Baugruppe bestückter Grundkörper eines Relais gemaß Figur 1 oder 2,
  • Figur 10 eine Darstellung der Jochbefestigung bei einem Relais gemäß Figur 1 oder 2,
  • Figur 11 ein Doppelrelais mit zwei Relais-Schaltsystemen gemaß Figur 1 oder 7,
  • Figur 12 die Anordnung der zwei Schaltsysteme für das Relais gemäß Figur 11 ohne Kappe in perspektivischer Ansicht,
  • Figur 13 einen Doppel-Grundkörper zur Aufnahme zweier Schaltsysteme,
  • Figur 14 ein Einfachrelais mit stufenförmiger Kappe beim Einbau in eine Leiterplatte zusammen mit anderen Bauelementen.
  • Das in den Figuren 1 bis 5 gezeigte Relais besitzt einen Grundkörper 1 von generell L-förmiger Gestalt, nämlich mit einer im wesentlichen waagerechten Bodenplatte 11 und einem dazu senkrechten Halterungsteil 12. (Die Begriffe "waagerecht" und "senkrecht" beziehen sich in der gesamten Beschreibung auf eine horizontale Einbaulage des Relais, wobei also die Bodenplatte parallel auf einer horizontalen Leiterplatte sitzt.) Die Bodenplatte 11 besitzt umlaufend Seitenwände lla, llb und llc; an dem vom Halterungsteil 12 entfernten Ende bilden die Seitenwände lla und llb mit nach innen vorspringenden Rippen und Nuten einander gegenüberliegende Steckschächte 13 zur Aufnahme der später zu beschreibenden Kontaktelemente.
    Der senkrechte Halterungsteil 12 besitzt einen generell U-förmigen Querschnitt mit Seitenwänden 12a und 12b sowie einer Rückwand 12c. Die Seitenwände 12a und 12b bilden mit nach innen vorspringenden Rippen 12d einen schubladenförmigen Führungsschacht 17. Im Bereich des Führungsschachtes sind jeweils Fenster 14 ausgespart, deren Funktion später erläutert wird. Außerdem besitzt die Rückwand 12c ein Fenster 18, das die Bewegungsfreiheit des ebenfalls später beschriebenen Ankers gewährleistet.
    In dem Grundkörper wird ein Magnetsystem 2 mit einem Spulenkörper 21, einer auf dem Spulenkörper zwischen dessen Flanschen 21a und 21b angeordneten Wicklung 22, einem axial in der Spule angeordneten Kern 23 und einem L-förmig abgewinkelten Joch 24 befestigt. Im Bereich des unteren Spulenflansches 21a sind Anwickelstifte 22a mit nach unten abgebogenen Spulenanschlußstiften 22b verankert. Der runde Kern 23 besitzt an seinem unteren Ende eine im Querschnitt vergrößerte Polplatte 23a, welche eine Polfläche 25 aufweist. Das Joch 24 ist mit seinem ersten Schenkel 24a am oberen Ende des Kerns 23 befestigt, beispielsweise durch Verkerben, Schweißen oder dergleichen. Der senkrechte Schenkel 24b des Joches wird in den Führungsschacht 17 des Grundkörpers eingesteckt und dort befestigt. Die untere Abschlußkante 24c des Jochschenkels 24b bildet ein Auflager für einen Anker 26, der mit der Polfläche 25 einen Arbeitsluftspalt bildet.
    An dem Anker ist auf dessen Unterseite eine Kontaktfeder 3 befestigt, die im wesentlichen U-förmig (siehe Figur 4) aus einem Federblech geschnitten ist und so zwei Federschenkel, nämlich einen Rückstellschenkel 31 und einen Kontakt schenkel 32 bildet. Die beiden Federschenkel liegen annähernd in einer Ebene, sind jedoch an ihren Enden gegeneinander beweglich und mit Vorspannknicken allenfalls leicht aus ihrer gemeinsamen Blechebene gebogen. Der Rückstellschenkel ist mit seinem Ende 31a an einem Kontaktfeder-Anschlußelement 4 befestigt, welches L-förmig gebogen ist und mit seinem senkrechten Abschnitt 41 in einem Steckschacht 13 des Grundkörpers verankert ist. Dieser senkrechte Abschnitt 41 trägt auch einen Anschlußstift 41a, während ein waagerechter Abschnitt 42 die Kontaktfeder 3 trägt.
    Der Kontaktschenkel 32 ist über einen Niet 33 oder auf eine andere Weise an einem mittleren Abschnitt des Ankers befestigt. Das bewegliche Ende 32a des Kontaktschenkels trägt gegenüberliegende Kontaktstücke 32b, welche mit entsprechenden Gegenkontaktelementen zusammenwirken. Ein Schließer-Gegenkontaktelement 5 ist L-förmig gebogen; ein senkrechter Abschnitt 51 ist wiederum in einem Steckschacht 13 des Grundkörpers verankert; er bildet auch einen Anschlußstift 51a. Ein waagerechter Abschnitt 52 des Schließer-Gegenkontaktelementes trägt ein Kontaktstück 52a.
    Ein ebenfalls L-förmig abgebogenes Öffner-Gegenkontaktelement 6 ist mit einem senkrechten Abschnitt 61 in einem Durchbruch 16 der Bodenplatte 11 verankert, während ein waagerechter Abschnitt 62, der ein Kontaktstück 62a trägt, auf der Bodenplatte 11 aufliegt und dadurch die Stabilität dieses Gegenkontakelementes gewährleistet.
    In der Figur 6 ist eine abgewandelte Kontaktfeder 35 gezeigt, deren Federschenkel 36 und 37 nicht aus einer Ebene geschnitten, sondern durch eine Faltung der Blattfeder um 180°, und zwar um eine zur Ankerlagerachse parallele Achse, gewonnen sind. Die beiden Federschenkel, nämlich der Rückstellschenkel 36 und der Kontaktschenkel 37, sind zu ihren freien Enden hin jeweils gegenläufig diagonal freigeschnitten, so daß sie in diesen Endabschnitten 36a und 37a nebeneinander in einer Ebene liegen können und gegeneinander bewegt werden können. Im Bereich der Biegung 35a dagegen haben beide Federschenkel die volle Breite der Kontaktfeder, die im wesentlichen der Ankerbreite entspricht, zur Verfügung. Dadurch können noch höhere Lastströme als bei der Ausführungsform gemäß Figur 3 und 4 geführt werden. Die Kontaktfeder 35 ist im übrigen mit ihren Federschenkeln in gleicher Weise befestigt und mit Kontaktstücken versehen wie die in Figur 4 gezeigte Kontaktfeder 3. Ihre Anordnung in einem Relais ist in Figur 7 gezeigt. Das Relais ist ansonsten genauso aufgebaut wie das in Figur 1 gezeigte. Im Unterschied zu Figur 1 ist in Figur 7 zusätzlich eine Gehäusekappe 10 dargestellt, die über das Magnetsystem gestülpt und mit dem Grundkörper 1 verbunden wird. Die verbleibenden Spalte zwischen dem Grundkörper 1 und der Gehäusekappe 10 werden mit Vergußmasse 7 ausgefüllt und abgedichtet.
    Anhand der Figuren 8 bis 10 soll nunmehr die Montage des Magnetsystems mit gleichzeitiger Justierung beschrieben werden. Das in Figur 8 dargestellte Magnetsystem 2, das dem von Figur 2 entspricht, wird in den Grundkörper 1 eingeschoben, der gemaß Figur 9 bereits mit dem Anker 26, der Kontaktfeder 3 einschließlich des Anschlußelementes 4 sowie den Gegenkontaktelementen 5 und 6 bestückt ist. Die Breite des Jochschenkels 24b entspricht dabei genau der lichten Weite in dem Führungsschacht 17. Zusätzlich sind jedoch an den Außenkanten des Jochschenkels 24b Zähne 27 angeformt, die über die Breite des Steckschachtes 13 überstehen. Beim Einpressen des Jochschenkels 24b in den Führungsschacht 17 werden deshalb die Seitenwände 12a und 12b durch die Zähne 27 aufgeweitet. Das Joch wird dabei soweit in den Führungsschacht 17 eingeschoben, bis die untere Jochkante 24c an dem Anker anliegt und der Anker einen vorgegebenen Überhub aufweist, wenn das Kontaktstück 32b an dem Schließer-Kontaktstück 52a anliegt. Dieser Überhub kann beispielsweise dadurch gemessen werden, daß eine Sonde durch ein nicht dargestelltes Loch in der Bodenplatte auf den Anker drückt und daß der Weg des Ankers vom ersten Schließen des Schließerkontaktes bis zum endgültigen Anliegen des Ankers an der Polfläche 25 gemessen wird.
    Wenn der Jochschenkel 24b und damit das Magnetsystem 2 die gewünschte Position erreicht hat, wird der Jochschenkel 24b in dem Führungsschacht 17 befestigt. Dies geschieht gemäß Darstellung in Figur 10 dadurch, daß Druckstempel 8 in entgegengesetzten Richtungen auf die beiden durch das Übermaß der Zähne 27 aufgeweiteten Seitenwände 12a und 12b mit einer Druckkraft F einwirken. Dadurch werden die Zähne 27 in den Kunststoff des Grundkörpers eingedrückt, wo sie eine bleibende Kaltverformung bewirken. Hierdurch werden die Dehnspannungen abgebaut, und die beiden Teile, nämlich der Jochschenkel 24b und der Halterungsteil 12 des Grundkörpers, sind formschlüssig miteinander verbunden.
    Zur zusätzlichen Sicherung können Kerbstempel 9, die vorzugsweise fest mit den Druckstempeln 8 verbunden sind, im Bereich der Fenster 14 und 15 durch die Seitenwände 12a und 12b hindurch auf die Seitenkanten des Jochschenkels 24b gedrückt werden, so daß sich die Kerbschneiden 91 in das Material des Joches eingraben. Die dadurch entstehenden Kerbaufwürfe 28 an den Seitenkanten des Jochschenkels 24b gewährleisten zusätzlich den Festsitz des Magnetsystems in der gewünschten Position.
    Wie bereits oben erwähnt wurde, wird in einer bevorzugten Ausführung des Relais die Unterseite der Bodenplatte 11 mit einer Vergußmasse 7 abgedichtet. Diese Vergußmasse dringt auch in den Randspalt zwischen dem Grundkörper 1 und der Kappe 10 ein (siehe Figur 7). Wie dort auch gezeigt ist, kann die Vergußmasse 7 durch Kapillarwirkung auch in den Führungsschacht 17 des Halterungsteils 12 fließen und den Jochschenkel 24b zusätzlich verkleben.
    Figur 11 zeigt ein Doppelrelais, wobei in einer Kappe 100 zwei Schaltsysteme gemäß Figur 1 und 2 oder gemäß Figur 7 untergebracht sind. In diesem Fall sind zwei Grundkörper 1 mit den entsprechend darauf aufgebauten Magnetsystemen unabhängig voneinander montiert und dann nebeneinander in der Kappe 100 untergebracht. Die beiden Systeme ohne Kappe sind in Figur 12 gezeigt. In diesem Fall werden die beiden Joche 24 unabhängig voneinander in dem jeweils zugehörigen Grundkörper 1 justiert und durch das Zusammenpressen der Seitenwände 12a und 12b gemaß Figur 10 fixiert. Nach dem Einsetzen der beiden Systeme in die Kappe 100 kann die gemeinsame Unterseite der beiden Grundkörper 1 zur Abdichtung vergossen bzw. in der Kappe verklebt werden.
    Eine vorteilhafte Weiterbildung sieht jedoch vor, daß gemäß Figur 13 ein gemeinsamer Grundkörper 101 vorgesehen wird, der mit einer Bodenplatte 111 und mit den Seitenwänden 111a, 111b und 111c sowie mit einer Zwischenwand 111d einen Bodenteil mit zwei wannenförmigen Vertiefungen bildet. Dabei sind Steckschächte 13 wie bei dem Einzel-Grundkörper 1 gemaß Figur 5 vorgesehen. Auch ein Doppel-Halterungsteil 112 ist mit Seitenwänden 112a und 112b, einer gemeinsamen Rückwand 112c und einer Zwischenwand 112d als Doppelausführung des vorher erwähnten Einzel-Grundkörpers 1 ausgebildet. Dementsprechend besitzt dieser Doppel-Grundkörper 101 auch zwei parallele Führungsschachte 17 für die beiden Joche 24. Die Montage der beiden Jochschenkel 24b in den Führungsschächten 17 erfolgt analog zu Figur 10 mit dem Unterschied, daß nunmehr mit den Druckstempeln 8 auf die äußeren Seitenwände 112a und 112b gedrückt wird, während die gemeinsame Mittelwand 112d die Kräfte der Druckstempel 8 von beiden Seiten aufnimmt.
    Durch Verwendung einer längeren Kappe können auch mehr als zwei Schaltsysteme zu einem Mehrfachrelais zusammengefaßt werden, wobei auch Schaltsysteme mit unterschiedlichen Funktionen, z. B. ein Umpolrelais und ein Einzelrelais, in einem gemeinsamen Gehäuse untergebracht werden können. Je nach der wirtschaftlichsten Fertigungsmethode können dabei einzelne Grundkörper 1 und/oder ein Mehrfach-Grundkörper für zwei oder mehr Schaltsysteme in der gemeinsamen Kappe untergebracht werden. Dadurch ergibt sich eine kostengünstige Montage eines solchen Mehrfachrelais auf einer Leiterplatte.
    Wie beisielsweise in Figur 2 oder Figur 12 zu sehen ist, sind die kontaktgebenden Teile der Kontaktfeder 3 und die Gegenkontaktelemente 5 und 6 im wesentlichen außerhalb des vom Magnetsystem 2 überdeckten Bereiches angeordnet. Auf diese Weise kann der Raum unterhalb der Spule voll für eine breite Kontaktfeder, aber auch für eine Polplatte 23a und einen Anker 26 mit großer Fläche genutzt werden. So ist beispielsweise ein Kern mit einer runden Polplatte 23a vorgesehen, der einfacher herzustellen und zu montieren ist als ein Kern mit einseitig beschnittener Polplatte. Der freie Raum über den kontaktgebenden Teilen kann beispielsweise in einer Kappe 10 gemäß Figur 7 oder in einer Kappe 100 gemäß Figur 11 dazu genutzt werden, zusätzliche Bauelemente, wie Widerstände, Dioden oder einen Steuer-IC, innerhalb des Relaisgehauses unterzubringen. Es ist aber auch möglich, eine Kappe in Anpassung an die Form der Relaiskonstruktion stufenförmig auszubilden, wie dies beispielsweise in Figur 14 mit der Kappe 200 gezeigt ist. Sie besitzt im Bereich des Bodenteils einen vorspringenden Ansatz 201 über den Kontaktelementen, während der obere, nur die Spulenbreite oder -tiefe umfassende Teil 202 stufenförmig zurückspringt. Beim Einbau auf einer Leiterplatte 203 kann der freie Raum oberhalb des vorspringenden Teils 201 dazu genutzt werden, um andere Bauelemente 204 unterzubringen, deren Anschlußdrähte 205 dann neben dem Relais in entsprechenden Bohrungen 206 der Leiterplatte verlötet werden.

    Claims (12)

    1. Elektromagnetisches Relais mit mindestens einem Schaltsystem, welches aufweist:
      einen eine Bodenplatte (11; 111) bildenden Grundkörper (1; 101),
      ein Kontaktfeder-Anschlußelement (4) und mindestens ein Gegenkontaktelement (5, 6), die jeweils in dem Grundkörper (1) verankert sind,
      eine mit ihrer Wicklungsachse senkrecht über der Bodenplatte stehend angeordnete Spule (21, 22) mit einem Kern (23) und einem Joch (24),
      einen zwischen der Spule und der Bodenplatte angeordneten Anker (26) und
      eine mit dem Anker (26) verbundene Kontaktfeder (3; 35), welche mit dem Gegenkontaktelement bzw. den Gegenkontaktelementen (5, 6) zusammenwirkt,
      dadurch gekennzeichnet, daß die Kontaktfeder (3; 35) zwei im Bereich der Ankerlagerung U-förmig miteinander verbundene Federschenkel (31, 32; 36, 37) bildet, deren Enden in der Nähe des beweglichen Ankerendes annähernd nebeneinander liegen, daß ein erster Federschenkel als Rückstellschenkel (31; 36) mit dem Kontaktfeder-Anschlußelement (4) verbunden ist und daß der zweite Federschenkel als Kontakt schenkel (32; 37) mit dem Anker (26) verbunden ist und an seinem freien Ende mit dem bzw. den Gegenkontaktelementen (5, 6) zur Kontaktgabe zusammenwirkt.
    2. Relais nach Anspruch 1, dadurch gekennzeichnet, daß die Kontaktfeder (3; 35) mit ihren beiden Federschenkeln (31, 32; 36, 37) annähernd die gesamte Fläche unterhalb des Ankers (26) überdeckt, daß die Enden der Federschenkel über das bewegliche Ankerende vorstehen und daß das Kontaktfeder-Anschlußelement (4) sowie das mindestens eine Gegenkontaktelement (5) im Bereich vor dem beweglichen Ankerende in dem Grundkörper (1) verankert sind und gegeneinander in Richtung auf die freien Enden der Federschenkel (31, 32; 36, 37) abgewinkelt sind.
    3. Relais nach Anspruch 1 oder 2, dadurch gekennzeichnet, daß die beiden Federschenkel (31, 32) der Kontaktfeder (3) durch einen U-förmigen Schnitt aus einer Blechebene gebildet sind.
    4. Relais nach Anspruch 1 oder 2, dadurch gekennzeichnet, daß die beiden Federschenkel der Kontaktfeder (35) durch U-förmige Faltung um 180° um eine zur Ankerachse parallele Achse gebildet sind, wobei ihre Enden jeweils entgegengesetzt zueinander etwa bis zur Hälfte der Gesamt-Federbreite freigeschnitten sind.
    5. Relais nach einem der Ansprüche 1 bis 4, dadurch gekennzeichnet, daß der Grundkörper (1) im Bereich der Bodenplatte (11) mit umlaufenden Seitenwänden (11a, 11b, 11c) wannenförmig gestaltet ist, wobei zumindest das Kontaktfeder-Anschlußelement (4) und ein Schließer-Gegenkontaktelement (5) in senkrechten Steckschächten (13) der Seitenwände befestigt sind.
    6. Relais nach einem der Ansprüche 1 bis 5, dadurch gekennzeichnet, daß der Grundkörper (1) einen senkrecht zur Bodenplatte stehenden Halterungsteil (12) mit U-förmigem Querschnitt aufweist, welcher mit Nuten in seinen Seitenwänden (12a, 12b) einen senkrecht zur Bodenplatte stehenden Führungsschacht (17) zur Aufnahme eines Jochschenkels (24b) aufweist.
    7. Relais nach einem der Ansprüche 1 bis 6, dadurch gekennzeichnet, daß das Kontaktfeder-Anschlußelement (4) und das mindestens eine Gegenkontaktelement (5, 6) im wesentlichen außerhalb des von der Spule überdeckten Raumes in dem Grundkörper (1) verankert sind und daß der Kern (23) an seinem dem Anker zugewandten Ende eine Polplatte (24) aufweist, deren Durchmesser größer ist als der Innendurchmesser der Spule.
    8. Relais nach einem der Ansprüche 1 bis 7, dadurch gekennzeichnet, daß auf dem Grundkörper (1) eine Kappe (10) sitzt, die über dem Kontaktfeder-Anschlußelement (4) und dem bzw. den Gegenkontaktelementen (5, 6) einen Raum für zusätzliche Bauelemente aufweist.
    9. Relais nach einem der Ansprüche 1 bis 7, dadurch gekennzeichnet, daß auf dem Grundkörper eine Kappe (200) sitzt, die oberhalb des Kontaktfeder-Anschlußelementes (4) und der Gegenkontaktelemente (5, 6) auf eine dem Spulendurchmesser entsprechende Tiefe zurückgesetzt ist.
    10. Relais nach einem der Ansprüche 1 bis 9, dadurch gekennzeichnet, daß zwei oder mehr Schaltsysteme (1, 2, 3, 4, 5, 6) in einer gemeinsamen Kappe (100) nebeneinander angeordnet sind, wobei die Anker (26) in einer gemeinsamen Ebene nebeneinander liegen.
    11. Relais nach Anspruch 10, dadurch gekennzeichnet, daß die zwei oder mehr Schaltsysteme in einem gemeinsamen Grundkörper (101) angeordnet sind, wobei die zweiten Jochschenkel (24b) in zwei in einer gemeinsamen Ebene nebeneinander liegenden Führungsschächten (17) liegen, welche ihrerseits von Seitenwänden (112a, 112b) und einer gemeinsamen Mittelwand (112d) begrenzt sind.
    12. Verwendung des Relais nach einem der Ansprüche 9 bis 11 auf einer Leiterplatte (203), dadurch gekennzeichnet, daß der Raum oberhalb des Kontaktfeder-Anschlußelementes (4) und der Gegenkontaktelemente (5, 6), der durch die zurückgesetzte Kappe (200) frei ist, zur Anordnung von Bauelementen (204) verwendet wird, deren Anschlußdrähte (205) neben dem Relais in der Leiterplatte (203) kontaktiert sind.
    EP96923819A 1995-08-23 1996-07-08 Elektromagnetisches relais und dessen verwendung auf einer leiterplatte Expired - Lifetime EP0846330B1 (de)

    Applications Claiming Priority (3)

    Application Number Priority Date Filing Date Title
    DE19531045 1995-08-23
    DE19531045 1995-08-23
    PCT/DE1996/001232 WO1997008724A1 (de) 1995-08-23 1996-07-08 Elektromagnetisches relais und dessen verwendung auf einer leiterplatte

    Publications (2)

    Publication Number Publication Date
    EP0846330A1 EP0846330A1 (de) 1998-06-10
    EP0846330B1 true EP0846330B1 (de) 1999-02-03

    Family

    ID=7770213

    Family Applications (1)

    Application Number Title Priority Date Filing Date
    EP96923819A Expired - Lifetime EP0846330B1 (de) 1995-08-23 1996-07-08 Elektromagnetisches relais und dessen verwendung auf einer leiterplatte

    Country Status (7)

    Country Link
    US (1) US5889451A (de)
    EP (1) EP0846330B1 (de)
    JP (1) JPH11512220A (de)
    AT (1) ATE176550T1 (de)
    BR (1) BR9610190A (de)
    DE (1) DE59601280D1 (de)
    WO (1) WO1997008724A1 (de)

    Families Citing this family (7)

    * Cited by examiner, † Cited by third party
    Publication number Priority date Publication date Assignee Title
    US7116193B2 (en) * 2004-09-29 2006-10-03 Hella Kgaa Hueck & Co. Electromagnetic relay
    JP4471859B2 (ja) * 2005-01-31 2010-06-02 富士通コンポーネント株式会社 電磁継電器
    JP4535138B2 (ja) * 2008-01-25 2010-09-01 パナソニック電工株式会社 連設型リレーユニット
    CN103985600B (zh) * 2014-04-15 2015-10-21 明光市三友电子有限公司 通用高灵敏型信号继电器
    CN104851746B (zh) * 2015-05-25 2017-02-01 上海电科电器科技有限公司 可逆开关装置及其联动拆卸装置
    US9754747B1 (en) * 2016-04-25 2017-09-05 Song Chuan Precision Co., Ltd. Relay device
    USD1078811S1 (en) * 2022-01-14 2025-06-10 Song Chuan Precision Co., Ltd. Relay

    Family Cites Families (6)

    * Cited by examiner, † Cited by third party
    Publication number Priority date Publication date Assignee Title
    NL81479C (de) * 1951-06-06
    CH546477A (de) * 1972-10-18 1974-02-28 Rausch & Pausch Klappankerrelais.
    GB1600762A (en) * 1977-12-23 1981-10-21 Lucas Industries Ltd Electromagnetic relay
    US4745382A (en) * 1986-05-22 1988-05-17 Siemens Aktiengesellschaft Electromagnetic relay for automatic assembly
    DE4243852C1 (de) * 1992-12-23 1994-03-31 Hella Kg Hueck & Co Elektromagnetisches Relais
    DE4429552A1 (de) * 1994-08-19 1996-02-22 Siemens Ag Ankerhalterung für ein elektromagnetisches Relais

    Also Published As

    Publication number Publication date
    JPH11512220A (ja) 1999-10-19
    US5889451A (en) 1999-03-30
    EP0846330A1 (de) 1998-06-10
    DE59601280D1 (de) 1999-03-18
    WO1997008724A1 (de) 1997-03-06
    BR9610190A (pt) 1998-12-15
    ATE176550T1 (de) 1999-02-15

    Similar Documents

    Publication Publication Date Title
    DE60018502T2 (de) Elektromagnetisches Relais
    EP0281950B1 (de) Elektromagnetisches Relais
    EP0691030B1 (de) Polarisiertes elektromagnetisches relais
    DE19747167C1 (de) Elektromagnetisches Relais
    DE4406682A1 (de) Magnetspule, Magnetschütz mit Magnetspule, und Herstellungsverfahren für eine Magnetspule
    DE3835105C2 (de)
    EP0129068A1 (de) Elektromagnetisches Kleinrelais und Verfahren zu dessen Herstellung
    DE2748544A1 (de) Miniaturrelais
    EP0846330B1 (de) Elektromagnetisches relais und dessen verwendung auf einer leiterplatte
    EP0593599B1 (de) Elektromagnetisches umschaltrelais
    EP0133977B2 (de) Kleinschaltrelais in Miniatur-Ausführung
    EP0099019A1 (de) Relais mit Brückenkontaktfeder
    DE19546763C2 (de) Elektromagnetisches Relais
    EP0308819A2 (de) Elektromagnetisches Relais
    DE2545180C3 (de) Miniaturrelais
    EP0513010B1 (de) Elektromagnetisches relais
    DE3025814C2 (de) Elektromagnetisches Relais
    DE3001234A1 (de) Elektromagnetisches relais
    EP1643522B1 (de) Elektromagnetisches Relais
    EP0291019B1 (de) Elektromagnetisches Relais
    EP0144676A1 (de) Elektromagnetisches Relais und Verfahren zur Herstellung
    DE2703584C2 (de) Elektromagnetisches Relais
    DE3823828C2 (de) Relais
    EP0502842B1 (de) Elektromagnetisches relais
    DE19850668C1 (de) Monostabiles polarisiertes Kleinrelais

    Legal Events

    Date Code Title Description
    PUAI Public reference made under article 153(3) epc to a published international application that has entered the european phase

    Free format text: ORIGINAL CODE: 0009012

    17P Request for examination filed

    Effective date: 19980220

    AK Designated contracting states

    Kind code of ref document: A1

    Designated state(s): AT CH DE FR GB IT LI

    GRAG Despatch of communication of intention to grant

    Free format text: ORIGINAL CODE: EPIDOS AGRA

    GRAG Despatch of communication of intention to grant

    Free format text: ORIGINAL CODE: EPIDOS AGRA

    GRAH Despatch of communication of intention to grant a patent

    Free format text: ORIGINAL CODE: EPIDOS IGRA

    17Q First examination report despatched

    Effective date: 19980708

    GRAH Despatch of communication of intention to grant a patent

    Free format text: ORIGINAL CODE: EPIDOS IGRA

    GRAA (expected) grant

    Free format text: ORIGINAL CODE: 0009210

    AK Designated contracting states

    Kind code of ref document: B1

    Designated state(s): AT CH DE FR GB IT LI

    REF Corresponds to:

    Ref document number: 176550

    Country of ref document: AT

    Date of ref document: 19990215

    Kind code of ref document: T

    REG Reference to a national code

    Ref country code: CH

    Ref legal event code: EP

    REF Corresponds to:

    Ref document number: 59601280

    Country of ref document: DE

    Date of ref document: 19990318

    ET Fr: translation filed
    ITF It: translation for a ep patent filed
    GBT Gb: translation of ep patent filed (gb section 77(6)(a)/1977)

    Effective date: 19990408

    PG25 Lapsed in a contracting state [announced via postgrant information from national office to epo]

    Ref country code: AT

    Free format text: LAPSE BECAUSE OF NON-PAYMENT OF DUE FEES

    Effective date: 19990708

    PLBE No opposition filed within time limit

    Free format text: ORIGINAL CODE: 0009261

    STAA Information on the status of an ep patent application or granted ep patent

    Free format text: STATUS: NO OPPOSITION FILED WITHIN TIME LIMIT

    26N No opposition filed
    REG Reference to a national code

    Ref country code: GB

    Ref legal event code: 732E

    REG Reference to a national code

    Ref country code: GB

    Ref legal event code: IF02

    PGFP Annual fee paid to national office [announced via postgrant information from national office to epo]

    Ref country code: GB

    Payment date: 20020613

    Year of fee payment: 7

    PGFP Annual fee paid to national office [announced via postgrant information from national office to epo]

    Ref country code: FR

    Payment date: 20020702

    Year of fee payment: 7

    PGFP Annual fee paid to national office [announced via postgrant information from national office to epo]

    Ref country code: CH

    Payment date: 20020910

    Year of fee payment: 7

    PG25 Lapsed in a contracting state [announced via postgrant information from national office to epo]

    Ref country code: GB

    Free format text: LAPSE BECAUSE OF NON-PAYMENT OF DUE FEES

    Effective date: 20030708

    PG25 Lapsed in a contracting state [announced via postgrant information from national office to epo]

    Ref country code: LI

    Free format text: LAPSE BECAUSE OF NON-PAYMENT OF DUE FEES

    Effective date: 20030731

    Ref country code: CH

    Free format text: LAPSE BECAUSE OF NON-PAYMENT OF DUE FEES

    Effective date: 20030731

    GBPC Gb: european patent ceased through non-payment of renewal fee

    Effective date: 20030708

    REG Reference to a national code

    Ref country code: CH

    Ref legal event code: PL

    PG25 Lapsed in a contracting state [announced via postgrant information from national office to epo]

    Ref country code: FR

    Free format text: LAPSE BECAUSE OF NON-PAYMENT OF DUE FEES

    Effective date: 20040331

    REG Reference to a national code

    Ref country code: FR

    Ref legal event code: ST

    PG25 Lapsed in a contracting state [announced via postgrant information from national office to epo]

    Ref country code: IT

    Free format text: LAPSE BECAUSE OF NON-PAYMENT OF DUE FEES;WARNING: LAPSES OF ITALIAN PATENTS WITH EFFECTIVE DATE BEFORE 2007 MAY HAVE OCCURRED AT ANY TIME BEFORE 2007. THE CORRECT EFFECTIVE DATE MAY BE DIFFERENT FROM THE ONE RECORDED.

    Effective date: 20050708

    PGFP Annual fee paid to national office [announced via postgrant information from national office to epo]

    Ref country code: DE

    Payment date: 20120727

    Year of fee payment: 17

    PG25 Lapsed in a contracting state [announced via postgrant information from national office to epo]

    Ref country code: DE

    Free format text: LAPSE BECAUSE OF NON-PAYMENT OF DUE FEES

    Effective date: 20140201

    REG Reference to a national code

    Ref country code: DE

    Ref legal event code: R119

    Ref document number: 59601280

    Country of ref document: DE

    Effective date: 20140201