EP0839709B1 - Verfahren zur Inbetriebnahme von aufblasbaren Rettungsinseln und Rettungsinsel zur Durchführung dieses Verfahrens - Google Patents

Verfahren zur Inbetriebnahme von aufblasbaren Rettungsinseln und Rettungsinsel zur Durchführung dieses Verfahrens Download PDF

Info

Publication number
EP0839709B1
EP0839709B1 EP97117939A EP97117939A EP0839709B1 EP 0839709 B1 EP0839709 B1 EP 0839709B1 EP 97117939 A EP97117939 A EP 97117939A EP 97117939 A EP97117939 A EP 97117939A EP 0839709 B1 EP0839709 B1 EP 0839709B1
Authority
EP
European Patent Office
Prior art keywords
tubes
bow
carrier
shaped
inflatable
Prior art date
Legal status (The legal status is an assumption and is not a legal conclusion. Google has not performed a legal analysis and makes no representation as to the accuracy of the status listed.)
Expired - Lifetime
Application number
EP97117939A
Other languages
English (en)
French (fr)
Other versions
EP0839709A2 (de
EP0839709A3 (de
Inventor
Bernd Schulze
Current Assignee (The listed assignees may be inaccurate. Google has not performed a legal analysis and makes no representation or warranty as to the accuracy of the list.)
Deutsche Schlauchbootfabrik Hans Scheibert GmbH and Co KG
Original Assignee
Deutsche Schlauchbootfabrik Hans Scheibert GmbH and Co KG
Priority date (The priority date is an assumption and is not a legal conclusion. Google has not performed a legal analysis and makes no representation as to the accuracy of the date listed.)
Filing date
Publication date
Application filed by Deutsche Schlauchbootfabrik Hans Scheibert GmbH and Co KG filed Critical Deutsche Schlauchbootfabrik Hans Scheibert GmbH and Co KG
Publication of EP0839709A2 publication Critical patent/EP0839709A2/de
Publication of EP0839709A3 publication Critical patent/EP0839709A3/de
Application granted granted Critical
Publication of EP0839709B1 publication Critical patent/EP0839709B1/de
Anticipated expiration legal-status Critical
Expired - Lifetime legal-status Critical Current

Links

Images

Classifications

    • BPERFORMING OPERATIONS; TRANSPORTING
    • B63SHIPS OR OTHER WATERBORNE VESSELS; RELATED EQUIPMENT
    • B63CLAUNCHING, HAULING-OUT, OR DRY-DOCKING OF VESSELS; LIFE-SAVING IN WATER; EQUIPMENT FOR DWELLING OR WORKING UNDER WATER; MEANS FOR SALVAGING OR SEARCHING FOR UNDERWATER OBJECTS
    • B63C9/00Life-saving in water
    • B63C9/24Arrangements of inflating valves or of controls thereof
    • BPERFORMING OPERATIONS; TRANSPORTING
    • B63SHIPS OR OTHER WATERBORNE VESSELS; RELATED EQUIPMENT
    • B63CLAUNCHING, HAULING-OUT, OR DRY-DOCKING OF VESSELS; LIFE-SAVING IN WATER; EQUIPMENT FOR DWELLING OR WORKING UNDER WATER; MEANS FOR SALVAGING OR SEARCHING FOR UNDERWATER OBJECTS
    • B63C9/00Life-saving in water
    • B63C9/02Lifeboats, life-rafts or the like, specially adapted for life-saving
    • B63C9/04Life-rafts
    • BPERFORMING OPERATIONS; TRANSPORTING
    • B63SHIPS OR OTHER WATERBORNE VESSELS; RELATED EQUIPMENT
    • B63CLAUNCHING, HAULING-OUT, OR DRY-DOCKING OF VESSELS; LIFE-SAVING IN WATER; EQUIPMENT FOR DWELLING OR WORKING UNDER WATER; MEANS FOR SALVAGING OR SEARCHING FOR UNDERWATER OBJECTS
    • B63C9/00Life-saving in water
    • B63C9/02Lifeboats, life-rafts or the like, specially adapted for life-saving
    • B63C2009/023Lifeboats, life-rafts or the like, specially adapted for life-saving self-righting, i.e. returning into an upright position after upside down deployment, or capsizing
    • BPERFORMING OPERATIONS; TRANSPORTING
    • B63SHIPS OR OTHER WATERBORNE VESSELS; RELATED EQUIPMENT
    • B63CLAUNCHING, HAULING-OUT, OR DRY-DOCKING OF VESSELS; LIFE-SAVING IN WATER; EQUIPMENT FOR DWELLING OR WORKING UNDER WATER; MEANS FOR SALVAGING OR SEARCHING FOR UNDERWATER OBJECTS
    • B63C9/00Life-saving in water
    • B63C9/02Lifeboats, life-rafts or the like, specially adapted for life-saving
    • B63C9/04Life-rafts
    • B63C2009/042Life-rafts inflatable
    • BPERFORMING OPERATIONS; TRANSPORTING
    • B63SHIPS OR OTHER WATERBORNE VESSELS; RELATED EQUIPMENT
    • B63CLAUNCHING, HAULING-OUT, OR DRY-DOCKING OF VESSELS; LIFE-SAVING IN WATER; EQUIPMENT FOR DWELLING OR WORKING UNDER WATER; MEANS FOR SALVAGING OR SEARCHING FOR UNDERWATER OBJECTS
    • B63C9/00Life-saving in water
    • B63C9/02Lifeboats, life-rafts or the like, specially adapted for life-saving
    • B63C9/04Life-rafts
    • B63C2009/044Life-rafts covered

Definitions

  • the invention relates to a method for starting up dissolvable life rafts with a ring-shaped, if necessary. out existing two or more inflatable carrier tubes Floating body and arch above the floating body or V-shaped, with their ends attached to the float, also inflatable tubes, which are preferably as Serve carriers for a roof skin, the carrying hoses and the other hoses have one or more filling openings for have a blowing agent.
  • the invention further relates to a Life raft to carry out the procedure.
  • a life raft is known in which inflatable hoses have a wide roof construction form. These tubes are inflated after the support tubes, which is intended to ensure that the life raft stands up automatically.
  • the sweeping roof construction is disadvantageous in other ways, e.g. B. by forms a large area exposed to the wind. It's also here not excluded the liferaft in the above mentioned way sucks when reversed on the water lies.
  • the aim is to make the life raft self-sufficient pivoted from the overhead position to the position of use, at least from the overhead position without causes major difficulties in the position of use.
  • the per se essential hoses are not filled first, rather the priority of this Hoses lifted, preferably by the v-shaped or arcuate Hoses are inflated first and only then - after the v- or curved hoses have sufficient envelope stiffness have obtained - the carrying hoses are filled or the rest get a filling.
  • a pressure medium bottle with a corresponding one Connection to the hose can be provided, however only one pressure fluid bottle installed, the via appropriate lines with the hoses can be connected. It is also particularly advantageous an education in which the v-shaped or arc-shaped A pressure medium bottle is assigned to hoses and the pressure medium through a valve in the Trar hoses or pour into the carrying hose at the top can. In this case, a second, below support hose (if there are two superimposed support hoses) another Pressure bottle assigned, but the above The procedural rule mentioned must be observed.
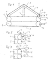
  • the life raft consists essentially of the Floating bodies with two superimposed, circular, if necessary polygonal carrying hoses 1, 2 with a floor 3 and a canopy with a a manhole cover 4 and one Support frame made of essentially V-shaped hoses 5, the top of the V forming the roof top and the Leg ends 6 if necessary over a vertical section 7 end on top of the float and there with the Float or the support tube 1 firmly connected are. All of these parts are made of a flexible, film-like material e.g. one with plastic or Rubber coated fabric.
  • the liferaft is in when not in use a container; it is used after removal inflated from the container so the liferaft sufficient envelope rigidity or stability to lend.
  • Pressure medium sources in the form of bottles 8, 9, 10, 11, 12 and 13 provided, mostly on the outside of the Liferaft are mounted. They contain one prestressed gaseous pressure medium e.g. carbon dioxide.
  • the bottle 8 stands over a line 14 connected to the tubing 5 through it certain cavity in turn over a Check valve 15 with the support hose 1.
  • the Carrier hose 2 has its own bottle 9 with a feed line 16. Should the life raft according to Fig. 1 in operation be taken, the blowing agent is over the Line supplied to the hose 5, only after one certain filling of the hoses 5 - if this one got certain stiffness - about that Check valve 15 of the support tube 1 is filled. With the filling of the hose 5, but preferably with a time delay is then passed through the line 16 the lower support tube 2 filled.
  • FIG. 2 there are three Supply lines 17, 18 and 19 are provided, wherein preferably the line 17 is larger in diameter dimensioned or - as shown - in the Install lines 18, 19 throttles or valves 20 are flat to the hoses 5 primacy grant.
  • the feed is timed e.g. to be influenced by delay switches or the like and / or the feed lines 21-23 accordingly dimension. It is also useful here, first the hoses 5, then the hose 1 and finally to inflate the hose 2 in a dimensionally stable manner.

Landscapes

  • Engineering & Computer Science (AREA)
  • Mechanical Engineering (AREA)
  • Ocean & Marine Engineering (AREA)
  • Tents Or Canopies (AREA)
  • Filling Or Discharging Of Gas Storage Vessels (AREA)
  • Working Measures On Existing Buildindgs (AREA)
  • Joints Allowing Movement (AREA)

Description

Die Erfindung betrifft ein Verfahren zur Inbetriebnahme von auflösbaren Rettungsinseln mit einem ringförmigen, ggfls. aus zwei oder mehreren aufblähbaren Tragschläuchen bestehenden Schwimmkörper und oberhalb des Schwimmkörpers befindlichen, Bogen- oder v-förmigen, mit ihren Enden am Schwimmkörper befestigten, ebenfalls aufblähbaren Schläuchen, die vorzugsweise als Träger für eine Dachhaut dienen, wobei die Tragschläuche und die anderen Schläuche eine oder mehrere Einfüllöffnungen für ein Blähmittel aufweisen. Die Erfindung betrifft ferner eine Rettungsinsel zur Durchführung des Verfahrens.
Bei den bekannten Rettungsinseln der obigen Art werden die v- oder bogenförmigen Schläuche über die Tragschläuche mit dem Blähmittel beschickt; wenn die Tragschläuche gefüllt werden, kann das Blähmittel in die v- bzw. bogenförmigen Schläuche überströmen, nachdem in den Tragschläuchen ein bestimmter, geforderter Innendruck entstanden ist. Diese Ausführung hat sich zwar bewährt, sie kann jedoch dann sehr nachteilig sein, wenn die Rettungsinsel im Einsatzfall vor dem Aufblähen eine Über-Kopf-Stellung eingenommen hat. Die sich zunächst aufblähenden Tragschläuche führen dazu, dass sich die Rettungsinsel - zunächst flach auf dem Wasser liegend und sich dort gewissermaßen festsaugend - nicht mehr bzw. nur sehr schwer durch Umklappen in die Gebrauchslage bringen lässt.
Bei einer Rettungsinsel der eingangs genannten Art (DE 11 22 863) sollen der Tragschlauch des Schwimmkörpers und der die Dachhaut tragende Schlauch gleichzeitig aufgebläht werden. Beide Schläuche stehen entweder über Überströmöffnungen miteinander in Verbindung, oder es kann für jeden Schlauch eine eigene Aufblasvorrichtung, z. B. eine Gasvorratsflasche, vorgesehen sein.
Getrennte Aufblähvorrichtungen für Schwimmkörper und Dachkonstruktion sind ferner aus der US 4 573 933 A bekannt. Aus der US 2 908 919 A ist weiterhin eine Rettungsinsel bekannt, bei der das Aufblähen der das Dach tragenden Schläuche und des darunter befindlichen Tragschlauches des Schwimmkörpers gleichzeitig erfolgt. Die oben beschriebenen Nachteile können mit diesen bekannten Verfahren zum Aufblähen von Rettungsinseln jedoch nicht wirkungsvoll verhindert werden.
Aus der US 4 998 900 ist eine Rettungsinsel bekannt, bei der aufblasbare Schläuche eine weit ausladende Dachkonstruktion bilden. Diese Schläuche werden nach den Tragschläuchen aufgebläht, wodurch erreicht werden soll, dass sich die Rettungsinsel selbsttätig aufrichtet. Die weit ausladende Dachkonstruktion ist jedoch in anderer Weise unvorteilhaft, z. B. indem sie eine große Windangriffsfläche bildet. Zudem ist es auch hier nicht ausgeschlossen, dass sich die Rettungsinsel in der oben erwähnten Weise festsaugt, wenn sie umgekehrt auf dem Wasser liegt.
Aufgrund der Erfindung sollen diese Nachteile vermieden werden; es soll erreicht werden, dass die Rettungsinsel sich selbsttätig von der Über-Kopf-Stellung aus in die Gebrauchslage verschwenkt, zumindest aber von der Über-Kopf-Stellung aus ohne größere Schwierigkeiten in die Gebrauchslage kippen lässt.
Zur Lösung dieser Aufgabe werden erfindungsgemäß zuerst die v- bzw. bogenförmigen Schläuche und danach der darunter befindliche Schlauchkörper des Schwimmkörpers aufgebläht.
Demgemäß werden somit nicht die an sich lebensnotwendigen Tragschläuche zuerst gefüllt, vielmehr wird die Priorität dieser Schläuche aufgehoben, indem vorzugsweise die v- bzw. bogenförmigen Schläuche zuerst gebläht und dann erst - nachdem die v- bzw. bogenförmigen Schläuche eine ausreichende Hüllsteifigkeit erlangt haben - die Tragschläuche gefüllt werden bzw. den Rest einer Füllung bekommen.
Zur Durchführung dieses Verfahrens kann für jeden Schlauch ( Trag- und v- bzw. bogenförmiger Schlauch ) eine Druckmittelflasche mit einem entsprechenden Anschluss an dem Schlauch vorgesehen sein, jedoch kann auch nur eine Druckmittelflasche installiert sein, die über entsprechende Leitungen mit den Schläuchen verbunden sein kann. Besonders vorteilhaft ist ferner eine Ausbildung, bei der den v- bzw. bogenförmigen Schläuchen eine Druckmittelflasche zugeordnet ist und das Druckmittel über ein Ventil in die Trarschläuche bzw. in den oben gelegenen Tragschlauch überströmen kann. In diesem Falle würde einem zweiten, unten gelegenen Tragschlauch ( beim Vorhandensein von zwei übereinander liegenden Tragschläuchen ) eine weitere Druckmittelflasche zugeordnet, wobei jedoch die oben erwähnte verfahrensmässige Vorschrift einzuhalten ist.
Weitere Einzelheiten der Erfindung werden anhand der Zeichnung erläutert, in der Ausführungsbeispiele für den Aufbau einer Rettungsinsel dargestellt sind. Es zeigen :
  • Fig. 1 einen senkrechten Schnitt durch eine schematisch wiedergegebene aufblasbare Rettungsinsel und
  • Fig. 2 und 3 je senkrechte Teilschnitte durch eine Rettungsinsel in unterschiedlicher Ausbildung.
  • Die Rettungsinsel besteht im wesentlichen aus dem Schwimmkörper mit zwei übereinander angeordneten, kreisringförmigen, ggfs. polygonartigen Tragschläuchen 1, 2 mit einem Boden 3 und einem Schutzdach mit einer eine Einsteigöffnung aufweisenden Dachhaut 4 und einem Traggestell aus im wesentlichen v-förmigen Schläuchen 5, wobei die Spitze des V die Dachspitze bildet und die Schenkelenden 6 ggfs. über einen senkrechten Abschnitt 7 oben auf dem Schwimmkörper enden und dort mit dem Schwimmkörper bzw. dem Tragschlauch 1 fest verbunden sind. Alle diese Teile bestehen aus einem biegsamen, folienartigen Werkstoff z.B. einem mit Kunststoff oder Gummi beschichteten Gewebe.
    Die Rettungsinsel befindet sich bei Nichtgebrauch in einem Behälter; sie wird im Einsatzfall nach Entfernen aus dem Behälter aufgebläht, um so der Rettungsinsel eine ausreichende Hüllsteifigkeit bzw. Stabilität zu verleihen.
    Um die Rettungsinsel aufblähen zu können, sind Druckmittelquellen in Form von Flaschen 8, 9, 10, 11, 12 und 13 vorgesehen, die meist an der Aussenseite der Rettungsinsel montiert sind. Sie enthalten ein vorgespanntes gasförmiges Druckmittel z.B Kohlendioxyd.
    Gemäss Fig. 1 steht die Flasche 8 über eine Leitung 14 mit den Schläuchen 5 in Verbindung, der durch sie bestimmte Hohlraum seinerseits über ein Rückschlagventil 15 mit dem Tragschlauch 1. Der Tragschlauch 2 hat eine eigene Flasche 9 mit Zuleitung 16. Soll die Rettungsinsel gemäss Fig. 1 in Betrieb genommen werden, so wird das Blähmittel über die Leitung dem Schlauch 5 zugeführt, wobei erst nach einer bestimmten Füllung der Schläuche 5 - wenn diese eine bestimmte Steifigkeit bekommen haben - über das Rückschlagventil 15 der Tragschlauch 1 gefüllt wird. Mit dem Füllen des Schlauches 5, vorzugsweise aber mit einer zeitlichen Verzögerung wird dann über die Leitung 16 der untere Tragschlauch 2 gefüllt.
    Durch die Füllung der Schläuche 5 und deren Biegesteifigkeit wird verhindert, dass die Rettungsinsel ungewollt und in nachteiliger Weise flach auf dem Kopf liegend auf der Wasseroberfläche verbleibt. Die Schläuche 5 sorgen vielmehr für eine Schräglage der Rettungsinsel, die im allgemeinen ausreicht, um ein automatisches Kippen der Rettungsinsel in die Gebrauchslage zu bewirken.
    Bei der Ausführungsform gemäss Fig. 2 sind drei Zufuhrleitungen 17, 18 und 19 vorgesehen, wobei vorzugsweise die Leitung 17 im Durchmesser grösser zu bemessen ist oder aber - wie dargestellt - in die Leitungen 18, 19 Drosseln bzw. Ventile 20 einzubauen sind, um den Schläuchen 5 blähmässig das Primat einzuräumen.
    Gemäss Fig. 3 sind drei Flaschen 11, 12, 13 installiert, die über Speiseleitungen 21, 22 und 23 zu ihren Schlauchkörpern ( 1, 2 und 5 ) führen. In diesem Falle ist es angebracht, die Speisung zeitlich z.B. durch Verzögerungsschalter od. dgl. zu beeinflussen und/oder die Speiseleitungen 21 - 23 entsprechend zu dimensionieren. Zweckmässig ist es auch hier, zuerst die Schläuche 5, dann den Schlauch 1 und schliesslich den Schlauch 2 formsteif zu blähen.
    Wenngleich auch die beschriebenen v- oder bogenförmigen Schläuche mit Vorteil ein Traggestell für eine Dachhaut bilden, so können sie dennoch Vorteile bieten, wenn sie sich oberhalb der Dachhaut befinden und das Traggestell für die Dachhaut von anderen Schläuchen od. dgl. gebildet wird.
    Es sei bemerkt, dass bei der Ausführungsform gemäss Fig. 1 anstelle der beiden Flaschen 8, 9 nur eine Flasche benutzt werden kann, indem die beiden Zuleitungen 14, 16 an eine Einzelflasche herangeführt sind. Ähnlich kann auch die Auführungsform gemäss Fig. 3 geändert werden, die beiden Flaschen 12, 13 werden dann durch eine Flasche ersetzt. Dies bedeutet, dass die Zuleitungen 22, 23 zu dieser Einzelflasche verlegt werden müssen. Es versteht sich, dass auch diese Verwirklichungen der Erfindungen von Drosseln, Verzögerungsgliedern und dgl. Gebrauch machen können, um dem Erfiundungsgedanken zu entsprechen.

    Claims (9)

    1. Verfahren zur Inbetriebnahme von Rettungsinseln mit einem ringartigen, aufblähbaren Schwimmkörper (1, 2) und oberhalb des Schwimmkörpers (1, 2) befindlichen, bogen- oder v-förmigen, mit ihren Enden oben am Schwimmkörper (1, 2) gelagerten, aufblähbaren Schläuchen (5), die vorzugsweise als Träger für eine Dachhaut (4) dienen, wobei der Schwimmkörper (1, 2) und die darüber befindlichen Schläuche (5) eine oder mehrere Einfüllöffnungen für das Blähmittel aufweisen und die Inbetriebnahme der Rettungsinsel durch Aufblähen erfolgt, dadurch gekennzeichnet, dass zuerst die v- bzw. bogenförmigen Schläuche (5) und danach der darunter befindliche Schwimmkörper (1, 2) aufgebläht werden.
    2. Verfahren nach Anspruch 1, dadurch gekennzeichnet, dass die v- bzw. bogenförmigen Schläuche (5) zuerst, dann der darunter befindliche Tragschlauch (1) und schließlich die dann noch weiter vorhandenen, darunter befindlichen Tragschläuche (2) formsteif gebläht werden.
    3. Rettungsinsel zur Durchführung des Verfahrens nach Anspruch 1, dadurch gekennzeichnet, dass die v- bzw. bogenförmigen Schläuche (5) über eine Leitung (14) direkt mit einer Druckmittelquelle (8) verbunden sind, und dass durch ein Zeitverzögerungssystem die Tragschläuche (1, 2) mit Zeitverzögerung bezüglich der v- bzw. bogenförmigen Schläuche (5) aufgeblasen werden, wobei dieses Zeitverzögerungssystem entweder aus einer Drossel (15), die zwischen den Tragschläuchen (1, 2) und den v- bzw. bogenförmigen Schläuchen (5) liegt, oder aus einem Verzögerungsschalter besteht.
    4. Rettungsinsel nach Anspruch 3, dadurch gekennzeichnet, dass bei zwei Tragschläuchen (1, 2) dem unten gelegenen Tragschlauch (2) eine Druckmittelquelle (9) zugeordnet und direkt mit dem Tragschlauch (2) verbunden ist.
    5. Rettungsinsel nach Anspruch 3, dadurch gekennzeichnet, dass sowohl die v- bzw. bogenförmigen Schläuche (5) als auch die Tragschläuche (1, 2) über Zufuhrleitungen (17, 18, 19) mit einer gemeinsamen Druckmittelquelle (10) verbunden sind, wobei die zu den Tragschläuchen (1, 2) führenden Leitungen (18, 19) geringere Durchmesser als die zu den v- bzw. bogenförmigen Schläuchen (5) führende Leitung (17) oder Drosseln aufweisen, deren Durchgangsquerschnitt geringer ist als der Querschnitt der zu den v- bzw. bogenförmigen Schläuchen (5) führenden Leitung (17).
    6. Rettungsinsel nach Anspruch 3, dadurch gekennzeichnet, dass sowohl die v- bzw. bogenförmigen Schläuche (5) als auch die Tragschläuche (1, 2) über Zufuhrleitungen (17, 18, 19) mit einer gemeinsamen Druckmittelquelle (10) verbunden sind, wobei in den zu den Tragschläuchen (1, 2) führenden Leitungen (18, 19) Ventile (2) angeordnet sind, die über Verzögerungsschalter in der Weise beeinflussbar sind, dass das Aufblähen der v- bzw. bogenförmigen Schläuche (5) vor dem Aufblähen der Tragschläuche (1, 2) erfolgt.
    7. Rettungsinsel nach Anspruch 3, dadurch gekennzeichnet, dass den v- bzw. bogenförmigen Schläuchen (5) und den Tragschläuchen (1, 2) je zumindest eine Druckmittelquelle (11-13) zugeordnet ist, wobei die zu den Tragschläuchen (1, 2) führenden Leitungen (22, 23) auf ihrer gesamten Länge oder an einzelnen Drosselstellen jeweils einen geringeren Querschnitt aufweisen als die zu den v- bzw. bogenförmigen Schläuchen (5) führenden Leitung (21).
    8. Rettungsinsel nach Anspruch 3, dadurch gekennzeichnet, dass den v- bzw. bogenförmigen Schläuchen (5) und den Tragschläuchen (1, 2) je zumindest eine Druckmittelquelle (11-13) zugeordnet ist, wobei die Druckmittelquellen oder Ventile, die in den Speiseleitungen (22, 23) angeordnet sind, die die Druckmittelquellen mit den Tragschläuchen (1, 2) verbinden, durch Verzögerungsschalter in der Weise beeinflussbar sind, dass das Aufblähen der v- bzw. bogenförmigen Schläuche (5) vor dem Aufblähen der Tragschläuche (1, 2) erfolgt.
    9. Rettungsinsel nach einem oder mehreren der Ansprüche 3 - 8, dadurch gekennzeichnet, dass oberhalb der Dachhaut (4) zusätzliche v- bzw. bogenförmige Schläuche angeordnet sind.
    EP97117939A 1996-11-02 1997-10-16 Verfahren zur Inbetriebnahme von aufblasbaren Rettungsinseln und Rettungsinsel zur Durchführung dieses Verfahrens Expired - Lifetime EP0839709B1 (de)

    Applications Claiming Priority (2)

    Application Number Priority Date Filing Date Title
    DE19645203A DE19645203A1 (de) 1996-11-02 1996-11-02 Verfahren zur Inbetriebnahme von aufblasbaren Rettungsinseln und Rettungsinsel zur Durchführung dieses Verfahrens
    DE19645203 1996-11-02

    Publications (3)

    Publication Number Publication Date
    EP0839709A2 EP0839709A2 (de) 1998-05-06
    EP0839709A3 EP0839709A3 (de) 1999-12-08
    EP0839709B1 true EP0839709B1 (de) 2003-04-09

    Family

    ID=7810473

    Family Applications (1)

    Application Number Title Priority Date Filing Date
    EP97117939A Expired - Lifetime EP0839709B1 (de) 1996-11-02 1997-10-16 Verfahren zur Inbetriebnahme von aufblasbaren Rettungsinseln und Rettungsinsel zur Durchführung dieses Verfahrens

    Country Status (4)

    Country Link
    US (1) US5919068A (de)
    EP (1) EP0839709B1 (de)
    DE (2) DE19645203A1 (de)
    DK (1) DK0839709T3 (de)

    Families Citing this family (3)

    * Cited by examiner, † Cited by third party
    Publication number Priority date Publication date Assignee Title
    US6209149B1 (en) * 2000-04-17 2001-04-03 Aqua-Marine International Inc. Inflatable swimming pool with a sun shield
    AU2003223455A1 (en) * 2002-05-05 2003-11-17 William L. Courtney Variable-displacement variable-ballast life raft inflated and maintained by a manual pneumatic and or hydraulic lever-amplified torque pump through a range of dedicated fittaments
    IT201800005580A1 (it) * 2018-05-22 2019-11-22 Apparecchiatura per il gonfiaggio istantaneo di un canotto di salvataggio

    Family Cites Families (10)

    * Cited by examiner, † Cited by third party
    Publication number Priority date Publication date Assignee Title
    FR1129146A (fr) * 1955-07-16 1957-01-16 Aerazur Constr Aeronaut Perfectionnement aux embarcations pneumatiques
    US2908919A (en) * 1956-06-06 1959-10-20 Garrett Corp Arctic shelter life raft
    GB837094A (en) * 1957-11-13 1960-06-09 Frankenstein & Sons Manchester Improvements in or relating to inflatable structures
    DE1282507B (de) * 1966-04-02 1968-11-07 Scheibert Dt Schlauchbootfab Aufblasbares Rettungsfloss
    US3397117A (en) * 1966-06-13 1968-08-13 Nasa Usa Compact solar still
    GB2060509B (en) * 1979-10-18 1983-06-22 Rfd Inflatables Ltd Inflatable liferafts
    US4355987A (en) * 1980-10-15 1982-10-26 The Garrett Corporation Life raft inflation system
    US4573933A (en) * 1983-06-20 1986-03-04 Cameron Robert W Floating search and rescue inflatable pyramid
    DE8700937U1 (de) * 1987-01-21 1987-07-02 Chang, Jyh-Shyen, T'ai-pei/Taipei Mehrwegeventil für eine Aufblasvorrichtung
    US4998900A (en) * 1989-07-28 1991-03-12 Derek Wright Self-righting inflatable life raft

    Also Published As

    Publication number Publication date
    DE19645203A1 (de) 1998-05-07
    US5919068A (en) 1999-07-06
    DK0839709T3 (da) 2003-08-04
    DE59709766D1 (de) 2003-05-15
    EP0839709A2 (de) 1998-05-06
    EP0839709A3 (de) 1999-12-08

    Similar Documents

    Publication Publication Date Title
    DE2007747C3 (de) Verfahren und Vorrichtung zum Aufblasen eines auf einer Radfelge aufgezogenen schlauchlosen Reifens
    DE2745927A1 (de) Verbesserungen zu einrichtungen zum belegen von schiffen, insbesondere tankschiffen an offshorebohrungsplattformen
    DE2251321A1 (de) Aufblasbare rettungsrutsche
    DE10126522B4 (de) Rohrabdichtkissen
    EP0916573B1 (de) Verfahren zur Inbetriebnahme von aufblähbaren Rettungsinseln
    EP0839709B1 (de) Verfahren zur Inbetriebnahme von aufblasbaren Rettungsinseln und Rettungsinsel zur Durchführung dieses Verfahrens
    DE3227348A1 (de) Hebe- und rettungseinrichtung fuer schiffe
    DE2261994A1 (de) Einrichtung zum feinblasigen belueften von abwasser
    DE3530530A1 (de) Schwimmeranordnung fuer flugzeug-fahrgestelle
    DE2344678A1 (de) Klappenwehr
    EP0839710A2 (de) Zusatzeinrichtung für aufblasbare Rettungsflösse
    WO1991016125A1 (de) Vorrichtung zum begasen von flüssigkeiten
    EP0806400A1 (de) Bogenbelüfter
    DE1946543A1 (de) Staukoerper
    DE2838119A1 (de) Schwimmweste
    EP1358101A1 (de) Behälter zur beförderung von frischwasser auf dem seeweg
    DE3921936A1 (de) Vorrichtung zum belueften von wasser
    DE2428945B1 (de) Einrichtung zum schutz des rumpfes eines bootes o.dgl.
    EP0419888B1 (de) Schlauchboot mit vergrössertem Innenraum
    DE3411433C2 (de)
    DE2634481C3 (de) Umschaltbare Einrichtung zur Reinigung und Entgasung von Behältern
    AT120928B (de) Absperrventil für in mehrere Zellen unterteilte Luftreifen.
    DE3129784A1 (de) Einrichtung zur verhinderung des sinkens eines leckgeschlagenen oder vollgelaufenen schiffes, insbesondere sportbootes
    DE19610875C2 (de) Aufblasbares Rettungsfloß für Schiffe
    DE8220863U1 (de) Hebe- und Rettungseinrichtung für Schiffe

    Legal Events

    Date Code Title Description
    PUAI Public reference made under article 153(3) epc to a published international application that has entered the european phase

    Free format text: ORIGINAL CODE: 0009012

    AK Designated contracting states

    Kind code of ref document: A2

    Designated state(s): DE DK FR GB IT

    AX Request for extension of the european patent

    Free format text: AL;LT;LV;RO;SI

    PUAL Search report despatched

    Free format text: ORIGINAL CODE: 0009013

    AK Designated contracting states

    Kind code of ref document: A3

    Designated state(s): AT BE CH DE DK ES FI FR GB GR IE IT LI LU MC NL PT SE

    AX Request for extension of the european patent

    Free format text: AL;LT;LV;RO;SI

    17P Request for examination filed

    Effective date: 20000218

    AKX Designation fees paid

    Free format text: DE DK FR GB IT

    17Q First examination report despatched

    Effective date: 20010608

    GRAH Despatch of communication of intention to grant a patent

    Free format text: ORIGINAL CODE: EPIDOS IGRA

    GRAH Despatch of communication of intention to grant a patent

    Free format text: ORIGINAL CODE: EPIDOS IGRA

    GRAA (expected) grant

    Free format text: ORIGINAL CODE: 0009210

    AK Designated contracting states

    Designated state(s): DE DK FR GB IT

    PG25 Lapsed in a contracting state [announced via postgrant information from national office to epo]

    Ref country code: IT

    Free format text: LAPSE BECAUSE OF FAILURE TO SUBMIT A TRANSLATION OF THE DESCRIPTION OR TO PAY THE FEE WITHIN THE PRESCRIBED TIME-LIMIT;WARNING: LAPSES OF ITALIAN PATENTS WITH EFFECTIVE DATE BEFORE 2007 MAY HAVE OCCURRED AT ANY TIME BEFORE 2007. THE CORRECT EFFECTIVE DATE MAY BE DIFFERENT FROM THE ONE RECORDED.

    Effective date: 20030409

    Ref country code: GB

    Free format text: LAPSE BECAUSE OF FAILURE TO SUBMIT A TRANSLATION OF THE DESCRIPTION OR TO PAY THE FEE WITHIN THE PRESCRIBED TIME-LIMIT

    Effective date: 20030409

    REG Reference to a national code

    Ref country code: GB

    Ref legal event code: FG4D

    Free format text: NOT ENGLISH

    RIC1 Information provided on ipc code assigned before grant

    Ipc: 7B 63B 7/08 B

    Ipc: 7B 63C 9/03 A

    REG Reference to a national code

    Ref country code: DK

    Ref legal event code: T3

    GBV Gb: ep patent (uk) treated as always having been void in accordance with gb section 77(7)/1977 [no translation filed]

    Effective date: 20030409

    PGFP Annual fee paid to national office [announced via postgrant information from national office to epo]

    Ref country code: FR

    Payment date: 20031128

    Year of fee payment: 7

    ET Fr: translation filed
    PLBE No opposition filed within time limit

    Free format text: ORIGINAL CODE: 0009261

    STAA Information on the status of an ep patent application or granted ep patent

    Free format text: STATUS: NO OPPOSITION FILED WITHIN TIME LIMIT

    PGFP Annual fee paid to national office [announced via postgrant information from national office to epo]

    Ref country code: DE

    Payment date: 20040310

    Year of fee payment: 7

    26N No opposition filed

    Effective date: 20040112

    PGFP Annual fee paid to national office [announced via postgrant information from national office to epo]

    Ref country code: DK

    Payment date: 20040427

    Year of fee payment: 7

    PG25 Lapsed in a contracting state [announced via postgrant information from national office to epo]

    Ref country code: DK

    Free format text: LAPSE BECAUSE OF NON-PAYMENT OF DUE FEES

    Effective date: 20041101

    PG25 Lapsed in a contracting state [announced via postgrant information from national office to epo]

    Ref country code: DE

    Free format text: LAPSE BECAUSE OF NON-PAYMENT OF DUE FEES

    Effective date: 20050503

    REG Reference to a national code

    Ref country code: DK

    Ref legal event code: EBP

    PG25 Lapsed in a contracting state [announced via postgrant information from national office to epo]

    Ref country code: FR

    Free format text: LAPSE BECAUSE OF NON-PAYMENT OF DUE FEES

    Effective date: 20050630

    REG Reference to a national code

    Ref country code: FR

    Ref legal event code: ST