EP0805902B1 - Hochwärmedämmend ausgerüsteter boden-, decken- oder wandaufbau - Google Patents

Hochwärmedämmend ausgerüsteter boden-, decken- oder wandaufbau Download PDF

Info

Publication number
EP0805902B1
EP0805902B1 EP96902916A EP96902916A EP0805902B1 EP 0805902 B1 EP0805902 B1 EP 0805902B1 EP 96902916 A EP96902916 A EP 96902916A EP 96902916 A EP96902916 A EP 96902916A EP 0805902 B1 EP0805902 B1 EP 0805902B1
Authority
EP
European Patent Office
Prior art keywords
insulating body
covering
floor
layer
wall
Prior art date
Legal status (The legal status is an assumption and is not a legal conclusion. Google has not performed a legal analysis and makes no representation as to the accuracy of the status listed.)
Expired - Lifetime
Application number
EP96902916A
Other languages
English (en)
French (fr)
Other versions
EP0805902A1 (de
Inventor
Heinz Dr. Kunert
Current Assignee (The listed assignees may be inaccurate. Google has not performed a legal analysis and makes no representation or warranty as to the accuracy of the list.)
Individual
Original Assignee
Individual
Priority date (The priority date is an assumption and is not a legal conclusion. Google has not performed a legal analysis and makes no representation as to the accuracy of the date listed.)
Filing date
Publication date
Priority claimed from DE19502238A external-priority patent/DE19502238A1/de
Application filed by Individual filed Critical Individual
Publication of EP0805902A1 publication Critical patent/EP0805902A1/de
Application granted granted Critical
Publication of EP0805902B1 publication Critical patent/EP0805902B1/de
Anticipated expiration legal-status Critical
Expired - Lifetime legal-status Critical Current

Links

Images

Classifications

    • EFIXED CONSTRUCTIONS
    • E04BUILDING
    • E04BGENERAL BUILDING CONSTRUCTIONS; WALLS, e.g. PARTITIONS; ROOFS; FLOORS; CEILINGS; INSULATION OR OTHER PROTECTION OF BUILDINGS
    • E04B1/00Constructions in general; Structures which are not restricted either to walls, e.g. partitions, or floors or ceilings or roofs
    • E04B1/62Insulation or other protection; Elements or use of specified material therefor
    • E04B1/74Heat, sound or noise insulation, absorption, or reflection; Other building methods affording favourable thermal or acoustical conditions, e.g. accumulating of heat within walls
    • E04B1/76Heat, sound or noise insulation, absorption, or reflection; Other building methods affording favourable thermal or acoustical conditions, e.g. accumulating of heat within walls specifically with respect to heat only
    • E04B1/7675Insulating linings for the interior face of exterior walls
    • EFIXED CONSTRUCTIONS
    • E04BUILDING
    • E04BGENERAL BUILDING CONSTRUCTIONS; WALLS, e.g. PARTITIONS; ROOFS; FLOORS; CEILINGS; INSULATION OR OTHER PROTECTION OF BUILDINGS
    • E04B1/00Constructions in general; Structures which are not restricted either to walls, e.g. partitions, or floors or ceilings or roofs
    • E04B1/62Insulation or other protection; Elements or use of specified material therefor
    • E04B1/74Heat, sound or noise insulation, absorption, or reflection; Other building methods affording favourable thermal or acoustical conditions, e.g. accumulating of heat within walls
    • E04B1/76Heat, sound or noise insulation, absorption, or reflection; Other building methods affording favourable thermal or acoustical conditions, e.g. accumulating of heat within walls specifically with respect to heat only
    • E04B1/7608Heat, sound or noise insulation, absorption, or reflection; Other building methods affording favourable thermal or acoustical conditions, e.g. accumulating of heat within walls specifically with respect to heat only comprising a prefabricated insulating layer, disposed between two other layers or panels
    • E04B1/7612Heat, sound or noise insulation, absorption, or reflection; Other building methods affording favourable thermal or acoustical conditions, e.g. accumulating of heat within walls specifically with respect to heat only comprising a prefabricated insulating layer, disposed between two other layers or panels in combination with an air space
    • EFIXED CONSTRUCTIONS
    • E04BUILDING
    • E04CSTRUCTURAL ELEMENTS; BUILDING MATERIALS
    • E04C2/00Building elements of relatively thin form for the construction of parts of buildings, e.g. sheet materials, slabs, or panels
    • E04C2/02Building elements of relatively thin form for the construction of parts of buildings, e.g. sheet materials, slabs, or panels characterised by specified materials
    • E04C2/10Building elements of relatively thin form for the construction of parts of buildings, e.g. sheet materials, slabs, or panels characterised by specified materials of wood, fibres, chips, vegetable stems, or the like; of plastics; of foamed products
    • E04C2/16Building elements of relatively thin form for the construction of parts of buildings, e.g. sheet materials, slabs, or panels characterised by specified materials of wood, fibres, chips, vegetable stems, or the like; of plastics; of foamed products of fibres, chips, vegetable stems, or the like
    • EFIXED CONSTRUCTIONS
    • E04BUILDING
    • E04FFINISHING WORK ON BUILDINGS, e.g. STAIRS, FLOORS
    • E04F15/00Flooring
    • E04F15/18Separately-laid insulating layers; Other additional insulating measures; Floating floors
    • EFIXED CONSTRUCTIONS
    • E04BUILDING
    • E04FFINISHING WORK ON BUILDINGS, e.g. STAIRS, FLOORS
    • E04F15/00Flooring
    • E04F15/18Separately-laid insulating layers; Other additional insulating measures; Floating floors
    • E04F15/182Underlayers coated with adhesive or mortar to receive the flooring
    • EFIXED CONSTRUCTIONS
    • E04BUILDING
    • E04FFINISHING WORK ON BUILDINGS, e.g. STAIRS, FLOORS
    • E04F15/00Flooring
    • E04F15/18Separately-laid insulating layers; Other additional insulating measures; Floating floors
    • E04F15/185Underlayers in the form of studded or ribbed plates
    • EFIXED CONSTRUCTIONS
    • E04BUILDING
    • E04FFINISHING WORK ON BUILDINGS, e.g. STAIRS, FLOORS
    • E04F2203/00Specially structured or shaped covering, lining or flooring elements not otherwise provided for
    • E04F2203/06Specially structured or shaped covering, lining or flooring elements not otherwise provided for comprising two layers fixedly secured to one another, in offset relationship in order to form a rebate
    • E04F2203/065Specially structured or shaped covering, lining or flooring elements not otherwise provided for comprising two layers fixedly secured to one another, in offset relationship in order to form a rebate in offset relationship longitudinally as well as transversely

Definitions

  • the invention relates to a high thermal insulation Floor, ceiling or wall structure, in which an insulating body between a load-bearing substructure and a surface covering is arranged.
  • floor coverings such as fine ceramic tiles, ceramic split tiles, floor clinker tiles, PVC, rubber or cork boards, but also Wood parquet and textile coverings usually at least 5 to 8 cm thick cement screed layers applied.
  • the flooring thus directly border on voluminous, massive layers of material with high thermal mass, which has high thermal conductivity and have a large heat penetration number.
  • floor coverings with the exception of thick cork coverings and deep-pile carpets, always count as cold feet. They are up to the demands after a comfortable room climate due to the intensive heat dissipation on the massive, constructively bearing and loads receiving floor substructure.
  • the floor or ceiling structure as usual, sufficient under the screed layer Contains heat insulation layer, because the first thing is the sensation of heat when standing and walking on floors by temperature the contact surface, i.e. the temperature of the floor surface, dependent.
  • the actual heat and Soundproofing layers on the screed layer which in turn serves as a substructure for the actual floor covering one with walkable and insulated ceiling constructions as rigid, self-supporting and load-bearing Always shift before.
  • EP 0 428 201 describes bridging threads in a dense connecting layer, whereby gravitational forces are to be compensated for. An insulating body is not addressed in EP O 428 201.
  • the object of the invention is therefore the existing thermal Defects in floor or ceiling structures, in particular for structures with ceramic and stoneware coverings, as well as the same defects in wall structures with insufficient self-insulation to fix so as to make the rooms comfortable Alignment of the surface temperatures of their envelope surfaces increase.
  • a floor, ceiling or wall structure according to the features of claim 1 provided.
  • An insulating body in between one structurally load-bearing substructure and a surface covering arranged. Any conventional, layering underlaid on a wall or floor covering.
  • the covering can, for example, be made of ceramic tiles, Stoneware panels, plastic panels, wooden parquet or also Carpets exist.
  • the covering in addition to the aforementioned materials, can also be wallpaper or include a simple coat of paint.
  • the invention Floor, ceiling or wall structure is characterized by that the insulating body through a variety of cross between the surface covering and the substructure, rigid Support threads are formed, which are used for thermal decoupling the substructure of the covering between these one Cover the flat and shape-retaining cavity.
  • the surface covering is preferably for solar radiation at least partially permeable, i.e. transparent or translucent.
  • a suitable measure to effectively reduce heat transfer between two superimposed, highly thermally conductive Solid bodies is the storage of a dormant, low convection air layer between these solids for Decoupling the heat exchange. That haunted Principle is therefore the floor, ceiling or Wall coverings thermally from their base layers through a Isolate the insulating body between the coverings and their base layers are only flat and form-retaining Open the cavity. This requires the provision here a powerful thermal insulation material with sufficient independent surface stability, rigidity and Load capacity, which as a constructive material itself forces can record and transmit.
  • the insulator is therefore by a variety from across between the surface covering and the substructure extending, rigid support threads formed.
  • the cavity is preferably filled with air, but can also be a commonly used for thermal insulation Plastic foam mass included.
  • the cavity can be filled with a translucent material with low thermal conductivity, such as have a silica airgel structure.
  • the insulation material proposed here is able to loads acting on floor coverings over large areas without changing its shape, for example on the floating one Screed as a substructure, to be transferred or for wall coverings to take the loads acting here.
  • the Load capacity is based on the bracing effect of the multitude of essentially axially loaded support threads. Despite of this multitude of threads, these have a smaller one Proportion of area than conventional struts and bend hence the formation of cold bridges. Together with the The thread structure leads into the air layer embedded in the cavity of the insulator so that the convection based heat exchange between the covering and the load-bearing Substructure is almost completely eliminated.
  • the support threads of the insulating body are preferably formed from inorganic fibers, such as glass, ceramic, plastic or carbon fibers.
  • organic fibers and in particular biological fibers or natural fibers can also be used, such as fibers made from hemp or other vegetable products.
  • the support threads preferably have an average fineness in the range from approximately 20 to 80 tex and are arranged in a density of between approximately 10 to approximately 60 threads / cm 2 .
  • Such an insulating body has excellent thermal insulation properties, since heat transfer by heat conduction is practically eliminated by the use of lightweight materials with a small internal volume, as well as the low mass of the extremely thin, yet load-bearing and force-transmitting support threads.
  • the high strength and bending stiffness of the insulating body can be further increased in that the supporting threads are arranged crossing one another. The triangulation effect associated with this leads to an overall rigid bracing.
  • the insulating body an upper and / or a lower cover plate, wherein the upper cover plate with the covering and the lower cover plate is connected to the substructure.
  • the insulating body can also still have one or more intermediate plates, wherein the intermediate plates then over the support threads together or connected to the upper and / or lower cover plate are. In such a case, the insulating body is off two or more layers are formed, the individual Layers even in the manner of a single-layer insulating body are built up.
  • Such an insulating body is advantageously made of a textile spacer fabric or knitted fabric by impregnation with a resin and curing the sandwich construction thus obtained formed like this in principle from the German Publication DE 37 23 681 A1 is known.
  • this is the production of textile spacer fabrics and knitted fabrics, as well as their use to form rigid, described sandwich-like components.
  • the spacer fabrics and knitted fabrics usually as spacer layers for the production of various fiber composite materials used.
  • the spacer fabrics to be used exist generally from cover layers of a textile material, in particular made of ceramic, glass, plastic or carbon fibers, or from mixtures of such materials.
  • the top layers are caused by threads entering vertically or at an angle, so-called web threads, connected to each other.
  • the bridge threads are preferably twisted and hold scaffold the two fabric layers at a distance. In doing so, they form in the form of a loop or mesh structure essentially rows of bars standing vertically on the cover layers, whereby the top layers are additionally diagonally Thread structures running to the rows of webs linked can be.
  • the spacer fabrics and knitted fabrics are used in their processing usually soaked or impregnated with resin.
  • the Excess resin is then between foils or Rolls pressed out. They depend on the impregnation Bridge threads due to the material properties and the binding structure generated restoring forces without tools back to its original height and enable calibrating distances due to their definable length to the top layers.
  • the strength of after curing The sandwich construction resulting from resin sizes is used in essentially by the arrangement and the height of the web threads certainly.
  • Rowings yarns are also known for the construction of three-dimensional textile plate structures, especially those with distances of over 12 mm between the top layers. Rowings yarns are made of yarn endlessly drawn thicker glass threads. You don't have the ability to engage in the curing process after resin wetting to erect yourself due to your own twist, however, spacer fabrics are made from this material cost-effective. The erection process succeeds here a mechanical pulling apart of the top layers before final curing of the resin matrix.
  • the invention therefore also relates to the use of such spacer fabrics or knitted fabrics according to the features of claim 36.
  • the use relates to the construction of highly thermally insulated room envelope structures, i.e. floors, ceilings or walls, and especially in shape Pre-fabricated insulating board bodies with large areas, those made of resin-impregnated and hardened Spacer fabrics are formed.
  • a single-layer, Use velvet-like spacer fabrics For the purposes of the invention, a single-layer, Use velvet-like spacer fabrics.
  • One made from such a fabric by impregnating with resins and then curing the resin matrix Insulating body has only one cover plate on which Loop or mesh structures are arranged in rows essentially perpendicular to the plate.
  • the thermal decoupling of floor or wall coverings from the massive layers of the substructure of the floor load-bearing masonry of the room walls by a preferably double-walled, rigid and rigid plate body, which forms a continuous flat cavity also the advantage that through appropriate training and Arrangement of the support threads or by integrating pipelines quasi channel-shaped inner structures in the insulating body can be set up that allow the flat insulating body not only as a passive thermal insulation material, but also as a conductive for heat transfer, active thermal insulation system, for example as Floor or wall heating system in the manner of a holocaust system, to use.
  • honeycomb-shaped Offer wall structures as stiffening spacers not this advantage.
  • the honeycomb structures form in the panel body no flat, continuous cavities, but just a multitude of separate small dreams.
  • the double-walled textile plate body according to the invention contrast, whose cover plates by spacing, in rows arranged web threads are stiffened together and thereby ordered, essentially channel-shaped structures train, can be both as one with warm air or heat distribution system to be charged with a heat transfer fluid, but also as a large-scale system Represent heat convectors.
  • Cooling systems avoided the immediate cold air in the room let it flow in and thus often perceived as cause convective air currents. These cooling systems especially because of their hygienic problems criticized. Except for the inevitable raising of dust are they given by the medical side because of the danger of Introduction and transmission of disease germs as considered questionable.
  • the room is cooled not about convective air circulation. Rather, through Lowering the surface temperatures of the room envelope man is able to use his excess heat through Dissipate radiation exchange over these cooled surfaces. In the same way as for a heated by heat radiation Here, too, space is transformed into an exchange of radiation creates a comfortable indoor climate.
  • the Cooling medium in a circumferentially closed channel system Analogous to underfloor heating, it is required inside the room neither an air exchange nor the supply of cold air. The unacceptable swirling of dust is also eliminated like the spread of disease germs.
  • the space envelope structure according to the invention, the one Flat, underlaid floor, wall and / or ceiling coverings Provides hollow plate system with channel-like inner structures, can advantageously also for more efficient use the solar radiation energy incident on the room for the room heating after a previously unknown and practiced concept to achieve higher storage rates find meaningful application in the wall structures.
  • the construction of the space envelope surfaces according to the invention enables it is the one that occurs briefly in the heating period solar energy supply in the passive envelope of the Store the building immediately.
  • Insulating body preferably one made of glass fibers textile spacer fabric, together with translucent surface coverings
  • Suitable for use as a translucent surface covering translucent tiles in particular This is what it is about usually small-format tiles from a glass-like Material for the manufacture of which is a glass dust at 700 pressed or poured into a suitable mold up to 800 ° C becomes.
  • tiles made of pure ceramic can also be used Masses are used in the glass-like Moldings are embedded. Glass tiles of the aforementioned Kind, mostly with translucent colored decor, are already known and are increasingly used as decorative wall and floor linings used for bathrooms and swimming pools. Are also as translucent surface covering Suitable marble slabs.
  • the solar radiation incident through transparent window surfaces is known not to remain entirely in the Room. Reflected on opaque, bright room envelopes occurs Part of the radiation through the window surfaces again Outside. If the envelope is lined with translucent Wall, ceiling and floor coverings are shone through these surfaces. The solar radiation is from the one behind it Masonry absorptively added. There are no reflections instead and so far no radiation losses through transparent window surfaces. Through translucent wall cladding the type described is therefore a high one Degree of utilization of the solar radiation entering the room reached.
  • the above-described formation of channel-like Internal structures in the hollow body according to the invention can through dissipation and even distribution of thermal energy in the wall structures still increase this Contribute to the degree of utilization.
  • the coverings of the room envelope surfaces and the upper cover plates of the insulating body connected to them are perforated, in particular in the ceiling area.
  • the double-walled insulating body integrated into the space enveloping surfaces and assembled into a closed cavity can advantageously also be set up as an automatic ventilation system or as a system for forced ventilation with a heat exchange function. Because of the large exchange areas, this system has high energy efficiency.
  • the hollow chamber elements with k values of 2 - 3 W / m 2 K, which are embedded in the wall structure, are suitable as additional thermal insulation media for the paneled wall surfaces.
  • Thermal insulation performance can be the corresponding in winter time Keep surfaces free of snow and ice.
  • Equipment the insulating body with operative and active heating so advantageously by an inserted heating foil or by woven heating wires or carbon fibers, enables the stone-paved terraces or house access paths if necessary briefly from snow and ice coverings free, and this because of the underground given thermal insulation, with an extremely low energetic Expenditure.
  • the heating function can also be operated via a Temperature sensor can be controlled automatically at Snowfall and ice formation generally the access routes keep walkable.
  • the insulating bodies according to the invention are of course suitable quite generally in an advantageous manner for inclusion of electrical resistance heating systems.
  • the heating foils or wire mesh on the Floor and wall coverings facing the side Coverings heated directly via heat conduction while the Insulator against the screed layer or the massive substructure form an effective heat barrier, especially if you add the insulation to the insulation from layers that reduce heat radiation to the substructure equips.
  • the heat generated is then preferably the floor and wall covering and from there into the room emitted long-wave.
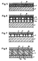
  • Fig. 1 shows schematically the structure of a load-bearing, walkable Ceiling construction in cross section.
  • the Floor covering 1 for example made of tiles or stone slabs
  • the screed layer 2 is for thermal decoupling of the floor coverings from the massive, highly heat conductive Screed layer a double-walled rigid and rigid Insulating body 3 arranged, a continuous, air-filled Includes cavity 4.
  • the two cover plates 6a, 6b of the insulating body 3 are with the screed layer 2 or the flooring 1 over an adhesive or mortar layer connected. Run transversely between the cover plates 6a, 6b a variety of rigid support threads 5, but here only schematically and not indicated according to their number are.
  • This double-walled insulating body 3 is preferably made of a resin-impregnated textile spacer fabric, that in a known manner from two, by transverse or vertical Web thread structures of interconnected fabric cover layers consists. After an applied one has hardened Resin matrix form this fabric, rigid and rigid sandwich constructions with a free space between the two cover layers.
  • Sandwich structures made of textile spacer fabrics of this type are suitable, especially when using glass fiber filaments, because of their exceptional mechanical stiffness and resistance to deformation for thermal separation of two masses lying on top of each other and under load Stratifications, as a result of their transverse thread structures can absorb and transmit high forces. Due the air gap 4 and between the top layers the low mass of the materials making up the plate body make a high quality thermal insulation material is already at a relatively low height compared to Insulation boards made of hard foam or mineral fibers, excellent Provides insulation performance.
  • the structure shown in cross section in Fig. 1 load-bearing and walkable ceiling construction also shows explanatory the arranged below the screed layer 2 usual insulation layers 8 made of foam or Fiberboard. Since these plates are not dimensionally stable and are resilient, they must be rigid in themselves load-bearing, solid cement layer or a dimensionally stable Screed layer from 5 to 8 cm floating so to speak become.
  • the insulation layer 8 itself is the constructive load-bearing, cast from concrete or from brick Ceiling plate 9 on.
  • the ceiling plate 9 thus forms in this embodiment together with the insulation layer 8 and the screed layer 2 is the load-bearing substructure.
  • the floor covering 1 at least for solar radiation partially permeable, i.e. transparent or translucent, material formed.
  • the floor covering 1 preferably translucent glass tiles or ceramic tiles used in the translucent glass body are embedded.
  • the Floor covering 1 with the help of a transparent adhesive connected to the insulating body 3.
  • translucent Tiles along with one made from fiberglass textile spacer fabric as an insulating body 3 allows one Use of the floor structure described here according to Art a solar energy trap and enables due to the thermal Decoupling the covering 1 from the heated screed layer 2 with the help of the air gap 4 the storage solar radiation energy into the thermally massive Screed layer 2.
  • Wall structure can be the screed layer 2 and the thermal insulation layer 8 omitted.
  • the insulating body 3 is here by means of an adhesive bonded to the load-bearing masonry.
  • the cover plates 6a, 6b are preferably perforated or drilled to prevent the glue from partially penetrating the cover plates 6a, 6b and thus better adhesion of the Insulating body 3 on the masonry or the surface covering 1 to ensure the insulating body 3.
  • Such an inventive Wall construction also allows use one at least partially permeable to solar radiation Surface covering 1.
  • Fig. 2 is the air gap 10 through one of the bottom surfaces of the tiles and stone slabs 1 raised embossed line or net-shaped grid 11 brought about. 3 becomes the surface of the textile insulating body 3 trained with knobs 12.
  • the screed layer 2 or the lower cover plate 6b facing the screed layer 2 be equipped to reduce emissions.
  • the flat cavity 4 facing inner surfaces of the Cover plates and / or the support threads with an emission-reducing Coating, for example by spraying by means of a suitable nozzle tool.
  • the equipment of the insulating body 3 with emission-reducing Coatings are more translucent, especially when used Tiles as surface covering 1 advantageous.
  • emission-reducing coating (low-E coating) 7 either pyrolytic in the run-up to the curing process of the Applied tiles (at a temperature of approx. 400 - 500 ° C), or on the finished product in a vacuum process be evaporated onto the underside of the tiles. In such a coating is also rational an injection process can be implemented. However, it is preferable a pyrolytically applied coating. It is extraordinary scratch-resistant and resistant to oxidation. These layers can also be used as semiconductor layers as well as metal layers electrically conductive for resistance heating systems be used.
  • Low-E coatings can be used for both solar radiation transparent and opaque. At primarily transparent or translucent tiles is therefore, if priority is given to the storage effect in the massive wall structures has to assume more transparent coatings.
  • FIGS. 1-3 show an insulating body 3 constructed from two layers 3a, 3b for the thermal decoupling of the screed layer 2 from the floor coverings 1.
  • the upper layer 3a of the insulating body 3 is, as described under FIGS. 1-3, made of a hardened resin-coated layer textile spacer fabric formed.
  • the lower layer 3b is formed from a single-layer velor-like textile spacer fabric and is adhered to the upper layer 3a via an adhesive layer or already connected to the fabric structure in terms of production technology.
  • the adjoining cover layers of the layers 3a and 3b together form the intermediate plate 13.
  • the single-layer velor-like textile spacer fabrics used for the lower layer 3b form, after the resin matrix has hardened, row-like, rigid and load-bearing loops 14 arranged vertically on the cover layer, which here are only indicated schematically and extend transversely between the intermediate plate 13 and the screed layer 2.
  • an additional stable flat cavity 15 is created between the screed layering and the floor coverings.
  • the use of a loop plate body 3b also enables one simple attachment of the insulating body 3 to a wall structure. The attachment to the wall is carried out here with the aid of a layer of mortar or plaster into which the loops 14 are pressed in half, keeping an air-filled cavity 15 free.
  • Fig. 5 shows a floor structure according to the invention in the Insulating body 3 integrated pipes 16 for floor or wall heating systems. It can be copper or plastic pipes, which are from a heat-transferring Fluid flow through. When using more translucent Surface coverings 1 can be used for the heat transfer fluid Excess heat is removed from the solid substructure be used.
  • Fig. 6 shows one especially for floor and wall heating suitable floor or wall structure.
  • the insulating body 3 consists of two plate bodies or layers 3a and 3b, each consisting of a two-layer textile spacer fabric made and over the each other Adjacent fabric cover layers are bonded together are.
  • the plate body receiving the piping system 16 3a goes through to the cold screed or wall side the second plate body 3b thermally insulated.
  • This second Plate body 3b can also, corresponding to that in Fig. 4th shown embodiment, made of a velor-like Spacer fabric to be made.
  • Advantageously is then the surface of the plate body facing the substructure 3b with an emission-reducing coating.
  • the insulating body 3 also line networks for electrical resistance heating inserted or electrical heating foils are inserted.
  • the latter can also advantageously between the Flooring and the insulating body in the form of an adhesive film inserted or integrated directly into the floor covering become.
  • Fig. 7 shows an insulating body 3, the upper cover layer 6a milled recesses 17 for receiving electrical Has lines and connecting cables.
  • Fig. 8 shows an insulating body 3, the flat, air-permeable All or part of the cavity with a foamed Material 18 is filled.
  • the insulating body receives an extraordinarily high bending stiffness and shape retention.
  • Both the floor coverings 1 and the screed floor 2 have as already shown under Fig. 2 and 3, embossed in a grid raised structures 11a, 11b in order in this way to form an air gap 10a or 10b, the additional Heat transfer resistance generated.
  • the at the air gap surfaces adjoining on both sides can then be used for reduction of heat exchange via heat radiation with aluminum foils or low-E layers (not shown here) as in connection with FIGS. 2 and 3 described.
  • the embodiment according to FIG. 8 enables due to its high rigidity and surface stability a ceiling structure with screed layers less Thickness.
  • the insulating body according to the invention can can also be used directly as load distribution layers.
  • such insulating body 3 in an advantageous manner, in particular as a load-distributing Use elements in beamed ceilings.
  • You will be below the load-bearing ceiling beams 21 as cladding battens and above as walk-in floor slabs for reception the flooring 1 attached with conventional angle fittings.
  • the space between the wooden beams is the usual Foam or fiber insulation 8 filled.
  • the insulating body 3 according to Figure 11 to produce in strips or cut accordingly and in parallel at a distance from each other on the substructure, here the screed layer 2, by half the cost of the insulating body material or limit a third.
  • Channel structures can then be found both in the form of strips applied insulating body plates 3, as well the spaces 22 between the parallel spaced apart installed insulated body panels realized.
  • the strip-shaped insulating body plates 3 are filled in accordance with Figure 8 with a rigid, integral foam off, so you get in the task of channel systems inside of the insulating body a lath-shaped body of great strength and bending stiffness, which, as a slatted frame doweled on the wall surface for efficient application large surfaces can be used.
  • the channel structure is then realized solely through the gaps 22.
  • Fig. 12 shows the constructive envelope surface structure of a Space.
  • the textile hollow plates of the insulating body 3 The wall opens into the hollow panels of the corner area Ceiling envelope.
  • the ceiling Insulated body 3 laid from there also in opposite or laterally fitted with hollow panels Open up wall surfaces. Including the floor area, in this way becomes a thermally enveloping space closed cavity system communicating via channel structures realized.
  • the room can be heated with underfloor heating or by an integrated in the insulating body plates 3 Hot water or electrically operated baseboard heating 23 be heated (Fig. 13).
  • the heat is in the floor area mainly emitted directly to the interior of the room via radiation.
  • the insulation to the load-bearing wall is then created by appropriate Design of the back of the insulating body panels, for example through an additional narrow airspace 10b, preferably in conjunction with a low-E layer, such as described in connection with Figures 3 and 8.
  • Translucent or partial then have a particularly positive effect translucent surface coverings as they have a large Part of the incoming sun rays and can forward distributed. If this way in the Additional solar energy can occur during the heating season a temperature control the supply through the building heating system generated energy throttled or turned off become.
  • the room-enveloping insulating plate system can of course used in this way also in the summer period to excess solar energy record and discharge. But it can also be beneficial Way by feeding in cooled air as a surface cooling system Find application.
  • Fig. 14 shows one for the installation of a baseboard heater cross-section of a particularly suitable wall structure according to the invention.
  • the textile spacer fabrics are here as Wall cladding used.
  • the wall side of the insulator 3 is here again from a single-layer loop plate 3b of the type described in Fig. 4 and adhesive to the Applied to the wall.
  • the attachment to the wall is done with the help a layer of mortar or plaster 24, the loops 14 half into this layer, an air-filled cavity 15 keep clear, be pushed in.
  • another double wall Plate body 3a may be provided on the single-layer Loop plate 3b is adhesively attached.
  • Perforations 25 are provided, which the establishment of a Enable ventilation system.
  • the wall structure according to the invention shown here can be advantageous Way with an additional heating function
  • a baseboard heater 23 are equipped.
  • the Heating energy is applied to the wall element near the floor continuous tubular body arranged in the wall element fed that connected to a hot water heating system are.
  • the plate body 3b arranged on the wall which at Embodiment shown here as a single-layer loop plate is designed, forms with the help of the cavity 15 for load-bearing Substructure of the wall element towards a thermal barrier so that the thermal energy supplied to the flat cavity 4 mainly from the room-side covering 1 of the textile Hollow plate body 3a added and towards the room is emitted.
  • Wall heating systems can also be advantageously used in this way supply via electrical resistance heaters.
  • the heating network can be designed as a baseboard heating system or the lower wall area at the parapet height take in.
  • the construction of such electrically heated Systems can alternatively also be used according to the following 15 and 16 embodiments described respectively.
  • Tiles for example, can be used as wall coverings, Marble slabs, wooden panels or the usual fabric or Paper wallpapers are used.
  • 15 and 16 represent particular embodiments of high efficiency, energy-saving electrical floor and wall heating systems because of the lack of thinner viable It was previously insulation layers with high thermal resistance values not possible to drain thermal energy into the massive Effectively limit floor and wall layers.
  • FIG. 15 shows the structure of such a system in use Ceramic flooring 1 made of tiles and stone slabs.
  • the heating foils or the heating conductor networks fixed in heating mats 26 are placed directly under the floor covering 1 and with an adhesive layer 27 of high temperature resistance and high flexibility glued. Because of the high Thermal resistance of the textile insulating body 3 and aluminum foil lying between the heating mat and the insulating body or the emission-reducing coating 7a the surface of the insulating body facing the heating mat the heat flow is largely supplied to the floor covering on one side and the space from the stone slabs to heat radiation fed.
  • Fig. 16 shows the structure of an electric floor or Wall heating system when using surface coverings 1 with low thermal conductivity, such as in particular Carpet, parquet, PVC and cork coverings.
  • the heating foil or Heating plate 26 is assigned a metal plate 28 on the room side, which due to their high thermal conductivity Absorbs heat flow and over the flooring in the room radiates.
  • This function can also be performed by a thin storage layer 29 taken over or reinforced by such a layer. It is proposed that a thin, reinforced with a textile fabric 30 screed, gypsum, or cement layer, as shown in FIG. 16. In this way, extremely thin, load-bearing, Manufacture rigid and dimensionally stable plate constructions.
  • a heating conductor network can be woven in (in Fig. 16 not shown). In such a case, the heating mat is not required 26 and the metal plate 28. Opposite the load-bearing
  • the textile can be used to support the floor or wall structure Insulating body 3 with additional air-filled spaces 10b and an aluminum foil or an emission-reducing Coating 7b as a thermal radiation barrier be shielded.
  • FIG. 17 shows a possible wall fastening of the insulating body 3 to a cross batten 34 with the aid of an adhesive connection 31.
  • the bond can be done by penetrating the adhesive into predetermined perforations of the wall-side cover plate 6b and subsequent curing of the adhesive mechanically secured become.
  • a laying of tiles according to this shown in Fig. 18 Design ensures a reliable Sealing of the tile subsurface, because they form no gaps running through to the wall or floor substructure out. A tiled outer wall remains secured against driving rain.
  • This version also proves to be advantageous for laying work. It helps to better align the surface geometry and in particular for exact compliance the joint width.
  • the through holes 33 of the insulating body plates 3 serve each for doweling on the load-bearing wall structures. alternative for this, the tiles can be drilled using these holes Adhesive scraps can be fixed and attached.
  • the insulating body plates 3 perforations on one or both sides can be provided that fix or glue favor with the wall structure and with the surface covering. The adhesive then partially penetrates the perforation on.

Landscapes

  • Engineering & Computer Science (AREA)
  • Architecture (AREA)
  • Civil Engineering (AREA)
  • Structural Engineering (AREA)
  • Physics & Mathematics (AREA)
  • Acoustics & Sound (AREA)
  • Electromagnetism (AREA)
  • Life Sciences & Earth Sciences (AREA)
  • Wood Science & Technology (AREA)
  • Building Environments (AREA)
  • Floor Finish (AREA)

Description

Die Erfindung betrifft einen hochwärmedämmend ausgerüsteten Boden-, Decken- oder Wandaufbau, bei dem ein Isolierkörper zwischen einem tragenden Unterbau und einem Oberflächenbelag angeordnet ist.
Bei der Erstellung von Wohn- und Bürogebäuden, von Werkhallen und Zweckbauten gewinnt die Einrichtung eines thermisch behaglichen sowie hygienisch zuträglichen Raumklimas zunehmend an Bedeutung. Dafür ist es notwendig, die Temperatur der Hüllflächen des Raums möglichst an die der Raumluft anzugleichen. Bereits eine um 2 Kelvin von der Raumlufttemperatur abweichende kältere Wandflächentemperatur führt zumindest in Wandnähe zu thermischem Mißbehagen.
Üblicherweise führt der Mensch über 50 % seiner Körperwärme durch den Strahlungsaustausch mit den ihn umgebenden Raumhüllflächen ab. Den einseitig zu kälteren Wänden gerichteten Wärmeentzug empfindet er als Störung seiner Körperwärmebilanz. Man spricht dann von einem im Raum vorherrschenden asymmetrischen Strahlungsklima.
Als unbehaglich empfunden werden außerdem die an kälteren Wänden stets entstehenden, nach unten gerichteten konvektiven Raltluftströmungen, die sich am Fußboden haftend raumwärts fortpflanzen. Dieses Phänomen ist allgemein bekannt und tritt insbesondere an Fensterfronten auf, die infolge höherer Wärmedurchgangswerte gegenüber den übrigen Wandflächen immer geringere Oberflächentemperaturen aufweisen. Dies führt dazu, daß beispielsweise in mit einscheibigen Verglasungen ausgerüsteten Altbauten der Fensternahraum zur Winterzeit unbehaglich und nahezu unbewohnbar ist.
Die Behaglichkeit störende Einflüsse können aber nicht nur von kalten Wandflächen, sondern auch von dem zur Hüllfläche des Raums gehörenden Fußboden ausgehen. Man spricht hier von fußkalten Räumen trotz einer für das Wohlbefinden ausreichenden Raumlufttemperierung. Bei Fußböden bedarf es gegenüber den vertikalen Wandflächen sogar eines höheren Maßes an Wärmedämmung, um ein der Raumluft angeglichenes Temperaturniveau des Bodens zu erreichen. Dies liegt daran, daß der Mensch im stehenden Zustand fast 30 % seiner Körperwärme über die Fußflächen abgibt, da in diesem Falle durch den hohen Flächendruck der Wärmeaustausch mit der Bodenfläche unmittelbar über die Wärmeleitung und ohne einen zwischen den Austauschflächen liegenden, den Wärmeaustausch mindernden Wärmeübergangswiderstand erfolgt.
Im Falle von Steinböden oder mit Fliesen ausgelegten Badezimmerböden erreicht die Wärmeabfuhr wegen der hohen Dichte des Steinzeugs sowie der hohen Wärmeleitfähigkeit dieses Materials ein extrem hohes Maß, zumal wenn die keramischen Platten unmittelbar und ungedämmt auf Zementböden aufliegen. Auch bei gekachelten Wänden ist der Wärmeentzug besonders stark, da die Wandflächen stets auf einem Temperaturniveau unterhalb der Raumluft verbleiben und dann nicht nur die auf dem Strahlungsaustausch beruhenden Behaglichkeitseinbußen provozieren, sondern außerdem noch Kondenswasserbeschläge ausbilden, die zusätzlich Verdunstungskälte erzeugen.
Entsprechend der üblichen Bauausführung werden Bodenbeläge, wie feinkeramische Fliesen, keramische Spaltplatten, Bodenklinkerplatten, PVC-, Gummi- oder Korkplatten, aber auch Holzparkett- und textile Beläge in aller Regel auf mindestens 5 bis 8 cm dicken Zement-Estrichschichten aufgebracht. Im Falle keramischer Fliesen und Steinzeugplatten erfolgt die Verlegung zusätzlich in einem auf den Estrichschichten aufgebrachten 1 bis 2 cm dicken Mörtelbett. Die Bodenbeläge grenzen also unmittelbar an voluminöse, massive Materialschichten mit hoher thermischer Masse, die eine hohe Wärmeleitfähigkeit und eine große Wärmeeindringzahl aufweisen. Die Folge davon ist, daß Fußbodenbeläge, mit Ausnahme von dickdimensionierten Korkbelägen sowie hochflorigen Teppichböden, stets als fußkalt gelten. Sie stehen den Forderungen nach einem behaglichen Raumklima wegen der intensiven Wärmeableitung an den massiven, konstruktiv tragenden und Lasten aufnehmenden Fußbodenunterbau entgegen.
Dies trifft auch dann zu, wenn der Boden- oder Deckenaufbau, wie üblich, unterhalb der Estrichschicht eine ausreichende Wärmedämmschicht enthält, denn in erster Linie ist das Wärmeempfinden beim Stehen und Gehen auf Fußböden von der Temperatur der Kontaktfläche, also der Temperatur der Fußbodenoberfläche, abhängig. Eine den eigentlichen Wärme- und Schalldämmschichten aufliegende Estrichschicht, die wiederum als Unterbau für den eigentlichen Fußbodenbelag dient, findet man bei begehbaren und gedämmten Deckenkonstruktionen als in sich steife, selbsttragende und Lasten aufnehmende Schicht stets vor.
Untersuchungen von Oberflächentemperaturen von Fußbodenbelägen verschiedener Art, die einer etwa 5 cm dicken Estrichschicht auflagen, führten infolge der Wärmeableitung an die Estrichmasse zu thermisch bedenklichen Ergebnissen. Beim Aufsetzen des unbekleideten Fußes auf Steinzeugplatten sinkt die Körpertemperatur des Fußes an der Berührungsfläche schnell ab. Die Abkühlung erreicht nach wenigen Minuten bereits Differenzwerte von über 10 Kelvin. Kunststoffbeläge können die Wärmeableitung nur wenig verzögern. Auch Parkettbeläge aus Hartholz führen zu fußkalten Böden. Befriedigende Ergebnisse lassen sich mit hochflorigen Teppichböden erzielen. Erst übermäßige Raumluftaufheizungen lassen bei den zuerst genannten Belägen ein behaglichen Fußbodenklima aufkommen, das sich aber erst mit einer gewissen zeitlichen Verzögerung einstellt.
Zusätzlich zu der starken Wärmeableitung an die massiven Estrichschichten wird dem Fußboden im Falle untertemperierter Wandstrukturen durch die dann entstehenden bodennahen Kaltluftströmungen konvektiv Wärme entzogen.
Bisher war es, von Fußboden-Heizsystemen einmal abgesehen, bautechnisch kaum möglich, ein annähernd ausgeglichenes vertikales Raumtemperaturprofil zu gewährleisten. Die üblicherweise zur Wärmedämmung von Raumhüllflächen verwendeten Faser-, Schaum- und Perlit-Dämmstoffe leiten ihre Funktion aus der Vielzahl kleinster Lufteinschlüsse und einer Vielzahl von Reflexionsflächen an ungeordneten dünnwandigen Wandstrukturen bzw. an unverbundenen Faden- und Kornstrukturen ab. Sie können daher im Bodenaufbau, wie dies in der Baupraxis auch geschieht, nur unterhalb von tragfähigen, lastaufnehmenden Beschichtungen verwendet werden, also nur dann, wenn ihnen flächenhaft eine aushärtende, biegesteife und sich selbsttragende Schichtung aufliegt, die das Volumen des Dämm-Materials nicht zusammendrückt.
Bereits die Stoffeigenschaften der bisher verwendeten Dämm-Materalien stehen also Forderungen nach eigenständiger Steifigkeit und Tragfähigkeit sowie Formhaltigkeit bei Belastung entgegen. Die thermische Trägheit der dann auf den herkömmlichen Dämm-Materialien notwendigerweise aufliegenden tragfähigen Schichten ist aber - wie oben dargelegt - gerade die Ursache für ein unzulängliches Raumklima.
EP O 428 201 beschreibt Überbrückungstäden in einer dümen Verbindungschicht, wobei Schwerkräfte kompensiert werden sollen. Ein Isolierkörper ist in EP O 428 201 nicht angesprachen.
Aufgabe der Erfindung ist es daher, die bestehenden thermischen Mängel von Boden- oder Deckenaufbauten, insbesondere bei Aufbauten mit Keramik- und Steinzeugbelägen, sowie die gleichen Mängel bei Wandaufbauten mit unzureichender Eigendämmung zu beheben, um so die Behaglichkeit von Räumen durch Angleichung der Oberflächentemperaturen ihrer Hüllflächen zu erhöhen.
Gemäß der Erfindung wird ein Boden-, Decken- oder Wandaufbau gemäß den Merkmalen des Anspruchs 1 bereitgestellt. Ein Isolierkörper in zwischen einem konstruktiv tragenden Unterbau und einem Oberflächenbelag angeordnet. Als Unterbau wird dabei jede herkömmliche, einem Wand- oder Bodenbelag unterlegte Schichtung angesehen. Der Belag kann beispielsweise aus keramischen Fliesen, Steinzeugplatten, Kunststoffplatten, Holzparkett oder auch Teppichböden bestehen. Im Falle von Wandbelägen kann der -Belag neben den vorgenannten Materialien auch Tapeten oder einen einfachen Farbanstrich umfassen. Der erfindungsgemäße Boden-, Decken- oder Wandaufbau ist dadurch gekennzeichnet, daß der Isolierkörper durch eine Vielzahl von quer zwischen dem Oberflächenbelag und dem Unterbau verlaufenden, biegesteifen Stützfäden gebildet ist, die zur thermischen Entkopplung des Unterbaus von dem Belag zwischen diesen einen flächigen und formhaltigen Hohlraum aufspannen.
Vorzugsweise ist der Oberflächenbelag für solare Strahlung wenigstens teilweise durchlässig, d.h. transparent oder transluzent.
Eine geeignete Maßnahme zur wirksamen Minderung des Wärmeübergangs zwischen zwei aufeinandergefügten, hochwärmeleitenden Feststoffkörpern ist die Einlagerung einer ruhenden, konvektionsarmen Luftschicht zwischen diesen Festkörpern zur Entkopplung des Wärmeaustausches. Das verfolgte Prinzip besteht somit darin, die Boden-, Decken- oder Wandbeläge thermisch von ihren Tragschichten durch einen Isolierkörper zu entkoppeln, der zwischen den Belägen und ihren Tragschichten lediglich einen flächigen und formhaltigen Hohlraum aufspannt. Dazu bedarf es hier der Bereitstellung eines leistungsfähigen Wärmedämmstoffs mit hinreichend eigenständiger Flächenstabilität, Steifigkeit und Tragfähigkeit, der als konstruktives Material selbst Kräfte aufnehmen und übertragen kann.
Der Isolierkörper ist daher durch eine Vielzahl von quer zwischen dem Oberflächenbelag und dem Unterbau verlaufenden, biegesteifen Stützfäden gebildet. Zur thermischen Entkopplung des Unterbaus von dem Belag spannt der Isolierkörper zwischen diesen einen flächigen, formhaltigen Hohlraum auf. Der Hohlraum ist vorzugsweise luftgefüllt, kann aber auch eine üblicherweise zur Wärmedämmung verwendete Kunststoffschaummasse enthalten. Bei Verwendung von für solare Strahlung durchlässigen oder teildurchlässigen Oberflächenbelägen kann der Hohlraum eine Füllung mit einem transluzenten Material geringer Wärmeleitfähigkeit, wie beispielsweise einen Silica-Aerogel-Strukturstoff, aufweisen.
Der hier vorgeschlagene Dämmstoff ist in der Lage, die auf die Bodenbeläge einwirkenden Traglasten über große Flächen ohne eigene Formveränderung, beispielsweise auf den schwimmenden Estrich als Unterbau, zu übertragen, bzw. bei Wandbelägen die hier einwirkenden Traglasten aufzunehmen. Die Tragfähigkeit beruht auf der Verstrebungswirkung der Vielzahl von im wesentlichen axial belasteten Stützfäden. Trotz dieser Vielzahl von Fäden, besitzen diese einen kleineren Flächenanteil als herkömmliche Verstrebungen und beugen daher der Entstehung von Kältebrücken vor. Zusammen mit der in den Hohlraum eingelagerten Luftschicht führt die Fadenstruktur des Isolierkörpers dazu, daß der auf Konvektion beruhende Wärmeaustausch zwischen dem Belag und dem tragenden Unterbau fast vollständig eliminiert wird.
Die Stützfäden des Isolierkörpers sind vorzugsweise aus anorganischen Fasern, wie Glas-, Keramik-, Kunststoff- oder Kohlefasern, gebildet. Darüber hinaus können aber auch organische Fasern und insbesondere biologische Fasern oder Naturfasern Anwendung finden, wie z.B. Fasern aus Hanf oder anderen pflanzlichen Produkten. Die Stützfäden weisen bevorzugt eine mittlere Feinheit im Bereich von etwa 20 bis 80 tex auf und sind in einer Dichte von zwischen etwa 10 bis etwa 60 Fäden/cm2 angeordnet. Ein solcher Isolierkörper besitzt hervorragende Wärmedämmeigenschaften, da eine Wärmeübertragung durch Wärmeleitung durch die Verwendung von leichten Werkstoffen mit geringem Eigenvolumen, sowie die geringe Masse der hier äußerst dünn ausgebildeten, gleichwohl lastaufnehmenden und kraftübertragenden Stützfäden praktisch ausgeschaltet wird. Die hohe Festigkeit und Biegesteifigkeit des Isolierkörpers läßt sich noch dadurch erhöhen, daß die Stützfäden einander kreuzend angeordnet sind. Durch den damit verbundenen Triangulierungseffekt wird eine insgesamt formsteife Verstrebung erreicht.
Bei einer bevorzugten Ausführungsform weist der Isolierkörper eine obere und/oder eine untere Deckplatte auf, wobei die obere Deckplatte mit dem Belag und die untere Deckplatte mit dem Unterbau verbunden ist. In diesem Fall ist eine besonders einfache Herstellung des erfindungsgemäßen Bodenoder Wandaufbaus gewährleistet. Der Isolierkörper kann ferner noch eine oder mehrere Zwischenplatten aufweisen, wobei die Zwischenplatten dann über die Stützfäden miteinander bzw. mit der oberen und/oder der unteren Deckplatte verbunden sind. In einem solchen Fall ist der Isolierkörper aus zwei oder mehr Schichten gebildet, wobei die einzelnen Schichten selbst nach Art eines einschichtigen Isolierkörpers aufgebaut sind.
In vorteilhafter Weise wird ein solcher Isolierkörper aus einem textilen Abstandsgewebe oder -gewirk durch Imprägnieren mit einem Harz und Aushärten der so erhaltenen Sandwichkonstruktion gebildet, wie dies im Prinzip aus der deutschen Offenlegungsschrift DE 37 23 681 A1 bekannt ist. Darin ist die Herstellung von textilen Abstandsgeweben und -gewirken, sowie deren Verwendung zur Bildung von formsteifen, sandwichartigen Bauteilen beschrieben. In der Technik werden die Abstandsgewebe und -gewirke üblicherweise als Distanzschichten zur Herstellung verschiedener Faserverbundwerkstoffe verwendet.
Die zu verwendenden Abstandsgewebe bestehen im allgemeinen aus Decklagen eines textilen Materials, insbesondere aus Keramik-, Glas-, Kunststoff- oder Kohlenstofffasern, oder aus Mischungen solcher Materialien. Die Decklagen sind durch senkrecht oder winklig einlaufende Fäden, sogenannte Stegfäden, miteinander verbunden. Die Stegfäden sind vorzugsweise verdrillt angeordnet und halten gerüstartig die beiden Gewebelagen auf Abstand. Dabei bilden sie in Form einer Schlaufen- oder Maschenstruktur im wesentlichen senkrecht auf den Decklagen stehende Stegreihen aus, wobei die Decklagen miteinander zusätzlich noch durch diagonal zu den Stegreihen verlaufende Fadenstrukturen verknüpft werden können.
Bei ihrer Verarbeitung werden die Abstandsgewebe und -gewirke üblicherweise mit Harz getränkt bzw. imprägniert. Das überschüssige Harz wird anschließend zwischen Folien oder Walzen ausgepreßt. Nach der Imprägnierung richten sich die Stegfäden aufgrund der durch die Materialeigenschaften und die Bindungsstruktur erzeugten Rückstellkräfte ohne Hilfsmittel selbständig wieder in ihre ursprüngliche Höhe auf und ermöglichen durch ihre definierbare Länge kalibrierende Abstände zu den Decklagen. Die Festigkeit der nach Aushärtung der Harzschlichten entstehenden Sandwichkonstruktion wird im wesentlichen durch die Anordnung und die Höhe der Stegfäden bestimmt.
Bekannt ist auch die Verwendung von sogenannten Rowings-Garnen zum Aufbau von dreidimensionalen textilen Plattenstrukturen, insbesondere solchen mit Abständen von über 12 mm zwischen den Decklagen. Rowings-Garne sind Garne aus endlos gezogenen dickeren Glasfäden. Sie haben zwar nicht die Fähigkeit, sich beim Aushärtungsprozess nach der Harzbenetzung aufgrund des eigenen Dralls selbst aufzurichten, jedoch sind aus diesem Material gefertigte Abstandsgewebe kostengünstiger. Der Aufrichtungsprozess gelingt hier durch ein mechanisches Auseinanderziehen der Decklagen vor dem endgültigen Aushärten der Harzmatrix.
Gegenstand der Erfindung ist daher auch die Verwendung solcher textilen Abstandsgewebe oder -gewirke gemäß den Merkmalen des Anspruchs 36. Die Verwendung betrifft den Aufbau von hochwärmegedämmten Raumhüllstrukturen, also Fußböden, Decken oder Wänden, und insbesondere in Form großflächiger Verlegeplatten vorgefertigte Isolierplattenkörper, die aus den harzimprägnierten und ausgehärteten Abstandsgeweben gebildet sind.
Für die Zwecke der Erfindung kann ferner ein einlagiges, veloursartig gefertigtes Abstandsgewebe Anwendung finden. Ein aus einem solchen Gewebe durch Imprägnieren mit Harzen und anschließendem Aushärten der Harzmatrix hergestellter Isolierkörper besitzt nur eine Deckplatte, auf der im wesentlichen senkrecht auf der Platte stehende Schlaufen- oder Maschenstrukturen in Reihen angeordnet sind.
Die Verwendung der textilen Abstandsgewebe oder -gewirke als Dämm-Medien in Form von flächigen, luftgefüllten Plattenkörpern hat unter anderem den Vorteil, daß bereits bei relativ geringen Dickenabmessungen infolge ruhender Luftschichten sowohl geringe Wärmeleitzahlen als auch, bedingt durch die Plattenstruktur, zusätzlich ein Übergangswiderstand gewährleistet wird. Die Wärmeleitfähigkeit λ von Luftschichten liegt mit ca. 0,02 W/mK unter den Werten üblicher Dämmstoffe. Diese Eigenschaft von Luftschichten wird in ähnlicher Weise bereits bei Isolierglaselementen ausgenutzt. Ein luftgefüllter flächiger Hohlkörper ermöglicht zudem die Ausrüstung mit Wärmestrahlungsbarrieren durch Einlage von emissionsmindernden Folien oder Low-E-Beschichtungen.
Die thermische Entkopplung der Boden- oder Wandbeläge von den massigen Schichten des Fußbodenunterbaus bzw. von dem tragenden Mauerwerk der Raumwandungen durch einen vorzugsweise doppelwandigen, biege- und formsteifen Plattenkörper, der einen durchgehenden flächigen Hohlraum ausbildet, bietet auch den Vorteil, daß durch entsprechende Ausbildung und Anordnung der Stützfäden oder durch Integration von Rohrleitungen in den Isolierkörper quasi kanalförmige Innenstrukturen eingerichet werden können, die es ermöglichen, den flächigen Isolierkörper nicht nur als passiven Wärmedämmstoff, sondern auch als ein für Wärmeträger leitendes, aktiv zu betreibendes Wärmedämmsystem, beispielsweise als Fußboden- bzw. Wandheizungssystem in der Weise eines Holokausten-Systems, zu nutzen.
Bisher verwendete Plattengerüste mit wabenförmig ausgebildeten Wandstrukturen als versteifende Abstandshalter bieten diesen Vorteil nicht. Die Wabenstrukturen bilden im Plattenkörper keine flächenhaft durchgängigen Hohlräume aus, sondern nur eine Vielzahl voneinander getrennter Kleinsträume. Die erfindungsgemäßen doppelwandigen textilen Plattenkörper dagegen, deren Deckplatten durch abstandgebende, in Reihen angeordnete Stegfäden miteinander versteifend verbunden sind und dadurch geordnete, im wesentlichen kanalförmige Strukturen ausbilden, lassen sich sowohl als ein mit Warmluft oder mit einem wärmeübertragenden Fluid zu beschickendes Wärmeverteilungssystem, aber auch als ein System großflächiger Wärmekonvektoren darstellen.
In vorteilhafter Weise können die durchgängig miteinander verbundenen Plattenkörper bei sommerlicher Übererwärmung der Räume auch als flächendeckendes Kühl- und Lüftungssystem genutzt werden, und zwar in der Weise, daß Kaltluft oder das wärmeübertragende Fluid in einem geschlossenen Kreislaufsystem zirkulierend die Wärme von den Boden- oder Wandplatten abführt. Dabei werden die Nachteile heute gebräuchlicher Kühlanlagen vermieden, die unmittelbar Kaltluft in den Raum einströmen lassen und dadurch oft als unzuträglich empfundene, konvektive Luftströmungen verursachen. Diese Kühlanlagen werden insbesondere auch wegen ihrer hygienischen Problematik kritisiert. Abgesehen von der unvermeidbaren Staubaufwirbelung werden sie von Medizinerseite wegen der Gefahr des Einschleppens und der Übertragung von Krankheitskeimen als bedenklich angesehen.
Im Falle des Betriebs einer Raumklimatisierung über ein flächig ausgelegtes geschlossenes System von Boden- und Wandhohlplatten gemäß der Erfindung erfolgt die Raumkühlung nicht über konvektive Luftumwälzung. Vielmehr wird durch Absenkung der Oberflächentemperaturen der Raumhüllflächen der Mensch in die Lage versetzt, seinen Wärmeüberschuß durch Strahlungsaustausch über diese gekühlten Flächen abzuführen. In gleicher Weise wie bei einem durch Wärmestrahlung beheizten Raum wird auch hier durch Strahlungsaustausch ein als behaglich empfundenes Raumklima erzeugt. Bei Führung des Kühlmediums in einem umlaufend geschlossenen Kanalsystem, analog einer Fußbodenheizung, bedarf es innerhalb des Raums weder eines Luftaustausches noch der Zuführung von Kaltluft. Die nicht zuträglichen Staubaufwirbelungen entfallen gleichermaßen wie die Ausbreitung von Krankheitskeimen.
Der erfindungsgemäße Raumhüllflächenaufbau, der ein den Boden-, Wand- und/oder Deckenbelägen unterlegtes flächiges Hohlplattensystem mit kanalartigen Innenstrukturen vorsieht, kann in vorteilhafter Weise auch zur effizienteren Nutzung der in den Raum einfallenden solaren Strahlungsenergie für die Raumaufheizung nach einem bisher noch nicht bekannten und praktizierten Konzept zur Erzielung höherer Speicherungsquoten in den Wandstrukturen sinnvolle Anwendung finden.
In Anbetracht der im modernen Wohn- und Bürobau gegebenen Trends zu großflächigen Fensterverglasungen mit geringeren Wärmedurchgangsverlusten auch der übrigen Raumhüllflächen, stellt die Überwärmung der Räume durch die einfallende solare Energiestrahlung, bei südlich orientierten Räumen bereits an milden Wintertagen, sonst vorwiegend in den Übergangsmonaten, zunehmend ein tagsüber die Behaglichkeit einschränkendes Problem dar.
Man begegnet diesem Problem durch kostenaufwendige, dem Fenster vorgelagerte oder raumseitig angebrachte Sonnen-Abschirmvorrichtungen, oder generell durch Verwendung von Sonnenschutzverglasungen. Üblicherweise verschafft man sich allerdings Abhilfe durch Ablüften der solarüberwärmten Luft über partielles öffnen der Fenster oder durch Einschalten vorhandener Klimaanlagen. In allen Fällen führen solche Maßnahmen oder Verhaltensweisen zu eingeschränkten Nutzungsraten des solaren Energieangebotes für die Raumheizung, und insgesamt zu einer ökonomisch und ökologisch nicht zu vertretenden Energieverschwendung.
Der erfindungsgemäße Aufbau der Raumhüllflächen ermöglicht es nun, das in der Heizungsperiode jeweils kurzzeitig anfallende solare Energieangebot in den passiven Hüllflächen des Gebäudes unmittelbar einzuspeichern.
Wegen der thermischen Trägheit der massiven Hüllflächen des Gebäudes führte die einfallende Strahlungsenergie bisher zu einer Überwärmung der Raumluft und konvektiv nur kurzfristig zu einer entsprechenden Temperierung der Wandoberflächen, die einer thermischen Aufladung tieferer Schichten und somit einer wirksamen Einspeicherung solarer Strahlungsenergie entgegenwirken.
Die erfindungsgemäße Auskleidung der Hüllflächen mit den vorgeschlagenen Isolierkörpern, die einen in sich geschlossenen flächigen und kanalisierten Hohlraum ausbilden, ist eine Maßnahme, nicht nur der übermäßigen Lufterwärmung entgegenzutreten, sondern auch höhere Nutzungsraten solarer Energieeinstrahlung durch Übertragung der Wärme mit Hilfe passiv sich ausbildender oder über aktiv betriebene Zirkulation auf die tieferliegenden Schichten der massiven Hüllflächen des Raums zu erzielen.
Die auf die opaken Boden-, Wand- und Deckenbeläge direkt auftreffende Sonneneinstrahlung führt zu einer Erwärmung dieser Beläge weit über Raumlufttemperatur. Die überschüssige Wärme kann dann vom Luftvolumen des Isolierkörpers aufgenommen und mit Hilfe der Kanalstrukturen konvektiv über den flächigen Hohlraum, der keiner direkten Bestrahlung ausgesetzt ist, verteilt werden. Dies ermöglicht eine effiziente Nutzung der in den Raum einfallenden solaren Strahlungsenergie durch Einspeicherung in das Hohlplattensystem. Infolge der thermischen Abkopplung der opaken Wand- und Bodenbeläge von den massiven Wandstrukturen durch Unterfütterung mit dem erfindungsgemäßen Isolierkörper wird bei Sonnenbestrahlung eine schnelle und nachhaltige Erwärmung dieser Beläge erreicht. Die Verteilung dieser Wärme über den gesamten Wandbereich mit Hilfe des flächigen kanalisierten Hohlraums des erfindungsgemäßen Isolierkörpers führt zu einer effizienten Angleichung von Wand- und Raumlufttemperatur und trägt somit zu einem verbesserten Raumklima bei.
Dieses Konzept der Wärmeverteilung auf größere Flächenbereiche der Beläge und generell der Einspeicherung solarer Strahlungsenergie in die massiven Wandstrukturen läßt sich durch Verwendung von Boden-, Wand- oder Deckenbelägen, die für solare Strahlung wenigstens teilweise durchlässig, d.h. transparent oder transluzent sind, in einem weit größeren Ausmaß erreichen. Als transluzent werden hier solche Oberflächenbeläge angesehen, die im sichtbaren Bereich der solaren Strahlung keinen geordneten Strahlendurchgang gestatten, bei denen also die solare Strahlungsenergie in Form einer diffusen Streustrahlung austritt.
Bei Verwendung eines für solare Strahlung im sichtbaren Bereich wenigstens teilweise durchlässigen erfindungsgemäßen Isolierkörpers, vorzugsweise eines aus Glasfasern gefertigten textilen Abstandsgewebes, zusammen mit transluzenten Oberflächenbelägen, kommt es zu einer absorptiven Einspeicherung der solaren Strahlungsenergie in die massiven Wandstrukturen nach dem Prinzip einer "Solarenergiefalle", da sowohl der dem massiven Unterbau vorgelagerte Isolierkörper als auch der transluzente Oberflächenbelag für die vom Mauerwerk absorbierte und in Form von Wärmestrahlung emittierte Energie opak ist.
Zur Verwendung als transluzenter Oberflächenbelag eignen sich insbesondere transluzente Fliesen. Hierbei handelt es sich in der Regel um kleinformatige Fliesen aus einem glasartigen Material, zu deren Herstellung ein Glasstaub bei 700 bis 800°C in eine entsprechende Form gepreßt bzw. gegossen wird. Darüber hinaus können auch Fliesen aus rein keramischen Massen verwendet werden, in die derartige glasartige Formkörper eingebettet sind. Glasfliesen der vorgenannten Art, meist mit durchscheinend farbigem Dekor, sind bereits bekannt und werden zunehmend als dekorative Wand- und Bodenauskleidungen für Badezimmer und Schwimmhallen verwendet. Als transluzenter Oberflächenbelag sind darüber hinaus auch Platten aus Marmor geeignet.
Insbesondere bei bereits hochgedämmten Gebäudehüllen mit außenliegenden Dämmschichten oder dem tragenden Mauerwerk vorgesetzten Kerndämmungen ist eine Einspeicherung von solarer Wärme in das dem Rauminneren zugewandte Mauerwerk von großem thermischem Nutzen. Sie führt zu einer Angleichung der Temperatur der Wandoberflächen an die der Raumluft, verhindert Rondensschäden und wirkt generell einer Durchfeuchtung der Wandstrukturen entgegen.
Die durch transparente Fensterflächen einfallende Solarstrahlung verbleibt bekannterweise nicht vollständig im Raum. An opaken hellen Raumhüllfächen reflektiert, tritt ein Teil der Strahlung durch die Fensterflächen wieder nach außen. Bei Auskleidung der Hüllfächen mit transluzenten Wand-, Decken und Bodenbelägen werden diese Flächen durchstrahlt. Die solare Strahlung wird von dem dahinter angeordneten Mauerwerk absorptiv aufgenommen. Es finden keine Rückstrahlungen statt und insofern keine Strahlungsverluste durch transparente Fensterflächen. Durch transluzente Wandverkleidungen der beschriebenen Art wird daher ein hoher Nutzungsgrad der in den Raum einfallenden Solarstrahlung erreicht. Die oben beschriebene Ausbildung von kanalartigen Innenstrukturen in dem erfindungsgemäßen Hohlkörper kann durch Abführung und gleichmäßige Verteilung der Wärmeenergie in den Wandstrukturen noch zu einer Erhöhung dieses Nutzungsgrades beitragen.
Wegen der größtenteils auf die Bodenflächen des Raumes auftreffenden direkten solaren Einstrahlung ist die Verwendung von transluzenten Bodenfliesen für die Nutzung hoher solarer Wärmegewinne besonders vorteilhaft. Sinnvoll ist auch die Verwendung transluzenter Fliesen mit unterlegten textilen Abstandsplatten bei Bodenbelägen im Außenbereich, so auf Balkon- und Terrassenflächen und auf Hauszugängen. Darüber hinaus bietet es sich an, die mit dem erfindungsgemäßen Isolierkörper unterlegten transluzenten Fliesenflächen auch im Außenbereich als großflächige Wandbeläge einzusetzen. Die hier erfolgende Einspeicherung der solaren Strahlungsenergie in das tragende Mauerwerk führt dabei zu einer verbesserten Wärmebilanz des Gebäudes bei gleichzeitiger effektiver Wärmedämmung.
Die Abspeicherung der einfallenden Solarstrahlung in die massiven Gebäudehüllfächen führt in der Heizperiode durch eine zeitlich länger andauernde Angleichung der Wandtemperaturen an die der Raumluft zu einer Heizkostenersparnis und einer höheren Wohnbehaglichkeit. In der Sommerperiode trägt eine solche Maßnahme durch Abspeicherung übermäßiger Sonneneinstrahlung zu mehr Wohnkomfort bei. Durch Angleichung der Temperatur der Gebäudehüllfächen an die jeweilige Raumtemperatur wird letztlich die Ausbildung von Feuchtkondensaten an diesen Flächen vermieden.
Gemäß einer weiteren Ausführungsform der Erfindung sind die Beläge der Raumhüllflächen und die mit diesen verbundenen oberen Deckplatten des Isolierkörpers, insbesondere im Raumdeckenbereich, perforiert. Dadurch kann der in die Raumhüllflächen integrierte und zu einem geschlossenen Hohlraum zusammengefügte doppelwandige Isolierkörper in vorteilhafter Weise auch als selbsttätiges Lüftungssystem oder als ein System zur zwangsweisen Be- und Entlüftung mit Wärmetauschfunktion eingerichtet werden. Wegen der großen Austauschflächen hat dieses System energetisch eine hohe Effizienz. Außerhalb des Belüftungsbetriebes bieten sich die in die Wandstruktur eingelassenen Hohlkammerelemente mit k-Werten von 2 - 3 W/m2K als zusätzliche Wärmedämm-Medien für die beplankten Wandflächen an.
Schließlich ist in vorteilhafter Weise eine Verkleidung von Raumhüllflächen mit perforierten Plattenstrukturen der vorgeschlagenen Art für Zwecke der Reinstraum-Technik anwendbar. Der Vorzug solcher Plattenstrukturen für diesen Anwendungsbereich liegt in der kostengünstigen Beplankung der Hüllflächen und der Ausbildung großflächiger Zu- und Abführungskanäle, die vielgestaltige Ausbildungen von Misch- und Verdrängungsströmungen und deren Steuerung ermöglichen.
In Anbetracht der geringen Anlage- und Betriebskosten bietet sich die Nutzung der vorgeschlagenen flächigen Hohlkammerplatten nicht nur für die Ausgestaltung von Reinsträumen und partiellen Reinstraumkabinen sowie Ablüftungsschächten an, sondern auch für die partielle Ausstattung von Büro- und Wohnräumen, insbesondere Schlafräumen, zur Reinhaltung der Räume von Feinstäuben und organischen Partikeln.
War bisher von der Verwendung tragender, biegesteifer passiver oder aktiv zu betreibender Plattengerüste als Medien thermischer Entkopplung von Boden- und Wandstrukturen im Innenbau die Rede, so sollte ihre außerordentlich vorteilhafte Anwendung bei Bodenbelägen von Außenflächen, wie u. a. gefliester Balkon- und Terrassenflächen sowie Hauszugängen, aber auch bei gekachelten Hauswänden nicht unerwähnt bleiben.
Hier geht es zunächst um den Nutzen von tragfähigen, großflächigen und planen Auflageflächen für die keramischen Bodenfliesen. Bei Verwendung von aus textilen Abstandsgeweben durch Harzimprägnierung und Aushärten gebildeten Isolierkörpern ist die tragfähige und plane Grundierung der Auflageflächen für die keramischen Fliesen mit den dann großflächig verlegbaren Isolierkörpern ohne anfallende Zurichtungskosten und arbeitsaufwendige Trageschichtungen leicht zu bewerkstelligen.
Des weiteren erweist es sich als vorteilhaft, durch solche den Fliesen- oder Steinzeugböden unterlegten tragfähigen hohlen Isolierkörper den Unterbau zu drainieren und gleichfalls infolge thermischer Abkopplung von den darunterliegenden Bodenschichtungen die keramischen Bodenbeläge vor Frostschäden zu bewahren.
Unter dem Aspekt einer rationellen Anwendung textiler Abstandsgewebe und daraus gefertigter Isolierplattenkörper als unterlegtes Dämm-Material wird verfahrenstechnisch vorgeschlagen, die Fliesen und Steinplatten bereits im Herstellbetrieb mit gleichformatig zugeschnittenen textilen Abstandsgewebeplatten klebend zu verbinden, und zwar unter Verwendung einer ausreichend dicken Schicht eines elastischen Klebematerials, um eventuell auftretende Schubspannungen zwischen den thermisch unterschiedlichen Schichtungen zu vermeiden. Vorteilhaft für eine rationelle Verlegetechnik ist auch das Aufbringen großflächiger textiler Platten, vorzugsweise bereits vorgefertigt verfliest mit den keramischen Bodenplatten und Steinzeugen.
Bei Verwendung von mehrschichtigen Isolierkörpern mit höherer Wärmedämmleistung kann man zur Winterzeit die entsprechenden Flächen schnee- und eisfrei halten. Die Ausstattung der Isolierkörper mit einer operativen und aktiven Heizung, so in vorteilhafter Weise durch eine eingelegte Heizfolie oder durch eingewebte Heizdrähte bzw. Kohlefasern, ermöglicht es, die steinplattenbelegten Terrassen oder Hauszugangswege bei Bedarf kurzzeitig von Schnee- und Eisbelägen zu befreien, und dies, wegen der gegenüber dem Untergrund gegebenen Wärmeisolierung, mit einem äußerst geringen energetischen Aufwand. Die Heizfunktion kann zudem über einen Temperatursensor automatisch gesteuert werden, um bei Schneefall und Glatteisbildung generell die Zugangswege begehbar zu halten.
Selbstverständlich eignen sich die erfindungsgemäßen Isolierkörper ganz allgemein in vorteilhafter Weise zur Aufnahme von elektrischen Widerstands-Heizsystemen. Bei Anordnung der Heizfolien oder Drahtfädengeflechte auf der den Fußboden- und Wandbelägen zugewandten Seite werden die Beläge unmittelbar über Wärmeleitung aufgeheizt, während die Isolierkörper zugleich gegenüber der Estrichschicht bzw. dem massiven Unterbau eine wirksame Wärmebarriere ausbilden, zumal wenn man die Isolierkörper zusätzlich mit die Emission von Wärmestrahlung mindernden Schichten zum Unterbau hin ausrüstet. Die erzeugte Wärme wird dann bevorzugt dem Fußboden- und Wandbelag zugeführt und von dort in den Raum langwellig abgestrahlt.
Ein solches in den erfindungsgemäßen Raumhüllflächenaufbau integriertes elektrisches Heizsystem, rückgekoppelt über einen an den Wandflächen angeordneten Temperaturfühler, stellt ein nicht nur außerordentlich kostengünstiges und leicht zu installierendes, sondern auch ein die Wohnbehaglichkeit förderndes Raumheizungssystem dar. Infolge der Aufheizung nur kleiner abgeschirmter Massen und großer Abstrahlungsflächen erweist sich dieses System als äußerst flexibel und energetisch rationell.
Weitere Vorteile und Ausführungsformen der Erfindung ergeben sich aus der folgenden Beschreibung und den Zeichnungen, auf die Bezug genommen wird. In den Zeichnungen zeigen:
  • Fig. 1 eine erfindungsgemäße Deckenkonstruktion im Querschnitt;
  • Fig. 2 und 3 einen Querschnitt durch einen erfindungsgemäßen Bodenaufbau mit einem emissionsmindernd ausgerüsteten Isolierkörper;
  • Fig. 4 einen erfindungsgemäßen Bodenaufbau mit einem mehrschichtigen Isolierkörper im Querschnitt;
  • Fig. 5 einen erfindungsgemäßen Bodenaufbau mit in den Isolierkörper integrierten Rohrleitungen;
  • Fig. 6 und 7 weitere Ausführungsformen der Erfindung;
  • Fig. 8 einen erfindungsgemäßen Bodenaufbaut im Querschnitt mit zusätzlich in den Isolierkörper eingebrachten Dämmstoffen;
  • Fig. 10 ein weiteres Beispiel für eine erfindungsgemäße Deckenkonstruktion;
  • Fig. 11 eine Ausführungsform der Erfindung mit streifenförmig zugeschnittenem Isolierkörper;
  • Fig. 12 einen Teilquerschnitt durch einen erfindungsgemäßen Wand- und Deckenaufbau mit raumeinhüllend angeordnetem Isolierkörper;
  • Fig. 13 und 14 weitere erfindungsgemäße Wandaufbauten mit integrierter Fußleistenheizung;
  • Fig. 15 und 16 einen erfindungsgemäßen Bodenaufbau mit integrierten elektrischen Heizungssystemen;
  • Fig. 17 einen weiteren erfindungsgemäßen wandaufbau; und
  • Fig. 18 eine Ausführungsform der Erfindung, bei der der Isolierkörper zweiseitig versetzt gegenüber dem Oberflächenbelag angeordnet ist.
  • Fig. 1 stellt schematisch den Aufbau einer tragenden, begehbaren Deckenkonstruktion im Querschnitt dar. Die hier gezeigten Abmessungen und Größenverhältnisse entsprechen jedoch nicht den tatsächlichen Gegebenheiten. Zwischen dem Fußbodenbelag 1, beispielsweise aus Fliesen oder Steinplatten, und der Estrichschicht 2 ist zur thermischen Entkopplung der Fußbodenbeläge von der massiven, hochwärmeleitenden Estrichschicht ein doppelwandiger biege- und formsteifer Isolierkörper 3 angeordnet, der einen durchgehenden, luftgefüllten Hohlraum 4 einschließt. Die beiden Deckplatten 6a, 6b des Isolierkörpers 3 sind mit der Estrichschicht 2 bzw. den Bodenbelägen 1 über eine Klebstoff- oder Mörtelschicht verbunden. Quer zwischen den Deckplatten 6a, 6b verlaufen eine Vielzahl von biegesteifen Stützfäden 5, die hier jedoch nur schematisch und nicht ihrer Zahl entsprechend angedeutet sind.
    Vorzugsweise ist dieser doppelwandige Isolierkörper 3 aus einem harzimprägnierten textilen Abstandsgewebe gebildet, das in bekannter Weise aus zwei, durch quer- oder senkrechtstehende Stegfadenstrukturen miteinander verbundenen Gewebedecklagen besteht. Nach Aushärtung einer aufgebrachten Harz-Matrix bilden diese Gewebe biege- und formsteife Sandwichkonstruktionen mit einem freien Abstand zwischen den beiden Decklagen aus.
    Sandwichstrukturen aus textilen Abstandsgeweben dieser Art eignen sich, insbesondere bei Verwendung von Glasfaserfilamenten, wegen ihrer außergewöhnlichen mechanischen Biegesteife und Verformungsfestigkeit für die thermische Trennung von zwei aufeinanderliegenden und unter Last stehenden massiven Schichtungen, da sie infolge ihrer Querfädenstrukturen hohe Kräfte aufnehmen und übertragen können. Bedingt durch den zwischen den Decklagen gegebenen Luftzwischenraum 4 und die geringe Masse der den Plattenkörper aufbauenden Materialien stellen sie ein thermisches Dämm-Material hoher Güte dar, das bereits bei relativ geringer Höhe, im Vergleich zu Dämmplatten aus Hartschaum- oder Mineralfasern, ausgezeichnete Dämmleistungen erbringt.
    Der in Fig. 1 im Querschnitt dargestellte Aufbau einer tragenden und begehbaren Deckenkonstruktion zeigt darüberhinaus erläuternd die unterhalb der Estrichschicht 2 angeordneten üblichen Dämmschichtungen 8 aus Schaumstoff- oder Faserstoffplatten. Da diese Platten nicht formsteif und belastungsfähig sind, muß ihnen eine biegesteife, in sich tragende, massive Zementschicht oder eine formsteife Estrichschicht von 5 bis 8 cm sozusagen schwimmend aufgelagert werden. Die Dämmschicht 8 selbst liegt der konstruktiv tragenden, aus Beton gegossenen oder aus Hohlziegel gemauerten Deckenplatte 9 auf. Die Deckenplatte 9 bildet somit bei dieser Auführungsform zusammen mit der Dämmschicht 8 und der Estrichschicht 2 den tragenden Unterbau.
    Gemäß einer bevorzugten Ausführungsform der Erfindung ist der Fußbodenbelag 1 aus einem für solare Strahlung wenigstens teilweise durchlässigen, d.h. transparenten oder transluzenten, Material gebildet. In diesem Fall werden für den Fußbodenbelag 1 vorzugsweise transluzente Glasfliesen oder Keramikfliesen verwendet, in die transluzente Glaskörper eingebettet sind. Bei dieser Ausführungsform wird der Fußbodenbelag 1 mit Hilfe eines transparenten Klebers mit dem Isolierkörper 3 verbunden. Die Verwendung von transluzenten Fliesen zusammen mit einem aus Glasfasern gefertigten textilen Abstandsgewebe als Isolierkörper 3 gestattet eine Nutzung des hier beschriebenen Fußbodenaufbaus nach Art einer Solarenergiefalle und ermöglicht infolge der thermischen Abkopplung des Belags 1 von der erwärmten Estrichschicht 2 mit Hilfe des Luftzwischenraums 4 die Einspeicherung solarer Strahlungsenergie in die thermisch massive Estrichschicht 2.
    Bei einem der oben beschriebenen Deckenkonstruktion entsprechenden Wandaufbau können die Estrichschicht 2 und die Wärmedämmschicht 8 entfallen. Der Isolierkörper 3 wird hier mittels eines Klebers mit dem tragenden Mauerwerk verbunden. Dabei sind die Deckplatten 6a, 6b vorzugsweise perforiert bzw. angebohrt, um so ein partielles Eindringen des Klebers in die Deckplatten 6a, 6b und damit eine bessere Haftung des Isolierkörpers 3 an dem Mauerwerk bzw. des Oberflächenbelags 1 an dem Isolierkörper 3 zu gewährleisten. Ein solcher erfindungsgemäßer Wandaufbau gestattet ebenfalls die Verwendung eines für solare Strahlung wenigstens teilweise durchlässigen Oberflächenbelags 1.
    Fig. 2 und 3 zeigen ebenfalls die Verwendung ausgehärteter textiler Abstandsgewebe 3 als thermische Trennschicht zwischen dem Zement-Estrich 2 und den Bodenbelägen 1. Durch Ausbildung von zusätzlichen Hohlräumen oder Zwischenräumen 10 zwischen dem Belag 1 und der mit diesem verbundenen oberen Deckplatte 6a, sowie durch Einbringen von emissionsmindernden Schichten 7 in die Zwischenräume 10, wie z.B. durch Anordnung von wärmereflektierenden bzw. die Emission von Wärmestrahlung mindernden Folien oder Beschichtungen 7 auf der oberen Deckplatte 6a und/oder an der Unterseite des Belags 1, die zusätzliche Wärmeübergangswiderstände erzeugen, lassen sich die Wärmedurchgangswerte textiler Sandwichkon-struktionen noch erheblich absenken.
    Die den Wärme-Widerstand der isolierenden Plattenkörper zusätzlich verstärkenden Maßnahmen, so die Einrichtung eines trennenden Luftspalts 10 zwischen dem Isolierkörper 3 und der Bodenbelagsschicht 1 und die Anordnung beispielsweise einer Knitterfolie aus Aluminium innerhalb des Luftspaltes als emissionsmindernde Schicht 7, wird hier gezeigt. In Fig. 2 wird dazu der Luftspalt 10 durch ein den Bodenflächen der Fliesen und Steinplatten 1 erhaben aufgeprägtes linien- oder netzförmiges Gitter 11 herbeigeführt. In Fig. 3 wird zu diesem Zweck die Oberfläche des textilen Isolierkörpers 3 mit Noppen 12 ausgebildet.
    In gleicher Weise wie in den Fig. 2 und 3 für die obere Deckplatte 6a gezeigt, kann auch die Estrichschicht 2 bzw. die der Estrichschicht 2 zugewandte untere Deckplatte 6b emissionsmindernd ausgerüstet sein. Zur Reduktion des Wärmedurchgangs durch langwellige Wärmestrahlung können auch die dem flächigen Hohlraum 4 zugewandten inneren Oberflächen der Deckplatten und/oder die Stützfäden mit einer emissionsmindernden Beschichtung, beispielsweise durch Aufsprühen mittels eines geeigneten Düsenwerkzeugs, versehen sein. Es versteht sich von selbst, daß die in den Fig. 2 und 3, sowie in den folgenden Figuren anhand von Boden- oder Deckenaufbauten dargestellten Ausführungsformen der Erfindung auch für den entsprechenden Aufbau von Wandstrukturen verwendet werden können.
    Die Ausrüstung des Isolierkörpers 3 mit emissionsmindernden Beschichtungen ist insbesondere bei Verwendung transluzenter Fliesen als Oberflächenbelag 1 vorteilhaft. Auf die Unterseite von keramischen oder transluzenten Fliesen kann die emissionsmindernde Beschichtung (Low-E-Beschichtung) 7 entweder pyrolytisch im Vorlauf des Aushärtungsprozesses der Fliesen (bei einer Temperatur von ca. 400 - 500° C) aufgebracht, oder aber auf das fertige Produkt in einem Vakuumprozeß auf die Unterseite der Fliesen aufgedampft werden. In rationeller Weise ist eine solche Beschichtung auch durch ein Aufspritzverfahren realisierbar. Vorzuziehen ist jedoch eine pyrolytisch aufgebrachte Beschichtung. Sie ist außerordentlich kratzfest und oxidationsstabil. Diese Schichten können zudem als Halbleiterschichten wie auch als Metallschichten elektrisch leitend für Widerstandsheizungssysteme genutzt werden.
    Low-E-Beschichtungen können sowohl für Sonnenstrahlung transparent als auch opak ausgeführt werden. Bei vornehmlich transparenten bzw. transluzenten Fliesen ist daher, falls der Speicherungseffekt in den massiven Wandstrukturen Vorrang hat, von mehr transparenten Beschichtungen auszugehen.
    Das oben beschriebene Konzept der "Solarenergiefalle" wird aber auch im Falle opaker Low-E-Beschichtungen nicht aufgegeben. Während bei opakem Fliesenmaterial die solare Strahlungsenergie nur partiell an Grenzschichten der Oberfläche absorbiert wird, und sie so nur in einem verminderten Ausmaß dem Flächenkörper durch Wärmeleitung zeitlich verzögert zugeführt wird, erfolgt bei transparenten oder transluzenten Fliesen bei Durchstrahlung eine zeitgleiche Aufheizung des gesamten Flächenkörpers, und zwar im Maße seiner für das solare Energiespektrum eingelagerten, absorptiven Anteile.
    Fig. 4 zeigt einen aus zwei Schichten 3a, 3b aufgebauten Isolierkörper 3 zur thermischen Entkopplung der Estrichschicht 2 von den Bodenbelägen 1. Die obere Schicht 3a des Isolierkörpers 3 ist, wie unter Fig. 1 - 3 beschrieben, aus einem mit Harzschlichten versehenen, ausgehärteten textilen Abstandsgewebe gebildet. Die untere Schicht 3b ist aus einem einlagigen veloursartig gefertigten textilen Abstandsgewebe gebildet und und mit der oberen Schicht 3a über eine Klebstoffschicht haftend oder bereits fertigungstechnisch über die Gewebestruktur verbunden. Die aneinander angrenzenden Decklagen der Schichten 3a und 3b bilden gemeinsam die Zwischenplatte 13. Die für die untere Schicht 3b verwendeten einlagigen veloursartig gefertigten textilen Abstandsgewebe bilden nach Aushärtung der Harzmatrix zeilenförmig geordnete, senkrecht auf der Decklage stehende, biegesteife und tragfähige Schlaufen 14 aus, die hier nur schematisch angedeutet sind und quer zwischen der Zwischenplatte 13 und der Estrichschicht 2 verlaufen. Dadurch wird zwischen der Estrichschichtung und den Bodenbelägen ein zusätzlicher stabiler flächiger Hohlraum 15 geschaffen. Eine Auslegung der Estrichfläche 2 mit einer Aluminiumfolie oder eine auf der unteren Schicht 3b aufgebrachte, der Estrichfläche zugewandte Low-E-Beschichtung führt hier zu k-Werten kleiner als k = 2 W/m2K. Die Verwendung eines Schlaufenplattenkörpers 3b ermöglicht zudem eine einfache Befestigung des Isolierkörpers 3 an einer Wandstruktur. Die Befestigung zur Wand erfolgt hier mit Hilfe einer Mörtel- oder Gipsschicht, in welche die Schlaufen 14 hälftig, einen luftgefüllten Hohlraum 15 freihaltend, eingedrückt werden.
    Fig. 5 zeigt einen erfindungsgemäßen Bodenaufbau mit in den Isolierkörper 3 integrierten Rohrleitungen 16 für Fußboden- bzw. Wandheizungssysteme. Es kann sich hierbei um Kupfer- oder Kunststoffrohre handeln, die von einem wärmeübertragenden Fluid durchflossen werden. Bei Verwendung transluzenter Oberflächenbeläge 1 kann das wärmeübertragende Fluid zur Abführung überschüssiger Wärme aus dem massiven Unterbau verwendet werden.
    Fig. 6 zeigt einen für Fußboden- und Wandheizungen besonders geeigneten Boden- bzw. Wandaufbau. Bei dieser Ausführungsform besteht der Isolierkörper 3 aus zwei Plattenkörpern oder Schichten 3a und 3b, die jeweils aus einem zweilagigen textilen Abstandsgewebe gefertigt und über die aneinander angrenzenden Gewebedecklagen haftend miteinander verbunden sind. In gleicher Weise könnte hier ein aus einem dreilagigen Abstandsgewebe gefertiger Isolierkörper zur Anwendung kommen. Der das Rohrleitungssystem 16 aufnehmende Plattenkörper 3a wird zur kalten Estrich- bzw. Wandseite hin durch den zweiten Plattenkörper 3b thermisch gedämmt. Dieser zweite Plattenkörper 3b kann auch, entsprechend der in Fig. 4 gezeigten Ausführungsform, aus einem veloursartig gefertigten Abstandsgewebe hergestellt sein. In vorteilhafter Weise ist dann die dem Unterbau zugewandte Fläche des Plattenkörpers 3b mit einer emissionsmindernden Beschichtung versehen.
    Anstelle der Rohrleitungen 16 können in den Isolierkörper 3 auch Leitungsnetze für elektrische Widerstandsheizungen eingelegt oder elektrische Heizfolien eingebracht werden. Letztere können auch in vorteilhafter Weise zwischen dem Bodenbelag und dem Isolierkörper in Form einer Klebefolie eingelegt oder unmittelbar in den Bodenbelag integriert werden.
    Fig. 7 zeigt einen Isolierkörper 3, dessen obere Decklage 6a eingefräßte Ausnehmungen 17 zur Aufnahme von elektrischen Leitungen und Verbindungskabeln aufweist.
    Fig. 8 zeigt einen Isolierkörper 3, dessen flächiger, luftdurchgängiger Hohlraum ganz oder teilweise mit einem geschäumten Material 18 ausgefüllt ist. Der Isolierkörper erhält dadurch eine außerordentlich hohe Biegesteifigkeit und Formhaltigkeit.
    Sowohl die Bodenbeläge 1 als auch der Estrichboden 2 weisen, wie schon unter Fig. 2 und 3 gezeigt, rasterförmig aufgeprägte erhabene Strukturen 11a, 11b auf, um auf diese Weise einen Luftspalt 10a bzw. 10b auszubilden, der zusätzlich Wärmeübergangswiderstände erzeugt. Die an den Luftspalt beidseitig angrenzenden Oberflächen können dann zur Minderung des Wärmeaustausches über Wärmestrahlung mit Aluminiumfolien oder Low-E-Schichten (hier nicht dargestellt) ausgerüstet werden, wie im Zusammenhang mit den Figuren 2 und 3 beschrieben.
    Insbesondere die Ausführungsform nach Fig. 8 ermöglicht auf Grund ihrer hohen Steifigkeit und Flächenstabilität einen Deckenaufbau mit Estrichschichten geringerer Dicke. Die erfindungsgemäßen Isolierkörper können aber auch direkt als Lastverteilungsschichten Anwendung finden.
    Wie in Fig. 10 dargestellt, lassen sich solche Isolierkörper 3 in vorteilhafter Weise, insbesondere als lastverteilende Elemente, in Holzbalkendecken verwenden. Sie werden unterhalb der lasttragenden Deckenbalken 21 als Verschalungslattungen und oberhalb als begehbare Bodenplatten zur Aufnahme der Bodenbeläge 1 mit üblichen Winkelbeschlägen befestigt. Der Raum zwischen den Holzbalken wird mit den üblichen Schaum- oder Faserdämmstoffen 8 ausgefüllt.
    Darüber hinaus wird vorgeschlagen, den Isolierkörper 3 gemäß Figur 11 streifenförmig zu fertigen oder entsprechend zuzuschneiden und jeweils parallel in einem Abstand zueinander auf den Unterbau, hier die Estrichschicht 2, aufzubringen, um die Kosten für das Isolierkörpermaterial auf die Hälfte oder ein Drittel zu begrenzen.
    Kanalstrukturen findet man dann sowohl innerhalb der streifenförmig aufgebrachten Isolierkörperplatten 3, als auch durch die Zwischenräume 22 zwischen den parallel in Abstand zueinander verlegten Isolierkörperplatten realisiert.
    Füllt man die streifenförmigen Isolierkörperplatten 3 gemäß Figur 8 mit einem steifen, integralen Schaumstoff aus, so erhält man in Aufgabe des Kanalsysteme innerhalb des Isolierkörpers einen lattenförmigen Körper von großer Festigkeit und Biegesteife, der sich, als Lattenrost an der Wandfläche verdübelt, zur rationellen Aufbringung großflächiger Beläge nutzen läßt. Die Kanalstruktur wird dann allein durch die Zwischenräume 22 realisiert.
    Fig. 12 zeigt den konstruktiven Hüllflächenaufbau eines Raumes. Die textilen Hohlplatten des Isolierkörpers 3 der Wand münden im Eckbereich geformt in die Hohlplatten der Deckenhüllfläche ein. Darüber hinaus kann der an der Decke verlegte Isolierkörper 3 von dort aus auch in gegenüberliegende oder seitlich anliegende, mit Hohlplatten ausgerüstete Wandflächen einmünden. Die Fußbodenfläche einschließend, wird auf diese Weise ein den Raum einhüllendes, thermisch geschlossenes, über Kanalstrukturen kommunizierendes Hohlraumsystem realisiert.
    Durch die kommunizierend miteinander verbundenen Hohlräume wird neben der allseitigen thermischen Abkoppelung von den massiven Raumhüllflächen eine den Raum einhüllende, isolierende Luftschicht erzeugt, die eine ausgleichende Wandtemperierung bewirken kann.
    In rationeller Weise kann der Raum über eine Fußbodenheizung oder durch eine in die Isolierkörperplatten 3 integrierte Warmwasser- oder elektrisch betriebene Fußleistenheizung 23 erwärmt werden (Fig. 13). Im Fußbodenbereich wird die Wärme vorwiegend direkt über Strahlung an das Rauminnere abgegeben.
    Gleichzeitig wird das in den Isolierkörperplatten eingehüllte Luftvolumen aufgeheizt. Die aufsteigende, temperierte Luft erwärmt innenseitig die den Isolierkörperplatten der Wand und der Decke aufliegende Beplankung 1, beispielsweise dünndimensionierte Wandfliesen, Holzpaneelen, Gips-Kartonplatten oder auch Papier- oder Textiltapeten.
    Die Isolierung zur tragenden Wand entsteht dann durch entsprechende Gestaltung der Rückseite der Isolierkörperplatten, beispielsweise durch einen zusätzlichen schmalen Luftraum 10b, vorzugsweise in Verbindung mit einer Low-E-Schicht, wie im Zusammenhang mit den Figuren 3 und 8 beschrieben.
    Auf diese Weise erhält man für den Raum eine überaus behagliche, physiologisch zuträgliche, großflächige und milde Strahlungsheizung ohne staubaufwirbelnde Luftströmungen.
    Wegen der durch die dem Wandunterbau vorgelagerten, luftgefüllten Zwischenräume 10b hervorgerufenen Übergangswiderstände, sowie der integrierten emissionsmindernden Beschichtungen (hier nicht dargestellt), wird nur ein geringer Teil der in den Isolierkörperplatten befindlichen Wärmeenergie rückseitig an den Wandunterbau abgegeben.
    Eine den Raum in dieser Weise partiell oder ganzflächig auskleidende Umhüllung erweist sich im Falle der raumseitigen Ausrüstung der textilen Isolierkörperplatten 3 mit für das solare Spektrum transluzenten oder teiltransparenten Belägen 1 als energetisch besonders vorteilhaft.
    Rüstet man dann die obere oder untere Deckplatte des textilen Isolierkörperelements mit einer die solare Strahlung absorbierenden Beschichtung aus, so wird die auf die Wandoder Bodenflächen auftreffende und die entsprechenden Beläge transmittierende Solarstrahlung von diesen Deckplatten absorbiert. Die aufgenommene Wärmeenergie kann dann innerhalb des flächigen Hohlraums im Isolierkörper konvektiv abgeführt werden.
    Besonders positiv wirken sich dann transluzente oder partiell transluzente Flächenbeläge aus, da sie einen großen Teil der auftreffenden Sonnenstrahlen direkt aufnehmen und verteilt weiterleiten können. Wenn auf diese Weise in der Heizperiode zusätzliche solare Energie einfällt, kann über eine Temperatursteuerung die Zuführung der durch das Gebäude-Heizsystem generierten Energie gedrosselt oder abgestellt werden.
    Das raumeinhüllende Isolierkörperplattensystem kann selbstverständlich auf diese Weise auch in der Sommerperiode genutzt werden, um übermäßig eingestrahlte, solare Energie aufzunehmen und abzuführen. Es kann aber auch in vorteilhafter Weise durch Einspeisung von gekühlter Luft als Flächenkühlsystem Anwendung finden.
    Der besondere Vorteil einer solchen raumeinhüllenden Ausrüstung mit Isolierkörperplatten liegt somit in der Möglichkeit einer Raumklimatisierung über Wärme- oder Kältestrahlung.
    Fig. 14 zeigt einen für den Einbau einer Fußleistenheizung besonders geeigneten erfindungsgemäßen Wandaufbau im Querschnitt. Die textilen Abstandsgewebe werden hier als Wandverkleidung verwendet. Die Wandseite des Isolierkörpers 3 ist hier wieder von einer einlagigen Schlaufenplatte 3b der in Fig. 4 beschriebenen Art gebildet und klebend auf die Wand aufgebracht. Die Befestigung zur Wand erfolgt mit Hilfe einer Mörtel- oder Gipsschicht 24, wobei die Schlaufen 14 hälftig in diese Schicht, einen luftgefüllten Hohlraum 15 freihaltend, eingedrückt werden. Zur Raumseite hin kann vorzugsweise, wie hier gezeigt ist, ein weiterer doppelwandiger Plattenkörper 3a vorgesehen sein, der auf der einlagigen Schlaufenplatte 3b klebend befestigt ist. Für die Deckschicht 6a der raumseitigen Platte 3a sind gegebenenfalls Perforierungen 25 vorgesehen, welche die Einrichtung eines Be- und Entlüftungssystems ermöglichen.
    Der hier gezeigte erfindungsgemäße Wandaufbau kann in vorteilhafter Weise mit einer zusätzlichen Heizfunktion in Form einer Fußleistenheizung 23 ausgerüstet werden. Die Heizenergie wird dem Wandelement über in der Nähe des Fußbodens im Wandelement angeordnete durchlaufende Rohrkörper zugeführt, die an ein Warmwasserheizsystem angeschlossen sind. Dabei werden die Wandflächen des textilen Hohlplattenkörpers 3a konvektiv durch den natürlichen Luftauftrieb innenseitig erwärmt und die Isolierverkleidung nimmt die Punktion eines großflächigen, mild strahlenden Radiators an. Mit der hier beschriebenen Einrichtung gelingt es, die bekannten Nachteile üblicher Fußleisten-Heizsysteme, insbesondere die Ausbildung unbehaglicher und staubaufwirbelnder Luftströmungen, zu vermeiden.
    Der wandseitig angeordnete Plattenkörper 3b, der bei der hier gezeigten Ausführungsform als einlagige Schlaufenplatte ausgestaltet ist, bildet mit Hilfe des Hohlraums 15 zum tragenden Unterbau des Wandelements hin eine thermische Barriere aus, so daß die dem flächigen Hohlraum 4 zugeführte Wärmeenergie vornehmlich von dem raumseitigen Belag 1 des textilen Hohlplattenkörpers 3a aufgenommen und zum Raum hin abgestrahlt wird.
    In vorteilhafter Weise lassen sich so auch Wandheizungssysteme über elektrische Widerstandsheizungen versorgen. Das Heiznetz kann in Bandform als Fußleistenheizsystem ausgeführt werden, oder aber den unteren Wandbereich in Brüstungshöhe einnehmen. Der Aufbau solcher elektrisch beheizter Systeme kann alternativ auch entsprechend den nachfolgend in den Fig. 15 und 16 beschriebenen Ausführungsformen erfolgen. Als Wandbeläge können beispielsweise Fliesen, Marmorplatten, Holzpaneelen oder die üblichen Stoff- oder Papiertapeten verwendet werden.
    Fig. 15 und 16 stellen besondere Ausführungsformen hocheffizienter, energiesparender elektrischer Fußboden- und Wandheizungssysteme dar. Wegen des Fehlens dünner tragfähiger Dämmschichten mit hohen Wärmewiderstandswerten war es bisher nicht möglich, das Abfließen von Wärmeenergie in die massiven Boden- und Wandschichten wirksam zu begrenzen.
    Fig. 15 zeigt den Aufbau eines solchen Systems bei Verwendung keramischer Bodenbeläge 1 aus Fliesen und Steinplatten. Die Heizfolien oder die in Heizmatten fixierten Heizleiternetze 26 werden unmittelbar unter den Bodenbelag 1 eingebracht und mit einer Klebeschicht 27 von hoher Temperaturbeständigkeit und hoher Flexibilität verklebt. Wegen des hohen Wärmewiderstandes des textilen Isolierkörpers 3 und der zwischen der Heizmatte und dem Isolierkörper liegenden Aluminiumfolie bzw. der emissionsmindernden Beschichtung 7a auf der der Heizmatte zugewandten Oberfläche des Isolierkörpers wird der Wärmefluß weitgehend einseitig dem Bodenbelag zugeführt und dem Raum von den Steinplatten über Wärmestrahlung zugeleitet.
    Fig. 16 stellt den Aufbau eines elektrischen Fußboden- oder Wandflächenheizsystems bei Verwendung von Oberflächenbelägen 1 mit geringer Wärmeleitfähigkeit dar, wie insbesondere Teppich-, Parkett-, PVC- und Korkbelägen. Der Heizfolie oder Heizplatte 26 wird hier raumseitig eine Metallplatte 28 zugeordnet, die aufgrund ihrer hohen Wärmeleitfähigkeit den Wärmefluß aufnimmt und über den Bodenbelag in den Raum abstrahlt.
    Diese Funktion kann auch von einer dünnen Speicherschicht 29 übernommen oder durch eine solche Schicht verstärkt werden. Es wird vorgeschlagen, als Speicherschicht 29 eine dünne, durch ein textiles Gewebe 30 verstärkte Estrich-, Gips-, oder Zementschicht zu verwenden, wie in Fig. 16 dargestellt. In dieser Weise lassen sich äußerst dünne, lastaufnehmende, biegesteife und formstabile Plattenkonstrukte herstellen.
    In die textile Struktur dieses Plattenkonstrukts kann darüberhinaus ein Heizleiternetz eingewebt werden (in Fig. 16 nicht dargestellt). In einem solchen Fall entfallen die-Heizmatte 26 und die Metallplatte 28. Gegenüber dem tragenden Unterbau der Boden- oder Wandstruktur kann der textile Isolierkörper 3 mit zusätzlichen luftgefüllten Zwischenräumen 10b und einer Aluminiumfolie oder einer emissionsmindernden Beschichtung 7b als Wärmestrahlungsbarriere thermisch abgeschirmt werden.
    Fig. 17 zeigt eine mögliche Wandbefestigung des Isolierkörpers 3 an eine Querlattung 34 mit Hilfe einer Klebeverbindung 31. Die Verklebung kann durch Eindringen des Klebers in vorgegebene Perforierungen der wandseitigen Deckplatte 6b und nachfolgender Aushärtung des Klebers mechanisch gesichert werden.
    In vorteilhafter Weise kann der textile Isolierkörper 3, wie hier dargestellt, ein- oder beidseitig mit dünnen Holzplatten bzw. mit Funierholzschichten 32 verklebt sein, und auf diese Weise bereits vorgefertigt als Wandpaneele mit Nut und Feder verwendet werden. Derartig aufgebaute Bauelemente, die nach Art herkömmicher Holzpaneelen gestaltet sind, lassen sich besonders einfach als Holzdielungen mit inhärenter Wärmedämmung verwenden. Vorzugsweise sind wenigstens die Randbereiche des so gefertigten holzbeschichteten Isolierplattenkörpers umlaufend mit einer herkömmlichen aushärtenden Kunststoffschaummasse, wie z. B. einem Polyurethanschaum, ausgeschäumt und an wenigstens einer Kante, vorzugsweise an den den längsseitigen Kanten, mit einer Nut zur Aufnahme von Befestiguns- bzw. Verbindungsmitteln versehen. Durch das Ausschäumen werden gegebenenfalls an den Schnittkanten hervortretende Glasfasern in die Schaummasse eingebettet. Durch Nachschleifen der Kantenbereiche kann dann außerdem eine paßgenaue Verarbeitung gewährleistet werden.
    Gegenüber massiven Holzdielungen, die wegen der notwendigen Biegefestigkeit üblicherweise eine Dicke von 12 - 20 mm aufweisen, zählt neben den höheren Dämmwerten, die höhere Biegesteifigkeit, das geringere Gewicht und vor allem die erhebliche Ersparnis an hochwertigem, astfreien Holzmaterial unbedingt als Vorteil. Auf diese Weise könnten insbesondere hochwertige, tropische Hartholzarten, die keiner aufwendigen Oberflächenbehandlung bedürfen, in hohem Maße als verschleißfest gelten und schon wegen ihrer ästhetischen Maserung sehr gefragt sind, in Form von dünnen Holzschichten oder Funieren ohne ökologische Bedenken wieder Verwendung finden.
    Generell erweisen sich Boden- und Wandbeläge aus ein- bzw. zweiseitig mit Holzfunieren oder dünnen Holzschichten beschichteten textilen Abstandsgeweben allein wegen ihrer thermischen Dämmqualitäten, so den ihnen zukommenden Wärmeleitwerten in der Größenordnung von 0,020 W/mK, sowohl Massivholzbelägen als auch Holzfaserplatten, aber auch den sonstigen Baustoffplatten aus herkömmlichen Wärmedämmstoffen als überlegen.
    Bei der Verwendung von Fliesen oder keramischen Steinzeugplatten als Oberflächenbeläge ist es zweckdienlich, wenn für die Belegung und Befestigung der Wand- und/oder Bodenfliesen 1 eine zweiseitig versetzte, klebende Verbindung der Fliesen mit entsprechenden gleichformatigen Isolierkörperplatten 3, vorzugsweise hergestellt in Vorfertigung, gewählt wird.
    Eine Verlegung von Fliesen gemäß dieser in Fig. 18 dargestellten Ausführungsweise gewährleistet eine zuverlässige Abdichtung des Pliesenuntergrundes, denn es bilden sich keine bis zum Wand- oder Bodenunterbau durchgehenden Fugen aus. Eine geflieste Außenwand bleibt gegen Schlagregen gesichert.
    Vorteilhaft erweist sich diese Ausführung auch für die Verlegearbeit. Sie verhilft zu einem besseren Abgleich der Flächengeometrie und insbesondere zu einer exakten Einhaltung der Fugenbreite.
    Die Durchbohrungen 33 der Isolierkörperplatten 3 dienen jeweils zum Andübeln an die tragenden Wandstrukturen. Alternativ dazu können die Fliesen mittels dieser Bohrungen über Klebebatzen fixiert und befestigt werden.
    Es können aber auch grundsätzlich über die gesamte Fläche der Isolierkörperplatten 3 einseitig oder beidseitig Perforierungen vorgesehen werden, die eine Fixierung oder Verklebung mit der Wandstruktur und mit dem Flächenbelag begünstigen. Die Klebemasse dringt dann partiell in die Perforierung ein.
    Die hier dargestellten Ausführungsbeispiele geben nur einen Teil der möglichen Ausführungsformen für die eingangs offenbarten Anwendungs- und Funktionsbereiche wieder.

    Claims (39)

    1. Boden-, Decken- oder Wandaufbau, bei dem ein Isolierkörper (3) zwischen einem tragenden Unterbau und einem Oberflächenbelag (1) angeordnet ist, dadurch gekennzeichnet, daß der Isolierkörper (3) eine dem Oberflächenbelag (1) benachbarte obere Deckplatte (6a) und eine dem Unterbau benachbarte untere Deckplatte (6b) aufweist und durch eine Vielzahl von quer zwischen der oberen Deckplatte (6a) und der unteren Deckplatte (6b) verlaufenden, biegesteifen Stützfäden (5;14) gebildet ist, die zur thermischen Entkopplung des Unterbaus von dem Belag im Verwendungszustand zwischen diesen einen formhaltigen Hohlraum (4; 15) tragend aufspannen.
    2. Aufbau nach Anspruch 1, dadurch gekennzeichnet, daß die Stützfäden (5; 14) aus Glas-, Keramik-, Kunststoff- oder Kohlefasern gebildet sind.
    3. Aufbau nach Anspruch 1, dadurch gekennzeichnet, daß die Stützfäden (5; 14) aus organischen Fasern oder Naturfasern, wie Fasern aus Hanf oder anderen pflanzlichen Produkten, gebildet sind.
    4. Aufbau nach einem der Ansprüche 1 bis 3, dadurch gekennzeichnet, daß die Stützfäden (5; 14) einander kreuzend angeordnet sind.
    5. Aufbau nach einem der Ansprüche 1 bis 4, dadurch gekennzeichnet, daß die Stützfäden (5; 14) eine mittlere Feinheit im Bereich von etwa 20 bis 80 tex aufweisen.
    6. Aufbau nach einem der Ansprüche 1 bis 5, dadurch gekennzeichnet, daß die Stützfäden (5; 14) in einer Dichte von zwischen etwa 10 bis 60 Fäden/cm2 angeordnet sind.
    7. Aufbau nach einem der Ansprüche 1 bis 6, dadurch gekennzeichnet, daß der Isolierkörper (3) aus einem textilen Abstandgewebe oder -gewirk durch Imprägnieren mit Harz und Aushärten gebildet ist.
    8. Aufbau nach einem der Ansprüche 1 bis 7, dadurch gekennzeichnet, daß die obere Deckplatte (6a) mit dem Belag (1) und/oder die untere Deckplatte (6b) mit dem Unterbau verbunden ist.
    9. Aufbau nach Anspruch 8, dadurch gekennzeichnet, daß zwischen dem Belag (1) und der oberen Deckplatte (6a) luftgefüllte Zwischenräume (10a) ausgebildet sind.
    10. Aufbau nach Anspruch 8 oder 9, dadurch gekennzeichnet, daß zwischen dem Unterbau und der unteren Deckplatte (6b) luftgefüllte Zwischenräume (10b) ausgebildet sind.
    11. Aufbau nach einem der Ansprüche 8 bis 10, dadurch gekennzeichnet, daß zwischen dem Unterbau und dem Isolierkörper (3) eine emissionsmindernde Schicht (7b) eingebracht ist.
    12. Aufbau nach einem der Ansprüche 8 bis 11, dadurch gekennzeichnet, daß in die Zwischenräume (10a) zwischen dem Belag (1) und der oberen Deckplatte (6a) eine emissionsmindernde Schicht (7; 7a) eingebracht ist.
    13. Aufbau nach einem der Ansprüche 1 bis 12, dadurch gekennzeichnet, daß die dem Hohlraum (4; 15) zugewandte innere Oberfläche des Isolierkörpers (3), einschließlich der Stützfäden (5; 14), wenigstens teilweise mit einer emissionsmindemden Beschichtung versehen ist.
    14. Aufbau nach einem der Ansprüche 8 bis 13, dadurch gekennzeichnet, daß der Isolierkörper (3) mindestens eine Zwischenplatte (13) aufweist, die über die Stützfäden (5; 14) mit der oberen (6a) und/oder der unteren Deckplatte (6b) verbunden ist.
    15. Aufbau nach einem der Ansprüche 8 bis 14, dadurch gekennzeichnet, daß der Belag (1) und die obere Deckplatte (6a) zur Be- bzw. Entlüftung eines Raums perforiert sind.
    16. Aufbau nach einem der Ansprüche 1 bis 15, dadurch gekennzeichnet, daß der Hohlraum (4; 15) mit Luft gefüllt ist.
    17. Aufbau nach einem der Ansprüche 1 bis 15, dadurch gekennzeichnet, daß der Hohlraum (4) wenigstens teilweise mit einer Kunststoffschaummasse (18) gefüllt ist.
    18. Aufbau nach einem der Ansprüche 1 bis 17, dadurch gekennzeichnet, daß in dem Isolierkörper (3) kanalförmige Innenstrukturen (16; 22) eingerichtet sind.
    19. Aufbau nach Anspruch 18, dadurch gekennzeichnet, daß die kanalförmigen Innenstrukturen aus in den Isolierkörper (3) integrierten Rohrleitungen (16) gebildet sind.
    20. Aufbau nach Anspruch 18 oder 19, dadurch gekennzeichnet, daß die kanalförmigen Innenstrukturen (16; 22) mit Warmluft, Kaltluft oder einem wärmeleitenden Fluid beschickt sind.
    21. Aufbau nach einem der Ansprüche 18 bis 20, dadurch gekennzeichnet, daß die kanalförmigen Innenstrukturen (16; 22) raumumhüllend ausgebildet sind und miteinander in Verbindung stehen.
    22. Aufbau nach einem der Ansprüche 1 bis 21, dadurch gekennzeichnet, daß der Isolierkörper (3) und der Oberflächenbelag (1) für solare Strahlung wenigstens teilweise durchlässig sind.
    23. Aufbau nach Anspruch 22, dadurch gekennzeichnet, daß der Oberflächenbelag (1) wenigstens teilweise transluzent ist.
    24. Aufbau nach einem der Ansprüche 22 oder 23, dadurch gekennzeichnet, daß der Oberflächenbelag (1) wenigstens teilweise aus transluzenten Fliesen besteht.
    25. Aufbau nach einem der Ansprüche 22 bis 24, dadurch gekennzeichnet, daß der Isolierkörper (3) aus einem aus Glasfasern gefertigten textilen Abstandgewebe oder -gewirk gebildet ist.
    26. Aufbau nach einem der Ansprüche 1 bis 25, dadurch gekennzeichnet, daß der Oberflächenbelag (1) aus opaken, transluzenten oder teilweise transluzenten Fliesen besteht, deren dem Isolierkörper (3) zugewandte Fläche mit einer emissionsmindernden Beschichtung versehen ist.
    27. Aufbau nach Anspruch 26, dadurch gekennzeichnet, daß die emissionsmindernde Beschichtung pyrolytisch aufgebracht ist.
    28. Aufbau nach einem der Ansprüche 1 bis 27, dadurch gekennzeichnet, daß der Isolierkörper (3) aus parallel in einem Abstand zueinander verlegten, streifenförmigen Platten gebildet ist.
    29. Aufbau nach einem der Ansprüche 1 bis 27, dadurch gekennzeichnet, daß der Oberflächenbelag (1) aus Fliesenplatten besteht, die gegenüber dem aus gleichformatigen Platten gebildeten Isolierkörper (3) zweiseitig versetzt angeordnet sind.
    30. Aufbau nach einem der Ansprüche 1 bis 21, dadurch gekennzeichnet, daß eine elektrische Widerstandsheizung in den Isolierkörper integriert ist.
    31. Aufbau nach einem der Ansprüche 1 bis 21, dadurch gekennzeichnet, daß zwischen dem Belag (1) und dem Isolierkörper (3) eine elektrische Widerstandheizung (26) angeordnet ist.
    32. Aufbau nach einem der Ansprüche 30 oder 31, dadurch gekennzeichnet, daß zwischen der elektrischen Widerstandsheizung (26) und dem Belag (1) eine Metallplatte (28) und /oder eine wärmespeichernde Schicht (29) zur Aufnahme des Wärmeflusses und zur raumseitigen Abstrahlung der von der elektrischen Widerstandsheizung erzeugten Wärmeenergie über den Belag (1) angeordnet ist.
    33. Aufbau nach einem der Ansprüche 1 bis 21, dadurch gekennzeichnet, daß zwischen dem Isolierkörper (3) und dem Belag (1) eine wärmespeichernde Schicht (29) angeordnet ist, wobei in die wärmespeichernde Schicht eine elektrische Widerstandsheizung integriert ist.
    34. Aufbau nach Anspruch 33, dadurch gekennzeichnet, daß die wärmespeichernde Schicht (29) eine mit einem textilen Gewebe (30) verstärkte Estrich-, Gips- oder Zementschicht ist, und die elektrische Widerstandsheizung ein in das textile Gewebe eingewebtes Heizleitemetz beinhaltet.
    35. Aufbau nach einem der Ansprüche 32 bis 34, dadurch gekennzeichnet, daß die elektrische Widerstandsheizung in Abhängigkeit von der Außentemperatur oder der Raumtemperatur regelbar ist.
    36. Verwendung von textilen Abstandsgeweben oder -gewirken deren biegesteife Stützfäden einen formhattigen Hohlraum tragend aufspannen können zum Aufbau von hochwärmegedämmten Fußböden, Decken oder Wänden gemäß einem der Ansprüche 1 bis 35.
    37. Verwendung von textilen Abstandsgeweben oder -gewirken nach Anspruch 36, dadurch gekennzeichnet, daß die Abstandsgewebe oder -gewirke mit Harz beschichtet und dadurch zu einem biegesteifen, selbsttragenden und Lasten aufnehmenden Isolierkörper ausgehärtet sind.
    38. Verwendung nach Anspruch 37, dadurch gekennzeichnet, daß der Isolierkörper zwei Deckflächen (6a, 6b) aufweist, wobei wenigstens eine der Deckflächen mit einer Holzplatte oder einer Funierholzschicht (32) verbunden ist.
    39. Verwendung nach Anspruch 38, dadurch gekennzeichnet, daß der Isolierkörper randumlaufend mit einer aushärtenden Kunststoffschaummasse ausgeschäumt und an wenigstens einer seiner Kantenflächen nach Art einer Holzpaneele mit einer Nut versehen ist.
    EP96902916A 1995-01-25 1996-01-24 Hochwärmedämmend ausgerüsteter boden-, decken- oder wandaufbau Expired - Lifetime EP0805902B1 (de)

    Applications Claiming Priority (5)

    Application Number Priority Date Filing Date Title
    DE19502238 1995-01-25
    DE19502238A DE19502238A1 (de) 1995-01-25 1995-01-25 Hochwärmedämmend ausgerüsteter Boden-, Decken- oder Wandaufbau
    DE29520224U 1995-12-20
    DE29520224U DE29520224U1 (de) 1995-01-25 1995-12-20 Hochwärmedämmend ausgerüsteter Boden-, Decken- oder Wandaufbau
    PCT/EP1996/000289 WO1996023110A1 (de) 1995-01-25 1996-01-24 Hochwärmedämmend ausgerüsteter boden-, decken- oder wandaufbau

    Publications (2)

    Publication Number Publication Date
    EP0805902A1 EP0805902A1 (de) 1997-11-12
    EP0805902B1 true EP0805902B1 (de) 2004-09-29

    Family

    ID=26011855

    Family Applications (1)

    Application Number Title Priority Date Filing Date
    EP96902916A Expired - Lifetime EP0805902B1 (de) 1995-01-25 1996-01-24 Hochwärmedämmend ausgerüsteter boden-, decken- oder wandaufbau

    Country Status (5)

    Country Link
    EP (1) EP0805902B1 (de)
    AT (1) ATE278075T1 (de)
    AU (1) AU4713896A (de)
    DE (1) DE19680027D2 (de)
    WO (1) WO1996023110A1 (de)

    Families Citing this family (4)

    * Cited by examiner, † Cited by third party
    Publication number Priority date Publication date Assignee Title
    ES2182700B1 (es) * 2001-05-31 2004-06-16 Construcciones Polies-Yes Pores, S.L. Pavimento aislante.
    EP2423398A1 (de) * 2010-08-23 2012-02-29 insu-fast GmbH Vorrichtung zur Innenisolation einer Bauteilwand
    EP3626902B8 (de) * 2018-09-21 2021-11-24 Martin Kleppe Verbundwandkonstruktion für ein bauwerk
    CN114103375A (zh) * 2021-11-26 2022-03-01 铁力山(北京)控制技术有限公司 一种具有储热性能的碳纤维复合电热木板及其制备方法

    Family Cites Families (6)

    * Cited by examiner, † Cited by third party
    Publication number Priority date Publication date Assignee Title
    DE2013115A1 (de) * 1970-03-19 1971-09-30 Becker O Flexibles Verbundelement mit Isolierung
    DE2241836A1 (de) * 1972-08-25 1974-03-07 Mahr Soehne Gmbh Theo Luftfuehrungs-rohrbatterien fuer fussboden-warmluftheizung
    DE3723681A1 (de) * 1987-07-17 1989-01-26 Vorwerk Co Interholding Bauteil auf velours-gewebebasis und verfahren zu seiner herstellung
    NL8902815A (nl) * 1989-11-14 1991-06-03 Cornelius Aaldijk Buigzaam scheurdoorzettingverhinderend scheidbaar baanvormig verbindingsmateriaal, bestaande uit twee, door een scheidingslaag gescheiden en door verbreekbare bruggen met elkaar verbonden bevestigingslagen, alsmede werkwijze voor het gebruik van dit materiaal en gevormde bekledingslaagopbouw.
    FI87480C (fi) * 1990-11-27 1993-01-11 Racert Oy Ljusgenomslaeppande vaermeisolering
    FR2703378B1 (fr) * 1993-03-30 1995-06-02 Pierre Clement Elément de paroi à isolation dynamique pour le renouvellement d'air dans les bâtiments en vue de les rendre plus confortables et plus économiques.

    Also Published As

    Publication number Publication date
    DE19680027D2 (de) 1999-05-12
    ATE278075T1 (de) 2004-10-15
    WO1996023110A1 (de) 1996-08-01
    AU4713896A (en) 1996-08-14
    EP0805902A1 (de) 1997-11-12

    Similar Documents

    Publication Publication Date Title
    EP2390433B1 (de) Fertigbauelemente und Herstellungsverfahren dafür
    AT403599B (de) Fertigbauelement sowie verfahren zur herstellung und bauseitigen anwendung
    EP3532681B1 (de) Multifunktionale deckenkonstruktion
    DE29916723U1 (de) Modulplatte für elektrische Flächenheizung von Fußböden oder Wänden
    EP0805902B1 (de) Hochwärmedämmend ausgerüsteter boden-, decken- oder wandaufbau
    DE4338185C2 (de) Verfahren zur Herstellung eines Fertighauses
    DE3919862A1 (de) Verlorene schalungen
    DE102012005655A1 (de) Verfahren zur Herstellung einer Flächenheizung
    AT403936B (de) Wandelement
    DE29520224U1 (de) Hochwärmedämmend ausgerüsteter Boden-, Decken- oder Wandaufbau
    DE19748352A1 (de) Verfahren und Schichtelemente zur thermischen und körperorientierten Beherrschung und Steuerung des Innenklimas
    EP0111763B1 (de) Fliese, Fliesenbaustein
    EP1826330A2 (de) Verfahren zur Herstellung eines Fertigteil-Wandelements
    EP0132499B1 (de) Gebäudesystem mit zugeordneter, in sich geschlossener Niedertemperaturheizung bzw. äquivalenter Kühlung
    AT519367B1 (de) Wand für ein gebäude
    EP2706159B1 (de) Verfahren zur verminderung oder zum unterbinden von feuchte- und/oder schimmelbildung bzw. -schaden in wärmegedämmten bereichen sowie vor feuchte- und/oder schimmelbildung bzw. -schaden geschützte gebäude und gebäudeteile
    DE102016117032A1 (de) Deckschichtbauelement und Trockenbausystem
    WO2023285301A1 (de) Stapelbares und strassentransportfähiges mikro-modulhaus
    WO1997015171A9 (de) Elektrische widerstandsheizung zur raumklimatisierung in wohnungen und gebäuden
    DE3010063A1 (de) Klimatisierungseinrichtung fuer gebaeude
    DE3021537A1 (de) Isolierung fuer den hoch- und tiefbau
    AT405312B (de) Wandaufbau
    DE102009016379A1 (de) Verlegemörtelboden mit Fussbodenheizung
    AT1730U1 (de) Wandkonstruktion für und bauwerke in ständerbauweise
    EP0744505B1 (de) Dachbalkon oder dergl.

    Legal Events

    Date Code Title Description
    PUAI Public reference made under article 153(3) epc to a published international application that has entered the european phase

    Free format text: ORIGINAL CODE: 0009012

    17P Request for examination filed

    Effective date: 19970826

    AK Designated contracting states

    Kind code of ref document: A1

    Designated state(s): AT CH DE GB LI

    17Q First examination report despatched

    Effective date: 19971106

    GRAP Despatch of communication of intention to grant a patent

    Free format text: ORIGINAL CODE: EPIDOSNIGR1

    GRAS Grant fee paid

    Free format text: ORIGINAL CODE: EPIDOSNIGR3

    GRAA (expected) grant

    Free format text: ORIGINAL CODE: 0009210

    AK Designated contracting states

    Kind code of ref document: B1

    Designated state(s): AT CH DE GB LI

    PG25 Lapsed in a contracting state [announced via postgrant information from national office to epo]

    Ref country code: GB

    Free format text: LAPSE BECAUSE OF FAILURE TO SUBMIT A TRANSLATION OF THE DESCRIPTION OR TO PAY THE FEE WITHIN THE PRESCRIBED TIME-LIMIT

    Effective date: 20040929

    REG Reference to a national code

    Ref country code: GB

    Ref legal event code: FG4D

    Free format text: NOT ENGLISH

    REG Reference to a national code

    Ref country code: CH

    Ref legal event code: EP

    REF Corresponds to:

    Ref document number: 59611102

    Country of ref document: DE

    Date of ref document: 20041104

    Kind code of ref document: P

    REG Reference to a national code

    Ref country code: CH

    Ref legal event code: NV

    Representative=s name: BUGNION S.A.

    GBV Gb: ep patent (uk) treated as always having been void in accordance with gb section 77(7)/1977 [no translation filed]

    Effective date: 20040929

    PLBE No opposition filed within time limit

    Free format text: ORIGINAL CODE: 0009261

    STAA Information on the status of an ep patent application or granted ep patent

    Free format text: STATUS: NO OPPOSITION FILED WITHIN TIME LIMIT

    26N No opposition filed

    Effective date: 20050630

    PGFP Annual fee paid to national office [announced via postgrant information from national office to epo]

    Ref country code: AT

    Payment date: 20070111

    Year of fee payment: 12

    PGFP Annual fee paid to national office [announced via postgrant information from national office to epo]

    Ref country code: CH

    Payment date: 20070115

    Year of fee payment: 12

    PGFP Annual fee paid to national office [announced via postgrant information from national office to epo]

    Ref country code: DE

    Payment date: 20070327

    Year of fee payment: 12

    REG Reference to a national code

    Ref country code: CH

    Ref legal event code: PL

    PG25 Lapsed in a contracting state [announced via postgrant information from national office to epo]

    Ref country code: LI

    Free format text: LAPSE BECAUSE OF NON-PAYMENT OF DUE FEES

    Effective date: 20080131

    Ref country code: DE

    Free format text: LAPSE BECAUSE OF NON-PAYMENT OF DUE FEES

    Effective date: 20080801

    Ref country code: CH

    Free format text: LAPSE BECAUSE OF NON-PAYMENT OF DUE FEES

    Effective date: 20080131

    PG25 Lapsed in a contracting state [announced via postgrant information from national office to epo]

    Ref country code: AT

    Free format text: LAPSE BECAUSE OF NON-PAYMENT OF DUE FEES

    Effective date: 20080124