EP0742418A2 - Plattenwärmetauscher - Google Patents
Plattenwärmetauscher Download PDFInfo
- Publication number
- EP0742418A2 EP0742418A2 EP96105405A EP96105405A EP0742418A2 EP 0742418 A2 EP0742418 A2 EP 0742418A2 EP 96105405 A EP96105405 A EP 96105405A EP 96105405 A EP96105405 A EP 96105405A EP 0742418 A2 EP0742418 A2 EP 0742418A2
- Authority
- EP
- European Patent Office
- Prior art keywords
- heat exchanger
- edge
- plate
- plate heat
- horizontal
- Prior art date
- Legal status (The legal status is an assumption and is not a legal conclusion. Google has not performed a legal analysis and makes no representation as to the accuracy of the status listed.)
- Granted
Links
- 238000013461 design Methods 0.000 claims abstract description 20
- 239000000463 material Substances 0.000 claims description 7
- 239000002826 coolant Substances 0.000 claims description 3
- 238000005516 engineering process Methods 0.000 claims description 3
- 239000012530 fluid Substances 0.000 claims description 3
- 238000005304 joining Methods 0.000 claims description 3
- 238000005482 strain hardening Methods 0.000 claims description 2
- 239000011241 protective layer Substances 0.000 claims 1
- 238000005476 soldering Methods 0.000 description 19
- XLYOFNOQVPJJNP-UHFFFAOYSA-N water Substances O XLYOFNOQVPJJNP-UHFFFAOYSA-N 0.000 description 16
- 238000000034 method Methods 0.000 description 8
- 238000001816 cooling Methods 0.000 description 5
- 238000004519 manufacturing process Methods 0.000 description 5
- 238000012546 transfer Methods 0.000 description 3
- 241000446313 Lamella Species 0.000 description 2
- 238000005336 cracking Methods 0.000 description 2
- 238000006073 displacement reaction Methods 0.000 description 2
- 230000002349 favourable effect Effects 0.000 description 2
- 206010000496 acne Diseases 0.000 description 1
- 230000002730 additional effect Effects 0.000 description 1
- 229910052782 aluminium Inorganic materials 0.000 description 1
- XAGFODPZIPBFFR-UHFFFAOYSA-N aluminium Chemical compound [Al] XAGFODPZIPBFFR-UHFFFAOYSA-N 0.000 description 1
- 230000005540 biological transmission Effects 0.000 description 1
- 230000015572 biosynthetic process Effects 0.000 description 1
- 238000005219 brazing Methods 0.000 description 1
- 238000011161 development Methods 0.000 description 1
- 230000018109 developmental process Effects 0.000 description 1
- 238000007688 edging Methods 0.000 description 1
- 238000009434 installation Methods 0.000 description 1
- 229910052751 metal Inorganic materials 0.000 description 1
- 239000002184 metal Substances 0.000 description 1
- 230000008092 positive effect Effects 0.000 description 1
- 238000003825 pressing Methods 0.000 description 1
- 238000012545 processing Methods 0.000 description 1
- 238000000926 separation method Methods 0.000 description 1
- 229910000679 solder Inorganic materials 0.000 description 1
- 239000004575 stone Substances 0.000 description 1
- 238000012549 training Methods 0.000 description 1
Images
Classifications
-
- F—MECHANICAL ENGINEERING; LIGHTING; HEATING; WEAPONS; BLASTING
- F28—HEAT EXCHANGE IN GENERAL
- F28D—HEAT-EXCHANGE APPARATUS, NOT PROVIDED FOR IN ANOTHER SUBCLASS, IN WHICH THE HEAT-EXCHANGE MEDIA DO NOT COME INTO DIRECT CONTACT
- F28D9/00—Heat-exchange apparatus having stationary plate-like or laminated conduit assemblies for both heat-exchange media, the media being in contact with different sides of a conduit wall
- F28D9/0031—Heat-exchange apparatus having stationary plate-like or laminated conduit assemblies for both heat-exchange media, the media being in contact with different sides of a conduit wall the conduits for one heat-exchange medium being formed by paired plates touching each other
- F28D9/0043—Heat-exchange apparatus having stationary plate-like or laminated conduit assemblies for both heat-exchange media, the media being in contact with different sides of a conduit wall the conduits for one heat-exchange medium being formed by paired plates touching each other the plates having openings therein for circulation of at least one heat-exchange medium from one conduit to another
- F28D9/005—Heat-exchange apparatus having stationary plate-like or laminated conduit assemblies for both heat-exchange media, the media being in contact with different sides of a conduit wall the conduits for one heat-exchange medium being formed by paired plates touching each other the plates having openings therein for circulation of at least one heat-exchange medium from one conduit to another the plates having openings therein for both heat-exchange media
Definitions
- the invention relates to a plate heat exchanger, consisting of a plurality of stacked trough-shaped heat exchanger plates with a stepped, circumferential, outer edge, the edges being joined by joining, in particular soldered.
- Plate heat exchangers of this type are known for example from EP 0250439 and 0258236.
- the plate heat exchangers are composed of individual trough-shaped heat exchanger plates of different designs, in particular different edge designs. Such heat exchanger plates are produced by suitable forming processes, for example deep drawing.
- the stack is designed so that the heat exchanger plates with a single step edge design alternate with those with a double step edge design.
- the heat exchanger plates also differ in their other design in such a way that they are suitable for being stacked on top of one another and connected in terms of joining technology to form separate flow channels through which the heat-exchanging fluids can flow.
- edge design is unsatisfactory for a quality soldering process. As it cannot guarantee sufficient rigidity of the heat exchanger plates, the positioning and fixing of the plates stacked one inside the other will often be incorrect.
- the object of the invention is to further develop a plate heat exchanger of the type described in the introduction in such a way that its manufacture becomes simpler and in particular enables a higher quality of the soldering process.
- the pressing force is only transmitted vertically via the horizontal gradation and the vertical edge, so that the heat exchanger plates cannot slip even during the soldering process, but rather retain their desired position.
- connection surface main connection surface
- pressure soldering can take the place of gap soldering.
- connection area leads to an effective enlargement of this area and makes an additional contribution to the quality-appropriate soldering.
- the channel-like depression in the bottom of the heat exchanger plates improves the sharpest possible design of the rectangular outer edge. This is also a contribution to the correct positioning and to increase the connection area. Due to the material shift occurring in this area, the rigidity of the heat exchanger plates is further increased and cracking is inhibited.
- An additional effect of the channel-like depression that is particularly worth mentioning is that the vertical force F is concentrated on the edge region or the main connecting surface, because the fins usually arranged between the heat exchanger plates are pressed into the channel-like circumferential depression and consequently reduce their resistance to the force F. .
- the functionally unimportant outer radii in the area of the horizontal gradation have been chosen to be relatively large in order to counteract the risk of cracking.
- the invention provides heat exchanger plates with a uniformly graduated edge design, which lead to advantages in terms of production technology.
- the feature of claim 8 brings about a more stable design against mechanical influences, for example stone chipping, which occurs relatively frequently when the plate heat exchanger according to the invention is installed in motor vehicles.
- Claims 11 to 14 additionally lead to a lower overall height of the heat exchanger and to a lower use of materials. Furthermore, the arrangement of the horizontal gradation at different heights, in conjunction with the turbulence-generating elevations impressed in the base of the heat exchanger plates, allows the plate heat exchanger to be better adapted to different cooling performance parameters. In known plate heat exchangers, in which the individual heat exchanger plates are always arranged with the same vertical distances, the cooling capacity can be varied by the number of heat exchanger plates, by measures improving the heat transfer, etc. The invention here provides an additional possibility of adapting the cooling capacity.
- the water side of the heat exchanger is preferably formed with the lower vertical distance.
- all of the heat exchanger plates are alternatively formed in their base with turbulence-generating elevations, which can be provided in different numbers, shape, arrangement and overall height.
- the height extension within a heat exchanger plate should be the same.
- the plate heat exchanger 1 is made of aluminum sheet. It serves to exchange heat between oil and water.
- the outer shape of the plate heat exchanger 1 can be any, that is, it is adapted to the particular application and the installation location.
- the plate heat exchanger 1 consists of six heat exchanger plates 2, which are stacked one inside the other and acted upon by a vertical force F, which is generated by the weight of a metal block placed thereon. Between the heat exchanger plates 2 fins 13 are arranged, which serve to improve the heat transfer. For a quality-appropriate soldering of all parts of the plate heat exchanger 1, as shown in FIG. 1, the exertion of a force F on the stack and in particular on the edge area is of great importance.
- the lamellae 13 are pressed into the channel-like recess 6 worked into the bottom 5 in the edge region. You thus get the possibility to avoid, which leads to the fact that the force F is concentrated on the horizontal main connecting surface 3.
- the main connection surface 3 between the heat exchanger plates 2 is formed by the lower edge of the respective upper heat exchanger plate 2a and the horizontal step 4 in the edge of the heat exchanger plate 2b located below it. Pressure soldering is possible on this surface 3, which guarantees a better quality of the soldered connection.
- the main connection surface 3 is through the vertical connection surface located between the legs 12 has been expanded or enlarged, in which the solder runs and ensures an additional seal.
- Each heat exchanger plate 2 has the same edge formation, as can be seen particularly from FIGS. 1 and 2.
- 2 shows further important details. 2 mm were determined and provided as a favorable dimension for the width b of the circumferential channel-like depression 6.
- the outer radius 7 of the lower outer edge 8 could be minimized, which has a positive effect on the enlargement of the main connection area 3.
- the horizontal gradation 4 produced by material displacement has a sharp edge 41 on the inside and a rounding 42 with a correspondingly large radius on the outside.
- the edge design also has a kink to the outside at a distance from the horizontal gradation 4.
- FIG. 3 shows a further gradation 10 of the edge with a vertical edge termination 11.
- all of the designs already mentioned, such as channel-like depression 6, horizontal gradation 4 with the inner edge 41 and the rounding 42, can be seen from this figure.
- FIG. 4 shows a plate heat exchanger 1 which is already connected to a finished block by brazing.
- the lamellae 13 usually present in the flow channels 14 were not drawn.
- the separation of the flow channels 14 for, for example, oil and water has been ensured in this embodiment in that the neckings for the inflow and outflow of the fluids are each formed opposite to a horizontal plane.
- the flow channels 14 thus sealed against one another then, viewed in the vertical direction, alternately lead e.g. Oil or water.
- FIG 5 shows the area of the heat exchanger 1 with the coolant inlet side (water).
- the water flows through the plate heat exchanger 1 according to the arrows 15 shown.
- the flow channels 16, 17 have different cross-sectional areas.
- the flow channel 17 for the water side has a lower height h than the flow channel 16 for the oil side.
- Turbulence-generating knobs 18 are worked into the bottom 5 of the heat exchanger plates 2b and the water flows around them.
- the upper end 19 of each knob 18 is soldered to the bottom 5 of the heat exchanger plate 2 a arranged above, whereby the compactness and resistance to internal pressure has been significantly improved.
- the vertical height h of the knobs 18 is identical to the arrangement height of the horizontal step 4 in the vertically erected edge 20.
- the flow channel 16 for the oil side is the one with the greater height H, this height H also being equal to the arrangement height of the horizontal step 4 in the vertical direction circumferential edge 20 of the heat exchanger plate 2a.
- each heat exchanger plate 2a; 2b also has a relatively sharp-edged lower edge 21 and channel-like recess 6 embossed in the base 5 as a circumferential groove 22.
- the horizontal step 4 is provided in two different heights H; h in each heat exchanger plate 2a; 2b.
- the flow paths for water and oil in the flow channels 16; 17 are illustrated by the arrows 15; 24 of FIG. 6.
- the flatter flow channels 17 on the water side have also been equipped with knobs 18 stamped into the bottom 5.
- the larger flow channels 16 on the oil side accommodate fins 13.
- the upper end of the plate heat exchanger 1 is formed by a cover plate 25, which could alternatively be equipped to accommodate the connections for the media.
- the structural structure of the plate heat exchanger 1 can best be seen from the exploded view in FIG. 7.
- the housing-free plate heat exchanger 1 has a base plate 26 at the bottom, which serves to fasten the plate heat exchanger 1, for example in a motor vehicle, and at the same time accommodates the connecting flanges (not shown) for the media.
- the plate heat exchanger 1 implemented in practice will consist of a plurality of these elements, which are arranged as described, depending on the cooling capacity required. The plate provided between the upper heat exchanger plate 2b and the cover plate 25 was not drawn.
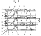
- FIG. 8 An alternative embodiment is shown in FIG. 8.
- oil-side fins 13 were dispensed with.
- turbulence-generating and distance-forming elevations knocks 18
- This embodiment leads to lower manufacturing costs, fewer individual parts and results in lower pressure losses. In terms of performance, a compromise was achieved that is of interest for certain applications.
Landscapes
- Engineering & Computer Science (AREA)
- Physics & Mathematics (AREA)
- Thermal Sciences (AREA)
- Mechanical Engineering (AREA)
- General Engineering & Computer Science (AREA)
- Heat-Exchange Devices With Radiators And Conduit Assemblies (AREA)
Abstract
Description
- Die Erfindung betrifft einen Plattenwärmetauscher, bestehend aus mehreren ineinandergestapelten wannenförmigen Wärmetauscherplatten mit abgestuftem, umlaufendem, äußerem Rand, wobei die Ränder fügetechnisch verbunden, insbesondere gelötet sind.
- Plattenwärmetauscher dieser Art sind beispielsweise aus den EP 0250439 und 0258236 bekannt.
- Die Plattenwärmetauscher sind aus einzelnen wannenförmigen Wärmetauscherplatten unterschiedlicher Gestaltung, insbesondere unterschiedlicher Randgestaltung zusammengesetzt. Solche Wärmetauscherplatten werden durch geeignete umformtechnische Verfahren, bspw. Tiefziehen, hergestellt. Die Stapelweise ist so ausgeführt, daß sich die Wärmetauscherplatten mit einfach abgestufter Randgestaltung mit solchen mit zweifach abgestufter Randgestaltung abwechseln.
- Die Wärmetauscherplatten unterscheiden sich außerdem in ihrer übrigen Gestaltung derart, daß sie geeignet sind, übereinandergestapelt und fügetechnisch verbunden, voneinander getrennte Strömungskanäle zu bilden, durch die die wärmeaustauschenden Fluide strömen können.
- Wegen der beschriebenen unterschiedlichen Gestaltung der Wärmetauscherplatten ist eine relativ aufwendige Herstellung notwendig, die durch mehrere Bearbeitungsgänge mit verschiedenen Werkzeugen gekennzeichnet ist.
- Die Randgestaltung ist für einen qualitätsgerechten Lötprozeß unbefriedigend. Da sie auch keine ausreichende Steifigkeit der Wärmetauscherplatten gewährleisten kann, wird die Positionierung und Fixierung der ineinandergestapelten Platten oft fehlerhaft sein.
- Die letztgenannten Nachteile besitzt auch der aus der DE-OS 2 404 630 bekannte Wärmetauscher, obwohl dieser bereits eine einheitliche Randgestaltung aufweist. Der Rand zeigt zwei aufeinanderfolgende Abstufungen, die jedoch ebenfalls dazu führen, daß in einem zum Löten vorbereiteten Stapel von Wärmetauscherplatten, der mit einer vertikalen Kraft beaufschlagt werden muß, die Ränder nach außen verbogen werden und demzufolge keine exakte Positionierung der einzelnen Wärmetauscherplatten sowie keine ausreichende Lötqualität gewährleisten können.
- Demgemäß besteht die Aufgabe der Erfindung darin, einen Plattenwärmetauscher der eingangs beschriebenen Art so weiterzuentwickeln, daß seine Herstellung einfacher wird und insbesondere eine höhere Qualität des Lötprozesses ermöglicht.
- Zur Lösung dieser Aufgabe ist erfindungsgemäß vorgesehen, den Plattenwärmetauscher mit den kennzeichnenden Merkmalen des Anspruchs 1 auszustatten.
- Vorteilhafte Weiterbildungen enthalten die Ansprüche 2 bis 14. Alle in den Patentansprüchen offenbarten Merkmale sollen als an dieser Stelle ausdrücklich erwähnt gelten.
- Die horizontale Abstufung des Randes erfolgt durch Materialverschiebung, die zu einer höheren Kaltverfestigung führt. Dadurch wird jeder Wärmetauscherplatte eine höhere Steifigkeit verliehen, die eine maßgenaue Stapelung und Positionierung vor dem Lötprozeß ermöglicht.
- Die Preßkraft wird gemäß der Erfindung nur vertikal über die horizontale Abstufung und dem vertikalen Rand übertragen, so daß die Wärmetauscherplatten auch während des Lötprozesses nicht verrutschen können, sondern ihre Sollposition behalten.
- Eine höhere Qualität des Lötprozesses ist vor allem dadurch erreicht worden, daß der wesentliche Teil der Verbindungsfläche (Hauptverbindungsfläche) durch die horizontale Abstufung gebildet wird und somit die Drucklötung an die Stelle der Spaltlötung treten kann.
- Die Einbeziehung des sich an die horizontale Abstufung anschließenden vertikalen Spalts in die Verbindungsfläche führt zu einer effektiven Vergrößerung dieser Fläche und leistet einen zusätzlichen Beitrag für die qualitätsgerechte Verlötung.
- Das Merkmal des Anspruchs 5, die kanalartige Vertiefung im Boden der Wärmetauscherplatten, verbessert die möglichst scharfkantige Ausbildung der rechtwinkligen Außenkante. Dies ist ebenfalls ein Beitrag zur korrekten Positionierung und zur Vergrößerung der Verbindungsfläche. Durch die auch in diesem Bereich auftretende Materialverschiebung wird die Steifigkeit der Wärmetauscherplatten weiter erhöht und die Rißbildung gehemmt. Eine besonders zu erwähnende zusätzliche Wirkung der kanalartigen Vertiefung besteht darin, daß die vertikale Kraft F auf den Randbereich beziehungsweise die Hauptverbindungsfläche konzentriert wird, weil die zwischen den Wärmetauscherplatten üblicherweise angeordneten Lamellen in die kanalartige umlaufende Vertiefung gedrückt werden und demzufolge ihren Widerstand gegen die Kraft F verringern.
- Die funktionsunwichtigen Außenradien im Bereich der horizontalen Abstufung sind relativ groß gewählt worden, um der Gefahr der Rißbildung entgegenzuwirken.
- Darüber hinaus stellt die Erfindung Wärmetauscherplatten mit einheitlich abgestufter Randgestaltung zur Verfügung, die zu fertigungstechnischen Vorteilen führen.
- Das Merkmal des Anspruches 8 bewirkt eine stabilere Gestaltung gegen mechanische Einwirkungen, zum Beispiel Steinschlag, der relativ häufig auftritt, wenn der erfindungsgemäße Plattenwärmetauscher in Kraftfahrzeugen eingebaut ist.
- Demgegenüber gestattet die Ausbildung des Plattenwärmetauschers mit den Merkmalen des Anspruches 9 eine platzsparende Anordnung.
- Die Ansprüche 11 bis 14 führen zusätzlich zu einer geringeren Gesamtbauhöhe des Wärmetauschers und zu geringerem Materialeinsatz. Ferner gestattet die Anordnung der horizontalen Abstufung in verschiedenen Höhen, in Verbindung mit den im Boden der Wärmetauscherplatten eingeprägten turbulenzerzeugenden Erhebungen eine bessere Anpassung des Plattenwärmetauschers an verschiedene Kühlleistungsparameter. Bei bekannten Plattenwärmetauschern, bei denen die einzelnen Wärmetauscherplatten mit stets gleichen vertikalen Abständen angeordnet sind, kann die Kühlleistung durch die Anzahl der Wärmetauscherplatten, durch den Wärmeübergang verbessernde Maßnahmen usw. variiert werden. Die Erfindung stellt hier eine zusätzliche Möglichkeit der Kühlleistungsanpassung zur Verfügung.
- Vorzugsweise ist die Wasserseite des Wärmetauschers mit dem niedrigeren vertikalen Abstand ausgebildet. Durch die somit bewirkte Verengung des Strömungskanals auf der Wasserseite wird Einfluß auf die Strömungsgeschwindigkeit des Mediums und dadurch auch auf die Leistung genommen. Nach weiteren erfinderischen Merkmalen sind alternativ sämtliche Wärmetauscherplatten in ihrem Boden mit turbulenzerzeugenden Erhebungen ausgebildet, wobei diese in unterschiedlicher Anzahl, Formgestaltung, Anordnung und Bauhöhe vorgesehen sein können. Die Höhenerstreckung innerhalb einer Wärmetauscherplatte sollte jedoch gleich sein. Auch diese Merkmale erlauben eine günstige kühlleistungsmäßige Anpassung. Die turbulenzerzeugenden Erhebungen, deren Höhenerstreckung der Höhe der horizontalen Abstufung des Randes entspricht, besitzen darüber hinaus auch eine abstandserzeugende und stabilitätsverbessernde Funktion, weil jede Erhebung mit ihrem oberen Abschluß am Boden der darüber angeordneten Wärmetauscherplatte verbunden ist. Die Kompaktheit eines solchen Wärmetauschers ist somit verbessert worden Nachfolgend wird die Erfindung anhand eines Ausführungsbeispiels praktisch veranschaulicht. Dazu wird auf die Zeichnung Bezug genommen.
- Es zeigen:
- Fig. 1: Die Randgestaltung in einem vergrößerten Teilquerschnitt eines zum Löten vorbereiteten Stapels von Wärmetauscherplatten.
- Fig. 2: Teilquerschnitt durch zwei ineinandergestapelte wannenförmige Wärmetauscherplatten mit Einzelheiten der Randgestaltung
- Fig. 3: Eine andere Ausführungsform anhand einer einzelnen Wärmetauscherplatte
- Fig. 4: Ein Plattenwärmetauscher in einem Querschnitt
- Fig. 5: Teilquerschnitt eines Stapels von Wärmetauscherplatten in vergrößerter Ausführung
- Fig. 6: Querschnitt durch einen Plattenwärmetauscher mit Strömungswegen der Medien
- Fig. 7: Explositionsdarstellung eines Plattenwärmetauschers
- Fig. 8: Vergrößerter Teilquerschnitt einer Variante ohne Turbulenzeinlagen
- Der Plattenwärmetauscher 1 wird aus Al-Blech hergestellt. Er dient dem Wärmeaustausch zwischen Öl und Wasser. Die äußere Form des Plattenwärmetauschers 1 kann beliebig sein, d.h. sie ist dem jeweiligen Einsatzzweck und dem Einbauort angepaßt. Gemäß Fig. 1 besteht der Plattenwärmetauscher 1 aus sechs Wärmetauscherplatten 2, die ineinandergestapelt und mit einer vertikalen Kraft F beaufschlagt sind, die durch das Gewicht eines aufgelegten Metallklotzes erzeugt wird. Zwischen den Wärmetauscherplatten 2 sind Lamellen 13 angeordnet, die der Verbesserung des Wärmeübergangs dienen. Für eine qualitätsgerechte Verlötung sämtlicher Teile des Plattenwärmetauschers 1, wie er in Fig. 1 gezeigt ist, ist die Ausübung einer Kraft F auf den Stapel und insbesondere auf den Randbereich von großer Bedeutung. Die Lamellen 13 werden im Randbereich in die im Boden 5 eingearbeitete kanalartige Vertiefung 6 gedrückt. Sie erhalten somit die Möglichkeit auszuweichen, was dazu führt, daß die Kraft F auf die horizontale Hauptverbindungsfläche 3 konzentriert wird. Die Hauptverbindungsfläche 3 zwischen den Wärmetauscherplatten 2 wird durch den unteren Rand der jeweils oberen Wärmetauscherplatte 2a und der horizontalen Abstufung 4 im Rand der jeweils darunter befindlichen Wärmetauscherplatte 2b gebildet. Auf dieser Fläche 3 ist die Drucklötung möglich, die eine bessere Qualität der Lötverbindung garantiert. Die Hauptverbindungsfläche 3 ist durch die zwischen den Schenkeln befindliche vertikale Verbindungsfläche 12 erweitert beziehungsweise vergrößert worden, in der das Lot verläuft und eine zusätzliche Abdichtung sicherstellt. Jede Wärmetauscherplatte 2 besitzt die gleiche Randausbildung, wie besonders aus den Fig. 1 und 2 hervorgeht.
- Aus der Fig. 2 gehen weitere wichtige Einzelheiten hervor. Als günstige Abmessung für die Breite b der umlaufenden kanalartigen Vertiefung 6 wurden 2mm ermittelt und vorgesehen. Der Außenradius 7 der unteren Außenkante 8 konnte minimiert werden, was sich positiv auf die Vergrößerung der Hauptverbindungsfläche 3 auswirkt. Die durch Materialverschiebung hergestellte horizontale Abstufung 4 hat an der Innenseite eine scharfe Kante 41 und außen eine Abrundung 42 mit entsprechend großem Radius.
- Die Randgestaltung besitzt ferner in einem Abstand von der horizontalen Abstufung 4 einen Knick nach außen. Im Unterschied dazu zeigt die Fig.3 eine weitere Abstufung 10 des Randes mit einem vertikalen Randabschluß 11. Außerdem gehen sämtliche bereits erwähnten Ausbildungen, wie kanalartige Vertiefung 6, horizontale Abstufung 4 mit der Innenkante 41 und der Abrundung 42 aus dieser Abbildung hervor.
- Die Fig.4 zeigt einen Plattenwärmetauscher 1, der bereits durch Hartlötung zu einem fertigen Block verbunden ist. Die in den Strömungskanälen 14 üblicherweise vorhandenen Lamellen 13 wurden nicht gezeichnet. Die Trennung der Strömungskanäle 14 für beispielsweise Öl und Wasser ist in diesem Ausführungsbeispiel dadurch sichergestellt worden, daß die Anhalsungen für den Ein- und Auslauf der Fluide jeweils entgegengesetzt von einer horizontalen Ebene ausgebildet sind. Beim Stapeln der Wärmetauscherplatten 2 kommen dann die nach unten weisenden Anhalsungen mit den nach oben weisenden Anhalsungen zur Anlage und bilden geeignete Verbindungsflächen für den Lötprozeß.
- Die somit gegeneinander abgedichteten Strömungskanäle 14 führen dann, in vertikaler Richtung betrachtet, jeweils abwechselnd z.B. Öl oder Wasser.
- Es wurde hier darauf verzichtet eine weitere Draufsicht der Fig.4 darzustellen, aus der dann die Ein-und Austrittsöffnungen für die Medien hervorgehen würden, weil dieser Sachverhalt beziehungsweise diese Ausbildung dem Fachmann in bester Weise geläufig ist.
- In dem in Fig.5 gezeigten Ausschnitt ist der Bereich des Wärmetauschers 1 mit der Kühlmitteleintrittsseite (Wasser) dargestellt. Das Wasser durchströmt den Plattenwärmetauscher 1 gemäß den eingezeichneten Pfeilen 15. Die Strömungskanäle 16;17 besitzen unterschiedliche Querschnittsflächen. Der Strömungkanal 17 für die Wasserseite weist eine geringere Höhe h auf als der Strömungskanal 16 für die Ölseite.
- Im Boden 5 der Wärmetauscherplatten 2b sind turbulenzerzeugende Noppen 18 eingearbeitet, die von dem Wasser umströmt werden. Der obere Abschluß 19 jeder Noppe 18 ist mit dem Boden 5 der darüber angeordneten Wärmetauscherplatte 2a fest verlötet, wodurch die Kompaktheit und Widerstandsfähigkeit gegen Innendruck wesentlich verbessert wurde. Die vertikale Höhe h der Noppen 18 ist identisch mit der Anordnungshöhe der horizontalen Abstufung 4 im vertikal aufgerichteten Rand 20. Der Strömungskanal 16 für die Ölseite ist derjenige mit der größeren Höhe H, wobei auch diese Höhe H gleich der Anordnungshöhe der horizontalen Abstufung 4 im vertikal umlaufenden Rand 20 der Wärmetauscherplatte 2a ist.
- In diesem Strömungskanal 16 befinden sich Lamellen 13, die der Turbulenzerzeugung und der Verbesserung des Wärmeüberganges auf der Ölseite dienen. Diese Lamellen 13 sind ebenfalls mit den Böden 5 der darüber und darunter angeordneten Wärmetauscherplatten 2a;2b fest verbunden. Ferner kann man der Fig.5 sehr deutlich die Randgestaltung des Plattenwärmetauschers 1 entnehmen. Jede Wärmetauscherplatte 2a;2b besitzt auch hier einen relativ scharfkantig ausgebildeten unteren Rand 21 und im Boden 5 eingeprägte kanalartige Vertiefung 6 als umlaufende Rinne 22. Durch die bei der Einprägung der Rinne 22 stattfindende Materialverschiebung nach außen wird die scharfkantige Ausbildung des unteren Randes 21 erreicht. In zwei verschiedenen Höhen H;h ist die horizontale Abstufung 4 in jeder Wärmetauscherplatte 2a;2b vorgesehen. Durch die auch hier stattfindende Materialverschiebung bei der Herstellung der horizontalen Abstufung 4 wird innen jeweils eine scharfe Kante 41 und außen eine Abrundung 42 realisiert. Dadurch wird eine optimale horizontal umlaufende Lötflöche bereitgestellt, die sehr gute Lötqualität verspricht, weil auch hier die Drucklötung an die Stelle der sonst bei der Verbindung von Wärmetauscherplatten 2a;2b anzutreffenden Spaltlötung treten kann. Die vertikalen Ränder 20 der Wärmetauscherplatten 2a;2b liegen in einer vertikalen Flucht übereinander, was auch aus Fig. 8 sehr gut hervorgeht und gewährleisten die für den Lötprozeß notwendige Kraftübertragung. An die horizontale Abstufung 4 eines jeden Randes 20 jeder Wärmetauscherplatte schließt sich ein schräger Randauslauf 23 an. Durch den schrägstehenden Randauslauf 23 sind die Außenseiten des gehäuselosen Plattenwärmetauschers 1 praktisch wie durch eine schuppen- oder stufenartige Schicht gegen mechanische Einwirkungen geschützt.
- Die Strömungswege für Wasser und Öl in den Strömungskanälen 16;17 sind durch die Pfeile 15;24 der Fig. 6 verdeutlicht. Die flacheren Strömungskanäle 17 auf der Wasserseite sind auch hier mit im Boden 5 eingeprägte Noppen 18 ausgerüstet worden. Die größeren Strömungskanäle 16 auf der Ölseite nehmen Lamellen 13 auf. Der obere Abschluß des Plattenwärmetauschers 1 wird durch ein Deckblech 25 gebildet, welches alternativ auch zur Aufnahme der Anschlüsse für die Medien ausgerüstet sein könnte.
- Der strukturelle Aufbau des Plattenwärmetauschers 1 geht am besten aus der Explosionsdarstellung in Fig. 7 hervor. Der gehäuselose Plattenwärmetauscher 1 besitzt unten eine Grundplatte 26, die zur Befestigung des Plattenwärmetauschers 1, beispielsweise in einem Kraftfahrzeug dient und gleichzeitig die nicht dargestellten Anschlußflansche für die Medien aufnimmt.
- Auf dieser Grundplatte 26 sind in der Reihenfolge Wärmetauscherplatte 2a für die Ölseite, Lamelle 13, Wärmetauscherplatte 2b mit Noppen 18 für die Wasserseite, eine weitere Wärmetauscherplatte 2a mit Lamelle 13, eine nächste Wärmetauscherplatte 2b und ein oberes Deckblech 25 angeordnet. Der in der Praxis realisierte Plattenwärmetauscher 1 wird je nach geforderter Kühlleistung aus einer Vielzahl dieser Elemente bestehen, die wie beschrieben angeordnet sind. Die zwischen der oberen Wärmetauscherplatte 2b und dem Deckblech 25 vorgesehene Platte wurde nicht gezeichnet.
- Eine alternative Ausführungsform ist in der Fig. 8 dargestellt. Hier wurde auf ölseitige Lamellen 13 verzichtet. An deren Stelle sind in dem Boden 5 der ölseitigen Wärmetauscherplatten 2a ebenfalls turbulenzerzeugende und abstandsbildende Erhebungen (Noppen 18) angeordnet, die in gleicher Art wie auf der Wasserseite mit ihrem oberen Abschluß 19 am Boden 5 der darüber befindlichen Wärmetauscherplatte 2b der Wasserseite verbunden sind. Diese Ausführungsform führt zu niedrigeren Herstellungskosten, weniger Einzelteilen und hat geringere Druckverluste zur Folge. Leistungsmäßig wurde hierdurch ein Kompromiß erzielt, der für bestimmte Einsatzfälle von Interesse ist.
-
- 1
- Plattenwärmetauscher
- 2
- Wärmetauscherplatte
- 2a
- Wärmetauscherplatte
- 2b
- Wärmetauscherplatte
- 3
- Hauptverbindungsfläche
- 4
- horizontale Abstufung
- 5
- Boden der Wärmetauscherplatte
- 6
- kanalartige Vertiefung
- 7
- Außenradius von 8
- 8
- Außenkante der Wärmetauscherplatten
- 9
- Randauslauf
- 10
- Abstufung
- 11
- Randabschluß
- 12
- Verbindungsfläche
- 13
- Lamellen
- 14
- Strömungskanäle
- 15
- Pfeile Öl
- 16
- Strömungskanal Öl
- 17
- Strömungskanal Wasser
- 18
- Noppen
- 19
- oberer Abschluß an Noppen
- 20
- vertikaler Rand
- 21
- unterer Rand
- 22
- umlaufende Rinne
- 23
- schräger Randauslauf
- 24
- Pfeile Wasser
- 25
- Deckblech
- 26
- Grundplatte
- 41
- scharfe Kante bei 4
- 42
- Abrundung außen bei 4
- F
- Kraftpfeil
- H
- größere Höhe der vertikalen Abstufung 4 = Höhe von Noppen 18
- h
- kleinere Höhe
Claims (14)
- Plattenwärmetauscher, bestehend aus mehreren ineinandergestapelten wannenförmigen Wärmetauscherplatten, die getrennte Strömungskanäle für die wärmeaustauschenden Fluide bilden und mit einem abgestuften, umlaufenden äußeren Rand ausgestattet sind, wobei die Ränder fügetechnisch verbunden sind, dadurch gekennzeichnet, daß in einem Stapel von Wärmetauscherplatten (2) die Hauptverbindungsfläche (3) zwischen den einzelnen Wärmetauscherplatten (2) horizontal umlaufend ausgebildet ist, indem die jeweils obere Wärmetauscherplatte (2a) mit ihrem unteren Rand auf einer horizontalen Abstufung (4) des Randes der jeweils darunterbefindlichen Wärmetauscherplatte(2b) aufliegt.
- Plattenwärmetauscher gemäß Anspruch 1, dadurch gekennzeichnet, daß jede Wärmetauscherplatte (2a, 2b) die gleiche Randgestaltung aufweist.
- Plattenwärmetauscher gemäß den Ansprüchen 1 und 2, dadurch gekennzeichnet, daß eine auf den Stapel von Wärmetauscherplatten (2) einwirkende vertikale Kraft (F) im Randbereich nur vertikal über die horizontale Abstufung (4) und dem vertikalen Rand der Wärmetauscherplatten (2) übertragbar ist.
- Plattenwärmetauscher gemäß den Ansprüchen 1 bis 3, dadurch gekennzeichnet, daß die horizontale Abstufung (4) durch eine Kaltverfestigung herbeiführende Materialverschiebung herstellbar ist und innen eine scharfe Kante (41) sowie außen Abrundungen (42) aufweist.
- Plattenwärmetauscher gemäß den Ansprüchen 2 bis 4, dadurch gekennzeichnet, daß die Wärmetauscherplatten (2) in der Innenseite des Bodens (5) eine umlaufende kanalartige Vertiefung (6) aufweisen, die infolge der Materialverschiebung zu einer scharfen und rißminimierten Ausbildung des Außenradius (7) der unteren Außenkante (8) führt.
- Plattenwärmetauscher gemäß dem Anspruch 5, dadurch gekennzeichnet, daß die Breite (b) der kanalartigen Vertiefung (6) 1 bis 6mm beträgt.
- Plattenwärmetauscher nach mindestens einem der vorhergehenden Ansprüche, dadurch gekennzeichnet, daß sich an die horizontale Abstufung (4) des Randes ein Randauslauf (9;23) anschließt.
- Plattenwärmetauscher gemäß Anspruch 7, dadurch gekennzeichnet, daß der Randauslauf (9;23) in einem vertikalen Abstand von der horizontalen Abstufung (4) nach außen abgekickt ist, so daß der Randauslauf (9;23) eine schuppen-oder stufenartige Schutzschicht bildet.
- Plattenwärmetauscher gemäß Anspruch 7, dadurch gekennzeichnet, daß der Randauslauf (9) in einem vertikalen Abstand von der horizontalen Abstufung (4) eine weitere Abstufung (10) erhält, derart, daß der Randabschluß (11) vertikal verläuft.
- Plattenwärmetauscher nach mindestens einem der vorhergehenden Ansprüche, dadurch gekennzeichnet, daß sich an die Hauptverbindungsfläche (3) eine zusätzliche vertikale Verbindungsfläche (12) anschließt.
- Plattenwärmetauscher, insbesondere gehäuseloser Plattenwärmetauscher, beispielsweise Öl-Kühlmittel-Kühler, gemäß Anspruch 1,
mit turbulenzerzeugenden Erhebungen in den Wärmetauscherplatten, dadurch gekennzeichnet,
daß die horizontale Abstufung (4) in mindestens zwei verschiedenen Höhen (H;h) des vertikalen Randes (20 ) vorgesehen ist, die zu verschiedenen vertikalen Abständen der Wärmetauscherplatten (2a;2b) führt, wobei mindestens in der Wärmetauscherplatte (2b) mit der niedriger angeordneten horizontalen Abstufung (4) im Boden (5) turbulenzerzeugende Erhebungen (18 ) eingeprägt sind deren vertikale Erstreckung gleich der Anordnungshöhe der horizontalen Abstufung (4) ist. - Plattenwärmetauscher gemäß Anspruch 11, dadurch gekennzeichnet, daß der Bereich mit dem niedrigeren vertikalen Abstand die Kühlmittellseite des Plattenwärmetauschers (1) darstellt.
- Plattenwärmetauscher gemäß Anspruch 11, dadurch gekennzeichnet, daß die turbulenzerzeugenden Erhebungen (18) auf beiden Strömungsseiten ausgebildet sind, wobei deren vertikale Ausdehnung der Anordnungshöhe der horizontalen Abstufung (4) entspricht.
- Plattenwärmetauscher gemäß mindestens einem der Ansprüche 11 bis 13, dadurch gekennzeichnet, daß zumindest einige der turbulenzerzeugenden Erhebungen (18) mit ihrem oberen Abschluß (19) am Boden (5) der darüber angeordneten Wärmetauscherplatte (2a;2b) fügetechnisch verbunden sind.
Applications Claiming Priority (4)
| Application Number | Priority Date | Filing Date | Title |
|---|---|---|---|
| DE19517174 | 1995-05-10 | ||
| DE1995117174 DE19517174C1 (de) | 1995-05-10 | 1995-05-10 | Plattenwärmetauscher |
| DE1995119312 DE19519312A1 (de) | 1995-05-26 | 1995-05-26 | Gehäuseloser Plattenwärmetauscher |
| DE19519312 | 1995-05-26 |
Publications (3)
| Publication Number | Publication Date |
|---|---|
| EP0742418A2 true EP0742418A2 (de) | 1996-11-13 |
| EP0742418A3 EP0742418A3 (de) | 1997-05-02 |
| EP0742418B1 EP0742418B1 (de) | 1998-12-09 |
Family
ID=26015036
Family Applications (1)
| Application Number | Title | Priority Date | Filing Date |
|---|---|---|---|
| EP96105405A Expired - Lifetime EP0742418B1 (de) | 1995-05-10 | 1996-04-04 | Plattenwärmetauscher |
Country Status (2)
| Country | Link |
|---|---|
| EP (1) | EP0742418B1 (de) |
| DE (1) | DE59600935D1 (de) |
Cited By (24)
| Publication number | Priority date | Publication date | Assignee | Title |
|---|---|---|---|---|
| DE19716200A1 (de) * | 1997-04-18 | 1998-10-22 | Funke Waerme Apparate Kg | Plattenwärmeaustauscher |
| WO1998059208A1 (en) * | 1997-06-25 | 1998-12-30 | Alfa Laval Ab | Plate heat exchanger |
| DE19750748A1 (de) * | 1997-11-14 | 1999-07-15 | Behr Gmbh & Co | Plattenwärmetauscher |
| DE19906180A1 (de) * | 1999-02-05 | 2000-08-10 | Peter Rehberg | Plattenwärmeübertrager für Warmwasserbereitung und -speicherung |
| WO2000046564A1 (en) * | 1999-02-05 | 2000-08-10 | Long Manufacturing Ltd. | Self-enclosing heat exchangers |
| FR2795165A1 (fr) * | 1999-06-21 | 2000-12-22 | Valeo Thermique Moteur Sa | Echangeur de chaleur a plaques, en particulier refroidisseur d'huile pour vehicule automobile |
| EP1065463A3 (de) * | 1999-07-02 | 2001-08-08 | Llanelli Radiators Limited | Wärmetauscher für Kraftfahrzeug |
| WO2001088454A1 (en) * | 2000-05-19 | 2001-11-22 | Llanelli Radiators Limited | Automotive condenser arrangement and automotive heat exchanger system |
| EP1152204A3 (de) * | 2000-05-03 | 2002-06-12 | Modine Manufacturing Company | Plattenwärmetauscher |
| DE10228263A1 (de) * | 2002-06-25 | 2004-01-22 | Behr Gmbh & Co. | Plattenwärmetauscher in Stapelbauweise |
| US7255159B2 (en) | 2003-02-06 | 2007-08-14 | Modine Manufacturing Company | Insert for heat exchanger tube |
| US20100006275A1 (en) * | 2007-02-26 | 2010-01-14 | Alfa Laval Corporate Ab | Plate heat exchanger |
| US7717164B2 (en) * | 2003-10-17 | 2010-05-18 | Behr Gmbh & Co. Kg | Stacked plate heat exchanger in particular an oil cooler for motor vehicles |
| DE102007011762B4 (de) * | 2007-03-10 | 2015-12-10 | Modine Manufacturing Co. | Wärmetauscher, insbesondere Ölkühler für Kraftfahrzeuge |
| WO2017067820A3 (de) * | 2015-10-21 | 2017-06-15 | Mahle International Gmbh | Stapelscheiben-wärmeübertrager |
| JP2017133718A (ja) * | 2016-01-26 | 2017-08-03 | 株式会社デンソー | 積層型熱交換器 |
| ES2664103A1 (es) * | 2016-10-17 | 2018-04-18 | Valeo Térmico, S. A. | Placa de apilamiento para un intercambiador de calor de placas apiladas y un intercambiador de calor de placas apiladas |
| CN110006276A (zh) * | 2019-05-06 | 2019-07-12 | 南通文鼎换热设备科技有限公司 | 一种板式换热器的凸起变截面流体通道换热片 |
| WO2021014091A1 (fr) | 2019-07-25 | 2021-01-28 | Valeo Systemes Thermiques | Echangeur de chaleur notamment pour véhicule automobile et procédé de fabrication d'un tel échangeur de chaleur |
| US20210262735A1 (en) * | 2018-06-29 | 2021-08-26 | Zhejiang Sanhua Automotive Components Co., Ltd. | Heat exchanger |
| DE102022109719A1 (de) | 2022-04-22 | 2023-10-26 | Schaeffler Technologies AG & Co. KG | Wärmetauscheranordnung mit einem eine Blechplatte aufweisenden Kühlkörper mit integriertem Kühlkanal; sowie elektrisches Antriebssystem |
| EP4056941A4 (de) * | 2019-11-08 | 2023-11-15 | Danfoss A/S | Wärmetauscherplatte für einen plattenwärmetauscher und plattenwärmetauscher |
| CN117739718A (zh) * | 2023-12-25 | 2024-03-22 | 南京胜德金属装备有限公司 | 一种不锈钢双管板式换热器 |
| US12044487B2 (en) * | 2018-03-27 | 2024-07-23 | Lg Electronics Inc. | Plate-type heat exchanger and a method for manufacturing same |
Families Citing this family (2)
| Publication number | Priority date | Publication date | Assignee | Title |
|---|---|---|---|---|
| DE10328001A1 (de) | 2003-06-21 | 2005-01-05 | Modine Manufacturing Co., Racine | Flaches Wärmetauscherrohr |
| CA2477817C (en) | 2004-08-16 | 2012-07-10 | Dana Canada Corporation | Stacked plate heat exchangers and heat exchanger plates |
Family Cites Families (5)
| Publication number | Priority date | Publication date | Assignee | Title |
|---|---|---|---|---|
| JPS61122493A (ja) * | 1984-11-16 | 1986-06-10 | Hisaka Works Ltd | プレ−ト式熱交換器 |
| SE8501599D0 (sv) * | 1985-04-01 | 1985-04-01 | Torell Ab | Anordning vid en plattvermevexlare |
| SE9000712L (sv) * | 1990-02-28 | 1991-08-29 | Alfa Laval Thermal | Permanent sammanfogad plattvaermevaexlare |
| JP2935596B2 (ja) * | 1991-09-13 | 1999-08-16 | 株式会社日阪製作所 | プレート式熱交換器 |
| JPH06265289A (ja) * | 1993-03-11 | 1994-09-20 | Hitachi Ltd | プレート式熱交換器 |
-
1996
- 1996-04-04 EP EP96105405A patent/EP0742418B1/de not_active Expired - Lifetime
- 1996-04-04 DE DE59600935T patent/DE59600935D1/de not_active Expired - Lifetime
Cited By (39)
| Publication number | Priority date | Publication date | Assignee | Title |
|---|---|---|---|---|
| DE19716200A1 (de) * | 1997-04-18 | 1998-10-22 | Funke Waerme Apparate Kg | Plattenwärmeaustauscher |
| WO1998059208A1 (en) * | 1997-06-25 | 1998-12-30 | Alfa Laval Ab | Plate heat exchanger |
| US6247528B1 (en) | 1997-06-25 | 2001-06-19 | Alfa Laval Ab | Plate heat exchanger |
| US6182746B1 (en) | 1997-11-14 | 2001-02-06 | Behr Gmbh & Co. | Plate-type heat exchanger |
| DE19750748A1 (de) * | 1997-11-14 | 1999-07-15 | Behr Gmbh & Co | Plattenwärmetauscher |
| DE19750748C2 (de) * | 1997-11-14 | 2003-04-24 | Behr Gmbh & Co | Plattenwärmetauscher |
| US6199626B1 (en) | 1999-02-05 | 2001-03-13 | Long Manufacturing Ltd. | Self-enclosing heat exchangers |
| US6244334B1 (en) | 1999-02-05 | 2001-06-12 | Long Manufacturing Ltd. | Self-enclosing heat exchange with shim plate |
| WO2000046564A1 (en) * | 1999-02-05 | 2000-08-10 | Long Manufacturing Ltd. | Self-enclosing heat exchangers |
| US6340053B1 (en) | 1999-02-05 | 2002-01-22 | Long Manufacturing Ltd. | Self-enclosing heat exchanger with crimped turbulizer |
| DE19906180C2 (de) * | 1999-02-05 | 2003-02-06 | Peter Rehberg | Plattenwärmeübertrager für Warmwasserbereitung und -speicherung |
| DE19906180A1 (de) * | 1999-02-05 | 2000-08-10 | Peter Rehberg | Plattenwärmeübertrager für Warmwasserbereitung und -speicherung |
| EP1063486A1 (de) * | 1999-06-21 | 2000-12-27 | Valeo Thermique Moteur | Plattenwärmetauscher, insbesondere Ölkühler für Kraftfahrzeuge |
| FR2795165A1 (fr) * | 1999-06-21 | 2000-12-22 | Valeo Thermique Moteur Sa | Echangeur de chaleur a plaques, en particulier refroidisseur d'huile pour vehicule automobile |
| EP1065463A3 (de) * | 1999-07-02 | 2001-08-08 | Llanelli Radiators Limited | Wärmetauscher für Kraftfahrzeug |
| GB2355300B (en) * | 1999-07-02 | 2003-07-16 | Llanelli Radiators Ltd | A vehicle heat exchanger |
| EP1152204A3 (de) * | 2000-05-03 | 2002-06-12 | Modine Manufacturing Company | Plattenwärmetauscher |
| WO2001088454A1 (en) * | 2000-05-19 | 2001-11-22 | Llanelli Radiators Limited | Automotive condenser arrangement and automotive heat exchanger system |
| DE10228263A1 (de) * | 2002-06-25 | 2004-01-22 | Behr Gmbh & Co. | Plattenwärmetauscher in Stapelbauweise |
| US7255159B2 (en) | 2003-02-06 | 2007-08-14 | Modine Manufacturing Company | Insert for heat exchanger tube |
| EP1445570B1 (de) | 2003-02-06 | 2016-04-27 | Modine Manufacturing Company | Wärmetauscherrohr mit gewelltem Einsatz und sein Herstellungsverfahren |
| US7717164B2 (en) * | 2003-10-17 | 2010-05-18 | Behr Gmbh & Co. Kg | Stacked plate heat exchanger in particular an oil cooler for motor vehicles |
| US20100006275A1 (en) * | 2007-02-26 | 2010-01-14 | Alfa Laval Corporate Ab | Plate heat exchanger |
| US8662152B2 (en) * | 2007-02-26 | 2014-03-04 | Alfa Laval Corporate Ab | Plate heat exchanger |
| DE102007011762B4 (de) * | 2007-03-10 | 2015-12-10 | Modine Manufacturing Co. | Wärmetauscher, insbesondere Ölkühler für Kraftfahrzeuge |
| US10852067B2 (en) | 2015-10-21 | 2020-12-01 | Mahle International Gmbh | Stacked-plate heat exchanger |
| US11680751B2 (en) | 2015-10-21 | 2023-06-20 | Mahle International Gmbh | Stacked-plate heat exchanger |
| WO2017067820A3 (de) * | 2015-10-21 | 2017-06-15 | Mahle International Gmbh | Stapelscheiben-wärmeübertrager |
| JP2017133718A (ja) * | 2016-01-26 | 2017-08-03 | 株式会社デンソー | 積層型熱交換器 |
| ES2664103A1 (es) * | 2016-10-17 | 2018-04-18 | Valeo Térmico, S. A. | Placa de apilamiento para un intercambiador de calor de placas apiladas y un intercambiador de calor de placas apiladas |
| US12044487B2 (en) * | 2018-03-27 | 2024-07-23 | Lg Electronics Inc. | Plate-type heat exchanger and a method for manufacturing same |
| US20210262735A1 (en) * | 2018-06-29 | 2021-08-26 | Zhejiang Sanhua Automotive Components Co., Ltd. | Heat exchanger |
| US11971224B2 (en) * | 2018-06-29 | 2024-04-30 | Zhejiang Sanhua Automotive Components Co., Ltd. | Plate-fin heat exchanger |
| CN110006276A (zh) * | 2019-05-06 | 2019-07-12 | 南通文鼎换热设备科技有限公司 | 一种板式换热器的凸起变截面流体通道换热片 |
| WO2021014091A1 (fr) | 2019-07-25 | 2021-01-28 | Valeo Systemes Thermiques | Echangeur de chaleur notamment pour véhicule automobile et procédé de fabrication d'un tel échangeur de chaleur |
| EP4056941A4 (de) * | 2019-11-08 | 2023-11-15 | Danfoss A/S | Wärmetauscherplatte für einen plattenwärmetauscher und plattenwärmetauscher |
| DE102022109719A1 (de) | 2022-04-22 | 2023-10-26 | Schaeffler Technologies AG & Co. KG | Wärmetauscheranordnung mit einem eine Blechplatte aufweisenden Kühlkörper mit integriertem Kühlkanal; sowie elektrisches Antriebssystem |
| DE102022109719B4 (de) | 2022-04-22 | 2024-08-08 | Schaeffler Technologies AG & Co. KG | Elektrisches Antriebssystem mit einer Wärmetauscheranordnung mit einem eine Blechplatte aufweisenden Kühlkörper mit integriertem Kühlkanal |
| CN117739718A (zh) * | 2023-12-25 | 2024-03-22 | 南京胜德金属装备有限公司 | 一种不锈钢双管板式换热器 |
Also Published As
| Publication number | Publication date |
|---|---|
| EP0742418B1 (de) | 1998-12-09 |
| EP0742418A3 (de) | 1997-05-02 |
| DE59600935D1 (de) | 1999-01-21 |
Similar Documents
| Publication | Publication Date | Title |
|---|---|---|
| EP0742418B1 (de) | Plattenwärmetauscher | |
| DE3312691C2 (de) | Wärmeaustauscher, insbesondere Wasserkühler für eine Brennkraftmaschine | |
| DE60219538T2 (de) | Wärmetauscher | |
| DE3615300C2 (de) | ||
| DE60028660T2 (de) | Rohr sowie Verfahren und Vorrichtung zu seiner Herstellung | |
| DE102004045018B4 (de) | Verfahren zur Herstellung eines flachen Rohres für einen Wärmetauscher eines Kraftfahrzeugs, flaches Rohr, Verfahren zur Herstellung eines Wärmetauschers und Wärmetauscher | |
| DE19802012C2 (de) | Gehäuseloser Plattenwärmetauscher | |
| EP1518084B1 (de) | Plattenw rme bertrager in stapelbauweise | |
| DE19728247A1 (de) | Flache Röhre für einen Wärmetauscher | |
| DE2241407B2 (de) | Verfahren zur Herstellung eines Wärmetauscherelements | |
| DE10112255A1 (de) | Röhrchen | |
| EP1273864A2 (de) | Wärmetauscher | |
| EP1306640B1 (de) | Rohrboden für Abgaswärmeübertragung | |
| DE602004006728T2 (de) | Verfahren und Vorrichtung zur Herstellung von Wärmetauscherplatten | |
| DE19517174C1 (de) | Plattenwärmetauscher | |
| DE60015701T2 (de) | Gebogenes Rohr für Wärmetauscher und dessen Herstellung | |
| EP1227291A2 (de) | Wärmetauscher und Herstellungsverfahren | |
| DE19519312A1 (de) | Gehäuseloser Plattenwärmetauscher | |
| DE69708951T2 (de) | Endkammer für Wärmetauscher,insbesondere für Kraftfahrzeuge | |
| EP0268831B1 (de) | Lamelle | |
| DE6602685U (de) | Waermaustauscher, insbesondere kuehler fuer kraftfahrzeug-verbrennungsmotore, mit zwischen kuehlmittelleitungen desselben angeordneten, als abstandshalter dienenden beitblechen zur fuehrung eines kuehlluftstromes und vorrichtung zur herstellung der | |
| DE19814028A1 (de) | Doppel-Wärmetauscher | |
| DE2450739A1 (de) | Waermeaustauscher, insbesondere oelkuehler | |
| DE102017112063A1 (de) | Lamelle, Verfahren und Vorrichtung zur Herstellung einer Lamelle und Wärmeaustauscher | |
| DE3209215A1 (de) | Waermeaustauscheranordnung und verfahren zu ihrer herstellung |
Legal Events
| Date | Code | Title | Description |
|---|---|---|---|
| PUAI | Public reference made under article 153(3) epc to a published international application that has entered the european phase |
Free format text: ORIGINAL CODE: 0009012 |
|
| AK | Designated contracting states |
Kind code of ref document: A2 Designated state(s): DE FR GB IT SE |
|
| PUAL | Search report despatched |
Free format text: ORIGINAL CODE: 0009013 |
|
| AK | Designated contracting states |
Kind code of ref document: A3 Designated state(s): DE FR GB IT SE |
|
| 17P | Request for examination filed |
Effective date: 19970321 |
|
| RAP1 | Party data changed (applicant data changed or rights of an application transferred) |
Owner name: LAENGERER & REICH GMBH |
|
| 17Q | First examination report despatched |
Effective date: 19970926 |
|
| GRAG | Despatch of communication of intention to grant |
Free format text: ORIGINAL CODE: EPIDOS AGRA |
|
| GRAG | Despatch of communication of intention to grant |
Free format text: ORIGINAL CODE: EPIDOS AGRA |
|
| GRAH | Despatch of communication of intention to grant a patent |
Free format text: ORIGINAL CODE: EPIDOS IGRA |
|
| GRAH | Despatch of communication of intention to grant a patent |
Free format text: ORIGINAL CODE: EPIDOS IGRA |
|
| GRAA | (expected) grant |
Free format text: ORIGINAL CODE: 0009210 |
|
| AK | Designated contracting states |
Kind code of ref document: B1 Designated state(s): DE FR GB IT SE |
|
| ET | Fr: translation filed | ||
| GBT | Gb: translation of ep patent filed (gb section 77(6)(a)/1977) |
Effective date: 19981210 |
|
| REF | Corresponds to: |
Ref document number: 59600935 Country of ref document: DE Date of ref document: 19990121 |
|
| ITF | It: translation for a ep patent filed | ||
| PG25 | Lapsed in a contracting state [announced via postgrant information from national office to epo] |
Ref country code: SE Free format text: LAPSE BECAUSE OF FAILURE TO SUBMIT A TRANSLATION OF THE DESCRIPTION OR TO PAY THE FEE WITHIN THE PRESCRIBED TIME-LIMIT Effective date: 19990309 |
|
| RAP2 | Party data changed (patent owner data changed or rights of a patent transferred) |
Owner name: MODINE MANUFACTURING COMPANY |
|
| PLBE | No opposition filed within time limit |
Free format text: ORIGINAL CODE: 0009261 |
|
| STAA | Information on the status of an ep patent application or granted ep patent |
Free format text: STATUS: NO OPPOSITION FILED WITHIN TIME LIMIT |
|
| 26N | No opposition filed | ||
| REG | Reference to a national code |
Ref country code: GB Ref legal event code: IF02 |
|
| PGFP | Annual fee paid to national office [announced via postgrant information from national office to epo] |
Ref country code: GB Payment date: 20060329 Year of fee payment: 11 |
|
| PGFP | Annual fee paid to national office [announced via postgrant information from national office to epo] |
Ref country code: FR Payment date: 20060428 Year of fee payment: 11 |
|
| PGFP | Annual fee paid to national office [announced via postgrant information from national office to epo] |
Ref country code: IT Payment date: 20060430 Year of fee payment: 11 |
|
| GBPC | Gb: european patent ceased through non-payment of renewal fee |
Effective date: 20070404 |
|
| PG25 | Lapsed in a contracting state [announced via postgrant information from national office to epo] |
Ref country code: GB Free format text: LAPSE BECAUSE OF NON-PAYMENT OF DUE FEES Effective date: 20070404 |
|
| PG25 | Lapsed in a contracting state [announced via postgrant information from national office to epo] |
Ref country code: FR Free format text: LAPSE BECAUSE OF NON-PAYMENT OF DUE FEES Effective date: 20070430 |
|
| PG25 | Lapsed in a contracting state [announced via postgrant information from national office to epo] |
Ref country code: IT Free format text: LAPSE BECAUSE OF NON-PAYMENT OF DUE FEES Effective date: 20070404 |
|
| PGFP | Annual fee paid to national office [announced via postgrant information from national office to epo] |
Ref country code: DE Payment date: 20120430 Year of fee payment: 17 |
|
| PG25 | Lapsed in a contracting state [announced via postgrant information from national office to epo] |
Ref country code: DE Free format text: LAPSE BECAUSE OF NON-PAYMENT OF DUE FEES Effective date: 20131101 |
|
| REG | Reference to a national code |
Ref country code: DE Ref legal event code: R119 Ref document number: 59600935 Country of ref document: DE Effective date: 20131101 |