EP0487786A2 - Relais - Google Patents
Relais Download PDFInfo
- Publication number
- EP0487786A2 EP0487786A2 EP90124909A EP90124909A EP0487786A2 EP 0487786 A2 EP0487786 A2 EP 0487786A2 EP 90124909 A EP90124909 A EP 90124909A EP 90124909 A EP90124909 A EP 90124909A EP 0487786 A2 EP0487786 A2 EP 0487786A2
- Authority
- EP
- European Patent Office
- Prior art keywords
- section
- armature
- shaped
- contact
- relay according
- Prior art date
- Legal status (The legal status is an assumption and is not a legal conclusion. Google has not performed a legal analysis and makes no representation as to the accuracy of the status listed.)
- Granted
Links
- 230000013011 mating Effects 0.000 claims abstract description 8
- 238000005192 partition Methods 0.000 claims description 4
- 239000012774 insulation material Substances 0.000 claims description 2
- 239000011810 insulating material Substances 0.000 abstract 1
- 238000009413 insulation Methods 0.000 description 4
- 238000010276 construction Methods 0.000 description 1
- 238000004804 winding Methods 0.000 description 1
Images
Classifications
-
- H—ELECTRICITY
- H01—ELECTRIC ELEMENTS
- H01H—ELECTRIC SWITCHES; RELAYS; SELECTORS; EMERGENCY PROTECTIVE DEVICES
- H01H50/00—Details of electromagnetic relays
- H01H50/02—Bases; Casings; Covers
- H01H50/026—Details concerning isolation between driving and switching circuit
-
- H—ELECTRICITY
- H01—ELECTRIC ELEMENTS
- H01H—ELECTRIC SWITCHES; RELAYS; SELECTORS; EMERGENCY PROTECTIVE DEVICES
- H01H50/00—Details of electromagnetic relays
- H01H50/64—Driving arrangements between movable part of magnetic circuit and contact
- H01H50/641—Driving arrangements between movable part of magnetic circuit and contact intermediate part performing a rectilinear movement
- H01H50/642—Driving arrangements between movable part of magnetic circuit and contact intermediate part performing a rectilinear movement intermediate part being generally a slide plate, e.g. a card
Definitions
- the invention relates to an electromagnetic relay with a base body, on which an electromagnetic system with a coil, core, yoke and armature is arranged and in which a contact arrangement with at least one mating contact element and at least one movable contact spring is anchored at a distance from the magnet system, the contact spring being one with the or the contact section interacting with the counter-contact elements, has a fastening section anchored in the base body and an actuating section which is connected to an actuating element made of insulation material and transmitting the armature movement to the contact spring.
- a relay in which the armature and the contact arrangement are attached to the same end of the coil, the armature being located between the coil and the contact arrangement, is known from DE 8701349 U.
- This relay does not use a slide, so that a smaller design is achieved, but here the contact spring and armature are conductively connected to each other, since the insulation requirements are met by overmolding the winding.
- the object of the invention is therefore to design a relay of the type mentioned in such a way that the prescribed clearance and creepage distance requirements are met with the smallest possible construction volume, without the coil having to be specially designed.
- the actuating element has a cap-shaped, funnel-shaped shielding section and a sliding section connected to the armature, the shielding section being slipped over the actuating section of the contact spring.
- the base body is expediently formed with a base plate forming the connection side and with a U-shaped intermediate wall provided for separating the areas for the magnet system and the contact arrangement, which can be integrally formed on the base body.
- the side wall of the shielding section of the actuating element facing the connection side has an opening, the shielding section being slipped over the actuating section of the contact spring from this side in a direction perpendicular to the base plate.
- the shielding section does not enclose the actuating section of the contact spring on four sides, but it can nevertheless be designed in such a way that the necessary air and creepage distances are maintained.
- a possible realization of the connection between the sliding section of the actuating element and the armature can be achieved in that the sliding section is hook-shaped and engages over a pin formed on the free end of the armature.
- the sliding section in a funnel-shaped manner and to place it over a pin formed on the anchor.
- the actuating element formed from a shielding section and a plate-shaped sliding section in two parts, connecting elements being provided on both parts and on the armature, which enable the shielding section to interact with the sliding section and the sliding section with the armature.
- a pin is preferably formed on the shielding section and recesses are provided on the sliding section, into which the pin of the shielding section and a pin formed on the free end of the armature engage.
- recesses it is also possible to provide recesses both on the shielding section and on the armature, into which pins formed on the sliding section engage.
- the design according to the invention can be used particularly advantageously in a relay in which the armature is attached to the end face of the coil between the coil and the contact arrangement.
- the plane of movement of the armature of the contact spring and of the actuating element can run both perpendicularly and parallel to the end side.
- the contact spring is formed with a U-shaped and an L-shaped part, with one leg of the U-shaped part the contact section and the short leg of the L-shaped part the Form fastening section and wherein the other leg of the U-shaped part is connected to the long leg of the L-shaped part and forms the actuating section.
- a cap is provided with an intermediate wall projecting between the magnet system and the contact arrangement. This partition further increases the insulation between the magnet system and the contact arrangement.
- projections are provided in the interior of the shielding section, between which the actuating section of the contact spring is mounted, as a result of which a secure connection between the armature and the contact spring is ensured.
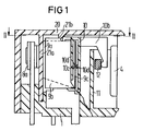
- the relay shown in FIGS. 1 and 2 has a base body 1 forming the connection side, on which a magnet system 2 and a contact arrangement 7 are arranged.
- the magnet system 2 is formed with a coil 3, a core 4, an angular yoke 5 and an armature 6 fastened to the yoke 5 by means of a spring 22, the armature 6 being arranged on the end face in front of the coil between the coil 3 and the contact arrangement 7.
- the contact arrangement 7 consists of two mating contact elements 8a and 8b and a movable contact spring 9, which are anchored in the base body 1 in slots or openings and guided to the connection side.
- the contact spring 9 in turn consists of a contact section 9a, which in the rest position shown is in contact with the mating contact element 8a, a fastening section 9b anchored in the base body 1 and an actuating section 9c.
- a sliding section 10b is formed on this actuation section 10a, which is hook-shaped and engages over a pin 12 formed on the free end of the armature 6, as a result of which the movement of the armature 6 is transmitted to the contact spring 9.
- a U-shaped intermediate wall 11 is formed on the base body 1, which serves to isolate the contact arrangement 7 from the magnet system 2 and over which the sliding section 10b of the actuating element 10 projects.
- the shielding section 10a of the actuating element 10 is open on its side facing the connection side and is placed over the actuation section 9c in a direction perpendicular to the connection side.
- the shielding section 10c it is also possible to design the shielding section 10c to be closed on all four sides, as a result of which it must be placed over the actuating section 9c in a direction running parallel to the connection side.
- a recess can be provided in the U-shaped partition 11 through which the hook-shaped sliding section 10b is guided.
- Knobs 10c and 10d are formed in the bottom region of the shielding section 10b which is designed as a cap and between which the actuating section 9c of the contact spring 9 is held.
- a cap 20 provided with intermediate walls 21a, 21b and 21c is placed on the base body 1 with the magnet system 2 and the contact arrangement 7 installed.
- the intermediate walls 21a and 21b have the task of shielding the mating contact elements 8a and 8b against the fastening section 9b and the actuating section 9c of the contact spring 9, while the intermediate wall 21c together with the actuating element 10 and the U-shaped intermediate wall 11 for isolating the actuating section 9c from the armature 6 serves. In this way, all clearances and creepage distances between the contact arrangement 7 and the magnet system 2 are large enough to meet the VDE requirements.
- the relay shown in Figures 3 and 4 realizes a further possible embodiment of the relay according to the invention, the plane in which the armature 6 and the contact spring 9 move is perpendicular to the connection side and thus opposite to that shown in Figures 1 and 2 Relay is rotated by 90 °. Parts having the same effect are provided here with the same reference numerals as in FIGS. 1 and 2.
- the armature 6 is provided at its free end with a pin 17 which projects into the funnel-shaped opening of the sliding section 23 of an actuating element 10.
- the actuating element 10 also has a cap-shaped, funnel-shaped shielding section 10a which is slipped over the actuating section 9c of a contact spring 9.
- the intermediate wall 24b is shown broken in Figure 4; it runs above the contact arrangement 7 with respect to the connection side, as can be seen in FIG.
- the U-shaped partition 11 has a lateral recess through which the actuating element 10 can be inserted.
- FIG. 5 Another possible embodiment of the actuating element 11 is shown in FIG. 5.
- a funnel-shaped shielding section 13 is slipped over the contact spring 9, on which a pin 15 is formed.
- This pin 15 protrudes into a recess 16a of a plate-shaped sliding section 14, which has a further recess 16b, in which a pin 17, which is formed on the free end of an armature 6, is inserted.
- the contact spring 9 is, as in the two embodiments described above, composed of a U-shaped part 19 and an L-shaped part 18, one leg of the U-shaped part the contact portion, the short leg of the L-shaped part the Fastening section and the other leg of the U-shaped part, which is connected to the long leg of the L-shaped part, results in the actuating section.
Landscapes
- Physics & Mathematics (AREA)
- Electromagnetism (AREA)
- Electromagnets (AREA)
- Electronic Switches (AREA)
- Control Of Motors That Do Not Use Commutators (AREA)
- Seal Device For Vehicle (AREA)
- Slide Switches (AREA)
- Medicinal Preparation (AREA)
- Relay Circuits (AREA)
- Arc-Extinguishing Devices That Are Switches (AREA)
Abstract
Description
- Die Erfindung betrifft ein elektromagnetisches Relais mit einem Grundkörper, auf dem ein Elektromagnetsystem mit Spule, Kern, Joch und Anker angeordnet und in dem im Abstand zum Magnetsystem eine Kontaktanordnung mit mindestens einem Gegenkontaktelement und mindestens einer beweglichen Kontaktfeder verankert ist, wobei die Kontaktfeder einen mit dem oder den Gegenkontaktelementen zusammenwirkenden Kontaktabschnitt, einen im Grundkörper verankerten Befestigungsabschnitt und einen Betätigungsabschnitt aufweist, der mit einem die Ankerbewegung auf die Kontaktfeder übertragenden, aus Isolationsmaterial bestehendem Betätigungselement in Verbindung steht.
- Ein solches Relais ist beispielsweise in der EP 0 363 976 Al beschrieben. Um die Isolationsforderungen zwischen Magnetsystem und Kontaktanordnung zu erfüllen, sind bei diesem Relais der Anker und die Kontaktanordnung an entgegengesetzten Enden der Spule im Grundkörper angeordnet, wobei die Bewegung des Ankers mittels eines langen Schiebers auf die Kontaktfeder übertragen wird. Dieser Schieber ist parallel zur Spule geführt, wodurch das Gehäuse größere Abmessungen haben muß.
- Ein Relais, bei dem der Anker und die Kontaktanordnung am selben Ende der Spule angebracht sind, wobei sich der Anker zwischen Spule und Kontaktanordnung befindet, ist aus der DE 8701349 U bekannt. Bei diesem Relais wird kein Schieber verwendet, so daß eine kleinere Bauform erreicht wird, jedoch sind hier Kontaktfeder und Anker leitend miteinander verbunden, da die Isolationsforderungen durch Umspritzen der Wicklung erfüllt werden.
- Aufgabe der Erfindung ist es somit, ein Relais der eingangs genannten Art so zu gestalten, daß bei möglichst geringem Bauvolumen die vorgeschriebenen Luft- und Kriechstreckenforderungen erfüllt werden, ohne daß die Spule besonders gestaltet werden muß.
- Die Aufgabe wird erfindungsgemäß dadurch gelöst, daß das Betätigungselement einen als Kappe ausgebildeten, trichterförmig sich öffnenden Abschirmabschnitt und einen mit dem Anker in Verbindung stehenden Schiebeabschnitt aufweist, wobei der Abschirmabschnitt über den Betätigungsabschnitt der Kontaktfeder gestülpt ist.
- Zweckmäßigerweise ist dabei der Grundkörper mit einer die Anschlußseite bildenden Bodenplatte und mit einer zur Trennung der Bereiche für das Magnetsystem und die Kontaktanordnung vorgesehenen U-förmigen Zwischenwand ausgebildet, wobei diese am Grundkörper angeformt sein kann.
- In einer möglichen Ausführungsform des erfindungsgemäßen Relais weist die der Anschlußseite zugewandte Seitenwand des Abschirmabschnitts des Betätigungselements eine Öffnung auf, wobei der Abschirmabschnitt in einer senkrecht zur Bodenplatte verlaufenden Richtung von dieser Seite her über den Betätigungsabschnitt der Kontaktfeder gestülpt ist. Der Abschirmabschnitt umschließt den Betätigungsabschnitt der Kontaktfeder zwar nicht auf vier Seiten, jedoch kann er trotzdem so gestaltet werden, daß die nötigen Luft- und Kriechstrecken eingehalten werden.
- Eine mögliche Realisierung der Verbindung zwischen dem Schiebeabschnitt des Betätigungselementes und dem Anker kann dadurch erreicht werden, daß der Schiebeabschnitt hakenförmig ausgebildet ist und über einen am freien Ende des Ankers angeformten Zapfen greift. Es ist aber auch möglich, den Schiebeabschnitt trichterförmig sich öffnend auszubilden und ihn über einen am Anker ausgeformten Zapfen zu stülpen. Weiterhin ist es möglich, das aus einem Abschirmabschnitt und einem plattenförmigen Schiebeabschnitt gebildete Betätigungselement zweiteilig auszuführen, wobei an beiden Teilen sowie am Anker Verbindungselemente vorgesehen sind, die ein Zusammenwirken des Abschirmabschnitts mit dem Schiebeabschnitt sowie des Schiebeabschnitts mit dem Anker ermöglichen. Vorzugsweise sind dabei am Abschirmabschnitt ein Zapfen angeformt und am Schiebeabschnitt Ausnehmungen vorgesehen, in die der Zapfen des Abschirmabschnitts sowie ein am freien Ende des Ankers angeformter Zapfen eingreifen. Es ist jedoch auch möglich sowohl am Abschirmabschnitt als auch am Anker Ausnehmungen vorzusehen, in die am Schiebeabschnitt angeformte Zapfen eingreifen.
- Die erfindungsgemäße Gestaltung läßt sich besonders günstig anwenden bei einem Relais bei dem der Anker an der Stirnseite der Spule zwischen der Spule und der Kontaktanordnung angebracht ist. Dabei kann die Bewegungsebene des Ankers der Kontaktfeder und des Betätigungselements sowohl senkrecht als auch parallel zur Abschlußseite verlaufen. In einer vorteilhaften Ausführungsform ist die Kontaktfeder, wie bereits aus der DE 8701349 U bekannt, mit einem U-förmigen und einem L-förmigen Teil gebildet, wobei ein Schenkel des U-förmigen Teils den Kontaktabschnitt und der kurze Schenkel des L-förmigen Teils den Befestigungsabschnitt bilden und wobei der andere Schenkel des U-förmigen Teils mit dem langen Schenkel des L-förmigen Teils verbunden ist und den Betätigungsabschnitt bildet.
- Zum Schutz des Relais ist eine Kappe mit einer zwischen Magnetsystem und Kontaktanordnung ragenden Zwischenwand vorgesehen. Durch diese Zwischenwand wird die Isolation zwischen Magnetsystem und Kontaktanordnung zusätzlich erhöht.
- In weiterer Ausgestaltung der Erfindung sind im Innern des Abschirmabschnitts Vorsprünge vorgesehen, zwischen denen der Betätigungsabschnitt der Kontaktfeder gelagert ist, wodurch eine sichere Verbindung zwischen Anker und Kontaktfeder gewährleistet wird.
- Die Erfindung soll nun anhand von Ausführungsbeispielen mit Hilfe von Figuren näher erläutert werden. Es zeigen
- Fig. 1 und 2
- eine Seitenansicht und die Draufsicht - teilweise geschnitten - einer möglichen Ausführungsform des erfindungsgemäßen Relais,
- Fig. 3 und 4
- ebenfalls eine Seitenansicht und die Draufsicht - teilweise geschnitten - einer weiteren möglichen Ausführungsform des Erfindungsgegenstandes,
- Fig. 5
- den Ausschnitt einer Seitenansicht - teilweise geschnitten - einer dritten möglichen Ausführungsform des Erfindungsgegenstandes.
- Das in den Figuren 1 und 2 gezeigte Relais besitzt einen die Anschlußseite bildenden Grundkörper 1, auf dem ein Magnetsystem 2 und eine Kontaktanordnung 7 angeordnet sind. Das Magnetsystem 2 ist mit einer Spule 3, einem Kern 4, einem winkelförmigen Joch 5 und einem mittels einer Feder 22 am Joch 5 befestigten Anker 6 gebildet, wobei der Anker 6 stirnseitig vor der Spule zwischen Spule 3 und Kontaktanordnung 7 angeordnet ist.
- Die Kontaktanordnung 7 besteht aus zwei Gegenkontaktelementen 8a und 8b und einer beweglichen Kontaktfeder 9, die im Grundkörper 1 in Schlitzen oder Durchbrüchen verankert und zur Anschlußseite geführt sind. Die Kontaktfeder 9 besteht ihrerseits aus einem Kontaktabschnitt 9a, der in der dargestellten Ruhestellung mit dem Gegenkontaktelement 8a in Kontakt ist, einem im Grundkörper 1 verankerten Befestigungsabschnitt 9b und einem Betätigungsabschnitt 9c. Über den Betätigungsabschnitt 9c ist ein als Kappe ausgebildeter, trichterförmig sich öffnender Abschirmabschnitt 10a eines Betätigungselements 10 gestülpt. An diesem Betätigungsabschnitt 10a ist ein Schiebeabschnitt 10b angeformt, der hakenförmig ausgebildet ist und über einen am freien Ende des Ankers 6 angeformten Zapfen 12 greift, wodurch die Bewegung des Ankers 6 auf die Kontaktfeder 9 übertragen wird.
- Am Grundkörper 1 ist eine U-förmige Zwischenwand 11 angeformt, die zur Isolierung der Kontaktanordnung 7 vom Magnetsystem 2 dient und über die der Schiebeabschnitt 10b des Betätigungselements 10 ragt. Bei dieser in Fig. 1 und 2 gezeigten Ausführung des erfindungsgemäßen Relais ist der Abschirmabschnitt 10a des Betätigungselements 10 an seiner der Anschlußseite zugewandten Seite geöffnet und wird in einer senkrecht zur Anschlußseite verlaufenden Richtung über den Betätigungsabschnitt 9c gestülpt.
- Es ist aber auch möglich, den Abschirmabschnitt 10c auf allen vier Seiten geschlossen auszuführen, wodurch er aber in einer parallel zur Anschlußseite verlaufenden Richtung über den Betätigungsabschnitt 9c gestülpt werden muß. Dabei kann in der U-förmigen Zwischenwand 11 eine Aussparung vorgesehen sein, durch die der hakenförmige Schiebeabschnitt 10b geführt wird.
- Im Bodenbereich des als Kappe ausgebildeten Abschirmabschnitts 10b sind Noppen 10c und 10d ausgebildet, zwischen denen der Betätigungsabschnitt 9c der Kontaktfeder 9 gehalten wird.
- Auf den Grundkörper 1 mit montiertem Magnetsystem 2 und Kontaktanordnung 7 wird eine mit Zwischenwänden 21a,21b und 21c versehene Kappe 20 gesteckt. Die Zwischenwände 21a und 21b haben die Aufgabe, die Gegenkontaktelemente 8a und 8b gegen den Befestigungsabschnitt 9b und den Betätigungsabschnitt 9c der Kontaktfeder 9 abzuschirmen, während die Zwischenwand 21c zusammen mit dem Betätigungselement 10 und der U-förmigen Zwischenwand 11 zur Isolation des Betätigungsabschnitts 9c vom Anker 6 dient. Auf diese Weise sind alle Luft- und Kriechstrecken zwischen der Kontaktanordnung 7 und dem Magnetsystem 2 genügend groß, um die VDE-Forderungen zu erfüllen.
- Das in den Figuren 3 und 4 dargestellte Relais realisiert eine weitere mögliche Ausführungsform des erfindungsgemäßen Relais, wobei hier die Ebene, in der sich der Anker 6 und die Kontaktfeder 9 bewegen, senkrecht zur Anschlußseite liegt und somit gegenüber dem in den Figuren 1 und 2 dargestellten Relais um 90° gedreht ist. Gleichwirkende Teile sind hier mit gleichen Bezugszeichen wie in den Figurem 1 und 2 versehen. So ist auch hier auf einem Grundkörper 1 ein Magnetsystem 2, bestehend aus einer Spule 3, einem Kern 4, einem Joch 5 und einem Anker 6, angeordnet. Der Anker 6 ist an seinem freien Ende mit einem Zapfen 17 versehen, der in die trichterförmige Öffnung des Schiebeabschnitts 23 eines Betätigungselements 10 ragt. Das Betätigungselement 10 hat außerdem einen als Kappe ausgebildeten, trichterförmig sich öffnenden Abschirmabschnitt 10a, der über den Betätigungsabschnitt 9c einer Kontaktfeder 9 gestülpt ist. Zur Isolation zwischen dem Magnetsystem 2 und einer Kontaktanordnung 7 dienen auch hier, zusammen mit dem Abschirmabschnitt 10a, eine U-förmige Zwischenwand 11 und Zwischenwände 24a bis 24d, die an einer Kappe 20 angeformt sind. Die Zwischenwand 24b ist in Figur 4 gebrochen dargestellt; sie verläuft bezüglich der Anschlußseite oberhalb der Kontaktanordnung 7, wie in Figur 3 zu sehen ist. Die U-förmige Zwischenwand 11 hat eine seitliche Aussparung, durch die das Betätigungselement 10 gesteckt werden kann.
- Eine weitere mögliche Ausführungsform des Betätigungselements 11 ist in Figur 5 dargestellt. Über die Kontaktfeder 9 ist ein trichterförmig sich öffnender Abschirmabschnitt 13 gestülpt, an dem ein Zapfen 15 angeformt ist. Dieser Zapfen 15 ragt in eine Ausnehmung 16a eines plattenförmigen Schiebeabschnitts 14, der eine weitere Ausnehmung 16b hat, in der ein Zapfen 17, der am freien Ende eines Ankers 6 angeformt ist, steckt. Die Kontaktfeder 9 ist, wie in den beiden oben beschriebenen Ausführungsformen auch, aus einem U-förmigen Teil 19 und einem L-förmigen Teil 18 zusammengesetzt, wobei ein Schenkel des U-förmigen Teils den Kontaktabschnitt, der kurze Schenkel des L-förmigen Teils den Befestigungsabschnitt und der andere Schenkel des U-förmigen Teils, der mit dem langen Schenkel des L-förmigen Teils verbunden ist, den Betätigungsabschnitt ergibt.
Claims (13)
- Elektromagnetisches Relais mit einem Grundkörper (1), auf dem ein Elektromagnetsystem (2) mit Spule (3), Kern (4), Joch (5) und Anker (6) angeordnet und in dem im Abstand zum Magnetsystem (2) eine Kontaktanordnung (7) mit mindestens einem Gegenkontaktelement (8) und mindestens einer beweglichen Kontaktfeder (9) verankert ist, wobei die Kontaktfeder (9) einen mit dem oder den Gegenkontaktelementen (8) zusammenwirkenden Kontaktabschnitt (9a), einen im Grundkörper (1) verankerten Befestigungsabschnitt (9b) und einen Betätigungsabschnitt (9c) aufweist, der mit einem die Ankerbewegung auf die Kontaktfeder (9) übertragenden, aus Isolationsmaterial bestehenden Betätigungselement (10) in Verbindung steht,
dadurch gekennzeichnet,
daß das Betätigungselement (10) einen als Kappe ausgebildeten, trichterförmig sich öffnenden Abschirmabschnitt (10a;13) und einen mit dem Anker in Verbindung stehenden Schiebeabschnitt (10b;23) aufweist, wobei der Abschirmabschnitt (10a;13) über den Betätigungsabschnitt (9c) der Kontaktfeder (9) gestülpt ist. - Relais nach Anspruch 1,
dadurch gekennzeichnet,
daß der Grundkörper (1) mit einer die Anschlußseite bildenden Bodenplatte und mit einer zur Trennung der Bereiche für das Magnetsystem (2) und die Kontaktanordnung (7) vorgesehenen U-förmigen Zwischenwand (11) ausgebildet ist. - Relais nach Anspruch 2,
dadurch gekennzeichnet,
daß die U-förmige Zwischenwand (11) am Grundkörper (1) angeformt ist. - Relais nach einem der Ansprüche 1 bis 3,
dadurch gekennzeichnet,
daß die der Anschlußseite zugewandte Seitenwand des Abschirmabschnitts (10a) des Betätigungselementes (10) eine Öffnung aufweist und daß der Abschirmabschnitt (10a) in einer senkrecht zur Bodenplatte (1) verlaufenden Richtung von dieser Seite her über den Betätigungsabschnitt (9b) der Kontaktfeder (9) gestülpt ist. - Relais nach einem der Ansprüche 1 bis 3,
dadurch gekennzeichnet,
daß der Schiebeabschnitt (23) des Betätigungselementes (10) hakenförmig ausgebildet ist und über einen am freien Ende des Ankers (6) angeformten Zapfen (12) greift. - Relais nach einem der Ansprüche 1 bis 4,
dadurch gekennzeichnet,
daß der Schiebeabschnitt (10b) des Betätigungselementes (10) trichterförmig sich öffnend ausgebildet ist und über einen am Anker (6) angeformten Zapfen (17) gestülpt ist. - Relais nach einem der Ansprüche 1 bis 4,
dadurch gekennzeichnet,
daß das aus einem Abschirmabschnitt (13) und einem plattenförmigen Schiebeabschnitt (14) gebildete Betätigungselement (10) zweiteilig ausgeführt ist, wobei an beiden Teilen (13,14) sowie am Anker (16) Verbindungselemente (15,16a,16b,17) vorgesehen sind, die ein Zusammenwirken des Abschirmabschnitts (13) mit dem Schiebeabschnitt (14) sowie des Schiebeabschnitts (14) mit dem Anker (6) ermöglichen. - Relais nach Anspruch 7,
dadurch gekennzeichnet,
daß am Abschirmabschnitt (13) ein Zapfen (15) angeformt ist und am Schiebeabschnitt (14) Ausnehmungen (16a,16b) vorgesehen sind, in die der Zapfen (15) des Abschirmabschnitts (13) sowie ein am freien Ende des Ankers (6) angeformter Zapfen (17) eingreifen. - Relais nach einem der Ansprüche 1 bis 8,
dadurch gekennzeichnet,
daß die Ebene, in der sich der Anker (6), die Kontaktfeder (9) und das Betätigungselement (10) bewegen, senkrecht oder parallel zur Anschlußseite (1) verläuft. - Relais nach einem der Ansprüche 1 bis 9,
dadurch gekennzeichnet,
daß der Anker (6) an der Stirnseite der Spule (3) zwischen der Spule (3) und der Kontaktanordnung (7) angebracht ist. - Relais nach einem der Ansprüche 1 bis 10,
dadurch gekennzeichnet,
daß die Kontaktfeder (9) mit einem U-förmigen (18) und einem L-förmigen (19) Teil gebildet ist, wobei ein Schenkel des U-förmigen Teils (18a) den Kontaktabschnitt (9a) und der kurze Schenkel des L-förmigen Teils (19a) den Befestigungsabschnitt (9b) bilden und wobei der andere Schenkel des U-förmigen Teils (18b) mit dem langen Schenkel des L-förmigen Teils (19b) verbunden ist und den Betätigungsabschnitt (9c) bildet. - Relais nach einem der Ansprüche 1 bis 11,
dadurch gekennzeichnet,
daß eine Kappe (20) mit zumindest einer zwischen Magnetsystem (2) und Kontaktanordnung (7) ragenden Zwischenwand (21c;24d) vorgesehen ist. - Relais nach einem der Ansprüche 1 bis 12,
dadurch gekennzeichnet,
daß im Innern des Abschirmabschnitts (10a;13) Vorsprünge (10c,10d) vorgesehen sind, zwischen denen der Betätigungsabschnitt (9c) der Kontaktfeder (9) gelagert ist.
Applications Claiming Priority (2)
| Application Number | Priority Date | Filing Date | Title |
|---|---|---|---|
| DE9016264U DE9016264U1 (de) | 1990-11-29 | 1990-11-29 | Relais |
| DE9016264U | 1990-11-29 |
Publications (3)
| Publication Number | Publication Date |
|---|---|
| EP0487786A2 true EP0487786A2 (de) | 1992-06-03 |
| EP0487786A3 EP0487786A3 (en) | 1993-02-24 |
| EP0487786B1 EP0487786B1 (de) | 1994-11-30 |
Family
ID=6859834
Family Applications (1)
| Application Number | Title | Priority Date | Filing Date |
|---|---|---|---|
| EP90124909A Expired - Lifetime EP0487786B1 (de) | 1990-11-29 | 1990-12-20 | Relais |
Country Status (4)
| Country | Link |
|---|---|
| EP (1) | EP0487786B1 (de) |
| AT (1) | ATE114869T1 (de) |
| DE (2) | DE9016264U1 (de) |
| PT (1) | PT99633B (de) |
Families Citing this family (6)
| Publication number | Priority date | Publication date | Assignee | Title |
|---|---|---|---|---|
| DE4115092C3 (de) * | 1991-05-08 | 1999-06-24 | Eberle Controls Gmbh | Elektromagnetisches Schaltrelais für Leiterplattenmontage |
| DE4226889C2 (de) * | 1991-09-17 | 1994-03-10 | Euro Matsushita Electric Works | Elektromagnetisches Relais |
| DE9111577U1 (de) * | 1991-09-17 | 1993-01-28 | EURO-Matsushita Electric Works AG, 8150 Holzkirchen | Elektromagnetisches Relais |
| DE9210790U1 (de) * | 1992-08-12 | 1993-12-16 | EURO-Matsushita Electric Works AG, 83607 Holzkirchen | Isolierteil für ein elektromagnetisches Relais |
| EP0815575B1 (de) * | 1995-03-21 | 1998-09-02 | Siemens Aktiengesellschaft | Elektromagnetisches relais |
| DE19917338C2 (de) * | 1999-04-16 | 2002-05-08 | Tyco Electronics Logistics Ag | Elektromagnetisches Relais und Verfahren zu dessen Herstellung |
Family Cites Families (3)
| Publication number | Priority date | Publication date | Assignee | Title |
|---|---|---|---|---|
| DE2912800C2 (de) * | 1979-03-30 | 1985-04-25 | Siemens AG, 1000 Berlin und 8000 München | Elektromagnetisches Relais für hohe Schaltleistungen |
| DE8701349U1 (de) * | 1987-01-28 | 1988-05-26 | Siemens AG, 1000 Berlin und 8000 München | Elektromagnetisches Relais |
| DE3835118A1 (de) * | 1988-10-14 | 1990-04-19 | Siemens Ag | Elektromagnetisches relais |
-
1990
- 1990-11-29 DE DE9016264U patent/DE9016264U1/de not_active Expired - Lifetime
- 1990-12-20 DE DE59007875T patent/DE59007875D1/de not_active Expired - Lifetime
- 1990-12-20 AT AT90124909T patent/ATE114869T1/de not_active IP Right Cessation
- 1990-12-20 EP EP90124909A patent/EP0487786B1/de not_active Expired - Lifetime
-
1991
- 1991-11-28 PT PT99633A patent/PT99633B/pt not_active IP Right Cessation
Also Published As
| Publication number | Publication date |
|---|---|
| PT99633B (pt) | 1999-02-26 |
| EP0487786A3 (en) | 1993-02-24 |
| EP0487786B1 (de) | 1994-11-30 |
| PT99633A (pt) | 1993-11-30 |
| ATE114869T1 (de) | 1994-12-15 |
| DE9016264U1 (de) | 1991-02-21 |
| DE59007875D1 (de) | 1995-01-12 |
Similar Documents
| Publication | Publication Date | Title |
|---|---|---|
| DE4135305C2 (de) | ||
| DE2454967B2 (de) | Gepoltes elektromagnetisches relais | |
| DE9001448U1 (de) | Schaltvorrichtung mit geschützten Unterbrechern | |
| DE2936101C2 (de) | Elektromagnetisches Relais | |
| EP0727797A1 (de) | Sicherheitsschalter | |
| EP0007637A1 (de) | Verriegelungsvorrichtung für Türen von Haushaltmaschinen | |
| DE4030333C2 (de) | Elektromagnetisches Schaltschütz | |
| EP0487786B1 (de) | Relais | |
| EP0501951B1 (de) | Elektromagnetisches relais | |
| WO2018054714A1 (de) | Elektromagnetisches relais | |
| DE3938226C1 (en) | Miniature switching relay of H=section - providing double insulated chamber for magnet and contact systems | |
| DE3025814C2 (de) | Elektromagnetisches Relais | |
| DE3118292C2 (de) | Elektromagnetisches Relais | |
| EP0077017B1 (de) | Polarisiertes elektromagnetisches Relais | |
| DE3323861C2 (de) | ||
| DE3604548C3 (de) | Elektrische Verbinderanordnung mit einem Steuerflächensystem | |
| EP0249025A2 (de) | Elektromagnetisches Kleinstrelais | |
| DE19917338C2 (de) | Elektromagnetisches Relais und Verfahren zu dessen Herstellung | |
| EP1473752A1 (de) | Elektromagnetischer Auslöser | |
| EP0502842B1 (de) | Elektromagnetisches relais | |
| EP0393628B1 (de) | Gehäuse für ein elektromechanisches Bauelement | |
| EP0133582A2 (de) | Elektromagnetisches Relais | |
| DE2402236C3 (de) | Steckbares, mit einem quaderförmigen Gehäuse versehenes, elektromagnetisches Relais | |
| DE2258479C3 (de) | Isoliereinrichtung für die Spule eines elektromagnetischen Flachrelais | |
| DE102016201409A1 (de) | Kamm für ein schmales Relais, Kammanordnung und Relais |
Legal Events
| Date | Code | Title | Description |
|---|---|---|---|
| PUAI | Public reference made under article 153(3) epc to a published international application that has entered the european phase |
Free format text: ORIGINAL CODE: 0009012 |
|
| 17P | Request for examination filed |
Effective date: 19901220 |
|
| AK | Designated contracting states |
Kind code of ref document: A2 Designated state(s): AT CH DE ES FR GB IT LI |
|
| PUAL | Search report despatched |
Free format text: ORIGINAL CODE: 0009013 |
|
| AK | Designated contracting states |
Kind code of ref document: A3 Designated state(s): AT CH DE ES FR GB IT LI |
|
| 17Q | First examination report despatched |
Effective date: 19940317 |
|
| GRAA | (expected) grant |
Free format text: ORIGINAL CODE: 0009210 |
|
| AK | Designated contracting states |
Kind code of ref document: B1 Designated state(s): AT CH DE ES FR GB IT LI |
|
| PG25 | Lapsed in a contracting state [announced via postgrant information from national office to epo] |
Ref country code: ES Free format text: THE PATENT HAS BEEN ANNULLED BY A DECISION OF A NATIONAL AUTHORITY Effective date: 19941130 |
|
| REF | Corresponds to: |
Ref document number: 114869 Country of ref document: AT Date of ref document: 19941215 Kind code of ref document: T |
|
| REF | Corresponds to: |
Ref document number: 59007875 Country of ref document: DE Date of ref document: 19950112 |
|
| ITF | It: translation for a ep patent filed | ||
| GBT | Gb: translation of ep patent filed (gb section 77(6)(a)/1977) |
Effective date: 19950207 |
|
| ET | Fr: translation filed | ||
| PLBE | No opposition filed within time limit |
Free format text: ORIGINAL CODE: 0009261 |
|
| STAA | Information on the status of an ep patent application or granted ep patent |
Free format text: STATUS: NO OPPOSITION FILED WITHIN TIME LIMIT |
|
| 26N | No opposition filed | ||
| PGFP | Annual fee paid to national office [announced via postgrant information from national office to epo] |
Ref country code: GB Payment date: 19981210 Year of fee payment: 9 |
|
| PGFP | Annual fee paid to national office [announced via postgrant information from national office to epo] |
Ref country code: AT Payment date: 19981211 Year of fee payment: 9 |
|
| PGFP | Annual fee paid to national office [announced via postgrant information from national office to epo] |
Ref country code: FR Payment date: 19981218 Year of fee payment: 9 |
|
| PGFP | Annual fee paid to national office [announced via postgrant information from national office to epo] |
Ref country code: CH Payment date: 19990311 Year of fee payment: 9 |
|
| PG25 | Lapsed in a contracting state [announced via postgrant information from national office to epo] |
Ref country code: AT Free format text: LAPSE BECAUSE OF NON-PAYMENT OF DUE FEES Effective date: 19991220 Ref country code: GB Free format text: LAPSE BECAUSE OF NON-PAYMENT OF DUE FEES Effective date: 19991220 |
|
| PG25 | Lapsed in a contracting state [announced via postgrant information from national office to epo] |
Ref country code: LI Free format text: LAPSE BECAUSE OF NON-PAYMENT OF DUE FEES Effective date: 19991231 Ref country code: CH Free format text: LAPSE BECAUSE OF NON-PAYMENT OF DUE FEES Effective date: 19991231 |
|
| REG | Reference to a national code |
Ref country code: CH Ref legal event code: PUE Owner name: SIEMENS AKTIENGESELLSCHAFT TRANSFER- TYCO ELECTRON Ref country code: CH Ref legal event code: NV Representative=s name: RIEDERER HASLER & PARTNER PATENTANWAELTE AG |
|
| GBPC | Gb: european patent ceased through non-payment of renewal fee |
Effective date: 19991220 |
|
| PG25 | Lapsed in a contracting state [announced via postgrant information from national office to epo] |
Ref country code: FR Free format text: LAPSE BECAUSE OF NON-PAYMENT OF DUE FEES Effective date: 20000831 |
|
| REG | Reference to a national code |
Ref country code: FR Ref legal event code: ST |
|
| PGFP | Annual fee paid to national office [announced via postgrant information from national office to epo] |
Ref country code: IT Payment date: 20091230 Year of fee payment: 20 |
|
| PGFP | Annual fee paid to national office [announced via postgrant information from national office to epo] |
Ref country code: DE Payment date: 20091230 Year of fee payment: 20 |
|
| PG25 | Lapsed in a contracting state [announced via postgrant information from national office to epo] |
Ref country code: DE Free format text: LAPSE BECAUSE OF EXPIRATION OF PROTECTION Effective date: 20101220 |
