EP0451097A2 - Thermostatisch geregelte Heizeinrichtung für eine Unterdusche eines Wasserklosetts - Google Patents

Thermostatisch geregelte Heizeinrichtung für eine Unterdusche eines Wasserklosetts Download PDF

Info

Publication number
EP0451097A2
EP0451097A2 EP91810200A EP91810200A EP0451097A2 EP 0451097 A2 EP0451097 A2 EP 0451097A2 EP 91810200 A EP91810200 A EP 91810200A EP 91810200 A EP91810200 A EP 91810200A EP 0451097 A2 EP0451097 A2 EP 0451097A2
Authority
EP
European Patent Office
Prior art keywords
water
heating device
inlet
insert
outlet
Prior art date
Legal status (The legal status is an assumption and is not a legal conclusion. Google has not performed a legal analysis and makes no representation as to the accuracy of the status listed.)
Granted
Application number
EP91810200A
Other languages
English (en)
French (fr)
Other versions
EP0451097B1 (de
EP0451097A3 (en
Inventor
Beat Spörri
Current Assignee (The listed assignees may be inaccurate. Google has not performed a legal analysis and makes no representation or warranty as to the accuracy of the list.)
Geberit AG
Original Assignee
Geberit AG
Priority date (The priority date is an assumption and is not a legal conclusion. Google has not performed a legal analysis and makes no representation as to the accuracy of the date listed.)
Filing date
Publication date
Application filed by Geberit AG filed Critical Geberit AG
Publication of EP0451097A2 publication Critical patent/EP0451097A2/de
Publication of EP0451097A3 publication Critical patent/EP0451097A3/de
Application granted granted Critical
Publication of EP0451097B1 publication Critical patent/EP0451097B1/de
Anticipated expiration legal-status Critical
Expired - Lifetime legal-status Critical Current

Links

Images

Classifications

    • FMECHANICAL ENGINEERING; LIGHTING; HEATING; WEAPONS; BLASTING
    • F24HEATING; RANGES; VENTILATING
    • F24HFLUID HEATERS, e.g. WATER OR AIR HEATERS, HAVING HEAT-GENERATING MEANS, e.g. HEAT PUMPS, IN GENERAL
    • F24H1/00Water heaters, e.g. boilers, continuous-flow heaters or water-storage heaters
    • F24H1/18Water-storage heaters
    • F24H1/20Water-storage heaters with immersed heating elements, e.g. electric elements or furnace tubes
    • F24H1/201Water-storage heaters with immersed heating elements, e.g. electric elements or furnace tubes using electric energy supply
    • F24H1/202Water-storage heaters with immersed heating elements, e.g. electric elements or furnace tubes using electric energy supply with resistances
    • EFIXED CONSTRUCTIONS
    • E03WATER SUPPLY; SEWERAGE
    • E03DWATER-CLOSETS OR URINALS WITH FLUSHING DEVICES; FLUSHING VALVES THEREFOR
    • E03D9/00Sanitary or other accessories for lavatories ; Devices for cleaning or disinfecting the toilet room or the toilet bowl; Devices for eliminating smells
    • E03D9/08Devices in the bowl producing upwardly-directed sprays; Modifications of the bowl for use with such devices ; Bidets; Combinations of bowls with urinals or bidets; Hot-air or other devices mounted in or on the bowl, urinal or bidet for cleaning or disinfecting

Definitions

  • the invention relates to a heating device according to the preamble of independent claim 1.
  • Heating devices also called hot water storage tanks or boilers
  • cold water enters an inner boiler through an inlet pipe at the bottom and the hot water is forced to drain through an outlet attached to the upper end of the inner boiler.
  • a heating device has become known from CH-A 597 447, which has a heating room in which the incoming cold water is heated in the manner of a immersion heater and a downstream storage room in which the heated shower water is kept ready for use.
  • This subdivision of the interior of the heating facility an even water temperature in the storage room should be ensured.
  • the storage room and the heating room are divided by a horizontal pipe section that allows the water to flow counter-current. Accordingly, the outlet of the water from the storage room and the inlet of the cold water are located on the same side of the pipe section.
  • This heating device has a cylindrical outer shape and is therefore suitable for installation in a corresponding tubular installation element, in which the further devices for the shower are housed and which is mounted in the hollow attachment of the toilet seat.
  • the external shape is largely determined by the structure mentioned above.
  • Toilet seats with such a heating device accordingly have a comparatively high approach, which often does not do justice to today's facilities in terms of aesthetics.
  • a toilet seat with a larger and flatter upper side and a correspondingly lower attachment would be desirable.
  • the object of the invention is to create a heating device which has fewer restrictions with regard to the external shape and which is nevertheless suitable for a shower in a water closet.
  • the object is achieved by the invention according to claim 1.
  • the water flowing into the interior of the housing with network pressure is largely calmed down immediately after the inlet. Without a subdivision into a heating room and a storage room, uniform heating of the water to the desired body temperature can be achieved in a comparatively short flow path.
  • both the water inlet and the water outlet are arranged in the upper region of the housing in the device according to the invention.
  • the inflowing cold water essentially flows from top to bottom and the warm water from bottom to top to the outlet.
  • the interior and, accordingly, the outer shape of the heating device can largely be chosen freely. In particular, a drop-shaped cross section and a lower height of the housing of the heating device are possible, which is particularly advantageous with regard to the shape of the toilet seat.
  • a particularly effective calming of the inflowing cold water is achieved if, according to a development of the invention, an insert with a horizontal plate is provided in the interior of the housing, this horizontally extending plate having holes for the passage of the water flowing downwards. The effect of sedation is increased even more when this plate is after has projections directed above.
  • the insert has upwardly directed webs, on which a partition is arranged at a distance from the plate, which deflects the inflowing cold water upwards against the housing.
  • the cold water flows upwards for a short time immediately after the inlet and is then deflected downwards through the housing wall. This measure also helps to quickly calm the water flowing in at high pressure and a comparatively high speed.
  • the thermostat is a capillary tube thermostat and this is arranged above the heating element. Tests have shown that this arrangement achieves a very good temperature characteristic despite the unconventional design. Further advantageous features result from the remaining dependent claims and the following description.
  • the heating device has a thermally well-insulating plastic housing 1 made of a cover 1a and a housing body 1b.
  • the cover 1 a has a fuse 5 known per se and is tightly connected to the body 1 on all sides by means of vibration welding.
  • a heating rod 3 bent into a flat loop and a capillary tube thermostat 2 are used, which are fastened to the housing body 1b and which are connected to the outside of the housing in a manner known per se with electrical control and supply lines 4 and 12.
  • the heating element 3 is arranged in the lower region of the cavity 1e and the thermostat 2 is located above this heating element 3.
  • connection 13 For the supply of the cold water, a connection 13 is provided, which is integrally formed on an overflow channel 8 molded onto a housing body 1b. 3, this channel 8 leads downward and with an opening 8a to the outside.
  • a pipe interrupter 9 which is formed in a manner known per se by a free path between the mouth 13a of the connection part 13 and a water inlet opening 6. The minimum length of this route is usually prescribed.
  • the pipe interrupter prevents water from getting into the water supply network from the interior 1e. In such a case, only air is drawn through the opening 8a into the water supply network.
  • the pipe interrupter 9 also forms an overflow protection here.
  • the upper region of the cavity 1e is connected to the outside air, so that no dangerous excess pressure can build up in this space 1e.
  • a pipe interrupter and an overflow protection device are thus advantageously produced.
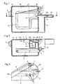
  • the course of the inflowing cold water through the opening 6 is indicated in FIGS. 2 and 5 by the arrows 14a, 14b and 14c. With the help of an insert 10, this flow pattern leads to rapid calming of the inflowing water.
  • the water flowing through the opening 6 horizontally into a prechamber 10a arranged in the upper part of space 1e, in which the water is deflected upwards in the direction of arrow 14b and laterally to the left and right in the direction of arrows 14b.
  • This direction of flow is significantly influenced by a partition 10g of the insert 10 and by the housing body 1b.
  • the already partially calmed water then flows downwards in the direction of the arrows 14c against a plate 10d of the insert 10 which has a plurality of passages 10e and ribs 10f projecting upwards.
  • These projections 10f and passages 10e calm the water so that it flows down below the plate 10d at a low speed and is heated by the heating element 3.
  • the heated water passes through the natural buoyancy upwards and approximately in the direction of arrow 14d (FIG. 2) along a wall 1c to an outlet opening 7, from which the heated water reaches a shower arm via a hose line, not shown here.
  • the wall 1c is integrally formed on the housing 1 and ensures that in the region of the two openings 6 and 7 the heated outflowing water is separated from the inflowing cold water.
  • the insert 10 shown in FIGS. 5 and 6 is made as a separate piece of plastic and is inserted into the housing body 1b before the cover 1a is placed on it, with supports 1d on the housing body 1b having this insert 10 hold.
  • the partition 10g is connected to the plate 10d via two parallel webs 10c.
  • a passage 10b can be provided in the wall 10g, through which water can likewise get down from the chamber 10a to the radiator 3.
  • the heating device can of course also have a temperature limit, not shown here.
  • the entire cavity 1e is at the same time the boiler room and the storage room. In the case of small external dimensions, a comparatively large amount of warm flow water can be kept in stock.

Landscapes

  • Engineering & Computer Science (AREA)
  • Public Health (AREA)
  • Health & Medical Sciences (AREA)
  • Epidemiology (AREA)
  • Hydrology & Water Resources (AREA)
  • Mechanical Engineering (AREA)
  • General Engineering & Computer Science (AREA)
  • Chemical & Material Sciences (AREA)
  • Molecular Biology (AREA)
  • Thermal Sciences (AREA)
  • Physics & Mathematics (AREA)
  • Life Sciences & Earth Sciences (AREA)
  • Combustion & Propulsion (AREA)
  • Water Supply & Treatment (AREA)
  • Instantaneous Water Boilers, Portable Hot-Water Supply Apparatuses, And Control Of Portable Hot-Water Supply Apparatuses (AREA)
  • Heat-Pump Type And Storage Water Heaters (AREA)
  • Bidet-Like Cleaning Device And Other Flush Toilet Accessories (AREA)
  • Steam Or Hot-Water Central Heating Systems (AREA)
  • Steroid Compounds (AREA)
  • Sanitary Device For Flush Toilet (AREA)
  • Domestic Plumbing Installations (AREA)

Abstract

Die Heizeinrichtung weist einen Einsatz (10) auf, mit welchem durch eine Einlassöffnung (6) einströmendes Wasser beruhigt wird, bevor es nach unten zu einem elektrischen Heizkörper (3) gelangt. Das erwärmte Wasser gelangt wieder in den oberen Teil des Innenraumes (1e) der Heizeinrichtung und entlang einer Trennwand (1c) zu dem ebenfalls im oberen Bereich angeordneten Auslass (7). Durch diese Anordnung ist gewährleistet, dass auch bei geringer Bauhöhe und kompakter Ausführung möglichst lange gleichmässig warmes Wasser vorliegt, das über eine Schlauchleitung dem Duscharm einer Unterdusche zugeführt werden kann.

Description

  • Die Erfindung betrifft eine Heizeinrichtung nach dem Oberbegriff des unabhängigen Patentanspruchs 1.
  • Allgemein bekannt sind Heizeinrichtungen, auch Heisswasserspeicher oder Boiler genannt, bei denen durch ein Zulaufrohr unten in einen Innenkessel kaltes Wasser eintritt und durch Verdrängung das heisse Wasser durch einen am oberen Ende des Innenkessels angebrachten Auslauf zum Abfluss gebracht wird. Weiter ist durch die CH-A 597 447 eine Heizeinrichtung bekannt geworden, die einen Beheizungsraum, in dem das Zuströmende Kaltwasser in der Art einer Tauchsiederheizung erwärmt wird und einen nachgeschalteten Vorratsraum aufweist, in dem das erwärmte Duschwasser für den Gebrauch bereit gehalten wird. Durch diese Unterteilung des Innenraumes der Heizeinrichturg soll eine gleichmässige Wassertemperatur im Vorratsraum sichergestellt werden. Der Vorratsraum und der Beheizungsraum werden durch ein liegendes Rohrstück unterteilt, das eine Gegenstromführung des Wassers erlaubt. Entsprechend sind der Auslass des Wassers aus dem Vorratsraum und der Einlass des kalten Wassers auf der gleichen Seite des Rohrstücks angebracht. Diese Heizeinrichtung besitzt eine zylindrische Aussenform und eignet sich daher für den Einbau in ein entsprechendes rohrförmiges Installationselement, in dem auch die weiteren Vorrichtungen für die Unterdusche untergebracht sind und das im hohlen Ansatz des Klosettsitzes montiert wird. Hingegen besteht bei dieser Heizeinrichtung die Schwierigkeit, dass durch den oben erwähnten Aufbau die äussere Formgebung weitgehend festgelegt ist. Klosettsitze mit einer solchen Heizeinrichtung besitzen entsprechend einen vergleichsweise hohen Ansatz, der heutigen Einrichtungen in ästhetischer Hinsicht vielfach nicht gerecht wird. Wünschbar wäre insbesondere ein Klosettsitz mit einer grösseren und flacheren Oberseite und einem entsprechend niedrigeren Ansatz.
  • Der Erfindung liegt die Aufgabe zugrunde, eine Heizeinrichtung zu schaffen, die im Hinblick auf die äussere Formgebung weniger Einschränkungen bedingt, und die dennoch für eine Unterdusche eines Wasserklosetts geeignet ist. Die Aufgabe wird durch die Erfindung gemäss Anspruch 1 gelöst.
  • Bei der erfindungsgemässen Heizeinrichtung wird das mit Netzdruck in das Innere des Gehäuses einströmende Wasser unmittelbar nach dem Einlauf weitgehend beruhigt. Ohne dass eine Unterteilung in einen Beheizungsraum und einen Vorratsraum erforderlich ist, lässt sich auf einem vergleichsweise kurzen Strömungsweg eine gleichmässige Erwärmung des Wassers auf die gewünschte Körpertemperatur erreichen. Im Gegensatz zu den bekannten Heizvorrichtungen sind bei der erfindungsgemässen Einrichtung sowohl der Wassereinlauf als auch der Wasserauslauf im oberen Bereich des Gehäuses angeordnet. Das einströmende kalte Wasser strömt somit im wesentlichen von oben nach unten und das warme Wasser von unten nach oben zum Auslauf. Der Innenraum und entsprechend auch die äussere Form der Heizeinrichtung können weitgehend frei gewählt werden. Insbesondere ist ein tropfenförmiger Querschnitt und eine niedrigere Höhe des Gehäuses der Heizeinrichtung möglich, was im Hinblick auf die Formgebung des Klosettsitzes besonders vorteilhaft ist.
  • Eine besonders wirksame Beruhigung des einströmenden kalten Wassers wird dann erreicht, wenn nach einer Weiterbildung der Erfindung in den Innenraum des Gehäuses ein Einsatz mit einer horizontalen Platte vorgesehen ist, wobei diese sich horizontal erstreckende Platte Löcher für den Durchgang des nach unten strömenden Wassers aufweist. Die Wirkung der Beruhigung wird noch weiter erhöht, wenn diese Platte nach oben gerichtete Vorsprünge besitzt.
  • Nach einer Weiterbildung der Erfindung weist der Einsatz nach oben gerichtete Stege auf, an denen im Abstand zu der Platte eine Trennwand angeordnet ist, welche das einströmende kalte Wasser nach oben gegen das Gehäuse umlenkt. Das kalte Wasser strömt somit unmittelbar nach dem Einlass kurzfristig nach oben und wird durch die Gehäusewandung dann nach unten umgelenkt. Auch diese Massnahme trägt dazu bei, dass das mit hohem Druck und vergleichsweise hoher Geschwindigkeit einströmende Wasser schnell beruhigt wird.
  • Nach einer Weiterbildung der Erfindung ist der Thermostat ein Kapillarrohr-Thermostat und dieser ist über dem Heizstab angeordnet. Versuche haben gezeigt, dass durch diese Anordnung trotz der unkonventionellen Bauweise eine sehr gute Temperaturcharakteristik erreicht wird. Weitere vorteilhafte Merkmale ergeben sich aus den übrigen abhängigen Ansprüchen und der nachfolgenden Beschreibung.
  • Ein Ausführungsbeispiel der Erfindung wird nachfolgend anhand der Zeichnungen näher erläutert. Es zeigen:
    • Fig. 1 einen Horizontalschnitt durch eine erfindungsgemässe Heizeinrichtung, wobei der Einsatz hier nur andeutungsweise eingezeichnet ist,
    • Fig. 2 einen Vertikalschnitt durch die Heizeinrichtung entlang der Linie II-II der Fig. 1,
    • Fig. 3 eine Seitenansicht der erfindungsgemässen Heizeinrichtung,
    • Fig. 4 eine Ansicht des Gehäusekörpers,
    • Fig. 5 einen Vertikalschnitt durch den Einsatz, und
    • Fig. 6 eine Draufsicht auf den Einsatz.
  • Die Heizeinrichtung weist ein thermisch gut isolierendes Kunststoffgehäuse 1 aus einem Deckel 1a und einen Gehäusekörper 1b auf. Der Deckel 1a besitzt eine an sich bekannte Schmelzsicherung 5 und ist mittels Vibrationsschweissung mit dem Körper 1 allseitig dicht verbunden. In dem Hohlraum 1e des Gehäuses 1 sind ein zu einer ebenen Schleife gebogener Heizstab 3 sowie ein Kapillarrohr-Thermostat 2 eingesetzt, die am Gehäusekörper 1b befestigt sind und die gehäuseaussenseitig in an sich bekannter Weise mit elektrischen Steuer- und Versorgungsleitungen 4 und 12 verbunden sind. Wie insbesondere aus Fig. 2 ersichtlich, ist der Heizstab 3 im unteren Bereich des Hohlraumes 1e angeordnet und befindet sich der Thermostat 2 über diesem Heizstab 3.
  • Für die Zuführung des kalten Wassers ist ein Anschluss 13 vorgesehen, der an einem Gehäusekörper 1b angeformten Ueberlaufkanal 8 angeformt ist. Dieser Kanal 8 führt gemäss Fig. 3 nach unten und mit einer Oeffnung 8a nach aussen. Im oberen Teil des Kanals 8 befinden sich ein Rohrunterbrecher 9, der in an sich bekannter Weise durch eine freie Strecke zwischen der Mündung 13a des Anschlussteils 13 und einer Wassereinlauföffnung 6 gebildet wird. Die minimale Länge dieser Strecke ist in der Regel vorgeschrieben. Bei einem Unterdruck in der Kaltwasserleitung wird durch den Rohrunterbrecher verhindert, dass Wasser aus dem Innenraum 1e in das Wasserversorgungsnetz gelangen kann. In einem solchen Fall wird lediglich Luft durch die Oeffnung 8a in das Wasserversorgungsnetz gesaugt. Der Rohrunterbrecher 9 bildet hier ebenfalls eine Ueberlaufsicherung. Durch die Oeffnung 6 und durch den Kanal 8 ist der obere Bereich des Hohlraumes 1e mit der Aussenluft verbunden, so dass sich in diesem Raum 1e kein gefährlicher Ueberdruck aufbauen kann. Bei der erfindungsgemässen Heizeinrichtung sind somit herstellungstechnisch vorteilhaft ein Rohrunterbrecher und eine Ueberlaufsicherung realisiert. Der Verlauf des einströmenden kalten Wassers durch die Oeffnung 6 ist in den Fig. 2 und 5 durch die Pfeile 14a, 14b und 14c angedeutet. Dieser Strömungsverlauf führt mit Hilfe eines Einsatzes 10 zu einer schnellen Beruhigung des einströmenden Wassers. Das die Oeffnung 6 horizontal durchströmende Wasser gelangt in eine im oberen Teil des Raumes 1e angeordnete Vorkammer 10a, in welcher das Wasser in Richtung des Pfeils 14b nach oben sowie seitlich nach links und rechts in Richtung der Pfeile 14b abgelenkt wird. Diese Strömungsrichtung wird wesentlich durch eine Trennwand 10g des Einsatzes 10 sowie durch den Gehäusekörper 1b beeinflusst. Anschliessend strömt das bereits teilweise beruhigte Wasser in Richtung der Pfeile 14c nach unten gegen eine Platte 10d des Einsatzes 10, die eine Mehrzahl von Durchgängen 10e sowie nach oben vorspringende Rippen 10f aufweist. Diese Vorsprünge 10f und Durchgänge 10e beruhigen das Wasser, sodass dieses unterhalb der Platte 10d mit geringer Geschwindigkeit nach unten strömt und durch den Heizkörper 3 erwärmt wird. Das erwärmte Wasser gelangt durch den natürlichen Auftrieb nach oben und etwa in Richtung des Pfeiles 14d (Fig. 2) entlang einer Wand 1c zu einer einer Auslassöffnung 7, von welcher das erwärmte Wasser über eine hier nicht gezeigte Schlauchleitung zu einem Duscharm gelangt. Die Wand 1c ist am Gehäuse 1 angeformt und gewährleistet, dass im Bereich der beiden Oeffnungen 6 und 7 das erwärmte ausströmende Wasser vom einströmenden kalten Wasser getrennt ist.
  • Der in den Fig. 5 und 6 gezeigte Einsatz 10 ist als separates Stück aus Kunststoff hergestellt und vor dem Aufsetzen des Deckels 1a in den Gehäusekörper 1b eingesetzt, wobei hier Auflagen 1d am Gehäusekörper 1b diesen Einsatz 10 halten. Wie die Fig. 5 zeigt, ist die Trennwand 10g über zwei parallele Stege 10c mit der Platte 10d verbunden. In der Wand 10g kann ein Durchgang 10b angebracht sein, durch den ebenfalls Wasser von der Kammer 10a nach unten zum Heizkörper 3 gelangen kann.
  • Zur Absicherung kann die Heizeinrichtung selbstverständlich auch eine hier nicht gezeigte Temperaturbegrenzung aufweisen.
  • Beim erfindungsgemässen Heisswasserspeicher ist im wesentlichen der gesamte Hohlraum 1e zugleich Heizraum und Vorratsraum. Bei kleinen Aussenmassen kann somit eine vergleichsweise grosse Menge an warmem Durschwasser auf Vorrat gehalten werden.

Claims (9)

  1. Thermostatisch geregelter Heisswasserspeicher für eine in einem hohlen Ansatz eines Klosettsitzes unterzubringende Unterdusche, mit einem elektrischen Heizkörper (3), einem Temperaturfühler (2), einem Wassereinlauf (6) für das kalte Wasser und einem Wasserauslauf (7), der an eine zu einem Duscharm führende Warmwasserleitung anzuschliessen ist, wobei der Wassereinlauf (6) und der Wasserauslauf (7) sich auf der gleichen Seite des Heisswasserspeichers befinden, dadurch gekennzeichnet, dass der Wassereinlauf (6) und der Wasserauslauf (7) im oberen Bereich angeordnet sind und dass unterhalb von diesem im Hohlraum (1e) des Heisswasserspeichers (1) ein Einsatz (10) zur Beruhigung des einströmenden Wassers angeordnet ist, dass das einströmende Wasser von oben nach unten auf den Einsatz (10) geleitet wird und dass der Einlauf (6) und der Auslauf (7) durch eine zum hohlraum (1e) hin offene Trennvorrichtung (1c) voneinander getrennt sind.
  2. Heizeinrichtung nach Anspruch 1, dadurch gekennzeichnet, dass der Einsatz (10) eine sich horizontal erstreckende Platte (10d) mit Löchern (10e) für den Durchgang des nach unten strömenden Wassers aufweist.
  3. Heizeinrichtung nach Anspruch 1 oder 2, dadurch gekennzeichnet, dass der Einsatz (10) nach oben gerichtete Vorsprünge zur Beruhigung des einströmenden Wassers aufweist.
  4. Heizeinrichtung nach einem der Ansprüche 1 bis 3, dadurch gekennzeichnet, dass der Einsatz (10) nach oben gerichtete Stege (10c) aufweist, welche im Abstand zu einer Platte (10d) eine Trennwand (10g) stützt, die gegenüber dem Einlauf (6) angeordnet ist und die Strömung des einlaufenden Wassers nach oben umlenkt.
  5. Heizeinrichtung nach einem der Ansprüche 1 bis 4, dadurch gekennzeichnet, dass die Trennvorrichtung eine Trennwand (1c) ist, die zwischen dem Einlauf (6) und dem Auslauf (7) angeordnet ist, und die sich in Längsrichtung des Gehäuses (1) erstreckt.
  6. Heizeinrichtung nach Anspruch 5, dadurch gekennzeichnet, dass die Trennwand (1c) am Gehäuse (1) angeformt ist.
  7. Heizeinrichtung nach einem der Anspruche 1 bis 6, dadurch gekennzeichnet, dass der Temperaturfühler (2) ein Kapillarrohr-Thermostat ist und dass dieser über dem Heizstab (3) angeordnet ist.
  8. Heizeinrichtung nach einem der Ansprüche 1 bis 7, dadurch gekennzeichnet, dass das Gehäuse zweiteilig ist und diese Teile durch Vibrationsschweissung miteinander verbunden sind.
  9. Heizeinrichtung nach einem der Ansprüche 1 bis 8, dadurch gekennzeichnet, dass auf der Aussenseite des Gehäuses (1), auf der Seite von Einlauf (6) und Auslauf (7), ein Ueberlaufkanal (8) mit einem Rohrunterbrecher (9) angeordnet ist.
EP91810200A 1990-04-03 1991-03-22 Thermostatisch geregelte Heizeinrichtung für eine Unterdusche eines Wasserklosetts Expired - Lifetime EP0451097B1 (de)

Applications Claiming Priority (2)

Application Number Priority Date Filing Date Title
CH110890 1990-04-03
CH1108/90 1990-04-03

Publications (3)

Publication Number Publication Date
EP0451097A2 true EP0451097A2 (de) 1991-10-09
EP0451097A3 EP0451097A3 (en) 1992-10-21
EP0451097B1 EP0451097B1 (de) 1995-04-19

Family

ID=4202682

Family Applications (1)

Application Number Title Priority Date Filing Date
EP91810200A Expired - Lifetime EP0451097B1 (de) 1990-04-03 1991-03-22 Thermostatisch geregelte Heizeinrichtung für eine Unterdusche eines Wasserklosetts

Country Status (7)

Country Link
US (1) US5206928A (de)
EP (1) EP0451097B1 (de)
AT (1) ATE121483T1 (de)
CA (1) CA2038856A1 (de)
DE (2) DE9103209U1 (de)
FI (1) FI911483L (de)
NO (1) NO911182L (de)

Families Citing this family (4)

* Cited by examiner, † Cited by third party
Publication number Priority date Publication date Assignee Title
US5377300A (en) * 1992-11-04 1994-12-27 Watkins-Johnson Company Heater for processing gases
US6148146A (en) * 1998-01-07 2000-11-14 Poore; Bobby L. Water heater
US8303665B2 (en) * 2004-06-15 2012-11-06 Tornier Sas Glenoidal component, set of such components and shoulder prosthesis incorporating such a glenoidal component
WO2014018564A1 (en) 2012-07-23 2014-01-30 Zieger Claus Dieter Multiple proportion delivery systems and methods

Citations (1)

* Cited by examiner, † Cited by third party
Publication number Priority date Publication date Assignee Title
CH597447A5 (de) 1975-06-14 1978-04-14 Gaggenau Werke

Family Cites Families (5)

* Cited by examiner, † Cited by third party
Publication number Priority date Publication date Assignee Title
US3462766A (en) * 1966-11-17 1969-08-26 Mentor Inc Hygienic spray device for toilets
US3638619A (en) * 1970-06-17 1972-02-01 Itt Thermostatically controlled liquid-heating tank
JPS56150240A (en) * 1980-04-21 1981-11-20 Aisin Seiki Automatic limited part washing apparatus of stool
US4559651A (en) * 1983-12-20 1985-12-24 Matsushita Electric Industrial Co., Ltd. Hot-water washing apparatus for personal hygiene
JP2545843B2 (ja) * 1987-03-30 1996-10-23 アイシン精機株式会社 人体局部洗浄装置の水回路

Patent Citations (1)

* Cited by examiner, † Cited by third party
Publication number Priority date Publication date Assignee Title
CH597447A5 (de) 1975-06-14 1978-04-14 Gaggenau Werke

Also Published As

Publication number Publication date
DE9103209U1 (de) 1991-06-13
ATE121483T1 (de) 1995-05-15
EP0451097B1 (de) 1995-04-19
CA2038856A1 (en) 1991-10-04
FI911483A7 (fi) 1991-10-04
EP0451097A3 (en) 1992-10-21
DE59105217D1 (de) 1995-05-24
FI911483A0 (fi) 1991-03-27
FI911483L (fi) 1991-10-04
US5206928A (en) 1993-04-27
NO911182L (no) 1991-10-04
NO911182D0 (no) 1991-03-25

Similar Documents

Publication Publication Date Title
DE60006296T2 (de) Dampferzeuger für Reinigungsmaschinen, Bügeleisen, Kaffemaschinen und ähnliche Maschinen
EP0193863B1 (de) Dampferzeuger, insbesondere für Gargeräte
EP0451097B1 (de) Thermostatisch geregelte Heizeinrichtung für eine Unterdusche eines Wasserklosetts
EP0083358A1 (de) Automatische einfüllvorrichtung für batteriezellen.
DE29503497U1 (de) Spülvorrichtung für ein Wasserklosett
DE4132351C2 (de) Warmwasserkasten für eine Unterdusche
DE2241763A1 (de) Einlaufgarnitur fuer spuelkaesten
DE69112612T2 (de) Gaserhitzter wasserkessel.
EP3848520A1 (de) Wasserablassventil mit einstellbarer auslassgeschwindigkeit
AT411394B (de) Rohrheizkörper
AT396292B (de) Gas-wasserheizer
DE1778029A1 (de) Warmwasser-Zentralheizungsanlage fuer mehrere Stockwerke
DE8135167U1 (de) Vorrichtung zum regulieren eines fluessigkeitsdurchflusses
DE3009367A1 (de) Warmwasserbereiter mit einem liegenden behaelter
DE3502435A1 (de) Heizungskessel
DE1579842C3 (de) Heizkörper-AnschluBvorrichtung für eine Zentralheizungsanlage
AT359241B (de) Vorrichtung zur automatischen speisung mindestens eines wasserbehaelters fuer die luft- befeuchtung
DE2642911B2 (de)
DE2021487B2 (de) Ausdehnungsgefäß für eine Warmwasserheizungsanlage, das gegenüber der Atmosphäre offen ist
DE1803030C (de) Mischbatterie mit einer Druckausgleichseinrichtung
DE1565189B2 (de) Elektrisch beheizter Durchlauferhitzer für Warmwasserraumheizung
DE1653622C (de) Einrichtung zum Einfuhren von Luft in den Luftraum eines Windkessels
DE2058329C (de) Heißwasser Regelarmatur
AT257108B (de) Lüftgerät
AT400931B (de) Düse für ein wannensprudelbad

Legal Events

Date Code Title Description
PUAI Public reference made under article 153(3) epc to a published international application that has entered the european phase

Free format text: ORIGINAL CODE: 0009012

AK Designated contracting states

Kind code of ref document: A2

Designated state(s): AT BE CH DE DK ES FR GB IT LI LU NL SE

PUAL Search report despatched

Free format text: ORIGINAL CODE: 0009013

AK Designated contracting states

Kind code of ref document: A3

Designated state(s): AT BE CH DE DK ES FR GB IT LI LU NL SE

17P Request for examination filed

Effective date: 19921110

17Q First examination report despatched

Effective date: 19940630

GRAA (expected) grant

Free format text: ORIGINAL CODE: 0009210

AK Designated contracting states

Kind code of ref document: B1

Designated state(s): AT BE CH DE DK ES FR GB IT LI LU NL SE

PG25 Lapsed in a contracting state [announced via postgrant information from national office to epo]

Ref country code: ES

Free format text: THE PATENT HAS BEEN ANNULLED BY A DECISION OF A NATIONAL AUTHORITY

Effective date: 19950419

Ref country code: DK

Effective date: 19950419

REF Corresponds to:

Ref document number: 121483

Country of ref document: AT

Date of ref document: 19950515

Kind code of ref document: T

ITF It: translation for a ep patent filed
REF Corresponds to:

Ref document number: 59105217

Country of ref document: DE

Date of ref document: 19950524

ET Fr: translation filed
PG25 Lapsed in a contracting state [announced via postgrant information from national office to epo]

Ref country code: SE

Effective date: 19950719

GBT Gb: translation of ep patent filed (gb section 77(6)(a)/1977)

Effective date: 19950630

PGFP Annual fee paid to national office [announced via postgrant information from national office to epo]

Ref country code: FR

Payment date: 19960208

Year of fee payment: 6

PGFP Annual fee paid to national office [announced via postgrant information from national office to epo]

Ref country code: BE

Payment date: 19960216

Year of fee payment: 6

PLBE No opposition filed within time limit

Free format text: ORIGINAL CODE: 0009261

PG25 Lapsed in a contracting state [announced via postgrant information from national office to epo]

Ref country code: GB

Effective date: 19960322

PGFP Annual fee paid to national office [announced via postgrant information from national office to epo]

Ref country code: NL

Payment date: 19960329

Year of fee payment: 6

PG25 Lapsed in a contracting state [announced via postgrant information from national office to epo]

Ref country code: LU

Free format text: LAPSE BECAUSE OF NON-PAYMENT OF DUE FEES

Effective date: 19960331

26N No opposition filed
GBPC Gb: european patent ceased through non-payment of renewal fee

Effective date: 19960322

PG25 Lapsed in a contracting state [announced via postgrant information from national office to epo]

Ref country code: BE

Effective date: 19970331

BERE Be: lapsed

Owner name: GEBERIT A.G.

Effective date: 19970331

PG25 Lapsed in a contracting state [announced via postgrant information from national office to epo]

Ref country code: NL

Effective date: 19971001

PG25 Lapsed in a contracting state [announced via postgrant information from national office to epo]

Ref country code: FR

Free format text: LAPSE BECAUSE OF NON-PAYMENT OF DUE FEES

Effective date: 19971128

NLV4 Nl: lapsed or anulled due to non-payment of the annual fee

Effective date: 19971001

REG Reference to a national code

Ref country code: FR

Ref legal event code: ST

PGFP Annual fee paid to national office [announced via postgrant information from national office to epo]

Ref country code: CH

Payment date: 20010118

Year of fee payment: 11

PGFP Annual fee paid to national office [announced via postgrant information from national office to epo]

Ref country code: AT

Payment date: 20010207

Year of fee payment: 11

PGFP Annual fee paid to national office [announced via postgrant information from national office to epo]

Ref country code: DE

Payment date: 20010222

Year of fee payment: 11

PG25 Lapsed in a contracting state [announced via postgrant information from national office to epo]

Ref country code: AT

Free format text: LAPSE BECAUSE OF NON-PAYMENT OF DUE FEES

Effective date: 20020322

PG25 Lapsed in a contracting state [announced via postgrant information from national office to epo]

Ref country code: LI

Free format text: LAPSE BECAUSE OF NON-PAYMENT OF DUE FEES

Effective date: 20020331

Ref country code: CH

Free format text: LAPSE BECAUSE OF NON-PAYMENT OF DUE FEES

Effective date: 20020331

PG25 Lapsed in a contracting state [announced via postgrant information from national office to epo]

Ref country code: DE

Free format text: LAPSE BECAUSE OF NON-PAYMENT OF DUE FEES

Effective date: 20021001

REG Reference to a national code

Ref country code: CH

Ref legal event code: PL

PG25 Lapsed in a contracting state [announced via postgrant information from national office to epo]

Ref country code: IT

Free format text: LAPSE BECAUSE OF NON-PAYMENT OF DUE FEES;WARNING: LAPSES OF ITALIAN PATENTS WITH EFFECTIVE DATE BEFORE 2007 MAY HAVE OCCURRED AT ANY TIME BEFORE 2007. THE CORRECT EFFECTIVE DATE MAY BE DIFFERENT FROM THE ONE RECORDED.

Effective date: 20050322