EP0429931A2 - T-Verbindung zwischen einem Sprossen- und einem Pfostenprofil einer Fassade - Google Patents

T-Verbindung zwischen einem Sprossen- und einem Pfostenprofil einer Fassade Download PDF

Info

Publication number
EP0429931A2
EP0429931A2 EP90121554A EP90121554A EP0429931A2 EP 0429931 A2 EP0429931 A2 EP 0429931A2 EP 90121554 A EP90121554 A EP 90121554A EP 90121554 A EP90121554 A EP 90121554A EP 0429931 A2 EP0429931 A2 EP 0429931A2
Authority
EP
European Patent Office
Prior art keywords
profile
rung
connection according
guide
connector
Prior art date
Legal status (The legal status is an assumption and is not a legal conclusion. Google has not performed a legal analysis and makes no representation as to the accuracy of the status listed.)
Granted
Application number
EP90121554A
Other languages
English (en)
French (fr)
Other versions
EP0429931A3 (en
EP0429931B1 (de
Inventor
Wolfgang Dipl.-Ing. Ley
Andreas Dipl.-Ing. Freier
Current Assignee (The listed assignees may be inaccurate. Google has not performed a legal analysis and makes no representation or warranty as to the accuracy of the list.)
Schueco International KG
Original Assignee
Schueco International KG
Priority date (The priority date is an assumption and is not a legal conclusion. Google has not performed a legal analysis and makes no representation as to the accuracy of the date listed.)
Filing date
Publication date
Family has litigation
First worldwide family litigation filed litigation Critical https://patents.darts-ip.com/?family=6394022&utm_source=google_patent&utm_medium=platform_link&utm_campaign=public_patent_search&patent=EP0429931(A2) "Global patent litigation dataset” by Darts-ip is licensed under a Creative Commons Attribution 4.0 International License.
Application filed by Schueco International KG filed Critical Schueco International KG
Publication of EP0429931A2 publication Critical patent/EP0429931A2/de
Publication of EP0429931A3 publication Critical patent/EP0429931A3/de
Application granted granted Critical
Publication of EP0429931B1 publication Critical patent/EP0429931B1/de
Anticipated expiration legal-status Critical
Expired - Lifetime legal-status Critical Current

Links

Images

Classifications

    • EFIXED CONSTRUCTIONS
    • E06DOORS, WINDOWS, SHUTTERS, OR ROLLER BLINDS IN GENERAL; LADDERS
    • E06BFIXED OR MOVABLE CLOSURES FOR OPENINGS IN BUILDINGS, VEHICLES, FENCES OR LIKE ENCLOSURES IN GENERAL, e.g. DOORS, WINDOWS, BLINDS, GATES
    • E06B3/00Window sashes, door leaves, or like elements for closing wall or like openings; Layout of fixed or moving closures, e.g. windows in wall or like openings; Features of rigidly-mounted outer frames relating to the mounting of wing frames
    • E06B3/96Corner joints or edge joints for windows, doors, or the like frames or wings
    • E06B3/9616Corner joints or edge joints for windows, doors, or the like frames or wings characterised by the sealing at the junction of the frame members
    • EFIXED CONSTRUCTIONS
    • E04BUILDING
    • E04BGENERAL BUILDING CONSTRUCTIONS; WALLS, e.g. PARTITIONS; ROOFS; FLOORS; CEILINGS; INSULATION OR OTHER PROTECTION OF BUILDINGS
    • E04B2/00Walls, e.g. partitions, for buildings; Wall construction with regard to insulation; Connections specially adapted to walls
    • E04B2/88Curtain walls
    • E04B2/96Curtain walls comprising panels attached to the structure through mullions or transoms
    • EFIXED CONSTRUCTIONS
    • E06DOORS, WINDOWS, SHUTTERS, OR ROLLER BLINDS IN GENERAL; LADDERS
    • E06BFIXED OR MOVABLE CLOSURES FOR OPENINGS IN BUILDINGS, VEHICLES, FENCES OR LIKE ENCLOSURES IN GENERAL, e.g. DOORS, WINDOWS, BLINDS, GATES
    • E06B3/00Window sashes, door leaves, or like elements for closing wall or like openings; Layout of fixed or moving closures, e.g. windows in wall or like openings; Features of rigidly-mounted outer frames relating to the mounting of wing frames
    • E06B3/96Corner joints or edge joints for windows, doors, or the like frames or wings
    • E06B3/964Corner joints or edge joints for windows, doors, or the like frames or wings using separate connection pieces, e.g. T-connection pieces
    • E06B3/968Corner joints or edge joints for windows, doors, or the like frames or wings using separate connection pieces, e.g. T-connection pieces characterised by the way the connecting pieces are fixed in or on the frame members
    • E06B3/972Corner joints or edge joints for windows, doors, or the like frames or wings using separate connection pieces, e.g. T-connection pieces characterised by the way the connecting pieces are fixed in or on the frame members by increasing the cross-section of the connecting pieces, e.g. by expanding the connecting pieces with wedges
    • EFIXED CONSTRUCTIONS
    • E04BUILDING
    • E04DROOF COVERINGS; SKY-LIGHTS; GUTTERS; ROOF-WORKING TOOLS
    • E04D3/00Roof covering by making use of flat or curved slabs or stiff sheets
    • E04D3/02Roof covering by making use of flat or curved slabs or stiff sheets of plane slabs, slates, or sheets, or in which the cross-section is unimportant
    • E04D3/06Roof covering by making use of flat or curved slabs or stiff sheets of plane slabs, slates, or sheets, or in which the cross-section is unimportant of glass or other translucent material; Fixing means therefor
    • E04D3/08Roof covering by making use of flat or curved slabs or stiff sheets of plane slabs, slates, or sheets, or in which the cross-section is unimportant of glass or other translucent material; Fixing means therefor with metal glazing bars
    • E04D2003/0868Mutual connections and details of glazing bars

Definitions

  • the invention relates to a T-connection between two profiles, preferably a rung and a post profile of a facade, of which the rung profile and the post profile have an inner chamber and in the inner chamber of the rung profile on the facing end facing the connecting joint in a longitudinal section U -shaped connector is defined, which consists of an end plate and from two opposite end plate edges starting plate-shaped legs and a connecting leg connecting to the toggle-shaped bridge web, which is provided with a threaded hole for a head screw with its support on the end wall and the bridge web is composed of a central web part and web parts running at an obtuse angle to the legs connected to the legs, the threaded bore for the tensioning screw being arranged in the middle web part and the rung prof il has a recess at the connection end and with an upper floor carrying the anchoring grooves for sealing profiles projects above the connecting joint, is supported on the groove walls of an anchoring groove for a sealing profile of the post profile and the top floor of the rung profile is screwed to the post profile
  • T-connection of this type known (DE-OS 38 09 951), in which the connection between the rung profile and the post profile through at least one collar bolt takes place, which is guided against rotation in the connector body and projects through the connecting joint and a bore in a wall of the post profile into the inner chamber of the post profile.
  • the collar bolt Adjacent to the front end, the collar bolt has a latching recess which engages behind the edge of the bore in the post profile, so that there is a no longer releasable connection between the rung profile and the post profile. This prevents pre-assembly of the facade or parts of the facade in the workshop.
  • the invention has for its object to design a T-connection of the type mentioned in such a way that the connection can be released in a simple manner and the facade can be preassembled in segments in the workshop and transported to the construction site after disassembly.
  • the end plate of the U-shaped connector has guide and retaining strips which can be positively and releasably connected to guide and retaining strips of a connecting shoe fixed on the outside of the post profile.
  • the guide and retaining strips can be angular in cross section.
  • connection shoe is first attached to the post profile.
  • the rung profile notched at the connection end below the top floor carrying the anchoring grooves for the sealing profiles has a connector inserted into the inner chamber and with its guide and retaining strips projecting beyond the front end.
  • the rung profile is placed on the connector shoe, the guide and retaining strips of the connector shoe and the connector interlocking and positively fixing the rung profile to the post profile.
  • the upper floor of the rung profile which lies on an anchoring groove for a sealing profile of the mullion profile after assembly, is screwed to the mullion profile. If the rung profile is to be separated from the post profile, it is only necessary to loosen this screw connection and to lift the connector of the rung profile from the connecting shoe of the post profile, so that the guide and retaining strips come out of engagement.
  • a connecting shoe 3 is attached to the post profile.
  • the connection shoe 3 is fixed by means of two fastening screws 4.
  • the connecting shoe is rectangular and has at its side edges parallel to the central axis 5, which lies in the central plane of the rung profile 2, cross-sectionally shaped guide and retaining strips 6. These retaining strips are provided with an insertion slope 7 on the plug-in side.
  • a you tion cuff 8 fixed, which engages with its side strips 9, the rung profile 2 U-shaped and covers the connecting joint.
  • the side strips extend with their free end up to the sealing profiles 10, which are provided on the longitudinal edges of the rung profile 2.
  • the sealing sleeve has a wall 11 on the fastening side, in which two preferably rectangular openings are provided. Skirting strips 12 or socket pieces of the connecting shoe 3 extend through the openings. The fastening screws 4 are guided through these skirting strips or socket pieces.
  • the part 13 of the wall 11 lying between the baseboards 12 can be provided with cams on the side facing the connecting shoe, by means of which a non-positive fixing of the wall part 13 between the connecting shoe and the post profile 1 is ensured.
  • the rung profile 2 is provided with a notch on the connection side below its top floor 14, which carries the anchoring grooves 15 for sealing profiles and a screwing groove 16 for a cover profile which extend in the longitudinal direction of the profile .
  • the connector 19 is inserted into the inner chamber 18 of the rung profile 2 until contact webs 20 of the connector come into contact with the end face 17 of the rung profile 2.
  • the connector is U-shaped in cross section and has an end plate 21 from which plate-shaped legs 22 extend at two opposite edges. These plate-shaped legs are connected via a bridge web 23, which is designed like a toggle lever and is composed of a central web part 24 and web parts 25, which are ⁇ at an obtuse angle are connected to the legs 22.
  • the central web part 25 is equipped with a threaded bore.
  • an angle piece 26 is provided with a threaded bore which is aligned with the threaded bore of the central part.
  • a clamping screw 27 is screwed into these threaded bores, which is inserted through a bore 28 in the end plate and is supported with its head 29 on the edge of the bore.
  • the screw is guided both by a threaded bore of the central web part 24 of the bridge web and by an aligned threaded bore of the elbow 26, the screw is held in its central position when tightened and causes a uniform deformation of the web parts 25, which spread the legs 22 cause, in order to fix the connector in the rung profile or, when using an adhesive, to ensure that the legs are held in a favorable adhesive position until the adhesive has set.
  • the end plate 21 is equipped with outwardly and inwardly extending guide and holding strips 30 which engage behind the inwardly and outwardly extending guide and holding strips 6 of the connecting shoe 3 after the rung profile 2 from the position shown in FIG. 5 in Direction of arrow 31 has been placed on the connecting shoe 3 of the post profile.
  • the top floor 14, which extends over the end face 17 of the rung profile is supported on the groove webs of an anchoring groove 32 of the post profile for a sealing profile.
  • the rung profile 2 is then connected to the post profile 1 by means of screws 33.
  • the guide and holding strips 6, 30 extend in the edge region of the connecting shoe (3) or in the edge region of the end plate 21 of the connector 19 over the entire height of these components.

Landscapes

  • Engineering & Computer Science (AREA)
  • Civil Engineering (AREA)
  • Structural Engineering (AREA)
  • Architecture (AREA)
  • Physics & Mathematics (AREA)
  • Electromagnetism (AREA)
  • Joining Of Building Structures In Genera (AREA)
  • Load-Bearing And Curtain Walls (AREA)
  • Superconductors And Manufacturing Methods Therefor (AREA)
  • Fertilizing (AREA)
  • Steps, Ramps, And Handrails (AREA)
  • Rod-Shaped Construction Members (AREA)
  • Working Measures On Existing Buildindgs (AREA)
  • Building Environments (AREA)
  • Revetment (AREA)

Abstract

Der Erfindung liegt die Aufgabe zugrunde, eine T-Verbindung so zu gestalten, daß die Verbindung in einfacher Weise lösbar ist und die Fassade in der Werkstatt segmentweise vormontiert und nach einer Demontage zur Baustelle transportiert werden kann.
Diese Aufgabe wird erfindungsgemäß dadurch gelöst, daß die Stirnplatte (21) eines U-förmigen Verbinders (19) an der dem Pfostenprofil (1) zugewandten Seite Führungs- und Halteleisten (30) aufweist, die mit Führungs- und Halteleisten (6) eines an der Außenseite des Pfostenprofils (1) festgelegten Verbindungsschuhes (3) formschlüssig und lösbar verbindbar sind.

Description

  • Die Erfindung bezieht sich auf eine T-Verbindung zwischen zwei Profi­len, vorzugsweise einem Sprossen- und einem Pfostenprofil einer Fassade, von denen das Sprossenprofil und das Pfostenprofil eine Innenkammer auf­weisen und in der Innenkammer des Sprossenprofils an dem der Verbindungs­fuge zugewandte zugewandten Stirnende ein im Längsschnitt U-förmiger Verbinder festgelegt ist, der aus einer Stirnplatte und aus von zwei gegenüberliegenden Stirnplattenrändern ausgehenden plattenförmigen Schenkeln und einem die Schenkel verbindenden, kniehebelartig ausgebil­deten Brückensteg besteht, der mit einer Gewindebohrung für eine sich mit ihrem Kopf an der Stirnwand abstützende Spannschraube versehen ist und der Brückensteg sich aus einem mittleren Stegteil und mit den Schen­kein verbundenen unter einem stumpfen Winkel zu den Schenkeln verlaufen­den Stegteilen zusammensetzt, wobei die Gewindebohrung für die Spann­schraube im mittleren Stegteil angeordnet ist und das Sprossenprofil am Verbindungsende eine Ausnehmung aufweist und mit einem die Veranke­rungsnuten für Dichtungsprofile tragenden Oberboden die Verbindungsfuge überragt, sich auf den Nutwandungen einer Verankerungsnut für ein Dich­tungsprofil des Pfostenprofils abstützt und der Oberboden des Sprossen­profils mit dem Pfostenprofil verschraubt ist.
  • Es ist eine T-Verbindung dieser Art bekannt (DE-OS 38 09 951), bei der die Verbindung zwischen dem Sprossenprofil und dem Pfostenprofil durch mindestens einen Bundbolzen erfolgt, der verdrehsicher in dem Verbin­derkörper geführt und durch die Verbindungsfuge und eine Bohrung in einer Wand des Pfostenprofils in die Innenkammer des Pfostenprofils ragt. Benachbart dem vorderen Ende weist der Bundbolzen eine Rastaus­sparung auf, die den Rand der Bohrung in dem Pfostenprofil hinter­greift, so daß sich zwischen dem Sprossenprofil und dem Pfostenprofil eine nicht mehr lösbare Verbindung ergibt. Hierdurch wird eine Vormon­tage der Fassade oder Teile der Fassade in der Werkstatt unterbunden.
  • Der Erfindung liegt die Aufgabe zugrunde, eine T-Verbindung der ein­gangs genannten Art so zu gestalten, daß die Verbindung in einfacher Weise lösbar ist und die Fassade in der Werkstatt segmentweise vormon­tiert und nach einer Demontage zur Baustelle transportiert werden kann.
  • Diese Aufgabe wird nach der Erfindung dadurch gelöst, daß die Stirn­platte des U-förmigen Verbinders Führungs- und Halteleisten aufweist, die mit Führungs- und Halteleisten eines an der Außenseite des Pfosten­profils festgelegten Verbindungsschuhes formschlüssig und lösbar ver­bindbar sind.
  • Die Führungs- und Halteleisten können im Querschnitt winkelförmig aus­gebildet sein.
  • An der Verbindungsstelle wird zunächst an dem Pfostenprofil der Verbin­dungsschuh befestigt. Das an dem Verbindungsende unterhalb des die Ver­ankerungsnuten für die Dichtungsprofile tragenden Oberbodens ausge­klinkte Sprossenprofil weist einen in die Innenkammer eingesetzten und mit seinen Führungs- und Halteleisten das Stirnende überragenden Ver­binder auf. Das Sprossenprofil wird auf den Verbinderschuh gesteckt, wobei die Führungs- und Halteleisten des Verbindungsschuhes und des Verbinders ineinandergreifen und das Sprossenprofil zu dem Pfostenpro­fil formschlüssig festlegen. Der sich nach der Montage auf einer Ver­ankerungsnut für ein Dichtungsprofil des Pfostenprofils aufliegende Oberboden des Sprossenprofils wird mit dem Pfostenprofil verschraubt. Sofern das Sprossenprofil vom Pfostenprofil getrennt werden soll, ist es nur erforderlich, diese Verschraubung zu lösen und den Verbinder des Sprossenprofils vom Verbindungsschuh des Pfostenprofils abzuheben, so daß die Führungs- und Halteleisten außer Eingriff kommen.
  • Weitere Merkmale der Erfindung ergeben sich aus den Unteransprüchen.
  • Ein Ausführungsbeispiel der erfindungsgemäßen T-Verbindung ist in den Zeichnungen dargestellt und wird im folgenden beschrieben. Es zeigen:
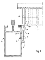
    • Fig. 1 die T-Verbindung zwischen einem Pfostenprofil und einem Spros­senprofil mit geschnittenem Pfostenprofil,
    • Fig. 2 die Verbindung nach der Fig. 1 im Grundriß,
    • Fig. 3 den an dem Pfostenprofil festgelegten Verbindungsschuh im Auf­riß,
    • Fig. 4 einen Schnitt nach der Linie IV-IV in Fig. 1 und
    • Fig. 5 das Sprossenprofil und das Pfostenprofil in einer Montagelage, in der diese Profile voneinander getrennt sind.
  • Zur T-Verbindung zwischen einem Pfostenprofil 1 und einem Sprossenpro­fil 2, die beide mit einer Innenkammer ausgerüstet sind, wird an dem Pfostenprofil ein Verbindungsschuh 3 befestigt. In dem dargestellten Ausführungsbeispiel erfolgt die Festlegung des Verbindungsschuhs 3 mit­tels zweier Befestigungsschrauben 4.
  • Aus der Fig. 3 ergibt sich, daß der Verbindungsschuh rechteckförmig ausgebildet ist und an seinen parallel zur Mittelachse 5, die in der Mittelebene des Sprossenprofils 2 liegt, verlaufenden Seitenrändern im Querschnitt winkelförmig ausgebildete Führungs- und Halteleisten 6 auf­weist. Diese Halteleisten sind an der Aufsteckseite mit einer Einfüh­rungsschräge 7 versehen.
  • Zwischen dem Verbindungsschuh 3 und dem Pfostenprofil 1 ist eine Dich­ tungsmanschette 8 festgelegt, die mit ihren Seitenleisten 9 das Spros­senprofil 2 U-förmig umgreift und die Verbindungsfuge abdeckt. Die Seitenleisten erstrecken sich mit ihrem freien Ende bis zu den Dich­tungsprofilen 10, die an den Längsrändern des Sprossenprofils 2 vorge­sehen sind.
  • Die Dichtungsmanschette weist an der Befestigungsseite eine Wand 11 auf, in der zwei vorzugsweise rechteckförmige Durchbrüche vorgesehen sind. Durch die Durchbrüche erstrecken sich Sockelleisten 12 oder Sok­kelstücke des Verbindungsschuhes 3. Durch diese Sockelleisten oder Sok­kelstücke werden die Befestigungsschrauben 4 geführt.
  • Der zwischen den Sockelleisten 12 liegende Teil 13 der Wand 11 kann an der dem Verbindungsschuh zugewandten Seite mit Nocken versehen sein, durch die eine kraftschlüssige Festlegung des Wandteils 13 zwischen dem Verbindungsschuh und dem Pfostenprofil 1 sichergestellt wird.
  • Aus den Fig. 1,2 und 5 ergibt sich, daß das Sprossenprofil 2 an der Verbindungsseite unterhalb seines Oberbodens 14, der die in Längsrich­tung des Profils sich erstreckenden Verankerungsnuten 15 für Dichtungs­profile sowie eine Verschraubungsnut 16 für ein Abdeckprofil trägt, mit einer Ausklinkung versehen ist.
  • Von der Stirnfläche 17 dieser Ausklinkung wird in die Innenkammer 18 des Sprossenprofils 2 der Verbinder 19 eingeführt bis Anlagestege 20 des Verbinders an der Stirnfläche 17 des Sprossenprofils 2 zur Anlage kommen.
  • Aus der Fig. 4 ergibt sich, daß der Verbinder U-förmig im Querschnitt ausgebildet ist und eine Stirnplatte 21 aufweist, von der an zwei ge­genüberliegenden Rändern plattenförmige Schenkel 22 ausgehen. Diese plattenförmigen Schenkel sind über einen Brückensteg 23 verbunden, der kniehebelartig ausgebildet und sich aus einem mittleren Stegteil 24 und Stegteilen 25 zusammensetzt, die unter einem stumpfen Winkel α mit den Schenkeln 22 verbunden sind. Der mittlere Stegteil 25 ist mit einer Gewindebohrung ausgerüstet. An der Rückseite des Stegteiles 24 ist ein Winkelstück 26 mit einer Gewindebohrung vorgesehen, die mit der Gewindebohrung des mittleren Teils fluchtet. In diese Gewindebohrungen wird eine Spannschraube 27 eingeschraubt, die durch eine Bohrung 28 der Stirnplatte gesteckt wird und sich mit ihrem Kopf 29 am Bohrungs­rand abstützt. Dadurch daß die Schraube sowohl durch eine Gewindeboh­rung des mittleren Stegteiles 24 des Brückensteges als auch durch eine damit fluchtende Gewindebohrung des Winkelstücks 26 geführt wird, wird die Schraube beim Anziehen in ihrer Mittenlage gehalten und bewirkt eine gleichmäßige Deformation der Stegteile 25, die ein Spreizen der Schenkel 22 bewirken, um den Verbinder in dem Sprossenprofil festzule­gen bzw. bei der Verwendung eines Klebers zu erreichen, daß die Schen­kel bis zum Abbinden des Klebers in einer günstigen Klebelage gehalten werden.
  • Die Stirnplatte 21 ist mit nach außen und innen sich erstreckenden Füh­rungs- und Halteleisten 30 ausgerüstet, die die nach innen und außen sich erstreckenden Führungs- und Halteleisten 6 des Verbindungsschuhes 3 hintergreifen, nachdem das Sprossenprofil 2 von der in der Fig. 5 aufgezeigten Stellung in Richtung des Pfeiles 31 auf den Verbindungs­schuh 3 des Pfostenprofils gesteckt worden ist. Nach diesem Aufsteck­vorgang stützt sich der über die Stirnfläche 17 des Sprossenprofils sich erstreckende Oberboden 14 auf den Nutstegen einer Verankerungssnut 32 des Pfostenprofils für ein Dichtungsprofil ab. Mittels Schrauben 33 wird dann das Sprossenprofil 2 mit dem Pfostenprofil 1 verbunden.
  • Die Führungs- und Halteleisten 6;30 erstrecken sich im Randbereich des Verbindungsschuhes (3) bzw. im Randbereich der Stirnplatte 21 des Ver­binders 19 über die gesamte Höhe dieser Bauteile.
  • Bezugszeichen
    • 1 Pfostenprofil
    • 2 Sprossenprofil
    • 3 Verbindungsschuh
    • 4 Befestigungschraube
    • 5 Mittelachse
    • 6 Führungs- und Halteleiste
    • 7 Einführungsschräge
    • 8 Dichtungsmanschette
    • 9 Seitenleiste
    • 10 Dichtungsprofil
    • 11 Wand
    • 12 Sockelleiste
    • 13 Teil
    • 14 Oberboden
    • 15 Verankerungsnut
    • 16 Verschraubungsnut
    • 17 Stirnfläche
    • 18 Innenkammer
    • 19 Verbinder
    • 20 Anlagestege
    • 21 Stirnplatte
    • 22 Schenkel
    • 23 Brückensteg
    • 24 Stegteil
    • 25 Stegteil
    • 26 Winkelstück
    • 27 Spannschraube
    • 28 Bohrung
    • 29 Kopf
    • 30 Führungs- und Haltleiste
    • 31 Pfeil
    • 32 Verankerungsnut
    • 33 Schraube

Claims (10)

1. T-Verbindung zwischen zwei Profilen, vorzugsweise einem Sprossen- und einem Pfostenprofil einer Fassade, von denen das Sprossenprofil und das Pfostenprofil eine Innenkammer aufweisen und in der Innenkammer des Sprossenprofils an dem der Verbindungsfuge zugewandten Stirnende ein im Längsschnitt U-förmiger Verbinder festgelegt ist, der aus einer Stirnplatte und aus von zwei gegenüberliegenden Stirnplattenrändern ausgehenden plattenförmigen Schenkeln und einem die Schenkel verbinden­den, kniehebelartig ausgebildeten Brückensteg besteht, der mit einer Gewindebohrung für eine sich mit ihrem Kopf an der Stirnwand abstützende Spannschraube versehen ist und der Brückensteg sich aus einem mittleren Stegteil und mit den Schenkein verbundenen, unter einem stumpfen Winkel zu den Schenkeln verlaufenden Stegteilen zusammensetzt, wobei die Gewin­debohrung für die Spannschraube im mittleren Stegteil angeordnet ist und das Sprossenprofil am Verbindungsende eine Ausnehmung aufweist und mit einem die Verankerungsnuten für Dichtungsprofile tragenden Oberbo­den die Verbindungsfuge überragt, sich auf den Nutwandungen einer Ver­ankerungsnut für ein Dichtungsprofil des Pfostenprofils abstützt und der Oberboden des Sprossenprofils mit dem Pfostenprofil verschraubt ist, dadurch gekennzeichnet , daß die Stirn­platte (21) des U-förmigen Verbinders (19) an der dem Pfostenprofil (1) zugewandten Seite Führungs- und Halteleisten (30) aufweist, die mit Führungs- und Halteleisten (6) eines an der Außenseite des Pfosten­profils (1) festgelegten Verbindungsschuhes (3) formschlüssig und lös­bar verbindbar sind.
2. T-Verbindung nach Anspruch 1, dadurch gekennzeichnet, daß die Füh­rungs- und Halteleisten (6,30) des Verbindungsschuhes (3) und des Ver­binders (19) im Querschnitt winkelförmig sind.
3. T-Verbindung nach Anspruch 1 oder 2, dadurch gekennzeichnet, daß die Führungs- und Halteleisten sich im Randbereich der Stirnplatte (21) des Verbinders bzw. im Randbereich des Verbindungsschuhes (3) über die gesamte Höhe dieser Bauteile erstrecken.
4. T-Verbindung nach einem der vorhergehenden Ansprüche, dadurch ge­kennzeichnet, daß der Verbinder (19) im Bereich der Stirnplatte (21) nach außen sich erstreckende, die Einführtiefe des Verbinders (19) in die Innenkammer (18) des Sprossenprofils (2) begrenzende Anschlagstege (20) aufweist.
5. T-Verbindung nach Anspruch 1, dadurch gekennzeichnet, daß an der Rückseite des mittleren Teils (24) des Brückenstegs (23) ein Winkel­stück (26) mit einer Gewindebohrung vorgesehen ist, die mit der Gewinde­bohrung des mittleren Teils (24) fluchtet.
6. T-Verbindung nach Anspruch 1, dadurch gekennzeichnet, daß der Ver­bindungsschuh (3) mit dem Pfostenprofil (1) verschraubt und zwischen dem Verbindungsschuh und dem Pfostenprofil eine Dichtungsmanschette (8) festgelegt ist, die das Sprossenprofil (2) U-förmig umgreift.
7. T-Verbindung nach Anspruch 6, dadurch gekennzeichnet, daß die Seiten­leisten (9) der Dichtungsmanschette (8) sich bis zu den an den Längs­rändern des Sprossenprofils (2) vorgesehenen Dichtungsprofilen (10) erstrecken.
8. T-Verbindung nach Anspruch 6, dadurch gekennzeichnet, daß die Dich­tungsmanschette (8) an der Befestigungsseite eine Wand (11) aufweist, in der zwei vorzugsweise rechteckförmige Durchbrüche vorgesehen sind, und daß durch die Durchbrüche sich Sockel leisten (12) oder Sockelstücke des Verbindungsschuhes (3) erstrecken, durch die Befestigungsschrauben (4) geführt werden.
9. T-Verbindung nach Anspruch 1, dadurch gekennzeichnet, daß die Füh­rungs- und Halteleisten (6) des Verbindungsschuhes an der Aufsteck­seite eine Einführschräge (7) aufweisen.
10. T-Verbindung nach Anspruch 8, dadurch gekennzeichnet, daß der zwi­schen den Durchbrüchen liegende Teil (13) der Wand (11) an der dem Verbindungsschuh zugewandten Seite mit Nocken versehen ist.
EP90121554A 1989-11-23 1990-11-10 T-Verbindung zwischen einem Sprossen- und einem Pfostenprofil einer Fassade Expired - Lifetime EP0429931B1 (de)

Applications Claiming Priority (2)

Application Number Priority Date Filing Date Title
DE3938775 1989-11-23
DE3938775A DE3938775A1 (de) 1989-11-23 1989-11-23 T-verbindung zwischen zwei profilen, vorzugsweise einem sprossen- und einem pfostenprofil einer fassade

Publications (3)

Publication Number Publication Date
EP0429931A2 true EP0429931A2 (de) 1991-06-05
EP0429931A3 EP0429931A3 (en) 1992-04-22
EP0429931B1 EP0429931B1 (de) 1995-02-01

Family

ID=6394022

Family Applications (1)

Application Number Title Priority Date Filing Date
EP90121554A Expired - Lifetime EP0429931B1 (de) 1989-11-23 1990-11-10 T-Verbindung zwischen einem Sprossen- und einem Pfostenprofil einer Fassade

Country Status (8)

Country Link
EP (1) EP0429931B1 (de)
AT (1) ATE118054T1 (de)
DE (3) DE3938775A1 (de)
DK (1) DK0429931T3 (de)
ES (1) ES2066938T3 (de)
FI (1) FI96059C (de)
NO (1) NO177759C (de)
PT (1) PT95958B (de)

Cited By (1)

* Cited by examiner, † Cited by third party
Publication number Priority date Publication date Assignee Title
FR2833641A1 (fr) * 2001-12-18 2003-06-20 Tordo Belgrano Sa Equerre d'assemblage d'elements tubulaires pour la realisation de cadres

Families Citing this family (9)

* Cited by examiner, † Cited by third party
Publication number Priority date Publication date Assignee Title
DE9215573U1 (de) * 1992-11-16 1993-02-18 Illbruck Production S.A., Courgenay Stoßverbindung
DE9401256U1 (de) * 1994-01-26 1994-03-10 Grotefeld, Hans Dieter, 32549 Bad Oeynhausen Kämpfer-Verbinder
DE19527141C2 (de) * 1995-07-25 1998-07-09 Evg Bauprofil System Entwicklungs & Vermarktungsgesellschaft Mbh Pfosten-Sprossen-Konstruktion, insbesondere für Fassaden
DE19647911C2 (de) * 1996-11-20 1998-10-15 Wicona Bausysteme Gmbh Aus Pfosten und Riegeln in Form von Hohlprofilen bestehende Rahmenkonstruktion
DE29620153U1 (de) * 1996-11-20 1998-03-19 Niemann, Hans Dieter, 50169 Kerpen Verbindung für winklig aneinanderstoßende Hohlprofilstäbe
DE19752619A1 (de) * 1997-11-27 1999-07-08 Evg Bauprofil System Entwicklungs & Vermarktungsgesellschaft Mbh Verbindungsbauteil für eine Fassadenkonstruktion und Fassadenkonstruktion
DE19849152C5 (de) * 1998-10-26 2013-10-10 Gutmann Ag Pfosten-Riegelverbindung
DE19859886C1 (de) * 1998-12-23 2000-11-30 Manfred Muehle Profilverbindung
DE102009026105B4 (de) * 2009-07-06 2022-03-03 Hydro Extruded Solutions As System zum Verbinden von Pfosten und Riegeln und Verwendung

Family Cites Families (7)

* Cited by examiner, † Cited by third party
Publication number Priority date Publication date Assignee Title
GB472391A (en) * 1937-02-23 1937-09-23 Bernard James Gibbs Improvements in or relating to means for joining the members in metallic structures
BE767043A (fr) * 1971-05-12 1971-10-01 Janssen Leopold M L Cloison double paroi et elements de cloison.
DE2236321C3 (de) * 1972-07-25 1981-09-24 SCHÜCO Heinz Schürmann GmbH & Co, 4800 Bielefeld T-förmig verbundene Profile oder Rohre
DE3318655A1 (de) * 1983-05-21 1984-11-22 Edwin 6470 Büdingen Röder Riegel-stielverbindung durch ein zweiteiliges verbindungselement
DE3569592D1 (en) * 1984-11-05 1989-05-24 Karl Vollenweider Connection joint for mainly semi-hollow and hollow section profiles
DE3803223C1 (en) * 1988-02-04 1989-05-11 Haake, Andre Junction lock
DE3809951A1 (de) * 1988-03-24 1989-10-05 Schueco Int Gmbh & Co T-verbindung zwischen zwei profilen, vorzugsweise einem sprossen- und einem pfostenprofil einer fassade

Cited By (1)

* Cited by examiner, † Cited by third party
Publication number Priority date Publication date Assignee Title
FR2833641A1 (fr) * 2001-12-18 2003-06-20 Tordo Belgrano Sa Equerre d'assemblage d'elements tubulaires pour la realisation de cadres

Also Published As

Publication number Publication date
DK0429931T3 (da) 1995-06-12
DE59008412D1 (de) 1995-03-16
NO177759C (no) 1995-11-15
ES2066938T3 (es) 1995-03-16
FI905777L (fi) 1991-05-24
FI96059B (fi) 1996-01-15
DE3938775A1 (de) 1991-05-29
NO905059L (no) 1991-05-24
NO905059D0 (no) 1990-11-22
EP0429931A3 (en) 1992-04-22
ATE118054T1 (de) 1995-02-15
FI905777A0 (fi) 1990-11-22
DE8916130U1 (de) 1994-03-10
FI96059C (fi) 1996-04-25
PT95958B (pt) 1999-02-26
PT95958A (pt) 1992-12-31
NO177759B (no) 1995-08-07
EP0429931B1 (de) 1995-02-01

Similar Documents

Publication Publication Date Title
DE2618442C2 (de) Stütze für ein Geländer oder dergleichen
EP0528213B1 (de) Beschlagteil zur Klemmbefestigung in einer mindestens einseitigen hinterschnittenen Profilnut
EP0334080B1 (de) T-Verbindung zwischen zwei Profilen, vorzugsweise einem Sprossen- und einem Pfostenprofil einer Fassade
DE1575197A1 (de) Profilschienen-Verbindung
WO2005059380A1 (de) Vorrichtung zum verbinden eines trägerteiles mit einem anbauteil
EP0429931B1 (de) T-Verbindung zwischen einem Sprossen- und einem Pfostenprofil einer Fassade
DE2005319C3 (de) Zum bündigen Einsetzen in eine Ortbetondecke od.dgl. dienendes Befestigungselement
DE2636434C3 (de) Rahmeneckverbindung
DE20319556U1 (de) Vorrichtung zum Verbinden eines Trägerteiles mit einem Anbauteil
WO2004111471A1 (de) Hochlastverbindungselement für wände
DE3527238C2 (de)
DE19614942B4 (de) Profilverbindung für unter Gehrung zusammenstoßende Profile
EP0000575A2 (de) Zaun aus an Pfosten befestigbaren, grossflächigen Zaunelementen
EP0319610A1 (de) Vorrichtung zum Verbinden zweier Holzbalken
DE3119817C2 (de) Klemmelement
DE19536037C1 (de) Eckverbinder für im Gehrungsschnitt aneinanderstoßende, flache Profilteile von Bilderrahmen, Verbundprofilen an Fenstern, Türen od. dgl.
EP4036425B1 (de) Verbinder für zwei bauteile
DE19860743C1 (de) Wandhalter für Verkleidungstafeln, insbesondere Fassadenelemente
DE3307778A1 (de) Schnellverbinder-anordnung
AT2974U1 (de) Dübelschelle
AT413841B (de) Dielenparkett
DE29823221U1 (de) Wandhalter für Verkleidungstafeln, insbesondere Fassadenelemente
DE4029621A1 (de) Verbindungselement
DE1609301C3 (de) Abdeckvorrichtung für Dehnungsfugen
DE9403542U1 (de) Schelle

Legal Events

Date Code Title Description
PUAI Public reference made under article 153(3) epc to a published international application that has entered the european phase

Free format text: ORIGINAL CODE: 0009012

AK Designated contracting states

Kind code of ref document: A2

Designated state(s): AT BE CH DE DK ES FR GB IT LI LU NL SE

PUAL Search report despatched

Free format text: ORIGINAL CODE: 0009013

AK Designated contracting states

Kind code of ref document: A3

Designated state(s): AT BE CH DE DK ES FR GB IT LI LU NL SE

17P Request for examination filed

Effective date: 19920413

17Q First examination report despatched

Effective date: 19930407

ITF It: translation for a ep patent filed
GRAA (expected) grant

Free format text: ORIGINAL CODE: 0009210

AK Designated contracting states

Kind code of ref document: B1

Designated state(s): AT BE CH DE DK ES FR GB IT LI LU NL SE

REF Corresponds to:

Ref document number: 118054

Country of ref document: AT

Date of ref document: 19950215

Kind code of ref document: T

GBT Gb: translation of ep patent filed (gb section 77(6)(a)/1977)

Effective date: 19950127

REF Corresponds to:

Ref document number: 59008412

Country of ref document: DE

Date of ref document: 19950316

REG Reference to a national code

Ref country code: ES

Ref legal event code: FG2A

Ref document number: 2066938

Country of ref document: ES

Kind code of ref document: T3

ET Fr: translation filed
REG Reference to a national code

Ref country code: DK

Ref legal event code: T3

PLBI Opposition filed

Free format text: ORIGINAL CODE: 0009260

26 Opposition filed

Opponent name: ERRETI S.R.L.

Effective date: 19951027

NLR1 Nl: opposition has been filed with the epo

Opponent name: ERRETI S.R.L.

PLBF Reply of patent proprietor to notice(s) of opposition

Free format text: ORIGINAL CODE: EPIDOS OBSO

PLBO Opposition rejected

Free format text: ORIGINAL CODE: EPIDOS REJO

APAC Appeal dossier modified

Free format text: ORIGINAL CODE: EPIDOS NOAPO

APAE Appeal reference modified

Free format text: ORIGINAL CODE: EPIDOS REFNO

APAC Appeal dossier modified

Free format text: ORIGINAL CODE: EPIDOS NOAPO

PLBN Opposition rejected

Free format text: ORIGINAL CODE: 0009273

PLAE Information related to rejection of opposition modified

Free format text: ORIGINAL CODE: 0009299REJO

STAA Information on the status of an ep patent application or granted ep patent

Free format text: STATUS: OPPOSITION REJECTED

27O Opposition rejected

Effective date: 19980630

R27O Information related to the rejection of opposition modified: opposition rejected

Free format text: 980710

NLR2 Nl: decision of opposition
REG Reference to a national code

Ref country code: GB

Ref legal event code: IF02

PGFP Annual fee paid to national office [announced via postgrant information from national office to epo]

Ref country code: LU

Payment date: 20021125

Year of fee payment: 13

PG25 Lapsed in a contracting state [announced via postgrant information from national office to epo]

Ref country code: LU

Free format text: LAPSE BECAUSE OF NON-PAYMENT OF DUE FEES

Effective date: 20031110

APAH Appeal reference modified

Free format text: ORIGINAL CODE: EPIDOSCREFNO

PG25 Lapsed in a contracting state [announced via postgrant information from national office to epo]

Ref country code: IT

Free format text: LAPSE BECAUSE OF NON-PAYMENT OF DUE FEES;WARNING: LAPSES OF ITALIAN PATENTS WITH EFFECTIVE DATE BEFORE 2007 MAY HAVE OCCURRED AT ANY TIME BEFORE 2007. THE CORRECT EFFECTIVE DATE MAY BE DIFFERENT FROM THE ONE RECORDED.

Effective date: 20051110

PGFP Annual fee paid to national office [announced via postgrant information from national office to epo]

Ref country code: NL

Payment date: 20051117

Year of fee payment: 16

Ref country code: GB

Payment date: 20051117

Year of fee payment: 16

PGFP Annual fee paid to national office [announced via postgrant information from national office to epo]

Ref country code: FR

Payment date: 20051118

Year of fee payment: 16

PGFP Annual fee paid to national office [announced via postgrant information from national office to epo]

Ref country code: SE

Payment date: 20051122

Year of fee payment: 16

Ref country code: AT

Payment date: 20051122

Year of fee payment: 16

Ref country code: ES

Payment date: 20051122

Year of fee payment: 16

PGFP Annual fee paid to national office [announced via postgrant information from national office to epo]

Ref country code: BE

Payment date: 20051123

Year of fee payment: 16

Ref country code: CH

Payment date: 20051123

Year of fee payment: 16

PGFP Annual fee paid to national office [announced via postgrant information from national office to epo]

Ref country code: DK

Payment date: 20051124

Year of fee payment: 16

PG25 Lapsed in a contracting state [announced via postgrant information from national office to epo]

Ref country code: AT

Free format text: LAPSE BECAUSE OF NON-PAYMENT OF DUE FEES

Effective date: 20061110

PG25 Lapsed in a contracting state [announced via postgrant information from national office to epo]

Ref country code: SE

Free format text: LAPSE BECAUSE OF NON-PAYMENT OF DUE FEES

Effective date: 20061111

PG25 Lapsed in a contracting state [announced via postgrant information from national office to epo]

Ref country code: LI

Free format text: LAPSE BECAUSE OF NON-PAYMENT OF DUE FEES

Effective date: 20061130

Ref country code: DK

Free format text: LAPSE BECAUSE OF NON-PAYMENT OF DUE FEES

Effective date: 20061130

Ref country code: CH

Free format text: LAPSE BECAUSE OF NON-PAYMENT OF DUE FEES

Effective date: 20061130

Ref country code: BE

Free format text: LAPSE BECAUSE OF NON-PAYMENT OF DUE FEES

Effective date: 20061130

PGFP Annual fee paid to national office [announced via postgrant information from national office to epo]

Ref country code: DE

Payment date: 20061222

Year of fee payment: 17

PG25 Lapsed in a contracting state [announced via postgrant information from national office to epo]

Ref country code: NL

Free format text: LAPSE BECAUSE OF NON-PAYMENT OF DUE FEES

Effective date: 20070601

REG Reference to a national code

Ref country code: DK

Ref legal event code: EBP

REG Reference to a national code

Ref country code: CH

Ref legal event code: PL

EUG Se: european patent has lapsed
GBPC Gb: european patent ceased through non-payment of renewal fee

Effective date: 20061110

NLV4 Nl: lapsed or anulled due to non-payment of the annual fee

Effective date: 20070601

REG Reference to a national code

Ref country code: FR

Ref legal event code: ST

Effective date: 20070731

PG25 Lapsed in a contracting state [announced via postgrant information from national office to epo]

Ref country code: GB

Free format text: LAPSE BECAUSE OF NON-PAYMENT OF DUE FEES

Effective date: 20061110

BERE Be: lapsed

Owner name: *SCHUCO INTERNATIONAL K.G.

Effective date: 20061130

REG Reference to a national code

Ref country code: ES

Ref legal event code: FD2A

Effective date: 20061111

PG25 Lapsed in a contracting state [announced via postgrant information from national office to epo]

Ref country code: ES

Free format text: LAPSE BECAUSE OF NON-PAYMENT OF DUE FEES

Effective date: 20061111

Ref country code: FR

Free format text: LAPSE BECAUSE OF NON-PAYMENT OF DUE FEES

Effective date: 20061130

PG25 Lapsed in a contracting state [announced via postgrant information from national office to epo]

Ref country code: DE

Free format text: LAPSE BECAUSE OF NON-PAYMENT OF DUE FEES

Effective date: 20080603