EP0358848B1 - Zarge aus Holz als Anschlag für den Blendrahmen eines Fensters - Google Patents
Zarge aus Holz als Anschlag für den Blendrahmen eines Fensters Download PDFInfo
- Publication number
- EP0358848B1 EP0358848B1 EP89108394A EP89108394A EP0358848B1 EP 0358848 B1 EP0358848 B1 EP 0358848B1 EP 89108394 A EP89108394 A EP 89108394A EP 89108394 A EP89108394 A EP 89108394A EP 0358848 B1 EP0358848 B1 EP 0358848B1
- Authority
- EP
- European Patent Office
- Prior art keywords
- frame
- window
- wooden
- wooden case
- case serving
- Prior art date
- Legal status (The legal status is an assumption and is not a legal conclusion. Google has not performed a legal analysis and makes no representation as to the accuracy of the status listed.)
- Expired - Lifetime
Links
- 239000002023 wood Substances 0.000 claims description 2
- 238000009792 diffusion process Methods 0.000 claims 1
- 230000003068 static effect Effects 0.000 description 4
- 238000005470 impregnation Methods 0.000 description 3
- 239000002184 metal Substances 0.000 description 3
- 101100008049 Caenorhabditis elegans cut-5 gene Proteins 0.000 description 2
- 230000015572 biosynthetic process Effects 0.000 description 1
- 239000004566 building material Substances 0.000 description 1
- 230000005494 condensation Effects 0.000 description 1
- 238000009833 condensation Methods 0.000 description 1
- 238000010276 construction Methods 0.000 description 1
- 230000006378 damage Effects 0.000 description 1
- 230000006735 deficit Effects 0.000 description 1
- 230000001771 impaired effect Effects 0.000 description 1
- 238000009434 installation Methods 0.000 description 1
- 238000009413 insulation Methods 0.000 description 1
- 230000001681 protective effect Effects 0.000 description 1
- 238000000926 separation method Methods 0.000 description 1
- 210000002023 somite Anatomy 0.000 description 1
- 238000011144 upstream manufacturing Methods 0.000 description 1
Images
Classifications
-
- E—FIXED CONSTRUCTIONS
- E06—DOORS, WINDOWS, SHUTTERS, OR ROLLER BLINDS IN GENERAL; LADDERS
- E06B—FIXED OR MOVABLE CLOSURES FOR OPENINGS IN BUILDINGS, VEHICLES, FENCES OR LIKE ENCLOSURES IN GENERAL, e.g. DOORS, WINDOWS, BLINDS, GATES
- E06B1/00—Border constructions of openings in walls, floors, or ceilings; Frames to be rigidly mounted in such openings
- E06B1/04—Frames for doors, windows, or the like to be fixed in openings
- E06B1/06—Wooden frames
Definitions
- the invention relates to a wooden frame according to the preamble of the main claim.
- the frames would have to be formed in two parts.
- This two-part system requires metal frames on the one hand and on the other hand the two parts can only be connected to one another during assembly on the building, which requires a high economic outlay.
- a frame part follows the course of the shell and balances the size and angle tolerances, while the third dimension (flatness tolerances) is then compensated for via the second frame part.
- the invention has for its object to provide a wooden frame that is moisture-resistant and with a three-dimensional tolerance compensation is possible.
- the wooden frames are made from pressure-impregnated scantlings, with modern impregnation devices being able to achieve a protective impregnation of the entire cross-section of the wooden frame. Due to the impregnation of the entire cross-section, it is possible to provide a saw cut that runs parallel to the reveal of the wall opening in advance and to make a further saw cut that runs at an angle of 90 ° to the first incision at a later point in time without the As a rule, the incision is not fully used in its depth, or the second saw cut can lead to impairment of the stability or even to the destruction of the wooden frame.
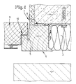
- FIG. 1 In the drawing is a static layer zone 1, one attached to this static layer zone 1 Thermal insulation zone 2 and an upstream weather protection zone 3 are shown.
- a wooden frame 4 with its weather protection zone side 6 and its layer zone side 8 has a saw cut 5 which runs parallel to the reveal 7 of the wall opening and leads into the core area of the frame 4.
- a frame is shown, which is leaning against the wooden frame 4 in a rebated arrangement and is fixed here with the aid of known means.
- a diffusion-open but waterproof tape 10 is inserted in the area of the rebate. This prevents leaks in the connection area.
- the saw cut 5 extends at least up to half the thickness d of the wooden frame 4, but usually even goes beyond this thickness.
Landscapes
- Engineering & Computer Science (AREA)
- Life Sciences & Earth Sciences (AREA)
- Wood Science & Technology (AREA)
- Civil Engineering (AREA)
- Structural Engineering (AREA)
- Door And Window Frames Mounted To Openings (AREA)
- Wing Frames And Configurations (AREA)
Priority Applications (1)
| Application Number | Priority Date | Filing Date | Title |
|---|---|---|---|
| AT89108394T ATE78077T1 (de) | 1988-07-07 | 1989-05-10 | Zarge aus holz als anschlag fuer den blendrahmen eines fensters. |
Applications Claiming Priority (4)
| Application Number | Priority Date | Filing Date | Title |
|---|---|---|---|
| DE3822971 | 1988-07-07 | ||
| DE3822971 | 1988-07-07 | ||
| DE3825158A DE3825158C1 (enExample) | 1988-07-07 | 1988-07-23 | |
| DE3825158 | 1988-07-23 |
Publications (3)
| Publication Number | Publication Date |
|---|---|
| EP0358848A2 EP0358848A2 (de) | 1990-03-21 |
| EP0358848A3 EP0358848A3 (de) | 1991-05-02 |
| EP0358848B1 true EP0358848B1 (de) | 1992-07-08 |
Family
ID=25869824
Family Applications (1)
| Application Number | Title | Priority Date | Filing Date |
|---|---|---|---|
| EP89108394A Expired - Lifetime EP0358848B1 (de) | 1988-07-07 | 1989-05-10 | Zarge aus Holz als Anschlag für den Blendrahmen eines Fensters |
Country Status (2)
| Country | Link |
|---|---|
| EP (1) | EP0358848B1 (enExample) |
| DE (2) | DE3825158C1 (enExample) |
Families Citing this family (3)
| Publication number | Priority date | Publication date | Assignee | Title |
|---|---|---|---|---|
| GB2323881A (en) * | 1997-04-04 | 1998-10-07 | Thames Valley Partitioning Sup | A door frame arrangement |
| SI2604620T2 (sl) | 2003-05-30 | 2024-10-30 | Gilead Pharmasset Llc | Modificirani fluorirani nukleozidni analogi |
| DE202008000994U1 (de) * | 2008-01-23 | 2008-05-15 | Holz Schiller Gmbh | Rahmenelement für Fenster und Türen |
Family Cites Families (2)
| Publication number | Priority date | Publication date | Assignee | Title |
|---|---|---|---|---|
| US1706546A (en) * | 1927-06-25 | 1929-03-26 | Byrd C Rockwell | Wall-closure construction |
| DE3231750A1 (de) * | 1982-08-26 | 1984-03-01 | Artur 3012 Langenhagen Tatarczyk | Fenster oder tuer |
-
1988
- 1988-07-23 DE DE3825158A patent/DE3825158C1/de not_active Expired
-
1989
- 1989-05-10 DE DE8989108394T patent/DE58901808D1/de not_active Expired - Fee Related
- 1989-05-10 EP EP89108394A patent/EP0358848B1/de not_active Expired - Lifetime
Also Published As
| Publication number | Publication date |
|---|---|
| DE3825158C1 (enExample) | 1989-06-01 |
| DE58901808D1 (de) | 1992-08-13 |
| EP0358848A2 (de) | 1990-03-21 |
| EP0358848A3 (de) | 1991-05-02 |
Similar Documents
| Publication | Publication Date | Title |
|---|---|---|
| EP1354545B1 (de) | Dichtung für eine Duschabtrennung | |
| EP0358848B1 (de) | Zarge aus Holz als Anschlag für den Blendrahmen eines Fensters | |
| AT390296B (de) | Tuerzarge zur ummantelung fest eingebauter, renovierungsbeduerftiger tuerzargen | |
| DE3308273A1 (de) | Fenster-oder tuerrahmen aus metall | |
| DE202009016113U1 (de) | Isolierglaseinheit und Tragkonstruktion mit mindestens einer derartigen Isolierglaseinheit | |
| EP3954854A1 (de) | Anpassbare isolierverglasungseinheit (varianten) | |
| DE2003009A1 (de) | Tuerrahmen | |
| EP0013978B1 (de) | Fenster, insbesondere für Schienenfahrzeuge | |
| DE3516141C2 (enExample) | ||
| DE2514694A1 (de) | Blendrahmen mit abdeckprofil | |
| DE29622285U1 (de) | Spann- oder Richtvorrichtung sowie Türblatt bzw. Türflügel für Gebäudetüren mit einer solchen Spannvorrichtung | |
| DE19700707A1 (de) | Türblatt | |
| DE19838458C2 (de) | Nachrüstzarge für einen Türrahmen und ein Türblatt | |
| DE10297999B4 (de) | Messwerkzeug zur Verwendung beim Zuschneiden von Verblendungslei-sten und ein Verfahren zum Zuschneiden | |
| DE19819399C1 (de) | Vorgefertigtes Türblatt, insbesondere für Holz-Haustüren mit Lichtausschnitt | |
| DE102005058732A1 (de) | Verfahren zur Abdichtung eines Spaltes zwischen einem Fensterrahmen und einer Laibung sowie Abdichtungselement zur Anbringung in einem Spalt | |
| DE19628498A1 (de) | Keil-System | |
| DE2810710B1 (de) | Einsatzrahmen zum Umruesten eines einfach verglasten Fluegelrahmens auf Isolierverglasung | |
| DE3206884C2 (de) | Sicherheitsvorsatz für Türen, Fenster od. dgl. | |
| EP0008051A1 (de) | Geräteabdeckung für schutzisolierte Verteilungseinsätze | |
| DE102022126622A1 (de) | Aufsetzkasten mit verbundenem Fensterrahmen und Adapter zu deren Verbindung | |
| DE102024108017A1 (de) | Steckzargenbausatz und Verfahren zur Herstellung eines Steckzargenbausatzes | |
| DE29801925U1 (de) | Kämpferverbinder | |
| EP0362749A1 (de) | Fenster- oder Türrahmen | |
| DE3526729A1 (de) | Verbindung zwischen zwei hohlprofilen, insbesondere fuer eine duschabtrennung |
Legal Events
| Date | Code | Title | Description |
|---|---|---|---|
| PUAI | Public reference made under article 153(3) epc to a published international application that has entered the european phase |
Free format text: ORIGINAL CODE: 0009012 |
|
| AK | Designated contracting states |
Kind code of ref document: A2 Designated state(s): AT BE CH DE ES FR GB IT LI NL SE |
|
| PUAL | Search report despatched |
Free format text: ORIGINAL CODE: 0009013 |
|
| AK | Designated contracting states |
Kind code of ref document: A3 Designated state(s): AT BE CH DE ES FR GB IT LI NL SE |
|
| 17P | Request for examination filed |
Effective date: 19910503 |
|
| 17Q | First examination report despatched |
Effective date: 19910906 |
|
| GRAA | (expected) grant |
Free format text: ORIGINAL CODE: 0009210 |
|
| AK | Designated contracting states |
Kind code of ref document: B1 Designated state(s): AT BE CH DE ES FR GB IT LI NL SE |
|
| PG25 | Lapsed in a contracting state [announced via postgrant information from national office to epo] |
Ref country code: IT Free format text: LAPSE BECAUSE OF FAILURE TO SUBMIT A TRANSLATION OF THE DESCRIPTION OR TO PAY THE FEE WITHIN THE PRE;WARNING: LAPSES OF ITALIAN PATENTS WITH EFFECTIVE DATE BEFORE 2007 MAY HAVE OCCURRED AT ANY TIME BEFORE 2007. THE CORRECT EFFECTIVE DATE MAY BE DIFFERENT FROM THE ONE RECORDED.SCRIBED TIME-LIMIT Effective date: 19920708 Ref country code: BE Effective date: 19920708 Ref country code: ES Free format text: THE PATENT HAS BEEN ANNULLED BY A DECISION OF A NATIONAL AUTHORITY Effective date: 19920708 |
|
| REF | Corresponds to: |
Ref document number: 78077 Country of ref document: AT Date of ref document: 19920715 Kind code of ref document: T |
|
| REF | Corresponds to: |
Ref document number: 58901808 Country of ref document: DE Date of ref document: 19920813 |
|
| ET | Fr: translation filed | ||
| GBT | Gb: translation of ep patent filed (gb section 77(6)(a)/1977) | ||
| REG | Reference to a national code |
Ref country code: GB Ref legal event code: 746 Effective date: 19921207 |
|
| PLBE | No opposition filed within time limit |
Free format text: ORIGINAL CODE: 0009261 |
|
| STAA | Information on the status of an ep patent application or granted ep patent |
Free format text: STATUS: NO OPPOSITION FILED WITHIN TIME LIMIT |
|
| 26N | No opposition filed | ||
| PGFP | Annual fee paid to national office [announced via postgrant information from national office to epo] |
Ref country code: SE Payment date: 19940315 Year of fee payment: 6 |
|
| PGFP | Annual fee paid to national office [announced via postgrant information from national office to epo] |
Ref country code: DE Payment date: 19940330 Year of fee payment: 6 |
|
| PGFP | Annual fee paid to national office [announced via postgrant information from national office to epo] |
Ref country code: FR Payment date: 19940429 Year of fee payment: 6 Ref country code: GB Payment date: 19940429 Year of fee payment: 6 |
|
| PGFP | Annual fee paid to national office [announced via postgrant information from national office to epo] |
Ref country code: AT Payment date: 19940525 Year of fee payment: 6 |
|
| PGFP | Annual fee paid to national office [announced via postgrant information from national office to epo] |
Ref country code: NL Payment date: 19940531 Year of fee payment: 6 |
|
| PGFP | Annual fee paid to national office [announced via postgrant information from national office to epo] |
Ref country code: CH Payment date: 19940826 Year of fee payment: 6 |
|
| EAL | Se: european patent in force in sweden |
Ref document number: 89108394.1 |
|
| PG25 | Lapsed in a contracting state [announced via postgrant information from national office to epo] |
Ref country code: AT Effective date: 19950510 Ref country code: GB Effective date: 19950510 |
|
| PG25 | Lapsed in a contracting state [announced via postgrant information from national office to epo] |
Ref country code: SE Effective date: 19950511 |
|
| PG25 | Lapsed in a contracting state [announced via postgrant information from national office to epo] |
Ref country code: LI Effective date: 19950531 Ref country code: CH Effective date: 19950531 |
|
| PG25 | Lapsed in a contracting state [announced via postgrant information from national office to epo] |
Ref country code: NL Effective date: 19951201 |
|
| GBPC | Gb: european patent ceased through non-payment of renewal fee |
Effective date: 19950510 |
|
| REG | Reference to a national code |
Ref country code: CH Ref legal event code: PL |
|
| NLV4 | Nl: lapsed or anulled due to non-payment of the annual fee |
Effective date: 19951201 |
|
| PG25 | Lapsed in a contracting state [announced via postgrant information from national office to epo] |
Ref country code: DE Effective date: 19960201 |
|
| EUG | Se: european patent has lapsed |
Ref document number: 89108394.1 |
|
| PG25 | Lapsed in a contracting state [announced via postgrant information from national office to epo] |
Ref country code: FR Effective date: 19960229 |
|
| REG | Reference to a national code |
Ref country code: FR Ref legal event code: ST |
|
| REG | Reference to a national code |
Ref country code: FR Ref legal event code: ST |