EP0358848A2 - Zarge aus Holz als Anschlag für den Blendrahmen eines Fensters - Google Patents

Zarge aus Holz als Anschlag für den Blendrahmen eines Fensters Download PDF

Info

Publication number
EP0358848A2
EP0358848A2 EP89108394A EP89108394A EP0358848A2 EP 0358848 A2 EP0358848 A2 EP 0358848A2 EP 89108394 A EP89108394 A EP 89108394A EP 89108394 A EP89108394 A EP 89108394A EP 0358848 A2 EP0358848 A2 EP 0358848A2
Authority
EP
European Patent Office
Prior art keywords
frame
window
wooden
wooden case
saw cut
Prior art date
Legal status (The legal status is an assumption and is not a legal conclusion. Google has not performed a legal analysis and makes no representation as to the accuracy of the status listed.)
Granted
Application number
EP89108394A
Other languages
English (en)
French (fr)
Other versions
EP0358848B1 (de
EP0358848A3 (de
Inventor
Franz Bisping
Current Assignee (The listed assignees may be inaccurate. Google has not performed a legal analysis and makes no representation or warranty as to the accuracy of the list.)
ALCO-Systeme GmbH
Original Assignee
ALCO-Systeme GmbH
Priority date (The priority date is an assumption and is not a legal conclusion. Google has not performed a legal analysis and makes no representation as to the accuracy of the date listed.)
Filing date
Publication date
Application filed by ALCO-Systeme GmbH filed Critical ALCO-Systeme GmbH
Priority to AT89108394T priority Critical patent/ATE78077T1/de
Publication of EP0358848A2 publication Critical patent/EP0358848A2/de
Publication of EP0358848A3 publication Critical patent/EP0358848A3/de
Application granted granted Critical
Publication of EP0358848B1 publication Critical patent/EP0358848B1/de
Anticipated expiration legal-status Critical
Expired - Lifetime legal-status Critical Current

Links

Images

Classifications

    • EFIXED CONSTRUCTIONS
    • E06DOORS, WINDOWS, SHUTTERS, OR ROLLER BLINDS IN GENERAL; LADDERS
    • E06BFIXED OR MOVABLE CLOSURES FOR OPENINGS IN BUILDINGS, VEHICLES, FENCES OR LIKE ENCLOSURES IN GENERAL, e.g. DOORS, WINDOWS, BLINDS, GATES
    • E06B1/00Border constructions of openings in walls, floors, or ceilings; Frames to be rigidly mounted in such openings
    • E06B1/04Frames for doors, windows, or the like to be fixed in openings
    • E06B1/06Wooden frames

Definitions

  • the invention relates to a wooden frame according to the preamble of the main claim.
  • the frames would have to be formed in two parts.
  • This two-part design requires metal frames on the one hand and on the other hand the two parts can only be connected to one another during assembly on the building, which requires a high level of economic outlay.
  • a frame part follows the course of the shell and balances the size and angle tolerances, while the third dimension (flatness tolerances) is then compensated for via the second frame part.
  • the invention has for its object to provide a wooden frame that is moisture-resistant and with a three-dimensional tolerance compensation is possible.
  • the wooden frames are made from pressure-impregnated scantlings, whereby it is possible with modern impregnation devices to achieve a protective impregnation of the entire cross-section of the wooden frame. Due to the impregnation of the entire cross-section, it is possible to provide a saw cut that runs parallel to the reveal of the wall opening in advance and to make a further saw cut that runs at an angle of 90 o to the first cut at a later point in time without the As a rule, the depth of the not fully used incision, or the second saw cut due to moisture loads can impair the stability or even destroy the wooden frame.
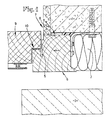
  • FIG. 1 In the drawing is a static layer zone 1, one attached to this static layer zone 1 Thermal insulation zone 2 and an upstream weather protection zone 3 are shown.
  • a wooden frame 4 with its weather protection zone side 6 and its layer zone side 8 has a saw cut 5 which runs parallel to the reveal 7 of the wall opening and leads into the core area of the frame 4.
  • a frame is shown, which is leaning against the wooden frame 4 in a rebated arrangement and is fixed here with the aid of known means.
  • a diffusion-open but waterproof tape 10 is inserted in the area of the rebate. This prevents leaks in the connection area.
  • the saw cut 5 extends at least up to half the thickness d of the wooden frame 4, but usually even goes beyond this thickness.

Landscapes

  • Engineering & Computer Science (AREA)
  • Life Sciences & Earth Sciences (AREA)
  • Wood Science & Technology (AREA)
  • Civil Engineering (AREA)
  • Structural Engineering (AREA)
  • Door And Window Frames Mounted To Openings (AREA)
  • Wing Frames And Configurations (AREA)

Abstract

Die Erfindung bezieht sich auf eine Holzzarge (4), die druckimprägniert ausgebildet ist und einen Sägeeinschnitt (5) aufweist, der parallel zur Blendrahmenseite (7) verläuft und eine Länge besitzt, die wenigstens der Hälfte der Dicke der Holzzarge (4) entspricht.

Description

  • Die Erfindung bezieht sich auf eine Holzzarge gemäß dem Oberbegriff des Hauptanspruches.
  • Aus der DE-A-32 31 750 ist es bekannt, im Randbe­reich der Fensteröffnung eine einteilige Holzzarge vorzusehen, die als Anschlag für den überfälzten Blendrahmen des Fensters dient. Die Holzzarge ermög­licht ein Zusammenfügen der im Anschlußbereich von Fenstern insgesamt zusammentreffenden Bauteile und unterschiedlichen Baustoffe und ermöglicht im gewis­sen Rahmen auch den Ausgleich der zu erwartenden Toleranzen.
  • Um aber alle nach den Toleranznormen zulässigen und zu addierenden Einzeltoleranzen exakt ausgleichen zu können, d.h. also um einen dreidimensionalen Tole­ranzausgleich zu ermöglichen, müßten die Zargen zweiteilig ausgebildet werden. Diese Zweiteiligkeit erfordert einerseits Metallzargen und andererseits können die beiden Teile nur bei der Montage am Bau miteinander verbunden werden, was einen hohen wirt­schaftlichen Aufwand erfordert. Dabei folgt ein Zargenteil aus statischen Gründen dem Rohbauverlauf und gleicht die Größen- und Winkeltoleranzen aus, während über den zweiten Zargenteil dann die dritte Dimension (Ebenheitstoleranzen) ausgeglichen wird.
  • Trotz thermischer Trennung bilden aber diese Metall­zargen wegen des Kontaktes mit der Außenluft einen absoluten wärmetechnischen Schwachpunkt in der Ge­bäudehülle, der über eine Wärmebrücke zu einem zu­sätzlichen längenbezogenen Wärmeverlust führt. Im Regelfall wird durch Metallzargen auch die Taupunkt­isotherme des Innenklimas in die statische Schicht­zone gezogen, und bei bauphysikalisch falscher An­schlußausbildung kommt es zu zusätzlichen feuchte­technischen Problemen durch Tauwasserbildung. Dem Toleranzausgleich in der dritten Dimension sind über die Zweiteiligkeit konstruktive Grenzen gesetzt. Da die insgesamt auftretenden Toleranzen zu addieren sind, reicht bei noch im Normbereich liegenden Ex­tremfällen die Ausgleichsmöglichkeit nicht aus. Es kommt zu Undichtigkeiten, die ihrerseits auch wieder zur Feuchtigkeitsbelastung der gesamten Anschlußaus­bildung führen.
  • Aus der US-A-17 06 546 ist es bekannt, das Türblatt in seinem Randbereich mit einem Sägeschnitt zu ver­sehen, der parallel zur Türblattebene verläuft und der es nun ermöglicht, beispielsweise auf der Innen­seite der Tür, diese Tür an die vorgegebenen Größen des Türrahmens anzupassen, ohne daß das nach außen hin sichtbar ist. Ein dreidimensionaler Ausgleich wird bei dieser bekannten und nur für den Innenaus­bau bestimmten Anordnung nicht erreicht.
  • Der Erfindung liegt die Aufgabe zugrunde, eine Holz­zarge zu schaffen, die feuchtigkeitsbeständig ist und mit der ein dreidimensionaler Toleranzausgleich möglich ist.
  • Diese der Erfindung zugrundeliegende Aufgabe wird durch die Lehre des Hauptanspruches gelöst.
  • Mit anderen Worten ausgedrückt, wird von der Überle­gung ausgegangen, die Holzzargen aus druckimpräg­nierten Kanteln zu fertigen, wobei es mit den mo­dernen Imprägniereinrichtungen möglich ist, eine schützende Imprägnierung des gesamten Querschnittes der Holzzarge zu erreichen. Durch die Imprägnierung des gesamten Querschnittes ist es möglich, einen Sägeschnitt, der parallel zur Laibung der Wandöff­nung verläuft, vorab vorzusehen und einen weiteren Sägeschnitt, der im Winkel von 90o zum ersten Ein­schnitt verläuft, zu einem späteren Zeitpunkt vorzu­nehmen, ohne daß der in der Regel in seiner Tiefe nicht voll ausgenutzte Einschnitt, oder der zweite Sägeschnitt über Feuchtebelastungen zur Beeinträch­tigung der Standfestigkeit oder gar zur Zerstörung der Holzzarge führen kann.
  • Es werden zunächst Zarge und Fensterblendrahmen überwälzt, und damit entsteht für den Einbau des Fensters der ideale Innenanschlag. Dabei erhalten beide Teile eine Falztiefe, die einen Teil der zu erwartenden Toleranzen aufnimmt, und die Zarge er­hält im gleichen Arbeitsgang einen zusätzlichen, tiefer in das Holz eingreifenden Sägeschnitt. Ober diesen Sägeschnitt ist bei der Zargenmontage und deren Ausrichtung eine Tiefenkorrektur der Ausfäl­zung in der Zarge mit einfachen Mitteln und geringen Arbeitsaufwand möglich, da nur noch ein weiterer Sägeschnitt erforderlich ist, um die exakte Tiefe zu bekommen. Durch die Überfälzung der beiden zusammen­ zufügenden Rahmen einschließlich einer Einlage eines diffusionsoffenen aber wasserdichten Bandes kann es trotz Einteiligkeit der Zarge und trotz des Ausglei­ches aller Toleranzen nie zu nachteiligen Undichtig­keiten im Anschlußbereich kommen.
  • Mit einer solchen Anordnung ist es nun möglich, daß eine Zarge aus statischen Gründen einerseits weiter dem Rohbauverlauf folgt, einteilig ausgebildet ist, keine Wärmebrücke bildet und andererseits können nach Anbringung der Zarge Korrekturanpassungen vom Blendrahmen zur Zarge zum Ausgleich der Ebenheits­toleranzen am Bau selbst vor dem Einbau der Blend­rahmen von den Handwerkern vorgenommen werden, ohne daß es hier schwieriger Vorarbeiten im Fensterwerk oder dem Einsatz spezieller Werkzeuge oder Maschinen bedarf und ohne daß die Standfestigkeit und Witte­rungsbeständigkeit von Zarge und/oder Blendrahmen beeinträchtigt wird.
  • Ein Ausführungsbeispiel der Erfindung wird nachfol­gend anhand der Zeichnung erläutert.
  • Es zeigt:
    • Fig. 1 schematisch ein Bauwerk mit eingesetzter Zarge und eingesetztem Blendrahmen und
    • Fig. 2 die verschiedenen Möglichkeiten der An­passung des Blendrahmens an die Zarge und damit an die statische Schichtzone, um somit einen korrekten Sitz des Fensters zu gewährleisten.
  • In der Zeichnung ist eine statische Schichtzone 1, eine an dieser statischen Schichtzone 1 befestigte Wärmedämmzone 2 und eine vorgeordnete Wetterschutz­zone 3 dargestellt. Eine Holzzarge 4 mit ihrer Wetterschutzzonenseite 6 und ihrer Schichtzonen­seite 8 weist einen parallel zur Laibung 7 der Wandöffnung verlaufenden Sägeeinschnitt 5 auf, der bis in den Kernbereich der Zarge 4 führt.
  • Bei 9 ist ein Blendrahmen dargestellt, der sich in überfälzter Anordnung an die Holzzarge 4 anlehnt und unter Zuhilfenahme bekannter Mittel hier festgelegt ist. Im Bereich der Überfälzung ist ein diffusions­offenes, aber wasserdichtes Band 10 eingelegt. Hier­durch werden Undichtigkeiten im Anschlußbereich ver­mieden.
  • Aus den sechs verschiedenen Darstellungen in Fig. 2 ist erkennbar, daß nunmehr durch entsprechende Bear­beitung der Zarge 4 eine genaue, ausgerichtete An­ordnung des Blendrahmens 9 möglich ist, wobei die Form des Blendrahmens 9 unabhängig von der Gestal­tung der Zarge 4 ist, wie dies besonders durch einen Vergleich der Darstellungen in Fig. 2 erkennbar wird.
  • Der Sägeeinschnitt 5 reicht wenigstens bis zur Hälfte der Dicke d der Holzzarge 4, geht aber üb­licherweise sogar noch über diese Dicke hinaus.

Claims (2)

1. Im Randbereich einer Fensteröffnung angeord­nete einteilige Zarge aus Holz als Anschlag für den überfälzten Blendrahmen eines Fen­sters, dadurch gekennzeichnet, daß die Holz­zarge (4) druckimprägniert ist und einen Sägeeinschnitt (5) aufweist, der parallel zur Laibung (7) der Wandöffnung verläuft und eine Tiefe aufweist, die wenigstens der Hälfte der Dicke (d) der Holzzarge (4) entspricht.
2. Zarge nach Anspruch 1, dadurch gekennzeich­net, daß im Überfälzbereich zwischen Blend­rahmen (9) und Holzzarge (4) ein diffusions­offenes, aber wasserdichtes Band (10) ange­ordnet ist.
EP89108394A 1988-07-07 1989-05-10 Zarge aus Holz als Anschlag für den Blendrahmen eines Fensters Expired - Lifetime EP0358848B1 (de)

Priority Applications (1)

Application Number Priority Date Filing Date Title
AT89108394T ATE78077T1 (de) 1988-07-07 1989-05-10 Zarge aus holz als anschlag fuer den blendrahmen eines fensters.

Applications Claiming Priority (4)

Application Number Priority Date Filing Date Title
DE3822971 1988-07-07
DE3822971 1988-07-07
DE3825158A DE3825158C1 (de) 1988-07-07 1988-07-23
DE3825158 1988-07-23

Publications (3)

Publication Number Publication Date
EP0358848A2 true EP0358848A2 (de) 1990-03-21
EP0358848A3 EP0358848A3 (de) 1991-05-02
EP0358848B1 EP0358848B1 (de) 1992-07-08

Family

ID=25869824

Family Applications (1)

Application Number Title Priority Date Filing Date
EP89108394A Expired - Lifetime EP0358848B1 (de) 1988-07-07 1989-05-10 Zarge aus Holz als Anschlag für den Blendrahmen eines Fensters

Country Status (2)

Country Link
EP (1) EP0358848B1 (de)
DE (2) DE3825158C1 (de)

Cited By (3)

* Cited by examiner, † Cited by third party
Publication number Priority date Publication date Assignee Title
GB2323881A (en) * 1997-04-04 1998-10-07 Thames Valley Partitioning Sup A door frame arrangement
WO2009092707A1 (de) * 2008-01-23 2009-07-30 Holz Schiller Gmbh Isolierendes rahmenelement aus holz für fenster oder türen
US10287311B2 (en) 2003-05-30 2019-05-14 Gilead Pharmasset Llc Modified fluorinated nucleoside analogues

Family Cites Families (2)

* Cited by examiner, † Cited by third party
Publication number Priority date Publication date Assignee Title
US1706546A (en) * 1927-06-25 1929-03-26 Byrd C Rockwell Wall-closure construction
DE3231750A1 (de) * 1982-08-26 1984-03-01 Artur 3012 Langenhagen Tatarczyk Fenster oder tuer

Cited By (3)

* Cited by examiner, † Cited by third party
Publication number Priority date Publication date Assignee Title
GB2323881A (en) * 1997-04-04 1998-10-07 Thames Valley Partitioning Sup A door frame arrangement
US10287311B2 (en) 2003-05-30 2019-05-14 Gilead Pharmasset Llc Modified fluorinated nucleoside analogues
WO2009092707A1 (de) * 2008-01-23 2009-07-30 Holz Schiller Gmbh Isolierendes rahmenelement aus holz für fenster oder türen

Also Published As

Publication number Publication date
DE3825158C1 (de) 1989-06-01
DE58901808D1 (de) 1992-08-13
EP0358848B1 (de) 1992-07-08
EP0358848A3 (de) 1991-05-02

Similar Documents

Publication Publication Date Title
EP0136431B1 (de) Konstruktion aus Profilstäben
EP0358848B1 (de) Zarge aus Holz als Anschlag für den Blendrahmen eines Fensters
DE3517836A1 (de) Verschluss fuer eine revisionsoeffnung
DE2514694A1 (de) Blendrahmen mit abdeckprofil
DE3516141C2 (de)
DE29622285U1 (de) Spann- oder Richtvorrichtung sowie Türblatt bzw. Türflügel für Gebäudetüren mit einer solchen Spannvorrichtung
DE8231629U1 (de) Eckwinkel zum einsetzen in hohlprofilleisten
EP0152813B1 (de) Bausatz für eine Halteschiene für Fenstersprossen
DE10297999B4 (de) Messwerkzeug zur Verwendung beim Zuschneiden von Verblendungslei-sten und ein Verfahren zum Zuschneiden
DE19628498A1 (de) Keil-System
AT524668B1 (de) Montageelement
DE102022126622A1 (de) Aufsetzkasten mit verbundenem Fensterrahmen und Adapter zu deren Verbindung
DE29915012U1 (de) Vorrichtung zum Justieren und Fixieren eines Rahmens in einer Wandöffnung
DE3937354A1 (de) Tuerangelpfosten mit zapfenfoermigem tuerangelscharnier
DE3206884C2 (de) Sicherheitsvorsatz für Türen, Fenster od. dgl.
DE102024108017A1 (de) Steckzargenbausatz und Verfahren zur Herstellung eines Steckzargenbausatzes
DE3526729A1 (de) Verbindung zwischen zwei hohlprofilen, insbesondere fuer eine duschabtrennung
EP4575119A1 (de) T-verbindung und verfahren zur montage einer t-verbindung
DE1942343A1 (de) Vorrichtung zum Verklotzen von Verglasungseinheiten
EP0808984A1 (de) Türrahmen
DE60032111T2 (de) Verbindungssystem für zwei, in einem rechten Winkel miteinander zu verbindenden Profilen mittels eines Verbinders, insbesondere für Fenster- oder Türrahmen
EP4446552A1 (de) Zu einem blendrahmen eines fensters oder einer tür relativ beweglicher flügel und verfahren zur fixierung zweier hauptprofile
DE4034205A1 (de) Tuerzarge
DE3235187A1 (de) Fahrzeugfenster
DE29801925U1 (de) Kämpferverbinder

Legal Events

Date Code Title Description
PUAI Public reference made under article 153(3) epc to a published international application that has entered the european phase

Free format text: ORIGINAL CODE: 0009012

AK Designated contracting states

Kind code of ref document: A2

Designated state(s): AT BE CH DE ES FR GB IT LI NL SE

PUAL Search report despatched

Free format text: ORIGINAL CODE: 0009013

AK Designated contracting states

Kind code of ref document: A3

Designated state(s): AT BE CH DE ES FR GB IT LI NL SE

17P Request for examination filed

Effective date: 19910503

17Q First examination report despatched

Effective date: 19910906

GRAA (expected) grant

Free format text: ORIGINAL CODE: 0009210

AK Designated contracting states

Kind code of ref document: B1

Designated state(s): AT BE CH DE ES FR GB IT LI NL SE

PG25 Lapsed in a contracting state [announced via postgrant information from national office to epo]

Ref country code: IT

Free format text: LAPSE BECAUSE OF FAILURE TO SUBMIT A TRANSLATION OF THE DESCRIPTION OR TO PAY THE FEE WITHIN THE PRE;WARNING: LAPSES OF ITALIAN PATENTS WITH EFFECTIVE DATE BEFORE 2007 MAY HAVE OCCURRED AT ANY TIME BEFORE 2007. THE CORRECT EFFECTIVE DATE MAY BE DIFFERENT FROM THE ONE RECORDED.SCRIBED TIME-LIMIT

Effective date: 19920708

Ref country code: BE

Effective date: 19920708

Ref country code: ES

Free format text: THE PATENT HAS BEEN ANNULLED BY A DECISION OF A NATIONAL AUTHORITY

Effective date: 19920708

REF Corresponds to:

Ref document number: 78077

Country of ref document: AT

Date of ref document: 19920715

Kind code of ref document: T

REF Corresponds to:

Ref document number: 58901808

Country of ref document: DE

Date of ref document: 19920813

ET Fr: translation filed
GBT Gb: translation of ep patent filed (gb section 77(6)(a)/1977)
REG Reference to a national code

Ref country code: GB

Ref legal event code: 746

Effective date: 19921207

PLBE No opposition filed within time limit

Free format text: ORIGINAL CODE: 0009261

STAA Information on the status of an ep patent application or granted ep patent

Free format text: STATUS: NO OPPOSITION FILED WITHIN TIME LIMIT

26N No opposition filed
PGFP Annual fee paid to national office [announced via postgrant information from national office to epo]

Ref country code: SE

Payment date: 19940315

Year of fee payment: 6

PGFP Annual fee paid to national office [announced via postgrant information from national office to epo]

Ref country code: DE

Payment date: 19940330

Year of fee payment: 6

PGFP Annual fee paid to national office [announced via postgrant information from national office to epo]

Ref country code: FR

Payment date: 19940429

Year of fee payment: 6

Ref country code: GB

Payment date: 19940429

Year of fee payment: 6

PGFP Annual fee paid to national office [announced via postgrant information from national office to epo]

Ref country code: AT

Payment date: 19940525

Year of fee payment: 6

PGFP Annual fee paid to national office [announced via postgrant information from national office to epo]

Ref country code: NL

Payment date: 19940531

Year of fee payment: 6

PGFP Annual fee paid to national office [announced via postgrant information from national office to epo]

Ref country code: CH

Payment date: 19940826

Year of fee payment: 6

EAL Se: european patent in force in sweden

Ref document number: 89108394.1

PG25 Lapsed in a contracting state [announced via postgrant information from national office to epo]

Ref country code: AT

Effective date: 19950510

Ref country code: GB

Effective date: 19950510

PG25 Lapsed in a contracting state [announced via postgrant information from national office to epo]

Ref country code: SE

Effective date: 19950511

PG25 Lapsed in a contracting state [announced via postgrant information from national office to epo]

Ref country code: LI

Effective date: 19950531

Ref country code: CH

Effective date: 19950531

PG25 Lapsed in a contracting state [announced via postgrant information from national office to epo]

Ref country code: NL

Effective date: 19951201

GBPC Gb: european patent ceased through non-payment of renewal fee

Effective date: 19950510

REG Reference to a national code

Ref country code: CH

Ref legal event code: PL

NLV4 Nl: lapsed or anulled due to non-payment of the annual fee

Effective date: 19951201

PG25 Lapsed in a contracting state [announced via postgrant information from national office to epo]

Ref country code: DE

Effective date: 19960201

EUG Se: european patent has lapsed

Ref document number: 89108394.1

PG25 Lapsed in a contracting state [announced via postgrant information from national office to epo]

Ref country code: FR

Effective date: 19960229

REG Reference to a national code

Ref country code: FR

Ref legal event code: ST

REG Reference to a national code

Ref country code: FR

Ref legal event code: ST